KSK 6300 - Frigorifero MIELE - Manuale utente e istruzioni gratuiti
Trova gratuitamente il manuale del dispositivo KSK 6300 MIELE in formato PDF.
Domande frequenti - KSK 6300 MIELE
Scarica le istruzioni per il tuo Frigorifero in formato PDF gratuitamente! Trova il tuo manuale KSK 6300 - MIELE e riprendi in mano il tuo dispositivo elettronico. In questa pagina sono pubblicati tutti i documenti necessari per l'utilizzo del tuo dispositivo. KSK 6300 del marchio MIELE.
MANUALE UTENTE KSK 6300 MIELE
Con questo kit di montaggio Side-by-Side è possibile collegare rispettivamente due modelli identici tra i seguenti:
- KWT 6312 UG(S)
- KWT 6321 UG
- KWT 6322 UG
È possibile altresì collegare i modelli KWT 6312 UGS e KWT 6322 UG.
Prima dell'installazione
Leggere assolutamente queste istruzioni di montaggio e le istruzioni d'uso degli apparecchi prima di posizionare, installare e usare gli apparecchi la prima volta per evitare di infortunarsi e di danneggiare gli apparecchi.
Attenzione!
Se l'apparecchio non è incassato può ribaltarsi!
Per il montaggio degli apparecchi consigliamo espressamente di farsi aiutare da un'altra persona.
A seconda del vano da sottopiano sono necessari i seguenti pezzi di montaggio per il posizionamento Side-by-Side:
- squadretta di collegamento con fascetta di fissaggio ① (collega gli apparecchi sotto un piano di lavoro in legno)
- squadretta di collegamento senza fascetta di fissaggio ② (collega gli apparecchi sotto piani di lavoro che non possono essere fissati con viti)
- squadretta di collegamento ③ (collega apparecchi frontalmente nell'area inferiore)
- grappa di collegamento ④ (collega apparecchi sul retro)
- vite per la grappa di collegamento ⑤
- viti per il fissaggio della squadretta di collegamento ⑥

Per il montaggio Side-by-Side sono necessari i seguenti utensili:
- cacciaviti di diversa grandezza
- punte di diversa grandezza
– livella a bolla d'aria - nastro metrico
- chiave a forcella (in dotazione).
Cambiare l'incernieratura dello sportello

■ Sostituire l'incernieratura sportello dell'apparecchio sinistro. (V. istruzioni d'uso relative all'apparecchio, "Cambiare l'incernieratura dello sportello")

Le cerniere dello sportello
sono disposte rispettivamente all'esterno.
Preparare gli apparecchi, allinearli e collegarli
■ Posizionare gli apparecchi l'uno accanto all'altro davanti al vano sottopiano.
Per poter lavorare comodamente sul retro dell'apparecchio, lasciare dello spazio tra la parte posteriore dell'apparecchio e il vano sottopiano.
■ Preparare gli apparecchi. (V. istruzioni d'uso relative all'apparecchio, "Incasso sottopiano").
■ Svitare i piedini in senso orario fino a 4 mm sotto l'altezza del vano.

Allineare gli apparecchi in altezza e orizzontalmente con la chiave a forcella. (V. "Incasso sottopiano").
Un apparecchio non correttamente allineato può deformarsi.
Per allineare la combinazione a frontali del mobile più alti:
■ Seguire le istruzioni d'uso relative all'apparecchio. (V. "Allineare l'apparecchio agli sportelli superiori")

text_image
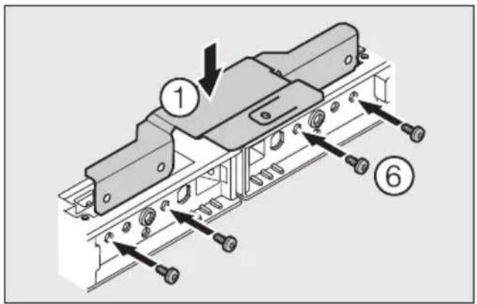
4 x 14 TX 15 4 x 14 TX 15■ Avvitare gli apparecchi assieme ④ sul retro con due grappe di collegamento.

■ Togliere le mascherine di copertura.
■ Avvitare gli apparecchi sul lato frontale in alto e in basso con le squadrette di collegamento:
Per il montaggio sotto un piano di lavoro in legno

■ Inserire la squadretta di collegamento con la fascetta di fissaggio ①.
■ Avvitare la squadretta di collegamento con quattro viti ⑥ agli apparecchi.
Per il montaggio sotto un piano di lavoro in materiale che non può essere fissato con viti

■ Inserire la squadretta di collegamento senza fascetta di fissaggio ②.
■ Avvitare la squadretta di collegamento con quattro viti ⑥ agli apparecchi.
Collegare gli apparecchi in basso

■ Inserire la squadretta di collegamento ③.
■ Avvitare la squadretta di collegamento con quattro viti agli ⑥ apparecchi.

■ Sistemare in sede le mascherine di copertura.
Inserire la combinazione di apparecchi nel vano
Fare attenzione che il cavo elettrico non rimanga danneggiato!
Se il pavimento è delicato, spostare la combinazione di apparecchi con precauzione per evitare che il pavimento rimanga danneggiato.

■ Inserire la combinazione di apparecchi nel vano finché gli sportelli sporgono di 2 mm rispetto ai frontali del mobile.
Fissare la combinazione di apparecchi nel vano d'incasso
Le viti sono allegate agli apparecchi.
■ La combinazione di apparecchi sporge uniformemente di 2 mm dal frontale del mobile.

■ Avvitare gli apparecchi in basso a destra e a sinistra ai mobili attigui.

text_image
4 x 30 TX 15La combinazione di apparecchi si adatta al vano.
Il frontale dello sportello è allineato al frontale del mobile.
■ Allineare lateralmente gli sportelli degli apparecchi.
(V. istruzioni d'uso relative all'appa-recchio, "Incasso sottopiano").
Piano di lavoro in legno

text_image
4 x 14 TX 15■ Avvitare gli apparecchi inoltre al piano di lavoro con l'ausilio della fascetta di fissaggio.
■ Terminare l'incasso sottopiano seguendo le istruzioni d'uso degli apparecchi. (V. istruzioni d'uso relative all'apparecchio, "Incasso sottopiano").
La griglia di aerazione in dotazione deve assolutamente essere installata e usata, secondo le istruzioni dell'apparecchio, insieme al blocco di materiale espanso in dotazione.
Con questo kit di montaggio Side-by-Side è possibile collegare rispettivamente due modelli identici tra i seguenti:
- KWT 6312 UGS
- KWT 6321 UG
- KWT 6322 UG
È possibile altresì collegare i modelli KWT 6312 UGS e KWT 6322 UG.
Prima dell'installazione
Leggere assolutamente queste istruzioni di montaggio nonché le istruzioni d'uso dell'apparecchio prima del posizionamento, dell'installazione e della messa in funzione.
In questo modo si evitano danni a sé stessi e alle apparecchiature.
Attenzione!
Un apparecchio non incassato potrebbe rovesciarsi.
Procedere al montaggio degli appa- recchi assolutamente con l'aiuto di una seconda persona.
A seconda della nicchia da sottopiano sono necessari i seguenti pezzi di montaggio per il posizionamento Side-by-Side:
- angolare di giunzione con fascetta di fissaggio ① (collega gli apparecchi sotto un piano di lavoro in legno)
- angolare di giunzione senza fascetta di fissaggio ② (collega gli apparec-
chi sotto piani di lavoro che non possono essere fissati con viti)
- angolare di giunzione ③ (collega apparecchi frontalmente nell'area inferiore)
- fascetta di giunzione ④ (collega apparecchi sul retro)
- vite per la fascetta di giunzione ⑤
- viti per il fissaggio dell'angolare di giunzione ⑥.

Per il montaggio side-by-side sono necessari i seguenti utensili:
- diverse misure di cacciaviti,
- diverse misure di bit
– livella a bolla d'aria - nastro di misurazione
- chiave a forcella (è allegata all'apparecchio).
Modificare l'incernieratura del- lo sportello

■ Sostituire l'incernieratura sportello sull'apparecchio a sinistra. (V. istruzioni d'uso relative all'apparecchio, sostituire l'incernieratura dello sportello)

Le cerniere dello sportello sono disposte rispettivamente all'esterno.
Preparare l'apparecchio, regi- strarlo e collegarlo
■ Posizionare gli apparecchi l'uno accanto all'altro davanti alla nicchia sottopiano.
Per poter lavorare comodamente sul retro dell'apparecchio, lasciare dello spazio tra la parte posteriore dell'apparecchio e la nicchia sotto-piano.
■ Preparare gli apparecchi. (V. istruzioni d'uso relative all'apparecchio, posizionare l'apparecchio sottopiano).
■ Svitare i piedini in senso orario fino a 4 mm sotto l'altezza della nicchia.

■ Regolare gli apparecchi in altezza e orizzontalmente con la chiave a forcella. (V. posizionare l'apparecchio sottopiano).
Un apparecchio registrato in posizione obliqua può deformarsi.
Per allineare la combinazione di apparecchi a frontali del mobile più alti:
■ seguire le istruzioni d'uso relative all'apparecchio. (V. allineare l'apparecchio ad ante del mobile più alte)

text_image
4 x 14 TX 15 4 x 14 TX 15■ Avvitare gli apparecchi assieme sul retro con due fascette di giunzione ④.

■ Rimuovere le coperture.
■ Avvitare gli apparecchi sul lato frontale in alto e in basso con gli angolari di giunzione:
Per il montaggio sotto un piano di lavoro in legno

■ utilizzare l'angolare di giunzione con la fascetta di fissaggio ①.
■ Avvitare l'angolare di giunzione con quattro viti ⑥ agli apparecchi.
Per il montaggio sotto un piano di lavoro in materiale che non può essere fissato con viti.

■ Utilizzare l'angolare di giunzione senza fascetta di fissaggio ②.
■ Avvitare l'angolare di giunzione con quattro viti agli ⑥ apparecchi.
Collegare gli apparecchi in basso

■ Utilizzare l'angolare di giunzione ③.
■ Avvitare l'angolare di giunzione con quattro viti ⑥ agli apparecchi.

Inserire la combinazione di apparecchi nella nicchia
Non danneggiare il cavo di alimentazione elettrica.
Inserire la combinazione di appa-recchi nella nicchia con cautela su pavimentidelicati, per evitare che il pavimento si danneggi.

■ Inserire la combinazione di apparecchi nella nicchia finché gli sportelli sporgono di 2 mm rispetto ai frontali del mobile.
Fissare la combinazione di apparecchi nella nicchia
Le viti sono allegate agli apparecchi.
■ Gli apparecchi sporgono uniformemente di 2 mm rispetto al frontale del mobile.

■ Avvitare gli apparecchi in basso a destra e a sinistra ai mobili adiacenti.
La combinazione di apparecchi si adatta alla nicchia. Il frontale dello sportello è allineato al frontale del mobile.
■ Regolare la registrazione laterale degli sportelli degli apparecchi. (V. istruzioni d'uso relative all'apparecchio, posizionare l'apparecchio sottopiano).
Piano di lavoro in legno

text_image
4 x 14 TX 15■ Avvitare gli apparecchi inoltre al piano di lavoro con l'ausilio della fascetta di fissaggio.
■ Chiudere la base seguendo le istruzioni d'uso degli apparecchi. (V. istruzioni d'uso relative all'apparecchio, posizionare l'apparecchio sottopiano).
Occorre montare assolutamente la griglia di aerazione allegata e, in base alle istruzioni d'uso relative all'apparecchio, utilizzarla con il blocco di materiale espanso fornito.
Ar šo blakusesošu ieriču montāžas komplektu "Side-by-Side" var savienot divus identiskus šādu ieriču modelus.
- KWT 6312 UG(S)
- KWT 6321 UG
- KWT 6322 UG
Savstarpēji var savienot arī modelus KWT 6312 UG(S) un KWT 6322 UG.
Pirms uzstādīšanas
■ Odstranite pokrova.
ManualeFacile