704 - Ζυγαριές SECA - Δωρεάν εγχειρίδιο χρήσης
Βρείτε δωρεάν το εγχειρίδιο της συσκευής 704 SECA σε μορφή PDF.
Συχνές ερωτήσεις - 704 SECA
Ερωτήσεις χρηστών για 704 SECA
0 ερώτηση για αυτή τη συσκευή. Απαντήστε σε αυτές που γνωρίζετε ή κάντε τη δική σας.
Κάντε μια νέα ερώτηση σχετικά με αυτή τη συσκευή
Κατεβάστε τις οδηγίες για το Ζυγαριές σε μορφή PDF δωρεάν! Βρείτε το εγχειρίδιό σας 704 - SECA και πάρτε ξανά την ηλεκτρονική σας συσκευή στα χέρια σας. Σε αυτή τη σελίδα δημοσιεύονται όλα τα έγγραφα που απαιτούνται για τη χρήση της συσκευής σας. 704 της μάρκας SECA.
ΕΓΧΕΙΡΊΔΙΟ ΧΡΉΣΗΣ 704 SECA
- Eyyunueyn niootnta. 369
- Περιγαφη συσκεύης . 370
2.1 Ta θερμα μας συχαρητήρια! . 370
2.2 PpOβλεπόμενη χρήση 370
- PAnpoΦopiec aOpaAεiac . 371
3.1 Baokéc unoδεiEic aopdaiaic . 371
3.2 Yπoδεiεεις αοφαλειας στις παρουσες έδηγες χρήσες . . . 372
3.3 Xεριομός μπαταρίων και συσσωρεύτων 372
- Epiokonon 374
4.1 Στοχεία χειρισου . 374
4.2 Σύμβολα στην oθόνη . . . . . 375
4.3 Σημανον στην πινακίδα τύπου . 376
4.4 377
- Piv aio Tn 8eon λειουργiaac.....378
5.1Sigmaapouoayon oTnA .378
5.2 TpOΦoδoσia pεúμaτος.... 379
TonoEeTnon mntapwv.....379
Σύνδεση τροφόδοτικό (προαρετική παράδοση). 379
5.3 Tonoetnon cuyapiac 380
- Xειρισμός 380
6.1 Zuyiogua 380
EvapEn diadikaoiac
Zuyioataoc 380
Zuyiogua / Paiδiwv (2σε1) 380
AiapknC eMphiavion aOnTeLaequaTOc
muTpnoNc (HOLD) 381
PpoooiopiooKai aEioaoynon
Aektn MaZac aTOc (BMI). 382
YIIOLOVIIOOc KAI EKTUINOWI
TIuNC BMI 382
MeTadoon anotEaouawv
muTpnoanc oepadioekTeC. 383
Antevepyooinan yuyapiac .384
6.2 IepaIepw Aetoupyiec (muvo).384
PAnoyonn oTo muvou 385
AuToMaTn diaypaΦn aOnθηκεμένων τιμών (ACIr). 385
Δiapknc aonθηκεuσn προθετou
Bapouc (Pt). 386
EvpyoioiOn λειοργiac autóμaTnc δiatnponoc (Ahold). 386
Evpyoioinon nxtikwv
OmuTsw (BEEP). 387
PuroanooBc(Fil) 388
AnokataoTaonpuOmuεwv epyoostoiu (RESET). 388
7.To paoobiktuo seca 360^ wireless. 389
7.1 Eoiaywyn 389
sea aoupuatεc ouδεc. 389
Kavála 389
Avaywipion ouokevunc . 390
7.2 Λειουργία ζυγαρίας σε
aσύρματη Μαδα (μενού) . . . . 391
Pouon aoupuatnc ouadac (Lrn). 391
Evépyooinon auómaTnc μετáðooŋc (ASend) 393
Evpyoioi npaoiooToixeiou (SYS) 391
Eπλογη εκτύπωος (APrt) . . . 394
Puroion wpaC (Time) 394
- Kaθαρισμα 395
- Tl kavETε εav... 395
10.Σuvtnpnon/επαvaβaθμovounon .397
10.1 PAnpoopiec oxetikα με ouvtnpon kai επavaβaθμovóμon 397
10.2 'Eλεγχος τιμής μετρητή βαθμονόμησης . 398
- TeXvika δεδομενα 399
11.1 TeviKA TExViKa δεδομεva .399
11.2 TeXviKa δεδομενα ζυγίσματος. 400
12.AEooap 400
13.Anooupon 401
13.1 Antóoupon ouokεuńc . 401
13.2 MπaTapiεc kai oωoωpeutεc . 401
- Eyyunon 402
1. EΓΥHMENH ΝΟΙΟΤΗ

M




Ayopacovtac npoiovta seca 6ev ayopacetE mOvo TExvoia, n onoia eival dokimaouevn navw ano evav aiwa, aaaa kai yunuev n oioTnta, tnv onoia nioto- noiovkv kpatikec unnpoeic kai ivotitouta. Ta npoiovta seca avtanokpivovtai otic eupwnaikec odnyiec, npo-tuna kai eboikouc vououc. Ayopacovtac npoiovta seca ayopacetE to eAov.
Ta npoiovta nou avapépovtai otic napouoec odnyiec xepiou avtanokpivovtai oto vómu nepi iatpiikwv npoiovtwv, odnaoh otic odnyiec 93/42/EOK ka 2007/ 47/EK tou zouβoulaou tnc Eupwniaiknc Koivotntac, oI onoic exouv vmoetikn avaywpiion o e thviikouc vouoc oλn tnv Eupwn.
Zuyapiéc, oI onoic cfepoov auto To onma, avtanokpi- vovta otnv eupwtaikn O8nyia nepi zuyapiwv 2009/23/ EK. OI zuyapiéc seca uTo To onma ekTAnpowov TIC UpsnLec noiotikec kai TeXVKec aanTnoEic, otic oToiec npTei va avtanokpivovta zuyapiéc me duvaTo tnta baOmuovOpnonc.
Zuyapiéc, oI onoiec, fepouv auto To onu, ekTlnpovouv Tic auotnpoc aantaiTnoeic tnc katnyopiac BaOvojunoc lI kai npouv va xpnaoioiouvta otnv iatpiKn yiaetpnoec, oI onoiec aataiouv baOuvounon.
PpoviVt, ta onoia fepoov auto To onu, ekTnnpwovv Tc odnyiec kai Ta npotuna
O8nyia 2009/23/EK oxetiká με ta opyava zuyionc μη autóμatnc λειουρyiac
- Ośnytiecz 93/42/EOK kai 2007/47/EK περί των iατροτεχνολογικών προίντων
DIN EN 45501 περί μετρολογικών απόψεων opγάνων ζύγιος μή αὐτόματης λεῖουργίας
H eayeauikn eouveiioia tnc eiaepiac seca aavwpietai kai ano enionun utnpesia. H Apuodia Ynpesia TeyikoU Eeyxou IatpoTeXvoIoykWv npoiovtwv Enebaewei me To Iiotonointko ot n eiapeia seca Tnpei me ouvenieia tic auotnpotec voukec aatai n oic wC kataokEuaOTNC IatpOteXVOALoykWv npoiovtwv. To uotma DaosphiAionc Poiotntac tnc eiaepiac seca piaaBaveiTouc toeic xediaon, EelAn, Napaywn, diaeon kai Zepic iatpikwv cuyapiwv kai ouotnmuTowu etponoc.

H seca onθαει to περιβαλλον. H oikovouia φυσικων aπoθεματων aπoτελεί πρωτιο τοκοπό μας. Γι a to λόγο auto προσηαθουμε va κανουμε oikovouia uλικων συοκευασίας εκεί οπου επιβαλλεται γι απεριβαλλοντολογικούς λόγους. Kai ὄ, τι παραμένει Πτόλοιπο, μπορεί va aποσυρεί επιτόπου στο Σύστημα Avakúκλω onc.
2. ΠΕΡΑΦΗ ΣΥΣKEYHΣ
2.1 Ta θερμα μας σουχαρητήρια!
Me Tnv nEKTPOVIKn Cuyapi aToMwV seca 704 anoktn- oate mia ouokun nou eivai tauOxpoVa avEeKTIKn KAI npooepei Cuyiopa Ta uNlnc akpiBsic.
Edw ka 170 xpovia n etaipia seca npooepe i tv
Tepa TnC OTIC UINPepia c Tc uyicac kai tnta
WC npwtonopoc etaipia otic ayopec noAkwv xwpwv
TOU KOou vea uETpa ouykpionc ME TIC KAIVOTOUEC TIG
EELiEIC OTOV TOEAuyapiwKai opyavw mETpnonc.
2.2 Προβλεπόμενη χρήση
H nεκτρονική ζυγία ατόμων seca 704 χροιμοποιει-Tai σύμφωνα με τις εθυκές προδίayραφές κύριώς ενοσόκουεία, iατρεία και κίνητές νοσηλευτικές ὄπηρεσες.
EKTc ano To oUbetaTko npooBIOpiOTou Bapouc n Cuyapiia seca 704 npooFepei ia aeIoupyia yia Tov KaOpioTou Dikn MaZac SuMaTOc. Poc To OKOto auto kataxwpetai meow Tou pAnKtpoayiou To uOoc Tou owatoC kai UToLoyiEtautOpata OxETI Koc DkTnc MaZac SuMaTOc.
Meow Tou paioiktuou seca 360^ wireless evai ephi
ktn n aoupatn metaoon twv anoteaouv etpn
onc oe aoupato kTwn seca n oE nAektpoviko
uioyiotn nou diatheta to loviogikó
seca analytics 105 kal tov
seca 360^ Wireless USB adapter 456.
H ouokεun seca 704 εival troxnaTn kai xapn Otnv
ελαίσηn katavαλωρ Ψεματος μποείνα
xρησιροποείται ως φορητή συokεύν Με ενα σετ
μπaṭapiw γι αεγάλο δίασημα.
3. ΠΛHPOΦΟPIΕΣ ΑΣΦΑΛΕΙΑΣ
3.1 Baoikéç uTOnδεiEεic aσφáλεiac
Tnpes TIC UIOEIEc OTC NAPOUc OBNYc XpnoC.
- i u προεκτικά τις ὅηνίες χρόσης μαζι με τη Δήλωση Συμύρφωσης.
Bεβaωθειτοιηζυγαρίαχειασφαλήθεοη πάνωσεπιπεδηκασαθερηειφάνεια.
- ev επιρεπεαι va αφήσετε va πέοει κατω η ζυγapiá. ev επιρεπεαι va εκθέτετε τη ζυγapiá σειχύρες κρούσεις.
- Σε περίπτωση χρόσις τής ζύγαρίας με τροφόδοτικό, πρέπεινα προσεχετε ωοτε το καλώδιονα μην αποτελεί κύδυνο σκόντάματος.
Kavetaktikacovtnpnonkai eTavaaBoVouponTncuyapiac (BLeNTe "Suvtnpnon/ EavaBaOvounon" otn oEla397).
- Avaθεοτε Νγ εKTέλεση εργαιων συντήρησης και επιοκειων απολείοτικα σε εξουσιδότημένον αυτιρόωπο σέρβις. Tov πλησιεότερο αυτιρόωπο σέρβις θα τον βρείτε σή διδικτuaκή πύλη www.seca.com ἡποστέλετε ηλεκτρονικό μήνυμα σή διεύθυνοι an service@seca.com.
Xpnoiopoioie aonoklaioTikauoEvTikacE- oouap kalavtaalakTikasa. 2e diaopetikn npintwn n taipeia seca 6ev avaaubavkaqua euovn.
Pioc aiophiyn eofoeewu eptnoeewn diatapaxwv kaTn padoetadoon npenei va tnpite touxiotov anootaon np.1 mtou aookuec uynawv ouxvotntwv onwC n.x. kivnta tnAeowva.
3.2 Yπoδεiεεις ασφάλειας στις παρούσες έδηνίες χρήσες

KINΔYNOΣ!
EπiΩμaivει εξαipετικά επικίνδυνη κατασταοη.
Eav δεν λαβετε έποψη σας αυτή την Απόδειξη,
θα προκληθουν σοβαροί ανεπανόρθωτοι ἡ
θανατηφόροι τραματισροί.

IPOEIAOIOIHsH!
EπiΩμaivει εξαρετικά επικίνδυνη καταστοη.
Eav δεν λαβετε έποψη σας αιτή την Απόδειξη,
ενδέχειαιν προκληθουν oοβαροί ανεπανόρθωτοι ἡθανατηφόροι τραματιμοί.

PPOsOXH!
Eπiαivει εικίνδυνη κατασταη. Eav δεν λαβετε unóψη σας αυτή την unóδειη, ενδέχεται va προληθουν ελαφροί ἐως μέτροι τραματιού.
PPOsOXH!
EπiΩmaive EVDexóEvO eΦaλevo xεipioo TnC ouokεuç. Eav δv λαβεT e unóψ n oac autn Tnv unδεiεN, EvéxεTai va προληθoúv βλαβεc ouokεuç n eΦaλeva anotελεoupata μετρonç.
YNOAEIH:
Iepiexe Ieipnloev npnofopec xetik a e Tn xpnon Tnc ouokueuc.
3.3 Xειρισμός μπατapiών καλ συσωρεύτών
Autn n ouokvun npadivetai 6 mnatapiec Mignon, TUINU AA. Autoc o TUNOC mnatapiwv dev iva enava-phiopTICoEvoc.AaBETe UTOyN OAC TIC aKoAouEc UTOdeltaic aofoaiaac.

ПОНДОПОIHSH!
Σωματικές βλάβες εξαιτίας ακατάληλου Κειρισμόύ
Oi matapiie, nepixouv eikivduvc ouicc, oI onoic, oE npintwon akatalnau xepiouov vdsxetai va aneuspwouv ekpnktka.
-Mnv npoognae vaa navaopntoe μatapiec.
-Mn 2eotaiveTcmuataipiec/ouoomegaeutec.
-Mnv kaite natapiE/c/oooswpeutec.
-Eav unepxieiaouv oEa, anofouyeT Nv Enaqn edeltapa, maia kai 5evvoyovuc. Eanlevte to nnyevta onmu e afovo Kaapo vpo kai aneuuvtheta quooc
PPOOxH!
Bλαβες συσκεύνις και δυσλειτουργία εξαίτιας ακατάληλουχειρισόμό
-Xpnoiopoieite aonoklaioTkavavaepoEvo TUIO pataiw/ouooewuWv "TooTheTOnpataiw" Otn oEla 379
-AvtikataoTeiTE navTa tauToxpoVa oAec TIC μTatapiEc/ouooeweUTec.
-MnbpaxukukawveTc/ ouoomegaeuc.
-Eav n ouokekun den xpnoiopointheta yia eyaio diaotma, aphiie tic natapicioc/ ouooweputc. Etai anofouyettnv unepxilion oEewv eo aon ouokkun.
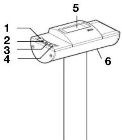
4. ENIISKONHSEH
4.1 Στοιχεία χειρισμό


| Ap. | Στοιχεία χειρισου | Λειουργia |
| 1 | Ενεργοποίηη και απενεργοποίηη ζυγαρίας | |
| 2 | Πλήκτρο βέλους •Κατά τη διαρκεία ζυγίαματος: - Σύντομο πάτημα: Ενεργοποίηη λειουργίας μνήμης (Hold) - Παρατεταμένο πάτημα: Ενεργοποίηη λειουργίας 2 σε 1 •Στο μενόύ: - Επλογήνιαμενόύ, επιλογήσημείου μενόύ - Αύβασητιμής | |
| 3 | Πλήκτρο βέλους •Κατά τη διαρκεία ζυγίαματος: - Σύντομο πάτημα: Ενεργοποίηη λειουργίας BMI - Παρατεταμένο πάτημα: Κλήση μενόύ •Στο μενόύ: - Επλογήνιαμενόύ, επιλογή σημείου μενόύ - Μειωήτιμής | |
| Ap. | Στοιχεία χειρισμου | Λειτουργia |
| 4 | Πλήκτρο Enter • Katá τη διάρκεία ζυγίαματος (εφόσου ἐχει ρυθμιστείρδιδίκτου): - Σύντομο πάτημα: Μετάδοη αποτέλέσματος μέτρη-σες Εότομες γία λήψη συοκεύς (PC με ραδιοστοι-χείo USB) - Παρατεταμένο πάτημα: Εκτύπωση αποτέλέσματος μέτρησος (ασύρματος εκτυπωτής) • Στο μενού: - Επιβεβαίωη επιλέγμένου σημείου μενού - Αποθήκευούρωμισμένης τιμής | |
| 5 | Οθόνη | Στοχείο ἐνδείξης γία αποτέλέσματa μέτρησος καί γία διάρθρωση συοκεύς |
| 6 | Θήκη μπαταρίων | Υποδόχή γία 6 μπαταρίες Mignon, τύπου AA, 1,5 Volt |
| 7 | Σύνδεση στο δίκτυο | Εξυπηρετεί στη σύνδεση προαρετικόν τροφοδοτικό |
| 8 | Τροχοί μεταφοράς | Πάνω στους τροχούς autoúς μπορείνα μεταφέρεται η Κυγapiá |
| 9 | Βίδα βάος 4 | τεμάχία, εξυπηρετούν στην ακρίβή ρύθμιση |
| 10 | Δεροστάθμη | Δείχει av η συακεύŋ Ἇχει σριζόντια θέοη |
4.2 Σúμβoλα στην oθóvn

A B C
655 kg
| Σύμβολo | Σημασία | |
| A | Μπαταρίες εἰναι αδύνατες | |
| B | Λειουργία με τροφόδοτικό | |
| C | Δεν ἐχει ευεργοποιηθείι κανή λειουργία βαθμονόμησας | |
4.3 Σήμavον στην πιναίδα τύπου
| Kειμενο/σύμβολo | Σημασία |
| Movéλo | Αριθμός μοντέλου |
| Τύπος | Ονομασία Μύπου |
| Ap. σειράς Αριθμός | σειράς |
| Λάβετε έπόψη τις Εθυγίες χρήσε | |
| Ηλεκτροίατρική συσκεύή τύπου B | |
| Συσκεύμη με προστατειτίκη μόνωση, κλάση προστασίας II | |
| FCC ID | Γία ΚΗΑ: Αριθμός εύκριδης τις συσκεύής στην Αγπρεσία HΝΑ Federal Communications Commission FCC |
| IC | Γία Kαναδά: Αριθμός εύκριδης τις συσκεύής στην Αγπρεσία Industry Canada |
| CE | Η συσκεύή συμμορφώνεται στα πρότυπα και σθηγίες της EΚ. |
| FC | Σύμβολo FCC (ΗΝΑ) |
| +--- | Λειουργία συσκεύής μόνο με συνεχές ρεύμα |
| Μην αποσύρετε τη συσκεύή στα Εικίακα απορρίματα |
4.4 Doun μενού
Στο μενου της συσκεύς ἐχετε στη δίαθεοή σας περαι τέρω λειτουργίες. ἡτοι μπορείτεν αν διαρθρώετε τη συσκεύμι δανία γία τις δικές σας συνθήκες χρόης (λεπτομέρείς αὐό Σελίδa 384).



5. ΠPIN ANO TH ΘΕΣH ΛΕΙTOΥΡΙΑΣ…
5.1 Συναρμολόγηση στήλης

H orn n me Tnv evse i n LCD mnpi va ouvapmooyn- o e duo teic. Me tov tpno auto kathetae Tnv kateuuvon avaywong n c evdelta - npoc tn v eni favia otnpie n anevavti.
-
EioayTe Tn maoka Tnc otna nC otn otna.
-
TOnoθεποτε τη στήλ Θσην εγκοπή στην επιθυμπή κατεύθυνοπ.
-
BiodwotE Tn otNAn ano kAtw e Tnv nLaatOppa CviuaToc.
Ev avaykn avatpeyTE npooekTKa OTO nai Tn Cuyapiia yia va ophiEETc BiEc.
- Συνδεοτε σύμφωνα με τήν απεικόνιση τα βύσματα του καλωδίου ευδείξεων σήν κάτω πλεύρα τής πλατφόμας γυγίσματος.
PPOOxH!
Auotoupyia eaiiaoc aalatooc ouvapuooynonc
Eav ta kaawia ouvapmooynouv etoi, wot va piokovtai uno evtaon, n.x. eav auviotouv nou n oanaetie buua, evexetai va npokn-oouv eoaluevec evseic kai diaakonTnc oovnc.
- uvapuooynoTe ola ta kaawdelta etoi, wot va unv lauyioTOUV nOu OTE va onaOTUV Buouata.
- Aiaofoaiote avakouphiion katanovnonc, ouvapmooyuvTac ola ta kaawdelta Ota oxetikə otpiyuata.
- Στερεώτε τα καλώδια στα χετικό στηρίγματα.
- Katoniv avopwoTe nai tN cyapia.
- Σπρωετε τη μασκα της Θήλης τέλειως προς τα κατω, ἐως ὄτου ασφαλίσει Θήν πλατφόμα ζύγισματος.
5.2 TpOΦoδoσia pεúμaToc
H TpOphiOoia pEupaToc Tnc Cuyapiac yiveTaI e PnataPcic n E TpOphiOToKo, To oToio EivaiaDiaBecoiO wC aEooap.
Toonétnon μπatapiwv Xpεiαεσε 6 μπatapieç Mignon túnou Typ AA, 1,5 Volt (περιεxovτaɪ OTN Σωοκεuaio πapáδoʊnc).

- Παποτε στο κλείστρο της θήκης μπαταριών.
- AvoiETe To kaTakI Tnc Onknc matapawv.
- Byáλτε to στήριγμα μπαταριών.
- TOnoTeTnOte tic mntapiec oTo otnpiyua.
YI0DAEIEH:
Pooexe Tn OoTn PNOIkOTnTa TwV MATApivv (Ounavon OTo OTnpivma Pnatapivv). NepiTTwn Emuavionc Tnc EvEIGNC BAE tNv oOvN, ExTe TOnoBETnoE EoPaAmeva pia mtaTapia n oi pataie c evai adoeic.
- ToTOnoTeTnToTo TnpiyMa Tc aT ap i c Otn nTnataipiowv.
- Kλείσε τη θήκη μπαταρίων.
Σύνδεση τροφοδοτικό (προαρετική παράδοση)

H Cuyapiá μπopείνa λειουρείμε έροφδοτικό, TOnoio διατιθεται ως προαρετικό εξάρτημα.

IPOEIAOONIHsH!
ti ti i i 0aAeVwTPOoOoTikw
Sigma Μενροδιας εμπορίου ευδέχεται va παρεχουν υψηλότερη τάση, αήσου αυτή που avaφερουν. H Κυγapiα μπορείν αυπερθερμανθεί, va πίασει φωτία, va λειώει ἡναβραχύκικλωθεί.
-Xpnoiopoioie taoklaotikauoEvtka trophiobotikasaeca 9V nputhetaovn taon Eosou 12V.
- EioayeTo anapaTnTo a nAekptiknc npaoxnc oTO TPOoOdeltaTiko.
- EioayeTo uou Tou Tpofootikou otnuofoxntcuyapiac.
- EoiayeTo Tpofoosotko e nEeKtpikn pizca.
5.3 ToTOnoTeTnon Zuyapiac

PPOZOXH!
Eofoevn eTpnon Eaiaac npakamptiaocovdceonc
Eav n cuyapiia To piaio eiva n.x. navw oE ntoeTa, dEv evai efiktnn owtn mETpnon Tou bapouc.
-
TOnoTeTnOte Tn Cuyapié EToI WOTe va Exel anokLeiOtiká EtnaΦn μE TIC βIDec βaONc μE To δanεδo.
-
TOnoTeTnToTe Tn Cuyapiia oE Otaepn, Eπiεδη επiΦavεia.
- Euθuypaμiστε ηιγapiα περισρέφοντας τις βίδες βάσεις.
H i a TnC aepooTaOmnc npenv a Bpoketau OTO KEVTO Tou Kukou.
6. XEIPIeM'Oe
6.1 Zúyioμα
EvapEi diaikaoiac yuioaTOC

635
Zuyiouma v/ iikpov naiδiw (2 σε 1)
- Bεβαιωθείτε οτι ηςγαρία εἶναι χωρίς βάρος.
2.ПeOTeToπλнкТpoEKKivnOη.
Στην ενδειξη εμφανίζεται SECR, κατόπιν εμφανίζονται Μύντομα ὄλα τα στοιχεία τής Θθόνης.
H zuyapié éival e λειοργίκη ετομότητa εφόσον εμφaviotεi σην oθόνη ἐνδειξη 00.
Eav n Cuyapiia I Toupyei TpofooTiko, EmuaviEeai Otnv EvdeltaTo oumoAo
- Aνεβείτε στη ζυαρία και παραμεῖνετε σε ἡρεμη στάση.
- i to anotéλεσμaζuyioμatoc.
Me tnBohthetaia TnClambda 2 o1 1 npoeite va kaopioeTe To apoc v kai ikpov naidow.
Ppoc TO oKoTo auto To naiTo KpataEi Evac EvnAikac Otnv aykAln Tou kata Tn diapkeia CuyioaTOc.
PpOeTe Otny aKoAouTh δiaδiKaioia:
- Bεβαιωθείτε οτι ηςγαρία εἰναι χωρίς βάρος.
635 kg NET
- Napakaλεοτε tov ενήλικα va ανεβεί στη ζυγapiá.
- i to aotéλεσμa ζυγιαματος.
- Διαπρήσε πίεομένο το πλήκτρο βέλους (hold/2 in 1), ἔως ὄτου εμφάστεί στην οθόνη το μήνυμα NET.
To apoc aioeKεUεTai.
0.0 εμφανίζεται στην oθόνη.
NPOZOXH!
Eoafalmev n metpnon eaiiaac alambdaic apxikou bapouc
Eav To Cuyioa Tou Paiou yivei e aIao apxiko Bapoc, dev evai eiktoc o wotoc kaopiooc Tou papouc Tou Paioiu.
- Beβaωθειε οτι Τύγισμα τοῦ παιδιου γένειαι πάντα με τοῦ ευπλίκα, με τοῦ στοίον καθορίστηκε το αρχιό βάρος.
- Bεβαιωθείτε ὄτι δεν μεταβαλλεται οβάρος Κου ευήλικα, πχ. με αφαίρεση ρουχιμόου.

- Napakaλεοτε tov ενήλικa va πάρει to παιδί μαζι tou στη ζυγapiá.
Euφaviεται το βάρος του παίδιου.
Euφavičovtai to σύμβολo àto σύμβολo Απως επίσης τα μηνύματa „HOLD" και „NET".
- Napakaλεοτε tov ενήλικa va εγκαταλείψει τη ζυγαρία μαζι με το παιδι.
- Tia va anevpyoioeTn aeitoupyia 2 oE 1, nie-OTe To nnKtpo BéLouc (hold/2 in 1), ewc otou Otauataouv va eufavicovtai To oumuolo To oupolo AnwC eianc Ta mnuupaTa ,HOLD" kai "NET" n anevpyoioeTn cuyapiá.
Δiapknc εμφávion anotελεσμatoc μετρησnc (HOLD)

Eav evpyoioiote n aeitoupyia HOLD, ouvexicvi a
eupaviotai n tiun bpouc kai tnv avakouphiion
tncuyapiac. Etoi npopeite va povtioe Tpwa tov
aoevn kai tva onmuwete tnv tiun bpouc.
- Beβaiωθείτε οτι ηύγαρία εἰναι χωρίς βάρος.
- Napakaλεοτε tov aσθενή va avεβει στη ζυγαρία.
- Πεοτε σύντομα το πλήκτρο βέλους (hold/2 in 1).
H ενδειην αναβοσβήνει εως ὄτου μετρηεί σταθερό
βάρος. Katόπιν εμφaviζει ται διαρκώς η τιμή
βάρους. Εμφaviζονται το σύμβολo Δόχι κανή
λειουργία βαθμονόμησς) και το μήνυμα „HOLD".



- Tia va anevepyoinote nλeitoupyia HOLD, πε-σε σύντομa to πλήκτρο βέλους (hold/2 in 1). Δεν εμφaviζονται πλέον το σύμβολo και το μήνυμα „HOLD".
YIIOAEIH:
Eav evai evpyoioinuev n aeitoupyia autouaTnc diatnpnoc (Autohold) n tiun bpouc
eupavietai autouata diapkwc. 2e "EvpyoioiOn aeitoupyiac autoupatnc diatnpnoc (Ahold)" otn oelida 386 .
- Bεβαιωθείτε οτι ηςγαρία εἶναι χωρίς βάρος.
- Πεοτε σύντομα το πλήκτρο βέλους (bmi/menu). Εμφάνιεται το μήνυμα "BMI".
Στην oθόνn avaβοσβήνουν βελη.
Eμφαviζεται TO τελευται καταχωρημένού υος.
- Mnopeite va anobexTeTo avapepoEv o uoc n va puthetaE eva aAlo uoc Ta nnktpa 8ouc.
- Eπιβεβαίωτε τη ρύθμιση σας με το πλήκτρο Enter (send/print).
- Napakaλεστε Tov aσθενή va avεβει στη ζυγapiá Ka i va παραείνει σε ἡρεμη στάση.
- Δiaβασετην τιμή BMι και κανετε σύγκριοη με τις κατωτέρω αναφερόμενες κατηγορίες.
- Ia va anevepyoonoioeTc n aeitoupyia BMI, niotse ouvtoua To nnKtpo Enter (send/print).
| BMI | Aξιλόγηση |
| Κάτω από 18,5 | Ο αοθενής ζυγίζει πολύ λίγο. Ενδέχεταινα Αραχει τάση για ανορεία. Προτένεται η αύξηση βάρους, υωτενα βελτιωθείη ευείας καὶ Αποδοτικότητα. Σε περίπτωση αμφίβολιών πρέπεινα ζητηθείσουβουλή από εἰδικό οτρό. |
| μεταξύ 18,5 καὶ 24,9 | Ο αοθενής ἐχει κανονικό βάρος. Επιρέπεταινα παραμείνει ὄπως εἶναι. |
| μεταέν 25 και 30 (προπαχοσαρία) | Ο ασθενής ἐχει ελαφρύ ἐως μέτριο έπέρβαρος. Θα πρέ-πεινα μειώς το βάρος του, εφόσου συντέχει ὁδηκάποια ασθένεια (π.χ. δίαβήτης, Απέρταση, oύρική αρθρί-Tιδα, δίαταραχές μεταβολισμου). |
| πάνω από 30 | Η μείωη βάρους θεωρείαι επείγόντως απαραίπητη. Επιβαύνονται μεταβολισμός, κύλοφρία και στά. Προτείνεται συνεπής δίατα, πολύ κύνηση και εκγύμναση συμπερίφοράς. Σε περίπτωη αμφίβολιών πρέπεινα Κητηθέι συμβουλή από εἰδικό Ατρό. |
Yπoλογισμός και εκτύπωση τιμής BMI
Eav xpoiooieTe autn tn cuyapia maCi me aoupuato EKTUWTn kai paBdo meTpnonc uyouc ano to ouotma seca 360^ wireless, mopetv va unoloyioe auTo- maTa Tnv tiN BMl kai va Tnv ekTuwoeT.
YI0AElH:
PpouTOn yia Tn λειOupyia autn εiva n δλωση Twv ouokεuωv σμia aoupuatn opáδa (βλεπε “To paδiδiktuo seca 360° wireless” στη σελiδa 389).
- Προβείτε στό ζύγισμα.
- NIEOTe OvToa To PAnKTo Enter (send/print) Tcuyapiac. H Tmu n MeTpnoC mEtaDIdEraI oTov aOuPmuTo EKTU πWTn, aAld eV EKTUnwVtai.
- PpOeIe Otn n eTpnon uouc.
- Πεοτε σύντομα το πλήκτρο Enter (send/print) της ράβδου μέτρησις ὄψους.
H τιμή μέτρησις μέτadīδεται στον ασύρματο εκτυπωτή.
Γίνεται Ανολογιμός της τιμής BMI.
Ekτυώνονται ὄψος, βάρος και τιμή BM.
Métaboan aπotελεματων μέτρησος Σε paδIoδέκTες
Eav n cuyapié éiva evomegaatwévn oε paiodiKTuo seca 360^ wireless, mopéite va μεtaδiδεTE ta anotελeouata μetpnonc με πaŋma πλκtpou oε etoic προς ληη σωkeuεc (aupmuTo EKTUWTn, PC με paiooTOiExio USB).

Piεσετο πλήκτρο Enter (send/print).
-
Suvtoua natau a nktpou: Metadoon anotelaaatwv tponc oE toiuec npocnoukeuEc
-
MaKpU nATnua PAnktpou: EKTUnwOn anotEaogatoc μETponoC oTov aOpauTo EKTUNWTN
Anvepyotoinon Cuyapiac

PiEoTe To nAnKtpo Ekkivnon.
YI0AElH:
Tn Iouyia nuyapia anepyo Ttai autopata a ano ouvtuo diaotma, evd vipapuv
6.2 Περατέρω λειτουργίες (μενό)
Στο μενου της Μυγapiac ἔχετε Πθη δίαθεοή σας περαι-τέρω λειτουργεες. ἡτοι μπορείτεν αν διαρθρώετε τη Μυγapiá Μανία για τις δικές σας Συνθήκες χρόσε.

* Tnv πeipyaΦn tou onuεiou μevou ,rF" θa Tnv βpeite oTo εδáφio "Aεitoupyia Cuyapiaç σαομatη ouáda (μevou) oTn σελiδa 391.
IIaOnn oTo mEvou 1. Evepyoioiote Tn Cuyapiia.












- DiatnpnoTe naiuEvo To PAnkTpo BéLouc (bmi/ menu), EwC otou kAnthei To evou.
Στην Εθόνη εμφανίζεται τελευταιδιλεγμένοσημεύ μενου (εδώ: αυτόματη διαπήροση „Ahold").
- Πεοτε εva aπο τα πλήκτρα βέλους εως ὄτου εμ-φαισει στην oθόνη το επιθυμιŋτό Θημείο μενου (εδώ: απόβεση „Fil").
- Eπιβεβαίωτε την επιλούγή σας μετο πλήκτρο Enter(send/print).
Euφavicovtai n tréxouo a puθμiαn yia to onμεio μενού ἡ εva unομενού (εδω βaθμiδa „0").
- Tia aalayn Tnc puthetaionc n klnon aalou unouevou, piote eva ano ta nknptpa belaoc ecw otou euphiavioTei n eithouuntn npthetaion (edw: bathetaida ,2").
- Eπιβεβαίωτε τη ρύθμιον με το πλήκτρο Enter(send/print).
To k a t a i n t a i a u t o a t a
- Ia va npoBcIe oE nepaITepw puOioic, kaTe EK vou To evou kai EKTeAOTe Tnv NepiypafoEvn diaikocia.
YI0AElH:
Eav yia np. 24 utepoAeTTa nTn8i nnKtpo, to evou Eykaataeinetai autoupaTa.
Autouatn diaypañ aTOnkεuévωv Tμwv (ACIr)
Ppoc aiofoyn npapauovnc paiwv PIAeov aotetEaouawv tepnongc otnpun nTNC OoKEuNC kai evde xoeuvou ophiavou unoloyiaou tiuc BMI, npopiete va puthetaTE n Cuyapié Etoi, wote ta anotEa-ouata eptponc va diaypaovtai autopata e Ta v npel5eun 5eTTWv.
YNIOAEIH:
Σε μερια μοντέλa n λειουργia autη εχει ενεργοποιθει ano to εργοστάσι. Eav to επιθμείτε, μπορείτε va anενεργοποιόετε autη τη λειουργia.
ACLR
- Eπλεξτε ΟΟ μενού το σημείο „ACIr".
- Eπιβεβαιώτε την επιλούη.
-
Eπλεξτε ην επιθυμιπή ρύθμιση:
-
On
-
Off
-
Eπιβεβαιωτε την επιλούη.
To a i n t a i autópata.
Δiapknç aπoθnkeuon πpóσεtou βapouc (Pt)




Evεργοποιηση λειτουργίας αυτόματης διατήροησης (Ahold)
Me tn λειουργia προ-απόβαρου (Pre-Tara) μπορείτε va aπoθηκεύσετε διαρκως ενα πρόσθετο βάρος, ka va to aφαipείτε autóμata aπο ενα anotελεσμa μετρηόnc. Mπορείτε γι απαράδειγμα va aπoθηκεύσετε ενα βασικό βάρος γι αποδήμata καì pouχισό, ka va to aφαipείτε κάθε φρόσα που ενα αοθενής ζυγίζεται με πλήρη ενδύμασía.
- Eπλεξτε στο μενού το σημείο „Pt". Εμφανίζεται το μήνυμα „Pt".
- Eπβεβαιωτε την επλογή σας. Στην oθόνη αναβοσβύνουν βέλη. Εμφανίεται τελευταια ποθηκευμένο πρόσθετο βάρος.
- Mnpoeite va anodexte tnv anoNkuev n Tmu n va tnvaalalee Ta nKtpa Eouc.
YI0DAEIH:
Eav kataxwpnoεTc TnV Tμn "0", n λειουργia anενεpyoioεiατai. To μηνuμa „Pt" δεν εμφaviζετα πλέον σθν oθόνη.
- Eπιβεβαιωτε την επιλογήσες.
- Napakaλεοτε tov aσθενή va avεβεί στη ζυγapiá.
Euφaviεται to βάρος του aσθενούς.
To aποθηκειμένο πρόσθετο βάρος αφαρεθηκει autóμata. - Ia va anevepyoonoeTn λeiopyia, eiléETo oEvou ek vou To onuio "Pt".
- Eπβεβαωτε ην επλογή σας.
H λειουργία πενεργοποήθηκε.
To μενού εγκαταλείπεται autόματa.
Eav evpyoioote nIeitoupyia autoupatnc diatnpn onc (Autohold), ouvexiiz va ephiavietai n tiun mETpnonc oK athe diaikacia cuyioaTOC mTa Tnv avakoufion tnc cuyapiac. suvepiwsc dev ivai anapaiTNTn n xepokivtnn evpyoioinon tnc Ieitoupyiac diaTnpnonc (HOLD) yia kaeuovwevn diaikocia cuyioaTOC.
YI0AElH:
- Ενερικα μοντέλα ηειουργία αὐτή εχει ενεργοποιηδεί αὐτό τεργοστάσι. ἀν το επιθυμείτε, μιρείτε συ αὐενεργοποίησει αὐτή τη λειουργία.
AHOLD
On
-
Avεçaptna aπο την εδω επιλεγμένη ρύθμια, στη λειουργia 2 σε 1 o Φιολογισός του βάρους του παιδίου γένεται πάντα μέσω auτόματης διαπήροσς (Autohold).
-
Eπιλέξτε στο μενου το σημείο „Ahold".
- Eπιβεβαιώτε ην επιλούη.
Eμφανίζεται η τρέχουσα ρύθμιοη. -
Eπιλέξτε την επιθυμητή ρύθμιοση:
-
On
-
Off
-
Eπβεβαιώτε ην επλογή σας.
To μενου εγκataλεπεται αυτόματa.
Evεpyoioηn ηxntikων σηματων (BEEP)
Av to i i , mnpie va putheta ete kaee πatnua nanktpou kai moic oneiwthetai otaepn tmu npapouc va nxei nxntiko ana.To teautaio exei onuaia yia tn laitoupyia autopatnc diatnpnonc (Hold/ Autohold).
BEEP
YI0AElH:
H I toupyia ,Hxntiko onma oE Otaepn Tmu np
papouc" exi evpyoiointhe i OTO epyootaoio.
Eav to epiuie, mopite va anevpyoioi
oETe autn tn I toupyia.
Press
- Eπιλέξτε στο μενου το σημείο „BEEP".
- Eπiβεβαιώτε την επιλούη.
-
Eπλέξτε ενα σημείο μενου:
-
Press: Hxntikó σήμα με πάτημα πλήκτρου
-Hold: Hxntikó onμa σε σταθερή τιμή βάρους -
Eπιβεβαίωτε την επιλούγή σας.
Euphiεται n τρέχουσα ρύθμιση.
-
Eπiλεξτε ην επιθυμητή ρύθμιση:
-
On
-Off -
Eπιβεβαιώτε την επιλούγή σας.
To ekataaleinetautopata.
- Eav eπiθuεiTe Tny evεpyoioinon Twv nxntikwv onμαtwv kai yia tn δειτερn λειtoupyia, επavaλaβá-vεTE tN diδiKaioia.
Püθμiən aπóσβεσηç (Fil)
FIL
FIL0
FIL2
Me tnv anoosn (Fil =phiTpo) mnpoeite va eiwosotie diatapaxec katavov kaopioo tou bapouc (π.x. Ea-tiac kivnoewv aoeewv).
-
Eπιλέξτε στο μενου' το σημείο „Fill".
-
Eπιβεβαιώτε την επιλούγή. Εμφανίζεται η τρέχουσα ρύθμιση.
-
Eπλεξτε μia βaθμiδa anóαβεοης.
-0:ελαxioTn aπóβεoN
-1:μετρια απόσβεοη
-2:ioxupn aiooβeon
- Eπβεβαιωτε την επιλογή.
To μενου εγκαταλείπεται autόματa.
AnokaTaoTaon puOiOeWv EpyoOtaiou (RESET)
Tia Tc akolouthetac λεitoupyiec μπopéiteva aonokataσntnoεTE Tc puθμioεic εpyoσtaoiu:
| Λειουργία | Ρύθμιοη εργοσταιου |
| Αυτόματη διατήρηση (Ahold) | ανάλογα με το μοντέλο |
| Ηχητικό σήμα (Press) off | |
| Ηχητικό σήμα (Hold) on | |
| Απόσβεοη (Fil) 0 | |
| Autoclear (Aclear) | ανάλογα με το μοντέλο |
| Pre-Tara (PT) 0 kg | |
| '丫ψος γία Δείκτη Μάζας Σώματος (BMI) | 170 cm |
| Ραδιοστοιχείο (SYS) off | |
| Autosend (ASend) off | |
| Autoprint (APrt) off |
YIHOAEIH:
KaTaNv anokataoTaonTwpuOioeWv Epyo- oiaou to paioToixeio aEvEpyoioiitai. O I npoopiec oxetikacu npxouoc aoupa Tc oadec diatnpovtaI. O aoupaTeC oadsc dev npen va puOIOTuV ek vou.
RESET
- Επλέξτε στο μενους το σημεία „Reset".
- Eπβεβαιώτε την επιλούγ.
To μενου εγκataλεπεται autóμata. - AnvepyonoioTc nuyapi. Iivetai naI anokataoTaon Twv puOmuEwv Epyo- Otaoiou kai eivai diaeoiuec moiC vepyantoinEi EK vou n Cuyapi.
7. TO PAΔIOΔIKTYO SECA 360° WIRELESS
7.1 Eioaywyn
Autn n ouokun eivai eoanouevn e eva paootoi xio.To paiootoixio kaotia efiktn tvv aoupnat mtaoo anoteeouatwv etponnc yia aioynon kai teknpiwn. H taoon twv dodoeuvv eivai efiknt yia tic akoloueoc ouokuec:
- seca aoupuatoC EKTUTWtnc
PC seca paooToixio USB
Napadεγμa δiαρθρωοις, αριθμοί καναλιών για τη ρύθμιση 3 ασύρματων Μαδων ευτός ενός iατρείου:
- Aσύρματη σαδα 0: C1=_, C2=30, C3=60
- Aóúpátn oúδa 1: C1=10, C2=40, C3=70
- Aúpmaŋ oáδa 2: C1=20, C2=50, C3=80
Avayvwpion ouokeuç
OTav puθμiετε με ηιγαρia μia aσύρμαη Μαδα, η Σωκευή avaζητά περατέρω ενεργείς συοκευες από ΤΟιστημα seca 360° wireless. Π αγανωρισθείσες συοκευες εμφανιονται στην Θόνη τής Συαρίας ως δόμοστοιχεία (π.χ. MO 3). Ta ψηφία εχουν τήν ακόλουθη σημασία:
1:Zuyapiia atóμwv
2:Paβδoc μετρησις ὄψους
3: Aóúpáotoc EKTUπωτnC
- 4: PC με seca paδιοστοίχείo USB
7:Zuyapi Bpεφωv
- 5,6 ka 8-12: Kpatnoeic yia eKtaon ouotmuatoc
7.2 Λειτουργία ζυγαρίας σε ασύρματη Μαδα (μενό)
OLeC oI aeitoupyiec nou xpeiaZeote yia va aeitoupyn
oTe Tn cuyapia 0e aoupuatn ouada seca, pioKovtai
To uonoevou ,rF". PAnpophiic cxetikac e Tnv nnynon th a BpEITE Otn Zeia385.

Evcpyoonpaoiooixeiou (SYS)
H ouokun npadivetai e anevpyonoinevo pao- otoixio. Oa npenei va to evpyonoiote npwta kai katoniv mnpesie va puthetaote ia aoupuatn ouada.
YINOAEIH:
Molc EvpyoiaeTo paioToxie, auEaVetn katavawon peuatoC Tnc ouakeunC. Tn aeitoupyia Tnc ouakeunC o paiodktuO npotivoue Tn xpnon Tpofootikou.
595
- EvpyoToi'otε τη υοκευή.
- Eπλεξτε στο Ανιμενου „r" T O σημείο μενου „SYS".
- Eπιβεβαιωτε την επιλογή.
- EnleEeTc n puOthion, on".
- Eπβεβαιωτε ην επλογή.
To μενου εγκαταλεπεται autóμata.
0n
Póthiogn aópuatnç oáδaç (Lrn)
F
Tia va puthetaiote uia aoupuatn ouada, npo3eite otnv Engs diadikosaia:
- EvépyoioTε Tn ouokεuŋ.
- Kaεστε το μενού.
- EntéTE ΟTo μενού To Μημείo „r".
- Eπιβεβαιωτε την επιλογή.







- Επιλέξτε στοῦνημενου „r" το σημείο μενου „Irn" (learn).
- Eπεβατετην ειλογή.
Eφαίεται τρέχουσα μυθμισενη ασύρματη Μαδα (εδώ: ασύρματη Μαδα 0 „ID 0“).
Eαν Απάρχει δόην ασύρματη Μαδα „0“ και επιθυμείτενα ρθμίσετε με αυτήτη συοκεύη μία περαι τέρω παδιοζώνη, επιλέξετε με τα πλήκτρα βέλους ενα αλλο ID (εδώ: ασύρματη Μαδα 1 „ID 1“). - Eπεβαωτε ην ειλογή σας έχεικά με ην αύρματη Μαδα.
H συσεύη προτείνει ἐναν αριθμό καναλιου για το καναλι 1 (εδώ C1 „0").
Mπορείτεν αν αποδεχτείτε ον προτεύμενο αριθμό καναλιου ἡν ριθμίσετε με τα πλήκτρα βέλους ἀναλλο αριθμό καναλιου. - Eπιβεβαιωτε ην επιλογή σας γία το κανάλι 1.
H συοκεύη προτεῖνει ἐναν αριθμό καναλιου γία το κανάλι 2 (εδώ C2 „30").
Mπορείτεν αν αποδεχτείτε οῦν προτεῖνόμενο αριθμό καναλιου ἡν ριθμίσετε με τα πλήκτρα βέλους ἀνα ἀλλο αριθμό καναλιου.
YNOAEIH:
H npapaoan apiOu kavaioyivetai xwpic Kevo diaotma. H evseIEn ,C230" onpaive: Kavai,2", apiOoc kavaiou ,30".
- Eπιβεβαίωτε ην επιλούγό σας για το κανάλι 2.
H συοκεύη προτεῖνει ἐναν αριθμό καναλίου για το κανάλι 3 (εδώ C3 „60").
Mπορείτεν αν αποδεχτείτε ον προτεῖνόμενο αριθμό καναλίου ἡν ριθμίσετε με τα πλήκτρα βέλους ἀνα ἀλλο αριθμό καναλίου. - Eπιβεβαιώτε την επιλούγή σας γία οκανάλι 3.
To μήνυμα Ἀθρ εμφανίζεται στην oθόνη.
H συοκεύη αναμένει σήματα ἀλλων συοκεύων με δυνατότητα πραδιοεμβέλειας.
YI0AElH:
Σε μερικές συοκεύς πρέπειν ακολουθείαι
μία Μδίαίτερη δίαδικασία ενεργοποῖοῦς, εὰν
πρόκείαιν ενωματωθουν σε μία αὐρματη
ομάδα. Αβετε έπόψη σας τις ὄνηγες χρόŋς
Τής ἐκάστοτε συοκεύής.
- Evpyoioiote Tn ouokun, Tnv onoia θελετe va εvωμatwoe TnV aúpuatn oáδa, π.x. evav aúpuato EKTUπTn.
Mólcavaywpioté o aoupuatoc EKTUWTnc nxE evac tovoC mTIT.
YI0DAEIEH:
Mólic evoμaTWOε Evav aoupuato EKTU WTN ΟTNV aoupuatn opδa, npεπι μετá va επiλεEETε μia επiλoyn EKTUNWT (Mevou'rfVAPr) Kai va puθμioεTE TNY ωpa (Mevou'rftime).
- Enavaaiaabéte to 3nμa 11. ia oεc tic ouokεu-ec, tic onoiec θeλeTE va evωμatwoeTE OE autn Tnv aoupuatn ouδa.
- Πεοτε το πλήκτρο Enter για va τερματίσετε τη διαδιασία αναζήτησις.
- Πεοτε ενα πό τα πλήκτρα βέλους, γιαν εμφανίσετε τις συακεύες, που αυγωρίστηκαν (εδώ: Mo 3 για εναν ασύρματο εκτύπωτή).
Eav evomegaatwoate πeioootepc oukeuec otnv aoupuatn oupa,piote Ta nktpa belouc,yia va diaophiaiosTe to yevovoc ot avaywpiotnkav oAec oi oukeuec ano tn cuyapi.
- EykaataaieiTE TO evou u To nKtpo Enter n nepivcEe T OTOU yive autopatn Eykataaieiouevou.
No 3
Evεργοποιηση αυτόματης μετάδοης (ASend)
Mnpεite va diapθpωσετ η Σωκει ἐται, ωτεν αγίνειαutóμatη μετάδοη τυν αποτελεσματων μετρησός Εόλους τούς ετοιμους προς λήψη και δηλωμένους στην ὄσμματη Μαύδα δέκτες (π.χ.: aσύματος εκτιπωτής, PC Με ραδιστοιχείο USB).
YI0AElH:
Eav xnpoiopoie taupuato kTuWt,
Bepaiwtheta ot edv exi puthetaiwc eiloyn
kTuwnoc "off" (beta "Eiloyn kTuwnoc
(APrt) otn 394).
RSEnd
0n
- Evépyoioióτε τη υοκεύη.
- Επλεξτε στο Ανομενου „r" το σημείο μενου „ASend“ και επιβεβαίωτε τήν επιλογή.
- Επιλέξτε τη ρύθμιον „on" και επιβεβαίωτε τήν επιλόγή.
Eπιλογή εκτύπωσης (APrt)
Mnpoeite va diapthetae Tn ouokun EToi, wote Ta anoteloea ta metpnonc va eKtuWovvta autouata aaouropato kTuWtN nou evai dNwEvoc otnv aoupatn oada.
YIIOAEIH:
Autn n I oupyia eiva npoitn eoov Tnc I oupyiac ,learn" evosuatawthke aupaToc EKTUNWTNC seca otnv aupuatn ouda.
APrE
- EvépyoioTε Tn ouokεuŋ.
- Επιλέξτε στοῦνου, "To σημείο μενου, APrt" και επιβεβαίωτε τήν επιλόγή.
- Eπλεξτε Νγκατάληλη ρύθμιον γία το συνδύαμό σύσκεύων σας:
-HI:AnotEaOpata μετρηοις Σωκεων μετρηοις υψους
- MA: Anotελέσματa μέτρησς ζύγαριών
-HI_MA:Anotελεσμata μετρηοις συοκευών μετρηοις ὄψους και ζυγαρίων
off: Kaia autoata n ektuwn, eiktn kkuTwn ovo makpu natnua tou nktpou Enter kat a tn diaikacia zuyiopatoc.
- Eπβεβαιωτε την επιλογή σας.
To ata in tai autouata.
Póthμiση ωρας (Time)
MnpεTE va diapθpωεTE TO σοτημα εΤΟΙ, ωοTE o aσύρμaTOC ΕKTUNWTNc VA προσθΕTEI autóμata OTA anOTELεOμATA μεTpONC ηερομnVia kai ωpa. Npoc To σΚΟΝΑUTO ΠρΕΠΕΙ VA puθμioεTE μia φορα TNY ηερoμnVIA KAI TNY ωpa ΣTN ΣUOKΕUN autN KAI VA μεΤΔδω-σΕTE ΘΟ ΕΘEPIKó POλι TOU aσύρμaTOU EKTUNWTN.
YI0AElH:
Autn n I oupyia eiva npoai n eoov Tnc I oupyiac ,learn" evosuatawthke aoupaToc EKTUNWTNC seca otnv aoupuatn ouada.
E INE
- Evεργοποιότε τη συσκεύŋ.
- Επιλέξτε στούπουνό „r" το σημείο μενου „Time".
- Eπιβεβαωτε την επιλογή. Εμφανίεται η τρέχουσα ρύθμιση για το „ετος (Year)"
- Puθμiστε τη σωστή χρονλογία.
- Eπιβεβαιώστε την επιλούη.
YEA10
- Enavaaαβετε ta βημata 3. kai 4. avαλoγia "mva" (amμερa" (dRy), ωpa (hour) kai λεπτa (in).
- Eπιβεβαιωτε Νγ εκάστοε επιλούη σας.
Mετά Νγιν επιβεβαιώρ μύθμίος των λεπτών γένειται autόματη εγκατάλειψη του μενόύ.
Oι ρυθμίοες μετάδιδονται autόμαται στον ασύματο εκτυπωτή.
O ασύματος εκτυπωτής προσθέται ες κάθε εκτύπωση Νγ Μερομηνία και την υρα.
YNIOAEIEH:
Tia Tov περαπερω xειρισό Tou aσύρμαTou εKTUWTn λαβετε Φιοψη σας τις Μδηγίες χρήσης Tou εKTUWTn.
8. KAOAPIΣMA
Avaloya TIC avaykec kathetaεTE TO nepiβλnua KAI TO PIAIO U E anoppunavtiko n eva ouvnioevo aonuavtiko eo. AβεTE uTóψη oac TIC uTODεIεIC TOU KAATAOKEAOTn.
Tia to kaθápioua δεν επιρέπεται σε καμί περίπτωη η χρόσι έληρών aπορμιαντικών, oινονεύματος, βενζίνης ἡ παρομοίων. Tέτοια μέσα μπορείνα φθεί- pουν τις επιφάνεις, υψηλής ποίτητac.
9. TI KANETE EAN...;
| Влάßη | Атía/avτιμετώπιοη |
| ... σε επιβάρυνη δεν εμφaviζεται ενδειξη βάρους; | H Κύγαρία δεν ἐχει τροφόδοσία ρεύματος. - Ελέγχετε εάν είναι ενεργοποιημένηη Μζύγαρία - Ελέγχετε εάν ἐχουν τοῦθετηθεί μπαταρίες |
| ... πριν από τοζύγισμα δεν εμφaviζεται 00; | H Κύγαρία επιβάρύνθηκε πριν από την ενεργοποίηρη. - Αφαρέσετε το βάρος από τη Μζύγαρία - Απενεργοποίησε και ενεργοποιησε εκ νέου τη Μζύγαρία |
| ... ὄνα στοιχείο παραμέ vει συνεχώς avamμένού η δεν ανάβει καθόλου; | To σχετικό σημείονιοδεικύνει σφάλμα. - Ειδοποίŋσε τήν Απηρεσία συντήρησε |
| ... εμφaviζεται η ενδειξη ; | H τάη μπαταρίων μειώνει. - Τοποθετήσετο συντομότερο δυνατό νέες μπαταρίες |
| Влάβη | Аrtia/avτιμετώπιη |
| ... εμφaviζεται η ενδειξη bRtε; | Οι μπαταρίες εύνα δειες. - Κοτοθετήσενες μπαταρίες |
| ... εμφaviζεται η ενδειξη SfOP; | Εγίνε υπέρβαση του μέγισου φόρτιου. - Αφαρέσετο θέβαρος από τη ζυγαρία |
| ... εμφaviζεται η ενδειξη EENP; | H Θερμοκρασία περιβάλνοτος της ζυγαρίας εύνα πολύ υμηλήν η ολαμηλήν. - Κοτοθετήσεν τη ζυγαρία σε Θερμοκρασία περιβάλνοτος μεταέύ +10 °C και +40 °C - Περιμένετε περίπου 15 λεπτά, εως ὄτου προσαρμοστείη ζυγαρία σηθερμοκρασία περι βάλνοτος |
| ... μετά ην ευεροίοιη ηση ην πρώτη φόρα μετadiodovtai anotéλέ σμata μετρησης και ηxouv δύo ηxητικα σήμata; | • H συσκεύη δεν μπόρεσεν αν εταδώσει αποτε λέσμata μετρησης στο παδίδέκτη (ασύρματος εκτιμωτής seca ng PC με παδίστοιχείο USB seca). - Εβαιωθείτε ὄτι η ζυγαρία εύνα ευσμα τωμένη στο παδίδίκτου - Εβαιωθείτε ὄτι εύνα ενεροίσημένος o δέκτης • H λήψη διατapatάσεται πό πλησιον βριοκόμενες συσκεύες υψηλών συχοντήτων (π.χ. κινητά τηλέφωνα). - Διαπρείτε με συσκεύες υψηλών συχοντήτων touλáχοιτον απόσταοη 1 μέτρου από πομιούς και δέκτες στο παδίδίκτου. seca YΠΟΔΕΙΗ: Eév δεν αντιμετωπιοτεί αυτήη διατapatχή, δεν λαμβάνει χώρα νέα γα έπτική προείδοποίηση κατά τις προστάθεις περαιτέρω μετάδοης. |
| ... στο μενού rfr εμφaviζε- tau μόνο το σημείο ,SYS"; | • To paδιστοιχείο απενεροίοιηθεκ. - Evεροίοιηθείνes paδιστοιχείο (βλέπε “Evερ- yοιποίηn paδιστοιχείου (SYS)” στη σελίδa 391 ) |
| ... στο μενού rfr εμφaviζο- vταi μόνο τα σημεία ,SYS" kαι ,Irn"; | • To paδιστοιχείο εύνα ενεροίοιημένο και δεν εχει μυθμίοτει ασύματη Μρόda. - Pθμίσεια σαύματη Μρόda (βλέπε “Púθμίαη ασύματης Μρόdaç (Lm) ” στη σελίδa 391 ) |
| ... στο μενού rfr δεν εμφa- viζονται τα σημεία ,APr" kαι ,Time"; | • Δεν εχει δηλωθεία σαύματος εκτιμιωτής στην ασύματη Μρόda. - Δηλωθεία σαύματο to εκτιμιωτή μέω μενού "Irn" στην ασύματη Μρόda (βλέπε “Púθμίαη ασύματης Μρόdaç (Lm) ” στη σελίδa 391 ) |
| Вláßη | A tíia/avτιμετώπιοη |
| ... εύφaviζεται η ενδειξη Er:H:11; | H Κυγαρία ἐχει επιβαρυθεί πολύ ἡπλύ icosρά σε μία γωνία. - Αφαρέστε το βάρος από τη Κυγαρία ἡκετε ομοίμορφή κατανού μάρους - Káνετε vεα εκκίνηση Ψς Κυγαρίας |
| ... εύφaviζεται η ενδειξη Er:H:12; | H Κυγαρία ευεργοποιήθηκε με πολύ μεγάλo φορ tίο. - Αφαρέστε το βάρος από τη Κυγαρία - Káνετε vεα εκκίνηση Ψς Κυγαρίας |
| ... εύφaviζεται η ενδειξη Er:H:16; | H Κυγαρία πέρασε σε katάσταση autoταλαντώ σεων και δεν μιόρεσε va καθοριοτεί to σημείο μηδέν. - Káνετε vεα εκκίνηση Ψς Κυγαρίας |
| ... πιεσεί το πλήκτρο Enter (send/print) και εμφανιοτείη ενδειξη Er:H:71; | Δεν είαι εφικτήη μετάδοη δεδομένων, ραδο-στοίείο είαι απενεργοποιημένο. - Evεργοποίŋσε ραδοστοίείο (βλέπε “Evερ-yοποίŋραδοστοίείου (SYS)” στη σελίδa 391 ) |
| ... πιεσεί το πλήκτρο Enter (send/print) και εμφανιοτείη ενδειξη Er:H:72; | Δεν είαι εφικτήη μετάδοη δεδομένων, δεν εχει puθμίσει ασύρματη σμάδa. - Pυθμίσει ασύρματη σμάδa (βλέπε “Púθμίση aσύρματης σμάδa (Lrn)” στη σελίδa 391 ) |
10.ΣYNTHPHΞH/ΕΝΑΝΑθMONOMΗΣΗ
10.1 Πληροφόριες σχετικά με συντήρηση και επαναβαθμονόμηση
Piv yivei e naivaaovouon n c oukeunc, poteivoue va avoetvivvntnpn.
NPOsOx'H!
Eofoevesc eetpnoec Eaiaac aataaannn oovtnponon
-AvaTeTnV EKTEeON Epyaiovv ouvtnponc kai ETIOKeuw v anokAiotika oE EouoiOToHMevo avTINpOoWIO ePbc.
- Tov πλησετερο ανιπρόωπο σέρβις θα Tov βρείτε στη διαδικτυακή πύλη www.seca.com έποστέλετε ηλεκτρονικό μήνυμα στη διεύθυνης service@seca.com.
H επavaβaθμονόμησι πρεπει va γένει από Εξουσιδο-τημένο προσωπικό σύμφωνα με τις Εθυίκες νομικες διατάξεις. To ἐτος πρώτης βaθμονόμησις avayραφεται πίω από τη σήμανον CE Θην πιναίδα τύπου πάνω από τον αριθμό τής avαφερόμενη Απηρεσίας 0109 (Δεύθυνον Baθμονόμησις 'Eσόκ).
Mia eTavaaBauovouon eivai unoxewtik aattapaitn oepittwn kaTyn oioia npaaiaotnkav ia n pioootec etiketc aoaaleiac n evn Ttu uertpnnt baovouonc dev ouuowv ie tov apuotnc eykupnc etiketac tou uertpnnt baovouonnc.
10.2 Eλεγχος τιμής μετρητή βαθμονόμησς

2

Autn n Cuyapia seca eivai a o o v
Baθμovομησεις επιρέπεται va εκτελούνται μόνα πό Εξουσιδοτημένες ἀπηρεσίες. Προς διασφάλια Αυτού, n ζυγapiδίαθετει μετρητή βαθμονόμησας, o ΘΟΙΟς καταγράφει καθε μεταβολή των Μημαντικών δεδομένων τεχνικής βαθμονόμησας.
Eav va ev n yapiia exi
baovopn0ei owoTa, npo3eite otnv enc diadikaia:
- Ev avaykn anevepyonoioe Tn cuyapiia.
- DiatnpnoTe PatauEv ova onoiobnToT EAnKtpo Kai kavTE EKKivnon Tnc Uyapiac.
Tnv oovn avaoosbnyi via liya deutepoAeTTa n
Tpexouoa Tiun Tou eTpntn BaOmuovouonc. - Συγκρίνετε αὐτή τὴν τιμή του μετρητή βαθμονόμησς με τον αριθμό που ανaypáφεται σήν εικέτα του μετρητή βαθμονόμησς.
H a o non eivai ykupn eoov ouoovouv
eTuC kai o duo apioi. 2e npinTwn nou dev
ouoovuv etiketa kai eptnpntnc baovopnonc, npE
TEI VA iyeia enavaaogovon. Aneuovte otov
TOnIO avInpOoo no uvtnpnonc n otnv utnpoeia eU
tnpETnonc neLatw vtn seca. Eav ivai anapaittn
ria enavaBaovounon, toe avti yia tnv avwTepw
anekovicoev n etiketae Taepntn Baovopnonc, seca
xpoioiaitai n nniov etiketa enavaBaovounon
ocyia tn onavon tnc kataoTaoNc Tou eTpntn Bae
movo nonc. Autn n etiketa aofoaizetai ue eninpopo
oTheon ophiayida ano To npooWNIKO IO EVAI EEOIO
botnevo ia tn baovopnon. Tnv etiketa

επαναβαμονόμησις μιρείτεν αν την προμηθευτείτε Από την υπηρεσία εξυπηρετησις πελατών τής seca στο τηλέφωνο 14-05-01-886.
11.TEXNIKA ΔEΔOMENA
11.1 Tsvika Tsvika δδoεva
| Текиksá δεδομένa seca 704 | |
| Δίαστάσεις • Bάθος • Πλάτος • ᵑψος | 520 mm 360 mm 930 mm |
| Βάρος ζυγapiac 17 kg | |
| Ορία θερμοκρασίας +10° C ἀως +40°C | |
| 丫ψος ψηφίων 25 mm | |
| Τροφόδοσία ρεύματος | Μπαταρία Τροφόδοτικό (προαρετική παράδοη) |
| Κατανάλωση ρεύματος • με απενεργοποιημένo paδιοστοιχείο • με ευεργοποιημένo paδιοστοιχείο | περ. 32 mA περ. 50 mA |
| Μέγιση διάρκεία με λειουργία μπαταρών • με απενεργοποιημένo paδιοστοιχείο • με ευεργοποιημένo paδιοστοιχείο | περ. 5.600 λεπτά Προτεῖνεται χρήση Τροφόδοτικό |
| Ιατροτεχνολογικό προίν σύμφωνα με Εδη γίες 93/42/EOK και 2007/47/EK | Κλάη I με λειουργία μέτρησης |
| Βαθμονόμηη σύμφωνα με Εδηγία 2009/23/ EK | Κλάη III |
| EN 60 601-1: • συακεύη με προστατευτική μόνωση, κλάη προστασίας II: • ηλεκτροίατρίκή συακεύη τύπουν B: | |
| Ραδιμετάδοη • Zωνη συχνοτήτων • Απόδοη εκπομπής • Ανταπόκρίη στα πρότυη | 2,433 GHz - 2,480 GHz < 10 mW EN 30028, EN 301 489-1, -17 |
11.2 Tεχνικά δεδομένα ζυγίσματος
| Tεχικά δεδομένα ζυγίσματος | |
| Βαθμονόμηση σύμφωνα με Εδηγία 2009/23/ EK | Κλάση III |
| Μέγιστο φόρτίο •'Ορι Κυγίσματος 1 •'Ορι Κυγίσματος 2 | 150 kg 300 kg |
| Ελάστο φόρτίο •'Ορι Κυγίσματος 1 •'Ορι Κυγίσματος 2 | 1 kg 2 kg |
| Υποδίαρεδη ακρίβείας •'Ορι Κυγίσματος 1 •'Ορι Κυγίσματος 2 | 50 g 100 g |
| 'Ορι απόβαρου εως 300 kg | |
| Ακρίβεια κατά την πρώτη βαθμονόμηση •'Ορι Κυγίσματος 1: 0 εως 25 kg •'Ορι Κυγίσματος 1: 25 εως 100 kg •'Ορι Κυγίσματος 1: 100 kg εως 150 kg •'Ορι Κυγίσματος 2: 0 εως 50 kg •'Ορι Κυγίσματος 2: 50 εως 200 kg •'Ορι Κυγίσματος 2: 200 kg εως 300 kg | ± 25 g ± 50 g ± 75 g ± 50 g ± 100 g ± 150 g |
12.AEESOYAP
| AÉsouáp | Aριθμός |
| seca paδioδíkτuo seca 360° wireless: • Ασύρματος εκτυπωτής - seca 360° Wireless Printer 465 - seca 360° Wireless Printer Advanced 466 • Αογισμίκο PC - seca analytics 105 • Paδioστοιχείο USB seca 360° Wireless USB adapter 456 | ειδικές εθνικές παραλλayές ειδικές εθνικές παραλλayές ειδικά πακέτα εγκρίοης εφαρμούής 456-00-00-009 |
| Tροφοδοσία ρεύματος: • Tροφοδοτικό πρίζας, Euro: 230V~ / 50Hz / 12V= / 150mA • Tροφοδοτικό διακόπη: 100-240V~ / 50-60Hz / 12V= / 0.5A | 68-32-10-252 68-32-10-265 |
npoióvto
| Aεεούρ | Αριθμός |
| Περαιέρω αεεούραρ • Tηλεοκοπίκη ράβδος μέτρησης seca 220, óρία μέτρησης: 890 - 2000 mm, Ανοδία- ρεση: 1 mm, Μλικό: Αλουμίνιο ανοδιωμένο, σύρτης με ασφαλίζόμενη γλώσα μέτρησης • Tηλεοκοπίκη ράβδος μέτρησης seca 220 (διπλήν Ανοδίαρεση), σρίο μέτρησης: 890 - 2000 mm und 35 '' - 78 3/4 '', Ανοδίαρεση: 1 mm und 1/8 '', Μλικό: Αλουμίνιο ανοδιω- μένο, σύρτης με ασφαλίζόμενη γλώσα μέτρησης | 220-17-14-004 220-18-14-004 |
προῖ
13.ANOΣΥΡΗ
13.1 Anóupon ouokεuńc

Mny aooopetE tn ouokeun ota oikiaka anoppipmuata. H ouokseun npenei va anooupetai owotacxnpato nAektpoviko uliko.Tnpite Touc ekaoTote Evoikouc kavovioouc. Tia nepaiepwo npoopoeic aneuvtheta otyn unnpoia mac eunnpetnonc:
service@seca.com
13.2 Mπaṭapiες και συσωρειτές

Mny anoppinTETe axponotc mntapiec kai oovoopeuTec Ota oikiaka anoppmuata, avEapntTa Tou yevovToC av npiexouv Tokec ouoeic n oxi. Qc
katavaawTec EIOTE UTOXPEWMEVOI EK Tou VOpou va
anooupTe mntapiec kai oovoopeutec mEOw Tuv
unnpoeiw ovAloync tnc KoivOTnTac n Tou eunopiou.
AnooupTe mntapiec kai oovoopeutec mOvo e
Pn anofoptioevn katotaon.
14.ERGYH∑H
Tia eAattwata oEiAoeva 0e OaAuaTa ulikou n kataoKeuNC,IOxUe DIETNC PPOEOpia EyyunonC ano Tny nEepounvia napadooc. OLa Ta Kivoumuva EAp- tmuata,OnWCn.X. mPaTAPc, KaLwla, TpofoBOTkca, ouooewuTEc KAn, anokliovta i ano Tny Eyyunon aut. Elattwata, ta onoia kaLutovta i ano Tny Eyyunon, EtiDioepWvovTai Dwpav yia Tov nElambdaTne Eppokoiian Tnc anodEInc ayopac. EpaTePw aEiwOecdelta mnpovv va INphiOuv unoyn. Ta Edoa eTAPoc aI KO poc Tov nElambdaTn Epiapuvov Tov neAtn, evn OoKEUn Bpiketai 0e allopeoc anot Tnv Ebpao Tou nElambdaTn. ZEPiTTwn Cnmuov OeIaueVwov netaFoppa, mnpei va Evepei EyyuntIKn aEiwo nmo Efoov xponoiOniOnkav yia TIC mEtafopec n nnpcn auEvTKn OoKeuOia kai n Cuyapiia aoPaiotnke kai OTepewthke ottn ouokEuOia ownkata tvuavbEvTKn ouokEuOia. Tia to loyo auto diapualeTe 0e aoPae cpeoc ola ta Mepn Tnc ouokEuOiac.
v ufiotatai eyyuntkn axiow, ev n ouokean avoixtai ano atoua, ta onoia dev exouv tn pntn Eosio-odtoon yia to okoio auto ano tyn eia seca.
Napakaoué touc πελατεc μac σTO εξωτερικό, σε πεπΠωη εγγιntικής αξιωής, va anευθύνονται áμεσa στην αντιπροωπεία γοράς της εκάστοτε χώρας.
SPIS TRESCI
H μη αυτόματη ζυγάρει ατόμων
Osobni vahy s neautomatickou cinnosti
ΕύκολοΕγχειρίδιο