704 - Balance SECA - Notice d'utilisation et mode d'emploi gratuit
Retrouvez gratuitement la notice de l'appareil 704 SECA au format PDF.
| Caractéristique | Détails |
|---|---|
| Type de produit | Balance électronique |
| Capacité maximale | 200 kg |
| Précision | 100 g |
| Dimensions de la plateforme | 350 x 350 mm |
| Affichage | Écran LCD rétroéclairé |
| Alimentation | Alimentation secteur et batterie rechargeable |
| Fonctionnalités supplémentaires | Fonction tare, arrêt automatique |
| Utilisation | Idéale pour les pesées en milieu médical et domestique |
| Maintenance | Nettoyer avec un chiffon doux, éviter les produits abrasifs |
| Sécurité | Utiliser sur une surface plane et stable |
| Garantie | 2 ans |
FOIRE AUX QUESTIONS - 704 SECA
Questions des utilisateurs sur 704 SECA
0 question sur cet appareil. Repondez a celles que vous connaissez ou posez la votre.
Poser une nouvelle question sur cet appareil
Téléchargez la notice de votre Balance au format PDF gratuitement ! Retrouvez votre notice 704 - SECA et reprennez votre appareil électronique en main. Sur cette page sont publiés tous les documents nécessaires à l'utilisation de votre appareil 704 de la marque SECA.
MODE D'EMPLOI 704 SECA
- Toutes les garanties de qualité...71 2. Description de l'appareil..72
2.1Felicitations!.72 2.2 Utilisation 72
- Informations relatives à la sécurité...73
3.1 Consignes de sécurité de base. 73 3.2 Consignes de sécurité de ce mode d'emploi 73 3.3 Manipulation des piles et accus. 74
- Aperçu 75
4.1 Éléments de commande. 75 4.2 Symboles de l'écran. 76 4.3 Symboles sur la plaque signalétique. 76 4.4 Structure du menu 78
- Avant de commencer....79
5.1 Montage de la colonne.79 5.2 Établir l'alimentation électrique.80 Insérer les piles.................................... Raccorder l'appareil à l'alimentation (option).........................
Démarrer le pesage..81 Peser des nourissons/ensants (2 in 1)..81 Afficher en permanence le résultat de mesure (HOLD)...82 Calculer et évaluer l'indice de masse corporelle (BMI) 83 Calculer et imprimer automatiquement l'indice de masse corporelle 83 Envoyer les résultats de mesure au récepteur sans fil........84 Eteindre la balance. 85
6.2Autres fonctions (menu).85
Naviguer dans le menu. 86 Supprimer automatique les valeurs enregistrées (AClr). 86 Enregistrer de manière permanente le poids supplémentaire (Pt)... 87 Activer la fonction Autohold (Ahold) 87 Activer les signaux sonores (BEEP) 88 Régler l'atténuation (Fil). 88 Rétablir les réglages d'usine (RESET) 89
- Le réseau sans fil Seca Wireless 90
7.1 Introduction 90 Seca Groupes sans fil 90
Canaux. 90 Reconnaissance des appareils. 91
7.2 Utiliser la balance dans un groupe sans fil (menu). 92
Configurer un groupe sans fil (LM). 92 Activer la transmission automatique (ASend) 94 Activer le module sans fil (SYS). 92 Sélectionner l'option d'impression (APrt). 95 Régler l'heure (Time) 95
8. Nettoyage 96 9. Que faire si... 96
- Maintenance/Réétalonnage 98
10.1 Informations sur la maintenance et le réétalonnage 98 10.2 Contrôler le contenu du compteur d'étalonnage. 99
- Caractéristiques techniques. 100
11.1 Caractéristiques techniques générales 100 11.2 Caractéristiques de pesage. 101
- Mise au rebut. 102
13.1 Mise au rebut de l'appareil. 102 13.2 Piles et accus. 102
14. Garantie. 103
- Accessoires 101
1. TOUTES les garanties de qualité





Les produits SECA vous apportent non seulement les performances d'une technique mise au point depuis plus d'un siècle, mais vous assurent également une qualité certifiée conforme aux normes et aux lois, ainsi que par les instituts. Les produits SECA satisfont aux exigences des directives et normes européennes ainsi qu'à celles des lois nationales. En achetant les produits SECA, vous achetez des produits d'avoir.
Les produits repris dans le présent mode d'emploi satisfont à la loi sur les dispositifs médicaux, c-à-d aux directives 93/42/CEE et 2007/47/CE du Conseil de la Communauté française, qui sont transposées dans la législation nationale de tous les pays européens.
Les balances munies de ce symbole sont conformes à la directive européenne 2009/23/CE relative aux instruments de pesage. Les balances seca munies de ce symbole satisfont aux normes de qualité et techniques les plus élevées imposées aux instruments de pesage étalonnables.
Les balances munies de ce symbole satisfont aux exigences strictes de la classe d'étalonnage III et peuvent être utilisées dans le domaine médical pour les mesures soumises à une obligation d'étalonnage.
Les produits munis de ce symbole satisfont aux exigences des directives et normes suivantes
- Directive 2009/23/CE relative aux instruments de pesage à fonctionnement non automatique
- Directives 93/42/CEE et 2007/47/CE relatives aux dispositifs médicaux
- Norme DIN EN 45501 relative aux aspects métrologiques des instruments de pesage à fonctionnement non automatique
Le professionnalisme de seca a été reconnu officiellement. Le TUV Product Service, l'autorité compétente en matière de dispositifs médicaux, atteste au moyen du certificat que seca respecte minutieusement les réglementations strictes en tant que fabricant de dispositifs médicaux. Le système de garantie de la qualité de seca regroupe les secteurs de la conception, de la recherche, de la production, de la commercialisation et du service après-vente des balances et systèmes de mesure médicaux.

seca aide l'environnement. La préservation des ressources naturelles nous tient à cœur. C'est pourquoi nous nous efforçons d'économiser du matériel d'emballage là où c'est utile. Et l'emballage qui reste peut être éliminé sur place et de façon adéquate grâce au système Dual.
2.1 Félicitations!
Avec le pèse-personne électronique seca 704, vous avez fait l'acquisition d'un appareil aussi précis que robuste.
Depuis plus de 170 ans, seca met son expérience au service de la santé et établit constamment de nouvelles tendances en tant que leader dans de nombreux pays via des innovations en matière de pesage et de mesure.
2.2 Utilisation
Le pèse-personne électronique seca 704 est utilisé principalement dans les hôpitaux, les cabinets médicaux et les centres de soins hospitaliers, conformément aux directives nationales en vigueur.
Outre la fonction classique de détermination du poids, le seca 704 offre une fonction de calcul de l'indice de masse corporelle (BMI). Pour cela, on entre la taille à l'aide du clavier, l'indice de masse corporelle correspondant à la valeur du poids étant ensuite calculé automatiquement.
Le réseau sans fil seca wireless permet de transmettre les résultats de mesure via une connexion sans fil à une imprimante sans fil seca ou à un ordinateur équipé du logiciel seca analytics 105 et du seca Wireless USB adapter 456.
Le seca 704 peut être déplacé sur des roulettes et utilisé de manière mobile sur une longue période avec des piles grâce à sa faible consommation.
3.1 Consignes de sécurité de base
- Respectez les consignes de ce mode d'emploi.
- Conservez précieusement le mode d'emploi et la déclaration de conformité qu'il contient.
- Veillez à ce que la balance soit positionnée de manière sûre sur une surface plane stable.
- Ne faites pas tomber la balance. Ne soumettez pas la balance à de fortes secousses.
- Si vous utilisez la balance avec un bloc d'alimentation secteur, posez le câble d'alimentation de manière à éviter tout risque de trébuchement.
- Effectuez régulièrement des interventions de maintenance et de réétalonnage. Voir « Maintenance/Réétalonnage » à la page 98.
- Les entretiens et réparations doivent être exclusivement confiés à des partenaires SAV autorisés. Pour connaître le partenaire SAV le plus proche, rendez-vous sur le site www.seca.com ou envoyez un e-mail à service@seca.com. Utilisez exclusivement des accessoires et pièces de rechange seca d'origine. Sinon, seca n'offre aucune garantie.
- Avec les appareils HF, comme par ex. les téléphones mobiles, maintenez une distance minimum d'environ 1 mètre pour éviter des mesures erronées ou des perturbations lors de la transmission sans fil.

DANGER!
Désigne une situation de danger exceptionnelle. Le non-respect de cette indication entraîne des blessures irréversibles ou mortelles.

Avertissement!
Désigne une situation de danger exceptionnelle. Le non-respect de cette indication peut entraîner des blessures irréversibles ou mortelles.

Prudence!
Désigne une situation de danger. Le non-respect de cette indication peut entraîner des blessures légères ou moyennes.
Attention!
Désigne une possible utilisation incorrecte de l'appareil. Le non-respect de cette indication peut entraîner des dommages à l'appareil ou générer des résultats de mesure erronés.
Remarque:
Contient des informations supplémentaires relatives à l'utilisation de cet appareil.
3.3 Manipulation des piles et accus
Cet appareil est fourni avec 6 piles Mini de type AA. Ce type de pile n'est pas rechargeable. Observez les consignes de sécurité suivantes.

Dommages corporels dus à une manipulation inappropriée
Les piles contiennent des substances toxiques qui peuvent être libérées sous forme d'explosion en cas de manipulation inappropriée.
- N'essayez pas de recharger les piles.
- Ne chauffez pas les piles/accus.
- Ne brûlez pas les piles/accus.
- En cas d'écoulement de l'acide des piles, évitez tout contact avec la peau, les yeux et les muqueuses. Nettoyez les zones affectées à l'eau claire et consultez immédiatement un médecin.
Dommages matériels et dysfonctionnement dus à une manipulation inappropriée
- Utilisé exclusivement le type de pile/d'accu indiqué. Voir « Insérer les piles » à la page 80.
- Remplacez toujours l'ensemble des piles/accus simultanément.
- Ne court-circuitez pas les piles/accus.
- En cas de non-utilisation pendant une période prolongée, retirez les piles/accus. Cela permet d'éviter tout écoulement d'acide dans l'appareil.
4.1 Éléments de commande


| N° | Élément de commande | Fonction |
| 1 | Mise sous et hors tension de la balance | |
| 2 | Touché fléchéée • Lors du pesage: - Pression brève : activer la fonction Hold - Pression longue : activer la fonction 2 in 1 • Dans le menu: - Sélectionner un sous-menu, sélectionner un point de menu - Augmenter la valeur | |
| 3 | Touché fléchéée • Lors du pesage: - Pression brève : activer la fonction BMI - Pression longue : appeler le menu • Dans le menu: - Sélectionner un sous-menu, sélectionner un point de menu - Réduire la valeur | |
| 4 | Touché Entrée • Lors du pesage (si un réseau sans fil est configuré): - Pression brève : envoyer les résultats de mesure aux appareils prêts à receiveoir (ordonateur avec module sans fil USB) - Pression longue : imprimer les résultats de mesure (imprimante sans fil) • Dans le menu: - Confirmer le point de menu sélectionné - Enregistrer la valeur régée | |
| 5 | Écran | Élément d'affichage pour les résultats de mesure et pour la configuration de l'appareil |
| 6 | Logement des piles | Logement pour 6 piles Mignon, type AA, 1,5V |
| 7 | Raccord sec-teur | Utilisé pour raccorder un bloc d'alimentation (en option) |
| 8 | Roulettes de transport | La balance peut être déplacée sur ces roulettes |
| 9 | Vis calante 4 | pièces, utilisées pour une orientation précise |
| 10 | Niveau à bulle Indique si l'appareil est positionné à l'horizontal | |
4.2 Symboles de l'écran


| Symbole Signification | ||
| A | Les piles sont faibles | |
| B | Fonctionnement avec bloc d'alimentation | |
| C | Fonction non éthalonnable active | |
4.3 Symboles sur la plaque signalétique
| Texte/Symbole Signification | |
| Modèle Numéro de modele | |
| Type Désignation du type | |
| Ser. No. Numéro de série | |
| i | Observer les consignes du mode d'emploi |
| Appareil électromédical, type B | |
| Appareil à isolation renforcée, classe de protection II | |
| FCC ID | Pour les États-Unis : Numéro d'immatriculation de l'appareil auprès de l'auto-rité compétente americaine Federal Communications Commission FCC |
| IC | Pour le Canada : Numéro d'immatriculation de l'appareil auprès de l'autorité compétente Industrie Canada |
| CE | L'appareil est conforme aux normes et directives CE. |
| FC | Symbole de la FCC (États-Unis) |
| +--- | L'appareil doit fonctionner uniquement avec du courant continu |
| Ne pas jeter l'appareil avec les ordures ménagères | |
4.4 Structure du menu
D'autres fonctions sont disponibles dans le menu de l'appareil. Ainsi, vous pouvez configurer l'appareil de manière optimale par rapport à votre propre contexte (détails à partir de la page 85).

5.1 Montage de la colonne

La colonne avec écran LCD peut être montée dans deux positions. Vous déterminez de cette façon la direction dans laquelle l'affichage est lisible, vers la surface d'appui ou de l'autre côté.
- Placez le cache sur la colonne.
- Insérez la colonne dans la direction souhaitée dans l'évidement.
- Vissez la colonne par le bas avec la plateforme de pesage.
Placez si nécessaire la balance sur le côté pour serrer les vis.
- Connectez la fiche du câble de l'écran sur la face inférieure de la plate-forme de pesage, tel qu'indiqué sur la figure.
Dysfonctionnement du à un défaut de montage
Lorsque les câbles sont soumis à des contraintes, par ex. lorsqu'ils sont fortement piéS ou lorsque les fiches sont piées, cela peut conduire à des affichages erronés ou provoquer la panne de l'écran.
- Posez tous les câbles de manière à ce qu'ils ne soient pas trop courbés et que les fiches ne cassent pas.
- Pour réduire les contraintes, placez tous les câbles dans les supports correspondants.
- Fixez les câbles dans les supports correspondants.
- Placez ensuite la balance en position verticale.
- Abaissez complètement le cache de la colonne jusqu'à ce qu'il s'engage sur la plate-forme de pesage.
5.2 Établir l'alimentation électrique
L'alimentation de la balance est établie à l'aide de piles ou d'un bloc d'alimentation disponible en tant qu'accessoire.
Insérer les piles. 6 piles AA, 1,5V sont requises (fournies avec l'appareil).

- Exercez une pression sur le verrou du logement des piles.
- Refermez le couvercle du logement des piles.
- Enlevez le support des piles.
- Placez les piles dans le support.
Remarque:
Veillez à ce que la polarité des piles soit respectée (repères dans le support des piles). Si l'indication BRT appareait à l'écran, cela signifie que vous avez inséré l'une des piles à l'envers ou que les piles sont vides.
- Placez le support avec les piles dans le logement des piles.
- Fermez le logement des piles.
Raccorder l'appareil d'alimentation (option)
La balance peut être utilisée avec un bloc d'alimentation disponible en tant qu'accessoire.

Dommages corporels et matériels dus à des blocs d'alimentation inappropriés
Les blocs d'alimentation disponibles dans le commerce peuvent fournir une tension supérieure à celle indiquée sur l'appareil. La balance risque de surchauffer, de prendre feu, de fondre ou de se mettre en court-circuit.
- Utilisez exclusivement des blocs d'alimentation enchichables d'origine avec une tension de 9V ou une tension de sortie régulée de 12V.

- Enfichez la fiche secteur requise dans le bloc d'alimentation.
- Insérez le connecteur d'alimentation du bloc d'alimentation dans la prise de la balance.
- Enfichez le bloc d'alimentation dans une prise secteur.

Mesure erronée due à une dérivation de force
Si la balance et le châssis reposent par ex. sur une serviette, le poids n'est pas mesuré correctement.
- Installez la balance de manière à ce qu'elle soit en contact avec le sol uniquement via les vis calantes.
- Positionnez la balance sur un sol stable et plat.
- Orientez la balance en tournant les vis calantes. La bulle d'air du niveau doit se trouver au centre du cercle.
Démarrer le pesage

- Assurez-vous qu'aucune charge ne repose sur la balance.
- Appuyez sur la touche Start. L'indication SECA apparait à l'écran, puis tous les éléments de l'écran s'affichent brièvement. La balance est prête à fonctionner lorsque l'indication OO apparait à l'écran. Si la balance est utilisée avec un bloc d'alimentation, le symbole apparait à l'écran.
- Placez-vous sur la balance et restez debout sans bouger.
- Relevez le résultat de mesure.
Esser des nourrissons/enfants (2 in 1)
La fonction 2 in 1 vous permet de déterminer le poids de nourrissons et de jeunes enfants. Pour cela, un adulte doit tenir l'enfant par le bras lors du pesage. Procédez comme suit :
- Assurez-vous qu'aucune charge ne repose sur la balance.

- Demandez à l'adulte de se placer sur la balance.
- Relevez le résultat de mesure.
- Maintenez enfoncée la touche fléchée (hold/2 in 1) jusqu'à ce que le message NET apparaisse à l'écran.
Le poids est enregistré.
apparaît à l'écran.
Mesure erronée due à une modification du poids initial
Si un autre poids initial a été utilisé pour le pesage de l'enfant, il est possible que le poids de l'enfant ne soit pas déterminé correctement.
Assurez-vous que le pesage de l'enfant est toujours effectué en présence de l'adulte avec lequel le poids initial a été déterminé. - Assurez-vous que le poids de l'adulte ne change pas, par ex. en enlevant un vêtement.

- Demandez à l'adulte de se placer sur la balance avec l'enfant. Le poids de l'enfant s'affiche. Le symbole « HOLD » et « NET » s'affichent.
- Demandez à l'adulte de se retirer de la balance avec l'enfant.
- Pour désactiver la fonction 2 in 1, appuyez sur la touche fléchée (hold/2 in 1) jusqu'à ce que le symbole « é » et les messages « HOLD » et « NET » ne s'affichent plus ou éteignez la balance.
Afficher en permanence le résultat de mesure (HOLD)
Si vous activez la fonction HOLD, la valeur du poids reste affichée après avoir retiré la charge de la balance. Vous pouvez donc vous occuper du patient avant de noter la valeur du poids.

- Assurez-vous qu'aucune charge ne repose sur la balance.
- Demandez au patient de se placer sur la balance.
- Appuyez brièvement sur la touche fléchée (hold/2 in 1).

L'affichage clignote jusqu'à ce qu'un poids stable soit mesuré. La valeur du poids est ensuite affichée en permanence. Le symbole Fonction non étalonnabl)e et le message « HOLD » s'affichent.

- Pour désactiver la fonction HOLD, appuyez brièvement sur la touche fléchée (hold/2 in 1). Le symbole et le message « HOLD » ne sont plus affichés.
Remarque:
Si la fonction Autohold est activée, la valeur du poids reste affichée en permanence. Voir « Activer la fonction Autohold (Ahold) » à la page 87.
Calculer et évaluer l'indice de masse corporelle (BMI)
L'indice de masse corporelle établit un rapport entre la taille et le poids, permettant ainsi d'obtenir des indications plus précises que, par exemple, la formule du poids idéal de Broca. Une plage de tolérance considérée comme optimale sur le plan de la santé est indiquée.


- Assurez-vous qu'aucune charge ne repose sur la balance.
- Appuyez brièvement sur la touche fléchée (bmimenu).
Le message « BMI » apparaît.
Les flèches clignotent à l'écran.
La dernière ligne entrée s'affiche.
- Vous pouvez reprendre la taille affichée ou régler une autre taille avec les touches fléchées.
- Confirmez votre réglage avec la touche Entrée (send/print).
- Demandez au patient de se placer sur la balance et de rester immobile sans bouger.
- Relevez l'indice de masse corporelle et comparez-le avec les catégories mentionnées ci-après.
- Pour désactiver la fonction BMI, appuyez brièvement sur la touche Entrée (send/print).




| BMI Évaluation | |
| inférior à 18,5 | Le patient présente un poids insuffisant. Cela pourrait indiquer une tendance à l'anorexie. Une prise de poids est recommendée pour améliorer son bien-être et ses performances. En cas de doute, le patient doit consulter un spécialiste. |
| entre 18,5 et 24,9 | Le patient présente un poids normal. Il peut rester tel qu'il est. |
| entre 25 et 30 pré-obésité) | Le patient présente une surcharge pondérale légère à moyenne. Il doit perdre du poids s'il souffre déjà d'une maladie (par ex. diabète, hypertension, goutte, troubles du métabolisme lipidique). |
| supérieur à 30 | Il est urgent que le patientPERDE DU Poids. Son poids entraîne une surcharge du métabolisme, de la circulation et des os. Un régime adapté, beaucoup d'exercice et un changement de mode de vie sont conseillés. En cas de doute, le patient doit consulter un spécialiste. |
Calculer et imprimer automatiquement l'indice de masse corporelle
Si vous utilisez cette balance en combinaison avec une imprimante sans fil et une toise de mesure du système seca wireless, vous pouvez calculer et imprimer l'indice de masse corporelle automatiquement.
Remarque:
Pour utiliser cette fonction, il est nécessaire de connecter au préalable les appareils dans un groupe sans fil (voir « Le réseau sans fil seca wireless » à la page 90).
- Effectuez le pesage.
- Appuyez brièvement sur la touche Entrée (send/print) de la balance.
La valeur de mesure est envoyée à l'imprimante sans fil, mais n'est pas imprimée.
- Effectuez la mesure de la taille.
- Appuyez de manière prolongée sur la touche Entrée (send/print) de la toise de mesure.
La valeur de mesure est envoyée à l'imprimante sans fil.
L'indice de masse corporelle est calculé.
La taille, le poids et l'indice de masse corporelle sont imprimés
Envoyer les résultats de mesure au récepteur sans fil
Si la balance est intégrée dans un réseau sans fil seca wireless, vous pouvez envoyer les résultats de mesure aux appareils prêts à recevoir (imprimante sans fil, ordinateur avec module sans fil USB) par une simple pression sur une touche.

Appuyez sur la touche Entrée (send/print).
- Pression brève : envoyer les résultats de mesure à tous les appareils prêts à recevoir
- Pression longue : sortir le résultat de mesure sur l'imprimante sans fil
Éteindre la balance

Appuyez sur la touche Start.
Remarque:
En mode de fonctionnement sur piles, la balance se coupe automatiquement après un bref laps de temps si elle ne détecte aucune charge.
6.2 Autres fonctions (menu)
D'autres fonctions sont disponibles dans le menu de la balance. Vous pouvez ainsi configurer la balance de manière optimale en fonction de vos conditions d'utilisation.

- La description du point de menu « RF » se trouve à la section “Utiliser la balance dans un groupe sans fil (menu)” à la page 92.
Naviguer dans le menu 1. allumez la balance.












- Maintenez enfoncée la touche fléchée (menu) jusqu'à ce que le menu soit appelé.
Le dernier point de menu sélectionné apparait à l'écran (ici : Autohold « Ahold »).
- Appuyez sur l'une des touches fléchées jusqu'à ce que le point de menu souhaité apparaisse à l'écran (ici : Atténuation « Fil »).
- Confirmez votre sélection avec la touche Entrée (sends/print).
Le réglage actuel pour le point de menu ou un sous-menu s'affiche (ici Niveau « 0 »).
- Pour modifier le réglage ou pour appeler un autre sous-menu, appuyez sur l'une des touches fléchées jusqu'à ce que le réglage souhaité (ici : Niveau « 2 ») s'affiche.
- Confirmez le réglage avec la touche Entrée (sends/print).
Le programme quitte le menu automatiquement.
- Pour effectuer d'autres réglages, appelez le menu à nouveau et suivez la description.
Remarque:
Si aucune touche n'est enfoncée pendant env. 24 secondes, le programme quitte le menu automatiquement.
Supprimer automatiquement les valeurs enregistrées (aclr)
Pour éviter de conserver des résultats de mesure obsolètes dans la mémoire de l'appareil et donc d'entraîner un calcul erroné de l'indice de masse corporelle, vous pouvez régler la balance de manière à ce que les résultats de mesure soient supprimés automatiquement après 5 minutes.
Remarque:
Sur de nombreux modèles, cette fonction est activée en usine. Si vous le souhaitez, vous pouvez désactiver cette fonction.

- Dans le menu, sélectionnez le point « AClr »
- Confirmez la sélection.
- Sélectionnez le réglage souhaité :
- Off
- Confirmez la sélection.
Le programme quitte le menu automatiquement.
Enregistrer de manière permanente le poids supplémentaire (pt)


La fonction Pré-Tare vous permet d'enregistrer de manière permanente un poids supplémentaire et de le déduire automatiquement d'un résultat de mesure. Vous pouvez par ex. enregistrer un poids global pour les chaussures et les vêtements et le déduire systématiquement du résultat de mesure si un patient est complètement habillé lors du pesage.
- Sélectionnez le point « Pt » dans le menu. Le message « Pt » apparaît.
- Confirmez votre sélection. Les flèches clignotent à l'écran. Le dernier poids supplémentaire enregistré s'affiche.
- Vous pouvez reprendre la valeur enregistrée ou la modifier à l'aide des touches fléchées.
Remarque:
Si vous entrez la valeur « 0 », la fonction est désactivée. Le message « Pt » n'apparaît plus à l'écran.
- Confirmez votre sélection.
- Demandez au patient de se placer sur la balance. Le poids du patient s'affiche. Le poids supplémentaire enregistré a été déduit automatiquement.
- Pour désactiver la fonction, sélectionnez à nouveau le point « Pt » dans le menu.
- Confirmez votre sélection. La fonction est désactivée. Le programme quitte le menu automatiquement.
Activer la fonction autohold (ahold)
Si vous activez la fonction Autohold, le résultat de mesure reste affiché lors de chaque pesage après avoir retiré la charge de la balance. Il n'est donc plus nécessaire d'activer manuellement la fonction Hold pour chaque pesage.
Remarque:
- Sur de nombreux modèles, cette fonction est activée en usine. Si vous le souhaitez, vous pouvez la désactiver.
- Avec la fonction 2 en 1, le poids de l'enfant est toujours déterminé via Autohold, indépendamment du réglage sélectionné ici.
- Dans le menu, sélectionnez le point « Ahold »
- Confirmez la sélection. Le réglage actuel s'affiche.
- Sélectionnez le réglage souhaité :
- Off
- Confirmez votre sélection. Le programme quitte le menu automatiquement.
Activer les signaux sonores (BEEP)
Vous pouvez déterminer si un signal sonore doit être audible lors de chaque pression sur une touche et lorsqu'une valeur de poids stable est atteinte. Ce point est important pour la fonction Hold/Autohold.
Remarque:
La fonction « Signal sonore lorsque la valeur de poids est stable » est activée en usine. Si vous le souhaitez, vous pouvez désactiver cette fonction.
- Dans le menu, sélectionnez le point « BEEP »
- Confirmez la sélection.
- Sélectionnez un point de menu :
- Press : Signal sonore en cas de pression sur une touche
- Hold : Signal sonore lorsque la valeur de poids est stable.
- Confirmez votre sélection. Le réglage actuel s'affiche.
- Sélectionnez le réglage souhaité :
- Off
- Confirmez votre sélection. Le programme quitte le menu automatiquement.
- Si vous souhaitez activer également les signaux sonores pour la deuxième fonction, répérez la procédure.
Régler l'atténuation (fil)
L'atténuation (Fil = Filtre) vous permet de réduire les perturbations lors du calcul du poids (dues par ex. aux mouvements du patient).
- Dans le menu, sélectionnez le point « Fil »
- Confirmez la sélection. Le réglage actuel s'affiche.
- Sélectionnez un niveau d'atténuation.
- 0: atténuation faible
- 1: atténuation moyenne
- 2: atténuation forte
- Confirmez la sélection.
Le programme quitte le menu automatiquement.
Rétablir les réglages d'usine (RESET)
Vous pouvez rétablir les réglages d'usine pour les fonctions suivantes :
| Fonction Réglage d'usine | |
| Autohold (Ahold) | en fonction du modele |
| Signal sonore (Press) off | |
| Signal sonore (Hold) on | |
| Atténuation (Fil) 0 | |
| Autoclear (Aclear) | en fonction du modele |
| Pré-Tare (PT) 0 kg | |
| Taille pour l'indice demasse corporelle (BMI) | 170 cm |
| Module sans fil (SYS) off | |
| Autosend (ASend) off | |
| Autoprint (APrt) off | |
Remarque:
Lors du rétablissement des réglages d'usine, le module sans fil est éteint. Les informations relatives aux groupes sans fil existants sont conservées. Les groupes sans fil ne doivent pas être reconfigurés.
Reset
- Dans le menu, sélectionnez le point « Reset »
- Confirmez la sélection.
Le programme quitte le menu automatiquement.
- Éteignez la balance.
Les réglages d'usine sont rétablis et sont disponibles lorsque la balance est remise en marche.
7.1 Introduction
Cet appareil est équipé d'un module sans fil. Le module sans fil permet de procéder à la transmission sans fil des résultats de mesure à des fins d'évaluation et de documentation. Les données peuvent être transmises aux appareils suivants :
- seca Imprimante sans fil
- Ordinateur avec seca module sans fil USB
Seca groupes sans fil


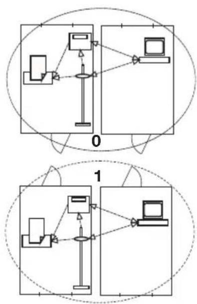
Le réseau sans fil seca wireless fonctionne avec des groupes sans fil. Un groupe sans fil est un groupe virtuel d'émetteurs et de récepteurs. Si plusieurs émetteurs et récepteurs du même type sont utilisés, il est possible de configurer jusqu'à 3 groupes sans fil (0, 1, 2) avec cet appareil.
La configuration de plusieurs groupes sans fil garantit la transmission fiable et correctement adressée des valeurs de mesure lorsque plusieurs salles d'examen équipées d'appareils comparables doivent être utilisées.
La distance maximale entre les émetteurs et les récepteurs est d'environ 10 mètres. Certaines conditions locales, par exemple l'épaisseur et l'état des murs, peuvent réduire la portée.
Pour chaque groupe sans fil, la combinaison d'appareils suivante est possible :
1 pèse-bébé 1 pèse-personne - 1 toise de mesure 1 seca Imprimante sans fil - 1 ordinateur avec seca module sans fil USB

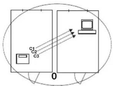
Canaux Dans un groupe sans fil, les appareils communiquent les uns avec les autres sur trois canaux (C1, C2, C3). Ils garantissent ainsi une transmission de données fiable et sans incident.
Si vous configurez un groupe sans fil avec cette balance, l'appareil vous propose trois canaux garantissant une transmission de données optimale. Nous vous recommandons de reprendre les numéros de canal proposés.
Vous pouvez également sélectionner manuellement les numéros de canal (0 à 99), par ex. si vous souhaitez configurer plusieurs groupes sans fil.
Pour garantir une transmission de données sans incident, les canaux doivent se situer à une distance suffisante les uns par rapport aux autres. Nous recommandons une distance minimale de 30. Chaque numéro de canal ne doit être utilisé que pour un seul canal.
Exemple de configuration : numéros de canal pour une configuration de 3 groupes sans fil dans un cabinet :
- Groupe sans fil 0 : C1=_, C2=30, C3=60
- Groupe sans fil 1: C1=10, C2=40, C3=70
- Groupe sans fil 2 : C1=20, C2=50, C3=80
Reconnaissance des appareils
Si vous configurez un groupe sans fil avec la balance, cette dernière recherche les autres appareils actifs dans le système seca wireless. Les appareils reconnus s'affichent sur l'écran de la balance sous forme de modules (par ex. MO 3). Les chiffres ont la signification suivante :
1: Pese-personne 2: Toise de mesure
• 3 : Imprimante sans fil - 4: Ordinateur avec secamodule sans fil USB 7: Pese-bébé - 5, 6 et 8-12 : Réservé pour une extension du système
7.2 Utiliser la balance dans un groupe sans fil (menu)
Toutes les fonctions requises pour utiliser l'appareil dans un groupe sans fil seca se trouvent dans le sous-menu « RF ». Vous trouvez de plus amples informations sur la navigation dans le menu à la Page 86.

Activer le module sans fil (SYS)
L'appareil est fourni avec le module sans fil désactivé. Vous devez l'activer avant de pouvoir configurer un groupe sans fil.
Remarque:
Si vous activez le module sans fil, la consommation de l'appareil augmente. Pour utiliser l'appareil dans un réseau sans fil, nous recommandons l'emploi d'un bloc d'alimentation secteur.
- Mettez l'appareil sous tension.
- Dans le sous-menu « rf », sélectionnez le point de menu « SYS »
- Confirmez la sélection.
- Sélectionnez le réglage « on »
- Confirmez la sélection. Le programme quitte le menu automatiquement.
Configurer un groupe sans fil (LRN)
Pour configurer un groupe sans fil, procédez comme suit :
- Mettez l'appareil sous tension.
- Appelez le menu.
- Dans le menu, sélectionnez le point « rf »
Lrn
Id 10 [230
[360
SEOP
- Confirmez la sélection.
- Dans le sous-menu « rf », sélectionnez le point de menu « Irn » (learn).
- Confirmez la sélection.
Le groupe sans fil en cours de réglage (ici : Groupe sans fil 0 « ID 0 ») s'affiche.
Si le groupe sans fil « 0 » existe déjà et si vous souhaitez configurer un autre groupe sans fil avec cet appareil, sélectionnez un autre ID avec les touches fléchées (ici : Groupe sans fil 1 « ID 1 »).
- Confirmez votre sélection du groupe sans fil.
L'appareil propose un numéro de canal pour le canal 1 (ici C1 « 0 »).
Vous sous-poucez reprendre le canal proposé ou régler un autre numéro de canal avec les touches fléchées.
- Confirmez votre sélection pour le canal 1.
L'appareil propose un numéro de canal pour le canal 2 (ici C2 « 30 »).
Vous pouvez reprendre le numéro de canal proposé ou régler un autre numéro de canal avec les touches fléchées.
Remarque:
Les nombres de canal à deux caractères ne comportent aucune espace. L'indication C230 signifie : Canal 2, Numéro de canal «30».
- Confirmez votre sélection pour le canal 2.
L'appareil propose un numéro de canal pour le canal 3 (ici C3 « 60 »).
Vous pouvez reprendre le numéro de canal proposé ou régler un autre numéro de canal avec les touches fléchées.
- Confirmez votre sélection pour le canal 3.
Le message SE OP apparait à l'écran.
L'appareil attend les signaux des autres appareils adaptés à une transmission sans fil situés à sa portée.
Remarque:
Pour de nombreux appareils, une procédure de mise sous tension spéciale doit être suivie en cas d'intégration dans un groupe sans fil. Respectez les consignes du mode d'emploi de l'appareil correspondant.
Activer la transmission automatique (asend)
- Mettez sous tension l'appareil que vous souhaitez intégrer dans le groupe sans fil, par exemple une imprimante sans fil.
Si l'imprimante sans fil a été reconnue, un bip sonore retentit.
Remarque:
Après avoir intégré une imprimante sans fil dans le groupe sans fil, vous devez ensuite sélectionner une option d'impression (Menu\rf\APrt) et régler l'heure (Menu\rf\time).
- Répétez l'étape 11. pour tous les appareils que vous souhaitez intégrer dans ce groupe sans fil.
- Appuyez sur la touche Entrée pour terminer la recherche.
- Appuyez sur l'une des touches fléchées pour afficher les appareils reconnus (ici : Mo 3 pour une imprimante sans fil). Si vous avez intégré plusieurs appareils dans le groupe sans fil, appuyez plusieurs fois sur les touches fléchées pour vérifier que tous les appareils ont été reconnus par la balance.
- Quitter le menu à l'aide de la touche Entrée ou attendez jusqu'à ce que le programme quitte le menu automatiquement.
Vous pourriez configurer l'appareil de manière à ce que les résultats de mesure soient envoyés automatiquement à tous les récepteurs prêts à recevoir et connectés dans le même groupe sans fil (par ex. : imprimante sans fil, ordinateur avec module sans fil USB).
Remarque:
Si vous utilisez une imprimante sans fil, assurez-vous que l'option d'impression n'est pas définie sur « off » (voir « Sélectionner l'option d'impression (APrt) » à la page 95).
- Mettez l'appareil sous tension.
- Dans le sous-menu « rf », sélectionnez le point de menu « Asend » et confirmez la sélection.
- Sélectionnez le réglage « on » et confirmez la sélection.
Le programme quitte le menu automatiquement.
Sélectionner l'option d'impression (APRT)
Vous pouvez configurer l'appareil de manière à ce que les résultats de mesure soient sortis automatiquement sur une imprimante sans fil connectée dans le groupe sans fil.
Remarque:
Cette fonction n'est accessible que si une impression sans fil seca a été intégrée dans le groupe sans fil via la fonction « learn »
- Mettez l'appareil sous tension.
- Dans le sous-menu « rf », Sélectionnez le point de menu « Apt » et confirmez la sélection.
- Sélectionnez le réglage pertinent pour votre combinaison d'appareils :
-HI: Résultats de mesure des appareils de mesure de longueur - MA : Résultats de mesure des balances - HI_MA : Résultats de mesure des appareils de mesure de longueur et des balances - off : Pas d'impression automatique; pour imprimer, exercez une pression longue sur la touche Entrée lors du pesage.
- Confirmez votre sélection.
Le programme quitte le menu automatiquement.
Régler l'heure (time)
Vous pouvez configurer le système de manière à ce que l'imprimante sans fil ajoute automatiquement la date et l'heure à vos résultats de mesure. Pour cela, vous devez régler en une seule fois l'heure et la date sur cet appareil et transmettre ces informations à l'horloge interne de l'imprimante sans fil.
Remarque:
Cette fonction n'est accessible que si une imprimante sans fil seca a été intégrée dans le groupe sans fil via la fonction « learn »
- Mettez l'appareil sous tension.
- Dans le sous-menu « Tf », sélectionnez le point de menu « Time »
- Confirmez la sélection.
Le réglage actuel pour « Année (Year) » s'affiche.
- Réglez le numéro adéquat pour l'année.
- Confirmez la sélection.
- Répétez les étapes 3. et 4. pour « Mois » ( ) non « Jour » (dRy), Heure (hour) et Minute (min).
- Confirmez votre sélection dans chaque cas.
Après avoir confirmé le réglage pour Minute, le programme quitte le menu automatiquement.
Les réglages sont transmis automatiquement à l'imprimante sans fil.
L'imprimante sans fil ajoute automatiquement la date et l'heure à chaque impression.
Remarque:
Pour plus d'informations sur l'utilisation de l'imprimante sans fil, reportez-vous à son mode d'emploi.
8. Nettoyage
Nettoyez si nécessaire le revêtement et le châssis à l'aide d'un produit d'entretien pour le ménage ou d'un désinfectant du commerce. Respectez les consignes du fabricant.
N'utilisez en aucun cas un agent nettoyant abrasif, de l'alcool, du benzène ou tout autre produit de nettoyage. Ces produits peuvent endommager les surfaces de haute qualité.
9. Que FAIRE si...
| Défaut Cause/Solution | |
| ... aucune indication de poids n'apparait alors qu'une charge se trouve sur la balance ? | La balance n'est pas alimentée en courant. - Vérifiez si la balance est sous tension - Vérifiez si des piles sont insérées |
| ... 00 ne s'affiche pas avant le pesage ? | La balance a été chargée avant la mise sous tension. - Enlever la charge de la balance - Mettre la balance hors tension puis à nouveau sous tension |
| ... un segment resté allumé en permanence ou ne s'allume pas du tout ? | L'emplacement correspondant présente un défaut. - Informer le service maintenance. |
| ... l'indication apparaît ? | La tension des piles diminue. - Insérer des piles neuves le plus+tôt possible |
| ... l'indication bêts apparaît ? | Les piles sont vides. - Insérer des piles neuves |
| ... l'indication 5E0P apparait? | La charge maximale a été dépassée. - Enlever la charge de la balance |
| ... l'indication 1E9P apparait? | La température ambiente de la balance est trop haute ou trop BASSE. - Installer la balance à une température ambiente comprise entre +10 °C et +40 °C - Attendre env. 15 minutes jusqu'à ce que la balance s'adapte à la température ambiente. |
| ... deux signaux sonores sont audibles lors du premier envoi des résultats de mesure après la mise sous tension? | L'appareil n'a pas pu envoyer les résultats de mesure aux récepteurs sans fil (imprimante sans fil seca ou ordinateur avec module sans fil USB). - Assurez-vous que la balance est intégrée dans le réseau sans fil. - Assurez-vous que le récepteur est sous tension. La réception est perturbée par les-appareils HF situés à proximité (par ex. les téléphones mobiles). - Avec les-appareils HF, maintainez une distance minimum d'1 mètre par rapport aux émetteurs et récepteurs du réseau sans fil seca. REMARQUE: Si cette perturbation n'est pas éliminée, aucun averissement sonore ne retentit lors des tentatives d'envoi ultérieures. |
| ... dans le menu rf, seul le point « SYS » est visible? | Le module sans fil est désactivé. - Activer le module sans fil (voir « Activer le module sans fil (SYS) » à la page 92). |
| ... dans le menu rf, seulement les points « SYS » et « Irn » sont visibles? | Le module sans fil est activé et aucun groupe sans fil n'est configuré. - Configurer le groupe sans fil (voir « Configurer un groupe sans fil (Lrn) » à la page 92). |
| ... dans le menu rf, les points « APrt » et « Time » ne sont pas visibles? | aucune imprimante sans fil n'est connectée dans le groupe sans fil. - Connecter l'imprimante sans fil dans le groupe sans fil via le point de menu « Irn » (voir « Configurer un groupe sans fil (Lrn) » à la page 92). |
| ... l'indication Er:H:11 apparait? | La charge se trouvant sur la balance est trop élevée ou la balance a été trop chargée sur un coin - Enlever la charge sur la balance ou répartir les poids de manière plus uniforme - Redémarrer la balance |
| ... l'indication Er:H:12 apparait? | La balance a été mise sous tension avec une charge trop élevé. - Enlever la charge de la balance - Redémarrer la balance. |
| ... l'indication Er:H:16 apparait? | Les oscillations propres de la balance ontentrainé son déplacement, le point zéro n'a pas pu être déterminé. - Redémarrer la balance |
| ... la touche Entrée (send/print) est enforcée et l'indication Er:H:71 apparait? | Transmission de données impossible, le module sans fil est désactivé. - Activer le module sans fil (voir « Activer le module sans fil (SYS) » à la page 92). |
| ... la touche Entrée (send/print) est enforcée et l'indication Er:H:72 apparait? | Transmission de données impossible, aucun groupe sans fil n'est configuré. - Configurer le groupe sans fil (voir « Configurer un groupe sans fil (Lrn) » à la page 92). |
10.1 Informations sur la maintenance et le réétalonnage
Nous recommandons de réaliser l'entretien de l'appareil avant un nouvel étalonnage.
Un entretien incorrect peut être à l'origine d'erreurs de mesures
- Les entretiens et réparations doivent être exclusivement confiés à des partenaires SAV autorisés.
- Pour connaître le partenaire SAV le plus proche, rendez-vous sur le site www.seca.com ou envoyez un e-mail à service@seca.com.
Faites effectuer par des personnes autorisées un réétalonnage conformément aux dispositions légales nationales. L'année du premier étalonnage est indiquée
derrière le sigle CE sur la plaque signalétique, au-dessus du numéro de l'organisme désigné 0109 (Direction de l'étalonnage en Hesse).
Un réétalonnage est dans tous les cas nécessaire si une ou plusieurs marques de sécurité sont endommagées ou si le contenu du compteur d'étalonnage ne correspond pas au nombre figurant sur la marque valide du compteur d'étalonnage.
10.2 Contrôler le contenu du compteur d'étalonnage
Cette balance seca est étalonnée. Les étalonnages ne peuvent être réalisés que par des organismes autorisés. Pour s'en assurer, la balance est équipée d'un compteur d'étalonnage qui constate toute modification des données relatives à l'étalonnage.
Si vous souhaitez vérifier si la balance a été étalonnée correctement, procédez comme suit :

- Éteignez la balance le cas échéant.
- Maintenez enfoncée n'importe quelle touche et démarrez la balance.
Le contenu actuel du compteur d'étalonnage clignote pendant quelques secondes sur l'écran.
- Comparez le contenu fourni du compteur d'étalonnage avec le nombre indiqué sur la marque du compteur d'étalonnage.

Pour que l'étalonnage soit valable, les deux nombres doivent correspondre. Si ce n'est pas le cas, un réétalonnage doit être effectué. Pour cela, adressez-vous à votre partenaire S. A. V. ou au service après-vente de seca. Si un réétalonnage s'avère nécessaire, la marque de réétalonnage ci-contre est utilisée pour caractériser l'état du compteur d'étalonnage au lieu de la marque du compteur d'étalonnage seca représentée ci-dessus. Cette marque est fixée par un sceau supplémentaire apposé par la personne compétente pour le réétalonnage. La marque de réétalonnage peut être obtenue au numéro 14-05-01-886 du service après-vente de seca.

11.1 Caractéristiques techniques générales
| Caracteristiques techniques seca 704 | |
| Dimensions | |
| • Profondeur | 520 mm |
| • Largueur | 360 mm |
| • Hauteur | 930 mm |
| Poids à vide 17 kg | |
| Plage de températures +10°C à +40°C | |
| Hauteur des chiffres 25 mm | |
| Alimentation | Pile |
| Bloc d'alimentation (option) | |
| Consommation | |
| • avec le module sans fil désactivé | env. 32 mA |
| • avec le module sans fil activé | env. 50 mA |
| Temps de marche max. en fonctionnement sur piles | |
| • avec le module sans fil désactivé | env. 5.600 minutes |
| • avec le module sans fil activé | Bloc d'alimentation recom-mandé |
| Dispositif Médical selon les directives 93/42/CEE et 2007/47/CE | Classe I avec fonction de mesurage |
| Étalandage selon la directive 2009/23/CE Classe III | |
| EN 60 601-1: | |
| • Appareil à isolation renforcée, classe de protection II: | |
| • Appareil électromédical, type B: | |
| Transmission sans fil | |
| • Bande de fréquences | 2,433 GHz - 2,480 GHz |
| • Puisance d'émission | < 10 mW |
| • Normes rémplies | EN 30028, EN 301 489-1, -17 |
11.2 Caractéristiques de pesage
| Caracteristique des pesage | |
| Étalandage selon la directive 2009/23/CE Classe III | |
| Charge max. | |
| • Étendue de pesage 1 | 150 kg |
| • Étendue de pesage 2 | 300 kg |
| Charge minimale | |
| • Étendue de pesage 1 | 1 kg |
| • Étendue de pesage 2 | 2 kg |
| Graduation fine | |
| • Étendue de pesage 1 | 50 g |
| • Étendue de pesage 2 | 100 g |
| Étendue de tarage jusqu'à 300 kg | |
| Précision lors du premier étalandnage | |
| • Étendue de pesage 1 : 0 à 25 kg | ± 25 g |
| • Étendue de pesage 1 : 25 à 100 kg | ± 50 g |
| • Étendue de pesage 1 : 100 kg à 150 kg | ± 75 g |
| • Étendue de pesage 2 : 0 à 50 kg | ± 50 g |
| • Étendue de pesage 2 : 50 à 200 kg | ± 100 g |
| • Étendue de pesage 2 : 200 kg à 300 kg | ± 150 g |
12. Accessoires
| Accessoires Numéro d'article | |
| seca réseau sans fil seca 360° wireless : • Imprimante sans fil - seca 360° Wireless Printer 465 - seca 360° Wireless Printer Advanced 466 • Logiciel pour ordinateur - seca analytics 105 • Module sans fil USB seca 360° Wireless USB adapter 456 | Variantes spécifique au pays Variantes spécifique au pays Licences globales spécifique à l'application 456-00-00-009 |
| Alimentation électrique : • Bloc d'alimentation enchachieable, Euro : 230V~ / 50Hz / 12V= / 150mA • Bloc d'alimentation, Switchmode : 100-240V~ / 50-60Hz / 12V= / 0,5A | 68-32-10-252 68-32-10-265 |
| Accessoires Numéro d'article | |
| Autres accessoires | |
| • Toise téléscopique seca 220, Étendue de mesure : 890 - 2000 mm, Graduation : 1 mm, Matériau : aluminium anodisé dur, couilisse avec languette de mesure enclique-table | 220-17-14-004 |
| • Toise téléscopique seca 220 (graduation double), Étendue de mesure : 890 - 2000 mm et 35 " - 78 3/4 ", Graduation : 1 mm et 1/8 ", Matériau : aluminium anodisé dur, couilisse avec languette de mesure encliqueable | 220-18-14-004 |
13.1 Mise au rebut de l'appareil

Ne jetez pas l'appareil avec les ordures ménagères. L'appareil doit être mis au rebut en tant que déchet d'équipements électriques et électroniques, conformément aux directives en vigueur. Respectez les dispositions en vigueur dans votre pays. Pour de plus amples informations à ce sujet, veuillez contacter notre service après-vente à cette adresse :
service@seca.com
13.2 Files et accus

Ne jetez pas les piles et accus usagés avec les ordures ménagères, qu'ils contiennent ou non des substances toxiques. En tant que consommateur de ces produits, vous êtes tenu par la loi de mettre au rebut les piles et les accus via les centres de collecte de votre commune ou du commerce. Ne restituez les piles et les accus qu'une fois ces derniers complètement déchargés.
14. Garantie
Une garantie de deux ans à compter de la date de livraison est accordée pour les défauts de matière ou de fabrication. Cette garantie ne s'applique pas aux pièces amovibles, comme par ex. les piles, les câbles, les blocs d'alimentation, les accus, etc. Les défauts couverts par la garantie sont réparés gratuitement sur présentation de la facture d'achat par le client. Aucune autre demande de réparation ne peut être prise en compte. Les frais de transport sont à la charge du client si l'appareil n'est pas installé à la même adresse que celle du client. En cas de dommages dus au transport, le cas de garantie peut être invoqué uniquement si l'emballage d'origine complet a été utilisé pour les transports et si la balance a été immobilisée et fixée conformément à l'emballage initial. Tous les éléments de l'emballage doivent par conséquent être conservés.
Aucun cas de garantie ne peut être invoqué si l'appareil est ouvert par des personnes qui ne sont pas explicitement autorisées par SECA.
Nous prions nos clients à l'étranger de bien vouloir contacter directement le revendeur de leur pays respectif pour les cas de garantie.

To paioktuo seca wireless λειουπυει με αυπατακ οάδεκ. Μια αυπατν ούδα είβαια 8εα ν ούδα τονω και δεκτωv. Εαv npen va laitoupyoov npiootepoi npoi kai nntc iou toun, ivai efiktn n puonion e autn tn ouokun eckai 3 aoupaTc ocadec (0,1,2).
Hpuhui npiootepew aupataow ouadw diaopaia zai aiont n kai owotn tadoon tiuw metponc, otav npoketai va aeitoupyov npioe oetaoewv eTov ekaoTote npoio eoianuo ookuwv.
H anostroon npwnov kai dektwv avepxetai nep. 0e 10 eTpa. Oiopevec toikec ouvnokec, P. x. paxoc kal noiotnta toixwv, npopei va eiwouuv Tnv eBéia.
Av aoupuatn ouada ivai eiktoc o akolouthetao uvsuaooc oukeuwv:
-1 Zuyapia βρεφωv 1 Zuyapia atopow 1 pa8oc mEtonc uouc 1 seca aoupuatoc ektuwntnc - 1 PC με seca paδιοτοχία USB
Kaváλia Evtóc μiac aoupuatnc opadac oio ouokéuéc επikovw-vouv μεtaú touc oε tria kaváλia (C1, C2, C3). Etoi δiaσφaλιετai μια aξιπιστή και αδιάκοστη μετάδοση δεδομένωv.

Eav puoioe Tn 2uyapia ia aupuaTn oada, n ouokun oc npoteivie Tria kavalia, Ta onoia diaofoauv iavikn eTadoon dsoevw. Ipoteivoue Tnv anooxn twv npoteivovewkava Iwv.
Tous apIOouc kavaaiwv (0 eWc 99) mOpEITE va tous EπIeEETe KAI XeipokivnTa, Yia napadEymu, Eav EπIuμeTE va puθmuTe πepiooTopec aoupuatec opadec.
Poids daioopaion adiatapaxtnc uetadoonc 86doevwv, npEe ta kavalia va anexouv apkcta uTouc. Ppoteivoume anootaon toulambdaotov 30. Cat e apiOc kavaiou epiTpEeai va xpnoiopoietai mvo yia eva kavali.
Le pèse-personnes non automatique
Conforme au modèle type décrit dans le certificat d'homologation.
Cette balance est conforme aux directives et normes suivantes:
2009/23/CE relative aux instruments de pesage à fonctionnement non automatique; 93/42/CEE et 2007/47/CE relatives aux dispositifs médicaux, EN 45501 relative aux aspects métrologiques des instruments de pesage à fonctionnement non automatique; EN 300 328, EN 301 489-1 et -17 relatives à la compatibilité électromagnétique et au spectre radioélectrique.
Notice Facile