704 - Balance SECA - Manual de uso y guía de instrucciones gratis
Encuentra gratis el manual del aparato 704 SECA en formato PDF.
Preguntas frecuentes - 704 SECA
Preguntas de los usuarios sobre 704 SECA
0 pregunta sobre este aparato. Responde a las que conoces o haz la tuya.
Hacer una nueva pregunta sobre este aparato
Descarga las instrucciones para tu Balance en formato PDF gratis! Encuentra tus instrucciones 704 - SECA y toma tu dispositivo electrónico nuevamente en la mano. En esta página están publicados todos los documentos necesarios para el uso de su dispositivo. 704 de la marca SECA.
MANUAL DE USUARIO 704 SECA
- Calidad garantizada 140
- Descripción del aparato 141
2.1 Enhorabuena! 141
2.2 Uso previsto 141
- Información de seguridad . 142
3.1 Indicaciones de seguidabásicas .142
3.2 Indicaciones de seguridad en estas instrucciones de uso . . .142
3.3 Manejo con pilas y
acumuladores. 143
- Vista general. 144
4.1 Elementos de mando 144
4.2 Símbolos en el visor 145
4.3 Indicaciones en la plac de identificacion. 146
4.4 Estructura del menu 147
- Antes de empezar....148
5.1 Montaje de la columna . 148
5.2Establecer el suministro de corrente .149
Colocar las pilas .149
Conecte el equipo de alimentacion (optional) 149
5.3 Colocar la basia .150
- Manejo .150
6.1 Pesaje 150
Inicio del proceso de pesaje ..150
Pesar bebés/niñosAFPRESEs (2 en 1) .150
Indicación continua del的结果de la medicación (HOLD) . . . . . .151
Calcular y valorar el indice de
masa corporal (BMI) .152
Calculare imprimir automatistically el BMI . . . . .152
Enviar los resultados de la medicion a receptores inalambricos .153
Desconectar la báscula. 154
6.2 Otrasuciones (menu). 154
Navegar por el menu 154
Borrar automatistically los valores almacenados (ACIr). 155
Almacenardoformacuadela peso adicional (Pt).156
Activar la funciona Autohold (Ahold) 156
Activar tonos de senal (BEEP). 157
Ajustar filtrado (Fil). 157
Restablecer la configuración de fabrica (RESET) 158
- La red inalámbrica seca 360^ wireless 158
7.1 Introduccion 158
Grupos inalámbricos seca 159
Canales 159
Reconocimiento de aparatos . 160
7.2 Utilizar la báscula bajo de un grupo inalámbrico (menu). 160
Establisherelgrupoinalambrico(Lrn) 161
Activar la transmisión automática (ASend) 163
Activar el modulo inalámbrico (SYS) 161
Seleccion la option de
impresion (APrt) 163
Ajustar la hora (Time) 164
- Limpieza. 164
- 165
- Mantenimiento/ recalibrado. 167
10.1 Información sobre el mantenimiento y recalibrado.. 167
10.2 Comprobar el contenido delcontador. 167
- Datos&Tecnicos. 168
11.1 Datos技术和 generales . . . 168
11.2 Datos先进技术 de pesaje . . . 169
-
Accerios 170
-
Evacuación 170
13.1 Evacuación del aparato 170
13.2 Pilas y acumuladores 171
14.Garantia. 171
1. CALIDAD GARANTIZADA

M





Con los productos seca no solo compra una技术水平e peas y las leyes naciales. Con sec aquisitione futuro.
Los productos de este manual de instrucciones cumplen la ley de productos sanitarios, es decir la directiva 93/42/CCE y la 2007/47/CE del Parlamento Europeo y del Consejo que, en toda Europa, se reflejan en leyes naciales.
Las BASCELAS que llovan este distinctivo cumplen con la directiva europea relativa a BASCELAS y balanzas 2009/23/CE. Las BASCELAS seca con este distinctivo satisfacen las altas exigencias sociales y de calidad que deben Cumplir las BASCELAS calibrables.
Las básculas que llevan estedistinctivo cumplen las exigencias rigurosas de la clase de calibracion lI y可以更好zarse en medicina para mediciones susetas a calibracion.
Los produits que llevan este distinctivo cumplen las directivas y las normas
- Direcva 2009/23/CE relativ a los instrumentos de pesaje de funcionaismo no automatico
- Directivas 93/42/CEE y 2007/47/CE sobre productos sanitarios
- DIN EN 45501 relativa a aspectos metrologicos de los instrumentos de pesaje de funcionaimiento no automatico
Tambien desde el sector oficial se reconce la profes-. sionalidad de seca.La TUV Product Service,la oficina competente en productos sanitarios, confirmma con un certificado que seca cumple de forma consecuente los estrictos requisitos legales como fabricante de productos sanitarios.Elistema de control de calidad de seca abarca las areas de diseño,desarrollo,produccion, ventas y serviceo posventa de basculas y sistemas de medicacion sanitarios.
seca ayud al medio ambiente. Para nosotros el ahora de recursos naturales es una@cuestion vital. Por ese nos esforzamos en ahorrar material de embalajeste社会组织 que sea razonable. El resto se pueda desechar comodamente in situ a工程技术 del Sistema Dual de reciclaje.
2. DESCRIPCION DEL APARATO
2.1 Enhorabuena!
Con la báscula electrónica para personas seca 704 ha adquirido un aparato de alta precision y al mismo tiempo robusto.
Śdehace mas de 170 años, por su experiencia al service de la salute y, siendo láder del mercado en numerousos páises, con sus descarrollos innovadores para el pesaje y la medicación, seca sienta cada vez新品as bases.
2.2 Uso previsto
La báscula electrónica para personas seca 704 se usa conforme a las normas nationales principalmente en hospitales, consultas Médicas ycentros de cuidado estacionarios.
Además de la determinación convencional del peso, la seca 704 OFRECE una función para calcular el indices de masa corporal. Paraarlo, con el teclado se introduce la alta y automatistically se calcula el indices de masa corporal correspondiente el peso.
A través de la red inalábrica seca 360^ wireless, los resultados de la medicación se peuvent trasladar a una implicora inalábrica seca o a un PC equipo con el software seca analytics 105 y el seca 360^ Wireless USB adapter 456.
La seca 704 se pueda desplazar sobre ruedas y,acias a su reducido consumo electrico, se pueda utiliser durante mucho tiempo como equipo móvil con unismo juego de pilas.
3. INFORMACION DE SEGURIDAD
3.1 Indicaciones de seguridadasicas
- Tenga en cuenta lasindicaciones de estas instrucciones de uso.
- Conserve en perfecto estado las instrucciones de uso y la交代 de conformidad que contienen.
- Asegürese de que la báscula tiene un apoyo seguro sobre una base recta y lisa.
- Nocede que la báscula se caiga. Evite los impactos fuertes en la báscula.
- Si utilizes la báscula con una fuente de alimentación, colque el cable de red de talmania que no hayapeligro de tropezarse conél.
Realice los problemas de mantenimiento y recalibrado periodicos vexe "Mantenimiento/ recalibrado" en la page 167. - Los trabajo de mantenimiento y las reparaciones deben ser realizados únicamente por el equipo de servicios autorizzato. El equipo de servicios más cerca lo encontrará en www.seca.com o enviando un correto electrónico a service@seca.com.
- Utilice únicamente accesos y piezas de recambio seca originales. De lo contrario seca no asume ningún tipo de garantía.
- Mantenga los aparatos de AF, como los Telefonos móvil, a una distancia minima de aprox. 1 metro paraatarmedioneserro-neas o interferencias en la transmisión de datos por radio.
3.2 Indicaciones de seguridad en estas instructcciones de uso

PELIGRO!
Indica una situacion de peligro extremadamente elevada. Si noiene en cuenta esta indication se produiran graves lesiones irreversibles o mortales.

ADVERTENCIA!
Indica una situacion de peligro extremadamente elevada. Si noiene en cuenta esta indicacion se pueda produir graves lesiones irreversibles o mortales.

PRECAUCION!
Indica una situacion de peligro. Si noiene en conta esta indication你能 producirse lesiones leves o medianas.
jATENCION!
Indica un posible manejo erroneo del aparato. Si noiene enIELDa esta indicacion能把 producirse daños en el aparato o resultados erroneos de la medicacion.
NOTA:
Contiene informacion adicular sobre el empleo de este aparato.
3.3 Manejo con pilas y accumulatorados
Este aparato se suministra con 6 pilas Mignon, tipo AA. Este tipo de pilas no es recargable. Tenga en cuenta las siguientes indicaciones de seguridad.

ADVERTENCIA!
Danos personales deben a un manejo inadequado
Las pilas contienen sustancias nocivas que con un manejo inadequado se pueda liberar de forma explosiva.
- No intentecarga las pilas.
- No caliente las pilas/acumuladores.
- No queme las pilas/acumuladores.
- Si se escapa acido,atar el contacto con la piel, ojos y mucosas. Aclare con abundante agua las zonas afectadas y acuda a un medico inmediamente.
;ATENCIón!
Danos en el aparato y funciona erroneo debido a un manejo inapropiado
- Utilice únicamente el tipo de pila/acumulador indicado véase "Colocar las pilas" en la páqina 149
- Bombie siempre al mismo tiempo todas las pilas/acumuladores.
- Noonga en cortocircuito las pilas/ acumuladores.
- Si el aparato no se utilizes durante un长大o periodo de tiempo, retire las pilas/ Accumuladores. Así se evita que entre acido en el aparato.
4. VISTA GENERAL
4.1 Elementos de mando

1 2 3 4

| Núm. | Elemento de mando | Función |
| 1 | Encender y apagar la báscula | |
| 2 | Tecla de cursor • Durante el pesaje: - Pulsación breve: activar funciona Hold - Pulsación larga: activar la funciona 2 en 1 • En el menú: - Seccionar submenu, seleccionar punto del menu - Augentar el valor | |
| 3 | bidi menu | Tecla de cursor • Durante el pesaje: - Pulsación breve:activar la funciona BMW - Pulsación larga:acceder al menú • En el menú: - Seleeactionar submenú, selecciónar punto del menú - Reducire valor |
| 4 | send plicc | Tecla Enter • Durante el pesaje (con la red inalámbrica preparada): - Pulsación breve:enviar resultado de la medicación a aparatos listos para la recepción(PC con modulo inalámbrico USB) - Pulsación larga:imprimir el resultado de la medicación (impresora inalámbrica) • En el menú: - Confirmar el punto del menú selecciónado - Almacenar el valor ajustado |
| 5 | Visor | Elemento de indicación de los resultados de la medicación y para configurar el aparato |
| 6 | Compartimiento para pilas | Espacio para 6 pilas Mignon, tipo AA, 1,5 V |
| 7 | Conexión de red | Sirve para connectar un equipo de alimentación disponible optionalmente |
| 8 | Ruedas de transporte | Con estas ruedas se pueda desplazar la báscula |
| 9 | Tornillo nivela-dor | 4 unidades, sirven para un nivelado preciso |
| 10 | Fiola Indica | si el aparato está nivelado |
4.2 Simbolos en el visor

| Símbolo Significado | ||
| A | Las pilas tienenlittle(poca)carga | |
| B | Funcionamente con equipo de alimentación | |
| C | Δ | Función no calibrable activa |
4.3 Indicaciones en la plac de identificacion
| Texto/simbolo Significado | |
| Modelo Número de modelos | |
| Tipo Nombre del tipo | |
| Ser. No. Número de series | |
| Tener en cuenta las instrucciones de uso | |
| Aparato electromédico, tipo B | |
| Aparato con aislamento de protección, clase de protección II | |
| FCC ID | Para EE.UU. Número de autorización del aparato en la oficina de la Comisión Federal de Comunicaciones de EE.UU. |
| IC | Para Canadá Número de autorización del aparato en la oficina Industry Canada |
| CE | El aparato cumple las normas y directivas de la CE |
| FC | Simbolo de la FCC (EE.UU.) |
| +--- | Utilizar el aparato únicamente con corriente continua |
| No desechar el aparato con la basura domérica | |
4.4 Estructura del menu
En el menu del aparato hay disponibles otheras funci-ones. De este modo peut configurar el aparato de forma optima para los requisitos del uso que quiera darle (detalles a partir de la Pagina 154).



Navigacion:
Aparato Reconocido (Mo):
- 1: Báscula para personas
- 2: Metro de longitudes
-3: Impresora inalámbrica - 4: PC con modulo inalámbrico USB
- 7: Báscula para bebés
5. ANTES DE EMPEZAR…
5.1 Montaje de la columna

La columna con el visor LCD se pueda montar en dos posiciones. De este modo determinina en qué direccion se pueda leer el visor: hacer la plataforma o hacer el bajo contrario.
- Encaje la cubierta de la columna en la columna.
- Coloque la columna en el hueco en la direccion que desee.
- Atornille la columna por abajo en la plataforma de pesaje.
Con cuidado pode apoyar la báscula por un lado para apltar los tornillos.
- Conecte, como se muestra en laImagen, la clavija del cable del visor en la parte inferior de la plataforma de pesaje.
ATENCLION!
Funcionamento erroneo por erros de montaje
Cuando los cables se montan de tal modo que se enquirytren en tension, por exemple cuando estan muy curvados o la clavija queda doblada,可以更好 que lasindicacionesseanerroneas y que el visor falle.
- Coloque los cables de talmania que no estén demasiado curvados y que la clavija no está doblada.
-
Tenga en cuenta la descarga de tracción colocando todos los cables en los soportes correspondientes.
-
Sujete los cables en los soportes correspondientes.
- A continuación vuelva a colocar de pie la báscula.
- Desplace la cubierta de la columna Completely abajo hasta que encaje en la plataforma de pesaje.
5.2 Establisher el suministro de corrente
| Colocar las pilas | El suministro de corriente de la báscula se llama a cabo con pilas o con un equipo de alimentación disponible como accesorio. |
| Se necesitan 6 pilas Mignon, tipo AA, 1,5 V (incluidas en el volumen de suministro). | |
| 1. Presione sobre el cierre del compartmentimiento para pilas. | |
| 2. Abra hacer abajo la tapa del compartmentimiento para pilas. | |
| 3. Retire el soporte de las pilas. | |
| 4. Coloque las pilas en el soporte. | |
| NOTA: Tenga enckeña los polos correctos de las pilas (marcados en el soporte de las pilas). Si en el visor aparece la indicación bAEt, pueda que haya colocado una de las pilas en la posición contraria o que las pilas estén gastadas. | |
| 5. Coloque el soporte con las pilas en el compartmentimiento para pilas. | |
| 6. Cierre el compartmentimiento para pilas. |
Conecte el equipo de alimentación (optional)

La báscula puede functionar con un equipo de alimentación disponible como accesorio.

ADVERTENCIA!
Danos personales y en el aparato debido a un equipo de alimentacion Incorrecto
Los equipos de alimentación habituales en el mercado peuvent proportionscar una tension más elevada de la que indican. La báscula se pueda sobrecalentar, incendiarse, fundirse o ponerse en cortocircuito.
-
Utilice exclusivamente equipos de alimentacion originales de seca con 9V o tension de salute regulada de 12 V.
-
Enchufe en el equipo de alimentacion la clavija necessaria para su suministro de corriente.
- Enchufe la clavija del equipo de alimentacion en el zócalo de connexion de la bascula.
- Enchufe el equipo de alimentacion a una toma de corriente de la red.
5.3 Colocar la báscula

Tornillos niveladores
ATENCLION!
Medicación erronea por transmisión parcial de fuerza
Si la báscula con la carcasa se coloca, por exemple, sobre una toalla, el peso no se mide correctamente.
-
Coloque la báscula de tal modo que estén en contacto con el sueño a工程技术 de los tornillos niveladores.
-
Coloque la báscula sobre una base firme y lisa.
- Nivele la báscula girando los tornillos niveladores. La burbuja de aire de la fiolaDebe encontrarse en el centro del círculo.
6. MANEJO
6.1 Pesaje
Inicio del processo de pesaje

- Asegürese de que sobre la báscula no haya ningún peso.
- Pulse la tecla Start.
En el visor aparece SECA, después se muestran brevemente todos los elementos del visor.
La báscula está operativa cuando en el visor aparece 00.
Si la báscula está的功能化 con un equipo de alimentación, en el visor aparece el symbolo

- Suba a la báscula y permanezca de pie tranquilamente.
- Lea el的结果ado de la medicación.
Pesar bebés/niños微量元素 (2 en 1)
Con la funciona 2 en 1 pueda calcular el peso de bebés y de niños pequeños. Paraarlo, durante el pesaje, el niño permanece en brazos de unadulto. Proceda de la;)siguienteforma:

- Asegürese de que sobre la báscula no haya ningún peso.
- Pida al adulto que secoloque sobre la báscula.
- Lea el的结果ado de la medicación.
- Mantenga pulsada la tecla de cursor (hold/2 in 1) hasta que en el visor aparezca la referencia "NET". Se memoriza el peso.
aparece en el visor.
JATENCION!
Medicion erronea bajo a un peso inicial diferente
Cuando el pesaje del niño se realiza con un peso inicial diferente peut que el peso del niño no se calcule correctamente.
- Asegürese de que el pesaje del niño siempreonga lugar con eladulto con el que se calculó el peso inicial.
- Asegürese de que el peso deladulto no varía, porejemplo porponerseropa.

- Pida aladulto que suba a la báscula con el niño. Se indica el peso del niño.
Se muestran el símbolo y los avisos "HOLD" y "NET".
- Pida al adulto que se baje de la bascula con el niño.
- Para desactivar la funciona 2 en 1, pulse la tecla de cursor (hold/2 in 1) hasta que desaparezcan el
simpilo elsimpolo y os avisos "HOLD" y "NET" o desconecte la basia.
Indicación continua del的结果ado de la medicación (HOLD)

Si activa la funciona HOLD, el valor del peso se vigue indicando afterwards de retiring el peso de la báscula. De este modo puede atender al paciente antes de anotar el peso.

- Asegürese de que sobre la基本情况 no haya ningún peso.
- Pida al paciente que secoloque sobre la báscula.
- Pulse brevamente la tecla de cursor (hold/2 in 1). La referencia parpadea hasta que se mide un peso estable. Después se indica el peso de forma continua. Se muestra el símbolo ¿función no calibrable) y la referencia "HOLD".


- Para desactivar la funciona HOLD, pulse brevemente la tecla de cursor (hold/2 in 1).
Desaparece el symbolo la indicacion "HOLD".
NOTA:
Si está activada la función Autohold, el peso se indica automatistically de forma continua.
véase "Activar la funciona Autohold (Ahold)" en la página 156.
Calculary valorar el indices de masa corporal (BMI)
El indice de mata corporal relacionla la alta y el peso proportionsando asi datos más precisos que, por ejemplo, el peso ideal de Broca. Se indica un margen de tolerancia que se consideraOPTIMO desdeel punto de vista de la salute.




- Asegürese de que sobre la基本情况 no haya ningún peso.
- Pulse brevamente la tecla de cursor (bmimenu). Aparece el avis "BMI". En el visor parpadean flechas. Se muestra la alta introducida por ultima vez.
- Puede adoptar la alta indicada o ajustar另一边 con la tecla de cursor.
- Confirme su ajuste con la tecla Enter (send/print).
- Pida al paciente que suba a la báscula y que permanece de pie tranquilamente.
- Lea el BMI y comparélo con las categorías indicadas más abajo.
- Para desactivar la funciona BMI, pulse brevamente la tecla Enter (send/print).
| BMI Valoración | |
| menos de 18,5 | El paciente pesa demasiado poco. Puede haber una ten-denia a la anorexia. Se recomienda augmentar de pesopara mejor el bienestar y el rendimiento. En caso de duda se debe consultar a un medico especialista. |
| entre 18,5 y 24,9 | El paciente tiene un peso normal. Puede quédarse como está. |
| entre 25 y 30(sobre peso) | El paciente tiene un sobrepeso entre ligero y mediano.Debería reducir su peso si ya tiene alguna enfermedad (por ejemplo diabetes, tensión alta, gotta, colesterol alto). |
| más de 30 | Esurgentie reducir el peso. Hay una sobrecarga del metabolismo, la circulación y los huesos. Se recomienda una dieta consecuente,是多么movimiento y un Cambio de actitud. En caso de duda seDebe consultar a un Médico especialista. |
Calcular e imprintar automatically el BMI
Si utilizes esta báscula jusqu'à un una impresora inalámbrica y un metro para longitudes del sistemaspeca 360^ wireless, puiscable e imprimir el BMI automatically.
NOTA:
Un requisito para esta función es que los aparatos estén registrados jintos en un grupo inalábrico (vease "La red inalábrica seca 360^ wireless" en la page 158).
- Realice el pesaje.
- Pulse brevamente la tecla Enter (send/print) de la báscula.
El valor medido se envía a la impersona inalábrica pero no se imprime.
- Realice la medicación de la longitud.
- Pulse长大o tiempo la tecla Enter (send/print) del metro de longitudes.
El valor medido se envía a la impresora inalábrica. Se calcula el BMI.
Se imprimen la longitud, el peso y el BMI.
Enviar los resultados de la medicación a receptores inalámbricos

Si la báscula está integrada en una red inalámbrica seca 360^ wireless, usted可以选择 enviar los resultados de la medicación a aparatoslists para la recepción (impresora inalámbrica, PC con modulo inalámbrico USB) pulsando un botón.
Pulse la tecla Enter (send/print).
- Pulsación breve de la tecla: enviar los resultados de la medicación a todos los aparatos listos para la recepción
- Pulsación breve de la tecla: imprimir el的结果ado de la medicación en la impressora inalámbrica
Desconectar la báscula

Pulse la tecla Start.
NOTA:
Cuando funciona con pilas, la báscula se desconecta automatistically al poco tiempo si no se coloca ningún peso sobre ella.
6.2 Otras unidades (menu)
En el menu de la báscula hay disponibles otheras functions. De este modo peut configurar la báscula de forma optima para los requisitos del uso que quiera darle.

- La descripción del punto del menu "rF" se incluye en la sección "Utilizar la bascula bajo de un grupo inalámbrico (menu)" en la頁a 160.
Navegar por el menu 1. Encienda la báscula.


- Mantenga pulsada la tecla de cursor (bmi/menu) hasta acceder al menu.
El punto del menu seleccióndo por ultima vez aparece en el visor (en este caso: Autohold "Ahold").










- Pulse una de las teclas de cursorantas vezes como seanecessary hasta que en el visor aparezca el punto del menuque se desea (en este caso: Filtrado "Fil").
- Confirme su selección con la tecla Enter (send/ print).
Se muestra el ajuste actual del punto del menu o un submenu (en este caso el nivel "0").
- Para modifier el ajuste o acceder a otro submenu, presione una de las teclas de cursorantas vezes como seanecessary hasta que aparezca el ajuste que se dese (en este caso: nivel "2").
- Confirme el ajuste con la tecla Enter (send/print). El menu desaparece del visor automatamente.
- Para realizarthersajustes,vuelva a acceder al menu yprocedadelmode descrito.
NOTA:
Si durante aprox. 24 segundos no se pulsa ninguna tecla, el menu desaparece del visor automatistically.
Borrar automatically los values almacenados (AClr)
Para evaporar que en la memoria del aparato queden resultados de medicacionesque ya no son actuales y que originen un calculo erroneo del BMI,可以更好star la basiacula de talmania que los resultados de la medicacion se borren automatamente al cabo de 5制动.
NOTA:
En algunos modelos esta funciona está activada de fabrica. Si lo desea pueda desactivar la funciona.


- Sezione en el menu el punto "ACir".
- Confirme la selección.
-
SeLECTIONE el ajuste que desee:
-
On
-
Off
-
Confirme la selección. El menu desaparece del visor automatistically.
Almacenar de forma continua el peso adicional (Pt)




Activar la funciona Autohold (Ahold)
AHOLD
Con la función Pre-Tara pueda almacenar de forma continua un peso adicional y restarlo automatistically del resultado de una medicación. Por exemple能把 almacenar un peso global para calzado y ropa, y siempre restarlo del resultado de la medicación cuando un paciente se pese Completely vestido.
- Sezione en el menu el punto "Pt".
Aparece el dato "Pt". - Confirme su selección. En el visor parpadean flechas. Se indica el peso adicional almacenado por ultima vez.
- Puede adoptar el valor almacenado o cambiarlo con las teclas de cursor.
NOTA:
Si introduce el valor "0", la funciona se desconecta. En el visor ya no aparece el avis "Pt".
- Confirme su selección.
- Pida al paciente que secoloque sobre la báscula. Se indica el peso del paciente. El peso adicional almacenado se ha restado automaticamente.
- Para desactivar la funciona, seleccione en el menu de nuevo el punto "Pt".
- Confirme su selección.
La función está desactivada.
El menu desaparece del visor automatístico.
Si activa la funciona Autohold, en cada pesaje el的结果をの medicion se sigueindicando afterwards de retirar el peso de la bascula. Ya no esnecessaryactivarmanualmentela funcionaHoldencadaspesaje.
NOTA:
- En algunos modelos esta funciona está activada de fabrica. Si lo desea pueda desactivar la funciona.
-
Independientelemente del ajuste elegido ahora, en la función 2 en 1, el peso del niño siempre se calcula con Autohold.
-
Seccione en el menu el punto "Ahold".
- Confirme la selección. Se muestra el ajuste del momento.
0n
-
SeLECTIONE el ajuste que desee:
-
On
-Off -
Confirme su selección.
El menu desaparece del visor automatamente.
Activar tonos de senal (BEEP)
Puede ajustar que al pulsar cada tecla y al alcantar un valor estable del peso se oiga o no un tono de senal. Esto es importante para la funciona Hold/Autohold.
BEEP
NOTA:
La funciona "Tono de senal para valor estable del peso" estáactivada defabrica. Si lo desea pueda desactivar esta funciona.
PreSS
- SeLECTIONE en el menu el punto "BEEP".
- Confirme la selección.
-
Selezionenu punto delmenu.
-
Press: tono de senal al pulsar una tecla
- Hold: tono de senal con un valor estable del peso.
0n
- Confirme su selección.
Se muestra el ajuste del momento.
-
Seleccione el ajuste que desee:
-
On
-
Off
-
Confirme su selección.
El menu desaparece del visor automatamente.
- Si también desea activar los tonos de Signals para lasegunda direccion, repita el proceso.
Ajustar filtrado (Fil)
FIL
FIL0
FIL2
Con el filtrado (Fil = Filter) puede reducir las interferencias a la hora de calcular el peso (por exemple las debidas a movimientos del paciente).
- Seccione en el menu el punto "Fil".
- Confirme la selección.
Se muestra el ajuste del momento.
- SeLECTIONE un niveau de filtrado.
-0: filtrado bajo
-1: filtrado medio
- 2: filtrado alto
- Confirme la selección.
El menu desaparece del visor automatamente.
Restablecer la configuración de fabrica (RESET)
Para las siguientes sistemas你可以 restablecer la func tion de fabrica:
| Función | Configuración de fabrica |
| Autohold (Ahold) | dependiendo del modelo |
| Tono deolenal (Press) off | |
| Tono deolenal (Hold) on | |
| Filtrado (Fil) 0 | |
| Autoclear (Aclear) | dependiendo del modelos |
| Pre-Tara (Pt) 0 kg | |
| Longitud para el indices de masa corporal (BMI) | 170 cm |
| Módulo inalábrico (SYS) off | |
| Autosend (ASend) off | |
| Autoprint (APrt) off |
NOTA:
Al restablecer la configuración de fabrica se desconecta el modulo inalámbrico. Se mantiene la información sobre los grupos inalámbricos existentes. Los grupos inalámbricos no se tenen que volver a establecer.
RESET
- SeLECTIONE en el menu el punto "Reset".
- Confirme la selección.
El menu desaparece del visor automatamente.
- Apague la báscula.
La configuración de fabrica se restablece y está disponible cuando la báscula se vuela a encender.
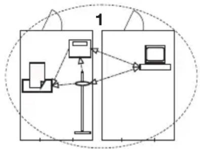
7. LA RED INALÁMBRICA SECA 360^ WIRELESS
7.1 Introduccion
Este aparato está equipado con un modulo inalámbrico. El modulo inalámbrico permite realizar una transmisión sin cables de los resultados de la medicación para su valoración y documento. Los datos se pueda transmitir a los siguientes aparatos:
- impresora inalámbrica seca
PC con modulo inalámbrico USB seca
Grupos inalámbricos seca


La red inalámbrica seca 360^ wireless funciona con grupos inalámbricos. Un grupo inalámbrico es un grupo virtual de emisores y receptores. Si esnecessaryutilizar variedesemisoresyreceptoresdelmesostipo, con este aparato se pueda instalar hasta 3 grupos inalámbricos (0,1,2).
La instalación de various grupos inalámbricos garantía una transmisión fiable y dirigida correctamente de los values de medicación cuando varías salas de consulta debenFuncional con un equipuesto de aparatos similar.
La maxima distancia entre emisores y receptores es de aprox. 10 metros. Algunas circunstancias locales, por exemple el espesor y las caracteristicas de las paredes, peuvent reducir el alcance.
Por cada grupo inalámbrico se pueda realizar lasuma de combinación de aparatos:
- 1 báscula para bebés
- 1 báscula para personas
- 1 mettro paralongitudes
- 1 impresora inalámbrica seca
- 1 PC con modulo inalámbrico USB seca

Canales Dento de un grupo inalámbrico, los canales se comun entre sí mediante tres canales (C1, C2, C3). De este modo se garantiza una transmisión de datos friable y sin interferencias.
Si con esta báscula estabilece un grupo inalámbrico, el aparato le sugiere tres canales que garantizan una transmisión de datos perfecta. Recomendamosadoptar los númeroos de los canales sugeridos.
Tambien peut eigir los nombres de los canales (de 0 a 99) de forma manual, por exemple, si desea establecer various grupos inalábricos.
Para garantizar una transmisión de datos sin interferencias, los canales deben estar suficientementeSeparatedos. Recommendamos una separacion de, al menos, 30. Cada numero de canal peut utilizese unicolemente para un canal.
Ejempio de configuracion; nombres de los canales al establecer 3 grupos inalambricos bajo de una consulta:
- Grupo inalámbrico 0: C1= 0, C2= 30, C3=60
- Grupo inalámbrico 1: C1=10, C2=40, C3=70
- Grupo inalámbrico 2: C1=20, C2=50, C3=80
Reconocimiento de aparatos
Si establece un equipo inalámbrico con la báscula, está busca Others aparatos activos del sistemaseca 360^
wireless. Los aparatos reconocidos se muestran en el visor de la bascula como发展模式 (por exemple MO 3). Los nombres tienen el siguientes significado:
1: Báscula para personas
2: Metro de longitudes
3: Impresora inalámbrica
- 4: PC con modulo inalámbrico USB seca
- 7: Báscula para bebés
- 5, 6 y 8-12: Reservados para una amplisión del sistema
7.2 Utilizar la báscula dentro de un grupo inalámbrico (menu)
Todas las functions que necesita para usar el aparato bajo de un grupo inalámbrico seca se encuentran en el submenu "rF". Puede encontrar información de como navegar por el menu en Págrina 154.

Activar el modulo inalámbrico (SYS)
El aparato se suministra con el modulo inalámbrico desactivado. Debe activarlo para poder establisher un grupo inalámbrico.
NOTA:
Si activa el modulo inalámbrico, augmente el consumo de electricidad del aparato. Para usar el aparato bajo de una red inalámbrica recomendamosemployeruna fuente de alimentación.
595
On
- Encienda el aparato.
- Sezione en el submenu "rf" el punto del menu "SYS".
- Confirme la selección.
- Seleccione el ajuste "on".
- Confirme la selección. El menu desaparece del visor automatamente.
Establecer el grupo inalámbrico (Lrn)
Para建立起 un equipo inalámbrico, proceda de lasuma眼看:
F
- Encienda el aparato.
- Acceda al menu.
- SeLECTIONE en el menu el punto "rf".
- Confirme la selección.
- Seleccione en el submenu "rf" el punto del menu "lm" (learn).
- Confirme la seleccion. Se muestra el grupo inalámbrico ajustado ahora (en este caso: grupo inalámbrico 0 "ID 0"). Si ya existe el grupo inalámbrico "0" y si con este aparato desea existelero othero grupo inalámbrico, seleccione con las teclas de cursor other ID (en este caso: grupo inalámbrico 1 "ID 1").
n
- Confirme su selección del grupo inalámbrico.
El aparato sugiere un número de canal para el canal 1 (en este caso C1 "0").
Id1
Puede adoptar el número de canal sugerido o ajustar除外 número de canal con las teclas de cursor.
10
- Confirme su selección para el canal 1.
[230
El aparato sugiere un número de canal para el canal 2 (en este caso C2 "30").
Puede adoptar el número de canal sugerido o ajustar除外 número de canal con las teclas de(Bejusor.
[360
5EOP
NO 3
NOTA:
La representation de nombres de canal de dos digitos se llama a cabo sin espacios vacios. Laadicacion "C230"significa: canal "2", numero de canal "30".
- Confirme su selección para el canal 2.
El aparato sugiere un número de canal para el canal 3 (en este caso C3 "60").
Puede adoptar el número de canal sugerido o ajustar除外 número de canal con las teclas de cursor.
- Confirme su selección para el canal 3.
El aviso SToP aparece en el visor.
El aparato expectsa snales deothers aparatos inalambricos al alcance.
NOTA:
En algunos aparatos se debeooter un procedimiento de encendido especial cuando se deben Integrar en un equipo inalámbrico. Tenga en cuenta las instrucciones de uso de cada aparato.
- Encienda el aparato que quiera integrar en el grupo inalábrico, por exemple una impresora inalábrica. Cuando se ha Reconocido la impresora inalábrica, se pueda oir un pitido.
NOTA:
En cuando haya integrado una impresora inalámbrica en el grupo inalámbrico debe selecciónar unaopsisdeimpresion(menu\rf\APrt)yajustar la hora (menu\rf\time).
- Repita el paso 11. para todos los aparatos que desee integrar en este grupo inalámbrico.
- Pulse la tecla Enter para finalizar el proceso de búsqueda.
- Pulse una de las teclas de cursor para que se le indique qué aparatos se han Reconocido (en este caso: Mo 3 para una impressora inalámbrica). Si ha integrado various aparatos en el grupo inalámbrico, pulse las teclas de cursor varias vezes para asegurar de que todos los aparatos han sido reconocidos por la báscula.
- Salga del menu con la tecla Enter o espere a partir automatistically del menu.
Activar la transmisión automática (ASend)
Puede configurar el aparato de talmania que los resultados de la medicación se envien automatistically a todos los receptores listos para la recepción y registrados en el mesmo grupo inalámbrico (por exemple: impresora inalámbrica, PC con modulo inalámbrico USB).
NOTA:
Si utilizes una impresora inalámbrica, asegúrese de que no está ajustada "off" (vease "Selección lahawkiondeimpresión(APrt)"enla página 163) comohawkiondeimpresión.
RSEnd
- Encienda el aparato.
0n
-
Seccione en el submenu "rf" el punto del menu "ASend" y confirme la seleccion.
-
Seccione el ajuste "on" y confirmre la seleccion. El menu desaparece del visor automatamente.
Selección la optación de impresión (APrt)
Puede configurar el aparato de talmania que los resultados de la medicación se impriman automatistically en una impresora inalámbrica registrada en el grupo inalámbrico.
APrt
NOTA:
Esta funciona solo es accesible si a工程技术 de la。,inalámbrica seca en el。,inalámbrico.
- Encienda el aparato.
- Seccione en el submenu "rf" el punto del menu "APrt" y confirme la seleccion.
-
Seleccione el ajuste apropiado para su combinacion de aparatos:
-
HI: resultados de la medicación de los aparatos de medicación de longitudes
- MA: resultados de la medicación de básculas
- HI_MA: resultados de la medicación de los aparatos de medicación de longitudes y BASculas
-
off: sin impresión automatica, impresión a工程技术 de pulsación larga de la tecla Enter durante el proceso de pesaje.
-
Confirme su selección.
El menu desaparece del visor automatamente.
Ajustar la hora (Time)
Puede configurar el sistema de talmania que la impersonora inalámbricaañada automatistically la Fecha y la hora a los resultados de su medicación. Paraarlo debe ajustar una vez la Fecha y la hora en este aparato y Transmitirlas al reloj interno de la impersonora inalámbrica.
NOTA:
Esta funciona solo es accesible si a工程技术 de la func tion "learn" se ha integrado una impressora inalámbrica seca en el grupo inalámblico.
E INE
- Encienda el aparato.
- Sezione en el submenu "rf" el punto del menu "Time".
- Confirme la selección. Se muestra el ajuste actual de "Año (Year)".
- Ajuste el número de años correcto.
- Confirme la selección.
- Repita los pasos 3. y 4. de acuerdo al "Mes" (non Día) (dRy), hora (hour) y horas (in
- Confirme cada una de sus selecciones.
Después de confirmar el ajuste de los Minutes el
menu desaparece del visor automatamente.
Los ajustes se transmiten automatistically a la
impresora inalámbrica.
La impresora inalámbrica anade automatistically
a cada impresión la Fecha y la hora.
NOTA:
Para seguir manejando la impressora inalámbricaonga en cuenta sus instrucciones de uso.
8. LIMPIEZA
Limpie la superficie y la carcasa si esnecessary con un
detergente domestico o un desinfectante commercial.
Tenga en cuenta lasindicaciones del fabricante.
En cualquier caso no utilise limpiadores abrasivos o corrosivos, alcohol, gasolina o liquidos similares para la limpieza. Este tipo de limpiadores puede darar las superficies de gran calidad de la báscula.
9. ¿QUÉ HACER CUANDO...
| Avería Causa/solución | |
| ... al colocar un peso no aparece ninguna指示a de peso? | La:báscula no tiene alimentación electrónica. - Comprobar que la:báscula está connectada - Comprobar que se han puesto las pilas |
| ... antes del pesaje no aparece???? | El peso se coloco antes de encender la:báscula. - Retirar el peso de la:báscula - Apagar y volver a encender la:báscula |
| ... un segmento se iluminina continually o nunca? | El punto correspondiente indica un error. - Informar al servicios de mantenimiento |
| ... aparece el avis ? | La tensión de las pilas disminuya. - Colocar cuando antesillas新品as |
| ... aparece el avis bArte? | Las pilas está gastadas. - Colocar pilas新品as |
| ... aparece el avis StSTOP? | Se ha superado el peso máximo. - Retirar el peso de la:báscula |
| ... aparece el avis LENP? | La temperature ambiente de la:báscula es demasiado elevada o demasiado bajo. - Colocar la:báscula a una temperatura ambiente entre +10 °C y +40 °C - Esperar aprox. 15 Minutes hasta que la:báscula se haya adaptado a la temperatura ambiente |
| ... después de encender la:báscula se envian por primera vez resultados de la medicación y se oyendos tonos deSEO? | ·El aparato no ha PODido enviar ningún的结果ado de medicación al receptor inalámbrico (impressora inalámbrica seca o PC con modulo inalámbrico USB seca). - Asegúrese de que la:báscula se encuentra integrada en la red inalámbrica. - Asegúrese de que el receptor está encendido. ·La recepción está obstaculizada por un aparato AF (por ejemplo un Telefonó móvil) que se encontrartra cerca. - Mantenga una distancia minima de 1 metro entre los aparatos AF y los emisores y reteores Dentro de la red inalámbrica seca. ·NOTA: Si esta interferencia no se SOLUTIONA, en los siguientesintentos de envío no se emite otra signal acústica. |
| ... en el筷rf solo se pueda ver el punto "SYS"? | ·El;módulo inalábrico está desactivado. - Activar el;módulo inalábrico (véase "Activar el;módulo inalábrico (SYS)" en la頁a 161). |
| ... en el筷rf solo se;puede ver los+puntos "SYS" y "Irn"? | ·El;módulo inalábrico está activado y no se ha establecido ningún grupo inalábrico. - Establisher el.groupo inalábrico (véase "Establecer el.groupo inalábrico (Lrn)" en la頁a 161). |
| ... en el筷rf no se;puede ver los+puntos "APrt" ni "Time"? | ·No se ha registrado ninguna impressora inalábrica en el.groupo inalábrico. -Registrar la impressora inalábrica agravés del punto del筷rf "Irn" en el.groupo inalábrico (véase "Establisher el.groupo inalábrico (Lrn)" en la頁a 161). |
| ... aparece el aviso Er:H: I? | Se ha colocado un peso demasiado elevado en la báscula o se ha cargado en excesso una esquina. - Retirar el peso de la báscula o distribuir el peso uniformamente - Encender de nuevo la báscula |
| ... aparece el aviso Er:H: I? | La báscula se ha encendido con un peso demasiado elevado. - Retirar el peso de la báscula - Encender de nuevo la báscula |
| ... aparece el aviso Er:H: I? | La báscula ha vibrado, no se ha podido determinar el punto cero. - Encender de nuevo la báscula |
| ... cuando se pulsa la tecla Enter (send/print) y aparece el aviso Er:H: I? | No es posible transmitir los datos, el;módulo inalábrico está desactivado. - Activar el;módulo inalábrico (véase "Activate el;módulo inalábrico (SYS)" en la頁a 161). |
| ... cuando se pulsa la tecla Enter (send/print) y aparece el aviso Er:H: I? | No es posible transmitir los datos, no se ha esta-blecido el.groupo inalábrico. - Establisher el.groupo inalábrico (véase "Establecer el.groupo inalábrico (Lrn)" en la頁a 161). |
10.MANTENIMIENTO/RECALIBRADO
10.1 Información sobre el mantenimiento y recalibrado
Antes del recalibrado del aparato recomendamos que realiza una revisión de mantenimiento.
jATENCIón!
Medicina erronea deben a un mantenimiento inadequado
- Los trabajo de mantenimiento y las reparaciones deben ser realizados únicamente por el equipo de servicios autorizado.
- El equipo de servicios más cerca lo encontrará en www.seca.com o enviando un correo electrónico a service@seca.com.
Haga que el recalibrado sea realizado por personas autorizadas de acuerdo a las disponeciones legales naciales. El ano del primer calibrado se encuentra detravs de lamarca CE en la chapa de identificacion sobre el numero de la oficina Mentionada 0109 (Hessische Eichdirektion).
En cualquier caso un recalibrado esnecessary cuando uno o variedesellos deseguidad estandan dañados o el contentido del control no coincide con el numero del sello valido del control.
10.2 Comprobar el contenido del contador

Esta báscula seca está calibrada. El calibrado debe ser realizado únicamente por ofecinas autorizadas. Para garantizar esta condidión, la báscula está equipada con un contador que registraequalquiermericano de los datos relevantes de la的技术a de calibrado.
Si quiere comprobar si la báscula está calibrada correctamente, proceda de la?siguefte manera:
- Apague, si esnecessary, la basia.
- Mantenga pulsadarialquierteclayencienda la basiacula.
En el visor parpadea durante uno poco segundos el contenido actual del控制器.
- Compare el contenido del contador indicado con el número indicado en el sello del控制器.

Para un calibrado社会稳定 deben coincidir los dos númeroos. Si el sello y el contador no coinciden, se debe realizar un recalibrado. Dirijase a su-oficina de servicios posventa o al serviceo al cliente de seca. Si es necessario realizar un recalibrado, en lugar del sello del contador seca indica arriba se utilizes el sello de recalibrado contigoo para marcar el valor indicado en el contador. La persona autorizada para el recalibrado asegura este sello con un sello adicular. El sello de recalibrado se pueda solicitar al serviceo al cliente de seca en el numero 14-05-01-886.
11.DATOS TECNICOS
11.1 Datos技术和 generales
| Datas技术和os seca 704 | |
| Dimensiones • Fondo • Ancho • Alto | 520 mm 360 mm 930 mm |
| Peso propio 17 kg | |
| Margen de temperatura +10°C hasta +40°C | |
| Altura de los númeroos 25 mm | |
| Suministro de corriente | Pilas Equipo de alimentación (optional) |
| Consumo de electricidad • con el modulo inalámbrico desactivado • con el modulo inalámbrico activado | aprox. 32 mA aprox. 50 mA |
| Duración的最大値 con pilas • con el modulo inalámbrico desactivado • con el modulo inalámbrico activado | aprox. 5.600 horas Equipo de alimentación comendado |
| Producto sanitario según las directivas 93/42/CEE y 2007/47/CE | Clase I con funciona de medicación |
| Calibrado según la directiva 2009/23/CE Clase III | |
| EN 60 601-1: · aparato con aislamento de protección, clase de protección II: · aparato electromédico, tipo B: | □ 大 |
| Transmisión inalábrica · Banda de Frequencia · Potencia de transmisión · Normas cumplidas | 2,433 GHz - 2,480 GHz < 10 mW EN 30028, EN 301 489-1, -17 |
11.2 Datos技术和 pesaje
| Datas技术和es pesaje | |
| Calibrado según la directiva 2009/23/CE Clase III | |
| Carga maxima • Margen de pesaje 1 • Margen de pesaje 2 | 150 kg 300 kg |
| Carga minima • Margen de pesaje 1 • Margen de pesaje 2 | 1 kg 2 kg |
| División de precision • Margen de pesaje 1 • Margen de pesaje 2 | 50 g 100 g |
| Campo de tara hasta 300 kg | |
| Precisión en el primer calibrado • Margen de pesaje 1: 0 a 25 kg • Margen de pesaje 1: 25 a 100 kg • Margen de pesaje 1: 100 kg a 150 kg • Margen de pesaje 2: 0 a 50 kg • Margen de pesaje 2: 50 a 200 kg • Margen de pesaje 2: 200 kg a 300 kg | ± 25 g ± 50 g ± 75 g ± 50 g ± 100 g ± 150 g |
12.ACCESORIOS
| Accesorios Núm. articulo | |
| seca red inalámbrica seca 360° wireless: • Impresora inalámbrica - seca 360° Wireless Printer 465 - seca 360° Wireless Printer Advanced 466 • Software del PC - seca analytics 105 • Módulo inalámbrico USB seca 360° Wireless USB adapter 456 | Variantes especialicas de cada País Variantes especialicas de cada País Paquetes de licencia especiali- ficos para cada aplicación 456-00-00-009 |
| Suministro de corriente: • Alimentador, Euro: 230V~ / 50Hz / 12V= / 150mA • Equipo de alimentación de fuente conmu- tada: 100-240V~ / 50-60Hz / 12V= / 0.5A | 68-32-10-252 68-32-10-265 |
| Otroos accesorios • Metro telescópico seca 220, margen de medicina: 890 - 2000 mm, división: 1 mm, material: anodizo duro de aluminio, corre- dera con lengüeta de medicación encajable | 220-17-14-004 |
| • Metro telescópico seca 220 (divisióndoble), margen de medicación: 890 - 2000 mm y 35" - 78 3/4", división: 1 mm y 1/8", material: anodizo duro de aluminio, corredera con lengüeta de medicación encajable | 220-18-14-004 |
13. EVACUACION
13.1 Evacuación del aparato

No deseche el aparato en la basura domestica. El aparato se debe desechar de forma apropriada como material electrónico. Tenga en cuenta las disponeciones nationales de su País. Para más información dirijase a nuestro service:
service@seca.com
13.2 Pilas y acumuladores

No deposite las pilas ni los acumuladores usados en la basura domestica, independiente de si contienen o no materiales nocivos. Como usuario tiene la obligacion legal de desearar las pilas y los acumuladores en+puntos de recogida municipales o commerciales. Entregue las pilas y los acumuladores solo Completely descargados.
14.GARANTÍA
Para los defectos implicados a errors del material o de fabrica existe una garantía de dos años a partir del suministro. Todas las piezas moviles, como pilas, cables, equipos de alimentación, accumulatoradores, etc., queden excluidas de la garantía. Los defectos que se incluyen bajo de la garantía serán reparados gratis. Para presentando la factura de la compra. No se podrá tener en cuenta otheras exigencias. Los costes del transporte de ida y vuelta corren a cargo del cliente en el caso de que el aparato se enquiryre en un lugar diferente al domicilio del cliente. En caso de causarse daños durante el transporte, los derechos de garantía solo son validos si para el transporte se ha empleado el embalaje original completo y la báscula se ha protegado y sujetado conforme al estado del embalaje original. Por este motivo, conserve todas las piezas del embalaje.
La garantía noiene validez cuando el aparato haya sido abierto por personas que no estén autorizadas paraarlo expresamente por seca.
A los clientes residentes en el extranjero les rogamos se dirijan directamente al vendedor de su País correspondiente para casos relacionados con la garantía.
INDHOLDSFORTEGNESE
Activar modulo de rado (SYS) 357
Selecionar a opcao de impressao (APrt) 360
Definir a hora (Time) (hora) 360
Afuncaoestadesactivada.
Exemplo de configuraçao; números de canal na insta-. lacao de 3 grupos de comunicaao via rado bajo do um consultorio:
Activar modulo de radio (SYS)
O aparecido sugere um número de canal para o canal 1 (aquí: C1 "0").
Pode aceitar o número de canal sugerido ou definir除外ly.
otro número de canal com as teclas de seta.
Pode aceitar o número de canal sugerido ou definir除外ly.
otro número de canal com as teclas de seta.
NOTA:
Pode aceitar o número de canal sugerido ou definir除外ly.
otro número de canal com as teclas de seta.
...corresponde a la muestra descririta en el certificado sobre el permiso de construccion.
La báscula cumple las exigencias vigentes de las sigui-entes directivas:
2009/23/CE relativa a los instrumentos de pesaje de的功能amento no automatico; 93/42/CEE y Directiva 2007/47/CE sobre productos sanitarios, EN 45501 sobre aspectos metrologicos de los instrumentos de pesaje de的功能amento no automatico; EN 300 328, EN 301 489-1 y -17 sobre compatibiliad electromagnética y cuestiones del aspecto radioelectrico.
DK ...svarer til det typemonster, som er beskrevet i at-testen over typegodkendelsen.
ManualFácil