704 - Waagen SECA - Kostenlose Bedienungsanleitung
Finden Sie kostenlos die Bedienungsanleitung des Geräts 704 SECA als PDF.
Häufig gestellte Fragen - 704 SECA
Benutzerfragen zu 704 SECA
0 Frage zu diesem Gerät. Beantworten Sie die, die Sie kennen, oder stellen Sie Ihre eigene.
Eine neue Frage zu diesem Gerät stellen
Laden Sie die Anleitung für Ihr Waagen kostenlos im PDF-Format! Finden Sie Ihr Handbuch 704 - SECA und nehmen Sie Ihr elektronisches Gerät wieder in die Hand. Auf dieser Seite sind alle Dokumente veröffentlicht, die für die Verwendung Ihres Geräts notwendig sind. 704 von der Marke SECA.
BEDIENUNGSANLEITUNG 704 SECA
- Mit Brief und Siegel. 4
- Gerätebeschreibung 5
2.1 Herzlichen Glückwunsch! . . . . .5
2.2 Verwendungszweck .5
- Sicherheitsinformationen. 6
3.1 Grundlegende Sicherheitshinweise. 6
3.2 Sicherheitshinweise in dieser Gebrauchsanweisung .6
3.3 Umgang mit Batterien und Akkus .7
- Übersicht 8
4.1 Bedienelemente .8
4.2 Symbole im Display 9
4.3 Kennzeichen auf dem Typenschild 10
4.4 Menu-Struktur .11
- Bevor es richtig los goht....12
5.1 Montage der Säule 12
5.2 Stromversorgung herstellen .13 Batterie einlagen .13 Netzgerät anschließen (optional). 13
5.3 Waage aufstellen 14
- Bedienung 14
6.1 Wiegen. 14
Wiegevorgang starten 14
Sauglinge/Kleinkinder wiegen (2 in 1). 14
Messergebnis dauerhaft
anzeigen (HOLD). 15
Body Mass Index ermittlen und bewerten (BMI) 16
BMI automatisch berechnen und ausdrucken. 16
Messerergebnisse an
Funkempfänger senden 17
Waage ausschalten. 18
6.2 Weitere Funktionen (Menu) 18
ImMenu navigieren.19
Gespeicherte Werte automatisch loschen (AClr) 19
Zusatzgewicht dauerhaft speichern (Pt) 20
Autohold-Funktion aktivieren (Ahold) 20
Signtõne aktivieren (BEEP) . . . 21
Dampfung einstellen (Fil) 21
Werkseinstellungen
wiederherstellen (RESET) 22
- Das Funknetzwerk seca 360^ wireless 23
7.1 Einführung 23
seca Funkgruppen .23
Kanale 23
Geräteerkennung 24
7.2 Waage in einer Funkgruppe betreiben (Menu). 25
Funkgruppe einrichten (Lrn) 25
Automatische Übertragung aktivieren (ASend). 27
Funkmodul aktivieren (SYS) . . . 25
Druckoption wahlen (APrt) . . .28
Uhrzeit einstellen (Time) 28
- Reinigung. 29
- Was tun, wenn...? 29
10.Wartung/Nacheichung. 31
10.1 Informationen zu Wartung und Nacheichung 31
10.2 Eichzahlerinhalt prufen . 32
- Technische Daten 32
11.1 Allgemeine Technische Daten. 32
11.2 Wägetechnische Daten 33
12.Zubehor. 34
- Entsorgung 35
13.1 Entsorgung des Gerätes. 35
13.2 Batterien und Akkus. 35
14.Gewährleistung 36
1. MIT BRIEF UND SIEGEL

M





Mit seca Produktien kaufen Sie nicht nur über ein Jahrhundert ausgereife Technik, sondern auch eine behördlich, gesetzlich und durch Institute bestätigte Qualität. seca-Produkte entsprechen den europäischen Richtlinien, Normen und den nationalen Gesetzen. Mit seca kaufen Sie Zukunft.
Die Produkte in dieser Bedienungsanleitung entsprehen dem Medizinproduktegesetz, d.h. den Richtlinien 93/42/EWG und 2007/47/EG des Rates der Europäischen Gemeinschaft, die in gaz Europa in nationale Gesetze verankert sind.
Waagen, die diesen Zeichen tragen, sind konform mit der europäischen Waagenrichtlinie 2009/23/EG. seca-Waagen mit thisem Zeichen erfüllen die hohen qualitativen und technischen Anforderungen, die an eichfähige Waagen gestellt werden.
Waagen, die diesen Zeichen tragen, erfüllen die strengen Anforderungen der Eichklasse III und können für eichpflichtige Messungen in der Heilkunde eingesetzt werden.
Produkte, die diesen Zeichen/TRagen, erfüllen die Richtlinien und Normen
- Richtlinie 2009/23/EG über nichtsebsttätige Waagen
- Richtlinien 93/42/EWG und 2007/47/EG über Medizinprodukte
DIN EN 45501 über metrologische Aspekte nicht selbstätigter Waagen
Auch von officieller Seite wird die Professionalität von seca anerkannt. Der TÜV Product Service, die zuständige Stelle, für Medizinprodukte, bestätigt mit dem Zertifikat, dass seca die strengen gesetzlichen Anforderungen als Medizinprodukthersteller konse-quent einhalt. secas Qualitätssicherungssystem umfasst die Bereiche Design, Entwicklung, Produktion, Vertrieb und Service von medizinischen Waagen und Messystemen.
seca hilft der Umwelt. Die Einsparung natürlicher Ressourcen liegt uns am Herzen. Deshalb bemühen wir uns, Verpackungsmaterial Dort einzusparen, wo es sinnvoll ist. Und das, was übrigbleibt, kann über das Duale System bequem vor Ort entsorgt werden.
2. GERÄTEBESCHREIBUNG
2.1 Herzlichen Glückwunsch!
Mit der elektronischen Personenwaage seca 704 haben Sie ein hochprézises und gleichzeitig robustes Gerät erworbEN.
Seit über 170 Jahren stellt seca seine Erfahrung in den Dienst der Gesundheit und setzt als Marktführer in vielen Ländern der Welt mit innovativen Entwicklungen für das Wiegen und Messen immer neue Maßstäbe.
2.2 Verwendungszweck
Die elektronische Personenwaage seca 704 kommt entsprechend den nationalen Vorschriften hauptsächlich in Krankenhäusern, Arztpraxen und stationären Pflegeeinrichtungen zum Einsatz.
Neben der konventionellen Bestimmung des Gewichtes bietet die seca 704 eine Funktion zur Ermittlung des Body-Mass-Indexes. Hierzu wird mittels der Tastatur die Körperpergroße eingegeben und automatisch der zum Gewichtswert gehörende Body-Mass-Index errechnet.
Über das Funknetzwerk seca 360^ wireless konnen Messergebnisse drahtlos an einen seca Funkdrucker oder an einen mit der Software seca analytics 105 und dem seca 360^ Wireless USB adapter 456 ausgestatteten PC übertragen werden.
Die seca 704 ist auf Rollen verfahren bar und aufgrund des geringen Stromverbrauches mit einem Batteriesatz über lange Zeit mobil einsetzbar.
3. SICHERHEITSINFORMATIONEN
3.1 Grundlegende Sicherheitshinweise
- Beachten Sie die Hinweise in dieser Gebrauchsanweisung.
- Bewahren Sie die Gebrauchsanweisung und die darin enthaltene Konformitätserklärung sorgfältig auf.
- Stellen Sie sicher, dass die Waage einen sicheren Stand auf einem geraden ebenen Untergrund hat.
- Lassen Sie die Waage nicht fallen. Setzen Sie die Waage keinen heftigen Stößen aus.
- Wenn Sie die Waage mit einem Netzteil betreiben, verlegen Sie das Netzkabel so, dass keine Stolpergefahr entstehen.
- Lassen Sie Wartung und Nacheichungen regelmäß durchführten siehe "Wartung/Nacheichung" auf Seite 31.
- Lassen Sie Wartungen und Reparaturen ausschließlich von einem autorisierten Servicepartner durchführren. Den Servicepartner in Ihrer Höhe finden Sie unter www.seca.com oder halten Sie eine email an service@seca.com.
- Verwenden Sie ausschließlich Original seca-Zubehör und -Ersatzteile. Andernfalls gewährt seca keinerlei Garantie.
- Halten Sie mit HF-Geräten wie z.B. Mobiltelefonen einen Mindestabstand von ca. 1 Meter ein, um Fehlmessungen oder Störungen bei der Funkübertragung zu vermeiden.
3.2 Sicherheitshinweise in dieser Gebrauchsanweisung

GEFAHR!
Kennzeichnet eine außergewöhnlich große Gefahrensituation. Wenn Sie diesen Hinweis nicht beachten, wird es zu schweren irreversiblen oder tändlichen Verletzungen kommt.

WARNING!
Kennzeichnet eine außergewöhnlich große Gefahrensituation. Wenn Sie diesen Hinweis nicht beachten, kann es zu schweren irreversiblen oder tändlichen Verletzungen kommt.

VORSICHT!
Kennzeichnet eine GefahrensITUation. Wenn Sie diesen Hinweis nicht beachten, kann es zu leichten bis mittleren Verletzungen kommt.
ACHTUNG!
Kennzeichnet eine mögliche Fehlbedienung des Gerätes. Wenn Sie diesen Hinweis nicht beachten, kann es zu Geräteschäden oder zu falschen Messergebnissen kommt.
HINWEIS:
Enthält zusätzliche Informationen zur Anwendung diesen Gerätes.
3.3 Umgang mit Batterien und Akkus
Dieses Gerät wird mit 6 Mignon-Batterien, Typ AA ausgeliefert. Diese Batterietyp ist nicht wiederaufladbar. Beachten Sie folgende Sicherheitshinweise.

WARNING!
Personenschäden durch unsachgemäße Handhabung
Batterien enthalten Schadstoffe, die bei unsachgemäßer Handhabung explosionsartig freigesetzt werden können.
- Versuchen Sie nicht, Batterien wieder aufzuladen.
- Erhitzen Sie Batterien/Akkus nicht.
- Verbrennen Sie Batterien/Akkus nicht.
- Wenn Säure ausgelaufen ist, vermeiden Sie Kontakt mit Haut, Augen und Schleimhäuten. Spulen Sie betroffene Stellen mit reichlich klarem Wasser unduchen Sie umgehend einen Arzt auf.
ACHTUNG!
Geräteschäden und Fehlfunktion durch unsachgemäß Handhabung
- Verwenden Sie ausschließlich den angegebenen Batterietyp/Akkutyp siehe "Batterie einlagen" auf Seite 13
Tauschen Sie stets alle Batterien/Akkus gleichzeitig aus. - SchlieBen Sie Batterien/Akkus nicht kurz.
Wird das Gerät langere Zeit nicht verwendet, entnehmer Sie die Batterien/Akkus. So kann keine Säure in das Gerät laufen.
4. ÜBERSICHT
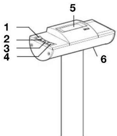
4.1 Bedienelemente


| Nr. Bedienelement Funktion | ||
| 1 | Ein- und Ausschalten der Waage | |
| 2 | Pfeil-Taste • Während des Wiegens: - Kurzes Drücken: Hold-Funktion aktivieren - Langes Drücken: 2 in 1-Funktion aktivieren • Im Menü: - Untermenü auswahlen, Menüpunkt auswahlen - Werterthöhen | |
| 3 | Pfeil-Taste • Während des Wiegens: - Kurzes Drücken: BMI-Funktion aktivieren - Langes Drücken: Menu aufrufen • Im Menu: - Untermenü auswahlen, Menüpunkt auswahlen - Wert verringern | |
| 4 | Enter-Taste • Während des Wiegens (wenn Funknetzwerk eingerichtet): - Kurzes Drücken: Messergebnis an empfangsbereite Geräte (PC mit USB-Funkmodul) senden - Langes Drücken: Messergebnis ausdrucken (Funkdrucker) • Im Menu: - Ausgewählten Menüpunkt bestätigten - Eingestelltten Wert speichern | |
| 5 | Display | Anzeigeelement für Messergebnisse und zur Konfigura-tion des Gerätes |
| 6 | Batteriefach Aufnahme für 6 Mignon-Batterien, Typ AA, 1,5 Volt | |
| 7 | Netzanschluss | Dient zum Anschluss eines optional erhältlichen Netz-gerätes |
| 8 | Transportrollen | Auf diesen Rollen kann die Waage verfahren werden |
| 9 | Fußschraube 4 | Stück, dienen zum genauen Ausrichten |
| 10 | Libelle Zeigt an, ob das Gerät waagerecht stehen | |
4.2 Symbole im Display

| Symbol Bedeutung | ||
| A | Batterien sind schwach | |
| B | Betrieb mit Netzgerät | |
| C | Nicht eichfähige Funktion aktiv | |
4.3 Kennzeichen auf dem Typenschild
| Text/Symbol Bedeutung | |
| Modell Modellnummer | |
| Type Typenbezeichnung | |
| Ser. No. Seriennummer | |
| i | Gebrauchsanweisung beachten |
| Elektromedizinisches Gerät, Typ B | |
| Schutzsoliertes Gerät, Schutzklasse II | |
| FCC ID | Für USA:Zulassungsnummer des Gerätes bei der US BehördeFederal Communications Commission FCC |
| IC | Für Kanada:Zulassungsnummer des Gerätes bei der BehördeIndustry Canada |
| CE | Gerät ist konform mit Normen und Richtlinien der EG. |
| FC | Symbol der FCC (USA) |
| +--- | Gerät nur mit Gleichstrom betreiben |
| Gerät nicht im Hausmüll entsorgen | |
4.4 Menu-Struktur
Im Menu des Gerätes stehen Ohnen weitere Funktionen zur Verfügung. So können Sie das Gerät optimal für ihre Nutzungsbedingungen konfigurieren (Details ab Seite 18).

5. BEVOR ES RICTIG LOS GEHT…
5.1 Montage der Säule

Die Säule mit der LCD-Anzeige kann in zwei Positionen montiert werden. Dadurch legen Sie fest, in welche Richtung die Anzeige lesbar ist - zur Standfläche hin oder gegenüber.
- Stecken Sie die Säulenblende auf die Säule.
- Setzen Sie die Säule in der gewünschten Richtung in die Aussparung.
- Verschrauben Sie die Säule von unten mit der Wägeplattform.
Legen Sie eventuell die Waage vorsichtig auf die Seite, um die Schrauben festzuziehen.
- Verbinden Sie, wie in der Abbildung gezeigt, die Stecker des Anzeigenkabels auf der Unterseite der Wägeplattform.
ACHTUNG!
Fehlfunktion durch Montagefehler
Wenn die Kabel so montiert werden, dass sie unter Spannung stehen, z.B. wenn Sie stark gebogen oder Stecker abgeknicht sind, kann es zu fehlerhaften Anzeigen und zum Ausfall des Displays kommt.
- Verlegen Sie alle Kabel so, dass sie nicht zu stark gebogen sind und dass Stecker nicht abgeknigt werden.
-
Sorgen Sie für Zugentlastung, indem Sie alle Kabel in den entsprechenden Halterungen verlagen.
-
Befestigen Sie die Kabel in den entsprechenden Halterungen.
- Stellen Sie anschließend die Waage wieder aufrecht bin.
- Schieber Ben Sie die Säulenblende ganz herunter, bis sie auf der Wägeplattform einrastet.
5.2 Stromversorgung herstellen
Die Stromversorgung der Waage erfolgt mit Batterien oder mit einem als Zubehör erhältlichen Netzgerät.
Batterie einlagen Sie benötigen 6 Mignon-Batterien, Typ AA, 1,5 Volt (im Lieferumfang enthalten).

- Drücken Sie auf den Verschluss des Batteriefaches.
- Klappen Sie den Deckel des Batteriefaches herunter.
- Nehmen Sie die Batterie-Halterung Heraus.
- Legen Sie die Batterien in die Halterung.
HINWEIS:
Achten Sie auf die korrekte Polung der Batterien (Markierungen in der Batteriehalterung). Sollte die Anzeige bAeT im Display erschinen, haben Sie eine der Batterien verkehrt herum eingelegt oder die Batterien sind leer.
- Legen Sie die Halterung mit den Batterien in das Batteriefach.
- Schließen Sie das Batteriefach.
Netzgerät anschlieben (optional)
Die Waage kann mit einem als Zubehör erhältlichen Netzgerät betrieben werden.

WARNING!
Personen- und Geräteschäden durch falsche Netzgeräte
Handelsübliche Netzgeräte konnen eine höhere Spannung liefern, als auf ihren angegeben ist. Die Waage kann überhitzen, in Brand geraten, schmelzen oder kurzgeschlossen werden.
- Verwenden Sie ausschließlich original seca Steckernetzgeräte mit 9V oder geregelter 12 Volt Ausgangsspannung.

- Stecken Sie den für ihre Stromversorgung notwendigen Netzstecker auf das Netzgerät.
- Stecken Sie den Gerätestecker des Netzgerätes in die Anschlussbuchse der Waage.
- Stecken Sie das Netzgerät in eine Netzsteckdose.
5.3 Waage aufstellen

Fußschrauben
ACHTUNG!
Fehlmessung durch Kraftnebenschluss
Wenn die Waage mit dem Gehäuse aufliegt,
z.B. auf einem Handtuch, wird das Gewicht nicht korrekt gemessen.
-
Stellen Sie die Waage so auf, dass sie ausschließlich mit den Fußschrauben Bodenkontakt hat.
-
Stellen Sie die Waage auf einen festen, ebenen Untergrund.
-
Richten Sie die Waage durch Drehen der Fußschrauben aus.
Die Luftblase der Libelle muss sich in der Mitte des Kreises befinden.
6. BEDIENUNG
6.1 Wiegen
Wiegevorgang starten 1. Stellen Sie sicher, dass die Waage unbelastet ist.

- Drücken Sie die Start-Taste.
In der Anzeige erscheint SECR, dann werden alle Elemente des Displays kurz angezeigt.
Die Waage ist betriebsbereit, wenn die Anzeige 00 im Display erscheint.
Wird die Waage mit einem Netzgerät betrieben,
erscheint das Symbol in der Anzeige.

-
Betreten Sie die Waage und bleiben Sie ruhig stehen.
-
Lesen Sie das Messergebnis ab.
Sauglinge/Kleinkinder wiegen (2 in 1)
Mit Hilfe der 2 in 1-Funktion konnen Sie das Gewicht von Säuglingen und Kleinkindern ermitteltn. Dazu wird das Kind während des Wiegens von einem Erwachsenen auf dem Arm gehalten. Gehen Sie folgendermaßen vor:

- Stellen Sie sicher, dass die Waage unbelastet ist.
- Bitten Sie den Erwachsenen, sich auf die Waage zu stellen.
- Lesen Sie das Messergebnis ab.
- Halten Sie die Pfeil-Taste (hold/2 in 1) gedrückt, bis die Meldung NET im Display erscheint. Das Gewicht wird gespeichert. 00 erscheint im Display.
ACHTUNG!
Fehlmessung durch wechselndes Ausgangsgewicht
Wenn das Wiegen des Kindes mit einem anderen Ausgangsgewicht durchgefuhrt wird, kann das Gewicht des Kindes nicht korrekt ermittelt werden.
- Stellen Sie sicher, dass das Wiegen des Kindes immer mit dem Erwachsenenstattfindet, mit dem das Ausgangsgewicht ermittelt wurde.
- Stellen Sie sicher, dass sich das Gewicht des Erwachsenen nicht ändert, z.B. durch Ablegen eines Kleidungsstückes.

- Bitten Sie den Erwachsenen, das Kind mit auf die Waage zunehmen.
Das Gewicht des Kindes wird angezeigt.
Das Symbol, das -Symbol sowie die Meldungen „HOLD" und „NET" werden angezeigt.
- Bitten Sie den Erwachsenen, mit dem Kind die Waage zu verlassen.
- Um die 2 in 1-Funktion zu deaktivieren, drucken Sie die Pfeil-Taste (hold/2 in 1), bis das Symbol, das A Symbol sowie die Meldungen „HOLD" und „NET" nicht mehr angezeigt werden oder schalten Sie die Waage aus.
Messergebnis dauerhaft anzeigen (HOLD)

Wenn Sie die HOLD-Funktion aktivieren, wird der Gewichtswert nach Entlastung der Waage weiterhin angezeigt. So konnen Sie den Patienten versorgen, bevor Sie den Gewichtswert notieren.
- Stellen Sie sicher, dass die Waage unbelastet ist.
- Bitten Sie den Patienten, sich auf die Waage zu stellen.


- Drücken Sie kurz die Pfeil-Taste (hold/2 in 1).
Die Anzeige blinkt, bis ein stabiles Gewicht gemessen wird. Dann wird der Gewichtswert dauerhaft angezeigt. Das ASymbol (nicht eichfähige Funktion) und die Meldung „HOLD" werden angezeigt.
- Um die HOLD-Funktion zu deaktivieren, drücken Sie kurz die Pfeil-Taste (hold/2 in 1).
Das Symbol und die Meldung „HOLD" werden nicht mehr angezeigt.
HINWEIS:
Wenn die Autohold-Funktion aktiviert ist, wird der Gewichtswert automatisch dauerhaft angezeigt. siehe "Autohold-Funktion aktivieren (Ahold)" auf Seite 20.
Body Mass Index ermittlen und bewerten (BMI)
Der Body-Mass-Index setzt Körperprüge und Körpersgewicht zueinander in Beziehung und ermöglicht dadurch genaure Angaben als z.B. das Idealgewicht nach Broca. Es wird ein Toleranzbereich angegeben, der als gesundheitlich optimal gilt.







- Stellen Sie sicher, dass die Waage unbelastet ist.
- Drucken Sie kurz die Pfeil-Taste (bmimenu).
Die Meldung "BMI" entscheid.
Im Display blinken Pfeile.
Die zuletzt eingebene Körpergröbe wird angezeigt. - Sie können die angezeigte Körpergröbe übernehmen oder mit den Pfeil-Tasten eine andere Körpergröbe einstehen.
- Bestätigkeiten Sie ihre Einstellung mit der Enter-Taste (send/print).
- Bitten Sie den Patienten, die Waage zu betreten und ruhig stehen zu bleiben.
- Lesen Sie den BMI ab und vergleichenihn mit den weiter untern angegebenen Kategorien.
- Um die BMI-Funktion zu deaktivieren, drücken Sie kurz die Enter-Taste (send/print).
| BMI Bewertung | |
| unter 18,5 | Der Patient wiegt zu weniger. Es konnte eine Tendenz zur Magersucht vorliegen. Eine Gewichtszunahme ist empfehlenswert, um Wohlbefinden und Leistungsfähigkeit zu verbessern. Im Zweifelsfalle sollte ein Facharzt konsultiert werden. |
| zwischen 18,5 und 24,9 | Der Patient ist normalgewichtig. Erarf bleiben, wie er ist. |
| zwischen 25 und 30 (Präadipositas) | Der Patient hat leichtes bis mittleres Übergewicht. Er solte sein Gewicht reduzieren, wenn bereits eine Krank-heit vorliegt (z.B. Diabetes, Bluthochdruck, Gicht, Fett-stoffwechselstörungen). |
| über 30 | Eine Gewichtsabnahme ist dringend erforderlich. Stoff-wechsel, Kreislauf und Knochen werden belastet. Empfohlen ist eine konsequente Diät, viel Bewegung und Verhaltenstraining. Im Zweifelsfalle sollte ein Facharzt konsultiert werden. |
BMI automatisch berechnen und ausdrucken
Wenn Sie diese Waage zusammen mit einem Funkdrucker und einem Längenmessstab aus dem seca 360^ wireless System verwenden, können Sie den BMI automatisch berechnen setzen und ausdrucken.
HINWEIS:
Vorraussetzung für diese Funktion ist, dass die Geräte zusammen in einer Funkgruppe angemeldet sind (siehe “Das Funknetzwerk seca 360^ wireless” auf Seite 23).
- Führer Sie die Wägung durch.
- Drücken Sie kurz die Enter-Taste (send/print) der Waage.
Der Messwert wird an den Funkdrucker gesendet, aber nicht ausgedrucht.
- Führn Sie die Längenmessung durch.
- Drücken Sie lange die Enter-Taste (send/print) des Längenmessstabes.
Der Messwert wird an den Funkdrucker gesendet. Der BMI wird berechnet.
Länge, Gewicht und BMI werden ausgedruckt.
Messergebnisse an Funkempfänger senden
Wenn die Waage in ein seca 360^ wireless Funknetzwerk integriert ist, können Sie die Messergebnisse per Tastendruck an empfangsbereite Geräte (Funkdrucker, PC mit USB Funkmodul) senden.

Drucken Sie die Enter-Taste (send/print).
- Kurzer Tastendruck: Messergebnisse an alle empfangsbereiten Geräte senden
Langer Tastendruck: Messergebnis am Funkdrucker ausdrucken
Waage ausschalten

Drucken Sie die Start-Taste.
HINWEIS:
Im Batteriebetrieb, schaltet sich die Waage nach kurzer Zeit automatisch aus, wenn sie nicht belastet wird.
6.2 Weitere Funktionen (Menu)
Im Menu der Waage stehen Ihnen weitere Funktionen zur Verfügung. So können Sie die Waage optimal für ihre Nutzungsbedinungen konfigurieren.

- Die Beschreibung des Menüpunktes „rF“ finden Sie im Abschnitt “Waage in einer Funkgruppe betreiben (Menu)” auf Seite 25.
Im Menu navigieren 1. Schalten Sie die Waage ein.












- Halten Sie die Pfeil-Taste (bmimenu) gedruckt, bis das Menu aufgerufen wird.
Der zuletzt gewählte Menüpunkt erscheint im Display (hier: Autohold „Ahold").
- Drücken Sie eine der Pfeil-Tasten so oft, bis der gewünschte Menüpunkt im Display erscheint (hier: Dämpfung „Fil").
- Bestätigten Sie ihre Auswahl mit der Enter-Taste (send/print).
Die aktuelle Einstellung für den Menüpunkt oder ein Untermenü werden angezeigt (hier Stufe „0").
- Um die Einstellung zu ändern oder ein anderes Untermenü aufzurufen, drücken Sie eine der Pfeil-Tasten so oft, bis die gewünschte Einstellung (hier: Stufe „2") angezeigt wird.
- Bestätigkeiten Sie die Einstellung mit der Enter-Taste (send/print).
Das Menu wird automatisch verlassen.
- Um weitere Einstellungen vorzunehmen, rufen Sie das Menu erneut auf und verfahren Sie in der beschriebenen Weise.
HINWEIS:
Wird für ca. 24 Sekunden keine Taste gedrückt, wird das Menu automatisch verlassen.
Gespeicherte Werte automatisch Löschen (AClr)
Um zu vermeiden, dass nicht mehr aktuelle Messergebnisse im Speicher des Gerätes verbleiben und zu einer fehlerhaften BMI-Berechnung führen, können Sie die Waage so einstellen, dass Messergebnisse nach 5 Minuten automatisch gelöscht werden.
HINWEIS:
Bei einigen Modellen ist diese Funktion werkseitig aktiviert. Falls gewünscht, konnen Sie die Funktion deaktivieren.
ACLR
0n
- Wahlen Sie im Menu den Punkt „ACIr" aus.
- Bestätigen Sie die Auswahl.
-
Wahlen Sie die gewünschte Einstellung:
-
On
-Off -
Bestätigen Sie die Auswahl.
Das Menu wird automatisch verlassen.
Zusatzgewicht dauerhaft speichern (Pt)


Mit der Pre-Tara Funktion konnen Sie ein Zusammenhang gewicht dauerhaft speichern und automatisch von einem Messergebnis abziehen setzen. Sie konnen zum Beispiel ein Pauschalgewicht für Schuhe und Kleidung speichern, und immer dann vom Messergebnis abziehen setzen, wenn ein Patient vollständig bekleidet gewogen wird.
- Wahlen Sie im Menu den Punkt „Pt“ aus. Die Meldung „Pt“ erscheint.
- Bestätigen Sie ihre Auswahr. Im Display blinken Pfeile. Das zuletzt gespeicherte Zusatzgewicht wird angezeigt.
- Sie können den gespeicherten Wert übernehmen oder mit den Pfeil-Tasten verändern.
HINWEIS:
Wenn Sie den Wert „0“ eingeben, wird die Funktion abgeschaltet. Die Meldung „Pt“ wird nicht mehr im Display angezeigt.
- Bestätigen Sie ihre Auswahl.
- Bitten Sie den Patienten sich auf die Waage zu stellen. Das Gewicht des Patienten wird angezeigt. Das gespeicherte Zusatzgewicht wurde automtisch abgezogen.
- Um die Funktion zu deaktivieren, wahlen Sie im Menu erneut den Punkt „Pt" aus.
- Bestätigen Sie ihre Auswahr. Die Funktion ist deaktiviert. Das Menu wird automatisch verlassen.
Automhold-Funktion aktivieren (Ahold)
Wenn Sie die Autohold-Funktion aktivieren, wird das Messergebnis bei jedem Wiegevorgang nach Entlastung der Waage weiterhin angezeigt. Es ist dann nicht mehr notwendig, bei jedem einzelnen Wiegevorgang die Hold-Funktion manuell zu aktivieren.
HINWEIS:
- Bei einigen Modellen ist diese Funktion werkseitig aktiviert. Falls gewünscht, können Sie die Funktion deaktivieren.
AHOLD
On
-
Unabhängig von der hier gewählten Einstellung, wird in der 2in1-Funktion das Gewicht des Kindes immer per Autohold ermittelt.
-
Wahlen Sie im Menu den Punkt „Ahold" aus.
- Bestätigen Sie die Auswahl.
Die aktuelle Einstellung wird angezeigt.
-
Wahlen Sie die gewünschte Einstellung:
-
On
-
Off
-
Bestätigen Sie ihre Auswahl.
Das Menu wird automatisch verlassen.
Signaltone aktivieren (BEEP)
Sie können einstellen, ob bei jedem Tastendruck und bei Erreichen eines stabilen Gewichtswertes ein Signalton hörbar ist. Letzteres ist für die Funktion Hold/Autohold von Bedeutung.
HINWEIS:
Die Funktion „Signalon bei stabilem Gewichtswert" ist werkweitig aktiviert. Falls gewünscht, können Sie diese Funktion deaktivieren.
BEEP
- Wahlen Sie im Menu den Punkt „BEEP" aus.
- Bestätigen Sie die Auswahl.
-
Wahlen Sie einen Menüpunkt aus:
-
Press: Signalion bei Tastendruck
-
Hold: Signalion bei stabilem Gewichtswert.
-
Bestätigten Sie ihre Auswahl.
Die aktuelle Einstellung wird angezeigt.
-
Wahlen Sie die gewünschte Einstellung:
-
On
-Off -
Bestätigen Sie ihre Auswahl.
Das Menu wird automatisch verlassen.
- Wenn Sie auch für die zweite Funktion die Signat-tone aktivieren wollen, wiederholen Sie den Vorgang.
Dämpfung einstellen (Fil)
Mit der Dämpfung (Fil = Filter) können Sie Störungen bei der Gewichtsermittlung (z.B. durch Patientenbewegungen) reduzieren.
FIL
- Wahlen Sie im Menu den Punkt „Fil" aus.


-
Bestätigen Sie die Auswahr. Die aktuelle Einstellung wird angezeigt.
-
Wahlen Sie eine Dämpfungsstufe aus.
-
0: geringe Dämpfung
-
1: mittlere Dämpfung
-2: starke Dämpfung -
Bestätigen Sie die Auswahr. Das Menu wird automatisch verlassen.
Werkseinstellungen wiederherstellen (RESET)
Für folgende Funktionen können Sie die Werkseinstellungen wiederherstellen:
| Funktion Werkseinstellung | |
| Autohold (Ahold) modellabhängig | |
| Signalton (Press) off | |
| Signalton (Hold) on | |
| Dämpfung (Fil) 0 | |
| Autoclear (Aclear) modellabhängig | |
| Pre-Tara (PT) 0 kg | |
| Körperlänge für Body Mass Index (BMI) | 170 cm |
| Funkmodul (SYS) off | |
| Autosend (ASend) off | |
| Autoprint (APrt) off | |
HINWEIS:
Bei der Wiederherstellung der Werkseinstellungen wird das Funkmodul abgeschaltet. Informationen über bestehende Funkgruppen bleiben erhalten. Funkgruppen müssen nicht wieder neu eingerichtet werden.
RESET
- Wahlen Sie im Menu den Punkt „Reset" aus.
- Bestätigen Sie die Auswahr. Das Menu wird automatisch verlassen.
- Schalten Sie die Waage aus. Die Werkseinstellungen werden wieder hergestellt und stehen zur Verfügung, wenn die Waage wieder eingeschaltet wird.
7. DAS FUNKNETZWERK SECA 360^ WIRELESS
7.1 Einführung
Dieses Gerät ist mit einem Funkmodul ausgestattet. Das Funkmodul ermöglich die drahtlose Übertragung von Messergebnissen zur Auswertung und Dokumentation. Die Übertragung der Daten ist an folgende Geräte möglich:
- seca Funkdrucker
- PC mit seca USB-Funkmodul
seca Funkgruppen

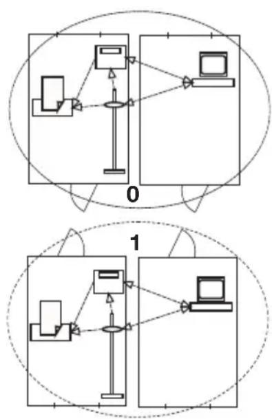
Das Funknetzwerk seca 360^ wireless erarbeitet mit Funkgruppen. Eine Funkgruppe ist eine virtuelle Gruppe von Sendern und Empfängern. Sollen mehrere Sender und Empfänger gleichen Typs betrieben werden, können mit thisem Gerät bis zu 3 Funkgruppen (0, 1, 2) eingerichtet werden.
Das Einrichten von mehreren Funkgruppen gewährleistet die zuverlässige und korrekt adressierte Übertragung von Messwerten, wenn mehrere Untersuchungsräume mit jeweils vergleichbarer Geräteausstattung betrieben werden sollen.
Die maximale Entfernung zwischen Sendern und Empfängern beträgt ca. 10 Meter. Bestimmte örtliche Gegebenheiten, z.B. Dicke und Beschaffenheit von Wänden, können die Reichweite verringern.
Pro Funkgruppe ist folgende Gerätekombination möglich:
1 Babywaage
1 Personewaage
1 Längemessstab
1 seca Funkdrucker
- 1 PC mit seca USB-Funkmodul

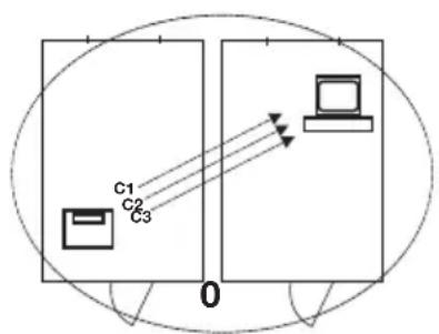
Kanäle Innerhalb einer FunkgruppeCOMMUNIZIEREN die Geräte auf drei Kanälen (C1, C2, C3) miteinander. So wird eine Zuverlässige und störungsfrei Datenübertragung gewährleistet.
Wenn Sie mit dieser Waage eine Funkgruppe einrichten, schlägt Ihnen das Gerät drei Kanäle vor, die eine optimale Datenübertragung gewährleisten. Wirempfehlen, die vorgeschlagenen Kanalzahlen zu übernehmen.
Sie können die Kanalzahlen (0 bis 99) auch manuell ausgehalten, zum Beispiel, wenn Sie mehrere Funkgruppen einrichten wollen.
Um eine störungsfrei Datenübertragung zu gewährleisten, müssen die Kanäleweit genug auseinander liegen. Wir empfehlen einen Abstand von mindestens 30. Jede Kanalzahl damit fur nur jeweils einen Kanal verwendet werden.
Beisielkonfiguration; Kanalzahlen bei Einrichtung von 3 Funkgruppen innerhalb einer Praxis:
- Funkgruppe 0: C1=_, C2=30, C3=60
- Funkgruppe 1: C1=10, C2=40, C3=70
- Funkgruppe 2: C1=20, C2=50, C3=80
Geräteerkennung Wenn Sie mit der Waage eine Funkgruppe einrichten,ucht diese nach weiteren aktiven Geräten aus dem seca 360^ wireless System. Die erkannten Geräte werden im Display der Waage als Module (z.B. MO 3) angezeigt. Die Ziffern haben folgende Bedeutung:
1:Personenwaage
- 2: Längenmessstab
3:Funkdrucker
- 4: PC mit seca USB-Funkmodul
- 7: Baby w a g e
- 5, 6 und 8-12: Reserviert für Systemerweiterung
7.2 Waage in einer Funkgruppe betreiben (Menu)
Alle Funktionen, die Sie benötigen, um das Gerät in einer seca Funkgruppe zu betreiben, befinden sich im Untermenü „rF". Informationen zum Navigieren im Menufinden Sie auf Seite 19.

Funkmodul aktivieren (SYS)
Das Gerät wird mit deaktiviertem Funkmodul ausgeliefert. Sie müssen es aktivieren, bevor Sie eine Funkgruppe einrichten können.
HINWEIS:
Wenn Sie das Funkmodul aktivieren, steigt der Stromverbrauch des Gerätes. Für den Betrieb des Gerätes in einem Funknetzwerk empfehlen wir die Verwendung eines Netzteiles.
595
- Schalten Sie das Gerät ein.
On
-
Wahlen Sie im Untermenü „rf" den Menüpunkt „SYS" aus.
-
Bestätigen Sie die Auswahl.
-
Wahlen Sie die Einstellung on".
-
Bestätigen Sie die Auswahr. Das Menu wird automatisch verlassen.
Funkgruppe einrichten (Lrn)
Um eine Funkgruppe einzurichten, gehen Sie folgendermaBen vor:
rF
-
Schalten Sie das Gerät ein.
-
Rufen Sie das Menu auf.
-
Wahlen Sie im Menu den Punkt „rf“ aus.







- Bestätigen Sie die Auswahl.
- Wahlen Sie im Untermenü „rf“ den Menüpunkt „Im" (learn).
- Bestätigen Sie die Auswahr. Die aktuell eingestellte Funkgruppe (hier: Funkgruppe 0, ID 0") wird angezeigt. Wenn die Funkgruppe, 0 "bereits existiert und Sie mit thisem Gerät eine weitere Funkgruppe einrichten wollen, wahren Sie mit den Pfeil-Tasten eine andere ID aus (hier: Funkgruppe 1, ID 1").
- Bestätigen Sie ihre Auswahl der Funkgruppe. Das Gerät schlägt eine Kanalzahl für Kanal 1 vor (hier C1 „0"). Sie können die vorgeschlagene Kanalzahl übernehmen oder mit den Pfeil-Tasten eine andere Kanalzahl einstellen.
- Bestätigen Sie ihre Auswahl für Kanal 1. Das Gerät schlägt eine Kanalzahl für Kanal 2 (hier C2 „30") vor. Sie können die vorgeschlagene Kanalzahl übernehmen oder mit den Pfeil-Tasten eine andere Kanalzahl einstellen.
HINWEIS:
Die Darstellung zweistelliger Kanalzahlen erfolgt ohne Leerzeichen. Die Anzeige „C230" bedeutet: Kanal „2“, Kanalzahl „30".
- Bestätigen Sie ihre Auswahl für Kanal 2. Das Gerät schlägt eine Kanalzahl für Kanal 3 vor (hier C3 „60"). Sie können die vorgeschlagene Kanalzahl übernehmen oder mit den Pfeil-Tasten eine andere Kanalzahl einstellen.
- Bestätigen Sie ihre Auswahl für Kanal 3. Die Meldung STOP erscheint im Display. Das Gerät wartet auf Signale anderer funkfähiger Geräte in Reichweite.
HINWEIS:
Bei einigen Geräten ist eine besondere Einschaltprozedur zu befolgen, wenn diese in einer Funkgruppe integriert werden sollen. Beachten Sie die Gebrauchsanweisung des jeweiligen Gerätes.
- Schalten Sie das Gerät ein, das Sie in die Funkgruppe integrieren wollen, z.B. einen Funkdrucker. Wenn der Funkdrucker erkannt wurde, ist ein - Piepton hörbar.
HINWEIS:
Sobald Sie einen Funkdrucker in die Funkgruppe integriert haben, müssen Sie anschließend eine Druckoption wahren (Menu\rf\APrt) und die Uhrzeit einstellen (Menu\rf\time).
- Wiederholen Sie den Schritt 11. für alle Geräte, die Sie in dieser Funkgruppe integrieren sollen.
- Drücken Sie die Enter-Taste, um den Suchvorgang zu beenden.
- Drücken Sie eine der Pfeil-Tasten, um sich an-zeigen zulassen, welche Geräte erkannt wurden (hier: Mo 3 für einen Funkdrucker).
Wenn Sie mehrere Geräte in die Funkgruppe integriert haben, drücken Sie die Pfeil-Tasten mehrfach, um sicherzustellen, dass alle Geräte von der Waage erkannt wurden.
- Verlassen Sie das Menu mit der Enter-Taste oder warten Sie, bis das Menu automatisch verlassen wird.
Automatische Übertragung aktivieren (ASend)
Sie können das Gerät so konfigurieren, dass die Messergebnisse automatisch an alle empfangsbereiten und in der selbst Funkgruppe angemeldeten Empfänger (z.B.: Funkdrucker, PC mit USB-Funkmodul) gesendet werden.
HINWEIS:
Wenn Sie einen Funkdrucker verwenden, stellen Sie sicher, dass als Druckoption nicht „off“ eingestellt ist (siehe “Druckoption wahlen (APrt)” auf Seite 28).
A5End
On
- Schalten Sie das Gerät ein.
- Wahlen Sie im Untermenü „rf“ den Menüpunkt „ASend“ aus und bestätigten Sie die Auswahr.
- Wahlen Sie die Einstellung „on“ und bestätigten Sie die Auswahr. Das Menu wird automatisch verlassen.
Sie können das Gerät so konfigurieren, dass Messergebnisse automatisch auf einem in der Funkgruppe angemeldeten Funkdrucker ausgedruckt werden.
HINWEIS:
These Funktion ist nur zugänglich, wenn über die „learn“-Funktion ein seca Funkdrucker in die Funkgruppe integriert wurde.
APrt
- Schalten Sie das Gerät ein.
- Wahlen Sie im Untermenü „rf“ den Menüpunkt „APrt“ aus und bestätigten Sie die Auswahl.
-
Wahlen Sie die für ihre Gerätekombination zuteffende Einstellung:
-
HI: Messergebnisse von Längenmessgeräten
- MA: Messergebnisse von Waagen
- HI_MA: Messergebnisse von Längenmess-geräten und Waagen
-
off: Kein automatischer Druck, Drucken nur durch langes Drucken der Enter-Taste während des Wiegevorganges.
-
Bestätigen Sie ihre Auswahr. Das Menu wird automatisch verlassen.
Uhrzeit einstellen (Time)
Sie können das System so konfigurieren, dass der Funkdrucker ihren Messergebnissen automatisch Datum und Uhrzeit hinzufugt. Dazu müssen Sie einmalig Datum und Uhrzeit an thisem Gerät einstellen und an die interne Uhr des Funkdruckers übertragen.
HINWEIS:
These Funktion ist nur zugänglich, wenn über die „learn“-Funktion ein seca Funkdrucker in die Funkgruppe integriert wurde.
EINE
- Schalten Sie das Gerät ein.
- Wahlen Sie im Untermenü „rf" den Menüpunkt „Time" aus.
- Bestätigen Sie die Auswahr. Die aktuelle Einstellung für „Jahr (Year)" wird angezeigt.
- Stellen Sie die korrekte Jahreszahl ein.
- Bestätigen Sie die Auswahl.
- Wiederholen Sie die Schritte 3. und 4. entsprechend für „Monat" (Mon, Tag (dRy), Stunde (hour) und Minute (In
YEA10
- Bestätigen Sie jeweils ihre Auswahl.
Nach dem Bestätigen der Einstellung für Minute wird das Menu automatisch verlassen.
Die Einstellungen werden automatisch an den
Funkdrucker übertragen.
Der Funkdrucker fegt automatisch jedem Ausdruck
Datum und Uhrzeit hinzu.
HINWEIS:
Für die weitere Bedienung des Funkdruckers beachten Sie dessen Gebrauchsanweisung.
8. REINIGUNG
Reinigen Sie den Belag und das Gehäuse nach Bedarf mit einem Haushaltsreiniger oder einem handelsüblichen Desinfektionsmittel. Beachten Sie die Hinweise des Herstellers.
Verwenden Sie auf keinen Fall scheuernde oder scharfe Reiniger, Spiritus, Benzin oder Ähnliches für die Reinigung. Solche Mittel können die hochwertigen Oberflächen beschädigen.
9. WAS TUN, WENN...?
| Störung Ursache/Beseitigung | |
| ... bei Belastung keine Gewichtsanzeige erscheint? | Die Waage hat keine Stromversorgung. - Prüfen, ob die Waage eingeschaltet ist - Prüfen, ob Batterien eingelegt sind |
| ... vor dem Wiegen nicht 00 entscheint? | Die Waage wurde vor dem Einsatzen belastet. - Waage entlasten - Waage aus und wieder einsalten |
| ... ein Segment ständig oder gar nicht leuchtet? | Die entsprechende Stelle weist einen Fehler auf. - Wartungs Dienst benachrichtigen. |
| ... die Anzeige entscheint? | Die Batteriespannung{lösst nach. - Möglichkeit bald neue Batterien einlagen |
| ... die Anzeige bAttschesieint? | Die Batterien sind leer. - Neue Batterien einlagen |
| ... die Anzeige StOP entscheint? | Die Höchstlast wurde übersritten. - Waage entlasten |
| ... die Anzeige EENP erscheint? | Die Umgebungstemperatur der Waage ist zu hoch oder zu niedrig. - Waage in einer Umgebungstemperatur zwi-schen +10 °C und +40 °C aufstellen - Ca.15 Minuten warten, bis sich die Waage an die Umgebungstemperatur angepasst hat |
| ... wenn nach dem Ein-schalten das erstee Mal Messergebnisse gesen-det werden und zwei Signatlõne hörbar sind? | ·Das Gerät konnte keine Messergebnisse an den Funkempfänger (seca Funkdrucker bzw. PC mit seca USB-Funkmodul) senden. - Stellen Sie sicher, dass die Waage in das Funknetzwerk integriert ist. - Stellen Sie sicher, dass der Empfänger eingeschaltet ist. ·Der Empfang wird durch in der Höhe befindliche HF-Geräte (z.B. Mobil-Telefon) gestört. - Halten Sie mit HF-Geräten einen Mindestabstand von 1 Meter zu Sendern und Empfängern im seca Funknetzwerk. HINWEIS: Wird diese Störung nicht behoben, erfolgt bei weiteren Sendoversuchen keine erneute akustische Warnung. |
| ... im rf-Menu nur der Punkt „SYS“ sightbar ist? | ·Das Funkmodul ist deaktiviert. - Funkmodul aktivieren (siehe “Funkmodul akti-vieren (SYS)” auf Seite 25). |
| ... im rf-Menu nur die Punkte „SYS“ und „Irn“ sightbar sind? | ·Das Funkmodul ist aktiviert und es ist keine Funkgruppe eingerichtet. - Funkgruppe einrichten (siehe “Funkgruppe einrichten (Lrn)” auf Seite 25). |
| ... im rf-Menu die Punkte „APrt“ und „Time“ nicht sightbar sind? | ·kein Funkdrucker in der Funkgruppe angemeldet. - Funkdrucker über den Menüpunkt „Irn“ in der Funkgruppe anmelden (siehe “Funkgruppe einrichten (Lrn)” auf Seite 25). |
| ... die Anzeige Er:H: Ierscheint? | Die Waage ist zu hoch oder an einer Ecke zu stark belastet worden. - Waage entlasten oder Gewicht gleichmäßiger vertellen - Waage neu starten |
| ... die Anzeige Er:H:12 erscheint? | Die Waage ist mit einer zu großen Belastung eingeschaltet worden. - Waage entlasten - Waage neu starten. |
| ... die Anzeige Er:H:15 erscheint? | Die Waage wurde in Eigenschwingungen versetzt, der Nullpunkt konnten nicht ermittelt werden. - Waage neu starten |
| ... wenn die Enter-Taste (send/print) gedrückt wird und die Anzeige Er:H:71 erscheint? | Keine Datenübertragung möglich, Funkmodul ist deaktiviert. - Funkmodul aktivieren (siehe “Funkmodul akti-vieren (SYS)” auf Seite 25). |
| ... wenn die Enter-Taste (send/print) gedrückt wird und die Anzeige Er:H:72 erscheint? | Keine Datenübertragung möglich, keine Funk-gruppe eingerichtet. - Funkgruppe einrichten (siehe “Funkgruppe einrichten (Lrn)” auf Seite 25). |
10.WARTUNG/NACHEICHUNG
10.1 Informationen zu Wartung und Nacheichung
Wir empfehlen, vor der Nacheichung des Gerätes, eine Wartung durchführten zu halten.
ACHTUNG!
Fehlmessungen durch unsachgemäß Wartung
- Lassen Sie Wartungen und Reparaturen ausschließlich von einem autorisierten Servicepartner durchführten.
- Den Servicepartner in Ihrer Höhe finden Sie unter www.seca.com oder setzen Sie eine email an service@seca.com.
Lassen Sie den nationalen gesetzlichen Bestimmungen entsprechend eine Nacheichung durch autorisierte Personen durchführren. Das Jahr der Ersteichung befindet sich hinter dem CE-Zeichen auf dem Typenschild über der Nummer der benannten Stelle 0109 (Hessische Eichdirektion).
Eine Nacheichung ist in jedem Falle erforderlich, wenn eine oder mehrere Sicherungsmarken verletzt sind oder der Eichzahlerinhalt nicht mit der Zahl auf der gultigen Eichzahlermarke übereinstimmt.
10.2 Eichzahlerinhalt prufen




These seca-Waage ist geeicht. Eichungen dürfen nur durch autorisierte Stellen erfolgen. Um dies sicherzustellen, ist die Waage mit einem Eichzahler ausgestattet, der jeder Veränderung der eichtechnisch relevanten Daten festhalten.
Wenn Sie prüfen möchten, ob die Waage ordnungsgemäß geeicht ist, gehen Sie folgendermaßen vor:
- Schalten Sie gegebenenfalls die Waage aus.
- Halten Sie eine beliebige Taste gedrückt und starten Sie die Waage.
Auf dem Display blinkt für weniger Sekunden der aktuelle Eichzahlerinhalt.
- Vergleichen Sie den ausgegebenen Eichzahlerinhalt mit der auf der Eichzahlermarke angegebenen Zahl.
Für eine gültige Eichung mussen beide Zahlen übereinstimmen. Wenn Marke und Eichzähler nicht übereinstimmen, muss eine Nacheichung erfolgen. Wenden Sie sich an ihren Servicepartner oder den seca-Kundendienst. Sollte eine Nacheichung erforderlich werden, so wirdstatt der oben abgebildeten seca Eichzählermarke die nebenstehende Nacheichungsmarke zur Kennzeichnung des Eichzählerstandes verwendet. Diese Marke wird durch die zur Nacheichung autorisierten Person mit einem Zusammengegel geschichert. Die Nacheichungsmarke kann unter der Nummer 14-05-01-886 vom seca Kundendienst bezogen werden.
11.TECHNISCHE DATEN
11.1 Allgemeine Technische Daten
| Technische Daten seca 704 | |
| Abmessungen | |
| • Tiefe | 520 mm |
| • Breite | 360 mm |
| • Höhe | 930 mm |
| Eigengewicht 17 kg | |
| Temperaturbereich +10°C bis +40°C | |
| Ziffernhöhe 25 mm | |
| Stromversorgung | Batterie Netzgerät (optional) |
| Stromaufnahme • mit deaktiviertem Funkmodul • mit aktiviertem Funkmodul | ca. 32 mA ca. 50 mA |
| Maximale Laufzeit bei Batteriebetrieb • mit deaktiviertem Funkmodul • mit aktiviertem Funkmodul | ca. 5.600 Minuten Netzgerät empfohlen |
| Medizinprodukt nach Richtlinien 93/42/EWG und 2007/47/EG | Klasse I mit Messfunktion |
| Eichung nach Richtlinie 2009/23/EG Klasse III | |
| EN 60 601-1: • schutzisoliertes Gerät, Schutzklasse II: • elektrömédizinisches Gerät, Typ B: | ☐ 大 |
| Funkübertragung • Frequenzband • Sendeleistung • erfüllte Normen | 2,433 GHz - 2,480 GHz < 10 mW EN 30028, EN 301 489-1, -17 |
11.2 Wägetechnische Daten
| Wägetechnische Daten | |
| Eichung nach Richtlinie 2009/23/EG Klasse III | |
| Höchstlast | |
| • Wägebereich 1 | 150 kg |
| • Wägebereich 2 | 300 kg |
| Mindestlast | |
| • Wägebereich 1 | 1 kg |
| • Wägebereich 2 | 2 kg |
| Feinteilung | |
| • Wägebereich 1 | 50 g |
| • Wägebereich 2 | 100 g |
| Tarierbereich bis 300 kg | |
12.ZUBEHÖR
| Wägetechnische Daten | |
| Genauigkeit bei Ersteichung | |
| • Wägebereich 1: 0 bis 25 kg | ± 25 g |
| • Wägebereich 1: 25 bis 100 kg | ± 50 g |
| • Wägebereich 1: 100 kg bis 150 kg | ± 75 g |
| • Wägebereich 2: 0 bis 50 kg | ± 50 g |
| • Wägebereich 2: 50 bis 200 kg | ± 100 g |
| • Wägebereich 2: 200 kg bis 300 kg | ± 150 g |
| Zubehör Artikelnummer | |
| seca Funknetzwerk seca 360° wireless: • Funkdrucker - seca 360° Wireless Printer 465 - seca 360° Wireless Printer Advanced 466 • PC - S obware - seca analytics 105 • USB-Funkmodul seca 360° Wireless USB adapter 456 | länderspezifische Varianten länderspezifische Varianten anwendungsspezifische Lizenzpakete |
| 456-00-00-009 | |
| Stromversorgung: • Steckernetzgerät, Euro: 230V~ / 50Hz / 12V= / 150mA • Switchmode Netzgerät: 100-240V~ / 50-60Hz / 12V= / 0.5A | 68-32-10-252 68-32-10-265 |
| Weiteres Zubehör • Teleskop-Messstab seca 220, Messbereich: 890 - 2000 mm, Teilung: 1 mm, Material: Alu hart eloxiert, Schieber mit rastbarer Messzunge • Teleskop-Messstab seca 220 (Doppel-teilung), Messbereich: 890 - 2000 mm und 35 " - 78 3/4 ", Teilung: 1 mm und 1/8 ", Material: Alu hart eloxiert, Schieber mit rast-barer Messzunge | 220-17-14-004 220-18-14-004 |
13.ENTSORGUNG
13.1 Entsorgung des Gerätes

Entsorgen Sie das Gerät nicht über den Hausmüll. Das Gerät muss sachgerecht als Elektronikschrott entsorgt werden. Beachten Sie ihre jeweiligen nationalen
Bestimmungen. Für weitere Auskünfte wenden Sie sich an unseren Service unter:
service@seca.com
13.2 Batterien und Akkus

Werfen Sie verbrauchte Batterien und Akkus nicht in den Hausmull, unabhängig davon, ob diese Schadstoffe enthalten oder nicht. Als Verbraucher sind Sie gesetzlich verpflichtet, Batterien und Akkus überCOMMUNALE Sammelstellen oder Sammelstellen des Handels zu entsorgen. Geben Sie Batterien und Akkus nur im vollständig entladen Zustand ab.
14.GEWÄHRLEISTUNG
Für Mängel, die auf Material- oder Fabrikationsfehler zurückzuführen sind, gilt eine zweijährige Gewährleistungsfrist ab Lieferung. Alle beweglichen Teile, wie z.B. Batterien, Kabel, Netzgeräte, Akkus etc., sind hiervon ausgenommen. Mängel, die unter die Gewährleistung fallen, werden für den Kunden gegen Vorlage der Kaufquittung kostenlos behoben. Weitere Ansprüche können nicht berücksichtigt werden. Kosten für Hinund Rücktransporte gehen zu Lasten des Kunden, wenn sich das Gerät an einem anderen Ort als dem Sitz des Kunden befindet. Bei Transportschäden können Gewährleistungsansprüche nur geltend gemacht werden, wenn für Transporte die komplette Originalverpackung verwendet und die Waage darin gemäß dem originalverpackten Zustand gesichert und befestigt wurde. Bewahren Sie daher alle Verpackungsteile auf.
Es besteht keine Gewährleistung, wenn das Gerät durch Personen geöffnet wird, die hierzu nicht ausdrücklich von seca autorisiert worden sind.
Kunden im Ausland bitten wir, sich im Gewährleistungsfall direkt an den Verkäfer des jeweiligen Landes zu wenden.
CONTENTS
5. BEFORE YOU GET STARTED …
Funktionen er deaktiveret.
Den aktuella installingen for menypunkten aller foren untermeny visas (här steg "0").





- Bekräfta markingsen.
Pilar blinkar på displayen.
- Bekräfta markingsen.
Menyn slacks automatiskt.
Den aktuelle innstillingen for menypunktet aller en untermeny vises (her trinn 0^ ).


Dersom du angir verdien „0“, deaktiveres Funktionen. Meldingen "Pt" vises/DDKE longer i displayet.
- Bekreft valget.
- Be pasienten gå opp på vekten.
Den aktuelle innstillingen vises.
On
-
Velg onsket innstilling:
-
On
-
Off
-
Bekreft valget.
Menyen forlates automatisk.
Den aktuelle innstilte tradlose gruppen (her: tradløs gruppe 0 „ID 0") vises.
Tosifrede kanaltall vises unten mellomrom. Indikeringen „C230" betyr: Kanal „2“, kanaltall „30".
9. Bekreft valget for kanal 2.
Apparatet foreslår et kanaltall for kanal 3 (her C3 "60").
- Technische gegevens 330
11.1 Algemene technische gegevens 330
11.2 Weegtechnische gegevens . 330
1. MET OORKONDE EN ZEGEL

M





11. TECHNISCHE GEGEVENS
11.1 Algemene technische gegevens
11.2 Weegtechnische gegevens
| Weegtechnische gegevens | |
| IJking conform richtig 2009/23/EG Klasse III | |
| Maximale belasting • Weegbereik 1 • Weegbereik 2 | 150 kg 300 kg |
| Minimale belasting • Weegbereik 1 • Weegbereik 2 | 1 kg 2 kg |
| Fijne indeling • Weegbereik 1 • Weegbereik 2 | 50 g 100 g |
| Tardeerbereik tot 300 kg | |
| Precisie bij eerste ijking • Weegbereik 1: 0 tot 25 kg • Weegbereik 1: 25 tot 100 kg • Weegbereik 1: 100 kg tot 150 kg • Weegbereik 2: 0 tot 50 kg • Weegbereik 2: 50 tot 200 kg • Weegbereik 2: 200 kg tot 300 kg | ± 25 g ± 50 g ± 75 g ± 50 g ± 100 g ± 150 g |
12.ACCESSOIRES
| Accessoires Artikelnummer | |
| seca draadloos netwerk seca 360° wireless Wireless: · afstandsprinter - seca 360° Wireless Printer 465 - seca 360° Wireless Printer Advanced 466 · pc-software - seca analytics 105 · USB-draadloze module seca 360° Wireless USB adapter 456 | landspecifieke varianten landspecifieke varianten toepassingsspecifieke licentiepakketten 456-00-00-009 |
| Stroomvoorziening · Netadapter, Euro: 230V~ / 50Hz / 12V= / 150mA · Switchmode netadapter: 100-240V~ / 50-60Hz / 12V= / 0.5A | 68-32-10-252 68-32-10-265 |
| Verdere accessoires · Telescoop meetlat seca 220,meetbereik: 890 - 2000 mm, indeling: 1 mm, materiaal: Aluminium hard geëloxeerd, schuif met ver-grendelbare meettong · Telescoop meetlat seca 220(dubblele indeling), meetbereik: 890 - 2000 mm en 35 " - 78 3/4 ", indeling: 1 mm en 1/8 ", materiaal: Aluminium hard geëloxeerd, schuif met vergrendelbare meettong | 220-17-14-004 220-18-14-004 |
9. CO ROBIC, JEZELI...?
Die nichtselbstätige Personenwaage
... entspricht dem in der Bescheinigung über die Bauartzulassung beschriebenen Baumuster.
Die Waage erfüllt die geltenden Anforderungen folgender Richtlinien:
2009/23/EG über nichtselbstätige Waagen; 2009/23/EG über nichtselbstätige Waagen, 93/42/EWG und Richtlinie 2007/47/EG über Medizinprodukte, EN 45501 über metrologische Aspekte nichtselbstätiger Waagen; EN 300 328, EN 301 489-1 und -17 über elektromagnetische Verträglichkeit und Funkspektrumangelegenheiten.
Geschäftsführer Technik
seca gmbh & co. kg.
Hammer Steindamm 9-25
22089 Hamburg
Telefon: +49 40.200 000-0
Telefax: +49 40.200 000-50

: www.seca.com
EinfachAnleitung