704 - Weegschalen SECA - Gratis gebruiksaanwijzing en handleiding
Vind de handleiding van het apparaat gratis 704 SECA in PDF-formaat.
Veelgestelde vragen - 704 SECA
Gebruikersvragen over 704 SECA
0 vraag over dit apparaat. Beantwoord die u kent of stel uw eigen vraag.
Stel een nieuwe vraag over dit apparaat
Download de handleiding voor uw Weegschalen in PDF-formaat gratis! Vind uw handleiding 704 - SECA en neem uw elektronisch apparaat weer in handen. Op deze pagina staan alle documenten die nodig zijn voor het gebruik van uw apparaat. 704 van het merk SECA.
GEBRUIKSAANWIJZING 704 SECA
- Met oorkonde en zegel. 301
- Beschrijving van het apparatus. 302
2.1 Hartelijke gefeliciteerd! 302
2.2 Toepassingsdoel 302
- Veiligheidsinformatie. 303
3.1 Principièle veiligheidsinstructures. 303
3.2 Veiligheidsinstructures in deze gebruiksaanwijzing 303
3.3 Omgang met batterijen en accu's 304
4.Overzicht 305
4.1 Bedieningselementen. 305
4.2 Symbolen in het display . 306
4.3 Kenteken op typeplaatje. 307
4.4 Menustructeur 308
- Voor het gebruik.... 309
5.1 Montage van de zuiI 309
5.2 Stroomvoorziening tot stand brengen 310 Batterijplaatsen 310 Netadapter aansluiten (optioneel). 310
5.3 Weegschaal opstellen. 311
- Bediening. 311
6.1 Wegen 311
Weegprocedure starten 311
Het wegen van zuigelingen/
kleine kinderen (2 in 1) 311
Meetresultaat permanent
weergeven (HOLD) 312
Body-Maat-Index bepalen en
beoordelen (BMI) 313
BMI automatisch berekenen
en afdrukken 313
Meetresultaten aan de draadloze ontvanger zenden.. 314 Weegschaal uitschakelen . . . 315
6.2 Verdere functies (menu) 315
In het menu navigeren 315
Opgeslagen waarde
automatisch wissen (AClr). 316
Extra gewicht permanent
opslaan (Pt) 317
Autohold-functie activeren
(Ahold) 317
Geluidssignalen activeren
(BEEP) 318
Instellen van de demping (Fil) 318
Fabrieksinstellungen herstellen
(RESET) 319
- Het draadloze network seca 360^ wireless 320
7.1 Inleiding 320
seca Draadloze groepen 320
Kanalen 320
Apparaatherkenning 321
7.2 Weegschaal in een draadloze
groep gebruiken (menu) 322
Draadloze groep inrichten (Lm) 322
Activeren van de automatische
transmissie (ASend) 324
Draadloze module activeren
(SYS) 322
Afdrukoptie kiezen (APrt) 325
Tijd instellen (Time) 325
- Reiniging 326
-
Wat te doeon, wanneer...? 326
-
Onderhoud/herijking 328
10.1 Informatie over onderhouden herijking. 328
10.2 Controle van de correcte inhoud van de ijkteller 329
-
Accessoires. 331
-
Verwijdersen van afval 332
13.1 Verwijdersen van het apparatus . 332
13.2 Batterijen en accu's . 332
14.Garantie. 332
Door de keuze voor een seca product koopt u Niet alleen sinds eeuwen geperfectioneerde techniek, maar ook een door overheidsinstanties en door de wet beproefde kwaliteit. seca-Producten stemmen overeen met de Europese richtlijnen, normen en de nationale wetten. Met seca koopt u toekomst.
De producten in deze gebruiksaanwijzing voldoen aan de wet betreffende medische hulpmiddelen, d.w.z. aan de richtlijnen 93/42/EEG en 2007/47/EG van de Raad van de Europese Gemeenschap, die in heel Europa in nationale wetten is verankerd.
Weegschalen met dit symbol voor den conform de Europese weegschaalrichtelijk 2009/23/EG. seca-weegschalen met dit symbol voldoen aan de hoge kwalitatieve en technische eisen die aan ijkbare weegschalen worden gesteld.
Weegschalen met dit symbol voldoen aan de strengge eisen van ijkklasse III en+kunnen voor ijkplichtige metingen in de geneeskunde worden gebruikt.
Producten met dit symbol voldoen aan de richtlijnen en normen
- Richtlijn 2009/23/EG betreffende nicht-automatische weegwerktuigen
- Richtlijn 93/42/EEG en 2007/47/EG betreffende medische hulpmiddelen
- DIN EN 45501 betreffende metrologische aspecten van nicht-automatische weeginstrumenten
Ook van officièle zich de worden de professionneliteit van seca ergend. De TÜV Product Service, de verantwoordelijke instantie voor medische hulpmiddelen verklaart met het certificaat dat seca de strenge wettelijk eisen als fabrikant van medische hulpmiddelen consequent aanhoudt. Het kwaliteitbeveiligingsystem van seca omvat de sectoren design, ontwikkeling, verkoop en service van medische weegschalen en meetsystemen.
seca helpt het milieu. Het sparen van de natuurlijke resources is ons dierbaar. Daarom proberen wij op zinvolle wijze verpakkingsmaterial te sparen. En dat wat overblijft kan via hetplaatselijke afvalscheidingsystem worden verwijderd.
2.1 Hartelijke gefeliciteerd!
Met de elektronische personenweegschaal seca 704 heeft u een uiterst nauwkeurig en tegelijkertijd robuust apparaat gekocht.
Sinds meer dan 170aar stelt secahaarervaring ten Dienste van de gezondheid en zet als marktaanvoerder invele landen ter wereld met innovatieve ontwikkelingen voor het wegen en meten telkens neuewa maatstaven.
2.2 Toepassingsdoel
De elektronische personenweegschaal seca 704 worden volgens de nationale voorschriften hoofdzakelijk in ziekenhuizen, artspraktijk en stationaire verpleeginrichtingen toegepast.
Naast de conventionele bepaling van het gewicht biedt de seca 704 een functie voor het bepalen van de bodymaat-index (BMI). Hiervoor worden via de bedieningstoetsen de grootte ingevoerd, waarna de bij de gewichtswaarde behorende body-maat-index automatisch worden berekend.
Via het draadloze netwerk seca 360^ wireless hunnen de meetresultaten draadloos aan een seca afstand-sprinter of een met de software seca analytics 105 en de seca 360^ Wireless USB adapter 456 uitgeruste pc worden overgedragen.
De seca 704 is op wieltjes verrijdbaar en op grond van het geringe stroomverbruik langdurig mobiel toepasbaar op een batterijset.
3. VEILIGHEIDSINFORMATIE
3.1 Principièle veiligheidsinstructies
- Neem de aanwijzingen in deze gebruiksaanwijzing inucht.
- Bewaar de gebruiksaanwijzing en de hierin aanwezigte conformiteitsverklaring op een voilige plaat.
- Zorg ervoor dat de weegschaal stabel op een vlakke gelijkmatige ondergrond staat.
- Laat de weegschaal nicht vallen. Stel de weegschaal nicht bloot aan heftige schokken.
- Let er bij het gebruik van de weegschaal met een adapter op dat het netsnoer zo ligt dat men er Niet over kan struikelen.
- Laat het onderhoud en herijken regelmatiguitvoeren zie "Onderhoud/herijking" op pagina 328.
- Laat onderhoud en reparationsuitsuitsluitend dooreen geautoriseerde servicepartner uitvoeren. U vindt de servicepartner bij u in de buurt via www.seca.com of stuur een e-mail aan service@seca.com.
- Gebruik alleen originele seca-accessoires en - reserveonderdelen. Anders verleent seca geen garantie.
- Houd HF-apparaten zoals mobiele telefoons op een minimum afstand van ca. 1 meter om fouitieve metingen of storingen bij de draadloze overdracht te voorkomen.
3.2 Veiligheidsinstructies in deze gebruiksaanwijzing

GEVAAR!
Kenmerkt een buitengewoon gevaarlijke situatie. Wanner u deze aanwijzing Niet in acht neemt, za dit leiden tot ernstig irreversibel of dodelijk letsel.

WAARSCHUWING!
Kenmerkt een buitengewoon gevaarlijke situatie. Wanner u deze aanwijzing Niet in acht neemt, kan dit leiden tot ernstig irreversibel of dodelijk letsel.

VOORZICTIG!
Kenmerkt een gevaarlijke situatie. Wanner u deze aanwijzing Niet in acht neemt, kan dit leiden tot Licht of matig letsel.
OPGELET!
Kenmerkt een eventuele foulieve bediening van het apparaat. Wanner u deze aanwijzing Niet in acht neemt, kan dit leiden tot beschadigingen van het apparaat of tot verkeerde meetresultaten.
AANWIJZING:
bevat aanvullende informatatie over de toepassing van dit apparaat.
3.3 Omgang met batterijen en accu's
Dit apparaat wordt geleverd met 6 Mignon batterijen, type AA. Dit type batterij is Niet oplaadhaar. Neem de volgende veiligheidsaanwijzingen in acht.

WAARSCHUWING!
Personenschade door onvakkundig gebruik.
Batterijen bevatten schadelijke stoffen die bij onvakkundig gebruik explosieachtig vrij{kennen komen.
- Probeer de batterijen en nicht opnieuw op te laden.
- Verhit de batterijen/accu's Niet.
- Verbrand de batterijen/accu's Niet.
- Indien er zuur is uitgelopen, vermijd dan het contact met huid, ogen en slijmvliezen. Spoel de desbetreffendeplaatsen met veel schoon water en consulteer onmiddelijk een arts.
OPGELET!
Beschadigingen van het apparatus en foutieve functie door onvakkundig gebruik
- Gebruikuitsluitend het aangegeven batterijtype/accutypezie "Batterijplaatsen" op pagina 310.
-Vervang steeds alle batterijen/accu's gelijkijdig.
Kortsluit de batterijen/accu's Niet. - Wonneer het apparaat langerearend nicht worden gebruikt, verwijder dan de batterijen/accu's. Zo kan er geen zuur in het apparaat lopen.
4. OVERZICH
4.1 Bedieningselementen


| Nr. | Bedienings-element | Functie |
| 1 | Aan- en uitschakelen van de weegschaal | |
| 2 | Pijltoets • Tijdens het wegen: - kort indrukken: Hold-functie activeren -lang indrukken: 2 in 1-functie activeren • In het menu: -ondermenu selecteren, menupunt selecteren -waarde verhogen | |
| 3 | bemenu | Pijltoets • Tijdens het wegen: - kort indrukken: BMI-functie activeren - lang indrukken: menu oproepen • In het menu: - ondermenu selecteren, menupunt selecteren - waarde verlagen |
| 4 | sendu | Entertoets • Tijdens het wegen (wonneer draadloos netwerk ingericht): - kort indrukken: meetresultaat aan ontvangstklare apparaten (PC met USB- afstandsmodule) zenden - lang indrukken: meetresultaat afdukken (afstandsprinter) • In het menu: - geselecteerde menupunt bevestigen - ingestelde waarde opslaan |
| 5 | Display | Weergave-element voor meetresultaten en voor de configuratie van het apparaat |
| 6 | Batterijvak Oponame voor 6 Mignon batterijen, type AA, 1,5 Volt | |
| 7 | Netaansluiting | Is bestemd voor de aansluiting van een optioneel verzrikijgbare netadapter |
| 8 | Transport-wieltjes | Op deze wieltjes kan de weegschaal worden verplaatst |
| 9 | Voetschroef 4 | stuks, bestemd om nauwkeurig te richten |
| 10 | Libel Geeft aan of het apparaat horizontaal staat | |
4.2 Symbolen in het display

| Symbool Betekenis | ||
| A | Batterijen+zijn zwak | |
| B | Werking met netadapter | |
| C | Niet ijkbare functie actief | |
4.3 Kenteken op typeplaatje
| Tekst/symbol Betekenis | |
| Model Modelnummer | |
| Type Typeaanduiding | |
| Ser. No. Serienummer | |
| i | Neem de gebruiksaanwijzing in acht |
| Medische elektronische apparatuur, type B | |
| Dubbel geïsoleerd apparaat, beschemklasse II | |
| FCC ID | Voor USA: goedkeuringsnummer van het apparaat bij de US instantie: Federal Communications Commission FCC |
| IC | Voor Canada: goedkeuringsnummer van het apparaat bij de instantie Industry Canada |
| CE | Het apparaat is in overeenstemming met de normen en richtlijnen van de EG. |
| FC | Symbool van de FCC (USA) |
| +--- | Apparaat alleen met gelijkstroom toepassen |
| Apparaat nicht bij het huisvuil verwijderen | |
4.4 Menustructuur
In het menu van het apparaat�nmeer functies beschikkaar. Hiermee kunt u het apparaat optimaal voor uw gebruikssituatie configureren (details vanaf Pagina 315).

*Draadloos network seca 360^ wireless:
Groep (ID):
Max. drie seca- draadloze groepen: 0,1,2
Maximale configuratie perdraadloze group:
- 1 babyweegschaal
- 1 personenweegschaal
-1 lengthemeetlat - 1 afstandsprinter
- 1 PC met USB-afstandsmodule
Kanaal (C1, C2, C3):
- Drie kanalen per draadloze groep (in totaal) 9 kanalen)
-Kanaalcijfers:0-99 - leder kanaalcijfer slechts eenmaal gebruiken
Aanbevolen afstand: 30
Voorbeeldconfiguratie:
- Groep 0: C1 0, C2 30, C3 60
- Groep 1: C1 10, C2 40, C3 70
- Groep 2: C1 20, C2 50, C3 80
(Aanwijizing: in display geen spaties)

Menu oproepen:

Navigatie:
Herkende apparaten (Mo):
- 1: personenweegschaal
-2: lengthemeetlat
-3:afstandsprinter - 4: PC met USB-afstandsmodule
- 7: babyweegschaal
5. VOOR HET GEBRUK…
5.1 Montage van de zuil

De zich met LCD-display kan in twee posities worden gemonteerd. Daardoor bepaalt u in welke richting het display leesbaar is - maar het standvlak of�de tegenoverliggende zijde.
- Steel de zuilafdekking op de zuil.
- Zet de zuil in de gewenste richting in de uitsparing.
- Schroef de zuii van onderen vast aan het weeg-. platform.
Leg de weegschaal voorzichtig op de zijkant om de schroeven aan te draaien.
- Verbind de stekker van de displaykabel, zoals in de afbeelding getoond, met de onderkant van het weegplatform.
OPGELET!
Foutieve functie door montagefouten
Wanner de kabels zodanig worden gemonteerd dat zij onder spanning staan, bijvoorbeeld wanner ze sterk zijn gebogen of de stekkers zich geknikt, können er verkeerde weergaven en uitval van het display ontstaan.
-
Installee alle kabels zodanig dat zich nicht te sterk zich gebogen en dat de stekkers nicht worden wegeknikt.
-Zorg voor trekontlasting door alle kabels in de desbeteffende holders te installereren. -
Bevestig de kabels in de desbeteffende houlders.
- Zet de weegschaal cervolgens wee rechtop neer.
- Schuif de zuilafdekking helemaal omlaag tot deze in het weegplatform vastklikt.
5.2 Stroomvoorziening tot stand brengen
De stroomvoorziening van de weegschaal vindtplaats met batterijen of met een netadapter, die als accessoires verkrijjgbaar is.
Batterijplaatsen

U heeft 6 Mignon batterijen, type AA, 1,5 Volt nodig (bij de levering inbegrepen).
- Druk op de sluiting van het batterijvak.
- Klap het deksel van het batterijvak omlaag.
- Neem de batterijhouseruit.
- Plaats de batterijen in de houder.
AANWIJZING:
let op de correcte richting van de polen van de batterijnen (markeringen in de batterijhouser). Indien de weergave bATc in het display verschijnt, heeft u een van de batterijnen er verkeerd om ingelegd of de batterijnen zijn leeg.
- Plaats de houder met de batterijen in het batterijvak.
- Sluit het batterijvak.
Netadapter aansluiten (optioneel)

De weegschaal kan worden toegepast met een als accessoire verkrijgbare netadapter.

WAARSCHUWING!
Personenschade en beschadigingen van het apparaat door verkeerde netadapters
In de handel gebruikelijkke netadapters kūnen een hogere spanning leveren dan erop aangegeven is. De weegschaal kan oververhit of in brand raken, smelten of worden kortgesloten.
-
Gebruik uitsluitend originele seca netadapters met 9V of geregelde 12 Voltuitgangsspanning.
-
Steek de voor uw stroomvoorzieningoodzakelijk netstekker op de netadapter.
- Steek de apparaatstekker van de netadapter in de aansluitbus op de weegschaal.
- Steek de netadapter in een stopcontact.
5.3 Weegschaal opstellen

OPGELET!
Foutieve meting door wrijvingskracht
Wanner de weegschaal met de behuizing bijvoorbeeld op een handdoek ligt, worden het gewicht nicht correct gemeten.
-
Plaats de weegschaal zodanig dat deze uitsluitend via de voetschroeven contact heeft met de bodem.
-
Plaats de weegschaal op een stevige, vlakke ondergrond.
-
Richt de weegschaal door aan de voetschroeven te draajen.
De luchtbel van de libel moet zich in het midden van de cirkel bevinden.
6. BEDIENING
6.1 Wegen
Weegprocedure starten 1. Controller of de weegschaal onbelast is.

- Druk op de starttoets.
In het display verzschijnt SECA, cervolgens worden alle elementen van het display kort weergegeven.
De weegschaal is bedrijfsklaar wanner de weergave in het display verschijnt.
Wanner de weegschaal met een netadapter worden gebruikt, verschijnt het symbol in het display.

-
Stap op de weegschaal en blijf rustig staan.
-
Lees het meetresultaat af.
Het wegen van zuigelingen/kleine kinderen (2 in 1)
Met behulp van de 2-in-1 functie(Int) het gewicht van zuigelingen enkleine kinderen bepalen. Hiertoe wordt het kind tijdens het wegen door een volwassene op de arm gehonden. Ga als volgt te werk:
-
Controller of de weegschaal onbelast is.
-
Vraag de volwassene om op de weegschaal te gaan staan.

- Lees het meetresultaat af.
- Houd de pijltoets (hold/2 in 1) ingedrukt tot demelding NET op het display verschijnt.
Het gewicht wordt opgeslagen.
00 versusijnt in het display.
OPGELET!
Foutieve meting door wisselenduitgangsgewicht
Wanner het wegen van het kind met een anderuitgangsgewicht worden uitgevoerd, kan het gewicht van het kind Niet correct worden bepaald.
- Zorg ervoor dat het wegen van het kind alsijd met die volwassene worden UITgevoerd waarvan het uitgangsgewicht werden bepaald.
- Zorg ervoor dat het gewicht van de volwassene zich Niet verandert, bijvoorbeeld door uittrekken van een kledingsstuk.

- Vraag de volwassene om het kind mee tenehmen op de weegschaal.
Het gewicht van het kind worden weergegeven.
Het symbool, het -symbol en de meldingen ,HOLD" en ,NET" worden weergegeven.
- Vraag de volwassene om met het kind van de weegschaal af te stappen.
- Om de 2 in 1-functie te deactiveren, drukt i op de

pijltoets (hold/2 in 1), tot het symbool, het -△ symbol en de meldingen „HOLD“ en „NET“ nicht meer worden weergegeven of schakel de weeg-schaal UIT.
Meetresultaat permanent weergeven (HOLD)
Wanner u de HOLD-functie activeert worden de gewichtswaarde na de ontlasting van de weegschaal verder weergegeven. Op die manier kurz u eerst de patient verzorgen voordat u de gewichtswaarde noteert.

- Controller of de weegschaal onbelast is.
- Vraag de patient om op de weegschaal te stappen.
- Druk kort op de pijltoets (hold/2 in 1).
De weergave knippert tot er een stabel gewicht wordt gemeten. Daarna wordt de gewichtswaarde permanent weergegeven. Het symbol (niet ijkbare functie) en de melding „HOLD" worden weergegeven.


- Om de HOLD-functie te deactiveren, drukt u kort op de pijltoets (hold/2 in 1).
Het symbol en de melding „HOLD“ worden nicht meer weergegeben.
AANWIJZING:
wonneer de Autohold-functie geactiveerd is, wordt de gewichtswaarde automatisch permanent weergegeben. zie "Autohold-functie activeren (Ahold)" op pagina 317.
Body-Maat-Index bepalen en beoordelen (BMI)
De BMI zet de lichaamsgrootte en het lichaamsgewicht in verhouding tot elkaar en maakt zodoende preciezere vermeldingen dan bijvoorbeeld het ideaalgewicht volgens Broca. Er worden een tolerantiebereik aangegeven dat als optimaal voor de gezondheid geldt.


- Controller of de weegschaal onbelast is.
- Druk kort op de pijltoets (bmi/menu).
De melding"BMI"verschijnt.
In het display knipperen pijlen.
De letzte ingevoerde lichaamsgrootte worden weergegeben.



-
U kurz de weergegeven lichaamsgrootte overnemen of met de pijtoetsen een andere lichaamsgrootte instellen.
-
Bevestig deinstalling met de entertoets (send/ print).
-
Vraag de patient om op de weegschaal te stappen en rustig te blijven staan.
-
Lees de BMI af en vergelijk deze met de hieronder aangegeven categorieën.
-
Omde BMI-functie te deactiveren, drukt u kort op de entertoets (send/print).


| BMI Beoordeling | |
| onder 18,5 | De patient weegt te weinig. Er kan een tendens tot magerzucht bestaan. Een toename van het gewicht wordt aanbevolen om het welbehinden en prestatiever-mogen te verbeteren. In geval van twijfel dient een speci-alist te worden geconsulteerd. |
| tussen 18,5 en 24,9 | De patient heeft normal gewicht. Hij mag zo blijven als hij is. |
| tussen 25 en 30 (Pre-obesitas) | De patienteheetlicht tot matig overgewicht. Hij moet+zijn gewicht reduceren indien er al klachten+zijn opgetreden (bijv. diabetes, hoge bloeddruk, richt, aandoening van de vetstofwisseling). |
| boven 30 | Afvallen is dringendoodzakelijk. Stofwisseling,bloed-omloop en bitten worden belast. Een consequent dieet wordt aanbevolen met veel beweging en een gedragsthe-rapie. In geval van twijfel dient een specialist te worden geconsulteerd. |
BMI automatisch berekenen en afdrukken
Wanner u de weegschaal samen met een afstand-sprinter en een lengtemeetlat uit het seca 360^ wireless systeem gebruikt, kurz u de BMI automatisch latent berekenen en afdrukken.
AANWIJZING:
de voorwaarde voor deze functie is dat de apparaten samen in een draadloze groep+zijn aangemeld (zie "Het draadloze netwerk seca 360^ wireless" op pagina 320).
- Voer de weguit.
- Druk kort op de entertoets (send/print) van de weegschaal. De meetwaarde worden aan de afstandsprinter gezonden maar nicht afgedrukt.
- Voer de lengtemeting UIT.
- Druk lang op de entertoets (send/print) van de lengtemeetlat. Demeetwaarde worden aan de afstandsprinter gezonden. De BMI worden berekend. Lengte, gewicht en BMI worden afgedrukt.
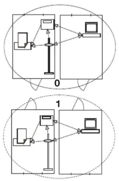
Meetresultaten aan de draadloze ontvanger zenden

Wanner de weegschaal in een draadloos netwerk seca 360^ wireless is geintegreerd, kut u de meetresultaten met eén toetsdruk aan ontvangende apparaten (afstandsprinter, pc met draadloze USB-module) sturen.
Druk op de entertoets (send/print).
- Korte toetsdruk: meetresultaten aan alle ontvangstklare apparaten zenden
- Lange toetsdruk: meetresultaat op afstand-sprinter afdrukken
Weegschaal uitschakelen

Druk op de starttoets.
AANWIJZING:
tijdens de batterijwerking schakelt de weeg-schaal na korte vrij automatisch uit wannerdeze nicht worden belast.
6.2 Verdere functies (menu)
In het menu van de weegschaal zijn nog meer functies beschikbaar. Zo kunt u de weegschaal optimaal voor uw gebruiksvoorwaarden configureren.

- De beschrijving van menupunt „rF“ vindt u in paragraaf “Weegschaal in een draadloze groep gebruiken (menu)” op pagina 322.
In het menu navigeren 1. Schakel de weegschaal in.


- Houd de pijltoets (bmi/menu) ingedrukt tot het menu worden opgeroepen.
HetIRST geselecteerde menupuntverschijnt in het display (hier:Autohold,Ahold"




-
Druk zo vaak op een van de pijltoetsen tot het gewenste menupunt in het display verschijnt (hier: demping „Fil").
-
Bevestig uw selectie met de entertoets (send/ print).
De actuele instelling voor het menupunt of een ondermenu worden weergegeven (hier trap „0").
-
Om de instelling te veranderen of een ander ondermenu op te roepen, drukt u zo vaak op een van de pijltoetsen tot de gewenste instelling (hier: trap „2") worden weergegeben.
-
Bevestig deinstalling met de entertoets (send/print).
Het menu wordt automatisch verlaten.
- Om verdere instelling uit te voeren, roept u het menu opnieuw op en gaat u op de beschreiben manier te werk.
AANWIJZING:
wonneer er gedurende ca. 24 seconden geen toets worden ingedrukt, worden het menu automatisch verlaten.
Opgeslagen waarde automatisch wissen (ACIr)
Om te voorkomen dat er nicht meer actuele meetresultaten in het geheugen van het apparaat blijven die tot een foutieve berekening van de BMI leiden, kut u de weegschaal zodanig instellen dat meetresultaten na 5 minutes automatisch worden gewist.
AANWIJZING:
bij sommige modellen is deze functie in de fabriek geactiveerd. Desgewenst kunt u de functie deactiveren.

-
Selecteer het punt „AClr“ in het menu.
-
Bevestig de selectie.
-
Selecteer de gewenste instelling:
-
On
-Off -
Bevestig de selectie.
Het menu wordt automatisch verlaten.
Extra gewicht permanent opslaan (Pt)
Met de Pre-Tarra functie kurz u een extra gewicht permanent opslaan en automatisch van een meetresultaat latent affrekken. U kurz bijvoorbeeld een globaal gewicht voor schoenen en kleding opslaan en.altijd van het meetresultaat latent affrekken wanner een patient volledig bekleed worden gewogen.

- Selecteer het punt "Pt" in het menu. De melding "Pt" verschijnt.

- Bevestig uw selectie. In het display knipperen pijlen. Het LASTe opgeslagen extra gewicht worden weergegeven.
- U kurz de opgeslagen waarde overnemen of met de pijltoetsen veranderen.
AANWIJZING:
wanner u de waarde „0" invoert, worden de functie uitgeschakeld. De melding "Pt" worden nicht meer in het display weergegeven.
- Bevestig uw selectie.
- Vraag de patient om op de weegschaal te stappen. Het gewicht van de patient worden weergegeven. Het opgeslagen extra gewicht werden automatisch afgetrokken.
- Om de functie te deactiveren, selecteert u in het menu opnieuw het punt "Pt".
- Bevestig uw selectie. De functie is gedeactiveerd. Het menu wordt automatisch verlaten.
Automhold-functie activeren (Ahold)
Wanner u de Autohold-functie activeert, wordt het meetresultaat bijijdere weegprocedure na de ontlasting van de weegschaal verder weergegeven. Het is dan nicht meer nodig om bijijdere weegprocedure de Hold-functie handmatig te activeren.
AANWIZING:
- bij sommige modellen is deze functie in de fabriek geactiveerd. Desgewenstkest u de functie deactiveren.
- Onafhankelijk van de hier geselecteerde instelling worden in de 2-in-1 functie het gewicht van het kind.altijdper Autohold bepaald.
AHOLD
In
- Selecteer het punt „Ahold“ in het menu.
- Bevestig de selectie. De actuèle instelling worden weergegeven.
- Selecteer de gewenste instelling:
- On
- Off
- Bevestig uw selectie. Het menu worden automatisch verlaten.
Geluidssignalen activeren (BEEP)
U kunt instellen of er bij ieder toetsdruk en bij het bereiken van een stabiele gewichtswaarde een geluidssignaal hoorbaar is. Het LASTE is van betekenis voor de functie Hold/Autohold.
AANWIJZING:
de functie „Geluidsignaal bij stabiele gewichtswaarde" is in de fabriek geactiveerd. Desgewenst kurz u deutsche functie deactiveren.
BEEP
PreSS
On
- Selecteer het punt „BEEP" in het menu.
- Bevestig de selectie.
-
Selecteer een menupunt:
-
Press: geluidsignaal bij toetsdruk
-Hold: geluidssignaal bij stabiele gewichtswaarde. -
Bevestig uw selectie. De actuele instelling wordt weergegeven.
-
Selecteer de gewenste instelling:
-
On
-Off -
Bevestig uw selectie. Het menu worden automatisch verlaten.
- Wanner u de geluidssignalen ook voor het tweede punt wilt activeren, herhaalt u de procedure.
Instellen van de demping (Fil)
FIL
FIL0
Met behulp van de damping (Fil = Filter)(Int) kunt u storingen bij de gewichtsbepaling (bijv. door bewegingen van de patient) reduceren.
- Selecteer het punt „Fil“ in het menu.
- Bevestig de selectie. De actuèle instelling worden weergegeven.
FIL2
-
Selecteer een damping strap.
-
0 : geringedemping
- 1: gemiddelde demping
-
2: sterke demping
-
Bevestig de selectie.
Het menu wirdt automatisch verlaten.
Fabrieksinstallingen herstellen (RESET)
Voor de volgende functieskestunt u de fabrieksinstellin-gen herstellen.
| Functie Fabrieksinstelling | |
| Autohold (Ahold) | afhankelijk van het model |
| Geluidssignaal (Press) off | |
| Geluidssignaal (Hold) on | |
| Demping (Fil) 0 | |
| Autoclear (Aclear) | afhankelijk van het model |
| Pre-Tara (Pt) 0 kg | |
| Lichaamslengthe voor Body Maat Index (BMI) | 170 cm |
| Draadloze module (SYS) off | |
| Autosend (ASend) off | |
| Autoprint (APrt) off | |
AANWIZING:
bij het herstellen van de fabrieksinstellenen wordt de draadloze module uitgeschakeld. Informatie over de bestaande draadloze groepen blijft behouden. De draadloze groepen要去en nicht opnieuw worden ingeringt.
rE5Et
- Selecteer het punt „Reset" in het menu.
- Bevestig de selectie.
Het menu wirdt automatisch verlaten.
- Schakel de weegschaaluit.
De fabrieksinstellungen worden meer hersteld en+zijn beschikbaar wanner de weegschaal weeort wordt ingeschakeld.
7. HET DRAADLOZE NETWORK SECA 360^ WIRELESS
7.1 Inleiding

Dit apparaat is met een draadloze module uitgerust. De draadloze module maakt de draadloze overdracht van meetresultaten voor de evaluatie en documentatie möglichk. De overdracht van de gegevens is möglichk op de volgende apparaten:
- seca afstandsprinter
- PC met seca USB-draadloze module
seca Draadloze groepen
Het draadloze netwerk seca 360^ wireless werk met draadloze groepen. Een draadloze groep is een virtuele groep van zenders en ontvangers. Wanner er meer-dere zenders en ontvangers van hetzelfde type worden gebruikt hunnen er met dit apparaat max. 3 draadloze groepen (0, 1, 2) worden ingericht.
Het inrichten van meertere draadloze groepen garandeert de betrouwbare en correct geadresseerde overdracht van meetwaarden wanner ermeertere onderzoeksruiimits met vergelijkbare apparatuur要去en worden toegepast.
De maximale afstand:tussen zenders en ontvangers bedraagt ca. 10 meter. Bepaalde plaatselijke omstan-digheden bijvoorbeeld dikte en hoedanigheid van wanden kuren de reikwijdte reduceren.
Per draadloze groep is de volgende combinatie van apparaten möglichk:
- 1 babyweegschaal
1 personenweegschaal - 1 lengtemeetlat
- 1 seca afstandsprinter
- 1 PC met seca USB-draadloze module

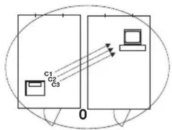
Kanalen Binnen een draadloze groep communiceren de apparaten op drie kanalen (C1, C2, C3) met elkaar. Zo worden een betrouwbare en storingsvrije datatransmissie gegardeerd.
Wanner u met deze weegschaal een draadloze groep inricht, stelt het apparaat u drie kanalen voor die een optimale datatransmissie garanderen. Wij adviseren u om de voorgestelde kanalen over te nemen.
U kurz de kanaalcijfers (0 tot 99) ook handmatig selec-teren, bijvoorbeeld wanneer u meerere draadloze groepen wilt inrichten.
Om een storingvrijde datatransmissie te garanderen,要去en de kanalen ver genoeguit elkaar liggen. Wij adviseren een afstand van ten minste 30. Elk kanaalcijfer mag slechts voor telkens een kanaal worden gebruikt.
Voorbeeldconfiguratie; kanaalcijfers bij inrichting van 3 draadloze groepen binnen een praktijk:
- Draadloze trio 0: C1=_, C2=30, C3=60
Draadloze group 1: C1=10, C2=40, C3=70
Draadloze group 2: C1=20, C2=50, C3=80
Apparaatherkenning Indien u met de weegschaal een draadloze groep inricht, Zoekt deze maar verdere actieve apparaten uith het seca 360^ wireless systeem. De herkende apparaten worden in het display van de weegschaal als module (bijv. MO 3) weergegeven. De cijfers hebben de volgende betekenis:
- 1 : person weegschaal
- 2: lengtemeetlat
3: afstandsprinter - 4: PC met seca USB-draadloze module
- 7: babyweegschaal
- 5, 6 en 8-12: Gereserveerd voor systeemuitbreiding
7.2 Weegschaal in een draadloze groep gebruiken (menu)
Alle functies die u nodig heeft om het apparaat in een seca draadloze groep te gebruiken, bevinden zich in het ondermenu „rF". Informatie over het navigeren in het menu vindt u op Pagina 315.

Draadloze module activeren (SYS)
Het apparaat worden geleverd met gedexeerde draadloze module. U moet deze activeren voordat u een draadloze groep kurz inrichten.
AANWIJZING:
wanner u de draadloze groep activeert, stijgt het stroomverbruik van het apparaat. Wij adviseren het gebruik van een netadapter voor de werkking van het apparaat in een draadloos netwerk.
595
- Schakel het apparaat in.
- Selecteer in het ondermenu „rf“ het menupunt „SYS“.
- Bevestig de selectie.
- Selecteer de instelling „on".
- Bevestig de selectie. Het menu worden automatisch verlaten.
On
Draadloze groep inrichten (Lrn)
F
Ga als volgt te werk om een draadloze groep in te richten:
- Schakel het apparaat in.
- Roep het menu op.
- Selecteer het punt „rf“ in het menu.
Lrn
Id I
10
[230
[360
5EOP
- Bevestig de selectie.
- Selecteer in het ondermenu „rf“ het menupunt „lrm“ (learn).
- Bevestig de selectie.
De actuel ingestelde draadloze groep (hier: draadloze groep 0, ID 0") worden weergegeven.
Wanneer draadloze groep „0" al bestaat en u met dit apparaat nog een draadloze groep wilt inrichten, kies dan met de pijltoetsen een andere IDuit (hier: draadloze groep 1 ,ID 1").
- Bevestig uw selectie van de draadloze groep.
Het apparaat stelt een kanaalcijfer voor kanaal 1 voor (hier C1 ,0").
U kunthet voorgestelde kanaalcijfer overnemen of met de pijltoetsen een ander kanaalcijfer instellen.
- Bevestig uw selectie voor kanaal 1.
Het apparaat stelt een kanaalcijfer voor kanaal 2 voor (hier C2 „30").
U kunt het voorgestelde kanaalcijfer overnemen of met de pijtoetsen een ander kanaalcijfer instellen.
AANWIJZING:
De weergave van kanaalcijfers met twee tekens vindt zonder spatie plaats. De weergave „C230“ betekent: kanaal „2“, kanaalcijfer „30".
- Bevestig uw selectie voor kanaal 2.
Het apparaat stelt een kanaalcijfer voor kanaal 3 voor (hier C3 „60").
U kunt het voorgestelde kanaalcijfer overnemen of met de pijtoetsen een ander kanaalcijfer instellen.
- Bevestig uw selectie voor kanaal 3.
De melding S\& O verschijnt in het display.
Het apparaat wacht op signalen van andere draadloze apparaten binnen de reikwijdte.
AANWIJZING:
bij sommige apparaten hoeft geen bijzondere inschakelprocedure opgevolgd te worden wanner deze in een draadloze groep要去 worden geintegreerd. Neem de begruiksaanwijzing van het betreffende apparaat in acht.
#
Activeren van de automatische transmissie (ASend)
ASEnd
0n
- Schakel het apparaat (bijvoorbeeld een afstand-sprinter) dat u in de draadloze groep wilt integreren, in.
Wanner de afstandsprinter werd herkend, hoort u een pieptoon.
AANWIJZING:
Zodra u een afstandsprinter in de draadloze groin hebt geintegreerd, moet u cervolgens een afdrukoptie kiezen (menu\rf\APrt) en de tijd instellen (menu\rf\time).
- Herhaal de stap 11. voor alle apparaten die u in deze draadloze groep wilt integregeren.
- Druk op de entertoets om het zoeken tebeeindigen.
- Druk op een van de pijltoetsen om te bekijken welke apparaten werden herkend (hier: Mo 3 voor een afstandsprinter).
Wanner u meerere apparaten in de draadloze groep hebft geintegreerd, drukt umeerere malen op de pijltoetsen om ervoor te zorgen dat alle apparaten door de weegschaal werden herkend. - Verlaat het menu met de entertoets of wacht tot het menu automatisch worden verlaten.
U kunt het apparaat zodenig configureren dat de meetresultaten automatisch aan alle ontvangstklare ontvangers die indezelfde draadloze groep+zijn aangemeld (bijv.: afstandsprinter, pc met USB-draadloze module) worden gezonden.
AANWIJZING:
Wanner u een afstandsprinter gebruikt, zorg er dan voor dat als afdrukoptie Niet "off" is ingesteld (zie "Afdrukoptiekiezen(APrt)" op pagina 325).
- Schakel het apparaat in.
- Selecteer in het ondermenu „rf“ het menupunt „ASend“ en bevestig de selectie.
- Selecteer deinstelling „on“ en bevestig de selectie. Het menu worden automatisch verlaten.
Afdrukoptie kiezen (APrt)
U kunt het apparaat zodanig configureren dat meetresultaten automatisch op een afstandsprinter worden afgedrukt die in de draadloze groep is aangemeld.
AANWIJZING:
deze functie is alleen toegankelijk wanner vi de „learn“-functie een seca afstandsprinter in de draadloze grop werd geintegreerd.
APrE
- Schakel het apparaat in.
图
-
Selecteer in het ondermenu „rf“ het menupunt „APrt“ en bevestig de selectie.
-
Kies de overeenkomstige instelling voor uw combinatie van apparaten:
-
HI: meetresultaten van lenghtemeters
-
MA: meetresultaten van weegschalen
-
HI_MA: meetresultaten van lenghtemeters en weegschalen
-
off: geen automatisch afdrukken, afdrukken alleen door lang indrukken van de entertoets tijdens het weg.
-
Bevestig uw selectie.
Het menu wirdt automatisch verlaten.
Tijd instellen (Time) U kunt het system zodanig configureren dat de afstandsprinter aan uw meetresultaten automatisch datum en tijd toevoegt. Hiervoor moet u de datum en tijd eenmalig op uw apparatusat instellen en aan de interne klok van de afstandsprinter overdragen.
EINE
AANWIJZING:
deze functie is alleen toegankelijk wanner vi de „learn“-functie een seca afstandsprinter in de draadloze grop verw geinteggreerd.
- Schakel het apparaat in.
- Selecteer in het ondermenu „rf“ het menupunt „Time“.
- Bevestig de selectie.
De actuèle instelling voor „Jaar (Year)“ worden weergegeven.
YERIO
- Stel het correcte�aar in.
- Bevestig de selectie.
- Herhaal de stappen 3. en 4. overeenkomstig voor Maand" (Dag" ( dR), Uur (hour) en Minuut n).
7. Bevestig uw selectie telkens.
Na het bevestigen van de instelling voor minuut wordt het menu automatisch verlaten.
Deinstallen worden automatisch aan de afstandsprinter overgedragen.
De afstandsprinter voegt automatisch aan elke afdruk de datum en dearend toe.
AANWIJZING:
voor de verdere bediening van de afstandsprin- ter, zie de desbetreffende gebruiksaanwijzing.
8. REINIGING
Reinig de bekleding en de behuizing desgewenst met een in de handel gebruikelijke huishoudreiniger of des infecteermiddel. Let op de aanwijzingen van de fabrikant.
Gebruik in gen geval schurende of agressieve reingingsmiddelen, spiritus, benzine e.d. voor de reining. Dergelijkke middelen konnen de hoogwaardige oppervlakken beschadigen.
| Storing Oorzaak/verhelpen | |
| ... bij belasting geen gewichtsweergaveverschijnt? | De weegschaal heeft geen stroomvoorziening. - Controller of de weegschaal ingeschakeld is. - Controller of de batterijen zich geplaatst. |
| ... voor het wegen nichtDDSverschijnt? | De weegschaal werk voor het inschakelen belast. - Weegschaal ontlasten - Weegschaaluit- en opnieuw inschakelen |
| ...een segment permanent of—helemaal Niet brandt? | De betreffende plaats heeft een defect. - Informeer de onderhoudsdienst. |
| ... de weergaveverschijnt? | De batterijspanning worden minder. - Zo spoedig möglichnest血液循环enplaatsen. |
| ... de weergave bAfETverschijnt? | De batterijen zich leeg. - Plaats neue batterijen |
| ... de weergave StOPverschijnt? | De maximale belasting werk overschreden. - Weegschaalontlasten |
| ... de weergave über schijnt? | De omgevingstemperatuur van de weegschaal is te hoog of te laag. - Plaats de weegschaal in een omgevings-temperatuur:tussen +10 °C en +40 °C. - Wacht ca.15 minuten tot de weegschaal zich aan de neue temperatuur heeft aangepast. |
| ... wanneeer na het inschaken voor het eerst meetresultaten worden verzonden en twee geluidssignalen hoorbaarijken? | • Het apparaat kon geen meetresultaten aan de draadloze ontvanger (seca afstandsprinter resp. PC met seca USB-draadloze module) zenden. - Controller of de weegschaal in het draadloze netwerk is geintgreerd. - Controller of de ontvanger ingeschakeld is. • De ontvangst worden gestoord door HF-appara-ten die zich in de nabijheid bevinden (bijv. mobiele telefoons). - Houd met HF-apparaten een minimum afstand van 1 meter aan tot zenders en ont-vangers in het seca draadloze netwerk. AANWIJZING: wanneer deze storing Niet wordt verholpen, vindt bij verdere zendpogingen geen hernieuwde akoestische waarschuwing plaats. |
| ... in het rf-menu alleen het punt „SYS“ zich-haar is? | • De draadloze module is gedectiveerd. - Draadloze module activeren (zie “Draadloze module activeren (SYS)” op pagina 322). |
| ... in het rf-menu alleen de punten „SYS“ en „lrn“ zichtaarijken?! | • De draadloze module is geactiveerd en er is geen draadloze groep ingeringt. - Draadloze groep inrichten (zie “Draadloze groep inrichten (Lrn)” op pagina 322). |
| ... in het rf-menu de pun-ten „APrt“ en „Time“ nicht zichtaarijken?! | • geen afstandsprinter in de draadloze groep aangemeld is. - Afstandsprinter via het menupunt „lrn“ in de draadloze groep aanmelden (zie “Draadloze groep inrichten (Lrn)” op pagina 322). |
| ... de weergave Er:H: I I verschijnt? | De weegschaal is te hoog of werk aan eén hoeke zwaar belast. - Weegschaal ontlasten of het gewicht gelijk-matiger verdelen. - Weegschaal opnieuw starten. |
| ... de weergave Er:H:12verschijnt? | De weegschaal is met een te grote belasting ingeschakeld. - Weegschaal ontlasten. - Weegschaal opnieuw starten. |
| ... de weergave Er:H:15verschijnt? | De weegschaal wird in trilling gezet, het nulpunt kon nicht worden bepaald. - Weegschaal opnieuw starten. |
| ... wanner de entertoets (send/print) wordt ingedrukt en de weergave Er:H:71verschijnt? | Geen datatransmissie möglichk, draadloze module is geodeactiveerd. - Draadloze module activeren (zie “Draadloze module activeren (SYS)” op pagina 322). |
| ... wanner de entertoets (send/print) wordt ingedrukt en de weergave Er:H:72verschijnt? | Geen datatransmissie möglichk, geen draadloze coop ingericht. - Draadloze coop inrichten (zie “Draadloze coop inrichten (Lm)” op pagina 322). |
10.ONDERHOUD/HERIJKING
10.1 Informatie over onderhoud en herijking
Wij adviseren u om voor de herijking van het apparaat een onderhoudsbeurt te lately uitvoeren.
ATTENTIE!
Foutieve metingen door onvakkundig onderhoud
- Laat onderhoud en reparationsuitsuitsluitend door een geauthoriseerde servicepartneruitvoeren.
- U vindt de servicepartner bij u in de buurt via www.seca.com of stuur een e-mail aan service@seca.com.
Laat volgens de nationale voorschriften een herijking door een geautoriseerde persoon uitvoeren. Het jaar van de eerste ijking bevindt zich awhile het CVE-kenmerk op het typeplaatje boven het nummer van de benoemde instantie 0109 (Hessische Eichdirektion).
Een herijking is in elk geval vereist als een ofmeer veiligheidsmarkeringen geschonden zichn of als de ijktermerinhoud Niet overeenstemt met het getal op de geldige ijktermarkering.
10.2 Controle van de correcte inhoud van de ijkteller
Deze seca-weegschaal is geijkt. IJkingen mogen alleen door geauthoriseerde instanties plaatsvinden. Om dit te garanderen, is de weegschaal met een ijkterer uitgerust die elke verandering van de ijktechnisch relevante data vasthoudt.
Wanner u wilt controlleren of de weegschaal volgens de voorschriften is gelijkt, gaat u als volgt te werk:

- Schakel de weegschaal eventueeluit.
- Houd een willekeurige toets ingedrukt en start de weegschaal.
Op het display knippert enkele seconden lang de actuèle inhoud van de ijktplter.
- Vergelijk de waarde op het display met het getal dat op het merkteken van de ijkteller staat vermeld.


Voor een geldige ijking要去en beiden getallen overeenstemmen. Wanner de waarde op het merkteken en de ijkterror Niet overeenstemmen,要去en herijking worden uitgevoerd. Neem hiervoor contact op met uw service-partner of de seca-klantenservice. Wanner een herijkingoodzakelijk is wordt inplaats van de hierboven afgebeelde ijkmarkering de hiernaast staande markings voor het herijken gebruikt voor het kentekenen van de stand van de ijkterror. Deze markingering worden door de verantwoordelijkpeisoon voor het herijken met een extra zegel beveiligd. Deze markingering kan onder nummer 14-05-01-886 bij de seca klantenservice worden verdiregen.

| Technische gegevens seca 704 | |
| Afmetingen • Diente • Breede • Hoogte | 520 mm 360 mm 930 mm |
| Eigen gewicht 17 kg | |
| Temperatuurbereik +10°C tot +40°C | |
| Cijferhoogte 25 mm | |
| Stroomvoorziening | Batterij Netadapter (optioneel) |
| Opgenomen stroom • met gedeactiveerde draadloze module • met geactiveerde draadloze module | ca. 32 mA ca. 50 mA |
| Maximale looptijd bij werking op batterijen • met gedeactiveerde draadloze module • met geactiveerde draadloze module | ca. 5.600 minutes Netadapter aanbevolen |
| Medisch hulpmiddel overeenkomstig richtig-nen 93/42/EEG en 2007/47/EG | Klasse I met meetfunctie |
| IJking conform richtig in 2009/23/EG Klasse III | |
| EN 60 601-1: • dubbel geisoleerd apparaat, beschem- klasse II • medische elektronische apparatuur, type B | ☐ 大 |
| Draadloze overdracht • Frequentieband • Zendvermogen • Voldaan aan de normen | 2,433 GHz - 2,480 GHz < 10 mW EN 30028, EN 301 489-1, -17 |
13.VERWIJDEREN VAN AFVAL
13.1 Verwijdersen van het apparatus

Werp het apparaat Niet bij het huisvuil weg. Het apparaat要去 als elektronicaschroot worden verwijderd. Let op de desbetreffende nationale voorschriften. Voor nadere informatatie(Int)u contact opnemen met once service onder:
service@seca.com
13.2 Batterijen en accu's

Werp lege batterijen nicht bij het huisvuil weg, of deze nu schadelijke stoffen bevatten of Niet. Als verbruiker bent u wettelijk verplicht batterijen en accu's via gemeente-lijke inzamelplaatsen of inzamelplaatsen van de handel te verwijderen. Lever batterijen en accu's alleen in volledig ontladen toestand in.
14.GARANTIE
Voor gebreken die voortvloeien uit materiaal- of fabricagefouten geldt een garantieperiode van 2aar vanaf de levering. Alle beweeglijke delen zoals bijv. batterijen, kabels, voedingseenheden, accu's enz. zich hiervan uittgesloten. Gebreken die onder de garantie vallen, worden gegen overdracht van de koopkwitantie koselooos voor de klant verholpen. Met verdere aanspraken kan geen rekening worden gehonden. Transportkosten voor het zenden en terugsturen zich op rekening van de klant, wanner het apparaat zich op een andereplaats bevindt dan de woonplaats van de klant. Bij transportschade+kennen er alleen garantieaanspraken geldend worden gemaaakt wanner voor de transporten de originele verpakking worden gebruikt en wanner de weeg-schaal hierin volgens de origineel verpakte toestand werden beveiligd en bevestigd. Bewaar.daarom alleverpakkingsdelen.
Er bestaat geen aanspraak op garantie wanner het apparaat door personen werden geopend die hiervoor Niet uitdrukkelijk door seca werden geauthoriseerd.
Klanten in het buitenland adviseren wij zich in geval van garantieaanspraken direct tot de verkoper van het desbeteffende land te richten.
INDICE
Ppoooiopiooic kai aIooIoyon Ieiktn Maac ZomegaToC (BMI)
O Deiknc Maac aoc evai o uvduooc uouc kai bapouc oawatoc kai dieukoluvetai va napexo vtai akpiéotepa otoixia onwC n.x. oxetikaue to idaviko bapoc katBroca.Avaepovtai opia avoxnc, ta onoia thewpouvta idavikayia tvyia.







...komit overeen met de in de verklaring van over de modelkeuring beschreiben constructie.
De weegschaal voldoet aan de geldende eisen van de volgende richtlijnen:
2009/23/EG betreffende nicht-automatische weegewerktuigen; 93/42/EEG en richtlijn 2007/47/EG betreffende medische hulpmiddelen, EN 45501 Metrologische aspecten van nicht-automatische weeginstrumenten; EN 300 328, EN 301 489-1 en -17 betreffende elektromagnetische compatibiliteit en radiospectrumaangelegheden.
SimpelGids