704 - Vågar SECA - Gratis bruksanvisning och manual
Hitta enhetens manual gratis 704 SECA i PDF-format.
Vanliga frågor - 704 SECA
Användarfrågor om 704 SECA
0 fråga om denna apparat. Svara på dem du kan eller ställ din egen.
Ställ en ny fråga om denna apparat
Ladda ner instruktionerna för din Vågar i PDF-format gratis! Hitta din manual 704 - SECA och ta tillbaka ditt elektroniska enhet i hand. På denna sida publiceras alla dokument som behövs för att använda din enhet. 704 av märket SECA.
BRUKSANVISNING 704 SECA
6.2 Andre Funktioner (menu)
2.1 Gratular! 206
2.2 Användningsändamål. 206
- Sakerhetsinformation 207
3.1 Grundläggende sakerhetsforeskrifter 207
3.2 Sakerhetsforeskrifter i bruksanvisingen 207
5.1 Montering av pelaren 213
5.2 Ordna strömförsörjningen. 214
Lagg i batterier 214
Anslut nätadaptern (tillval) 214
5.3 Uppställning av vågen 215
- Användning 215
6.1 Vägning 215
Start av vägningen 215
Vägning av spädbarn/småbarn (2 in 1) 215
Kontinuierlig visning av matvärde (HOLD) 216 Bestamning och bedömning av body mass index (BMI). 217 Automatisk beräkning och utskrift av BMI. 217 Sändning av matvärden till trådlös mottagare 218
Avstangning av vagen. 218
6.2 Ovriga Funktioner (meny). 219
Navigering i menyn 219
Automatisk radering av
sparade varden (AClr) 220
Permanent lagring av tillaggsvikt (Pt). 220
Aktivering av Autohold-funktionen (Ahold). 221
Aktivering av signaltoner (BEEP) 221
Inställning av dämpning (Fil) . 222 Återgang till fabriksiinställningar (RESET) . 222
- Det tradlosa natverket seca 360^ wireless 223
7.2 Användning av vågen i en radiogrupp (meny) 225
Inrattande av en radiogrupp (Lrn) 225
Aktivering av automatisk
överführung (ASend) 227
Aktivering av radiomodulen (SYS) 225
Val av skrivaralternativ (APrt). . 227
Inställing av tid (Time) . . . . . . 228
8.Rengoring 229
9. Vad gör jag om...? 229
- Service/omkalibrering 231
10.1 Information om service och omkalibrering 231
10.2 Kontroll av kalibrerings-rakneverkets innehall 231
11.Tekniska data 232
11.1 Allmanna tekiska data 232
11.2 Vägningstekniska data . 233
-
Tillbehör 234
-
Avfallschantering 234
13.1 Omhändertagande av apparaten. 234
13.2 Batterier. 235
14.Garanti. 235
1. GARANTERAT!

M





När du köper en seca-product für du inte bara en teknik som har mognat under mer än att sekel,utan ocksåen kvalitet som har bekräftats av myndigheter, lagar och olika institut. seca-producterna uppyller EU:s direktiv och normer och den nationella lagstiftningen. Med seca köper du framtiden.
Produkterna iBruksanvisningen uppyller lagstiftningen om medicinskaprodukter, dvs. Europaparlamentets och rådets direktiv 93/42/EEG och 2007/47/EG, som har inforlivats med de nationella lagarna i hela EU.
Vågar som har denna symbol överensstämmer med EU:s vågdirektiv 2009/23/EG. seca-vågar med symbo-len uppyller de höga kvalitativa och tekiska krav som ställs på kalibreringsbara vågar.
Vågar medenna symbol uppyller de stränga kraven i kalibreringsklass III och fär användas for kalibreringspliktiga matningar inom sjukvården.
Produkter medenna symbol uppyller kraven enligt foljande direktiv och normer:
- Direktiv 2009/23/EG om icede-automatiska vågar
- Direktiv 93/42/EEG och 2007/47/EG om medicintekniiskaprodukter
DIN EN 45501 Metrologiska bedömningsgrunder für icke automatiska vågar
secas professionalitet ar erkänd även av officiella organ. TÜV Product Service, som ar ansvarig instans für medicinskaprodukter, bekräftar med sitt certifikat att seca konsekvent foljer de stränga krav somlagen ställer på tillverkare av medicinskaprodukter. secas kvalitetssäkringssystem omfattar konstruktion, utveckling, Produktion, fösäljning och service av medicinska vågar och matsystem.
seca hjälper miljön. Bevarandet av naturesurserna ligg-ger oss varmt om hjärat. Därfor gär vi in for att spara forpackningsmaterial overllt där det ar praktiskt lamp-ligt. Det som Återstär kan sedan bekvamrt tas om hand på platsen tack vare det duala systemet.
2. APPARATBESKRIVNING
2.1 Gratular!
Den elektroniska personvågen seca 704 som du nu har skaffat dig År en högprecisionsapparat som samtidigt År mycket robust.
I mer'an 170 År har seca ställt sin erfarenhet till hälsans tjanst. Som marknadsledare i fönga av världens länder skapar seca ständigt nya standarder med sitt innovativa utvecklingsarbete inom vögnings- och matningsområdet.
2.2 Användningsändamål
Den elektroniska personvågen seca 704 används i enlighet med nationella bestämmelser i Första hand vid sjukhus, likarmottagningar och stationära värdinrättninger.
Förutom konventionell viktbestämming erbjuder seca 704 en Funktion für beräkning av body mass index (BMI). Kroppsstorleken matas d' in via knappsatsen, och det body mass index som motsvarar viktvärdet beräknas automatiskt.
Via det tradlosa natverket seca 360^ wireless kan matresultaten overforas direkt till en seca tradlos skrivare ell er till en PC som ar forsedd med programvaran
seca analytics 105 och med
seca 360^ Wireless USB adapter 456.
seca 704 kan forflyttas med hjälp av rullar, och tack vare den laga strömforbrukningen kan apparaten användas mobilt under lang tid med en och sama omgang batterier.
3. SÄKERHETSINFORMATION
3.1 Grundläggande sakerhetsföreskrifter
Följ instruktionerna i den har bruksanvisingen.
- Förvara bruksanvisingen och den medfoljande överensstämmlseförklaringen omsorgsfullt.
- Se noga till att vagen ställs upp stadigt på ett plant och slätt underlag.
- Tappainte vagen. Utsatt den inte for kraftiga stotar.
- Om du använder vågen med en nätadapter måste du dra nätkabeln sö att ingen kan snubbla på den.
- Låt utföra service och omkalibrering regelbundet se "Service/omkalibrering" på sida 231.
- Låt enbart en auktoriserad servicepartner utföra service och reparationer. Din narraste servicepartner hittar du på www.seca.com. Du kan också e-posta till service@seca.com.
- Använd enbart original seca tillbehör och reservdeler. Annars gäller inte seca-garantin.
- Håll alltid minst cirka 1 meters avständ till högfrekvensapparater, t.ex. mobiltelefoner, for att forhindra felaktiga matvarden och störningar vid den tradlosa überlingen.
3.2 Sakerhetsforeskrifter i bruksanvisningen

FARA!
Anger en utomordentigt allvarlig risksituation. Om foreskriften inte foljs kan svara irreversibla skador eller dddfall orsakas.

WARNING!
Anger en utomordentigt allvarlig risksituaction. Om foreskriften inte foljs kan svara irreversibla skador aller dddfall orsakas.

FÖRSIKTIGT!
Anger en risksituation. Om foreskriften inte foljs kan latta till medelsvåra personskador orsakas.
SEUPP!
Varnar for en eventuell felmanover med apparaten. Om foreskriften inte foljs kan apparatskador erler felaktiga matvarden orsakas.
OBSERVERA:
Ger extra information om hur apparaten ska anvandas.
Apparaten levereras med 6 stavbatterier typ AA. Batterierna gär inte att ladda om. Följ nedanstående sakerhetsföreskrifter.

WARNING!
Osakkunnig hantering kan orsaka personskador
Batterier innehaller skadliga ämnen som kan frigöras och exploderà vid osakkunnig hantering.
- Försök inte att ladda om batterierna.
- Utsatt inte batterierna for varme.
- Bränn inte upp batterierna.
- Undvik kontakt med hud, ögon och slemhinnor om syra har låckt ut. Skölj kontaktstället med rikligt med rent vatten och sök omgående låkarvård.
SE UPP!
Osakkunnig hantering kan orsaka apparatskador och Funktionsfel
- Använd enbart foreskriven battertyp se "Lagg i batterier" på sida 214.
- Byt alla batterierna samtidigt.
-Kortslut inte batterierna.
-Ta ut batterierna om apparaten ska stoaanvand under en langre tid. Annars kan syralacka ut i apparaten.
4. ÖVERSIKT
4.1 Manöverorgan


| Nr Manöverorgan Funktion | ||
| 1 | Start och avständning av vågen | |
| 2 | Pilknapp • Under vögningen: - Kort tryckning: Hold-funktionen aktiveras - Lång tryckning: Aktivering av 2 in 1-funktionen • I menyn: - Markera en untermeny, markera en menypunkt - Ölning av ∀rde | |
| 3 | Pilknapp • Under vögningen: - Kort tryckning: BMI-funktionen aktiveras - Lång tryckning: Meny hamtas • I menyn: - Markera en untermeny, markera en menypunkt - Minskavärde | |
| 4 | Enter-knapp • Under vögningen (om ett trådlöst natverk har inrättats): - Kort tryckning: Sänd matvärdet till mottagningsklara apparater (PC med trådlöst USB-modem) - Lång tryckning: Skriv ut matvärdet (trådlös skrivare) • I menyn: - Bekräfta den markerade menypunktten - Spara inställt ∀rde | |
| 5 | Display | Bildskärm für matresolutat och für konfigurering av apparaten |
| 6 | Batterifack Plats für 6 stavbatterier typ AA, 1,5 volt | |
| 7 | Nätanslutning Används für att ansluta en nätadapter (finns som tillval) | |
| Nr | Manöverorgan Funktion | |
| 8 | Transportrullar Vågen kan förflyttas med hjälp av rullarna | |
| 9 | Skruvfätter 4 st, används För noggrann uppriktning | |
| 10 | Libell Visar om apparaten står vågrätt | |
4.2 Symboler på displayen

| Symbol Innebörd | ||
| A | Batterierna År svaga | |
| B | Drift med nätadapter | |
| C | En ej kalibreringsbar Funktion År aktiv | |
4.3 Märkningar på typskylten
| Text/symbol Innebörd | |
| Modell Modellnummer | |
| Typ Typbetecnking | |
| Serie nr Serienummer | |
| i | Följ bra克斯anvisningen |
| Elektromedicinsk apparat typ B | |
| Skyddisolerad apparat, skyddsklass II | |
| FCC ID | Für USA: Apparatens godkännandenummer hos USA-myndig-heten Federal Communications Commission, FCC |
| IC | Für Kanada: Apparatens godkännandenummer hos myndigheten Industry Canada |
| CE | Apparaten överensstämmer med EU:s normer och direktiv. |
| FC | Symbol für FCC (USA) |
| +--- | Apparaten fär bara drivas med likström |
| Apparaten fär inte omhändertas som hushållsavfall | |
4.4 Menystruktur
I apparatens meny staredytterligare Funktioner till forfogande. Sa kan apparaten konfigureras optimalt for dina anvandningsvillkor (detaljer fran och med sidan 219).


Hämta menyn:

5. INNAN DU KAN SÄTTA IGÄNG…
5.1 Montering av pelaren

Pelaren med LCD-displayen kan monteras i två lagen. På så satt bestämmer du i vilken riktning displayen ska avlåsas - mot uppständningsytan eller at andra hallet.
- Satt pā pelarhállaren pā pelaren.
- Satt in pelaren i ursparningen i onskad riktning.
- Skruva fast pelaren på vägningsplattformen underifran.
Lagg om sö behövs vägen försiktigt på sidan:när du drar at skruvarna.
- Anslut displaykabelns stickkontakt på vägningsplattformens undersida sö som figuren visar.
SE UPP!
Felaktig montering kan medföra Funktionsfel
Om du monterar kablarna sa att de utsats for spanningar, t.ex. om de blir kraftigt bojda ell er vikta vid stickkontakterna, kan matvardena bli felaktiga och displayen kan skadas.
- Dra alla kablarna sa att de inte blir for snävt böjda och sa att stickkontakterna inte knacks.
-
Dragavlasta alla kablar genom att placera dem i de tillhörande hällarna.
-
Satt fast kablarna i de tillhörande hällarna.
- Ställ sedan tillbaka vågen i upprätt Lage.
- Skjut ned pelarhällaren helt sa att den snapper fast på vägningsplattformen.
5.2 Ordna strömförsörjningen
Vägen strömförsörjs med batterier erler med en nätadapter, som finns som tillbehör.
Lagg i batterier Du behöver 6 stavbatterier typ AA, 1,5 volt (ingär i leveransen).

- Tryck på batterifacklåset.
- Fäll ned batterifacklocket.
- Ta ut batterihallaren.
- Lagg batterierna i hällaren.
OBSERVERA:
Se till att batteriernas poler ar vanda at ratt hall (se markningen pa batterihallaren). Om medde landet bRTE visas pa displayen har duvant nagot av batterierna fel, ellr ocks aar batterierna tomma.
- Lagg in hällaren med batterierna i batterifacket.
- Stäng batterifacet.
Anslut nätadaptern (tillval)
Du kan använda vågen med en nätadapter, som finns som tillbehör.

WARNING!
Fel pa natadaptern kan orsaka person- och sakskador
Nätadaptrar som finns i handeln kan ge högre spanning an den som står på adaptern. Vågen kan blöverhettad, börj brinna, smälta eller kortslutas.
-
Använd)därfor enbart original seca nätadaptrar med 9 V aller reglerad 12 V utspanning.
-
Anslut den stickpropp som behövs für stromförsörjningen till natadaptern.
- Satt in nätadapterns apparatpropp i anslutnings-jacket på vågen.
- Anslut natadaptern till ett natuttag.

5.3 Uppställning av vågen

SE UPP!
Felaktig matning på grund av indirekt kraftoverforing
Om vågen och höljet ligger an mot t.ex. en handduk mat's inte vikten korrekt.
-
Ställ upp vågen sä att den enbart har kontakt med underlaget via skruvfötterna.
-
Ställ upp vagen på att fast och plant underlag.
- Rikta upp vagen genom att vrida skruvfotterna. Libellens luftblasa sca ligga mitt i cirkeln.
6. ANVÄNDNING
6.1 Vägning
Start av vägningen 1. Kontrollera att vagen ar obelastad.

- Tryck på Start.
Displayen visar SECR. Därefter visas alla elementen på displayen kortvarigt.
Vågen ärklarfornändningnärtalet00visaspádisplayen.
Om vagen anvands med en nataadapter visas symbolen pa displayen.
- Ställ dig på vågen och stå stilla.
- Läs av matresultatet.

Vägning av spädbarn/smabarn (2 in 1)
Med 2 in 1-funktionen kan du bestämma vikten hos spädbarn och småbarn. En vuxen häller då barnet på Armen under vängingen. Gör sö har:
- Kontrollera att vagen ar obelastad.
- Säg till den vuxne att stalla sig på vagen.
- Läs av matresultatet.

- Håll pilknappen (hold/2 in 1) intryckt tills displayen visar meddelandet "NET".
Vikten lagras.
00 visas pà displayen.
SE UPP!
Felaktigt matvärde på grund av olika utgangsvikt
Om vängingen av barnet gös med en annan utgangsvikt blir barnets vikt inte korrekt bestamd.
- Kontrollera alltid att vägningen av barnet gös med den vuxne for vilken utgangsvikten har bestamts.
- Kontrollera att den vuxnes vikt inte har andrats t.ex. genom att ett kladesplagg har tagits av.

- Säg till den vuxne att lyfta upp barnet och ställa sig på vågen.
Barnets vikt visas.
-
symbolen, Asymbolen och meddelandena "HOLD" och "NET"visas.
-
Såg till den vuxne att stiga av vågen med barnet.
- Avaktivera 2 in 1-funktionen genom att hälla pilknappen (hold/2 in 1) intryckt tills - symbolen, -symbolen och meddelandena "HOLD" och "NET"inte langre visas.Du kan också stänga av vagen.
Om du aktiverar HOLD-funktionen visas viktvardet även after att vagen har avlastats. Då kan du ta hand om patienten innan du noterar viktvardet.

- Kontrollera att vagen ar obelastad.
- Säg till patienten att ställa sig på vågen.
- Tryck kort på pilknappen (hold/2 in 1). Displayen blinkar tills en stabil vikt har mitts. Därefter visas viktvärdet kontinuierligt. A symbolen (ej kalibreringsbar Funktion) och meddelandet "HOLD" visas.
-
Om du vill avaktivera HOLD-funktionen trycker du kort på pilknappen (hold/2 in 1).
-
symbolen och meddelandet "HOLD" visas d'inte langre.


OBSERVERA:
Om Autohold-funktionen ar aktiv visas viktvärdet automatiskt kontinuerligt. se "Aktivering av Autohold-funktionen (Ahold)" på sida 221.
Bestämning och bedömning av body mass index (BMI)




Body mass index (BMI) Är en Funktion av[bäde kroppslängden och kroppsvikten och möjiggör en noggrannare bedömning änt. ex. idealvikten enligt Broca. Ett toleransområde anges som anses vara optimalt ur halssosynpunkt.
- Kontrollera att vagen ar obelastad.
- Tryck kort på pilknappen (bm i/menu).
Meddelandet "BMI" visas.
Pilar blinkar på displayen.
Den senast inmatade kroppslängden visas.
- Du kan använda den kroppslängd som visas eller ställa in en annan kroppslängd med pilknapparna.
- Bekräfta installingen med Enter (send/print).
- Såg till patienten att ställa sig på vågen och stå stilla.
-
Avlås BMI och jäm För vardet med de kategorier som beskrivs nedan.
-
Avaktivera BMI-funktionen genom att trycka kort på Enter (send/print).
| BMI Bedömmning | |
| Under 18,5 | Patienten väger für litet. Det kan finnas en tendens till anorexi. Viktökning reckommenderas För att förbättravä- befinnandet och arbetsförmågan. I osäkra fall bör en spe- cialistläkare rådfrågas. |
| Mellan 18,5 och 24,9 | Patienten har normalvikt. Han kan fortsätta leva som han gör. |
| Mellan 25 och 30 (preadipositas) | Patienten har lätt till mättlig overvikt. Han bör,gå ned i vikt om han lider av naggon sjukdom (t.ex. diabetes, högt blodtryck, gikt, fettomsättningsbesvär). |
| Över 30 | Patienten måste snarast,gå ned i vikt. Åmnesomsättnin- gen, cirkulationen och skelettet belastas hårt. En konsek- vent diet, mycket motion och beteendeterapi reckommenderas. I osäkra fall bör en specialistläkare råd- frågas. |
Automatisk beräkning och utskrift av BMI
Om du anvander vagen tillsammans med en tradlós skrivare och en langdmätsticka i seca 360^ wireless systemet kan du beräkna och skriva ut BMI automatiskt.
OBSERVERA:
Den har Funktionen forutsätter att apparaterna harloggats in tillsammans i en radiogrupp (se "Det trädlösa natverket seca 360^ wireless" paskida 223).
- Utför vägningen.
- Tryck kort på vagens Enter-knapp (send/print). Mätvärdet söns till den tradlösa skrivaren men skrivs inte ut.
- Utför langdmätningen.
- Håll langdmätstickans Enter-knapp (send/print) intryckt.
Mätvärdet sänds till den trådlösa skrivaren.
BMI beräknas.
Längd, vikt och BMI skrivs ut.
Sändning av matvarden till tradlös mottagare

När vågen ar integrerad iett seca 360^ wireless tradlost radionatverk, kan matresultaten skickas till mottagande apparater (radioskrivare, PC med USB radiomodul) per knaptryck.
Tryck på Enter (send/print).
-Kort tryckning: Sänd matvärdena till alla mottagningsklara apparater
- Lång tryckning: Skriv ut matvärdet på den tradlösa skrivaren
Avstängning av vagen

Tryck pÅ Start.
OBSERVERA:
Vid batteridrift stängs vägen automatiskt av after en kort stund om den inte belastas.
6.2 Övriga Funktioner (meny)
Vågmenyn innehäller fler Funktioner som du kan använda. På sä sätt kan du konfigurera vägen optimalt För dina användningsförhällanden.

- Beskrivning av menypunktten "rF" finns i avsnittet "Användning av vagen i en radiogrupp (meny)" på sida 225.
Navigering i menyn 1. Starta vagen.







- Håll pilknappen (bm i/menu) intryckt tills menyn har hämnts.
Den senast markerade menypunkten visas på displayen (här Autohold, "Ahold").
- Tryck sö mga gänger på en av pilknapparna att den önskade menypunktten visas på displayen (här)dämpning, "Fil").
- Bekräfta valet med Enter (send/print).
- Om du vill äandra installingen eller hamta en annan undermeny måste du trycka på en av pilknapparna sö mga gänger att den önskade installingen (här steg "2") visas.
- Bekräftainstallingen med Enter (send/print). Menyn slacks automatiskt.
- Om du vill gōr a fler inställingar mæste du hamta menyn pà nytt och följa beskrivningen oven.
OBSERVERA:
Om ingen knapp har tryckts in under cirka 24 sekunder slacks menyn automatiskt.
Automatisk radering av sparade varden (AClr)
For att forhindra att inaktuella matresultat ligger kvar i apparatens minne och medfor att BMI-berakningen blir felaktig kan du stalla in vagen sa att matvardena automatiskt raderas after fem minutes.
OBSERVERA:
På somliga modeller ar Funktionen aktiverad vid fabriken. Om du vill kan du avaktivera Funktionen.
ACLR
On
- Markera punkten "ACIr" på menyn.
- Bekräfta markeringen.
-
Markera önskad inställning:
-
On
-
Off
-
Bekräfta markingsen. Menyn slacks automatiskt.
Med Funktionen Pre-Tara kan du permanent lagra en tillaggsvikt som automatiskt dras av fran att matresultat. Du kan till exempl lagra en schablonvikt for klader och skor som sedan alltid dras av fran matvarden när du vager en patient som ar fullt paksiadd.
Pb
80
- Du kan använda det sparade värdet eller äandra det med pilknapparna.
OBSERVERA:
Om du matar in värdet "0" stängs fonctionen av. Meddelandet "Pt" visas d'inte langre på displayen.
- Bekräfta markingsen.
- Säg till patienten att ställa sig på vågen.
Patientens vikt visas.
Den sparade tillaggsvikten dras automatiskt ifrån.
- Om du vill avaktivera Funktionen markerar du på nytt punkten "Pt" på menyn.
- Bekräfta markingsen.
Aktivering av Autohold-funktionen (Ahold)
Om du aktiverar Autohold-funktionen visas matvardet vid alla vägningsforlopp även after att vågen har avlastats. Du behöver alltså inte aktivera Hold-funktionen manuellt vid varje enskilt vägningsforlopp.
OBSERVERA:
- På somliga modeller ar Funktionen aktiverad vid fabriken. Om du vill kan du avaktivera Funktionen.
- Oavsett vilken inställning som du markerar har bestäms i 2 in 1-funktionen alltid barnets vikt med hjälp av Autohold.
AHOLD
0n
- Markera punkten "Ahold" på menyn.
- Bekräfta markingsen.
Den aktuella inställingen visas.
-
Markera önskad inställning:
-
On
-Off -
Bekräfta markingsen.
Menyn slacks automatiskt.
Du kan ställa in om en signalton ska höras vid varje knappyckning och nar att stabilt viktvärde har uppànts. Det sistnamnda ar viktigt for Hold- och Autohold-funktionen.
OBSERVERA:
Funktionen "Signalton vid stabilt viktvärde" aktiveras vid fabriken. Om du vill kan du avaktivera Funktionen.



- Markera punkten "BEEP" på menyn.
- Bekräfta markeringen.
-
Markera en menypunkt:
-
Press: Signalton vid knappyckning
-
Hold: Signalton vid stabilt viktvärde.
-
Bekräfta markeringen.
Den aktuella inställingen visas.
-
Markera önskad inställning:
-
On
-Off -
Bekräfta markingsen.
Menyn slacks automatiskt.
- Om du vill aktivera signaltonerna ochsfor den andra Funktionen upprepar du proceduren.
Inställning av dampning (Fil)



Med hjälp av dampningen (Fil = filter) kan du minska störningarna vid viktbestämningen (t.ex. på grund av att patienten rör sig).
- Markera punkten "Fil" på menyn.
- Bekräfta markeringen. Den aktuella inställingen visas.
- Markera ett dampningssteg.
-0: Svag dampning
- 1: Medelstark dampning
- 2 : Stark dam p n i n g
Återgang till fabriksinställningar (RESET)
För nedanstående Funktioner kan du Återställa fabriksinställingarna:
| Funktion Fabriksinställning | |
| Autom hold (Ahold) modellberoende | |
| Signalton (Press) off | |
| Signalton (Hold) on | |
| Dämpning (Fil) 0 | |
| Autoclear (Aclear) modellberoende | |
| Pre-Tara (Pt) 0 kg | |
| Kroppslängd für body mass index (BMI) | 170 cm |
| Radiomodul (SYS) off | |
| Autosend (Asend) off | |
| Autoprint (APrt) off | |
OBSERVERA:
Vid Återställning av fabriksinställingarna stängs radiomodulen av. Informationen om befintiga radiogrupper bibehålls. Radiogruppena behöver inte inrättas på nytt.
RESET
- Markera punkten "Reset" på menyn.
- Bekräfta markingsen. Menyn slacks automatiskt.
- Stäng av vagen. Fabriksinställingarna Återställs och År tillgangliga när vagen startas{nasta gang.
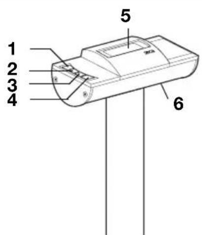
7. DET TRÄDLÖSA NÄTVERKET SECA 360° WIRELESS
7.1 Inledning
Apparaten ar utrustad med en radiomodul. Med hjälp av radiomodulen kan matvärden overforas trådlost for utvärdering och dokumentation. Data kan overforas till foljande apparater:
- seca tradlós skrivare
- PC med seca trädlöst USB-modem
seca Radiogrupper


Det tradlosa nätverket seca 360^ wireless arbetar med radiogrupper. En radiogrupp ar en virtuell grupp av sändare och mottagare. Om flera sändare och mottagare av samma typ ske användas kan apparaten användas for att inrä tta upp till tre radiogrupper (0, 1, 2).
Genom att inrä tta flera radiogrupper sakerstaller man en tillforlitlig och korrekt adresserad overforing av matvarden när flera undersokningsrum med jämforbar apparatur används.
Största avständ mellan sändare och mottagare ar ungefär 10 meter. Vissa lokala omständigheter, t.ex. vaggarnas tjocklek och beskaffenhet, kan minska räckvidden.
I var och en av radiogruppena kan foljande apparatkombination finnas.
- 1 spädbarnsvåg
1 person vag
1 lang mat stick a
1 seca tradlós skrivare - 1 PC med seca trädlösst USB-modem
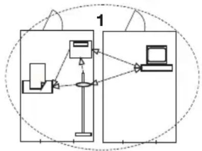
Kanaler

Inom en radiogrupp kommunicerar apparaterna med varandra via tre kanaler (C1, C2, C3). Detta garantarer en tillforlitig och störningsfri dataöverföring.
När du inrättar en radiogrupp med vagen foreslår apparaten tre kanaler for att sakerställa en optimal dataverföring. Vi rekommenderar att du anvander de kanalnummer som foreslås.
Du kan också välja kanalnumren (0 - 99) manuellt om du t.ex. ska inrätta flera radiogrupper.
For att dataüberungen inte skasstoras maste kanalerna ligga tillrackligt langt for varandra. Vi rekommenderar att avstandet ar minst 30. Ett kanalnummer far bara anvandas till en enda kanal.
Konfigurationsexempel: Kanalnummer vid inrattande avtre radiogrupper inom en klinik:
Radiogrupp 0: C1=_, C2=30, C3=60
Radiogrupp 1: C1=10, C2=40, C3=70
Radiogrupp 2: C1=20, C2=50, C3=80
Apparatidentifying
När du inrättar en radiogrupp med vågen söker den after andra aktiva apparater i seca 360^ wireless systemet. De identifierade apparaterna visas på vågdisplayen som moduler (t.ex. MO 3). Siffrona har följande innebörder:
1: P er s o n v Å g
2: Längdmätsticka
3: Trädlös skrivare
- 4: PC med seca tradlost USB-modem
- 7: Spädbarnsvåg
- 5, 6 och 8-12: Reserverade För systemutbyggnad
7.2 Användning av vågen i en radiogrupp (meny)
Alla Funktioner som du behöver für att kunna använda apparaten seca i en radiogrupp finns i untermenyn "rF". Information om navigeringen i menyn finns på Sida 219.

Aktivering av radiomodulen (SYS)
När apparaten levereras ar radiomodulen avaktiverad. Innan du kan inräta en radiogrupp maste du aktivera modulen.
OBSERVERA:
När du aktiverar radiomodulen ökar apparatens ström Förbrukning. Vi rekommenderar dig att använda natadaptern om apparaten ingår i ett tradlöst natverk.
545
- Starta apparaten.
- Gà till untermenyn "rf" och markera menypunktten "SYS".
- Bekräfta markingsen.
- Markera installingen "on".
- Bekräfta markingsen.
Menyn släcks automatiskt.
0n
Inrattande av en radiogrupp (Lrn)
F
Gör sá har För att inrä tta en radiogrupp:
- Starta apparaten.
- Oppna menyn.
- Markera punkten "rF" på menyn.
- Bekräfta markingsen.







-
Gå till untermenyn "rf" och markera menypunktten "Im" (learn).
-
Bekräfta markeringen. Den for tillfallet installda radiogruppen (här radiogrupp 0 "ID 0") visas.
Om radiogruppen "0" redan finns och du vill inrättaytterligare en radiogrupp med apparaten markerardu ett annat ID-nummer med pilkapparna (här radiogrupp 1 "ID 1").
- Bekräfta markeringen av radiogruppen. Apparaten foreslar ett kanalnummer for kanal 1 (här C1 "0").
Du kan antingen välja det kanalnummer som föreslås eller ställa in att annat nummer med pilknapparna.
- Bekräfta markeringen for kanal 1. Apparaten foreslar ett kanalnummer for kanal 2 vor (här C2 "30").
Du kan antingen välja det kanalnummer som föreslås eller ställa in att annat nummer med pilknapparna.
OBSERVERA:
Visning av tvåsiffriga kanalnummer görs utan mellanslag. Visningen "C230" betyder kanal "2" och kanalnummer "30".
- Bekräfta markeringen for kanal 2. Apparaten foreslar ett kanalnummer for kanal 3 vor (här C3 "60").
Du kan antingen välja det kanalnummer som föreslås eller ställa in att annat nummer med pilknapparna.
- Bekräfta markeringen für kanal 3. Meddelandet STOP visas på displayen. Apparaten vantar på signaler frän andra radiofor-sedda apparater inom räckvidden.
OBSERVERA:
För somliga apparater kravs en särskild start-procedur om de ska integreras i en radiogrupp. Folj braupsanvisingen for vederbörande apparat.
- Starta den apparat som du vill integrera i radiogruppen, t.ex. en tradlös skrivare.
När den trådlösa skrivaren har identiferats hörns en pipton.
#
OBSERVERA:
Så snart en radioskrivare ar integrered i radiogruppen, maste man anslutningsvis valja ettskrivaralternativ (Menü\rf\APrt) och ställa in tiden (Menü\rf\time).
- Upprepa steg 11. För alla apparater som skä integreras i radiogruppen.
- Avsluta sökningen genom att trycka på Enter.
- Tryck på en av pilknapparna for att visa vilka apparater som har identiferats (här Mo 3 für en tradlós skrivare).
Om du har integrerat flera apparater i radiogruppen trycker du flera ganger pa pilknapparna for att kontrllerera att alla apparaterna har identiferats av vagen.
- Gå ur menyn med Enter eller vänta tills menyn släcks automatiskt.
Aktivering av automatisk überfüring (ASend)
Du kan konfigurera apparaten sa att matvärda nands automatiskt till alla mottagningsklara mottagare som harloggats in i samma radiogrupp (t.ex. tradlös skrivare, PC med tradlost USB-modem).
A5End
OBSERVERA:
När en radioskrivare används skall man se till att inte skrivaralternativet "off" arinstall (se "Val av skrivaralternativ (APrt)" på sida 227).
- Starta apparaten.
- Gå till untermenyn "rf" och markera menypunktten "ASend". Bekräfta markeringen.
- Markera inställingen "on" och bekräfta markeringen.
Menyn slacks automatiskt.
Du kan konfigurera apparaten sa att matvardena automatiskt skrivs ut pa en tradlos skrivare som harloggats in i radiogruppen.
OBSERVERA:
Funktionen ar bara tillganglig om en seca tradlós skrivare har integrerats i radio-gruppen med hjälp av fonctionen "learn".
APrt
- Starta apparaten.
- Gå till untermenyn "rf" och markera menypunkten "APrt". Bekräfta markeringen.
阳
-
Markera deninstalling som galler for din apparat-kombination:
-
HI: Mätvärden från langdmätningsapparater
- MA: Mätvärden från vågar
-
HI_MA: Mätvärden från langdmätningsapparater och vögär
off: Ingen automatisk utskrift. Utskrift sker bara om Enter halls intryckt under vägningen. -
Bekräfta markingsen.
Menyn slacks automatiskt.
Installingnagvtid(Time)
Du kan konfigurera systemet sa att den tradlosa skrivaren automatiskt lagger till datum och klockslag till dinamätvarden. For att detta sca ske maste du gora enengängsinstallning av datum och klockslag pa apparatusen och overfora den till den tradlosa skrivarens internaklocka.
EINE
OBSERVERA:
Funktionen ar bara tillganglig om en seca tradlós skrivare har integrerats i radio-gruppen med hjälp av fonctionen "learn".
- Starta apparaten.
- Gå till untermenyn "rf" och markera menypunktten "Time".
-
Bekräfta markingsen. Den aktuella inställingen for "ar (Year)" visas.
-
Ställ in rätt artal.
- Bekräfta markeringen.
- Upprepa stegen 3. och 4. for respektive "manad" (Non), dRy), timmea(hougr) och minut (In).
- Bekräfta markeringen.
När du har bekräfftat minutinställingen släcks** menyn automatiskt. Inställingarna überförs automatiskt till den trådlösa skrivaren. Den trådlösa skrivaren lagger automatiskt till datum och klockslag i alla utskrifter.
OBSERVERA:
Följ den har bruksanvisningen beträffande handhavandet i övrligt av den trådlösa skrivaren.
8. RENGÖRING
Rengör vid behov beläggningen och höljet med att vanligt rengöringsmedel eller desinfektionsmedel. Följ tillverkarens anvisningar.
Använd aldrig repande aller aggressiva rengöringsmedel, sprit, bensin aller liknande. Sādana rengöringsmedel kan skada de högvardiga ytorna.
9. VAD GÖR JAG OM...?
| Fel Orsak/Ätgård | |
| ... ingen vikt visas vid belastning? | Ingen strömförsörjning till vågen. - Kontrollera att vågen är inkopplad. - Kontrollera att batterierna är inlagda. |
| ... inte övisas före vögningen? | Vågen har belastats före starten. - Avlasta vågen. - Stäng av vågen och starta den på nytt. |
| ... ett segment lyser hela tiden eller inte alls? | Det finns ett fel i den aktuella teckenpositionen. - Tillkalla servicetekniker. |
| ... displayen visar ? | Batterispänningen sjunker. - Byt snarast till nga batterier. |
| ... displayen visar bärte ? | Batterierna är tomma. - Byt till nga batterier. |
| ... displayen visar StöP? | Den maximala lasten har överskridits. - Avlasta vågen. |
| ... displayen visar EENP | Omgivningstemperaturen vid vågen är für hög eller for låg. - Ställ upp vågen)där omgivningstemperaturen är mellan +10 °C och +40 °C. - Vänta omkring 15 minuter tills vågen har anpassat sig till omgivningstemperaturen. |
| ... om after starten for-sta gängen mätvärden sänds och två signal-toner hörs? | · Apparaten kunde inte sönda nagra mätvärden till den trådlösa mottagaren (seca trådlös skri-vare eller PC med trådlös seca USB-modem). - Kontrollera att vågen är integrerad i det trådlösa nätverket. - Kontrollera att mottagaren har startats. · Mottagningen störsvärgfrevensapparater (t.ex. mobiltelefoner) i närheten. - Håll alltid högfrekvensapparater på minst en meters avständ från sändare och mottagare i det seca trådlösa nätverket. OBSERVERA: Om det här felet inte avhjalps ges ingen ny varningssignal Nar sändningsförsöken upprepas. |
| ... bara punkten "SYS" syns på rf-menyn? | · Radiomodulen har avaktiverats. - Aktivera radiomodulen (se "Aktivering av radiomodulen (SYS)" på sida 225). |
| ... bara punkterna "SYS" och "Irn" syns på rf-menyn? | · Radiomodulen har aktiverats, men ingen radiogrupp har inrättats. - Inrättan en radiogrupp (se "Inrättande av en radiogrupp (Lrn)" på sida 225). |
| ... punkterna "APrt" och "Time" inte syns på rf-menyn? | · Ingen trådlös skrivare har loggats in i radio-gruppen. - Logga in en trådlös skrivare i radiogruppen med hjälp av menypunkten "Irn" (se "Inrättende av en radiogrupp (Lrn)" på sida 225). |
| ... displayen visar Er:H: I? | Vågen har für stor lastEller är För högt belastad iett av hörnen. - Avlasta vågen aller fördelalasten mer likformigt. - Starta om vågen. |
| ... displayen visar Er:H: I? | Vågen har startats med För stor last. - Avlasta vågen. - Starta om vågen. |
| ... displayen visar Er:H: I? | Vågen harkommen i svängning. Nollpunkten kan inte bestämmas. - Starta om vågen. |
| ... om jag trycker på Enter (send/print) och displayen på visar Er:H: I? | Ingen dataöverföring är möjlig. Radiomodulen har avaktiverats. - Aktivera radiomodulen (se "Aktivering av radiomodulen (SYS)" på sida 225). |
| Fel Orsak/åtgård | |
| ... om jag trycker på Enter (send/print) och displayen på visar Er:H:72? | Ingen dataöverörning är möjlig. Ingen radiogrupp har inrättats. - Inrätta en radiogrupp (se "Inrättande av en radiogrupp (Lrn)" på sida 225). |
10.SERVICE/OMKALIBRERING
10.1 Information om service och omkalibrering
Vi rekommenderar dig att gora service på apparaten innan du kalibrerar om den.
WARNING!
Felaktiga mattingar på grund av ej fackmässigt unterhäll
- Låt enbart en auktoriserad servicepartner utföra service och reparationer.
- Din nărmaste servicepartner hitter du pá www.seca.com. Du kan ocksă e-posta till service@seca.com.
Låt en auktorisarad person genomföra en omkalibrering enligt gällande nationella lagbestämmer. Årtalet För Första kalibrering står after CE-market på typskylten ovanfor den behöriga instansens nummer 0109 (delsten Hessens kalibreringsstyrelse).
Omkalibrering måste alltid ske ifall en eller flera sakkringsmarkeringar har skadats aller om innehålet i kalibreringsräkneverket inte överensstämmer med siffrorna på den gällande kalibreringsmarkeringen.
10.2 Kontroll av kalibreringsräkneverkets innehäll
Denna seca-vag ar kalibrerad. Kalibrering farrara utforas av behoriga instanser. For att detta sca garanteras ar vagen forsedd med ett kalibreringsrakneverk som noterar alla forandringar av kalibreringstekniskt relevanta data.
Gör sā har om du vill kontrollera att vägen ār kalibrerad enligt bestämmelserna:
- Stäng av vagen.

2


- Håll pågon av knapparna intryckt och starta vagen. Aktuellt innehåll i kalibreringsräkneverket blinkar på displayen under nagra sekunder.
- Jämför det visade innehålet i kalibreringsräkneverket med det tal som anges på kalibreringsmarke-ringen.
For att kalibreringen ske vara giltig måste de båda talen vara lika. Om räkneverket inte stämmer överens med markeringen måste en omkalibrering göras. Kontakta narraste servicepartner eller secas kundtjänst. Om en omkalibrering blir nödvändigt skadenvidstäende omkalibreringsmarkeringen anvandas for att ange kalibreringsräkneverkets ställning istället for secas ovan avbildade kalibreringsmarkering. Den auktorisade person som utfor omkalibreringen ske sakra markeringen med en extra plombering. Omkalibreringsmarke- ringen kan bestellas frän secas kundtjänst under nummer 14-05-01-886.
11. TEKNISKA DATA
11.1 Allmännatakniska data
| Tekniska data seca 704 | |
| Yttermått • Dj up • Bredd • Höjd | 520 mm 360 mm 930 mm |
| Egenvikt 17 kg | |
| Temperaturområde +10°C - +40 °C | |
| Teckenhöjd 25 mm | |
| Strömförsörjning | Batteri Nätadapter (tillval) |
| Strömforbrukning • med avaktiverad radiomodul • med aktiverad radiomodul | cirka 32 mA cirka 50 mA |
| Maximal gängtid vid batteridrift • med avaktiverad radiomodul • med aktiverad radiomodul | cirka 5.600 minutes Nätadapter rekommenderas |
| Medicinsk produit enligt direktiven 93/42/ EEG och 2007/47/EG | Klass I med mätfungtion |
| Kalibrering enlicht direktiv 2009/23/EG Klass III | |
| EN 60 601-1: • Skyddisolerad apparat, skyddsklass II: • Elektromedicinsk apparat typ B: | ☐ 大 |
| Trådlös überörning • Frekvensband • Sändareffekt • Tillampade normer | 2,433 GHz - 2,480 GHz < 10 mW EN 30028, EN 301 489-1, -17 |
11.2 Vägningstekniska data
| Vägningstekniska data | |
| Kalibrering enlicht direktiv 2009/23/EG Klass III | |
| Maximal lastVägningsområde 1Vägningsområde 2 | 150 kg300 kg |
| Minsta lastVägningsområde 1Vägningsområde 2 | 1 kg2 kg |
| FinindelningVägningsområde 1Vägningsområde 2 | 50 g100 g |
| Tareringsområde upp till 300 kg | |
| Noggrannhet vid Första kalibreringVägningsområde 1: 0 - 25 kgVägningsområde 1: 25 - 100 kgVägningsområde 1: 100 kg - 150 kgVägningsområde 2: 0 - 50 kgVägningsområde 2: 50 - 200 kgVägningsområde 2: 200 kg - 300 kg | ± 25 g± 50 g± 75 g± 50 g± 100 g± 150 g |
12.TILLBEHÖR
| Tillbehör Artikelnummer | |
| seca trådlöst nätverk seca 360° wireless: • Trådlös skrivare - seca 360° Wireless Printer 465 - seca 360° Wireless Printer Advanced 466 • PC-programvara - seca analytics 105 • Trådlöst USB-modem seca 360° Wireless USB adapter 456 | landsspecifika varianter landsspecifika varianter applikationsspecifika licenspaket |
| 456-00-00-009 | |
| Strömförsörjning: • Nätadapter med stickpropp, Euro: 230 V~ / 50 Hz / 12 V = / 150 mA • Switchmod nätadapter: 100-240 V~ / 50-60 Hz / 12 V = / 0,5 A | 68-32-10-252 68-32-10-265 |
| Övriga tillbehör • Teleskopmätsticka seca 220, mätområde 890 - 2000 mm, skaldeling 1 mm, material hårdeloxerad aluminium, slid med snappbar mättunga • Teleskopmätsticka seca 220 (dubbeldelning), mätområde 890 - 2000 mm och 35 " - 78 3/4 ", delning 1 mm und 1/8 ", material hårdeloxerad aluminium, slid med snappbar mättunga | 220-17-14-004 220-18-14-004 |
13.AVFALLSHANTERING
13.1 Omhändertagande av apparaten

Apparaten fär inte tas om hand som hushållsavfall. Omhänderta den på fackmässigt sätt som elektronikskrot. Följ gällande bestämelser. Om du behöver men information kan du kontakta vär service på
service@seca.com
13.2 Batterier

Begagnade batterier fär inte kastas som hushållssopor, oavsett om de innehäller skadliga ämnen aller inte. Som konsument ár du enligt lag skyldig att lämna begagnade batterier till kommunala uppsamlingsplatser aller till fackhandeln for omhändertagande. Lämna bara in batterier som ár helt urladdade.
14.GARANTI
Vi lämnar två Års garanti räknat från leveransdagen for brister som kan hänforas till material- eller tillverkningsfel. Lõstagbara delar som t.ex. batterier, kablar, nätadaptrar m.m. omfattas inte av garantin. Brister som omfattas av garantin avhjälpsutan kostnad for kunden mot uppvisande av köpbevis. Inga ytterligare anspråk godkänns. Kostnaden for transport tur och retur bestrids av kunden om apparaten befinner sig på en annan plats an på kundens foretagsadress. Vid transportskador kan garantianspråk ställas bara om den kompletta originalforpackningen har används vid Transporten och om vågen har varit fastsatt och särkad i forpackningen sö som i originalforpackat tillständ. Spara dārfor alla forpackningsdelar.
Garantin gäller inte om apparaten öppnas av personerutan uttrycklig auktorsation frän seca För dettaändamål.
Vi ber våra utländska kunder att vid garantifrågor vända sig direkt till fösäljaren i respektive land.
INNHOLDSFORTEGNELSE
1.Med brev og segl. 237
2. Beskrivelse av apparatet. 238
2.1 Gratulerer! 238
2.2 Bruksformål 238
Personskader på grunn av seks-forskrifts-messig handtering
- Beskrivelsen av menypunktet „rF“ finner du i avsnitt “Bruk av vekten i en trådløsgruppe (meny)” på side 257.
Den iche automatisk personvåg
...motsvarabeskrivningenenligtmonstertillstandet. Vagen uppfyllergallande kravifoljande direktiv och nomer:
2009/23/EG om iced-automatiska vagar, 93/42/EEG och 2007/47/EG om medicintekniskaprodukter, EN 45501 om metrologiska bedömningsgrunder for icke automatiska vagar samt EN 300 328, EN 301 489-1 och EN 301 489-17 om elektromagnetisk kompatilitet och gnistspektrumfrågor.
EnkelManual