704 - Vekter SECA - Gratis bruksanvisning og manual
Finn enhetens veiledning gratis 704 SECA i PDF-format.
Ofte stilte spørsmål - 704 SECA
Brukerspørsmål om 704 SECA
0 spørsmål om dette apparatet. Svar på dem du kjenner, eller still ditt eget.
Still et nytt spørsmål om dette apparatet
Last ned instruksjonene for din Vekter i PDF-format gratis! Finn veiledningen din 704 - SECA og ta den elektroniske enheten tilbake i hendene. På denne siden er alle dokumenter som er nødvendige for bruken av enheten din publisert. 704 av merket SECA.
BRUKSANVISNING 704 SECA
2.2 Anvendelseformål
3.3 Omgang med batterier og akkus
Fejlmålinger ved kraftshunt
Beregning og bedømmelse af Body Mass Index (BMI)
- Bekraeft valget for kanal 1.
Apparatet foreslår et kanaltal for kanal 2 (her C2 "30").
- Bekraeft valget for kanal 2.
- Bekraeft valget for kanal 3.
På displayet vises meddelelsen SEOP.
10.1 Oplysninger om vedligeholdelse og afterjustering
11.1 Generelle tekniske data
3.3 Hantering av batterier. 208
- Oversikt 209
3.3 Hantering av batterier
Kontinuerlig visning av matvärde (HOLD)

Permanent lagring av tillaggsvikt (Pt)
Den senast sparade tillaggsvikten visas.
Aktivering av signaltoner (BEEP)
Val av skrivaralternativ (APrt)
- Sikkerhetsopplysninger 239
3.1 Grunnleggende sikkerhetsinstrukser 239
3.2 Sikkerhetsinstrukser i donne bra克斯anvisingen 239
3.3 Handtering av batterier og alkumulatorer. 240
4.Oversikt 241
4.1 Kontrollelementer 241
4.2 Symboler i displayet 242
4.3 Indikeringer på merkeplaten . . 242
4.4 Menystruktur 244
- FOr du setter i gang... 245
5.1 Montering av soylen . 245
5.2 Opprette strømforsyningen. 246
Sette i batteri 246
Kople til nettadapteren (alternativ) 246
5.3 Oppstilling av vekten 247
6.Betjening. 247
6.1 Veling. 247
Starte veiingen. 247
Veling av spedbarn/smabarn (2 in 1) 247
Vise maleresultat konstant (HOLD) 248 Beregne og evaluere Body Mass Index (BMI) 249
Automatisk beregning og utskrift av BMI. 249
Sende mäleresultater til trådlöse mottakere 250
Slå av vekten 250
6.2 Andre funksjoner (meny). 251
Navigere i menyen 251
Automatisk sletting av lagredeverdier (ACIr). 252
Lagretilleggsvekt permanent (Pt) 252
Aktivere Autohold-funksjonen (Ahold) 253
Aktivere signaltoner (BEEP). . . 253
Innstilling av demping (Fil) . . . 254
Gjenopprette
fabrikinnstillingene (RESET). . 254
- Det tradlose nettverket seca 360^ wireless 255
7.1 Innføring. 255
seca Trådløse grupper 255
Kanaler. 256
Identifisering av apparater. 256
7.2 Bruk av vekten i en
trådløsgruppe (meny) . 257
Innrette trådløs gruppe (Lrn) . 257
Aktivere automatisk
overføring (ASend) . 259
Aktivere trådløs modul (SYS) . 257
Velg utskriftsalternativ (APrt) . 259
Stille inn klokkeslett (Time) . 260
Rengjoring 261
Hva ma gjores hvis...? 261
Vedlikehold/calibrering 263
10.1 Opplysninger om vedlikehold og kalibrering 263
10.2 Kontroll av kalibreringstellerinnholdet . 263
Tekniske data 264
11.1 Generelle tekniske data . 264
11.2 Veietekniske data. 265
Tilbehør 266
Avhending 266
13.1 Avhending av apparatet . 266
13.2 Batterier og akkumulatorer . . 267
Garanti. 267
1. MED BREV OG SEGL

M





Med seca-producter kjøper du ikke bare en teknik som har modnet i mer enn et ørhundre, men du kjøper ogsa en kvalitet som er bekreftet av myndigheter, gjeldende lover og institutter. seca-productene samsvarer med europeiske direktiver og standarder samt med gjeldende nasjonale lover. Når du kjøper seca, kjøper du fremtid.
Produktene i dette bra克斯anvisingen svarer til loven om medisinskeprodukter, dvs. EU-rådets direktiv 93/42/EØF og 2007/47/EF, som er forankret i gjeldende nasjonale lowerk i hele Europa.
Vekter som er merket med dette merket, samsvarer med EU-direktiv 2009/23/EF for vekter. seca-vekter med dette merket oppfyller de hoogy kvalitetskravene og tekniske kravene som stilles til kalibreringsdyktige vekter.
Vekter som er merket med dette merket, oppfyller de strenge kravene til kalibreringsklasse Il og kan brukes til kalibreringsspliktige malinger innen medisin.
Produkter som er merket med dette merket, oppfyller kravene i direktivene og standardene
secas profesjonalitet anerkjennes ogsa fra officielt hold. TÜV Product Service, som er ansvarlig organisasjon for medisinskeprodukter,bekrefter med sertifikat at seca konsekvent overholder strengeste lovfestede krav som produsent av medisinskeprodukter. secas kvalitetssikringssystem inkluderer fagområdene design, utvikling,produksjon, salg og service av medisinske vekter og målesystemer.
seca bidrar til miljøvern. Å spare naturlige ressurser er en hjertesak for oss. Derfor gjør vi det vi kan for Å spare emballasje overalt hvor dette er meningsfullt. Og det som blir igjen av emballasje kan avhendiges på stedet ved hjelp av det duale avfallssystemet.
2. BESKRIVELSE AV APPARATET
2.1 Gratuler!
Med den elektroniske personvekten seca 704 har du kjopt et ekstremt presist og samtidig robust apparat.
I mer enn 170 År stiller seca sine erfaringer i helsens tjeneste, og som ledende foretak i markedet i mange av verdens land setter vi stadig nye standarder med innovative utviklinger for veiing og måling.
2.2 Bruksformål
Den elektroniske personvekten seca 704 brukes i hovedsak, i samsvar med nasjonale forskritter, i sykehus, legepraksiser og stasjonere pleieinstitusjoner.
I tillegg til konvensjonell måling av vekten, harseca 704 en funksjön for beregning av Body Mass Index. I/DDne forbindelse angis kroppstørrelsen med tastaturet, og sa beregnes automatisk den Body Mass Index som stemmer for vekten.
Via det tradlse nettverket seca 360^ wireless kan maleresultatene overfores tradlost til en tradlss secaskriver aller til en PC som er utstyrt med programvaren seca analytics 105 og
seca 360^ Wireless USB adapter 456.
seca 704 kan flyttes på hjul, og takket vår det lave strømforbruket kan den brukes mobilt i lang til med et batterisett.
3. SIKKERHETSOPPLYNSINGER
3.1 Grunnleggende sikkerhetsinstrukser
Folg instruksjonene i donne bruksanvisningen.
- Ta godt vare på bruksanvisingen og den inkluderte samsvarserklæringen.
- Kontroller at vekten står stabilt på vannrett, plant underlag.
- La ikke vekten falle ned. Utsett ikke vekten for kraftige støt.
- Dersom du bruker vekten med nettadapter, ma du legge nettkabelen sik at det ikke opp-star snublefare.
- Sorg for at det regelmessig utfores vedlikeyhold og kalibrering, se "Vedlikeyhold/kalibrering" på side 263.
- Sorg for at vedlikehold og reparasjoner kun utfores av en autorisert servicepartner. Servicepartnere i nærhen finner du på www.seca.com, eller send en e-post til service@seca.com.
- Bruk utelukkende original-seca-tilbehør og -reservedeler. I motsatt fall gir seca ingen form for garanti.
- Hold en minsteavstand på ca. 1 meter med HF-apparater som f.eks. mobiltelefoner forå unngå feilmålinger eller feli på den trådlose overføringen.
3.2 Sikkerhetsinstrukser i donne bruksanvisningen

FARE!
Indikerer en situasjon med uvanlig stor fare. Dersom du ikke tar hensyn til dette merknaden, vil det oppsta alvorlige irreversible eller dodelige personskader.

ADVARSEL!
Indikerer en situasjon med uvanlig stor fare.
Dersom du ikke tar hensyn til dette merknaden, kan det oppstå alvorlige irreversible eller dodelige personskader.

FORSIKTIG!
Indikerer en farlig situasjon. Dersom du ikke tar hensyn til davon merknaden, kan det oppstalette til middels alvorlige personskader.
OBS!
Indikerer en mulig feil betjening av apparatet. Dersom du ikke tar hensyn til dette merknaden, kan det oppsta skader på apparatet eller feilaktige maleresultater.
MERKNAD:
Inneholder tilleggsopplysninger om bruken av apparatet.
3.3 Händtering av batterier og akkumulatorer
Dette apparatet leveres med 6 mignon-batterier, type AA. Denne batteritypen kan/DDke Iades opp igjen.Folg sikkerhetsinstruksene nedenfor.

ADVARSEL!
Batteriene inneholder skadelige stoffer som kan bli satt fri eksplosjonsaktig ved ikke-forskrifts-messig handtering.
-ForsokIkkea ladeoppbatterieneigjen.
- Varm/DDC opp battery/akkumulatorer.
- Forbrenn ikke batterier/akkumulatorer.
- Dersom det har lekket ut syre, ma du unngå kontakt med hud, øyne og slimhinner. Skyll de berørte stedene med rikelig rent vann og oppsek omgående en lege.
OBS!
Skader på apparater og funksjonsceil på grunn av ikke-forskriftsmessig handtering
- Bruk kun angitt batteritype/akkumulatortype, se "Sette i batteri" pa side 246.
- Skift alltid ut alle batterier/akkumulatorer smtidig.
-Kortslutt ellebatterier/akkumulatorer.
-Ta ut batteriene/akkumulatoren ar apparatet ikke skal brukes i en lengre期内e. Da kan det ikke lekke ut syre i apparatet.
4. OVERSIKT
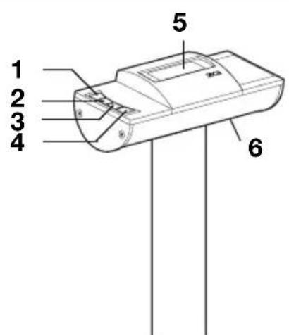
4.1 Kontrollelementer


| Nr. Kontrollelement | Funksjon | |
| 1 | Slå vekten på og av | |
| 2 | Piltast • Underveiing: - Trykkes kort: Aktivere Hold-funksjonen - Trykkes lenge: Aktivere 2 in 1-funksjonen • I menyen: - Valg av untermeny, valg av menypunkt - Øke verdien | |
| 3 | Piltast • Underveiing: - Trykkes kort: Aktivere BMI-funksjonen - Trykkes lenge: Åpne menyen • I menyen: - Valg av untermeny, valg av menypunkt - Redusere verdien | |
| 4 | Enter-tast • Underveiingen (när et trådløst nettverk er installer): - Trykkes kort: Sende@måleresultat til mottaksklare apparater (PC med trådløs USB-modul) - Trykkes lenge: Utskrift av@måleresultat (trådløs skriver) • I menyen: - Bekrefte valgt menypunkt - Lagre innstilt verdi | |
| 5 | Display | Visningselement for@måleresultater og for konfigurasjon av apparatet |
| 6 | Batteriem Plasstil 6 mignon-batterier, type AA, 1,5 volt | |
| Nr. Kontrollelement Funksjon | ||
| 7 | Nettkoplaning | Brukes til tilkoplaning av nettadapter som kan kjøpes som ekstrautstyr |
| 8 | Transporthjul På disse hjulene kan vekten flyttes | |
| 9 | Fotskrue 4 stk., brukes til nøyaktig innretting | |
| 10 | Vater Viser | om apparatet står vannrett |
4.2 Symboler i displayet

655 kg
| Symbol Betydning | ||
| A | Batteriene er svake | |
| B | Bruk med nettadapter | |
| C | Funksjon som ilk kan kalibreres, er aktiv | |
| Tekst/symbol Betydning | |
| Modell Modellnummer | |
| Type Typebetegnelse | |
| Ser. No. Seriennummer | |
| i | Følg bruksanvisningen |
| Elektromedisinsk apparat, type B | |
| Sikkerhetsisolert apparat, sikkerhetsklasse II | |
| FCC ID | For USA: Apparats godkjenningsnummer hos USA-myndig-hetene Federal Communications Commission FCC |
| IC | For Canada: Apparats godkjenningsnummer hos myndigheten Industry Canada |
| CE | Apparat samsvarer med standarder og direktiver i EF. |
| FC | Symbol for FCC (USA) |
| +--- | Apparatet skal bare drives med likestrøm |
| Apparatet skal ikke kastes i husholdningsavfallet | |
4.4 Menystruktur
Flere funksjoner stared til rådighet i apparatets meny. Du kan konfigurere apparatet optimalt for dine bruksforhold (detaljert informasjon fra Side 251).


5.1 Montering av søylen

Søylen med LCD-displayet kan monteres i to posisjoner. Dermed fastsetter du i hvilken retning displayet skal kinne leses - mot ståflaten eller på motsatt side.
- Stikkøyledekslet inn paa soylen.
- Sett sōylen inn i utsparingen i onsket retning.
- Skru soylen fast til vektplattformen fra undersiden. Legg ev. vekten forsiktig over på en side for Å stramme skruene.
- Kople til displaykabelens plugg på undersiden av vektplattformen, som vist på figuren.
OBS!
Funksjonsceil på grunn av monteringsceil
Dersom kablene monteres slick at de stär under spenn, f.eks. hvis de er svært boyde eller pluggen har knekk, kan det oppsta feil visninger og svikt på displayet.
- Legg alle kablene sik at de/DDke boyes for mye, og sik at det ikke oppStark knekk pA pluggen.
-
Sorg for strekkavastning ved Å legge alle kabler i de respektive holderne.
-
Fest kablene i de respektive holderne.
- Plasser deretter vekten i staende stilling igjen.
- Skyv søyledekslet helt ned, til det går i lås på vekt-plattformen.
5.2 Opprette strømforsyningen
Vektens strømforsyning skjer med batterier aller med en nettadapter som kan leveres som tilbehør.
Sette i batteri Du trenger 6 mignon-batterier, type AA, 1,5 volt (inkludert i leveransen).

- Trykk på batterirommets lås.
- Vipp ned batteriromdekslet.
- Ta ut batteriholderen.
- Legg batteriene inn i holderen.
MERKNAD:
Pass på at batteriennes poler vender rett vei (markeringer i batteriholderen). Dersom indikeringen bRET vises i displayet, har du lagt inn et av batteriene feil vei, aller batteriene er tome.
- Legg holderen med batteriene inn i batterirommet.
- Lukk batterirommet.
Kople til nettadapteren (alternative)
Vekten kan drives med nettadapter som kan leveressom tilbehør.

ADVARSEL!
Fare for personskader og skader på apparatet ved bruk av feil nettadapter
Vanlige nettadaptere kan levere en hoyerespenning enn det som er angitt pa dem. Vektenkan bl for varm, ta fyr, smelte eller bl kortsluttet.
-
Bruk kun original-seca pluggbare nettadaptere med 9V aller regulert 12 V utgangsspenning.
-
Stikk den nettpluggen som din strømforsyning krever, inn på nettadapteren.
- Stikk nettadapterens apparatplugg inn i kontakten på vekten.
- Kople nettadapteren til en stikkontakt.

5.3 Oppstilling av vekten

Fotskruer
OBS!
Feilmåling på grunn av feil kraftoverføring
-
Plasser vekten sik at den kun har kontakt med underlaget gjennom fotskruene.
-
Plasser vekten på hardt, jejnt underlag.
- Innrett vekten ved a dreie pa fotskruene.
Vaterens luftboble ma befinne seg i midten av sirkelen.
6. BETJENING
6.1 Veiing
Starte veiingen 1. Kontroller at vekten er ubelastet.

- Trykk Start-tasten.
I displayet vises SECR, deretter vises alle displayets elementer kort.
Vekten er klart wil bru k'nar indikeringen 00 vises i displayet.
Dersom vekten brukes med nettadapter, vises symbolet displayet.
Veiing av spedbarn/ smabarn (2 in 1)
Ved hjelp av 2 in 1-funksjonen kan du_male vekten på spedbarn og småbarn. I dette forbindelse holdes bar-net på armen til en voksen under veiingen. Gå fram på fölgende mæte:
- Kontroller at vekten er ubelastet.
- Be den voksne gå opp pa vekten.
- Avles mäleresultatet.

- Hold piltasten (hold/2 in 1) trykket til meldingen "NET" vises i displayet. Vekten lagres. 00 vises i displayet.
OBS!
Feilmåling på grunn av skiftende utgangsvekt
Dersom veiingen av barnet utfores med en annen utgangsvekt, kan ikke barnets vekt malles korrekt.
- Forviss deg om at veiingen av barnet alltid finner sted med samme voksne som utgangsvekten ble malt for.
- Forviss deg om at den voksnes vekt/DD endres, f.eks. ved at et klesplagg tas av.

- Be den voksne Å gå opp på vekten med barnet på armen.
Barnets vekt vises.
-
symbolet, Asymbolet og meldingene „HOLD“ og „NET“ vises.
-
Be den voksne forlate vekten med barnet.
- For à deaktivere 2 in 1-funksjonden trykker du pil-tasten (hold/2 in 1), helt til symbolet, -symbolet og meldingene „HOLD" og „NET" ikke longer vises, aller du kan.slå vekten av.
Vise måleresultat konstant (HOLD)

Når du aktiverer HOLD-funksjonden, vises vektverdien fortsatt etter at vekten avlastes. Dermenkan du ta deg av pasienten for du noterer vektverdien.

- Kontroller at vekten er ubelastet.
- Be pasienten gå opp på vekten.
- Trykk kort piltasten (hold/2 in 1). Indikeringen blinker til det males en stabil vekt. Deretter vises vektverdien konstant. Asymbolet (funksjon som ikke kan kalibreres) og meldingen "HOLD" vises.
-
For Å deaktivere HOLD-funksjonen må du kort trykke piltasten (hold/2 in 1).
-
symbolet og meldingen „HOLD“ vises ikke longer.
MERKNAD:
När Autohold-funksjonen er aktivert, vises vektverdien automatisk konstant. se "Aktivere Autohold-funksjonen (Ahold)" på side 253.
Beregne og evaluere Body Mass Index (BMI)
Body Mass Index relaterer kroppsstørlsen til kroppsvekten og muliggjør dermed mer nøyaktige opplysninger enn f.eks. idealvekt etter Broca. Det angis et toleranseområde som gjelder for Å vare helsemessig optimalt.





- Kontroller at vekten er ubelastet.
- Trykk kort piltasten (bmimenu).
- Du kan bruke den viste kroppsstørrelsen aller stille inn en annen kroppsstørrelse med piltastene.
- Bekreft innstillingen med Enter-tasten (send/print).
- Be guesten gå opp på vekten og stå stille.
- Avles BMI og sammenlign den med de kategoriene som er angitt nedenfor.
- Trykk kort på Enter-tasten (send/print) for Å deaktivere BMI-funksjonen.
| BMI Evaluering | |
| under 18,5 | Pasienten veier for lite. Det kan foreligge en tendens mot spisevegring. Vektøkning anbefales for Å bedre velværige og prestasjonsevne. Konsulter en spelSpecialisert lege i tvils-tilfeller. |
| mellom 18,5 og 24,9 | Pasienten har normal vekt. Han kan forbli sik han er. |
| mellom 25 og 30 (pre-adipositas) | Pasienten harlett til middels overvekt. Han br redusere vekten dersom det allerede foreligger en sykdom (f.eks. diabetes, hýyt blodtrykk, gikt, stoffskifteforstyrrelser). |
| over 30 | Vektreduksjon er absolutn ødvendig. Stoffskifte, blodsir-kulasjon og knokler belastes. Konsekvent diett, mye bevegelse og atferdstrening anbefales. Konsulter en spelSpecialisert lege i tvilstilfeller. |
Automatisk beregning og utskrift av BMI
Når du bruker dette vekten sammen med en tradløs skriver og en mælestokk for lengde fra seca 360° wireless systemet, kan du beregne og skrive ut BMI automatisk.
MERKNAD:
Det er en forutsetning for delle funksjonden at apparatene er registrent i et felles tradløs gruppe (se "Det tradløse nettverket seca 360^ wireless" på side 255).
- Utfor veiingen.
- Trykk kort vektens Enter-tast (send/print). Måleverdien sendes til den trådlöse skriveren, men skrives ikke ut.
- Utfor lengdemålingen.
- Trykk lenge på Enter-tasten (send/print) på målestokken for lenghte. Måleverdien sendes til den trådlöse skriveren. BMI beregnes. Lengde, vekt og BMI skrives ut.
Sende måleresultater til tradløse mottakere

Dersom vekten er integrett i et seca 360^ wireless tradlost nettverk, kan du sende maleresultatene per tastetrykk til mottaksklare apparater (tradlos skriver, PC med tradlOs USB-modul).
Trykk Enter-tasten (send/print).
- Kort trykk på tast: Sende@måleresultatene til alle mottaksklare apparater
- Langt trykk på tast: Skrive ut måleresultatet på den tradløse skriveren
Slå av vekten

Trykk Start-tasten.
MERKNAD:
I batterimodus slås vekten automatisk av etter kort tid dersom den ikke belastes.
6.2 Andre funksjoner (meny)
Flere funksjoner stared til rädighet i vektens meny. Dermed kan du konfigurere vekten optimalt i samsvar med dine bruksbetingelser.

Navigere iimenyen 1.Sla vekten pa.







- Hold piltasten (bm/i/menu) trykket tilimenyen apnes.
- Trykk en av piltastene gjentatte ganger, helt til onsket menypunkt vises i displayet (her: Demping „Fil").
- Bekreft valget med Enter-tasten (send/print).
- For à endre innstillingen aller Åpne en annen undermeny, ma du trykke gjentatte ganger på en av pilastene, helt til ønsket innstilling vises (her: trinn 2^4 ).
- Bekreft innstillingen med Enter-tasten (send/print). Menyen forlates automatisk.
- Åpne menyen på nytt og gå fram på beskrevet mæte forå utføre flere innstillinger.
MERKNAD:
Dersom ingen tast trykkes i ca. 24 sekunder, forlatesimenyen automatisk.
Automatisk sletting av lagrede verdier (AClr)
For à unngå at/DDke lenger aktuelle mäleresultater blir liggende i apparatets minne og dermed kan fore til feilaktig BMI-beregning, kan du stille vekten inn sik at mäleresultatene slettes automatisk etter 5 minutter.
MERKNAD:
På noen modeller er davon funksjonden aktivert ved levering. Du kan deaktivere funksjonden om du onionsker det.

- Velg punktet „ACir“ iimenyen.

-
Bekreft valget.
-
Velg onsket innstilling:
-
On
-Off -
Bekreft valget.
Menyen forlates automatisk.
Lagre tilleggsvekt permanent (Pt)
Sist lagret tilleggsvekt vises.
Pasientens vekt vises.
Den lagrede tilleggsvekten ble automatisk trukket fra.
- Velg på nytt punktet "Pt" i menyen for Å deaktivere funksjonen.
- Bekreft valget.
Funksjonen er deaktivert.
Menyen forlates automatisk.
Aktivere Autoholdfunksjonen (Ahold)
Når du aktiverer Autohold-funksjonen, vises måleresultatet for hver veiing fortsatt etter at vekten avlastes. Det er da ikke longer nødvendig Å aktivere Hold-funksjonen manuelt for hver,enkelt veiing.
MERKNAD:
- På noen modeller er davon funksjonen aktivert ved levering. Du kan deaktivere funksjonen om du onionsdet.
- Uavhengig av den innstillingen som velges her, måles barnets vekt alltid med Autohold i 2 in 1-funksjonen.
AHOLD
- Velg punktet „Ahold“ iimenyen.
- Bekreft valget.
Du kan stille inn om det skal lyde en signaltone ved hvert tastetrykk og när en stabil vektverdi nas. Sistnevnte er av betydning for Hold-/Autohold-funksjonen.
MERKNAD:
Innstilling av demping (Fil)



Med demping (Fil = filter) kan du redusere stoy under malingen av vekten (f.eks. på grunn av pasientens bevegelser).
- Velg punktet „Fil“ i menyen.
- Bekreft valget. Den aktuelle innstillingen vises.
- Velg et dempingstrinn.
- 0: liter grad av demping
- 1: middels demping
-
2: stor grad av demping
-
Bekreft valget.
Menyen forlates automatisk.
Gjenopprette fabrikinnstillingene (RESET)
For følgende funksjoner kan du gjenopprette fabrikkinnstillingene:
| Funksjon Fabrikkinstilling | |
| Autohold (Ahold). modellavhengig | |
| Signaltone (Press) off | |
| Signaltone (Hold) on | |
| Demping (Fil) 0 | |
| Autoclear (Aclear) modellavhengig | |
| Pre-Tara (Pt) 0 kg | |
| Kroppslengde for Body Mass Index (BMI) | 170 cm |
| Trådløs modul (SYS) off | |
| Autosend (ASend) off | |
| Autoprint (APrt) off | |

MERKNAD:
Den tradlose modulen slås av under gjenopprettingen av fabrikinnstillingene. Informasjonen om eksisterende tradlose grupper opprettholdes. Tradlose grupper på inrettes på nytt.
- Velg punktet „Reset“ i menyen.
- Bekreft valget.
Menyen forlates automatisk.
- Sla vekten av.
Fabrikkinstillingene gjenopprettes og stär til rädighet;neste gang vekten slås på.
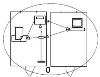
7. DET TRÄDLÖSE NETTVERKET SECA 360° WIRELESS
7.1 Innføring
Dette apparatet er utstyrt med en tradløs modul. Den tradløse modulen muliggjør tradløs overfæring av moleresultater for analyse og dokumentasjon. Data kan overføres til følgende apparater:
seca Trådløse grupper


Det tradløse nettverket seca 360^ wireless arbeider med tradløse grupper. En tradløs gruppe er en virtuell gruppe av sendere og mottakere. Dersom det skal brukes flere sendere og mottakere av samme type, kan du med dette apparatet innrette inntil 3 tradløse grupper (0, 1, 2).
Innretting av flere tradlse grupper sikrer en paliitelig og korrekt adressert overf.org av maleverdier narr man bruker flere undersokelsesrom med apparatutrustning som likner pa hverandre.
Maksimal avstand mellom sendere og mottakere er ca. 10 meter. Spesielle lokale forhold, f.eks. veggenes tykkelse og beskaffenhet, kan redusere rekkevidden.
Følgende apparatkombinasjon er mulig per tradløs gruppe.
1 Babyvekt
1 Personvekt
1 Målestav forleng de
1 seca Tradløs skriver
- 1 PC med seca tradløs USB-modul

Når du innretter en trådløs gruppe med这部分 vekten, foreslår apparatet tre kanaler som sikrer optimal datao-verbøring. Vi anbefaler Å bruke de tre foreslåtte kanal-tallene.
Eksempel på konfigurasjon; kanaltall ved innretting av 3 tradlose grupper i en praksis:
- Trådløs gruppe 0: C1=_, C2=30, C3=60
- Trådløs gruppe 1: C1=10, C2=40, C3=70
- Trådløs gruppe 2: C1=20, C2=50, C3=80
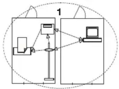
Identifisering av apparater
Når du innretter en trådløs gruppe med vekten, söker dette etter andre aktive apparater fra seca 360^ wireless-systemet. Vektens display viser de identifi-serte apparatene som moduler (f.eks. MO 3). Tallene har følgende betydning:
• 1 : P er so n v e k t
2: Målestav for lengde
- 3: Trådløs skriver
- 4: PC med seca tradløs USB-modul
- 7 : B a b y v e k t
- 5, 6 og 8-12: Reservert for systemutvidelser
7.2 Bruk av vekten i en tradløsgruppe (meny)
Alle funksjoner som du trenger for Å bruke apparatet i en seca trådløs gruppe, befinner seg i untermeny „rF". Du finner opplysninger om hvordan du navigerer i menyen på Side 251.

Aktivere tradløs modul (SYS)
Nár du aktiverer den tradlõse modulen, øker apparatets stromforbruk. Vi anbefaler Å bruke nettadapter nár apparatet skal brukes i et tradløst nettverk.
595
On
- Slå apparatet på.
- Velg menypunktet „SYS“ i untermenyen „rf".
- Bekreft valget.
- Velg innstillingen „on".
- Bekreft valget.
Menyen forlates automatisk.
Innette tradløs gruppe (Lrn)
7. Bekreft valget av tradløs gruppe.
Apparatet foreslår et kanaltall for kanal 1 (her C1 „0”).
Du kan bruke det foreslåtte kanaltallet eller stille inn et annet kanaltall med piltastene.
8. Bekreft valget for kanal 1.
Apparatet foreslår et kanaltall for kanal 2 (her C2 „30").
Du kan bruke det foreslåtte kanaltallet erler stille inn et annet kanaltall med piltastene.
MERKNAD:
Du kan bruke det foreslåtte kanaltallet eller stille inn et annet kanaltall med piltastene.
10. Bekreft valget for kanal 3.
Meldingen STOP vises i displayet.
Apparatet venter på signaler fra andre tradløse apparater innenrekkevidde.
MERKNAD:
Dersom du har integrett flere encheter i den tradlose gruppen, trykker du flere ganger pa piltastene for a forvisse deg om at vekten har identisert alle apparatene.
- Forlat menyen med Enter-tasten, aller vent til menyen forlates automatisk.
Aktivere automatisk overføring (ASend)
Du kan konfigurere apparatet sik at måleresultatene sendes automatisk til alle mottaksklare mottakere som er registrint i samme trådløse gruppe (f.eks.: trådløs skriver, PC med trådløs USB-modul).
MERKNAD:
Dersom du bruker tradløs skriver, ma du kontrollere at utskriftsalternativet ikke er satt pp "off" (se "Velg utskriftsalternativ (APrt)" på side 259).
ASEnd
- Slå apparatet på.
On
-
Velg den innstillingen som passer for din apparatakonfigurasjon:
-
HI: Måleresultater fra lengdemålere
- MA: Måleresultater fra vekter
- HI_MA: Måleresultater fra lengdemålere og vekter
-
off: Ingen automatisk utskrift. Det skrives kun ut nar Enter-tasten trykkes lenge under veilingen.
-
Bekreft valget.
Menyen forlates automatisk.
Stille inn klokkeslett (Time)
Du kan konfigurere systemet slick at den tradlose skriveren automatisk setter inn dato og klokkeslett i maleresultatene. Da ma du stille inn dato og klokkeslett en gang på dette apparatet og overfore innstillingen til den tradlose skriverens interne klokke.
MERKNAD:
- Still inn korrekt arstall.
- Bekreft valget.
- Gjenta punkt 3. og 4. tilsvarende for „Måned“ („non „, Dag“ (dR), time (hour) og minutt (in).
- Bekreft hvert enkelt valg.
Etter at innstillingen for minutt er bekreftet, forlates menyen automatisk.
Innstillingene overfores automatisk til den tradlose skriveren.
Den tradlose skriveren setter automatisk inn dato og klokkeslett i hver utskrift.
MERKNAD:
Nár det gjelder den videre betjeningen av den tradlose skriveren, ma du folge dennes braupsanvisning.
8. RENGJØRING
Rengjør beegg og hus erter behov med rengjøringsmiddel for husholdning ell er vanlig desinfeksjonsmiddel. Følg produsentens instruksjoner.
Du på unkke under noen omstendighet bruke skurende eller sterke rengjöringsmidler, sprit, bensin eller likende til rengjöringen. Slike midler kan skade de verdifulle overflatene.
| Feil Årsak/utbedring | |
| ... ingen vekt vises nær vekten belastes? | Vekten forsynes ikke med strøm. - Kontroller om vekten er slätt på. - Kontroller om det er satt i batterier. |
| ... 00gressive vises før veiing? | Vekten ble belastet før den ble slätt på. - Avlast vekten. - Slå vekten av og på igjen. |
| ... et segment lyser kon-tinueregler eller ikke i det hele tatt? | Feil på det aktuelle stedet. - Informer vedlikeholdsservice. |
| ... indikeringen vises? | Batterispenningen avtar. - Sett i nye batterier på snart som mulig. |
| ... indikeringen bRtE vises? | Batteriene er tome. - Sett i nye batterier. |
| ... indikeringen StOP vises? | Maks. last er overskredet. - Avlast vekten. |
| ... indikeringen lENP vises? | Vektens omgivelsestemperatur er for hjøller for lav. - Still opp vekten ved en omgivelsestemperatur mellom +10 °C og +40 °C. - Vent i ca. 15 minutter til vekten har tilpasset seg omgivelsestemperaturen. |
| Feil Årsak/utbedrning | |
| ... det høres to signalto-ner første gang det sen-des@måeresultater etter at vekten er slätt på? | · Apparatet kinne ikke sende måleresultater til den trådløse mottakeren (trådløs seca-skriver eller PC med trådløs seca USB-modul). - Forviss deg om at vekten er integrett i det trådløse nettverket. - Forviss deg om at mottakeren er slätt på. · Mottaket er forstyrret av HF-apparater iærheten (f.eks. mobilitelefon). - Hold HF-apparater på en minsteavstand på 1meter fra sendere mottakere i det trådløse seca nettverket. MERKNAD: Dersom dette feilen ikke utbedres, lyder det ikke nye akustiske alarmer under senere sendeførsøk. |
| ... bare punktet „SYS“ er synlig i rf-menyen? | · Den trådløse modulen er deaktivert. - Aktiver den trådløse modulen (se “Aktivere trådløs modul (SYS)” på side 257). |
| ... bare punktene „SYS“ og „lrln“ er synlige i rf-menyen? | · Den trådløse modulen er aktivert, men det er/DDke innrettet en trådløs gruppe. - Innrett en trådløs gruppe (se “Innrette trådløs gruppe (Lrn)” på side 257). |
| ... punktene „APrt“ og „Time“ ikke er synlige i rf-menyen? | · Ingen trådløs skriver er registrett i den trådløse gruppen. - Registerer trådløs skriver i den trådløse gruppen ved hjelp av menypunktet „lrln“ (se “Innrette trådløs gruppe (Lrn)” på side 257). |
| ... indikeringen Er:H:11vises? | Vekten er belastet for mye eller for mye i ett hjørne. - Avlast vekten eller fordel vekten jevnere. - Start vekten på nytt. |
| ... indikeringen Er:H:12vises? | Vekten ble slätt på med for stor belastning. - Avlast vekten. - Start vekten på nytt. |
| ... indikeringen Er:H:16vises? | Vekten ble justert mens den vibrente. Det var/DDke muligøy Beregne nullpunktet. - Start vekten på nytt. |
| ... Enter-tasten (send/print) trykkes og indikeringen Er:H:71vises? | Ingen dataoverføring mulig. Den trådløse modulen er deaktivert. - Aktiver den trådløse modulen (se “Aktivere trådløs modul (SYS)” på side 257). |
| Feil Årsak/utbedring | |
| ... Enter-tasten (send/print) trykkes og indikeringen ER:H:72 vises? | Ingen dataoverføring mulig. Det er ikke innrettet trådløs gruppe. - Innrett en trådløs gruppe (se “Innrette trådløs gruppe (Lrn)” på side 257). |
10.VEDLIKEHOLD/KALIBRERING
10.1 Opplysninger om vedlikehold og kalibrering
Vi anbefaler at det utfores vedlikehold på apparatet, fordet utfores kalibrering.
OBS!
Feilmålinger på grunn av ukorrekt vedlikehold
- Sørg for at vedlikehold og reparasjoner kun utføres av en autorisert servicepartner.
- Servicepartnere i nærhen finner du pa www.seca.com, aller send en e-post til service@seca.com.
Sorg for at autoriserte personer utfomer en kalibrering i samsvar med gjeldende nasjonale forskritter. Aret for feste kalibrering er angitt bak CE-merket pa merkeplaten, over nummeret til angitt organisasjon 0109 (Hessische Eichdirektion).
Det kreves i alle fall en ny kalibrering dersom ett ell er flere forseglingsmerker er blitt skadet, aller dersom innholder i kalibreringstalleren ikke stemmer overens med tallet på det gyldige kalibreringstellermerket.
10.2 Kontroll av kalibreringstellerinnholdet
Denne seca-vekten er kalibrert. Kalibreringer skal bare utføres av autoriserte organisasjoner. For Å sikre at dette overholds, er vekten utstyrt med kalibreringsteller som opptegner alle endringer av kalibreringsteknisk relevante data.
Gåfram på følgende@mæte for á kontrollere om vekten er forskriftsmessig kalibrert:
- Slå ev. vekten av.

2


- Hold en vilkårlig tast trykket og start vekten.
I displayet blinker i noen få sekunder det aktuelle kalibreringstellerinnholdet. - Sammenlign det angitte kalibreringstellerinnholdet med det tallet som er angitt på kalibreringsteller-merket.
De to tallene må vår identiske for at kalibreringen skal väre gyldig. Dersom merket og kalibreringstalleren ikke eridentiske, må det utføres en kalibrering. Henvend deg til din servicepartner eller seca-kundeservice. Dersom ny kalibrering blir nødvendig, brukes kalibreringsmerket ved sider av til Å merke kalibreringstallerstanden i stedet for det seca-kalibreringstellermerket som er avbildet ovenfor. Dette merket forsegles med et tilleggssegl av den personen som er autorisert for kalibreringen. Kalibreringsmerket kan rekvireres fra seca-kundeservice med nummeret 14-05-01-886.
11.TEKNISKE DATA
11.1 Generelle tekniske data
| Tekniske data seca 704 | |
| Dimensjoner • Dybde • Bredde • Høyde | 520 mm 360 mm 930 mm |
| Egenvekt 17 kg | |
| Temperaturområde +10°C til +40 °C | |
| Tallhøyde 25 mm | |
| Strømforsyning | Batteri Nettadapter (alternative) |
| Strømforbruuk • med deaktivert trådløs modul • med aktivert trådløs modul | ca. 32 mA ca. 50 mA |
| Maks. brukstid ved batteridrift • med deaktivert trådløs modul • med aktivert trådløs modul | ca. 5.600 minutter Nettadapter anbefales |
| Medisinsk produit iht. direktiv 93/42/EØF og 2007/47/EF | Klasse I med@målefunksjon |
| Kalibrering iht. direktiv 2009/23/EF Klasse III | |
| EN 60 601-1: • Sikkerhetsisolert apparat, sikkerhetsklasse II: • Elektromedisinsk apparat, type B: | ☐ |
| 大 | |
| Trådløs overføring • Frekvensbänd • Sendeytelse • Oppfylte standarder | 2,433 GHz - 2,480 GHz < 10 mW EN 30028, EN 301 489-1, -17 |
11.2 Veietekniske data
| Veietekniske data | |
| Kalibrering iht. direktiv 2009/23/EF Klasse III | |
| Maks. last • Vektområde 1 • Vektområde 2 | 150 kg 300 kg |
| Min. last • Vektområde 1 • Vektområde 2 | 1 kg 2 kg |
| Findeling • Vektområde 1 • Vektområde 2 | 50 g 100 g |
| Taringsområde inntil 300 kg | |
| Nøyaktighet ved første kalibrering • Vektområde 1: 0 til 25 kg • Vektområde 1: 25 til 100 kg • Vektområde 1: 100 kg til 150 kg • Vektområde 2: 0 til 50 kg • Vektområde 2: 50 til 200 kg • Vektområde 2: 200 kg til 300 kg | ± 25 g ± 50 g ± 75 g ± 50 g ± 100 g ± 150 g |
12.TILBEHØR
| Tilbehør Artikkelnummer | |
| seca trådløst nettverk seca 360° wireless: • Trådløs skriver - seca 360° Wireless Printer 465 - seca 360° Wireless Printer Advanced 466 • PC-programvare - seca analytics 105 • Trådløs USB-modul seca 360° Wireless USB adapter 456 | Spesifikke nasjonale varianter Spesifikke nasjonale varianter Brukerspesifikke lisenspakker 456-00-00-009 |
| Strømforsyning: • Pluggbar adapter, Euro: 230 V~ / 50 Hz / 12 V= / 150 mA • Switchmode nettadapter: 100-240 V~ / 50-60 Hz / 12 V= / 0,5 A | 68-32-10-252 68-32-10-265 |
| Annet tilbehør • Teleskop-målestokk seca 220,@maleområde: 890 - 2000 mm, deling: 1 mm, materiale: Hard eloksert aluminium, skyver med låsbar måletunge • Teleskop-målestokk seca 220 (dobbelt- deling),@maleområde: 890 - 2000 mm og 35 " - 78 3/4 ", deling: 1 mm og 1/8 ", materiale: Hard eloksert aluminium, skyver med låsbar måletunge | 220-17-14-004 220-18-14-004 |
13.AVHENDING
13.1 Avhending av apparatet

Apparatet skal seks kastes i husholdningsavfallet.
Apparatet mä avhendiges forskriftsmessig som elektronisk avfall. Følg gjeldende nasjonale forskritter. Henvend deg til.Var service for a fã mer informasjon:
service@seca.com
13.2 Batterier og akkumulatorer

Kast-ilke bruke batterier og akkumulatorer i husholdningsavfallet, uavhengig av om de inneholder skadelige stoffer erler ici. Som forbruker er du forpliktet av lovverket til a avendige batterier og akkumulatorer via kommunale depoter erler handelens depoter. Batterier og akkumulatorer skal bare leveres inn i fullstendig utladet tilstand.
14.GARANTI
For mangler som kan tilbakefores til material-ller fabrikasjonsfeil, gjelder en to ars garanti fra leveringsdato. Alle bevegelige deler, som f.eks. batterier, kabler, nettadaptrere, akkumulatorer etc., er unntatt fra这部分 garantien. Mangler som dekker av garantien, utbedres gratis for kunden mot framlegging av kvittering for kjo-pet. Andre krav kan ilke tas til folge. Kostnader for transport til og fra reparasjonssted ilegges kunden, der som apparatet befinner seg pa et annet sted enn kun-dens forretningsadresse. Ved transportskader kan garantikrav kun gjores gjeldende dersom den komplette originaemballasjen ble brukt til Transporten, og dersom vekten ble sikret og festet i dette i samsvar med original emballert tilstand. Ta derfor var på alle delene av emballasjen.
Garantien tapes dersom apparatet Åpnes av personer som ikke har uttrykkelig autorisasjon fra seca til Å gjore dette.
Vi ber om at kunder i utlande henvender seg direkte til forhandleren i det aktuelle landet ved krav om garantiytelse.
SISÄLLYSLUETTELO
EF-konstruksjonstype-godkjennelse D05-09-016
... er i samsvar med monsteret som er beskrevi ser-tifikatet over konstruksjonstype-godkjennelsen.
Vekten oppfyller gjeldende krav i folgende direktiver: 2009/23/EF om seks-automatiske VKter; 93/42/EØF og direktiv 2007/47/EF om medisinskeprodukter, EN 45501 om metrologiske aspekter ved seks-automatiske VKter; EN 300 328, EN 301 489-1 og -17 om elektramagnetisk kompatibilitet og ting som angar spekteret av radiosignaler.
EnkelManual