704 - Bilance SECA - Manuale utente e istruzioni gratuiti
Trova gratuitamente il manuale del dispositivo 704 SECA in formato PDF.
Domande frequenti - 704 SECA
Domande degli utenti su 704 SECA
0 domanda su questo apparecchio. Rispondi a quelle che conosci o fai la tua.
Fai una nuova domanda su questo apparecchio
Scarica le istruzioni per il tuo Bilance in formato PDF gratuitamente! Trova il tuo manuale 704 - SECA e riprendi in mano il tuo dispositivo elettronico. In questa pagina sono pubblicati tutti i documenti necessari per l'utilizzo del tuo dispositivo. 704 del marchio SECA.
MANUALE UTENTE 704 SECA
- Con lettera e sigillo . 106
- Descrizione dell'apparecchio 107
2.1 Sentiti complimenti! 107
2.2 Destinazione d'uso 107
- Informazioni sulla sicurezza. 108
3.1 Indicazioni basilari per la sicurezza. 108
3.2 Indicazioni per la sicurezza in queste istruzioni per l'uso . . .109
3.3 Utilizzo di batterie e accumulatori. 109
- Panorama 110
4.1 Elementi di lavoro . . . . . . 110
4.2 Simboli sul display 111
4.3 Indicazioni sulla targhetta . . . 112
4.4 Struttura del menu 113
- Prima di cominciare veramente...114
5.1 Montaggio della colonna. . . . . 114
5.2 Predisposizione alimentazione elettrica. 115
Inserimento delle batterie 115
Collegamento dell'alimentatore (optional). 115
5.3 Installazione della bilancia . . . .116
- Utilizzo 116
6.1 Pesatura. 116
Avvio della pesatura . 116
Pesatura di neonati/bambini piccoli (2 in 1) .116
Visualizzazione permanente del risultato di misura (HOLD).117
Determinazione e valutazione del Body Mass Index (BMI) . . .118
Calcolo e stampa automaticidel BMI 118
Invio dei risultati di misura al destinatario radio 119
Spegnimento della bilancia . .119
6.2Altre funzioni (menu) 120
Navigazione nel menu. 120
Cancellazione automatica dei valori memorizzati (AClr) 121
Memorizzazione permanente del peso supplementare (Pt) . . 121
Attivazione funzione Autohold (Ahold) 122
Attivazione segnali acustici (BEEP) 123
Impostazione dell'attenuazione (Fil) 123
Ripristino delle impostazioni di fabbrica (RESET). 124
- Rete radio seca 360^ wireless 124
7.1 Introduzione 124
seca Gruppi radio 125
Canali 125
Riconoscimento apparecchio . 126
7.2 Utilizzo della bilancia in un gruppo radio (menu) 126
Configurazione del gruppo radio (Lrn) 127
Attivazione trasmissione automatica (ASend) 128
Attivazione del modulo radio (SYS) 126
Selezione dell'opzione di stampa (APrt) 129
Impostazione dell'ora (Time) . 129
8.Pulizia. 130
9.Cosa fare,se... 130
- Manutenzione/ripetizione della verifica metrologica. 132
10.1 Informazioni sulla manutenzione e sulla ripetizione della verifica metrologica. 132
10.2 Controllo del contento del contatore di taratura 133
- Dati tecnici 134
11.1 Dati tecnici generali. 134
11.2 Dati di pesatura tecnici . . . . . 134
- Accessori 135
13.Smaltimento. 136
13.1 Smaltimento dell'apparecchio 136
13.2 Batterie e accumulatori. 136
14.Garanzia 137
1. CON LETTERERA E SIGILLO

M




Con i prodotti seca non acquistate solo una tecnia maturata in altri un secolo, bensianche una qualità conformata dalle autorità, alla legge e da parte di istuti. I prodotti seca sono conformi alle direttive e alle norme europee, nonché alle leggi nazionali. Con seca acquistate il futuro.
I prodotti descritti in quello manuale d'istruzioni sono conformi alla legge sui prodotti medicali, vale a dire le direttive 93/42/CEE e 2007/47/CE del Consiglio della Comunità Europea, che è stata accolta in tutte Europa nella legislazione nazionale.
Le bilance che portano quello contrassegno sono conformi alla direttiva europea sulle bilance 2009/23/ CE. Le bilance seca recanti quello marchio sono conformiagli elevati standard qualitativi e tecnici,che devono essere soddisfatti dlalle bilance non soggette all'obbligo di taratura.
Le bilance che portano quello contrassegno soddisfano gli elevati standard della categoria di taratura III e possono essere utilizzate per misurazioni soggette a obbligo di taratura in medicina.
I prodotti recanti quello marchio sono conformi alle seguenti direttive e norme
- Direttiva 2009/23/CE in materia di bilance a funzionamento non automatico
- Direttive 93/42/CEE e 2007/47/CE in materia di prodotti medicali
- DIN EN 45501 sugli aspetti metrologici delle bilanza a funzionamento non automatico
La professionalità seca è riconosciutaanche a livello ufficiale. Il TÜV Product Service, I'istuto di certificazione competente per i prodotti medicali ha certificato che seca, in quanto produttore di prodotti medicali, soddisfa i più rigorosi requisiti di legge in materia. Ilsystema di assicurazione della qualità seca comprendi setttori Design, Sviluppo, Produzione, Vendita e Assistenza di bilance per il settore medicale e sistemi di misurazione.

seca aiuta l'ambiente. La preservazione delle risorse naturali ci sta a cuore. Pertanto ci sforzano di risparmiare materiale da imballaggio laddove risultta ragionevole. E quello che rimane più essere smaltito comodamente in loco grazie alsystema Duale.
2. DESCrizIONE DELL'APPARECCHIO
2.1 Sentiti complimenti!
Scegliendo la bilancia elettronica pesapersone seca 704 avete acquistato un appearecchio di grande precisione e al contempo robusto.
Da altre 170 anni, seca mette al servizio della salute la propria esperienza e, in quanto leader di mercato in molti paesi del mondo, stabilisce sempre nuovi standard per la pesatura e la misurazione grazie a prodotti innovativi.
2.2 Destinazione d'uso
La bilancia elettronica pesapersone seca 704iene impiegata principalmente negli ospedali, in ambulatori medici e in istituzioni di cura con ricovero in conformità alle norme nazionali.
Oltre alla determinazione tradizionale del peso, seca 704 offre una funzione per la determinazione del Body-Mass-Index. A tale scopo viene insertita mediante tastiera la statura e automaticamente viene calculato il Body-Mass-Index appartenente al valore del peso.
Mediante la rete radio seca 360^ wireless è possibile
trasmettere wireless i risultati di misura ad una stam-.
pante radio seca o ad un PC dotato del software
seca analytics 105 e del
seca 360^ Wireless USB adapter 456.
La seca 704 può essere movimentata grazie alle rotelle ed è idonea per un uso mobile prolongato grazie al ridotto consumo di corrente con un gruppo batterie.
3. INFORMAZIONI SULLA SICUREZZA
3.1 Indicazioni basilari per la sicurezza
- Rispetto are indicazioni contenate in queste istruzioni per l'uso.
- Conservare con cura le istruzioni per l'uso e la dichiarazione di conformità in esse contentuta.
- Accertarsi che la bilancia abbia una Buona stabilità su un fondo piano.
- Non fare cadere la bilancia. Non esporre la bilancia a forti urti.
- Se si utilizes la bilancia con un alimentatore, posare il cavo di rete in modo che non sussista alcun pericolo d'inciempo.
- Fare eseguire interventi di manutenzione e di verifica metrologica successiva a intervalli regolari vedere "Manutenzione/ripetizione della verifica metrologica" a pagina 132.
- Fare eseguire gli interventi di manutenzione e riparazione esclusivamente dai partner di assistenza autorizzati. Per conoscere il partner di assistenza più vicino visitare il site www.seca.com o INViare un'e-mail a service@seca.com.
- Utilizzare esclusivamente accessori e ricambi originali seca. In caso contrario, seca non fornisce alcuna garanzia.
- Con appearecchi ad alta frequenza come ad es. cellulari tenersi ad una distanza minima di circa 1 metro, al fine di evitare errorsi di misurazione o anomalie durante la trasmissione radio.
3.2 Indicazioni per la sicurezza in queste istruzioni per l'uso

PERICOLO!
Indica una situazione di estremo pericolo. La mancata osservanza di esta significazione comporta lesioni gravi irreversibili o mortali.

AVVERTENZA!
Indica una situazione di estremo pericolò. La mancata osservanza di但这a indica più causare lesioni gravi irreversibili o mortali.

CAUTELA!
Indica una situazione di pericolo. La mancata osservanza di esta indicatorie cui cause lesioni da entità leggera a media.
ATTENZIONE!
Indica un possibile utilizzato errato dell'apparecchio. La mancata osservanza di esta indicatorie cui poto causare danni all'apparecchio o a risultati di misura errati.
INDICAZIONE:
contiene informazioni aggintive relative all'utilizzo dell'apparecchio.
3.3 Utilizzo di batterie e accumulatori
Questo apparecchioiene fornito con 6 batterie mignon, tipo AA. Questo tipo di batterie non è ricaricabile. Rispetto le seguentiindicazioni per la sicurezza.

AVVERTENZA!
Danni a persona a seguito di un utilizzo improprio
Le batterie contengono sostanze nocive che possono liberarsi sotto forma di esplosione in caso di utilizzo improprio.
- Non tentare di ricaricare le batterie.
- Non riscaldare le batterie/gli accumulatori.
- Non bruciare le batterie/gli accumulatori.
- Se è fuoriuscito dell'accido, evitare il contatto con pelle, occhi e mucose. Sciacquare i punti interessati solo con acqua pulita e rivolgersi immediatamente ad un medico.
ATTENZIONE!
Danni all'apparecchio e malfunzionamento a seguito di utilizzo improprio
- Utilizzare esclusivamente il tipo di batterie/di accumulatore indicato vedere "Inserimento delle batterie" a pagina 115.
- Sostituire sempre tutte le batterie/tutti gli accumulatori contemporaneamente.
Non cortocircuitare le batterie/gli accumulatori. - Se l'apparecchio non viene utilizzato per un lungo periodo, togliere le batterie/gli accumulatori. In quello modo l'accido non può penetrare nell'apparecchio.
4. PANORAMICA
4.1 Elementi di lavoro

1 2 3 4

| N. | Elemento di lavoro | Funzione |
| 1 | Accensione e spegnimento della bilancia | |
| 2 | Tasto freccia • Durante la pesatura: - breve pressione: attivazione della funzione HOLD - lunga pressione: attivazione della funzione 2 in 1 • N el menu: - selezione del sottomenu, selezione della voce di menu - aUMENTO DEL VALORE | |
| 3 | bidi menu | Tasto freccia • Durante la pesatura: - breve pressione: attivazione della funzione BMI - lunga pressione: aperture del menu • N el menu: - selezione del sottomenu, selezione della voce di menu - riduzione del valore |
| 4 | sendcic | Tasto Invio • Durante la pesatura (se la rete radio è configurata): - breve pressione: invio del risultato di misura agli apparecchi pronti per la risizione (PC con modulo radio USB) - lunga pressione: stampa del risultato di misura (stampante radio) • N el menu: - conferma della voce di menu selezionata - memorizzazione del valore impostato |
| 5 | Display | Elemento di visualizzazione per i risultati di misura e per la configurazione dell'apparecchio |
| 6 | Vano batterie Alloggiamento per 6 batterie mignon, tipo AA, 1,5 Volt | |
| 7 | Collegamento di rete | Serve per collegare un alimentatore opzionale |
| 8 | Rotelle di tra-sporto | La bilancia più essere spostata grazie a queste rotelle |
| 9 | Vite di fissaggio piedini | 4 pezzi, servono per un esatto allineamento |
| 10 | Livella Indica se l'apparecchio è orizzontale | |
4.2 Simboli sul display


| Simbolo Significato | ||
| A | Batterie scariche | |
| B | Utilizzo con alimentatore | |
| C | Funzione non tarabile attiva | |
4.3 Indicazioni sulla targhetto
| Testo/Simbolo Significato | |
| ModellNumero | modello |
| Type Denominazione tipo | |
| Ser. No.Numero di serie | |
| Rispettare le istruzioni per l'uso | |
| Apparecchio elettromedicale, tipo B | |
| Apparecchio con isolamento di protezione, classe di protezione II | |
| FCC ID | Per gli USA: numero di omologazione dell'apparecchio presso l'auto-rità US Federal Communications Commission FCC |
| IC | Per il Canada: numero di omologazione dell'apparecchio presso l'autorità Industry Canada |
| CE | L'apparecchio è conforme alle norme e alle direttive CE |
| FC | Simbolo FCC (USA) |
| +--- | Utilizzato l'apparecchio solo con corrente continua |
| Non smaltire l'apparecchio nei rifiuti domestici | |
4.4 Struttura del menu
Nel menu dell'apparecchio sono disponibili altre funzioni. Queste consentono di configurare l'apparecchio in modo ottimale per le condizioni di utilizzo (dettagli da Pagina 120).


Apertura del menu:

Navigazione:
Apparecchi riconosciuti (Mo):
- 1: pesapersone
- 2:altimetro
- 3: stampante radio
- 4: PC con modulo radio USB
-7:pesaneonati
5. PRIMA DI COMINIARE VERAMENTE...
5.1 Montaggio della colonna

La colonna con display LCD può essere montata in due posizioni. Percio definire in quale direzione è leggibile il display - verso la superficie d'appoggio o di fronte.
-
Innestare lo schermo sulla colonna.
-
Inserire la colonna cavity nella colonna desiderata.
-
Avvitare la colonna dal basso alla piattaforma di pesatura.
Se necessario, poggiare la bilancia con cautela sul lato per serrare le viti.
- Collegare, come molto in figura, le spine del carvo di visualizzazione sul lato inferiore della piattaf forma di pesatura.
ATTENZIONE!
Malfunzionamento a seguito di errori di montaggio
Se si montano i cavi in modo che siano sotto tensione, ad es. se sono molto curvati o se le spine sono piegate, possono verificarsi visualizzazioni errate e guasti al display.
-
Posare tutti i cavi in modo che non siano molto curvi e che le spine non vengano piegate.
-
Predisporre un dispositivo di scarico della trazione, posando tutti i cavi nei rispetti supporti.
-
Fissare i cavi nei rispetti supporti.
- Riposizionare in posizione diritta la bilancia.
- Spingere lo schermo in basso, finché non si innesta sulla piattaforma di pesatura.
5.2 Predisposizione alimentazione elettrica

La bilanciaiene alimentata a batterie o con un alimentatore disponibile come accessorio.
Sono necessarie 6 batterie mignon, tipo AA, 1,5 Volt (in dotazione).
- Premere sulla chiusura del vano batterie.
- Aprire il coperchio del vano batterie verso il basso.
- Rimuovere il supporto delle batterie.
- Inserire le batterie nel supporto.
NOTA:
fare attenzione alla corretta polarità delle batterie (marcature nel supporto delle batterie). Se sul display compare la scritta bAtt, significa che le le batterie sono state inserte in modo invertito o che le batterie sono scariche.
- Inserire il supporto con le batterie nel vano batterie.
- Chijdere il vano batterie.
Collegamento dell'alimentatore (optional)
La bilancia può essere utilizzata con un alimentatore disponibile come accessorio.

AVVERTENZA!
Danni a persona e apparecchi a causa di alimentatori errati
I comuni alimentatori possono fornire una tensione maggiore rispetto a quella indicata sul vosto. La bilancia può surriscaldarsi, incendiarsi, fondere o andare in cortocircuito.
-
Utilizzare esclusivamente alimentatori a spina originali seca da 9 V o con tensione di uscita regolata a 12 Volt.
-
Innestare nell'alimentatore la spina di rete necessaria per l'alimentazione elettrica.
- Innestare la spina dell'apparecchio dell'alimentatore nella presa della bilancia.
- Inserire l'alimentatore in una presa di rete.

5.3 Installazione della bilancia

Viti di fissaggio piedini
ATTENZIONE!
Misurezione errata a seguito di accoppiamento Se la bilancia viene posata con il rispetto allog giamento ad es. su un asciugamano, il peso non viene misurato correttamente.
-
Posizione are la bilancia in modo che tocchi il fondo escludvamente con le viti di fissaggio dei piedini.
-
Posizione rla bilancia su un fondo solido e piano.
- Allineare la bilancia ruotando le viti di fissaggio dei piedini.
La bolla ad aria della livella deve trovarsi al centro del cerchio.
6. UTILIZZO
6.1 Pesatura
Avvio della pesatura 1. Accertarsi che la bilancia non sua carica.


- Premere il tasting Start.
Compare la scritta SECA, quando vengono visualizzati brevamente tutti gli elementi del display.
La bilancia è operativa quando sul display compare la scritta 00.
Se la bilancia viene utilizzata con un alimentatore, compare il significato
- Salire sulla bilancia e restare fermi.
- Leggere il risultato di misura.
Pesatura di neonati/ bambini piccoli (2 in 1)
Grazie alla funzione 2 in 1 è possibile determinare il peso di neonati e bambini piccoli. A tale scopo, durante la pesatura, il bambino viene tenuto fermo per un braccio da un adulto. Procedere come indicate di seguito:
- Accertarsi che la bilancia non sia carica.
- Chiedere all'adulto di salute sulla bilancia.
- Leggere il risultato di misura.

- Tenere premuto il tasto freccia (hold/2 in 1), finché non compare il messaggio NET sul display. Il peso viene memorizzato. Oo compare sul display.
ATTENZIONE!
Misurezione errata a seguito di peso di partenza diverso
Se la pesatura del bambino viene eseguita con un altro peso di partenza, il peso del bambino cui non èsso corretto.
- Accertarsi che la pesatura del bambino avenga sempre con l'adulto con il quale è stato determinato il peso di partenza.
- Accertarsi che il peso dell'adulto non cambì, ad es. poggiano un indumento.

- Chiedere all'adulto di fare salire il bambino sulla bilancia.
Il peso del bambino viene visualizzato.
Vengono visualizzati il symbolo ® simbolo , ® nonché i messaggi "HOLD" e "NET". - Chiedere all'adulto di scendere alla bilancia inseme al bambino.
- Per disattivare la funzione 2 in 1, premere il tasto freccia (hold/2 in 1), finché il symbolo ® simbolo , nonché i messaggi "HOLD" e "NET" non vengo-no più visualizzati o speggere la bilancia.
Visualizzazione permanente del risultato di misura (HOLD)

Se si attiva la funzione HOLD, il valore del peso continua a essere visualizzatoanche più aver scaricato la bilancia. Ciò consente di dare da mangiare al paziente prima di annotare il valore del peso.
- Accertarsi che la bilancia non sia carica.
- Chiedere al paziente di salire sulla bilancia.
- Premere brevamente il tasto freccia (hold/2 in 1). L'indicazione lampeggia, finché non viene misurato un peso stabile. Quindi il valore del peso viene visualizzato in modo permanente. Vengono visualizzati il symbolo (funzione non tarabile) e il messaggio "HOLD".
- Per disattivare la funzione HOLD, premere breve除去 il tasto freccia (hold/2 in 1). Il significato il messaggio "HOLD" non vengono più visualizzati.



NOTA:
se è attiva la funzione Autohold, il valore del peso viene visualizzato automaticamente in modo permanente. vedere "Attivazione funzione Autohold (Ahold)" a pagina 122.
Determinazione e valutazione del Body Mass Index (BMI)
Il Body-Mass-Index mette in relazione la statura e il peso, consentendoosi di averereindicazioni più precise rispetto ad es.al peso ideale secondo la formula di Broca. Viene indicato un Campo di tolleranza che vale come ottimale dal punto di vista della salute.





- Accertarsi che la bilancia non sia carica.
- Premere brevamente il tasting freccia (bm i / menu). Compare il messaggio "BMI". Sul display le frece lampeggiano. Viene visualizzata l'ultima statura insertita.
- É possible accettare la statura visualizzata o impostare un'altra statura con i tasti freccia.
- Confermare l'impostazione con il tasto Invio (send/print)
- Chiedere al paziente di salute sulla bilancia e di restare fermo.
- Leggere il BMI e confrontarlo con le categorie sost o elencate.
- Per disattivare la funzione BMI, premere brevamente il tasto Invio (send/print).
| BMI Valutazione | ne |
| Inferiore a 18,5 | Il paziente pesa troppo molto. Potrebbe esserci una ten- denza all'anaressia. Si raccomanda un aumento di peso per migliorare il benessere e le capacità. In caso di dubbi, consultare un medico specializzato. |
| Compreso tra 18,5 e 24,9 | Il paziente ha un peso normale. Può rianere nella situa- zione attuale. |
| Compreso tra 25 e 30 (preadiposità) | Il paziente presenta un sovrappeso da leggero a medio. Dovrebbe ridurre il peso se sussiste più una malattia (ad es. diabetes, ipertensione, gotta, disturbi al metabolismo dei grassi). |
| Superiore a 30 | Una riduzione di peso è urgente. Il metabolismo, la circa-lazione e le ossa vengono sollecitate. Si raccomanda una dieta adeguata, molta attività fisica e training comporta-mentale. In caso di dubbi, consultare un medico specia-lizzato. |
Calcolo e stampa automatici del BMI
Se si utilizeszza esta bilancia con una stampante radio e un altimetro del sistema seca 360^ wireless, è possibile calculare e stampare in automatico il BMI.
NOTA:
requisito per questa funzione è che gli apparecchi siano collegati insieme in un gruppo radio (vedere "Rete radio seca 360^ wireless" a pagina 124).
- Eseguire la pesatura.
- Premere brevamente il tasto Invio (send/print) della bilancia.
Il valore misurato viene inviato alla stampante radio ma non stampato.
- Eseguire la misurazione dell'altezza.
- Premere a lungo il tasto Invio (send/print) dell'altimetro.
Il valore misurato viene inviato alla stampante radio. Viene calculato il BMI.
Altezza, peso e BMI vengono stampati.
Invio dei risultati di misura al destinatorio radio

Se la bilancia è integrata in una rete radio seca 360^ wireless i risultati di misura possono essere inviati premendo un tastoagli appearecchi pronti per la ricezione (stampante radio, PC con modulo radio USB).
Premere il tasto Invio (send/print).
- Breve pressione del tasting: invio dei risultati di misura a tutti gli appearecchi pronti per la ricezione
-Lunga pressione del tasto: stampa del risultato di misura sulla stampante radio
Spegnimento della bilancia

Premere il tasting Start.
NOTA:
con il funzionamento a batterie, la bilancia si spegne automaticamente dopo un breve periodo di tempo se non viene caricata.
6.2 Altre funzioni (menu)
Nel menu della bilancia sono disponibili altre funzioni. Queste consentono di configurare la bilancia in modo ottimale per le condizioni di utilizzo.

- La descrizione della voce di menu "rF" si trova nel paragrafo "Utilizzo della bilancia in un gruppo radio (menu)" a pagina 126.
Navigazione nel menu 1. Accendere la bilancia.






- Tenere premuto il tasto freccia (bmimenu), finché non si après il menu.
Viene visualizzata sul display l'ultima você di menu selezionata (qui: Autohold "Ahold").
- Premere uno dei tasti freccia, finché non compare sul display la voce di menu desiderata (qui: attenuazione "Fil").
- Confermare la selezione con il tasto Invio (send/print).
Vengono visualizzati l'impostazione attuale per la voce di menu o un sottomenu (qui livello "0").





- Per modificare l'impostazione o aprire un altro sottomenu, premere uno dei tasti freccia, finché non viene visualizzata l'impostazione desiderata (qui: livello "2").
- Confermare l'impostazione con il tasto Invio (send/print).
Il menu si chiude automaticamente.
- Per effettuare altre impostazioni, riapire il menu e procedere come descripto.
NOTA:
se per circa 24 secondi non viene premuto alcun tasto, il menu si chiude automaticamente.
Cancellazione automatica dei valori memorizzati (AClr)
Per evitare che nella memoria dell'apparecchio restino risultati di misura non più attuali e che questi conduccono a calcoli errati del BMI, è possibile impostare la bilancia in modo che i risultati di misura vengano cancellati automaticamente dopo 5 minuti.

NOTA:
in alcuni modelli, questa funzione è attivata in fabbrica. Se lo si desidera, è possibile disattivarla.
- Selezionare nel menu la voce "ACIr".
- Confermare la selezione.
- Selezionare l'impostazione desiderata:
on off
- Confermare la selezione. Il menu si chiude automaticamente.
Memorizzazione permanente del peso supplementare (Pt)
Con la funzione Pre-Tara è possible memorizzare in modo permanente un peso supplementare e detrarlo automaticamente da un risultato di misura. É possible ad esempio memorizzare un peso forfettario per scarpe e vestiti e detrarlo quando dal risultato di misura quando un paziente viene pesato completenessmente vestito.

- Selezionare nel menu la你可以 "Pt". Compare il messaggio "Pt".

- Confermare la selezione.
Sul display le frece lampeggiano.
Il peso supplementare memorizzato per ultimo viene visualizzato.


Attivazione funzione Autohold (Ahold)
AHOLD
On
- É possible accettare il valore memorizzato o modificarlo con i tasti freccia.
NOTA:
se si inserisce il valore "0", la funzione si disattiva. Il messaggio "Pt" non viene più visualizzato sul display.
- Confermare la selezione.
- Chiedere al paziente di salute sulla bilancia.
Il peso del paziente viene visualizzato.
Il peso supplementare memorizzato viene detratto automaticamente. - Per disattivare la funzione, selezionare nel menu di nuovo la voce "Pt".
- Confermare la selezione. La funzione è disattivata. Il menu si chiude automaticamente.
Se si attiva la funzione Autohold, il valore di misura continua a essere visualizzato ad agli pesata dopo aver scaricato la bilancia. Non è quando più necessario attive manually ad gli pesata la funzione Hold.
NOTA:
- in alcuni modelli, questa funzione è attivata in fabbrica. Se lo si desidera, è possibile disattivarla.
-
Indipendente dell'impostazione qui selezionata, nella funzione 2in1, il peso del bambino viene sempre determinato mediante Autohold.
-
Selezionare nel menu la你可以 "Ahold".
-
Confermare la selezione. L'impostazione attuale viene visualizzata.
-
Selezionare I'impostazione desiderata:
on off
- Confermare la selezione. Il menu si chiude automaticamente.
Attivazione segnali acustici (BEEP)
È possibile impostare se, ad agli pressione di un tasting e al raggiungimento di un valore di peso stabile, deve essere emesso un segnale acustico. Quest'ultimo è importante per la funzione Hold/Autohold.
BEEP
NOTA:
la funzione "Segnale acustico con valore di peso stabile" viene attivata in fabbrica. Se lo si desidera, è possibile disattivare但这a funzione.
PreSS
0n
- Selezionare nel menu la你可以 "BEEP".
- Confermare la selezione.
-
Selezionare una voce di menu:
-
press: segnale acustico alla pressione di un tasto,
-
hold: segnale acustico con valore di peso stabile.
-
Confermare la selezione.
L'impostazione attuale viene visualizzata.
-
Selezionare l'impostazione desiderata:
-
on
-
off
-
Confermare la selezione.
Il menu si chiude automaticamente. - Se si desiderano attivare i segnali acusticianche per la seconda funzione, ripetere la procedura.
Impostazione dell'attenuazione (Fil)
FIL
FIL0
FIL2
Con la funzione Attenuazione (Fil = Filtro) è possibile ridurre le anomalie durante la determinazione del peso (ad es. a causa di movimenti del paziente).
- Selezionare nel menu la你可以 "Fil".
- Confermare la selezione.
L'impostazione attuale viene visualizzata.
-
Selezionare un livello di attenuazione.
-
0: attenuazione minima
- 1: attenuazione media
-
2: attenuazione massima
-
Confermare la selezione.
Il menu si chiude automaticamente.
Ripristino delle impostazioni di fabbrica (RESET)
Per le seguenti funzioni è possibile ripristinare le impostazioni di fabbrica
| Funzione | Impostazione di fabbrica |
| Autohold (Ahold) In base al modello | |
| Segnale acustico (Press) Off | |
| Segnale acustico (Hold) On | |
| Attenuazione (Fil) 0 | |
| Autoclear (Aclear) In base al modello | |
| Pre-Tara (Pt) 0 kg | |
| Altezza per Body Mass Index (BMI) | 170 cm |
| Modulo radio (SYS) Off | |
| Autosend (ASend) Off | |
| Autoprint (APrt) Off | |
NOTA:
durante il ripristino delle impostazioni di fabbrica, il modulo radio viene spento. Le informazioni sui gruppi radio esistenti vengono conservate. I gruppi radio non devono essere riconfigurati.
RESET
- Selezionare nel menu la你可以 "Reset".
- Confermare la selezione.
Il menu si chiude automaticamente.
- Spagnere la bilancia.
Le impostazioni di fabbrica vengono ripristinate e sono disponibili quando la bilancia viene riaccessa.
7. RETE RADIO SECA 360^ WIRELESS
7.1 Introduzione
Questo appearecchio è dotato di un modulo radio. Il modulo radio consente la trasmissioneenza fili dei risultati di misura ai fini della valutazione e documentazione. É possibile trasmettere i dati ai seguenti appearecchi:
- seca stampante radio
- PC con seca modulo radio USB
seca Gruppi radio


La rete radio seca 360^ wireless funzione con gruppi radio. Un gruppo radio è un gruppo virtuale di mittenti e destinatari. Se si devono gestire più mittenti e destinatari dello stesso tipo, quello appearecchio consente di configurare fino a 3 gruppi radio (0, 1, 2).
La configurazione di più gruppi radio assicura una trasmissione affidavitile e correttamente indirizzate dei valori di misura qualora si debbano gestire più sale ospedaliere con dotazioni degli appearecchi simili.
La distanza massima tra mittente e destinatario è parl a circa 10 metri. Determinate situazioni locali, ad es. spessore e caratteristiche delle pareti possono ridurre la portata.
Per gruppo radio è possibile la segunte combinazione di appearecchi:
- 1 pesaneonati
- 1 pesapersone
1altimetro - 1 seca stampante radio
- 1 PC con seca modulo radio USB
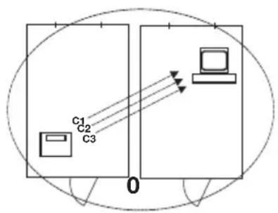
Canali

All'interno di un gruppo radio, gli appearecchi comunicano fra loro su tre canali (C1, C2, C3). In quello modosi garantisce una trasmissione dati affidabile e priva di errorsi.
Quando si configura un gruppo radio con但这a bilancia, l'apparecchio propone tre canali che assicurano una trasmissione dei dati ottimale. L'azienda raccomanda di accettare i numeri canale proposti.
È possibile selezionare i numeri canale (da 0 a 99)\ anche manualmente, ad esempio, se si desiderano\ configurare più gruppi radio.
Al fine di assicurare una trasmissione dati priva di errorsi, i canali devono trovarsi ad una distance sufficiente gli uni dagli altri. Raccomandiamo una distance di almeno 30. Ogni numero canale cui possono essere utilizzato solo per un canale.
Esempio di configurazione; numero canale con configurazione di 3 gruppi radio all'internalo di un ambulatorio:
- gruppo radio 0: C1=_, C2=30, C3=60
- gruppo radio 1: C1=10, C2=40, C3=70
- gruppo radio 2: C1=20, C2=50, C3=80
Riconoscimento apparecchio
Quando si configura un gruppo radio con la bilancia, esta perché及其他 apparecchi attivi nel sistema seca 360^ wireless. Gli apparecchi rilevati vengono visualizzati sul display della bilancia come moduli (ad es. MO 3). I numero i hanno il seguente significato:
1: pesapersone
- 2:altimetro
- 3: stampante radio
- 4: PC con seca modulo radio USB
- 7 : p es a n e o n a t i
- 5, 6 e 8-12: riservati per ampliationo del systema
7.2 Utilizzo della bilancia in un gruppo radio (menu)
Tutte le funzioni necessarie per utilizzare l'apparecchio in un gruppo radio seca, si trovano nel sottomenu "rF". Informazioni sulla navigazione all'interno del menu si trovano a Pagina 120.

Attivazione del modulo radio (SYS)
L'apparecchio viene fornito con un modulo radio disattivato. É necessario attivarlo prima di configurare un gruppo radio.
NOTA:
quando si attiva il modulo radio, il consumo di corrente dell'apparecchio aumento. Per utilizzare l'apparecchio in una rete radio si raccomanda l'uso di un alimentatore.
- Accendere l'apparecchio.
595
- Selezionare nel sottomenu "rf" la voce di menu "SYS".
On
-
Confermare la selezione.
-
Selezionare l'impostazione "on".
-
Confermare la selezione. Il menu si chiude automaticamente.
Configurazione del gruppo radio (Lrn)
F
Lrn
Id 0
Id
10
[230
[360
Per configurare un gruppo radio, procedere come indicato di seguito:
- accendere l'apparecchio.
- Aprire il menu.
- Selezionare nel menu la你可以 "rf".
- Confermare la selezione.
- Selezionare nel sottomenu "rf" la你可以 di menu "Im" (learn).
- Confermare la selezione.
Il gruppo radio attualmente impostato (qui: gruppo radio 0 "ID 0")iene visualizzato.
Se il gruppo radio "0" esiste giorn e si desidera configurare un'alto gruppo radio con quello apparecchio, selezionare con i tasti freccia un alto ID (qui: gruppo radio 1 "ID 1").
- Confermare la selezione del gruppo radio.
L'apparecchio propone un numero canale per il canale 1 (qui C1 "0").
E possible accettare il numero canale proposto o impostarne uno con i tasti freccia.
- Confermare la selezione per il canale 1.
L'apparecchio propone un numero canale per il canale 2 (qui C2 "30").
E possible accettare il numero canale proposto o impostame uno con i tasti freccia.
NOTA:
la visualizzazione dei numeri canale a due cifre avvieneenza spazi. L'indicazione "C230" significa: canale "2", numero canale "30".
- Confermare la selezione per il canale 2.
L'apparecchio propone un numero canale per il canale 3 (qui C3 "60").
È possibile accettare il numero canale proposto o impostarne uno con i tasti freccia.
5eOP
- Confermare la selezione per il canale 3. Sul display viene visualizzato il messaggio STOP. L'apparecchio attende i segnali di altri appearecchio radio che si trovano nella portata.
NOTA:
per alcuni apparecchi è necessario seguire una procedura di accensione particolare se devono essere integrati in un gruppo radio. Rispetto le istruzioni per l'uso del rispetto apparecchio.
- Accendere l'apparecchio che si desidera integrare nel gruppo radio, ad es. una stampante radio. Dopo che la stampante radio è stata rilevata si sente un segnale sonoro.
NOTA:
non appena una stampante radio è stata integrata nel gruppo radio, è necessario configurare un'opzione di stampa (Menu\rf\APrt) e impostare l'ora (Menu\rf\time).
-
Ripetere l'operazione 11. per tutti gli appearecchi da integrare in quello gruppo radio.
-
Premere il tasto Invio per terminare la ricerca.
-
Premere uno dei tasti freccia per visualizzare quale apparecchi sono stati rilevati (qui: Mo 3 per una stampante radio).
Se sono stati integrati nel gruppo radio più apparrecchi, premere più volte i tasti freccia per accertarsi che tutti gli apparecchi siano stati rilevati alla bilancia.
- Uscire dal menu con il tasto Invio o attendere, finché il menu non si chiude automaticamente.
70 3
Attivazione trasmissione automatica (ASend)
È possibile configurare l'apparecchio in modo che i risultati di misura vengano inviati automaticamente a tutti i destinatari pronti per la riscezione e a tutti i destinatari collegati allo stesso gruppo radio (ad es.: stampante radio, PC con modulo radio USB).
NOTA:
se si utilizza una stampante radio, accertarsi che come opzione di stampa non sia impostato "off" (vedere "Selezione dell'opzione di stampa (APrt)" a pagina 129).
RSEnd
- Accendere l'apparecchio.
- Selezionare nel sottomenu "rf" la你可以 di menu "ASend" e confermare la selezione.
On
Selezione dell'opizione di stampa (APrt)
- Selezionare l'impostazione "on" e confermare la selezione.
Il menu si chiude automaticamente.
È possibile configurare l'apparecchio in modo che i risultati di misura vengano stampati automaticamente su una stampante radio collegata al gruppo radio.
NOTA:
questa funzione è accessibile solo se una stampante radio seca è stata integrata nel gruppo radio mediante la funzione "learn".
APRt
- Accendere l'apparecchio.
- Selezionare nel sottomenu "rf" la你可以 di menu "APrt" e confirmare la selezione.
-
Selezionare l'impostazione necessaria per la combinazione di apparecchi:
-
HI: risultati di misura degli altimetri
- M A : r i s u l t a t i d i m i sura delle
- HI_MA: risultati di misura degli altimetri e delle bilance
-
off: nessuna stampa automatica, la stampa ha luogo solo premendo a lungo il tasting Invio durante la pesatura.
-
Confermare la selezione.
Il menu si chiude automaticamente.
Impostazione dell'ora (Time)
È possibile configurare il sistema in modo che la stampante radio aggiunga automaticamente data e ora ai risultati di misura. A tale scopo è necessario impostare una volta sola data e ora nell'apparecchio e trasmetterle all'orologio interno della stampante radio.
NOTA:
questa funzione è accessibile solo se una stampante radio seca è stata integrata nel gruppo radio mediante la funzione "learn".
EINE
- Accendere l'apparecchio.
- Selezionare nel sottomenu "rf" la你可以 di menu "Time".
- Confermare la selezione. L'impostazione attuale per "Anno (Year)" viene visualizzata.
- Impostare il numero di anni corretto.
- Confermare la selezione.
YERIO
- Ripetere le operazioni 3. e 4. per "Mese" (non "Giorno" (dRy), Ora (hour) e Minuti (n. in
- Confermare risp. la selezione.
Dopo aver confermato l'impostazione dei minuti, il menu si chiude automaticamente.
Le impostazioni vengono trasmesse in automatico alla stampante radio.
La stampante radio aggiunge automaticamente data e ora ad agli stampa.
NOTA:
per ulteriori informazioni sull'utilizzo della stampante radio, consultare le rispettive istruzioni per l'uso.
8. PULIZIA
Pulire secondo necessità il rivestimento e l'alloggia-mentation della bilancia con un detersivo per usi domestici o un comune disinfettante. Rispettare leindicazioni fornite dal produttore.
Non utilizzato in alcun caso detersivi abrasivi o forti, spirito, benzina o simili. Tali prodotti potrebbero danneggiare le superfici di qualità.
9. COSA FARE, SE...
| Anomalia Causa/eliminazione | |
| ... a bilancia carica non appara alcuna indica-zione del peso? | La bilancia non è collegata alla corrente. - Verificare che la bilancia sia accesa - Controllare che le batterie siano inserte |
| ... prima della pesatura non compare 00? | La bilancia è stata caricata prima dell'accensione. - Scaricare la bilancia - Specnere e riaccendere la bilancia |
| ... un segmento resta sempre acceso o non si accende del tutto? | Il punto corrispondente presenta un erre. - Contattare il servizio di manutenzione. |
| ... appara l'indicazione ? | La tension delle batterie sta diminuendo. - Inserire batterie nuove quando prima |
| ... appara l'indicazione bATT? | Le batterie sono scariche. - Inserire batterie nuove |
| ... appara l'indicazione STOP? | Il carico massimo è stato superato. - Scaricare la bilancia |
| ... appare l'indicazione tEPN? | La temperature ambiente della bilancia è eccess-siva o insufficiente.- Posizionare la bilancia in un luogo con una temperatura ambiente compresa tra +10 °C e +40 °C- Attendere circa 15 minuti, finché la bilancia non si è adattata alla temperatura ambiente |
| ... dopo l'accensione, per la prima volta, vengono inviati i risultati di misura e si sentono due segnali acustici? | • L'apparecchio non è stato in grado di INViare alcun risultato di misura al destinatario radio (stampante radio seca o PC con modulo radio USB seca).- Accertarsi che la bilancia sia integrata nella rete radio.- Accertarsi che il destinatario sia acceso.La ricezione è disturbata da apparecchi ad alta frequenza che si trovano nelle vicinanze (ad es. Telefoni cellulari).- Con apparecchi ad alta frequenza teneri ad una distance minima di 1 metro dai mittenti e dai destinatari nella rete radioseca.NOTA:se questa anomalia non viene risolta, nel caso di ulteriori tentativi di invio non viene emesso alcun averporto acustico. |
| ... nel menu rf è visible solo la voce "SYS"? | • Il modulo radio è disattivato.- Attivare il modulo radio (vedere "Attivazione del modulo radio (SYS)" a pagina 126). |
| ... nel menu rf sono visibili solo le voci "SYS" e "Irn"? | • Il modulo radio è attivo e non è stata configurato alcun gruppo radio.- Configurare il gruppo radio (vedere "Configu-razione del gruppo radio (Lrn)" a pagina 127). |
| ... nel menu rf non sono visibili le voci "APrt" e "Time"? | • Nessuna stampante radio collegata al gruppo radio.- Collegare la stampante radio al gruppo radio alla voce di menu "Irn" (vedere "Configura-zione del gruppo radio (Lrn)" a pagina 127). |
| ... appare l'indicazione Er:H: I? | La bilancia è stata caricata eccessivamente nella parte superiore o in un angolo.- Scaricare la bilancia o distribuire uniforme il peso-Riavviare la bilancia |
| ... appare l'indicazione Er:H: 12? | La bilancia è stata accesa con un carico eccessivo. - Scaricare la bilancia - Riavviare la bilancia. |
| ... appare l'indicazione Er:H: 16? | La bilancia è stata spostata in modo naturale, il punto zero non può essere determinato. - Riavviare la bilancia |
| ... viene premuto il tasting Invio (send/print) e appare l'indicazione Er:H: 7 I? | Nessuna trasmissione dati possibile, il modulo radio è disattivato. - Attivare il modulo radio (vedere “Attivazione del modulo radio (SYS)” a pagina 126). |
| ... viene premuto il tasting Invio (send/print) e appare l'indicazione Er:H: 72? | Nessuna trasmissione dati possibile, nessun gruppo radio configurato. - Configurare il gruppo radio (vedere “Configu-razione del gruppo radio (Lrn)” a pagina 127). |
10.MANUTENZIONE/RIPETIZIONE DELLA VERIFICA METROLOGICA
10.1 Informazioni sulla manutenzione e sulla ripetizione della verifica metrologica
Prima della taratura dell'apparecchio consigliamo di far eseguire un intervento di manutenzione.
ATTENZIONE!
Errori di misurazione dovuti a una manutenzione impropriaria
- Fare eseguire gli interventi di manutenzione e riparazione esclusivamente dai partner di assistenza autorizzati.
- Per conoscere il partner di assistenza più vicino visitare il site www.seca.com o INViare un'e-mail a service@seca.com.
Fare eseguire da personale autorizzato una verificata metrologica della taratura successiva in conformità alle disposizioni di legge nazionali. L'anno della prima taratura si trova dietro il marchio CE sulla targhetto del modello sopra il numero dell'ente indicato 0109 (Direzione pesi e misure dell'Assia).
Una taratura successiva è sempre necessaria, se uno o più bolli di sicurezza sono danneggiati o se il contentuto del contatore di taratura con corrisponde al numero sul bollo metrico valido del contatore di taratura.
10.2 Controllo del contentuto del contatore di taratura

Questa bilancia seca è tarata. Le tarature sono essere eseguite solo da enti autorizzati. A garanzia di ciò, la bilancia è dotata di un contatore di taratura che registra agli variazione dei dati rilevanti dal punto di vista technique per la verifica metrologica.

Per controllare se la bilancia è tarata in modo conforme ai regolamenti, procedere come indicato di seguito:

- Se necessario, spagnere la bilancia.
- Tenere premuto un tasting qualsiasi e avviare la bilancia.
Sul display lampeggerà per alcuni secondi il contatore attuale del contatore di taratura.
- Confrontare il contento emesso dal contatore di taratura con il numero specificato sul bollo metrico del contato re di taratura.
Per una taratura valida, entrambi i numeroi devono coincidere. Se il bollo e il contatore di taratura non coincide, occorre eseguire una nuova taratura. Rivolgersi al partner di assistenza o al servizio tecnico assistenza clienti di seca. Se dovesse essere necessaria una ritaratura, indece del marchio del contatore di taratura illustrato sopra, per contrassegnare lo stato del contatore di taratura, si utilizzerà il marchio della ritaratura rappresentato a fianco. Questo marchioiene protetto con un sigillo supplementare alla persona autorizzata ad eseguire la ritaratura. Il marchio della ritaratura si può ottenere dal servizio tecnico assistenza clienti di seca con il numero di codice 14-05-01-886.

11.DATI TECHNICI
11.1 Dati tecnici generali
| Dati tecnici seca 704 | |
| Dimensioni • Pro f o nd i tà • Larghezza • A l t e z z a | 520 mm 360 mm 930 mm |
| Peso proprio 17 kg | |
| Campo di temperature +10° C - +40°C | |
| Altezza cîfre 25 mm | |
| Alimentazione elettrica | Batteria Alimentatore (optional) |
| Assorbimento di corrente • con modulo radio disattivato • con modulo radio attivato | Circa 32 mA Circa 50 mA |
| Durata massima con funzionamento a batterie • con modulo radio disattivato • con modulo radio attivato | Circa 5.600 minuti Alimentatore raccomandato |
| Prodotto medicale conforme alle direttive 93/42/CEE e 2007/47/CE | Classe I con funzione di misura |
| Verifica metrologica in conformità alla direttiva 2009/23/CE | Classe III |
| EN 60 601-1: • Apparecchio con isolamento di protezione, classe di protezione II • Apparecchio elettromedicale, tipo B | ☐ 大 |
| Trasmissione radio • Banda di frequenza • Potenza di trasmissione • Conformità alle norme | 2,433 GHz - 2,480 GHz < 10 mW EN 30028, EN 301 489-1, -17 |
11.2 Dati di pesatura tecnici
| Dati di pesatura tecnici | |
| Taratura secondo la direttiva 2009/23/CE Classe III | |
| Carico massimo • Campo di pesatura 1 | 150 kg |
| • Campo di pesatura 2 | 300 kg |
| Carico minimo • Campo di pesatura 1 • Campo di pesatura 2 | 1 kg 2 kg |
| Risoluzione • Campo di pesatura 1 • Campo di pesatura 2 | 50 g 100 g |
| Campo di taratura fino a 300 kg | |
| Precisione nella prima taratura • Campo di pesatura 1: 0 - 25 kg • Campo di pesatura 1: 25 - 100 kg • Campo di pesatura 1: 100 kg - 150 kg • Campo di pesatura 2: 0 - 50 kg • Campo di pesatura 2: 50 - 200 kg • Campo di pesatura 2: 200 kg - 300 kg | ± 25 g ± 50 g ± 75 g ± 50 g ± 100 g ± 150 g |
12.ACCESsORI
| Accessori Codice articolo | |
| seca rete radio seca 360° wireless • Stampante radio - seca 360° Wireless Printer 465 - seca 360° Wireless Printer Advanced 466 • Software PC - seca analytics 105 • Modulo radio USB seca 360° Wireless USB adapter 456 | Varianti specifiche per paese Varianti specifiche per paese Pacchetti di licenza specifici per applicazione 456-00-00-009 |
| Alimentazione elettrica • Alimentatore di rete, Euro: 230V~ / 50Hz / 12V= / 150mA • Alimentatore a commutazione: 100-240V~ / 50-60Hz / 12V= / 0.5A | 68-32-10-252 68-32-10-265 |
| Altri accessori • Asta telescopica seca 220, Campo di misura: 890 - 2000 mm, passo: 1 mm, materiale: alluminio duro anodizzato, corsoio con linguetta di misurazione a inesto • Asta telescopica seca 220 (passodoppio), Campo di misura: 890 - 2000 mm e 35 " - 78 3/4 ", passo: 1 mm e 1/8 ", materiale: allumi-nio duro anodizzato, corsoio con linguetta di misurazione a inesto | 220-17-14-004 220-18-14-004 |
13.SMALTIMENTO
13.1 Smaltimento dell'apparecchio

Non smaltire l'apparecchio con i rifiuti domestici. L'apparecchio deve essere smaltito correttamente come rifiuto elettronico. Rispettare le disposizioni nazionali vigenti. Per ulteriori informazioni rivolgersi al nostro servizio di assistenza al seguente indirizzo:
service@seca.com
13.2 Batterie e accumulatori

Non gettare le batterie e gli accumulatorati usati nei rifiuti domestici, indipendentemente dal fatto che questi contengano o meno sostanze nocive. In quanto consumatore avete l'obbligo giuridico di smaltire le batterie e gli accumulatoratitramite i centri di raccolta comunali o gli apposti contentitori presso il vostro rivenditore. Gettare le batterie e gli accumulatorati solo quando sono complemente scarichi.
14.GARANZIA
Per difetti riconducibili a errori di fabbricazione e relativi al materiale, l'azienda fornisce una garanzia di due anni a partire alla segna. Tutte le parti mobili, come ad es. le batterie, i cavi, gli alimentatori, gli accumulatoroli, ecc., sono esclusi alla garanzia. I difetti che rientano nella garanzia verranno eliminati Gratisamente per i clienti, diaetro presentazione della prova d'acquisto. Non verranno prese in considerazione altre rivendiazioni. Iosti per il trasporto di andata e ritorno sono a carico del cliente se I'apparecchio si trovato un luogo diverso da quello della sede del cliente. Nel caso di danni dovuti al trasporto è possibile fare valere i diritti di garanzia solo se per il trasporto è stato utilizzato l'imballo originale completingo e la bilancia è stata assicurata e fissata conformmente allo stato d'imballaggio originale. Conservare pertanto tutte le parti dell'imballo.
Non sussiste alcuna garanzia se l'apparecchio viene aperto da personne non espessamente autorizzate da seca.
I clienti all'estero devono rivolgersi, per i casi coperti da garanzia, direttamente al venditore del rispetto paese.
INDICE
- No menu, selezione o item "Pt".
- No menu, selezione o item "Fil".
FIL0
- Confirma a seleção.
La bilancia pesapersone non automatica
La báscula no automatica pesapersona
Omologazione del tipo costruttivo CEE D05-09-016
Homologacion CE D05-09-016
EF-typegodkendelse D05-09-016
EG-kontroll D05-09-016
...e conforme al campione descritto nel certificato di omologazione costruttiva.
La bilancia risponde alle vigenti esigenze poste dlles seguenti direttive:
La bilancia soddisfa i requisiti delle seguenti direttive:2009/23/CE in materia di bilance a funzionamento non automatico; 93/42/CEE e direttiva 2007/47/CE in materia di prodotti medicali, EN 45501 sugli aspetti metrologici delle bilance a funzionamento non automatico; EN 300 328, EN 301 489-1 e -17 in materia di compatibilità elettromagnetica e di spettro radio.
ManualeFacile