703 - Bilance SECA - Manuale utente e istruzioni gratuiti
Trova gratuitamente il manuale del dispositivo 703 SECA in formato PDF.
| Caratteristiche tecniche | Capacità massima: 200 kg, Precisione: 100 g, Dimensioni: 350 x 350 x 60 mm, Alimentazione: Batterie |
|---|---|
| Utilizzo | Progettata per uso medico e professionale, ideale per pesare pazienti in ambiente ospedaliero o clinico. |
| Manutenzione e riparazione | Pulire con un panno morbido, evitare prodotti abrasivi. Controllare regolarmente lo stato delle batterie. |
| Sicurezza | Non superare la capacità massima, utilizzare su una superficie piana e stabile per evitare cadute. |
| Informazioni generali | Garanzia di 2 anni, conforme alle norme di sicurezza vigenti, peso leggero per un facile trasporto. |
Domande frequenti - 703 SECA
Domande degli utenti su 703 SECA
0 domanda su questo apparecchio. Rispondi a quelle che conosci o fai la tua.
Fai una nuova domanda su questo apparecchio
Scarica le istruzioni per il tuo Bilance in formato PDF gratuitamente! Trova il tuo manuale 703 - SECA e riprendi in mano il tuo dispositivo elettronico. In questa pagina sono pubblicati tutti i documenti necessari per l'utilizzo del tuo dispositivo. 703 del marchio SECA.
MANUALE UTENTE 703 SECA
- Descrizione dell'apparecchio 98
1.1 Sentiti complimenti! 98
1.2 Destinazione d'uso .98
- Informazioni sulla sicurezza. .99
2.1 Indicazioni basilari per la sicurezza. 99
2.2 Indicazioni per la sicurezza in queste istruzioni per l'uso . . . .99
2.3 Utilizzo di batterie e accumulatori. 100
- Panorama 101
3.1 Elementi di lavoro . . . . . . . 101
3.2 Simboli sul display 102
3.3 Indicazioni sulla targhetto . . . .103
3.4 Struttura del menu 104
- Prima di cominciare veramente...105
4.1 Montaggio della colonna. . . . .105
4.2 Predisposizione alimentazione elettrica. 106
Inserimento delle batterie .106
Collegamento dell'alimentatore (optional). 106
4.3 Installazione della bilancia . . . .107
- Utilizzo 107
5.1 Pesatura. 107
Avvio della pesatura . 107
Pesatura di neonati/bambini piccoli (2 in 1) .107
Visualizzazione permanente del risultato di misura (HOLD) . . .108
Determinazione e valutazione del Body Mass Index (BMI) . . .109
Calcolo e stampa automatici del BMI 110
Invio dei risultati di misura al destinatario radio 110 Spagnimento della bilancia .110
5.2 Altre funzioni (menu) 111
Navigazione nel menu. 111
Cancellazione automatica dei valori memorizzati (AClr) 112
Memorizzazione permanente del peso supplementare (Pt) . . 112
Attivazione funzione Autohold (Ahold) 113
Attivazione segnali acustici (BEEP) 114
Impostazione dell'attenuazione (Fil) 114
Commutazione dell'unità di peso (Unit) 114
Ripristino delle impostazioni di fabbrica (RESET). 115
- Rete radio seca 360^ wireless . . . 116
6.1 Introduzione 116
seca Gruppi radio 116
Canali 116
Riconoscimento appearecchio . 117
6.2 Utilizzo della bilancia in un gruppo radio (menu) 118
Attivazione del modulo radio (SYS) 118
Configurazione del gruppo radio (Lrn) 118
Attivazione trasmissione automatica (ASend) 120
Selezione dell'opzione di stampa (APrt) 120
Impostazione dell'ora (Time) . . 121
7.Pulizia. 122
8.Cosa fare,se... 122
9.Manutenzione. 124
9.1 Informazioni sulla manutenzione. 124
- Dati tecnici 124
- Accessori. 126
12.Smaltimento. 126
12.1 Smaltimento dell'apparecchio 126
12.2 Batterie e accumulatori. 127
13.Garanzia 127
1. DESCrizIONE DELL'APPARECCHIO
Scegliendo la bilancia elettronica pesapersone seca 703 avete acquistato un appearecchio di grande precisione e al contempo robusto.
Da{o]tre 170anni,seca mette al servizio della salute la propriaesperienzae,in quanto leader di mercato in molti paesi del mondo,stabilisce sempre nuovi standard per la pesatura e la misurazione grazie a prodotti innovativi.
1.2 Destinazione d'uso
La bilancia elettronica pesapersone seca 703iene impiegata principamente negli ospedali, in ambulatori medici e in istituzioni di cura con ricovero in conformità alle norme nazionali.
In alcune varianti di questa bilancia, l'indicazione del peso cui quod siessere commutata tra chilogrammi (kg), libbre (lbs) e stones (sts). Il peso viene determinato in pochi secondi.
Oltre alla determinazione tradizionale del peso, seca 703 offre una funzione per la determinazione del Body-Mass-Index. A tale scopo viene insertita mediante tastiera la statura e automaticamente viene calcolo il Body-Mass-Index appartenente al valore del peso.
Mediante la rete radio seca 360^ wireless è possibile
trasmettere wireless i risultati di misura ad una stam-.
pante radio seca o ad un PC dotato del software
seca analytics 105 e del
seca 360^ wireless USB adapter 456.
La seca 703 può essere movimentata grazie alle rotelle ed è idonea per un uso mobile prolongato grazie al ridotto consumo di corrente con un gruppo batterie.
2. INFORMAZIONI SULLA SICUREZZA
2.1 Indicazioni basilari per la sicurezza
- Rispettare leindicazioni contenate in queste istruzioni per l'uso.
- Conservare con cura le istruzioni per l'uso e la dichiarazione di conformità in esse contentuta.
- Accertarsi che la bilancia abbia una Buona stabilità su un fondo piano.
- Non fare cadere la bilancia. Non esporre la bilancia a forti urti.
- Se si utilizes la bilancia con un alimentatore, posare il cavo di rete in modo che non sussista alcun pericolo d'inciempo.
- Fare eseguire interventi di manutenzione a intervalli regolari vedere "Manutenzione" a pagina 124.
- Fare eseguire gli interventi di manutenzione e riparazione esclusivamente dai partner di assistenza autorizzati. Per conoscere il partner di assistenza più vicino visitare il site www.seca.com o INViare un'e-mail a service@seca.com.
- Utilizzare esclusivamente accessori e ricambi originali seca. In caso contrario, seca non fornisce alcuna garanzia.
- Con appearecchi ad alta frequenza come ad es. cellulari teneri ad una distanza minima di circa 1 metro, al fine di evitare errori di misurazione o anomalie durante la trasmissione radio.
2.2 Indicazioni per la sicurezza in queste istruzioni per l'uso

PERICOLO!
Indica una situazione di estremo pericolo. La mancata osservanza di esta significazione comporta lesioni gravi irreversibili o mortali.

AVVERTENZA!
Indica una situazione di estremo pericolo. La mancata osservanza di但这a indica più causare lesioni gravi irreversibili o mortali.

CAUTELA!
Indica una situazione di pericolo. La mancata osservanza di但这a indicazione cui cause lesioni da entità leggera a media.
ATTENZIONE!
Indica un possibile utilizzato errato dell'apparecchio. La mancata osservanza di esta indicatorazione cui poto causare danni all'apparecchio o a risultati di misura errati.
INDICAZIONE:
contiene informazioni aggintive relative all'utilizzo dell'apparecchio.
2.3 Utilizzo di batterie e accumulatori
Questo apparecchio viene fornito con 6 batterie mignon, tipo AA. Questo tipo di batterie non è ricaricabile. Rispetto are seguentiindicazioni per la sicurezza.

AVVERTENZA!
Danni a persona a seguito di un utilizzo improprio
Le batterie contengono sostanze nocive che possono liberarsi sotto forma di esplosione in caso di utilizzo improprio.
- Non tentare di ricaricare le batterie.
- Non riscaldare le batterie/gli accumulatori.
- Non bruciare le batterie/gli accumulatori.
- Se è fuoriuscito dell'acido, evitare il contatto con pelle, occhi e mucose. Sciacquare i punti interessati solo con acqua pulita e rivolgersi immediatamente ad un medico.
ATTENZIONE!
Danni all'apparecchio e malfunzionamento a seguito di utilizzo improprio
- Utilizzare esclusivamente il tipo di batterie/di accumulatore indicato vedere "Inserimento delle batterie" a pagina 106.
- Sostituire sempre tutte le batterie/tutti gli accumulatori contemporaneamente.
Non cortocircuitare le batterie/gli accumulatori. - Se l'apparecchio non viene utilizzato per un lungo periodo, togliere le batterie/gli accumulator. In quello modo l'accido non può penetrare nell'apparecchio.
3. PANORAMICA
3.1 Elementi di lavoro


| N. | Elemento di comando | Funzione |
| 1 | Accensione e spegnimento della bilancia | |
| 2 | Tasto freccia • Durante la pesatura: - breve pressione: attivazione della funzione HOLD - lunga pressione: attivazione della funzione 2 in 1 • Nel menu: - selezione del sottomenu, selezione della voce di menu - aumento del valore | |
| 3 | Tasto freccia • Durante la pesatura: - breve pressione: attivazione della funzione BMI - lunga pressione: aperture del menu • N el menu: - selezione del sottomenu, selezione della voce di menu - riduzione del valore | |
| 4 | Tasto Invio • Durante la pesatura (se la rete radio è configurata): - breve pressione: invio del risultato di misura agli apparecchi pronti per la risizione (PC con modulo radio USB) - lunga pressione: stampa del risultato di misura (stampante radio) • N el menu: - conferma della voce di menu selezionata - memorizzazione del valore impostato | |
| 5 | Display | Elemento di visualizzazione per i risultati di misura e per la configurazione dell'apparecchio |
| 6 | Vano batterie | Alloggiamento per 6 batterie mignon, tipo AA, 1,5 Volt |
| 7 | Collegamento di rete | Serve per collegare un alimentatore opzionale |
| 8 | Rotelle di sporto | La bilancia più essere spostata grazie a queste rotelle |
| 9 | Vite di fissaggio piedini | 4 pezzi, servono per un esatto allineamento |
3.2 Simboli sul display

| Simbolo Significato | ||
| A | Batterie scariche | |
| B | Utilizzo con alimentatore | |
| C | Funzione non tarabile attiva | |
3.3 Indicazioni sulla targhetto
| Testo/Simbolo Significato | |
| ModellNumero | modello |
| Type Denominazione tipo | |
| Ser. No.Numero di serie | |
| Rispettare le istruzioni per l'uso | |
| Apparecchio elettromedicale, tipo B | |
| Apparecchio con isolamento di protezione, classe di protezione II | |
| FCC ID | Per gli USA: numero di omologazione dell'apparecchio presso l'auto-rità US Federal Communications Commission FCC |
| IC | Per il Canada: numero di omologazione dell'apparecchio presso l'autorità Industry Canada |
| CE 0123 | L'apparecchio è conforme alle norme e alle direttive CE |
| FC | Simbolo FCC (USA) |
| + - - | Utilizzato l'apparecchio solo con corrente continua |
| Non smaltire l'apparecchio nei rifiuti domestici | |
3.4 Struttura del menu
Nel menu dell'apparecchio sono disponibili altre funzioni. Queste consentono di configurare l'apparecchio in modo ottimale per le condizioni di utilizzo (dettagli da Pagina 111).

4. PRIMA DI COMINIARE VERAMENTE...
4.1 Montaggio della colonna

La colonna con display LCD può essere montata in due posizioni. Percchio definire in quale direzione è leggibile il display - verso la superficie d'appoggio o di fronte.
- Innestare lo schermo sulla colonna.
- Inserire la colonna cavity nella colonna desiderata.
- Avvitare la colonna dal basso alla piattaforma di pesatura.
Se necessario, poggiare la bilancia con cautela sul lato per serrare le viti.
- Collegare, come molto in figura, le spine del canvo di visualizzazione sul lato inferiore della piattaforma di pesatura.
ATTENZIONE!
Malfunzionamento a seguito di errori di montaggio
Se si montano i cavi in modo che siano sotto tensione, ad es. se sono molto curvati o se le spine sono piegate, possono verificarsi visualizzazioni errate e guasti al display.
- Posare tutti i cavi in modo che non siano molto curvi e che le spine non vengano piegate.
-
Predisporre un dispositivo di scarico della trazione, posando tutti i cavi nei rispetti supporti.
-
Fissare i cavi nei rispetti supporti.
- Bipopizionare in posizione diritta la bilancia.
- Spingere lo schermo in basso, finché non si innesta sulla piattaforma di pesatura.
4.2 Predisposizione alimentazione elettrica
Inserimento delle batterie

Collegamento dell'alimentatore (optional)

La bilanciaiene alimentata a batterie o con un alimentatore disponibile come accessorio.
Sono necessarie 6 batterie mignon, tipo AA, 1,5 Volt (in dotazione).
- Premere sulla chiusura del vano batterie.
- Aprire il coperchio del vano batterie verso il basso.
- Rimuovere il supporto delle batterie.
- Inserire le batterie nel supporto.
NOTA:
fare attenzione alla corretta polarità delle batterie (marcature nel supporto delle batterie). Se sul display compare la scritta bAe, significa che le le batterie sono state inserte in modo invertito o che le batterie sono scariche.
- Inserire il supporto con le batterie nel vano batterie.
- Chiudere il vano batterie.
La bilancia può essere utilizzata con un alimentatore disponibile come accessorio.

AVVERTENZA!
Danni a persone e apparecchi a causa di alimentatori errati
I comuni alimentatori possono fornire una tensione maggiore rispetto a quella indicata sul vostro. La bilancia può surriscaldarsi, incendiarsi, fondere o andare in cortocircuito.
-
Utilizzare esclusivamente alimentatori a spina originali seca da 9 V o con tensione di uscita regolata a 12 Volt.
-
Innestare nell'alimentatore la spina di rete necessaria per l'alimentazione elettrica.
- Inestare la spina dell'apparecchio dell'alimentatore nella presa della bilancia.
- Inserire l'alimentatore in una presa di rete.
4.3 Installazione della bilancia

Viti di fissaggio piedini
ATTENZIONE!
Misurazione errata a seguito di accoppiamento
Se la bilancia viene posata con il rispettivo alloggiamento ad es. su un asciugamano, il peso non viene misurato correttamente.
-
Posizione are la bilancia in modo che tocchi il fondo escludvamente con le viti di fissaggio dei piedini.
-
Posizione are la bilancia su un fondo solido e piano.
- Allineare la bilancia ruotando le viti di fissaggio dei piedini.
5. UTILIZZO
5.1 Pesatura
Avvio della pesatura 1. Accertarsi che la bilancia non sia carica.

6350
- Premere il tasting Start.
Compare la scritta SECA, quando vengono visualizzati brevamente tutti gli elementi del display.
La bilancia è operativa quando sul display compare la scritta 000.
Se la bilanciaieneutilizzata con un alimentatore, compare il simbolo
- Salire sulla bilancia e restare fermi.
- Leggere il risultato di misura.
Pesatura di neonati/ bambini piccoli (2 in 1)
Grazie alla funzione 2 in 1 è possibile determinare il peso di neonati e bambini piccoli. A tale scopo, durante la pesatura, il bambino viene tenuto fermo per un braccio da un adulto. Procedere come indicato di seguito:
- Accertarsi che la bilancia non sia carica.
- Chiedere all'adulto di salute sulla bilancia.
- Leggere il risultato di misura.

- Tenere premuto il tasto freccia (hold/2 in 1), finché non compare il messaggio NET sul display. Il peso viene memorizzato. 000 compare sul display.
ATTENZIONE!
Misurezione errata a seguito di peso di partenza diverso
Se la pesatura del bambino viene eseguita con un altro peso di partenza, il peso del bambino può non essere corretto.
- Accertarsi che la pesatura del bambino avvenga sempre con l'adulto con il quale è stato determinato il peso di partenza.
- Accertarsi che il peso dell'adulto non cambì, ad es. poggiano un indimento.

- Chiedere all'adulto di fare salire il bambino sulla bilancia. Il peso del bambino viene visualizzato. Vengono visualizzati il symbolo il symbolo, nonché i messaggi "HOLD" e "NET".
- Chiedere all'adulto di scendere alla bilancia insieme al bambino.
- Per disattivare la funzione 2 in 1, premere il tasto freccia (hold/2 in 1), finché il symbolo il symbolo , nonché i messaggi "HOLD" e "NET" non vengono più visualizzati o spagnere la bilancia.
Visualizzazione permanente del risultato di misura (HOLD)

- Accertarsi che la bilancia non sia carica.
- Chiedere al paziente di salute sulla bilancia.
- Premere brevamente il tasto freccia (hold/2 in 1). L'indicazione lampeggia, finché non viene misurato un peso stabile. Quindi il valore del peso viene visualizzato in modo permanente. Vengono visualizzati il symbolo (funzione non tarabile) e il messaggio "HOLD".
- Per disattivare la funzione HOLD, premere breve除去 il tasto freccia (hold/2 in 1). Il significato il messaggio "HOLD" non vengono più visualizzati.
Se si attiva la funzione HOLD, il valore del peso continua a essere visualizzato ancè dopo aver scaricato la bilancia. Ciò consente di dare da mangiare al paziente prima di annotare il valore del peso.
NOTA:
se è attiva la funzione Autohold, il valore del peso viene visualizzato automaticamente in modo permanente. vedere "Attivazione funzione Autohold (Ahold)" a pagina 113.
Determinazione e valutazione del Body Mass Index (BMI)





Il Body-Mass-Index mette in relazione la statura e il peso, consentendoosi di averereindicazioni più precise rispetto ad es.al peso ideale secondo la formula di Broca. Viene indicato un Campo di tolleranza che vale come ottimale dal punto di vista della salute.
- Accertarsi che la bilancia non sia carica.
- Premere brevamente il tasting freccia (bm i/menu). Compare il messaggio "BMI". Sul display le frece lampeggiano. Viene visualizzata l'ultima statura inserita.
- É possible accettare la statura visualizzata o impostare un'altra statura con i tasti freccia.
- Confermare l'impostazione con il tasto Invio (send/print)
- Chiedere al paziente di salute sulla bilancia e di restare fermo.
- Leggere il BMI e confrontarlo con le categorie sost o elencate.
- Per disattivare la funzione BMI, premere brevamente il tasto Invio (send/print).
| BMI Valutazione | I Il paziente pesa troppo molto. Potrebbe esserci una tendenza all'anaressia. Si raccomanda un aumento di peso per migliorare il benessere e le attività. In caso di dubbi, consultrare un medico specializzato. |
| Inferiore a 18,5 | |
| Compreso tra 18,5 e 24,9 | Il paziente ha un peso normale. Può rianere nella situazione attuale. |
| Compreso tra 25 e 30 (preadiposità) | Il paziente presenta un sovrappeso da leggero a medio. Dovrebbe ridurre il peso se sussiste più una malattia (ad es. diabete, ipertensione, gotta, disturbi al metabolismo dei grassi). |
| BMI Valutazione | |
| Superiore a 30 | Una riduzione di peso è urgente. Il metabolismo, la circa- zione e le ossa vengono sollecitate. Si raccomanda una dieta adeguata, molta attività fisica e training comportamentale. In caso di dubbi, consultare un medico specializzato. |
Calcolo e stampa automatici del BMI
Se si utilizeszza esta bilancia con una stampante radio e un altimetro del sistema seca 360^ wireless, è possibile calculare e stampare in automatico il BMI.
NOTA:
requisito per questa funzione è che gli apparecchi siano collegati insieme in un gruppo radio (vedere "Rete radio seca 360^ wireless" a pagina 116).
- Eseguire la pesatura.
- Premere brevamente il tasto Invio (send/print) della bilancia.
Il valore misurato viene inviato alla stampante radio ma non stampato.
- Eseguire la misurazione dell'altezza.
- Premere a lungo il tasto Invio (send/print) dell'altimetro.
Il valore misurato viene inviato alla stampante radio.
Viene calculato il BMI.
Altezza, peso e BMI vengono stampati.
Invio dei risultati di misura al destinatario radio

Se la bilancia è integrata in una rete radio seca 360^ wireless i risultati di misura possono essere inviati premendo un tastoagli appearecchi pronti per la ricezione (stampante radio, PC con modulo radio USB).
Premere il tasto Invio (send/print).
- Breve pressione del tasto: invio dei risultati di misura a tutti gli apparecchi pronti per la ricezione
Lunga pressione del tasto: stampa del risultato di misura sulla stampante radio
Spegnimento della bilancia

Premere il tasting Start.
NOTA:
con il funzionamento a batterie, la bilancia si spegne automaticamente dopo un breve periodo di tempo se non viene caricata.
5.2 Altre funzioni (menu)
Nel menu della bilancia sono disponibili altre funzioni. Queste consentono di configurare la bilancia in modo ottimale per le condizioni di utilizzo.

- La descrizione della voce di menu "rF" si trovare nel paragrafo "Utilizzo della bilancia in un gruppo radio (menu)" a pagina 118.
Navigazione nel menu 1. Accendere la bilancia.





- Tenere premuto il tasto freccia (bmi/menu), finché non si après il menu.
Viene visualizzata sul display l'ultima você di menu selezionata (qui: Autohold "Ahold").
- Premere uno dei tasti freccia, finché non compare sul display la voce di menu desiderata (qui: attenuazione "Fil").



- Confermare la selezione con il tasto Invio (send/print).
Vengono visualizzati l'impostazione attuale per la voce di menu o un sottomenu (qui livello "0").
- Per modificare l'impostazione o aprire un altro sottomenu, premere uno dei tasti freccia, finché non viene visualizzata l'impostazione desiderata (qui: livello "2").
- Confermare l'impostazione con il tasto Invio (send/print).
Il menu si chiude automaticamente.
- Per effettuare altre impostazioni, riaprire il menu e procedere come descripto.
NOTA:
se per circa 24 secondi non viene premuto alcun tasting, il menu si chiude automaticamente.
Cancellazione automatica dei valori memorizzati (AClr)
Per evitare che nella memoria dell'apparecchio restino risultati di misura non più attuali e che questi conduccono a calcoli errati del BMI, è possibile impostare la bilancia in modo che i risultati di misura vengano cancellati automaticamente dopo 5 minuti.
NOTA:
in alcuni modelli, Questa funzione è attivata in fabbrica. Se lo si desidera, è possibile disattivarla.


- Selezionare nel menu la你可以 "ACIr".
- Confermare la selezione.
-
Selezionare I'impostazione desiderata:
-
on
-
off
-
Confermare la selezione.
Il menu si chiude automaticamente.
Memorizzazione permanente del peso supplementare (Pt)
Con la funzione Pre-Tara è possibile memorizzare in modo permanente un peso supplementare e detrarlo automaticamente da un risultato di misura. É possible ad esempio memorizzare un peso forfettario per scarpe e vestiti e detrarlo quando dal risultto di misura quando un paziente viene pesato completenessmente vestito.

- Selezionare nel menu la你可以 "Pt".
Compare il messaggio "Pt".

- Confermare la selezione.
Sul display le frece lampeggiano.
Il peso supplementare memorizzato per ultimoviene visualizzato.
- É possible accettare il valore memorizzato o modificarlo con i tasti freccia.
NOTA:
se si inserisce il valore "0", la funzione si disattiva. Il messaggio "Pt" noniene più visualizzato sul display.
- Confermare la selezione.
- Chiedere al paziente di salute sulla bilancia.
Il peso del paziente viene visualizzato.
Il peso supplementare memorizzato viene detratto automaticamente.
- Per disattivare la funzione, selezionare nel menu di nuovo la voce "Pt".
- Confermare la selezione.
La funzione è disattivata.
Il menu si chiude automaticamente.
Attivazione funzione Autohold (Ahold)
Se si attiva la funzione Autohold, il valore di misura continua a essere visualizzato ad agli pesata dopo aver scaricato la bilancia. Non è quando più necessario attive manualmente ad agli pesata la funzione Hold.
NOTA:
- in alcuni modelli, questa funzione è attivata in fabbrica. Se lo si desidera, è possibile disattivarla.
- Indipendente dell'impostazione qui selezionata, nella funzione 2in1, il peso del bambino viene sempre determinato mediante Autohold.
AHOLD
- Selezionare nel menu la你可以 "Ahold".
- Confermare la selezione.
L'impostazione attuale viene visualizzata.
-
Selezionare l'impostazione desiderata:
-
on
-
off
-
Confermare la selezione.
Il menu si chiude automaticamente.
Attivazione segnali acustici (BEEP)
È possibile impostare se, ad agli pressione di un tasting e al raggiungimento di un valore di peso stabile, deve essere emesso un segnale acustico. Quest'ultimo è importante per la funzione Hold/Autohold.
NOTA:
la funzione "Segnale acustico con valore di peso stabile" viene attivata in fabbrica. Se lo si desidera, è possibile disattivare但这a funzione.
bEEP
PreSS
On
- Selezionare nel menu la voce "BEEP".
- Confermare la selezione.
-
Selezionare una voce di menu:
-
press: segnale acustico alla pressione di un tasto,
-
hold: segnale acustico con valore di peso stabile.
-
Confermare la selezione.
L'impostazione attuale viene visualizzata.
-
Selezionare I'impostazione desiderata:
-
on
-
off
-
Confermare la selezione.
Il menu si chiude automaticamente.
- Se si desiderano attivare i segnali acusticianche per la seconda funzione, ripetere la procedura.
Impostazione dell'attenuazione (Fil)
FIL
FIL0
FIL2
Commutazione dell'unità di peso (Unit)
Unlt
Con la funzione Attenuazione (Fil = Filtro) è possibile ridurre le anomalie durante la determinazione del peso (ad es. a causa di movimento del paziente).
-
Selezionare nel menu la你可以 "Fil".
-
Confermare la selezione.
L'impostazione attuale viene visualizzata.
-
Selezionare un livello di attenuazione.
-
0: attenuazione minima
- 1: attenuazione media
-
2: attenuazione massima
-
Confermare la selezione.
Il menu si chiude automaticamente.
Nel caso di bilance non tarate è possibile selezionare l'unità (Unit) con cui visualizzare il peso.
- Selezionare nel menu la你可以 "Unit".

-
Confermare la selezione. L'impostazione attuale viene visualizzata. Selezionare l'unità con cui visualizzare il peso: -chilogrammi (kg) -libbre (lbs) -stones (sts)
-
Confermare la selezione. Il menu si chiude automaticamente.
Ripristino delle impostazioni di fabbrica (RESET)
Per le seguenti funzioni è possibile ripristinare le impostazioni di fabbrica
| Funzione | Impostazione di fabbrica |
| Autohold (Ahold) In base al modello | |
| Segnale acustico (Press) Off | |
| Segnale acustico (Hold) On | |
| Attenuazione (Fil) 0 | |
| Autoclear (Aclear) In base al modello | |
| Pre-Tara (Pt) 0 kg | |
| Altezza per Body Mass Index (BMI) | 170 cm |
| Unità di peso Kg | |
| Modulo radio (SYS) Off | |
| Autosend (ASend) Off | |
| Autoprint (APrt) Off | |
NOTA:
durante il ripristino delle impostazioni di fabbrica, il modulo radio viene spento. Le informazioni sui gruppi radio esistenti vengono conservate. I gruppi radio non devono essere riconfigurati.
RESE
-
Selezionare nel menu la你可以 "Reset".
-
Confermare la selezione.
Il menu si chiude automaticamente.
- Spegnere la bilancia.
Le impostazioni di fabbrica vengono ripristinate e sono disponibili quando la bilancia viene riuccesa.
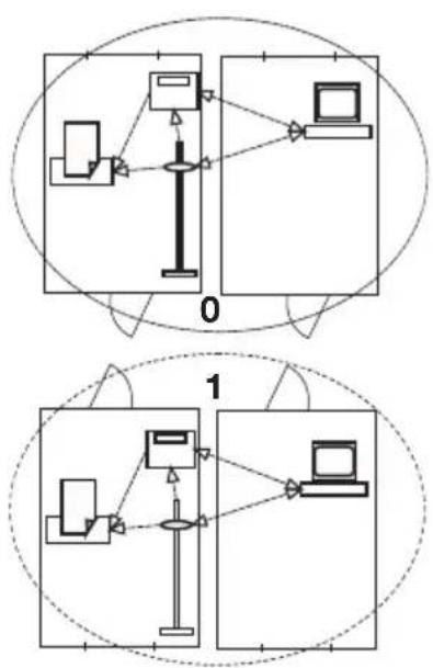
6. RETE RADIO SECA 360^ WIRELESS
6.1 Introduzione
Questo appearecchio è dotato di un modulo radio. Il modulo radio consente la trasmissione senza fili dei risultati di misura ai fini della valutazione e documentazione. É possibile trasmettere i dati ai seguenti appearecchi:
- seca stampante radio
PC con seca modulo radio USB
seca Gruppi radio

La rete radio seca 360^ wireless funzione con gruppi radio. Un gruppo radio è un gruppo virtuale di mittenti e destinatari. Se si devono gestire più mittenti e destinatari dello stesso tipo, quello appearecchio consente di configurare fino a 3 gruppi radio (0, 1, 2).
La configurazione di più gruppi radio assicura una trasmissione affidabile e correttamente indirizzate dei valori di misura qualora si debbano gestire più sale ospedaliere con dotazioni degli appearechi simili.
La distanza massima tra mittente e destinatario è parl a circa 10 metri. Determinate situazioni locali, ad es. spessore e caratteristiche delle pareti posso sono ridurre la portata.
Per gruppo radio è possibile la seguente combinazione di appearecchi:
1 pesaneonati
- 1 pesapersone
1altimetro
- 1 seca stampante radio
- 1 PC con seca modulo radio USB
Canali All'interno di un gruppo radio, gli appearecchi comunicano fra loro su tre canali (C1, C2, C3). In quello modosi garantisce una trasmissione dati affidabile e priva di errorsi.

Quando si configura un gruppo radio con但这a bilancia, l'apparecchio propone tre canali che assicurano una trasmissione dei dati ottimale. L'azienda raccomanda di accettare i numero canale proposti.
È possibile selezionare i numeri canale (da 0 a 99)
anche manualmente, ad esempio, se si desiderano
configurare più gruppi radio.
Al fine di assicurare una trasmissione dati priva di errorsi, i canali devono trovarsi ad una distance sufficiente gli uni dagli altri. Raccomandiamo una distance di almeno 30. Ogni numero canale cui ossere essere utilizzato solo per un canale.
Esempio di configurazione; numero canale con configurazione di 3 gruppi radio all'internalo di un ambulatorio:
- gruppo radio 0: C1=_, C2=30, C3=60
- gruppo radio 1: C1=10, C2=40, C3=70
- gruppo radio 2: C1=20, C2=50, C3=80
Riconoscimento apparecchio
Quando si configura un gruppo radio con la bilancia, esta cerca altri appearecchi attivi nel sistema seca 360^ wireless. Gli appearecchi rilevati vengono visualizzati sul display della bilancia come moduli (ad es. MO 3). I numero hanno il seguente significato:
1: pesapersone
2: altimetro
- 3: stampante radio
- 4: PC con seca modulo radio USB
- 7 : p es a n e o n a t i
- 5, 6 e 8-12: riservati per ampliamento del sistema
6.2 Utilizzo della bilancia in un gruppo radio (menu)
Tutte le funzioni necessarie per utilizzato l'apparecchio in un gruppo radioseca, si trovano nel sottomenu "rF". Informazioni sulla navigazione all'interno del menu si trovano a Pagina 111.

Attivazione del modulo radio (SYS)
L'apparecchioiene fornito con un modulo radio disattivato. necessario attivarlo prima di configurare un gruppo radio.
NOTA:
quando si attiva il modulo radio, il consumo di corrente dell'apparecchio aumento. Perutilizzare l'apparecchio in una rete radio si raccomanda I'uso di un alimentatore.
595
- Accendere l'apparecchio.
- Selezionare nel sottomenu "rf" la你可以 di menu "SYS".
- Confermare la selezione.
- Selezionare I'impostazione "on".
- Confermare la selezione. Il menu si chiude automaticamente.
On
Configurazione del gruppo radio (Lrn)
Per configurare un gruppo radio, procedere come indicate di seguito:
F
- accendere l'apparecchio.
- Aprire il menu.
- Selezionare nel menu la你可以 "rf".
Lrn
Id 1
10
[230
[360
5eOP
- Confermare la selezione.
- Selezionare nel sottomenu "rf" la你可以 di menu "lm" (learn).
- Confermare la selezione.
Il gruppo radio attualmente impostato (qui: gruppo radio 0 "ID 0")iene visualizzato.
Se il gruppo radio "0" esiste più e si desidera configurare un autre gruppo radio con quello apparecchio, selezionare con i tasti freccia un altro ID (qui: gruppo radio 1 "ID 1").
- Confermare la selezione del gruppo radio.
L'apparecchio propone un numero canale per il canale 1 (qui C1 "0").
É possibile accettare il numero canale proposto o impostarne uno con i tasti freccia.
- Confermare la selezione per il canale 1.
L'apparecchio propone un numero canale per il canale 2 (qui C2 "30").
È possibile accettare il numero canale proposto o impostarne uno con i tasti freccia.
NOTA:
la visualizzazione dei numeri canale a due cifre avvieneenza spazi. L'indicazione "C230" significa: canale "2", numero canale "30".
- Confermare la selezione per il canale 2.
L'apparecchio propone un numero canale per il canale 3 (qui C3 "60").
È possibile accettare il numero canale proposto o impostarne uno con i tasti freccia.
- Confermare la selezione per il canale 3.
Sul display viene visualizzato il messaggio SEOP.
L'apparecchio attende i segnali di altri apparecchio radio che si trovano nella portata.
NOTA:
per alcuni apparecchi è necessario seguire una procedura di accensione particolare se devono essere integrati in un gruppo radio. Rispetto le istruzioni per l'uso del rispetto apparecchio.
- Accendere l'apparecchio che si desidera integrare nel gruppo radio, ad es. una stampante radio.
Dopo che la stampante radio è stata rilevata si sente un segnale sonoro.
#
Attivazione trasmissione automatica (ASend)
ASEnd
On
Selezione dell'opizione di stampa (APrt)
NOTA:
non appena una stampante radio è stata integrata nel gruppo radio, è necessario configurare un'opzione di stampa (Menu\rf\APrt) e impostare l'ora (Menu\rf\time).
- Ripetere l'operazione 11. per tutti gli appearecchi da integrare in quello gruppo radio.
- Premere il tasto Invio per terminare la ricerca.
- Premere uno dei tasti freccia per visualizzare quale appearecchi sono stati rilevati (qui: Mo 3 per una stampante radio).
Se sono stati integrati nel gruppo radio più apparecchi, premere più volte i tasti freccia per accertarsi che tutti gli apparecchi siano stati rilevati alla bilancia.
- Uscire dal menu con il tasto Invio o attendere, finché il menu non si chiude automaticamente.
È possibile configurare l'apparecchio in modo che i risultati di misura vengano inviati automaticamente a tutti i destinatari pronti per la ricezione e a tutti i destinatari collegati allo stesso gruppo radio (ad es.: stampante radio, PC con modulo radio USB).
NOTA:
se si utilizza una stampante radio, accertarsi che come opzione di stampa non sia impostato "off" (vedere "Selezione dell'opzione di stampa (APrt)" a pagina 120).
- Accendere l'apparecchio.
- Selezionare nel sottomenu "rf" la你可以 di menu "ASend" e confermare la selezione.
- Selezionare l'impostazione "on" e confirmare la selezione.
Il menu si chiude automaticamente.
É possibile configurare l'apparecchio in modo che i risultati di misura vengano stampati automaticamente su una stampante radio collegata al gruppo radio.
NOTA:
questa funzione è accessibile solo se una stampante radio seca è stata integrata nel gruppo radio mediante la funzione "learn".
- Accendere l'apparecchio.
APRt
明
-
Selezionare nel sottomenu "rf" la voce di menu "APrt" e confirmare la selezione.
-
Selezionare l'impostazione necessaria per la combinazione di apparecchi:
-
HI: risultati di misura degli altimetri
- M A : r i s u l t a t i d i m i sura delle
- HI_MA: risultati di misura degli altimetri e delle bilance
-
off: nessuna stampa automatica, la stampa ha luogo solo premendo a lungo il tasting Invio durante la pesatura.
-
Confermare la selezione.
Il menu si chiude automaticamente.
Impostazione dell'ora (Time)
È possibile configurare il sistema in modo che la stampante radio aggiunga automaticamente data e ora ai risultati di misura. A tale scopo è necessario impostare una volta sola data e ora nell'apparecchio e trasmetterle all'orologio interno della stampante radio.
NOTA:
questa funzione è accessibile solo se una stampante radio seca è stata integrata nel gruppo radio mediante la funzione "learn".
EINE
- Accendere l'apparecchio.
- Selezionare nel sottomenu "rf" la你可以 di menu "Time".
- Confermare la selezione.
L'impostazione attuale per "Anno (Year)" viene visualizzata.
YERIO
- Impostare il numero di anni corretto.
- Confermare la selezione.
- Ripetere le operazioni 3. e 4. per "Mese" (flon "Giorno" (dRy), Ora (hour) e Minuti (f). in
- Confermare risp. la selezione.
Dopo aver confermato l'impostazione dei minuti, il menu si chiude automaticamente.
Le impostazioni vengono trasmesse in automatico alla stampante radio.
La stampante radio aggiunge automaticamente data e ora ad agli stampa.
NOTA:
per ulteriori informazioni sull'utilizzo della stampante radio, consultare le rispettive istruzioni per l'uso.
7. PULIZIA
Pulire secondo necessità il rivestimento e l'alloggia-mentation della bilancia con un detersivo per usi domestici o un comune disinfettante. Rispettare leindicazioni fornite dal produttore.
Non utilizzato in alcun caso detersivi abrasivi o forti, spirito, benzina o simili. Tali prodotti potrebbero danneggiare le superfici di qualità.
8. COSA FARE, SE...
| Anomalia Causa/eliminazione | |
| ... a bilancia carica non appare alcuna indica-zione del peso? | La bilancia non è collegata alla corrente. - Verificare che la bilancia sia accesa - Controllare che le batterie siano inserte |
| ... prima della pesatura non compare 000? | La bilancia è stata caricata prima dell'accensione. - Scaricare la bilancia - Specnere e riaccendere la bilancia |
| ... un segmento resta sempre acceso o non si accende del tutto? | Il punto corrispondente presenta un erre. - Contattare il servizio di manutenzione. |
| ... appare l'indicazione ? | La tension delle batterie sta diminuendo. - Inserire batterie nuove quando prima |
| ... appare l'indicazione b4b2? | Le batterie sono scariche. - Inserire batterie nuove |
| ... appare l'indicazione StSTOP? | Il carico massimo è stato superato. - Scaricare la bilancia |
| ... appare l'indicazione EENP? | La temperature ambienta della bilancia è ecces-siva o insufficiente. - Posizionare la bilancia in un luogo con una temperatura ambiente compresa tra +10 °C e +40 °C - Attendere circa 15 minuti, finché la bilancia non si è adattata alla temperatura ambiente |
| ... dopo l'accensione, per la prima volta, ven-gono inviati i risultati di misura e si sentono due segnali acustici? | · L'apparecchio non è stato in grado di inviare alcun risultato di misura al destinatario radio (stampante radio seca o PC con modulo radio USB seca). - Accertarsi che la bilancia sia integrata nella rete radio. - Accertarsi che il destinatario sia acceso. · La ricerca è disturbata da apparecchi ad alta frequenza che si trovano nelle vicinanze (ad es. Telefoni cellulari). - Con apparecchi ad alta frequenza teneri ad una distance minima di 1 metro dai mittenti e dai destinatari nella rete radioseca. NOTA: se questa anomalia non viene risolta, nel caso di ulteriori tentativi di invio non viene emesso alcun averporto acustico. |
| ... nel menu rf è visible solo la voce "SYS"? | · Il modulo radio è disattivato. - Attivare il modulo radio (vedere "Attivazione del modulo radio (SYS)" a pagina 118). |
| ... nel menu rf sono visibili solo le voci "SYS" e "Irn"? | · Il modulo radio è attivo e non è stata configura alcun gruppo radio. - Configurare il gruppo radio (vedere "Configura-zione del gruppo radio (Lrn)" a pagina 118). |
| ... nel menu rf non sono visibili le voci "APrt" e "Time"? | · Nessuna stampante radio collegata al gruppo radio. - Collegare la stampante radio al gruppo radio alla voce di menu "Irn" (vedere "Configura-zione del gruppo radio (Lrn)" a pagina 118). |
| ... appare l'indicazione Er:H: I? | La bilancia è stata caricataccessivement nella parte superiore o in un angolo. - Scaricare la bilancia o distribuire uniformmente il peso - Riavviare la bilancia |
| ... appare l'indicazione Er:H: I2? | La bilancia è stata accesa con un carico excessivo. - Scaricare la bilancia - Riavviare la bilancia. |
| ... appare l'indicazione Er:H: I6? | La bilancia è stata spostata in modo naturale, il punto zero non può determinato. - Riavviare la bilancia |
| ... viene premuto il tasting Invio (send/print) e appara l'indicazione Er:H? | Nessuna trasmissione dati possibile, il modulo radio è disattivato. - Attivare il modulo radio (vedere “Attivazione del modulo radio (SYS)” a pagina 118). |
| ... viene premuto il tasting Invio (send/print) e appara l'indicazione Er:H? | Nessuna trasmissione dati possibile, nessun gruppo radio configurato. - Configurare il gruppo radio (vedere “Configurazione del gruppo radio (Lrn)” a pagina 118). |
9. MANUTENZIONE
9.1 Informazioni sulla manutenzione
La vostra bilancia seca lascia la fabbrica con una precisione superiore a ± 0,15% . Per mantenere esta precisioneanche successivement, il prodotto deveseessere installato correttamente e manutenzionato a intervalli regolari. In base alla frequenza di utilizzo, raccomandiamo di esguire una manutenzione con intervalli da 3 a 5 anni.
ATTENZIONE!
Errori di misurazione dovuti a una manutenzione impropriaria
-
Fare eseguire gli interventi di manutenzione e riparazione esclusivamente dai partner di assistenza autorizzati.
-
Per conoscere il partner di assistenza più vicino visitare il site www.seca.com o INViare un'e-mail a service@seca.com.
10.DATI TECHNICI
| Dati tecnici seca 703 | |
| Dimensioni • Pro fondità • Larghezza • Al tezzo | 520 mm 360 mm 930 mm |
| Peso approprio 17 kg | |
| Campo di temperature +10°C - +40°C | |
| Altezza:citre 25 mm | |
| Alimentazione elettrica | Batteria Alimentatore (optional) |
| Assorbimento di corrente • con modulo radio disattivato • con modulo radio attivato | Circa 32 mA Circa 50 mA |
| Durata massima con funzionamento a batterie • con modulo radio disattivato • con modulo radio attivato | Circa 5.600 minuti Alimentatore raccomandato |
| EN 60 601-1: • Apparecchio con isolamento di protezione, classe di protezione II • Apparecchio elettromedicale, tipo B | ☐ 大 |
| Carico massimo • Campo di pesatura parziale 1 • Campo di pesatura parziale 2 | 150 kg / 330 lbs / 24 sts 300 kg / 660 lbs / 47 sts |
| Carico minimo 2 kg | |
| Risoluzione • Campo di pesatura parziale 1 • Campo di pesatura parziale 2 | 50 g / 0.1 lbs 100 g / 0.2 lbs |
| Campo di taratura 300 kg | |
| Precisione • D a 0 a 70 kg • 70 kg a carico massimo • Da 0 a 150 lbs • 150 lbs a carico massimo • D a 0 a 11 sts • 11 sts a carico massimo | ±100 g ±0,15% ±0.2 lbs ±0,15% ±0.2 lbs ±0.2 lbs |
| Trasmissione radio • Banda di frequenza • Potenza di trasmissione • Conformità alle norme | 2,433 GHz - 2,480 GHz < 10 mW EN 30028, EN 301 489-1, -17 |
11.ACCESSORI
| Accessorii Codice articolo | |
| seca rete radio seca 360° wireless • Stampante radio - seca 360° wireless printer 465 - seca 360° wireless printer advanced 466 • Software PC - seca analytics 105 • Modulo radio USB seca 360° wireless USB adapter 456 | Varianti specifiche per paese Varianti specifiche per paese Pacchetti di licenza specifici per applicazione 456-00-00-009 |
| Alimentazione elettrica • Alimentatore di rete, Euro: 230V~ / 50Hz / 12V= / 150mA • Alimentatore a commutazione: 100-240V~ / 50-60Hz / 12V= / 0.5A | 68-32-10-252 68-32-10-265 |
| Altri accessori • Asta telescopica seca 220, Campo di misura: 890 - 2000 mm, passo: 1 mm, materiale: alluminio duro anodizzato, corsoio con lin-guetta di misurazione a inesto • Asta telescopica seca 220 (passodoppio), Campo di misura: 890 - 2000 mm e 35 " - 78 3/4 ", passo: 1 mm e 1/8 ", materiale: allumi-nio duro anodizzato, corsoio con linguetta di misurazione a inesto | 220-17-14-004 220-18-14-004 |
12.SMALTIMENTO
12.1 Smaltimento dell'apparecchio

Non smaltire l'apparecchio con i rifiuti domestici. L'apparecchio deve essere smaltito correttamente come rifiuto elettronico. Rispettare le dispositionsi nazionali vigenti. Per ulteriori informazioni rivolgersi al nostro servizio di assistenza al seguente indirizzo:
service@seca.com
12.2 Batterie e accumulatori

Non gettare le batterie e gli accumulatorati usati nei rifiuti domestici, indipendentemente dal fatto che questi contengano o meno sostanze nocive. In quanto consumatore avete l'obbligo giuridico di smaltire le batterie e gli accumulatorati tramite i centri di raccolta comunali o gli apposti contentitori presso il vostro rivenditore. Gettare le batterie e gli accumulatorati solo quando sono completenesse scarichi.
13.GARANZIA
Per difetti riconducibili a errori di fabbricazione e relativi al materiale, l'azienda fornisce una garanzia di due anni a partire alla segna. Tutte le parti mobili, come ad es. le batterie, i cavi, gli alimentatori, gli accumulatorati, ecc., sono escludi alla garanzia. I difetti che rientano nella garanzia verranno eliminati Gratisamente per i clienti, dietro presentazione della prova d'acquisto. Non verranno prese in considerazione altre rivendicazioni. I costi per il trasporto di andata e ritorno sono a carico del cliente se l'apparecchio si trovava in un luogo diverso da quello della sede del cliente. Nel caso di danni dovuti al trasporto è possibile fare valere i diritti di garanzia solo se per il trasporto è stato utilizzato l'imballo originale completo e la bilancia è stata assicurata e fissata conformmente allo stato d'imballaggio originale. Conservare pertanto tutte le parti dell'imballo.
Non sussiste alcuna garanzia se l'apparecchio viene aperto da personne non espRESSamente autorizzate da seca.
I clienti all'estero devono rivolgersi, per i casi coperti da garanzia, direttamente al venditore del rispetto voaese.
INDICE
- No menu, selezione o item "Pt".
- No menu, selezione o item "Fil".
FIL0
- Confirme a seleção.
- No menu, selezione o item "Unit".
- Confirma a selecao.
La bilancia pesapersone non automatica
La báscula no automatística pesapersona
Den/DD
...e fondamente conforme alla direttiva 2004/108/CE in materia di compatibilità elettromagnetica, nonché alle norme EN 300 328 e EN 301 489 in materia di compatibilità elettromagnetica e spettro radio.
Se, ciò nonostante, quando si utilizza la bilancia nelle vicinanze di forti emettitori di radiazioni elettromagnetiche, come, ad esempio, apparecchi a microonde, telefoni cellulari, radiotelefoni ecc., si dovessero verificare dei disturbi passeggeri o, rispettovamente, errori nella pesatura, allontanate per favore la bilancia alla sorgente dei disturbi oppure spegnete quest'ultima e ripetete la pesatura.

ManualeFacile