703 - Balance SECA - Manual de uso y guía de instrucciones gratis
Encuentra gratis el manual del aparato 703 SECA en formato PDF.
| Especificaciones técnicas | Capacidad máxima: 200 kg, Precisión: 100 g, Dimensiones: 350 x 350 x 60 mm, Alimentación: Pilas |
|---|---|
| Uso | Diseñada para uso médico y profesional, ideal para pesar pacientes en entornos hospitalarios o clínicos. |
| Mantenimiento y reparación | Limpie con un paño suave, evite productos abrasivos. Verifique regularmente el estado de las pilas. |
| Seguridad | No exceda la capacidad máxima, utilícela sobre una superficie plana y estable para evitar caídas. |
| Información general | Garantía de 2 años, conforme a las normas de seguridad vigentes, peso ligero para un transporte fácil. |
Preguntas frecuentes - 703 SECA
Preguntas de los usuarios sobre 703 SECA
0 pregunta sobre este aparato. Responde a las que conoces o haz la tuya.
Hacer una nueva pregunta sobre este aparato
Descarga las instrucciones para tu Balance en formato PDF gratis! Encuentra tus instrucciones 703 - SECA y toma tu dispositivo electrónico nuevamente en la mano. En esta página están publicados todos los documentos necesarios para el uso de su dispositivo. 703 de la marca SECA.
MANUAL DE USUARIO 703 SECA
- Descripción del aparato 129
1.1 Enhorabuena! 129
1.2 Uso previsto. 129
- Informacion de seguidad. 130
2.1 Indicaciones de seguidad bfaces. 130
2.2 Indicaciones de seguridad en estas instrucciones de uso . . . 130
2.3 Manejo con pilas y
acumuladores. 131
- Vista general 132
3.1 Elementos de mando 132
3.2 Símbolos en el visor 133
3.3 Indicaciones en la plac de identificacion. 134
3.4 Estructura del menu 135
- Antes de empezar... 136
4.1 Montaje de la columna 136
4.2 Establisher el suministro de corriente 137
Colocar las pilas 137
Conecte el equipo de alimentacion (optional) 137
4.3 Colocar la basia. 138
- Manejo. 138
5.1 Pesaje 138
Inicio del proceso de pesaje . 138
Pesar bebés/niñosankyos (2 en 1) . 138
Indicación continua del的结果de la medicación (HOLD). 139
Calcular y valorar el indice demasa corporal (BMI) 140
Calculareimprimir
automaticallyelBMI.141
Enviar los resultados de la
medicina a receptores
inalambricos . 141
Desconectar la basiacula . 141
5.2 Otras functions (menu). 142
Navegar por el menu . 142
Borrar automatically los valores almacenados (AClr) 143
Almacenar de forma continua el peso adicional (Pt). 143
Activar la referencia Autohold (Ahold) 144
Activar tonos de senal (BEEP) 145
Ajustar filtrado (Fil) 145
Cambiar launidad de peso (Unit). 145
Restablecer la configuracion de fabrica (RESET) 146
- La red inalámbrica seca 360^ wireless 147
6.1 Introduccion. 147
Grupos inalambricos seca . 147
Canales . 148
Reconocimiento de aparatos . 148
6.2 Utilizar la báscula bajo de un grupo inalámbrico (menu) 149
Activar el modulo inalámbrico (SYS) 149
Establisher el grupo
inalábrico (Lrn). 149
Activar la transmisión automática (ASend) 151
Selección la optación de impresión (APrt) 152
Ajustar la hora (Time) 152
- Limpieza 153
- Que hacer cuando.... 153
9.Mantenimiento. 155
9.1 Informacion sobre el
mantimiento 155
- Datos tecnicos. 156
- Accerios. 157
- Evacuación 158
12.1 Evacuación del aparato . . . 158
12.2 Pilas y acumuladores 158
- Garantía. 158
1. DESCRIPTION DEL APARATO
1.1 Enhorabuena!
Con la báscula electrónica para personas seca 703 ha adquirido un aparato de alta precision y al mismo tiempo robusto.
Deshpacm as de 170 anos,por su experiencia al serviceo de la salute y,siendo lider del mercado en numerousos paises,con sus desarrollos innovadores para el pesaje y la medicion,seca sienta cada vez nuevas bases.
1.2 Uso previsto
La bascula electrònica para personas seca 703 se utilize a las normas naciales principales en hospitales, consultas Médicas ycentros de cuidado estacionarios.
En algunos variantes de esta báscula, el indicator de peso se pueda Cambiar entre kilogramos (kg), libras (lbs) y stones (sts). El peso se calcula en pocosegundos.
Además de la determinación convencional del peso, la seca 703 OFRECE una función para calcular el indices de masa corporal. Paraarlo, con el teclado se introduce la alta y automatistically se calcula el indices de masa corporal correspondiente el peso.
A工程技术 of the red inalábrica seca 360° wireless, los resultados de la medicación se peuvent trasladar a una implicora inalábrica seca o a un PC equipado con el software seca analytics 105 y el seca 360° wireless USB adapter 456.
La seca 703 se pueda desplazar sobre ruedas y,acias a su reducido consumo electrico, se pueda utiliser durante是多么 tiempo como equipo móvil con un@mismo juego de pilas.
2. INFORMACION DE SEGURIDAD
2.1 Indicaciones de seguridadasicas
- Tenga en cuenta lasindicaciones de estas instrucciones de uso.
- Conserve en perfecto estado las instrucciones de uso y la交代 de conformidad que contienen.
- Asegürese de que la báscula Tiene un apoyo seguro sobre una base recta y lisa.
- Nocede que la báscula se caiga. Evite los impactos fuertes en la báscula.
- Si utilizes la báscula con una fuente de alimentación, colque el cable de red de talmania que no hayapeligro de tropezarse conél.
- Realice los problemas de mantenimiento periodicos (vease "Mantenimiento" en la頁a 155).
- Los trabajo de mantenimiento y las reparaciones deben ser realizados únicamente por el equipo de servicios autorizado. El equipo de servicios más cerca lo encontrará en www.seca.com o enviando un correo electrónico a service@seca.com.
- Utilice únicamente accesos y piezas de recambio seca originales. De lo contrario seca no asume ningún tipo de garantía.
- Mantenga los aparatos de AF, como los Telefonos moviles, a una distancia minima de aprox. 1 metro paraatar medicaciones erróneas o interferencias en la transmisión de datos por radio.
2.2 Indicaciones de seguridad en estas instructuciones de uso

PELIGRO!
Indica una situación de peligro extremadamente elevada. Si noiene en cuenta esta indicación se producirán graves lesiones irreversibles o mortales.

ADVERTENCIA!
Indica una situacion de peligro extremadamente elevada. Si noiene en cuenta esta indicacion se pueda produir graves lesiones irreversibles o mortales.

PRECAUCION!
Indica una situacion de peligro. Si noiene en conta esta indication你能 producirse lesiones leves o medianas.
jATENCIón!
Indica un posible manejo erroneo del aparato. Si noiene en cuenta esta indicacion能把 producirse daños en el aparato o resultados erroneos de la medicacion.
NOTA:
Contiene informacion adicular sobre el empleo de este aparato.
2.3 Manejo con pilas y accumulatorados
Este aparato se suministra con 6 pilas Mignon, tipo AA. Este tipo de pilas no es recargable. Tenga en cuenta las siguientes indicaciones de seguridad.

ADVERTENCIA!
Danos personalesdeferidoa un manejo inadequado
Las pilas contienen sustancias nocivas que con un manejo inadequado se pueda liberar de forma explosiva.
- No intentecarga las pilas.
- No caliente las pilas/acumuladores.
- No queme las pilas/acumuladores.
- Si se escapa acido, evaporar el contacto con la piel, ojos y mucosas. Aclare con abundante agua las zonas afectadas y acuda a un medico inmediamente.
;ATENCIón!
Danos en el aparato y funciona erroneo debido a un manejo inapropiado
- Utilice únicamente el tipo de pila/acumulador indicado véase "Colocar las pilas" en la頁a 137.
- Bombie siempre alismo tiempo todas las pilas/acumuladores.
- Noonga en cortocircuito las pilas/ acumuladores.
- Si el aparato no se usa durante un长大o periodo de tiempo, retire las pilas/ Accumuladores. Así se evita que entre acido en el aparato.
3. VISTA GENERAL
3.1 Elementos de mando

1 2 3 4

| Núm. | Elemento de mando | Función |
| 1 | Encender y apagar la báscula | |
| 2 | Tecla de cursor • Durante el pesaje: - Pulsación breve: activar funciona Hold - Pulsación larga: activar la funciona 2 en 1 • En el menú: - Seccionar submenu, seleccionar punto del menu - Augentar el valor | |
| 3 | bidi menu | Tecla de cursor • Durante el pesaje: - Pulsación breve:activar la funciona BMW - Pulsación larga:acceder al menú • En el menú: - Seleeactionar submenú, selecciónar punto del menú - Reducir el valor |
| 4 | send plics | Tecla Enter • Durante el pesaje (con la red inalámbrica preparada): - Pulsación breve:enviar resultado de la medicación a aparatoslists para la recepción(PC con modulo inalámbrico USB) - Pulsación larga:imprimir elresultado de la medicación (impressora inalámbrica) • En el menú: - Confirmar el punto del menú selecciónado - Almacenar el valor ajustado |
| 5 | Visor | Elemento de indicación de los resultados de la medicación y para configurar el aparato |
| 6 | Compartimiento para pilas | Espacio para 6 pilas Mignon, tipo AA, 1,5 V |
| 7 | Conexión de red | Sirve para connectar un equipo de alimentación disponibleoptionalmente |
| 8 | Ruedas de transporte | Con estas ruedas se pueda desplazar la báscula |
| 9 | Tornillo nivelador | 4 unidades, sirven para un nivelado preciso |
3.2 Simbolos en el visor

| Simbolo Significado | ||
| A | Las pilas tienenlittleoca entrega | |
| B | Funcionamente con equipo de alimentación | |
| Símbolo Significado | ||
| C | Δ | Función no calibrable activa |
3.3 Indicaciones en la plac de identificacion
| Texto/símbolo Significado | |
| Modelo Número de modelos | |
| Tipo Nombre del tipo | |
| Ser. No. Número de series | |
| Tener en cuenta las instrucciones de uso | |
| Aparato electromédico, tipo B | |
| Aparato con aislamento de protección, clase de protección II | |
| FCC ID | Para EE.UU. Número de autorización del aparato en la oficina de la Comisión Federal de Comunicaciones de EE.UU. |
| IC | Para Canadá Número de autorización del aparato en la oficina Industry Canada |
| CE 0123 | El aparato cumple las normas y directivas de la CE |
| FC | Símbolo de la FCC (EE.UU.) |
| +--- | Utilizar el aparato únicamente con corriente continua |
| No desechar el aparato con la basura domestica | |
3.4 Estructura del menu
En el menu del aparato hay disponibles otheras functions. De este modo peut configurar el aparato de forma optima para los requisitos del uso que quiera darle (detalles a partir de la Pagina 142).

4. ANTES DE EMPEZAR…
4.1 Montaje de la columna

La columna con el visor LCD se pueda montar en dos posiciones. De este modo determinina en qué direccion se pueda leer el visor: hacer la plataforma o hacer elazo contrario.
- Encaje la cubierta de la columna en la columna.
- Coloque la columna en el hueco en la direccion que desee.
- Atornille la columna por abajo en la plataforma de pesaje.
Con cuidado pueda apoyar la báscula por un lugar para apltar los tornillos.
- Conecte, como se muestra en laImagen, la clavija del cable del visor en la parte inferior de la plataforma de pesaje.
ATENCLION!
Funcionamento erroneo por erros de montaje
Cuando los cables se montan de tal modo que se enquirytren en tension, por exemple cuando está muy curvados o la clavija queda doblada, pueda que lasindicaciones Sean erroneas y que el visor falle.
- Coloque los cables de talmania que no esténblemado curvados y que la clavija no está doblada.
-
Tenga en cuenta la descarga de tracción colocando todos los cables en los soportes correspondientes.
-
Sujete los cables en los soportes correspondientes.
- A continuación vuelva a colocar de pie la báscula.
- Desplace la cubierta de la columna Completely abajo hasta que encaje en la plataforma de pesaje.
4.2 Establisher el suministro de corriente
| Colocar las pilas | El suministro de corriente de la báscula se leva a cabo con pilas o con un equipo de alimentación disponible como accesario. |
| Se necesitan 6 pilas Mignon, tipo AA, 1,5 V (incluidas en el volumen de suministro). | |
| 1. Presione sobre el cierre del compartmentimiento para pilas. | |
| 2. Abra hacía abajo la tapa del compartmentimiento para pilas. | |
| 3. Retire el soporte de las pilas. | |
| 4. Coloque las pilas en el soporte. | |
| NOTA: Tenga en cuenta los polos correctos de las pilas (marcados en el soporte de las pilas). Si en el visor aparece la indicación b###, puede que haya colocado una de las pilas en la posición contraria o que las pilas estén gastadas. | |
| 5. Coloque el soporte con las pilas en el compartimiento para pilas. | |
| 6. Cierre el compartmentimiento para pilas. | |
| Conecte el equipo de alimentación (optional) | La báscula pueda functionar con un equipo de aliment- tación disponible como accesorio. |
| iADVERTENCIA! Dáños personales y en el aparato debido a un equipo de alimentación incorrecto Los equipos de alimentación habituales en el mercado peuvent proportionscar una tensión más elevada de la que indican. La báscula se suele sobrecalentar, incendiarse, fundirse o ponerse en cortocircuito. - Utilice exclusivamente equipos de alimentación originales de seca con 9V o tensión de salute regulada de 12 V. | |
| 1. Enchufe en el equipo de alimentación la clavija necasaría para su suministro de corriente. | |
| 2. Enchufe la clavija del equipo de alimentación en el zócalo de conexión de la báscula. | |
| 3. Enchufe el equipo de alimentación a una toma de corriente de la red. |
4.3 Colocar la báscula

Tornillos niveladores
ATENCLION!
Medicación erronea por transmisión parcial de fuerza
Si la báscula con la carcasa se coloca, por典型案例, sobre una toalla, el peso no se mide correctamente.
-
Coloque la báscula de tal modo que estén en contacto con el suejo a工程技术 de los tornillos niveladores.
-
Coloque la báscula sobre una base firme y lisa.
- Nivele la báscula girando los tornillos niveladores.
5. MANEJO
5.1 Pesaje
Inicio del proceso de pesaje


- Asegürese de que sobre la báscula no haya ningún peso.
- Pulse la tecla Start.
En el visor aparece SECA, après se muestran brevemente todos los elementos del visor.
La báscula está operativa cuando en el visor aparece 000.
Si la báscula está的功能化,en el visor aparece el symbolo
- Suba a la báscula y permanezca de pie tranquilamente.
- Lea el的结果ado de la medicación.
Pesar bebés/niños微量元素 (2 en 1)
Con la funciona 2 en 1 puede calcular el peso de bebés y de niñosankyos. Paraarlo, durante el pesaje, el niño permanece en brazos de unadulto. Proceda de la?siguementeforma:
- Asegürese de que sobre la基本情况 no haya ningún peso.
- Pida al adulto que se colque sobre la báscula.
- Lea el的结果ado de la medicación.

- Mantenga pulsada la tecla de cursor (hold/2 in 1)
hasta que en el visor aparezca la indicacion "NET".
Se memoriza el peso.
000 aparece en el visor.
ATENCLION!
Medicación erronea debido a un peso inicial diferente
Cuando el pesaje del niño se realiza con un peso inicial diferente peut que el peso del niño no se calcule correctamente.
- Asegürese de que el pesaje del niño siempreonga lugar con eladulto con el que se calculó el peso inicial.
- Asegürese de que el peso deladulto no varía, porejemplo porponerseropa.

- Pida aladulto que suba a la báscula con el nino. Se indica el peso del nino. Se muestran el symbolo el symbolo y los avisos"HOLD"y"NET".
- Pida aladulto que se baje de la bascula con el nino.
- Para desactivar la funciona 2 en 1, pulse la tecla de cursor (hold/2 in 1) hasta que desaparezcan el symbolo el symbolo y los avisos "HOLD" y "NET" o desconecte la báscula.
Indicación continua del的结果ado de la medicación (HOLD)
Si activa la funciona HOLD, el valor del peso se vigue indicando afterwards de retiring el peso de la báscula. De este modo puede atender al paciente antes de anotar el peso.

- Asegürese de que sobre la基本情况 no haya ningún peso.
- Pida al paciente que secoloque sobre la báscula.
- Pulse brevamente la tecla de cursor (hold/2 in 1). La referencia parpadea hasta que se mide un peso estable. Después se indica el peso de forma continua. Se muestra el símbolo (*función no calibrable) y la referencia "HOLD".
- Para desactivar la funciona HOLD, pulse brevamente la tecla de cursor (hold/2 in 1). Desaparece el símbolo la referencia "HOLD".


NOTA:
Si está activada la función Autohold, el peso se indica automatistically de forma continua.
véase "Activar la funciona Autohold (Ahold)" en la página 144.
Calculary valorar el indices de masa corporal (BMI)
El indice de masa corporal relaciona la alta y el peso proporcionando así datos más precisos que, por exemple, el peso ideal de Broca. Se indica un margen de tolerancia que se consideraOPTIMO desdeel punto de vista de la salute.


- Asegürese de que sobre la báscula no haya ningún peso.
- Pulse brevamente la tecla de cursor (bmimenu). Aparece el avis "BMI".
En el visor parpadean flechas.
Se muestra la alta introducida por ultima vez.
- Puede adoptar la alta indicada o ajustar另一边 con la tecla de cursor.
- Confirme su ajuste con la tecla Enter (send/print).
- Pida al paciente que suba a la báscula y que permanezca de pie tranquilamente.
-
Lea el BMI y comparelo con las categorias-indicadas más abajo.
-
Para desactivar la funciona BMI, pulse brevamente la tecla Enter (send/print).
| BMI Valoración | |
| menos de 18,5 | El paciente pesa demasiado poco. Puede haber una tenden-cia a la anorexia. Se recomienda augmentar de peso para mejorar el bienestar y el rendimiento. En caso de duda se debe consultar a un Médico especialista. |
| entre 18,5 y 24,9 | El paciente tiene un peso normal. Puede quédarse como está. |
| entre 25 y 30 (sobrepeso) | El paciente tiene un sobrepeso entre ligero y mediano. Debe- ría reducir su peso si ya tiene alguna enfermedad (por ejemplo diabetes, tensión alta, gotta, colesterol alto). |
| más de 30 | Esurgentte reducir el peso. Hay una sobrecarga del metabo-lismo, la circulación y los huesos. Se recomienda una dieta consecuente,多么 Movement and movement of the body. En caso de duda se debe consultar a un Médico especialista. |
Calcular e imprintar automatically el BMI
Si utilizes esta báscula jusqu'à un una impresora inalámbrica y un metro para longitudes del sistemaspeca 360^ wireless, puis de calcular e imprimir el BMI automatístico.
NOTA:
Un requisito para esta función es que los aparatos estén registrados jintos en un grupo inalábrico (vease "La red inalábrica seca 360^ wireless" en la page 147).
- Realice el pesaje.
- Pulse brevamente la tecla Enter (send/print) de la báscula.
El valor medido se envía a la impersona inalámbrica pero no se imprime.
- Realice la medicación de la longitud.
- Pulse长大o tiempo la tecla Enter (send/print) del metro de longitudes.
El valor medido se envía a la impersona inalámbrica.
Se calcula el BMI.
Se imprimen la longitud, el peso y el BMI.
Enviar los resultados de la medicación a receptores inalámbricos

Si la báscula está integrada en una red inalámbrica seca 360^ wireless, usted可以选择 enviar los resultados de la medicación a aparatoslists para la recepción (impresora inalámbrica, PC con modulo inalámbrico USB) pulsando un botón.
Pulse la tecla Enter (send/print).
- Pulsación breve de la tecla: enviar los resultados de la medicación a todos los aparatos listos para la recepción
- Pulsación breve de la tecla: imprimir el的结果 de la medicación en la impressora inalámbrica
Desconectar la báscula

Pulse la tecla Start.
NOTA:
Cuando funciona con pilas, la báscula se desconecta automatistically al poco tiempo si no se colocan ningún peso sobre ella.
5.2 Otras unidades (menu)
En el menu de la báscula hay disponibles otheras functions. De este modo peut configurar la báscula de forma optima para los requisitos del uso que quiera darle.

- La descripción del punto del menu "rF" se incluye en la sección "Utilizar la báscula bajo de un grupo inalámbrico (menu)" en la頁a 149.
Navegar por el menu 1. Encienda la báscula.





- Mantenga pulsada la tecla de cursor (bmi/menu) hasta acceder al menu.
El punto del menu seleccióndo por ultima vez aparece en el visor (en este caso: Autohold "Ahold").
- Pulse una de las teclas de cursorantas vezes como sea necesario hasta que en el visor aparezca el punto del menu que se desee (en este caso: Filrado "Fil").







- Confirme su selección con la tecla Enter (send/print).
Se muestra el ajuste actual del punto del menu o un submenú (en este caso el nivel "0").
- Para modifier el ajuste o acceder a otro submenu, presione una de las teclas de cursorantas vezes como seanecessary hasta que aparezca el ajuste que se dese (en este caso: nivel "2").
- Confirme el ajuste con la tecla Enter (send/print). El menu desaparece del visor automatamente.
- Para realizarthersajustes,vuelva a acceder al menu yprocedadeloodescrito.
NOTA:
Si durante aprox. 24segundos no se pulsa ninguna tecla, el menu desaparece del visor automatistically.
Borrar automatically los values almacenados (AClr)
Para evaporar que en la memoria del aparato queden resultados de medicacionesque ya no son actuales y que originen un calculo erroneo del BMI,可以更好ucleara de talmania que los resultados de la medicacion se borren automatamente al cabo de 5 instantos.
NOTA:
En algunos modelos esta funciona estáactivada defabrica. Si lo desea pueda desactivar la referencia.
ACLR
- Sezione en el menu el punto "AClr".
On
-
Confirme la selección.
-
Seleccione el ajuste que desee:
-
On
-
Off
-
Confirme la selección.
El menu desaparece del visor automatamente.
Almacenar de forma continua el peso adicional (Pt)
Con la función Pre-Tara pueda almacenar de forma continua un peso adicional y restarlo automatistically del的结果を una medicación. Por exemple pueda almacenar un peso global para calzado y ropa, y siempre restarlo del結果をla medicación cuando un paciente se pese Completely vestido.
Pb
- Sezione en el menu el punto "Pt".
Aparece el aviso "Pt".

- Confirme su selección.
En el visor parpadean flechas.
Se indica el peso adicional almacenado por ultima vez.
- Puede adoptar el valor almacenado o cambiarlo con las teclas de cursor.
NOTA:
Si introduce el valor "0", la funciona se disconnecta. En el visor ya no aparece el avis "Pt".
-
Confirme su selección.
-
Pida al paciente que secoloque sobre la báscula. Se indica el peso del paciente.
El peso adicular almacenado se ha restado automatistically.
-
Para desactivar la funciona, seleccione en el menu de nuevo el punto "Pt".
-
Confirme su selección.
La función está desactivada.
El menu desaparece del visor automatamente.


Activar la funciona Autohold (Ahold)
Si activa la funciona Autohold, en cada pesaje el的结果をの medicion se sigueindicando afterwards de retirar el peso de la bascula. Ya no esnecessaryactivarmanualmentela funcionaHoldencadaspesaje.
NOTA:
- En algunos modelos esta funciona está activada de fabrica. Si lo desea pueda desactivar la funciona.
- Independientelemente del ajuste elegido ahora, en la función 2 en 1, el peso del niño永远不会 ser calcula con Autohold.

- SeLECTIONE en el menu el punto "Ahold".
- Confirme la selección.
Se muestra el ajuste del momento.
-
Seleccione el ajuste que desees:
-
On
-
Off
-
Confirme su selección.
El menu desaparece del visor automatamente.
Activar tonos de senal (BEEP)
Puede ajustar que al pulsar cada tecla y al alcantar un valor estable del peso se oiga o no un tono de senal. Este es importante para la funciona Hold/Autohold.
BEEP
NOTA:
La funciona "Tono de senal para valor estable del peso" estáactivada defabrica. Si lo desea pueda desactivar esta funciona.
- Seleccione en el menu el punto "BEEP".
- Confirme la selección.
-
Selezionne un punto del menu.
-
Press: tono de senal al pulsar una tecla
-
Hold: tono de senal con un valor estable del peso.
-
Confirme su selección.
Se muestra el ajuste del momento.
-
Seleccione el ajuste que desees:
-
On
-
Off
-
Confirme su selección.
El menu desaparece del visor automatamente.
- Si también desea activar los tonos de Signals para lasegunda direccion, repita el proceso.
Ajustar filtrado (Fil)
FIL
FIL0
FIL2
Con el filtrado (Fil = Filter) puede reducir las interferencias a la hora de calcular el peso (por exemple las debidas a movimientos del paciente).
- SeLECTIONE en el menu el punto "Fil".
- Confirme la selección.
Se muestra el ajuste del momento.
-
SeLECTIONE un niveau de filtrado.
-
0: filtrado bajo
-
1: filtrado medio
-2: filtrado alto -
Confirme la selección.
El menu desaparece del visor automatamente.
Cambiary unidad de peso (Unit)
Unlt
En las básculas sin calibrar puedeEAR la unidad (Unit) en la que desea que se le mueste el peso.
- Seleezione en el menu el punto "Unit".
9r
Lb5
Restablecer la configuración de fabrica (RESET)
RESET
- Confirme la selección.
Se muestra el ajuste del momento.
Selección launidad en la que desea que se le muestre el peso:
- Kilogramos (kg)
- L i b r a s ( l b s )
-
Stones (sts)
-
Confirme la selección.
El menu desaparece del visor automatamente.
Para las siguientes sistemas你可以 restablecer la funciona de fabrica:
| Función | Configuración de fábrica |
| Autohold (Ahold) | dependiendo del Modelo |
| Tono deolenal (Press) off | |
| Tono deolenal (Hold) on | |
| Filtrado (Fil) 0 | |
| Autoclear (Aclear) | dependiendo del Modelo |
| Pre-Tara (Pt) 0 kg | |
| Longitud para el indices de masa corporal (BMI) | 170 cm |
| Unidad de peso kg | |
| Módulo inalámbrico (SYS) off | |
| Autosend (ASend) off | |
| Autoprint (APrt) off |
NOTA:
Al restablecer la configuración de fabrica se desconecta el modulo inalámbrico. Se mantiene la información sobre los grupos inalámbricos existentes. Los grupos inalámbricos no se tenen que volver a establecer.
- Selezione en el menu el punto "Reset".
- Confirme la selección.
El menu desaparece del visor automatamente.
- Apague la báscula.
La configuración de fabrica se restablece y está disponible cuando la báscula se vuela a encender.
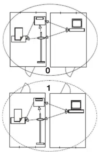
6. LA RED INALÁMBRICA SECA 360^ WIRELESS
6.1 Introduccion
Este aparato está equipado con un modulo inalámbrico. El modulo inalámbrico permitte realizar una transmisión sin cables de los resultados de la medicación para su valoración y documento. Los datos seonian transmitir a los siguientes aparatos:
- impresora inalábrica seca
- PC con modulo inalámbrico USB seca

Grupos inalámbricos seca
La red inalábrica seca 360^ wireless funciona con grupos inalábricos. Un grupo inalábrico es un grupo virtual de emisores y receptores. Si esnecessaryutilizar variedesemisorysreceptoresdelmesostipo, con este aparato se pueda instalar hasta 3 grupos inalábricos (0,1,2).
La instalación de various grupos inalámbricos garantiza una transmisión fiable y dirigida correctamente de los values de medicación cuando varías salas de consulta debenFuncional con un equipuesto de aparatos similar.
La maxima distancia entre emisores y receptores es de aprox. 10 metros. Algunas circunstancias locales, por exemple el espesor y las caracteristicas de las paredes, peuvent reducir el alcance.
Por cada grupo inalámbrico se pueda realizar lasuma de combinación de aparatos:
- 1 báscula para bebés
- 1 báscula para personas
- 1 mettro paralongitudes
- 1 impresora inalámbrica seca
- 1 PC conmanso inalambrico USB seca

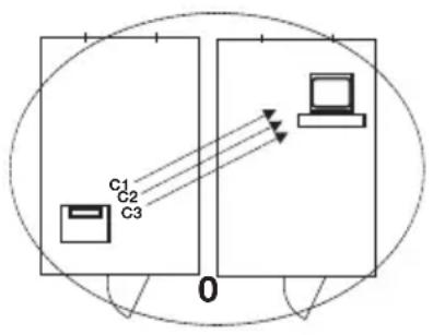
Canales Dento de un grupo inalámbrico, los canales se comu-
nican entre s mediate tres canales (C1, C2, C3). De este modo se garantiza una transmisión de datos friable y sin interferencias.
Si con esta báscula estabilece un grupo inalámbrico, el aparato le sugiere tres canales que garantizan una transmisión de datos perfecta. Recommendamosadoptar los númeroos de los canales sugeridos.
Tambien peut elegir los nombres de los canales (de 0 a 99) de forma manual, por exemple, si desea establercer various grupos inalábricos.
Para garantizar una transmisión de datos sin interferencias, los canales deben estar suficientementeSeparatedos. Recommendamos una separacion de, al menos, 30. Cada numero de canal peut utilizese unicolemente para un canal.
Ejempio de configuracion; nombres de los canales al establisher 3 grupos inalambricos bajo de una consulta:
- Grupo inalámbrico 0: C1 = _0, C2 = 30, C3 = 60
- Grupo inalámbrico 1: C1=10, C2=40, C3=70
- Grupo inalámbrico 2: C1=20, C2=50, C3=80
Reconocimiento de aparatos
Si establiece un equipo inalámbrico con la báscula, esta buscaotirosaparatosactivos delsystema seca 360^
wireless. Los aparatos reconocidos se muestran en el visor de la báscula como发展模式 (por exemple MO 3). Los númeroos tienen el siguientes significado:
1: Báscula para personas
2: Metro de longitudes
3: Impresora inalámbrica
- 4: PC con modulo inalámbrico USB seca
- 7: Báscula para bebés
- 5, 6 y 8-12: Reservados para una amplisión del sistema
6.2 Utilizar la báscula dentro de un grupo inalámbrico (menu)
Todas las functions que necesita para usar el aparato dentro de un grupo inalámbrico seca se encuentran en el submenu "rF". Puede encontrar información de como navegar por el menu en la Págrina 142.

Activar el modulo inalámbrico (SYS)
El aparato se suministra con el modulo inalámbrico desactivado. Debe activarlo para poder establisher un grupo inalámbrico.
NOTA:
Si activa el modulo inalámbrico, AUGmente a consumo de electricidad del aparato. Para utilizez el aparato bajo de una red inalámbrica recomendamosemployaruna fuente de alimentacion.
545
- Encienda el aparato.
- Seleccione en el submenu "rf" el punto del menu "SYS".
- Confirme la selección.
- Selezionelajuste“on”.
- Confirme la selección. El menu desaparece del visor automatistically.
On
Establecer el equipo inalámbrico (Lrn)
Para establercer un grupo inalámbrico, proceda de lasuma眼看:
- Encienda el aparato.
- Acceda al menú.







- Sezione en el menu el punto "rf".
- Confirme la selección.
- Seleccione en el submenu "rf" el punto del menu "lm" (learn).
- Confirme la selección. Se muestra el grupo inalámbrico ajustado ahora (en este caso: grupo inalámbrico 0 "ID 0").
Si ya existe el grupo inalámbrico "0" y si con este aparato desea existe tenero grupo inalámbrico, seleccione con las teclas de cursor other ID (en este caso: grupo inalámbrico 1 "ID 1").
- Confirme su selección del grupo inalámbrico.
El aparato sugiere un número de canal para el canal 1 (en este caso C1 "0").
Puede adoptar el número de canal sugerido o ajustar除外 número de canal con las teclas de cursor.
- Confirme su selección para el canal 1.
El aparato sugiere un número de canal para el canal 2 (en este caso C2 "30").
Puede adoptar el número de canal sugerido o ajustar除外 número de canal con las teclas de cursor.
NOTA:
La representation de nombres de canal de dos digitos se llama a cabo sin espacios vacios. Laadicacion "C230"significa: canal "2", numero de canal "30".
- Confirme su selección para el canal 2.
El aparato sugiere un número de canal para el canal 3 (en este caso C3 "60").
Puede adoptar el número de canal sugerido o ajustar除外 número de canal con las teclas de cursor.
- Confirme su selección para el canal 3.
El aviso SEOP aparece en el visor.
El aparato expectsa snales deothers aparatos inalambricos al alcance.
NOTA:
En algunos aparatos se debeooter un procedimiento de encendido especial cuando se deben Integrar en un equipo inalámbrico. Tenga en cuenta las instrucciones de uso de cada aparato.
- Encienda el aparato que quiera integrar en el grupo inalábrico, por exemple una impresora inalábrica. Cuando se ha Reconocido la impresora inalábrica, se pueda oir un pitido.
NOTA:
En cuando haya integrado una impresora inalámbrica en el grupo inalámbrico debe selecciónar unaopsis (menu\rf\APrt) yajustar la hora (menu\rf\time).
- Repita el paso 11. para todos los aparatos que desee integrar en este grupo inalámbrico.
- Pulse la tecla Enter para finalizar el proceso de búsqueda.
- Pulse una de las teclas de cursor para que se le indique qué aparatos se han reconocido (en este caso: Mo 3 para una impressora inalámbrica). Si ha integrado various aparatos en el grupo inalámbrico, pulse las teclas de cursor varias vezes para asegurarse de que todos los aparatos han sido reconocidos por la báscula.
- Salga del menu con la tecla Enter o espere a salir automatamente del menu.
Activar la transmisión automática (ASend)
Puede configurar el aparato de talmania que los resultados de la medicación se envien automatistically a todos los receptores listos para la recepción y registrados en el mesmo grupo inalámbrico (por exemple: impersonora inalámbrica, PC con modulo inalámbrico USB).
NOTA:
Si utilizes una impresora inalámbrica, asegúrese de que no está ajustada "off" (véase "Selección la option de impresión (APrt)" en la página 152) como.option de impresión.
A5End
On
- Encienda el aparato.
- Seleezione en el submenu "rf" el punto del menu "ASend" y confirme la seleccion.
- Selección el ajuste "on" y confirma la selección. El menu desaparece del visor automatístico.
Selección la optación de impresión (APrt)
Puede configurar el aparato de talmania que los resultados de la medicación se impriman automatistically en una impresora inalámbrica registrada en el grupo inalámbrico.
NOTA:
Esta funciona solo es accesible si a工程技术 de la func tion "learn" se ha integrado una impressora inalámbrica seca en el grupo inalámblico.
APrE
- Encienda el aparato.
- Seleezione en el submenu "rf" el punto del menu "APrt" y confirme la seleccion.
-
Seleccione el ajuste apropiado para su combinacion de aparatos:
-
HI: resultados de la medicación de los aparatos de medicación de longitudes
- MA: resultados de la medicación de básculas
- HI_MA: resultados de la medicación de los aparatos de medicación de longitudes y básculas
-
off: sin impresión automatica, impresión a工程技术 de pulsación larga de la tecla Enter durante el proceso de pesaje.
-
Confirme su selección.
El menu desaparece del visor automatamente.
Ajustar la hora (Time)
Puede configurar el sistema de talmania que la impersonora inalámbricaañada automatistically la Fecha y la hora a los resultados de su medicación. Paraarlo debe ajustar una vez la Fecha y la hora en este aparato y Transmitirlas al reloj interno de la impersonora inalámbrica.
NOTA:
Esta funciona solo es accesible si a工程技术 de la func tion "learn" se ha integrado una impressora inalámbrica seca en el grupo inalámbrico.
EINE
- Encienda el aparato.
- Sezione en el submenu "rf" el punto del menu "Time".
- Confirme la selección. Se muestra el ajuste actual de "Año (Year)".
- Ajuste el número de ano correcto.
- Confirme la selección.
- Repita los pasos 3. y 4. de acuerdo al "Mes" (non "Día" (dRy), hora (hour) ycretos ().in
yeA 10
- Confirme cada una de sus selecciones.
Després de confirmar el ajuste de los Minutes el筷 desaparece del visor automatistically.
Los ajustes se transmiten automatistically a la impersona inalábrica.
La impresora inalábricaañade automatistically a cada impresión la Fecha y la hora.
NOTA:
Para seguir manejando la impressora inalámbricataenga en cuenta sus instrucciones de uso.
7. LIMPIEZA
Limpie la superficie y la carcasa si esnecessary con un
detergente domestico o un desinfectante commercial.
Tenga en cuenta lasindicaciones del fabricante.
En cualquier caso no utilise limpiadores abrasivos o corrosivos, alcohol, gasolina o liquidos similares para la limpieza. Este tipo de limpiadores puede darar las superficies de gran calidad de la báscula.
8. ¿QUÉ HACER CUANDO…
| Avería Causa/solución | |
| ... al colocar un peso no aparece ninguna指示a de peso? | La:báscula no tiene alimentación electrónica. - Comprobar que la:báscula está connectada - Comprobar que se han puesto las pilas |
| ... antes del pesaje no aparece 000 ? | El peso se colocó antes de encenderla:báscula. - Retirar el peso de la:báscula - Apagar y volver a encenderla:báscula |
| ... un segmento se ilu-mina continually o nunca? | El punto correspondiente indica un error. - Informar al servicios de mantenimiento |
| ... aparece el avis ? | La tensión de las pilas disminuya. - Colocar cuando antes pilasURTvas |
| ... aparece el avis bAtt? | Las pilas están gastadas. - Colocar pilasURTvas |
| ... aparece el avis StOPI? | Se ha superado el peso máximo. - Retirar el peso de la:báscula |
| Avería Causa/soluciones | |
| ... aparece el(asido tENP? | La temperatura ambiente de la báscula es demasiado elevada o demasiado bajo. - Colocar la báscula a una temperatura ambiente entre +10 °C y +40 °C - Esperar aprox. 15 minutos hasta que la báscula se haya adaptado a la temperatura ambiente |
| ....afteres de encenderla báscula se envian porprimera vez resultadosde la medicación y se oyendos tonos deSEO? | ·El aparato no ha PODido enviar ningúnresultado de medicación al receptor inalámbrico(impresora inalámbrica seca o PC con modulo inalámbrico USB seca). - Asegúrese de que la báscula se encuentra integrada en la red inalámbrica. - Asegúrese de que el receptor estáencendido. ·La recepción está obstaculizada por un aparato AF (por exemple un téléphone móvil) que seencuentra cerca. - Mantenga una distancia minima de 1 metroentre los aparatos AF y los emisores y reteptores Dentro de la red inalámbrica seca. NOTA: Si esta interferencia no se SOLUTIONA, en lossiguientesintentos de envío no se emiteotraSEO acústica. |
| ...en el筷rf solo sepuede ver el punto“SYS”? | ·El[módulo inalámbrico está desactivado. - Activar el[módulo inalámbrico (véase “Activarel[módulo inalámbrico (SYS)” en la頁a 149). |
| ...en el筷rf solo sepuede ver los+puntos“SYS” y“Irn”? | ·El[módulo inalámbrico está activado y no se hasestablecido ningúnGrupo inalámbrico. - Establecer elGrupo inalámbrico (véase “Establecer elGrupo inalámbrico (Lrn)” en la頁a 149). |
| ...en el筷rf no sespeuede ver los+puntos“APrt” ni“Time”? | ·No se ha registrado ninguna impressora inalámbrica en elGrupo inalámbrico. -Registrar la impressora inalámbrica a工程技术 del punto del筷“Irn” en elGrupo inalámbrico (véase “Establisher elGrupo inalámbrico (Lrn)” en la頁a 149). |
| Avería Causa/solución | |
| ... aparece el avis Er:H: I? | Se ha colocado un peso demasiado elevado en la báscula o se ha cargado en excesso una esquina. - Retirar el peso de la báscula o distribuir el peso uniformamente - Encender de nuevo la báscula |
| ... aparece el avis Er:H: I? | La báscula se has encendido con un peso demasiado elevado. - Retirar el peso de la báscula - Encender de nuevo la báscula |
| ... aparece el avis Er:H: I? | La báscula has vibrado, no se has podido determinar el punto cero. - Encender de nuevo la báscula |
| ... cuando se pulsa la tecla Enter (send/print) y aparece el avis Er:H: I? | No es possible transmitir los datos, el modulo inalámbrico está desactivado. - Activar el modulo inalámbrico (véase “Activar el modulo inalámbrico (SYS)” en la頁a 149). |
| ... cuando se pulsa la tecla Enter (send/print) y aparece el avis Er:H: I? | No es possible transmitir los datos, no se has esta-blecido el grupo inalámbrico. - Establecer el grupo inalámbrico (véase “Establecer el grupo inalámbrico (Lrn)” en la頁a 149). |
9. MANTENIMIENTO
9.1 Información sobre el mantenimiento
Su báscula seca sale de fabrica con una precision最好 que ± 0,15% . Para que se mantenga estaprecision, el producto se debe colocar con cuidado y revisar periodically. En función de la Frequencia de uso recomendamos realizar el mantenimiento cada 3 a 5 años.
;ATENCION!
Medicina erronea deben a un mantenimiento inadequado
- Los trabajo de mantenimiento y las reparaciones deben ser realizados únicamente por el equipo de servicios autorizado.
- El equipo de servicios más cerca lo encontrará en www.seca.com o enviando un correo electrónico a service@seca.com.
10.DATOS TECNICOS
| Datas技术水平s703 | |
| Dimensiones • F o n do • A n c h o • A l t o | 520 mm 360 mm 930 mm |
| Peso propio 17 kg | |
| Margen de temperatura +10°C hasta +40°C | |
| Altura de los númeroos 25 mm | |
| Suministro de corriente | Pilas Equipo de alimentación (opcional) |
| Consumo de electricidad • con el modulo inalábrico desactivado • con el modulo inalábrico activado | aprox. 32 mA aprox. 50 mA |
| Duración Tmaxa con pilas • con el modulo inalábrico desactivado • con el modulo inalábrico activado | aprox. 5.600 horas Equipo de alimentación comendado |
| EN 60 601-1: • aparato con aislamento de protección, cline de protección II: • aparato electromédico, tipo B: | ☐ 大 |
| Carga maxima • Campo parcial de pesaje 1 • Campo parcial de pesaje 2 | 150 kg / 330 lbs / 24 sts 300 kg / 660 lbs / 47 sts |
| Carga minima 2 kg | |
| División de precision • Campo parcial de pesaje 1 • Campo parcial de pesaje 2 | 50 g / 0.1 lbs 100 g / 0.2 lbs |
| Campo de tara 300 kg | |
| Precisión • de 0 a 70 kg • 70 kg hasta全球最大 • de 0 a 150 lbs • 150 lbs hasta全球最大 • de 0 a 11 sts • 11 sts hasta全球最大 | ±100 g ±0,15% ±0.2 lbs ±0,15% ±0.2 lbs ±0.2 lbs |
| Datas技术和s coa 703 | |
| Transmisión inalábrica • Banda de Frequencia • Potencia de transmisión • Normas cumplidas | 2,433 GHz - 2,480 GHz < 10 mW EN 30028, EN 301 489-1, -17 |
11.ACCESORIOS
| Accesorios Núm. articulo | |
| seca red inalámbrica seca 360° wireless: • Impresora inalámbrica - seca 360° wireless printer 465 - seca 360° wireless printer advanced 466 • Software del PC - seca analytics 105 • Módulo inalámbrico USB seca 360° wireless USB adapter 456 | Variantes especialicas de cada País Variantes especialicas de cada País Paquetes de licencia especiali- ficos para cada aplicación 456-00-00-009 |
| Suministro de corriente: • Alimentador, Euro: 230V~ / 50Hz / 12V= / 150mA • Equipo de alimentación de fuente conmu- tada: 100-240V~ / 50-60Hz / 12V= / 0.5A | 68-32-10-252 68-32-10-265 |
| Otroos accesos: • Metro telescópico seca 220, margen de medicina: 890 - 2000 mm, división: 1 mm, material: anodizo duro de aluminio, corre- dera con lengüeta de medicación encajable • Metro telescópico seca 220 (divisióndoble), margen de medicación: 890 - 2000 mm y 35" - 78 3/4", división: 1 mm y 1/8", material: anodizo duro de aluminio, corredera con lengüeta de medicación encajable | 220-17-14-004 220-18-14-004 |
12. EVACUACION
12.1 Evacuación del aparato

No deseche el aparato en la basura domestica. El aparato se debe desechar de forma apropriada como material electrónico. Tenga en cuenta las disponeciones nationales de su País. Para más información dirijase a nuestro service:
service@seca.com
12.2 Pilas y acumuladores

No deposite las pilas ni los acumuladores usados en la basura domestica, independiente de si contienen o no materiales nocivos. Como usuario tiene la obligation legal de(deschar las pilas y los acumuladores en punto de recogida municipales o commerciales. Entregue las pilas y los acumuladores solo Completely descargados.
13.GARANTÍA
Para los defectos implicados a errors del material o de fabrica existe una garantía de dos años a partir del suministro. Todas las piezas mviles, como pilas, cables, equipos de alimentación, accumulatoradores, etc., quedan excluidas de la garantía. Los defectos que se incluyen bajo de la garantía serán reparados gratis. Para presentando la factura de la compra. No se podrá tener en cuenta otheras exigencias. Los costes del transporte de ida y vuelta corren a cargo del cliente en el caso de que el aparato se enquiryre en un lugar differente al domicilio del cliente. En caso de causarse daños durante el transporte, los derechos de garantía solo son validos si para el transporte se ha empleado el embalaje original completo y la báscula se ha protegado y sujetado conforme al estado del embalaje original. Por este motivo, conserve todas las piezas del embalaje.
La garantía noiene validez cuando el aparato haya sido abierto por personas que no estén autorizadas paraarlo expresamente por seca.
A los clientes residentes en el extranjero les rogamos se dirijan directamente al vendedor de su País correspondiente para casos relacionados con la garantía.
INDICE
Afuncaoestadesactivada.
Selección a unión de na qual deseja que seja indicado o peso:
Activar modulo de radio (SYS)
...cumple las exigenciasasicas de la Directiva 2004/ 108/CE sobre compatibilidad electromagnética, asi como las normas EN 300 328 y EN 301 489 sobre compatibilidad electromagnética y cuestiones del espectro radioelectrico.
Si a pesar dearlo, se produjaran anomalias o malas pesadas temporales al usar la bascula en la proximidad de fuertes emisores electromagnéticos tales como p. ej. microondas, Telefonos moviles, radioteléfonos, etc., aleje la bascula de la fuente causante de las perturbaciones o desconnecte esta fuente y repita la pesada.

ManualFácil