703 - Balance SECA - Notice d'utilisation et mode d'emploi gratuit
Retrouvez gratuitement la notice de l'appareil 703 SECA au format PDF.
| Caractéristiques techniques | Capacité maximale : 200 kg, Précision : 100 g, Dimensions : 350 x 350 x 60 mm, Alimentation : Piles |
|---|---|
| Utilisation | Conçue pour un usage médical et professionnel, idéale pour peser des patients en milieu hospitalier ou clinique. |
| Maintenance et réparation | Nettoyer avec un chiffon doux, éviter les produits abrasifs. Vérifier régulièrement l'état des piles. |
| Sécurité | Ne pas dépasser la capacité maximale, utiliser sur une surface plane et stable pour éviter les chutes. |
| Informations générales | Garantie de 2 ans, conforme aux normes de sécurité en vigueur, poids léger pour un transport facile. |
FOIRE AUX QUESTIONS - 703 SECA
Questions des utilisateurs sur 703 SECA
0 question sur cet appareil. Repondez a celles que vous connaissez ou posez la votre.
Poser une nouvelle question sur cet appareil
Téléchargez la notice de votre Balance au format PDF gratuitement ! Retrouvez votre notice 703 - SECA et reprennez votre appareil électronique en main. Sur cette page sont publiés tous les documents nécessaires à l'utilisation de votre appareil 703 de la marque SECA.
MODE D'EMPLOI 703 SECA
1.Description de l'appareil. .66
1.1Felicitations!. 66
1.2 Utilisation .66
- Informations relatives à la sécurité. .67
2.1 Consignes de sécurité de base.67
2.2 Consignes de sécurité de ce mode d'emploi 67
2.3 Manipulation des piles et accus .68
- Aperçu . 69
3.1 Éléments de commande. 69
3.2 Symboles de I'ecran .70
3.3 Symboles sur la plaque signalétique. 71
3.4 Structure du menu .72
- Avant de commencer....73
4.1 Montage de la colonne .73
4.2 Etablir l'alimentation électrique .74
Insérer les piles .74
Raccorder l'appareil
d'alimentation (option).74
4.3 Monter la balance. 75
- Utilisation 75
5.1 Pesage. .75 Demarrer le pesage. .75 Peser des nourrissons/ensants (2 in 1). .75
- Afficher en permanence le résultat de mesure (HOLD) . . . .76
- Calculer et évaluer l'indice de masse corporelle (BMI) . . . . . 77
Calculer et imprimer automatiquement I'indice de masse corporelle 78
Envoyer les résultats de mesure au recepteur sans fil .78. Eteindre la balance .79
5.2 Autres fonctions (menu) .79 Naviguer dans le menu .80 Supprimer automatique les valeurs enregistrées (ACIr).80
Enregistrer de manière
permanente le poids
supplémentaire (Pt). .81
Activier la fonction Autohold (Ahold) 81
Activer les signaux sonores (BEEP) 82
Régler l'atténuation (Fil). 82
Changer l'unité de poids (Unit). 83
Rétablier les réglages d'usine (RESET) 83
- Le réseau sans fil seca 360^ wireless 84
6.1 Introduction 84
seca Groupes sans fil 84
Canaux. 85
Reconnaisance des apparéils. 85
6.2 Utiliser la balance dans un groupe sans fil (menu). 86
Activer le module sans fil (SYS). 86
Configurer un groupe sans fil (Lrn) 86
Activer la transmission automatique (ASend) 88
Sélectionner l'option d'impression (APrt) 89
Régler l'heure (Time) 89
7.Nettoyage 90
8. Que faire si.... 90
9. Maintenance. 92
9.1 Informations sur la maintenance 92
-
Caracteristiques techniques 93
-
Accessoires 94
12.Mise au rebut. 95
12.1 Mise au rebut de l'appareil . . . 95
12.2 Piles et accus. 95
13.Garantee. 95
1.DESCRIPTION DE L'APPAREIL
1.1 Félicitations!
Avec le pèse-personne électronique seca 703, vous avez fait l'acquisition d'un apparéil aussi précis que robuste.
Depuis plus de 170 ans, seca met son expérience au service de la santé et établit constamment de nouvelles tendances en tant que leader dans de nombreux pays via des innovations en matière de pesage et de mesure.
1.2 Utilisation
Le pèse-personne électronique seca 703 est utilisé principalement dans les hôpitaux, les cabinets Médicaux et les centres de soins hospitaliers, conformément aux directives nationales en vigueur.
Certains modèles de cette balance permettent de faire basculer l'affichage des Kilogrammes (kg) aux Livres (lb) et aux Stones (st). Le poids est calculé en quelques secondes.
Outre la fonction classique de détermination du poids, le seca 703 offre une fonction de calcul de l'indice de masse corporelle (BMI). Pour cela, on entre la taille à l'aide du clavier, l'indice de masse corporelle correspondant à la valeur du poids étant ensuite calculé automatiquement.
Le réseau sans fil seca 360^ wireless permet de transmettre les résultats de mesure via une connexion sans fil à une imprimante sans fil seca ou à un ordinateur équipé du logiciel seca analytics 105 et du seca 360^ wireless USB adapter 456.
Le seca 703 peut être déplaced sur des roulettes et utilisé de manière mobile sur une longue période avec des piles grâce à sa faible consommation.
2. INFORMATIONS RELATIVES À LA SECURITÉ
2.1 Consignes de sécurité de base
- Respectez les consignes de ce mode d'emploi.
- Conservez précieusement le mode d'emploi et la déclaration de conformité qu'il contient.
Veillez a ce que la balance soit positionnée de maniere sure sur une surface plane stable. - Ne faites pas tomber la balance. Ne soumettez pas la balance à de fortes secousses.
- Si vous utilisez la balance avec un bloc d'alimentation secteur, posez le cable d'alimentation de manière à éviter tout risque de trèbuchement.
- Procedez régulierement à des interventions de maintenance voir « Maintenance » à la page 92.
- Les entretiens et réparations doivent être exclusivement confiés à des partenaires SAV autorisés. Pour connaître le partenaire SAV le plus proche, rendez-vous sur le site www.seca.com ou envoyez un e-mail à service@seca.com.
Utilisez exclusivement des accessoires et pieces de rechange seca d'origine. Sinon, seca n'offre aucune garantie. - Avec les apparèils HF, comme par ex. les téléphones mobiles, maintenez une distance minimum d'env. 1 mètre pour éviter des mesures erronées ou des perturbations lors de la transmission sans fil.
2.2 Consignes de sécurité de ce mode d'emploi

DANGER!
Désigne une situation de danger exceptionnelle. Le non-respect de cette indication entraîne des blessures irréversibles ou mortelles.

AVERTISSEMENT!
Désigne une situation de danger exceptionnelle. Le non-respect de cette indication peut entraîner des blessures irréversibles ou mortelles.

PRUDENCE!
Désigne une situation de danger. Le non-respect de cette indication peut entraîner des blessures légères ou moyennes.
ATTENTION!
Désigne une possible utilisation incorrecte de l'appareil. Le non-respect de cette indication peut entrainer des dommages à l'appareil ou générer des résultats de mesure erronés.
REMARQUE:
Contient des informations supplémentaires relatives à l'utilisation de cet apparéil.
2.3 Manipulation des piles et accus
Cet apparéil est fourni avec 6 piles Mignon de type AA.
Ce type de pile n'est pas rechargeable. Observe les consignes de sécurité suivantes.

AVERTISSEMENT!
Dommages corporels dus à une manipulation inappropriée
Les piles contiennent des substances toxiques qui peuvent etre libérées sous forme d'explosion en cas de manipulation inappropriée.
- N'essayez pas de recharger les piles.
- Ne chauffez pas les piles/accus.
- Ne brûlez pas les piles/accus.
- En cas d'écoulement de l'acid des piles, évitez tout contact avec la peau, les yeux et les muqueuses. Nettoyez les zones affectées à l'eau claire et consultez immédiatement un médecin.
ATTENTION!
Dommages matériels et dysfonctionnement dus à une manipulation inappropriée
- Utilisez exclusivement le type de pile/d'accu indiqué voir « Insérer les piles » à la page 74.
- Remplacez toujours l'ensemble des piles/accus simultanément.
- Ne court-circuitez pas les piles/accus.
- En cas de non-utilisation pendant une période prolongée, retirez les piles/accus. Cela permet d'eviter tout écoulement d'acides dans l'appareil.
3. APERÇU
3.1 Éléments de commande


| N° | Élément de commande | Fonction |
| 1 | Mise sous et hors tension de la balance | |
| 2 | Touché fléchée • Lors du pesage: - Pression brève : activer la fonction Hold - Pression longue : activer la fonction 2 in 1 • Dans le menu : - Sélectionner un sous-menu, sélectionner un point de menu - Augmenter la valeur | |
| 3 | Touché fléchéée • Lors du pesage: - Pression brève : activer la fonction BMI - Pression longue : appeler le menu • Dans le menu: - Sélectionner un sous-menu, sélectionner un point de menu - Réduire la valeur | |
| 4 | Touché Entrée • Lors du pesage (si un réseau sans fil est configuré): - Pression brève : envoyer les résultats de mesure aux appareils prêts à receivevoir (ordinateur avec module sans fil USB) - Pression longue: imprimer les résultats de mesure (imprimante sans fil) • Dans le menu: - Confiirer le point de menu sélectionné - Enregistrer la valeur régée | |
| 5 | Écran | Élément d'affichage pour les résultats de mesure et pour la configuration de l'appareil |
| 6 | Logement des piles | Logement pour 6 piles Mignon, type AA, 1,5V |
| 7 | Raccord sec- teur | Utilisé pour raccorder un bloc d'alimentation (en option) |
| 8 | Roulettes de transport | La balance peut être déplacee sur ces roulettes |
| 9 | Vis calante 4 | pièces, utilisées pour une orientation précise |
3.2 Symboles de I'ecran

| Symbole Signification | ||
| A | Les piles sont faibles | |
| B | Fonctionnement avec bloc d'alimentation | |
| C | Fonction non éthalonnable active | |
3.3 Symboles sur la plaque signalétique
| Texte/Symbole Signification | |
| Modèle Numéro de modele | |
| Type Désignation du type | |
| Ser. No. Numéro de série | |
| Observer les consignes du mode d'emploi | |
| Appareil électromédical, type B | |
| Appareil à isolation renforcée, classe de protection II | |
| FCC ID | Pour les États-Unis : Numéro d'immatriculation de l'appareil auprès de l'auto-rité compétente americaine Federal Communications Commission FCC |
| IC | Pour le Canada : Numéro d'immatriculation de l'appareil auprès de l'auto-rité compétente Industrie Canada |
| CE 0123 | L'appareil est conforme aux normes et directives CE. |
| FC | Symbole de la FCC (États-Unis) |
| + - | L'appareil doit fonctionner uniquement avec du courant continu |
| Ne pas jeter l'appareil avec les ordures ménagères | |
3.4 Structure du menu
D'autres fonctions sont disponibles dans le menu de l'appareil. Ainsi, vous pouvez configurer l'appareil de manière optimale par rapport à votre propre contexte (détails à partir de la Page 79).

4. AVANT DE COMMENCER…
4.1 Montage de la colonne

La colonne avec écran LCD peut être montée dans deux positions. Vous déterminez de cette façon la direction dans laquelle l'affichage est lisible, vers la surface d'appui ou de l'autre côté.
- Placez le cache sur la colonne.
- Insérez la colonne dans la direction souhaïée dans l'évidement.
- Vissez la colonne par le bas avec la plate-forme de pesage.
Placez si nécessaire la balance sur le côte pour serrer les vis.
- Connectez la fiche du cable de l'écran sur la face inférieure de la plate-forme de pesage, tel qu'indiqué sur la figure.
ATTENTION!
Dysfonctionnement du à un début de montage
Lorsque les cables sont soumis à des contraintes, par ex. lorsqu'ils sont fortement piés ou lorsque les fiches sont piées, cela peut conduire à des affichages erronés ou provoquer la panne de l'écran.
- Posez tous les cables de manière à ce qu'ils ne soient pas trop courbés et que les fiches ne cassent pas.
-
Pour réduire les contraintes, placez tous les cables dans les supports correspondants.
-
Fixez les câbles dans les supports correspondants.
- Placez ensuite la balance en position verticale.
- Abaissez complètement le cache de la colonne jusqu'à ce qu'il s'engage sur la plate-forme de pesage.
4.2 Étabir l'alimentation électrique
L'alimentation de la balance est établie à l'aide de piles ou d'un bloc d'alimentation disponible en tant qu'accessoire.
Insérer les piles 6 piles Mignon, type AA, 1,5V sont requises (fournies avec l'appareil).

- Exercez une pression sur le verrou du logement des piles.
- Refermez le couvercle du logement des piles.
- Enlevez le support des piles.
- Placez les piles dans le support.
REMARQUE:
Veillez à ce que la polarité des piles soit respectée (repères dans le support des piles). Si l'indication bRTE apparait à l'écran, cela signifie que vous avez inséré l'une des piles à l'envers ou que les piles sont vides.
- Placez le support avec les piles dans le logement des piles.
- Fermez le logement des piles.
Raccorder l'appareil d'alimentation (option)
La balance peut être utilisé avec un bloc d'alimentation disponible en tant qu'accessoire.

AVERTISSEMENT!
Dommages corporels et matériels dus à des blocs d'alimentation inappropriés
Les blocs d'alimentation disponibles dans le commerce peuvent fournir une tension supérieure à celle indiquée sur l'appareil. La balance risque de surchauffer, de prendre feu, de fondre ou de semettre en court-circuit.
- Utilisez exclusivement des blocs d'alimentation enchichables seca d'origine avec une tension de 9V ou une tension de sortie régulée de 12V.

- Enfichez la fiche secteur requise dans le bloc d'alimentation.
- Insérez le connecteur d'alimentation du bloc d'alimentation dans la prise de la balance.
- Enfichez le bloc d'alimentation dans une prise secteur.
4.3 Monter la balance

Vis calantes
ATTENTION!
Mesure erronee due aune derivation de force
Si la balance et le chassis reposent par ex. sur une serviette, le poids n'est pas mesure correctement.
-
Installez la balance de manière à ce qu'elle soit en contact avec le sol uniquement via les vis calantes.
-
Positionnez la balance sur un sol stable et plat.
- Orientez la balance en tournant les vis calantes.
5. UTILISATION
5.1 Pesage
Démarrer le pesage


- Assurez-vous qu'aucune charge ne repose sur la balance.
- Appuyez sur la touche Start.
L'indication SECR apparait a I'écran, puis tous les éléments de I'écran s'affichent brievement.
La balance est prete a fonctionner lorsque I'indication 000 apparait a I'ecran.
Si la balance est utilisée avec un bloc d'alimentation, le symbole apparait à l'écran.
- Placez-vous sur la balance et restez debout sans bouger.
- Relevez le résultat de mesure.
Peser des nourrissons/ infants (2 in 1)
La fonction 2 in 1 vous permet de déterminer le poids de nourrissons et de jeunes enfants. Pour cela, un adulte doit tener l'enfant par le bras lors du pesage. Procedez comme suit :
- Assurez-vous qu'aucune charge ne repose sur la balance.
- Demandez à l'adulte de se placer sur la balance.
- Relevez le résultat de mesure.

- Maintenez enfoncée la touche fléchée (hold/2 in 1) jusqu'à ce que le message NET apparaitse à l'écran. Le poids est enregistré. 000 apparait à l'écran.
ATTENTION!
Mesure erronée due à une modification du poids initial
Si un autre poids initial a ete utilise pour le pesage de I'enfant, il est possible que le poids de I'enfant ne soit pas déterminé correctement.
Assurez-vous que le pesage de l'enfant est toujours effectué en présence de l'adulte avec lequel le poids initial a été déterminé.
- Assurez-vous que le poids de l'adulte ne change pas, par ex. en enlevant un vêtement.

- Demandez à l'adulte de se placer sur la balance avec l'enfant.
Le poids de l'enfant s'affiche.
Le symbole etesymbole etles messages
HOLD et NET s'affichent.
- Demandez à l'adulte de se-retirer de la balance avec I'enfant.
- Pour désactiver la fonction 2 in 1, appuyez sur la touche fléchée (hold/2 in 1) jusqu'à ce que le sym-
bole é symbole etes messages « HOLD » et « NET » ne s'affichent plus ou éteignez la balance.
Afficher en permanece le résultat de mesure (HOLD)

Si vous activez la fonction HOLD, la valeur du poids reste affichée après avoir retire la charge de la balance. Vous pouvez donc vous occuper du patient avant de noter la valeur du poids.

- Assurez-vous qu'aucune charge ne repose sur la balance.
- Demandez au patient de se placer sur la balance.
- Appuyez brievement sur la touche fléchée (hold/2 in 1).
L'affichage clignote jusqu'à ce qu'un poids stable soit mesure. La valeur du poids est ensuite affichée en permanence. Le symbole Fonction non éta-lonnable) et le message « HOLD » s'affichent.


- Pour désactiver la fonction HOLD, appuyez brievement sur la touche fléchée (hold/2 in 1).
Le symbole et le message « HOLD » ne sont plus affichés.
REMARQUE:
Si la fonction Autohold est activée, la valeur du poids reste affichée en permanence. voir « Activer la fonction Autohold (Ahold) » à la page 81.
Calculer et évaluer l'indice de masse corporelle (BMI)
L'indice de masse corporelle établit un rapport entre la taille et le poids, permettant ainsi d'obtenir des indications plus précises que, par ex., la formule du poids idéal de Broca. Une plage de tolérance considérée comme optimale sur le plan de la santé est indiquée.


- Assurez-vous qu'aucune charge ne repose sur la balance.
- Appuyez brievement sur la touche fléchée (bmi/ menu).
Le message « BMI » apparait.
Les flèches clignotent à l'écran.
La dernièreaille entree s'affiche.
- Vous pouvez reprendre la taille affichée ou régler une autre taille avec les touches fléchées.
- Confirmez votre réglage avec la touche Entrée (send/print).
- Demandez au patient de se placer sur la balance et de resterABOUT sans bouger.
- Relevez l'indice de masse corporelle et comparez-le avec les catégories mentionnées ci-après.




- Pour désactiver la fonction BMI, appuyez brièvement sur la touche Entrée (send/print).
| BMI Évaluation | |
| infévrier à 18,5 | Le patient présente un poids insuffisant. Cela pourrait indiquer une tendance à l'anorexie. Une prise de poids est recommendée pour améliorer son bien-être et ses performances. En cas de doute, le patient doit consulter un spécialiste. |
| entre 18,5 et 24,9 | Le patient présente un poids normal. Il peut rester tel qu'il est. |
| entre 25 et 30 (pré-obésité) | Le patient présente une surcharge pondérale légère à moyenne. Il doit perdre du poids s'il souffre déjà d'une maladie (par ex. diabète, hypertension, goutte, troubles du métabolisme lipidique). |
| supérieur à 30 | Il est urgent que le patientPERDE DU Poids. Son poids entraîne une surcharge du métabolisme, de la circulation et des os. Un régime adapté, beaucoup d'exercice et un changement de mode de vie sont conseillés. En cas de doute, le patient doit consulter un spécialiste. |
Calculer et imprimer automatiquement l'indice de masse corporelle
Si vous utilisez cette balance en combinaison avec une imprimante sans fil et une toise de mesure du système seca 360^ wireless, vous pouvez calculer et imprimer l'indice de masse corporelle automatiquement.
REMARQUE:
Pour utiliser cette fonction, il est nécessaire de connecter au préalable les apparciels dans un groupe sans fil (voir « Le réseau sans fil seca 360^ wireless » à la page 84).
- Effectuez le pesage.
- Appuyez brièvement sur la touche Entrée (send/print) de la balance.
La valeur de mesure est envoyée à l'imprimante sans fil, mais n'est pas imprimée.
- Effectuez la mesure de la taille.
- Appuyez de manière prolongée sur la touche Entrée (send/print) de la toise de mesure.
La valeur de mesure est envoyée à l'imprimante sans fil.
L'indice de masse corporelle est calculé.
La taille, le poids et l'indice de masse corporelle sont imprimés
Envoyer les résultats de mesure au récepteur sans fil
Si la balance est intégrée dans un réseau sans fil seca 360^ wireless, vous pouvez envoyer les résultats de mesure aux appareils prêts à receivevoir (imprimante sans fil, ordinateur avec module sans fil USB) par une simple pression sur une touche.

Appuyez sur la touche Entre (send/print).
- Pression brève : envoyer les résultats de mesure à tous les apparciels prêts à receivevoir
- Pression longue : sortir le résultat de mesure sur l'imprimante sans fil
Éteindre la balance

Appuyez sur la touche Start.
REMARQUE:
En mode de fonctionnement sur piles, la balance se coupe automatiquement après un bref lié si elle ne detecte aucune charge.
5.2 Autres fonctions (menu)
D'autres fonctions sont disponibles dans le menu de la balance. Vous pouvez ainsi configurer la balance de manière optimale en fonction de vos conditions d'utilisation.

- La description du point de menu « rF » se trouve à la section “Utiliser la balance dans un groupe sans fil (menu) » à la page 86.
Naviguer dans le menu 1. Allumez la balance.












- Maintenez enfoncée la touche fléchée (bm/i/menu) jusqu'à ce que le menu soit appelé.
Le dernier point de menu sélectionné apparait à l'écran (ici : Autohold « Ahold »).
- Appuyez sur l'une des touches fléchéées jusqu'à ce que le point de menu souhaité apparaisse à l'écran (ici : Atténuation « Fil »).
- Confirmez votre sélection avec la touche Entre (send/print).
Le réglage actuel pour le point de menu ou un sous-menu s'affichent (ici Niveau « 0 »).
- Pour modifier le réglage ou pour appeler un autre sous-menu, appuyez sur l'une des touches fléchées jusqu'à ce que le réglage souhaité (ici : Niveau « 2 ») s'affiche.
- Confirmez le réglage avec la touche Entrée (send/print).
Le programme quitte le menu automatiquement.
- Pour effectuer d'autres réglages, appelez le menu à nouveau et suivez la description.
REMARQUE:
Si aucune touche n'est enfoncée pendant env. 24 secondes, le programme quitte le menu automatiquement.
Supprimer automatiquement les valeurs enregistrées (AClr)
Pour éviter de conserver des résultats de mesure obsolestes dans la mémoire de l'appareil et donc d'entrainer un calcul errone de l'indice de masse corporelle, vous pouvez régler la balance de manière à ce que les résultats de mesure soient supprimés automatiquement après 5 minutes.
REMARQUE:
Sur de nombreux modèles, cette fonction est activée en usine. Si vous le souhaitez, vous pouvez désactiver cette fonction.

- Dans le menu, Sélectionnez le point « AClr »
- Confirmez la selection.
-
Sélectionnez le réglage souhaité :
-
On
-
Off
-
Confirmez la seLECTION.
Le programme quitte le menu automatiquement.
Enregistrer de manière permanente le poids supplémentaire (Pt)
La fonction Pré-Tare vous permet d'enregistrer de manière permanente un poids supplémentaire et de le déduire automatique d'un résultat de mesure. Vous pouvez par ex. enregistrer un poids global pour les chaussures et les vêtements et le déduire systématique du résultat de mesure si un patient est complètement habillé lors du pesage.

- Sélectionnez le point « Pt » dans le menu.
Le message « Pt » apparait.

- Confirmez votre selection. Les flèches clignotent à l'écran. Le dernier poids supplémentaire enregistré s'affiche.
- Vous pouvez reprendre la valeur enregistrree ou la modifier a l'aide des touches flechées.
REMARQUE:
Si vous entrez la valeur « 0 », la fonction est désactivée. Le message « Pt » n'appeaît plus à l'écran.
- Confirmez votre sélection.
- Demandez au patient de se placer sur la balance. Le poids du patient s'affiche. Le poids supplémentaire enregistré a ete deduit automatiquement.
- Pour désactiver la fonction, sélectionnez à nouveau le point « Pt » dans le menu.
- Confirmez votre sélection. La fonction est désactivée. Le programme quitte le menu automatiquement.
Activer la fonction Autohold (Ahold)
Si vous activez la fonction Autohold, le résultat de mesure resté affché lors de chaque pesage après avoir retire la charge de la balance. Il n'est donc plus nécessaire d'activer manuellement la fonction Hold pour chaque pesage.
REMARQUE:
- Sur de nombreux modèles, cette fonction est activée en usine. Si vous le souhaitez, vous pouvez désactiver cette fonction.
- Avec la fonction 2 in 1, le poids de l'enfant est toujours déterminé via Autohold, indépendamment du réglage sélectionné ici.
AHOLD
0n
- Dans le menu, selectionnez le point « Ahold »
- Confirmez la selection.
Le réglage actuel s'affiche. - Sélectionnez le réglage souhaité :
- On
- Off
- Confirmez votre sélection.
Le programme quitte le menu automatiquement.
Activer les signaux sonores (BEEP)
Vous pouvez déterminer si un signal sonore doit être audible lors de chaque pression sur une touche et lorsqu'une valeur de poids stable est atteinte. Ce point est important pour la fonction Hold/Autohold.
REMARQUE:
La fonction « Signal sonore lorsqu'la valeur de poids est stable » est activée en usine. Si vous le souhaitez, vous pouvez désactiver cette fonction.
bEEP
- Dans le menu, Sélectionnéz le point « BEEP »
PreSS
-
Confirmez la seLECTION.
-
Sélectionnez un point de menu :
- Press : Signal sonore en cas de pression sur une touche
- Hold : Signal sonore lorsque la valeur de poids est stable.
On
- Confirmez votre sélection.
Le réglage actuel s'affiche. - Sélectionnez le réglage souhaité :
- On
- Off
- Confirmez votre sélection.
Le programme quitte le menu automatiquement. - Si vous souhaitez activer également les signaux sonores pour la deuxième fonction, repêze la procédure.
Régler l'atténuation (Fil)
FIL
FIL0
L'atténuation (Fil = Filtre) vous permet de réduire les perturbations lors du calcul du poids (dues par ex. aux mouvements du patient).
- Dans le menu, selectionnez le point « Fil »
- Confirmez la selection.
Le réglage actuel s'affiche.

-
Sélectionnez un niveau d'atténuation.
-
0: atténuation faible
- 1: atténuation moyenne
-
2: atténuation forte
-
Confirmez la selection.
Le programme quitte le menu automatiquement.
Changer l'unité de poids (Unit)
Avec des balances non étabonnées, vous pouvez seLECTIONner l'unité (Unit) dans laquelle vous souhaitez afficher le poids.

- Dans le menu, selectionnez le point « Unit »

- Confirmez la seLECTION.
Le réglage actuel s'affiche.
Sélectionnez l'unité dans laquelle vous souhaitez afficher le poids :

Kilogrammes (kg)
- Li v r e s ( I b )
- Stones (st)
Le programme quitte le menu automatiquement.
Rétablir les réglages d'usine (RESET)
Vous peuvent rétablier les réglages d'usine pour les fonctions suivantes :
| Fonction Réglage d'usine | |
| Autohold (Ahold) en fonct | on du modele |
| Signal sonore (Press) off | |
| Signal sonore (Hold) on | |
| Atténuation (Fil) 0 | |
| Autoclear (Aclear) en fonction du modele | |
| Pré-Tare (Pt) 0 kg | |
| Taille pour l'indice de masse corporelle (BMI) | 170 cm |
| Unité de poids kg | |
| Module sans fil (SYS) off | |
| Autosend (ASend) off | |
| Autoprint (APrt) off | |
REMARQUE:
Lors du rétablissement des réglages d'usine, le module sans fil est étant. Les informations relatives aux groupes sans fil existants sont conservées. Les groupes sans fil ne doivent pas être reconfigurés.
RESET
- Dans le menu, selectionnez le point « Reset »
- Confirmez la seLECTION.
Le programme quitte le menu automatiquement.
- Éteignez la balance.
Les réglages d'usine sont rétablis et sont disponibles lorsque la balance est remise en marche.
6. LE RÉSEAU SANS FIL SECA 360^ WIRELESS
6.1 Introduction
seca Groupes sans fil


Cet apparéil est équipé d'un module sans fil. Le module sans fil permet de procéder à la transmission sans fil des résultats de mesure à des fins d'évaluation et de documentation. Les données peuvent être transmises aux apparéils suivants :
- seca Imprimante sans fil
- Ordinateur avec seca module sans fil USB
Le réseau sans fil seca 360^ wireless fonctionne avec des groupes sans fil. Un groupe sans fil est un groupe virtuel d'émetteurs et de récepteurs. Si plusieurs émetteurs et récepteurs du même type sont utilisés, il est possible de configurer jusqu'à 3 groupes sans fil (0, 1, 2) avec cet apparéil.
La configuration de plusieurs groupes sans fil garantit la transmission fiable et correctement adressée des valeurs de mesure lorsque plusieurs salles d'examen équipées d'appareils comparables doivent être utilisées.
La distance maximale entre les émetteurs et les récep-teurs est d'env. 10 mètres. Certaines conditions locales, par ex. l'épaissur et l'état des murs, peuvent réduire la portée.
Pour chaque groupe sans fil, la combinaison d'appareils suivante est possible :
1 pésé-bébé
1 pèse-personne
1 toise me sure
- 1 seca Imprimante sans fil
- 1 ordinateur avec seca module sans fil USB
Canaux

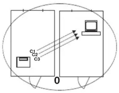
Dans un groupe sans fil, les apparêils communiquent les uns avec les autres sur trois canaux (C1, C2, C3). Ils garantissant ainsi une transmission de données fiable et sans incident.
Si vous configUREZ un groupe sans fil avec cette balance, l'appareil vous propose trois canaux garantissant une transmission de données optimale. Nous vous recommendons de reprendre les nombres de canal proposés.
Vous pouvez également sélectionner manuellement les numérores de canal (0 à 99), par ex. si vous souhaitez configurer plusieurs groupes sans fil.
Pour garantir une transmission de données sans incident, les canaux doivent se situer à une distance suffisante les uns par rapport aux autres. Nous recommendons une distance minimale de 30. Chaque numéro de canal ne doit être utilisé que pour un seul canal.
Exemple de configuration ; numéros de canal pour uneconfiguration de 3 groupes sans fil dans un cabinet :
- Groupe sans fil 0: C1=_, C2=30, C3=60
- Groupe sans fil 1: C1=10, C2=40, C3=70
- Groupe sans fil 2 : C1=20, C2=50, C3=80
Reconnaissance des apparciils
Si vous configUREZ un groupe sans fil avec la balance, cette dernière recherche les autres apparéils actifs dans le système seca 360^ wireless. Les apparéils reconnus s'affichent sur l'écran de la balance sous forme de modules (par ex. MO 3). Les chiffres ont la signification suivante :
1: Pese-personne
2: Toise de mesure
3:Imprima ntesansfil
- 4: Ordinateur avec seca module sans fil USB
- 7: Pèse-bébé
- 5, 6 et 8-12 : Réservé pour une extension du système
6.2 Utiliser la balance dans un groupe sans fil (menu)
Toutes les fonctions requises pour utiliser l'appareil dans un groupe sans fil seca se trouvent dans le sousmenu « rF ». Vous trouvez de plus amples informations sur la navigation dans le menu à la Page 80.

Activer le module sans fil (SYS)
L'appareil est fourni avec le module sans fil désactivé.
Vous doivent l'activer avant de pouvoir configurer un groupe sans fil.
REMARQUE:
Si vous activez le module sans fil, la consommation de l'appareil augmente. Pour utiliser l'appareil dans un réseau sans fil, nous recommandons l'emploi d'un bloc d'alimentation secteur.
595
- Mettez l'appareil sous tension.
On
-
Dans le sous-menue « rf», Sélectionnez le point de menu « SYS »
-
Confirmez la seLECTION.
-
Sélectionnez le réglage « on »
-
Confirmez la selection. Le programme quitte le menu automatiquement.
Configurer un groupe sans fil (Lrn)
F
Pour configurer un groupe sans fil, précédez comme suit :
- Mettez l'appareil sous tension.
- Appelez le menu.
- Dans le menu, Sélectionnez le point « rf »
Lrn
Id I
10
[230
[360
5EOP
- Confirmez la seLECTION.
- Dans le sous-menu « rf », Sélectionnez le point de menu « Irn » (learn).
- Confirmez la seLECTION.
Le groupe sans fil en cours de réglage (ici : Groupe sans fil 0 « ID 0 ») s'affiche.
Si le groupe sans fil « 0 » existe déjà et si vous souhaitez configurer un autre groupe sans fil avec cet apparéil, Sélectionnéz un autre ID avec les touches flèchéées (ici : Groupe sans fil 1 « ID 1 »).
- Confirmez votre sélection du groupe sans fil.
L'appareil propose un numero de canal pour le canal 1 (ici C1 « 0 »).
Vous pouvez reprendre le numero de canal proposé ou régler un autre numero de canal avec les touches fléchéées.
- Confirmez votre sélection pour le canal 1.
L'appareil propose un nombre de canal pour le canal 2 (ici C2 « 30 »).
Vous pouvez reprendre le numero de canal propose ou regler un autre numero de canal avec les touches fléchéées.
REMARQUE:
Les numérodes canal à deux caractères ne comportentaucen espace.L'indication «C230»signifie:Canal«2»,Numérode canal «30».
- Confirmez votre selection pour le canal 2.
L'appareil propose un nombre de canal pour le canal 3 (ici C3 « 60 »).
Vous pouvez reprendre le numero de canal proposé ou régler un autre numero de canal avec les touches fléchéées.
- Confirmez votre selection pour le canal 3.
Le message SEOP apparait a I'ecran.
L'appareil attend les signaux des autres apparciels adaptés à une transmission sans fil situés à sa portée.
REMARQUE:
Pour de nombreux apparèils, une procédure de mise sous tension spéciale doit être suivie en cas d'intégration dans un groupe sans fil. Respectez les consignes du mode d'emploi de l'appareil correspondant.
#
Activer la transmission automatique (ASend)
A5End
0n
- Mettez sous tension l'appareil que vous souhaitez intégrer dans le groupe sans fil, par ex. une imprimante sans fil.
Si I'imprimante sans fil a ete reconnue, un bip sonore retentit.
REMARQUE:
Après avoir intégré une imprimante sans fil dans le groupe sans fil, vous doivent ensuite seLECTIONner une option d'impression (Menu\rf\APrt) et régler l'heure (Menu\rf\time).
- Répétez l'étépe 11. pour tous les apparêils que vous souhaitez intégrer dans ce groupe sans fil.
- Appuyez sur la touche Entrée pour terminer la recherche.
- Appuyez sur l'une des touches fléchéées pour afficher les apparèils reconnus (ici : Mo 3 pour une imprimante sans fil).
Si vous avez intégré plusieurs apparèils dans le groupe sans fil, appuyez plusieurs fois sur les touches fléchéées pour vérifier que tous les apparèils ont été reconnus par la balance. - Quittez le menu à l'aide de la touche Entrée ou attendez jusqu'à ce que le programme quitte le menu automatiquement.
Vouss pouvez configurer l'appareil de manière à ce que les résultats de mesure soient envoyés automatiquement à tous les récepteurs préts à receivevoir et connectés dans le même groupe sans fil (par ex.: imprimante sans fil, ordinateur avec module sans fil USB).
REMARQUE:
Si vous utilisez une imprimante sans fil, assurez-vous que I'option d'impression n'est pas définie sur « off » (voir « Sélectionner I'option d'impression (APrt) » à la page 89).
- Mettez l'appareil sous tension.
- Dans le sous-menu « rf», SéLECTIONnez le point de menu « ASend » et confirmez la sélection.
- Sélectionnez le réglage « on » et confirmez la sélection.
Le programme quitte le menu automatiquement.
Sélectionner l'option d'impression (APrt)
Vous pouvez configurer l'appareil de manière à ce que les résultats de mesure soient sortis automatiquement sur une imprimante sans fil connectée dans le groupe sans fil.
REMARQUE:
Cette fonction n'est accessible que si une imprime sans fil seca a ete integree dans le groupe sans fil via la fonction « learn »
APrE
- Mettez I'appareil sous tension.
图
- Dans le sous-menu « rf», Sélectionnez le point de menu « APrt » et confirmez la Sélection.
- Sélectionnez le réglage pertinent pour votre combinaison d'appareils :
-HI:Résultats de mesure des apparciels de mesure de longueur
- MA : Résultats de mesure des balances
- HI_MA : Résultats de mesure des apparéils de mesure de longueur et des balances
- off : Pas d'impression automatique ; pour imprimer, exercez une pression longue sur la touche Entrée lors du pesage.
- Confirmez votre sélection.
Le programme quitte le menu automatiquement.
Régler l'heure (Time)
Vous pouvez configurer le système de manière à ce que l'imprimante sans fil ajoute automatiquement la date et l'heure à vos résultats de mesure. Pour cela, vous doivent régler en une seule fois l'heure et la date sur cet apparéil et transmettre ces informations à l'horloge interne de l'imprimante sans fil.
REMARQUE:
Cette fonction n'est accessible que si une imprime tance sans fil seca a ete integree dans le groupe sans fil via la fonction « learn »
EINE
- Mettez l'appareil sous tension.
YERIO
- Dans le sous-menu « rf», Sélectionnez le point de menu « Time »
- Confirmez la selection.
Le réglage actuel pour « Année (Year) » s'affiche.
- Réglez le numéro adéquat pour l'année.
- Confirmez la selection.
-
Répétez les étapes 3. et 4. pour « Mois » ( )non « Jour » (dRy), Heure (hour) et Minute (f). in
-
Confirmez votre sélection dans chaque cas.
Après avoir confirmé le réglage pour Minute, le programme quitte le menu automatiquement.
Les réglages sont transmis automatiquement à l'imprimante sans fil.
L'imprimante sans fil ajoute automatiquement la date et l'heure à chaque impression.
REMARQUE:
Pour plus d'informations sur l'utilisation de l'imprimante sans fil, reportez-vous à son mode d'emploi.
7. NETTOYAGE
Nettoyez si nécessaire le revêtement et le châssis à l'aide d'un produit d'entretien pour le menage ou d'un désinfectant du commerce. Respectez les consignes du fabricant.
N'utilisez enaucun cas unagent nettoyant abrasif, de l'alcool, du benzene ou tout autre produit de nettoyage. Ces produits peuvent endommager les surfaces de haute qualite.
8. QUE FAIRE SI...
| Défaut Cause/Solution | |
| ... aucune indication de poids n'apparait alors qu'une charge se trouve sur la balance ? | La balance n'est pas alimentée en courant. - Vérifiez si la balance est sous tension - Vérifiez si des piles sont insérées |
| ... 00 ne s'affiche pas avant le pesage ? | La balance a été chargée avant la mise sous tension. - Enlever la charge de la balance - Mettre la balance hors tension puis à nouveau sous tension |
| ... un segment resté allumé en permanence ou ne s'allume pas du tout ? | L'emplacement correspondant présente un défaut. - Informer le service maintenance. |
| ... l'indication apparait ? | La tension des piles diminue. - Insérer des piles neuves le plus+tôt possible |
| ... l'indication bêts apparaît ? | Les piles sont vides. - Insérer des piles neuves |
| ... l'indication 5E0P apparait? | La charge maximale a été dépassée. - Enlever la charge de la balance |
| ... l'indication 1E9P apparait? | La température ambiente de la balance est trop haute ou trop BASSE. - Installer la balance à une température ambiente comprise entre +10 °C et +40 °C - Attendre env. 15 minutes jusqu'à ce que la balance s'adapte à la température ambiente. |
| ... deux signaux sonores sont audibles lors du premier envoi des résultats de mesure après la mise sous tension? | L'appareil n'a pas pu envoyer les résultats de mesure aux récepteurs sans fil (imprimante sans fil seca ou ordinateur avec module sans fil USB). - Assurez-vous que la balance est intégrée dans le réseau sans fil. - Assurez-vous que le récepteur est sous tension. La réception est perturbée par les-appareils HF situés à proximité (par ex. les téléphones mobiles). - Avec les-appareils HF, maintainez une distance minimum d'1 mètre par rapport aux émetteurs et récepteurs du réseau sans fil seca. REMARQUE: Si cette perturbation n'est pas éliminée, aucun avertissement sonore ne retentit lors des tentatives d'envoi ultérieures. |
| ... dans le menu rf, seul le point « SYS » est visible ? | Le module sans fil est désactivé. - Activer le module sans fil (voir « Activer le module sans fil (SYS) » à la page 86). |
| ... dans le menu rf, seulement les points « SYS » et « Irn » sont visibles ? | Le module sans fil est activé et chaque groupe sans fil n'est configuré. - Configurer le groupe sans fil (voir « Configurer un groupe sans fil (Lrn) » à la page 86). |
| ... dans le menu rf, les points « APrt » et « Time » ne sont pas visibles ? | aucune imprimante sans fil n'est connectée dans le groupe sans fil. - Connecter l'imprimante sans fil dans le groupe sans fil via le point de menu « Irn » (voir « Configurer un groupe sans fil (Lrn) » à la page 86). |
| ... l'indication Er:H:11 apparait? | La charge se trouvant sur la balance est trop élevée ou la balance a été trop chargée sur un coin - Enlever la charge sur la balance ou répartir le poids de manière plus uniforme - Redémarrer la balance |
| ... l'indication Er:H:12 apparait? | La balance a été mise sous tension avec une charge trop élevé. - Enlever la charge de la balance - Redémarrer la balance. |
| ... l'indication Er:H:15 apparait? | Les oscillations propres de la balance ontentrainé son déplacement, le point zéro n'a pas pu être déterminé. - Redémarrer la balance |
| ... la touche Entrée (send/print) est enforcée et l'indication Er:H:71 apparait? | Transmission de données impossible, le module sans fil est désactifé. - Activer le module sans fil (voir « Activer le module sans fil (SYS) » à la page 86). |
| ... la touche Entrée (send/print) est enforcée et l'indication Er:H:72 apparait? | Transmission de données impossible, aucun groupe sans fil n'est configuré. - Configurer le groupe sans fil (voir « Configurer un groupe sans fil (Lrn) » à la page 86). |
9. MAINTENANCE
9.1 Informations sur la maintenance
À son départ de l'usine, votre balance seca possède une précision supérieure à ±0,15%. Pour continuer à obtenir cette précision, le produit doit être monté avec soin et entretenu à intervalles réguliers. Selon la fréquence d'utilisation, nous vous recommendons de procéder à la maintenance tous les 3 à 5 ans.
ATTENTION!
Un entretien incorrect peut être à l'origine d'erreurs de mesures
- Les entretiens et réparations doivent être exclusivement confiés à des partenaires SAV autorisés.
- Pour connaître le partenaire SAV le plus proche, rendez-vous sur le site www.seca.com ou envoyez un e-mail à service@seca.com.
10.CARACTERISTIQUES TECHNIQUES
| Caracteristiques techniques seca 703 | |
| Dimensions • Profondeur • Largueur • Hauteur | 520 mm 360 mm 930 mm |
| Poids à vide 17 kg | |
| Plage de températures +10°C à +40°C | |
| Hauteur des chiffres 25 mm | |
| Alimentation | Pile Bloc d'alimentation (option) |
| Consommation • avec le module sans fil désactivé • avec le module sans fil activé | env. 32 mA env. 50 mA |
| Temps de marche max. en fonctionnement sur piles • avec le module sans fil désactivé • avec le module sans fil activé | env. 5.600 minutes Bloc d'alimentation recommendé |
| EN 60 601-1: • Appareil à isolation renforcée, classe de protection II: • Appareil électromédical, type B: | ☐ 大 |
| Charge max. • Étendue de pesage partielle 1 • Étendue de pesage partielle 2 | 150 kg / 330 lbs / 24 sts 300 kg / 660 lbs / 47 sts |
| Charge minimale 2 kg | |
| Graduation fine • Étendue de pesage partielle 1 • Étendue de pesage partielle 2 | 50 g / 0.1 lbs 100 g / 0.2 lbs |
| Étendue de tarage 300 kg | |
| Précision • 0 à 70 kg • 70 kg à charge maximale • 0 à 150 lbs • 150 lbs à charge maximale • 0 à 11 sts • 11 sts à charge maximale | ±100 g ±0,15% ±0.2 lbs ±0,15% ±0.2 lbs ±0.2 lbs |
| Caractéristiques techniques seca 703 | |
| Transmission sans fil • Bande de fréquences • Puisance d'émission • NORMES RÉPULIS | 2,433 GHz - 2,480 GHz < 10 mW EN 30028, EN 301 489-1, -17 |
11.ACCESSOIRES
| Accessoires Numéro d'article | |
| seca réseau sans fil seca 360° wireless : • Imprimante sans fil - seca 360° wireless printer 465 - seca 360° wireless printer advanced 466 • Logiciel pour ordinateur - seca analytics 105 • Module sans fil USB seca 360° wireless USB adapter 456 | Variantes spécifique au pays Variantes spécifique au pays Licences globales spécifique à l'application |
| 456-00-00-009 | |
| Alimentation électrique : • Bloc d'alimentation enchichable, Euro : 230V~ / 50Hz / 12V= / 150mA • Bloc d'alimentation, Switchmode : 100-240V~ / 50-60Hz / 12V= / 0,5A | 68-32-10-252 68-32-10-265 |
| Autres accessoires • Toise télécopique seca 220, Étendue de mesure : 890 - 2000 mm, Graduation : 1 mm, Matériau : aluminium anodisé dur, coulisse avec languette de mesure encliquetable • Toise télécopique seca 220 (graduation double), Étendue de mesure : 890 - 2000 mm et 35 " - 78 3/4 ", Graduation : 1 mm et 1/8 ", Matériau : aluminium anodisé dur, coulisse avec languette de mesure encliquetable | 220-17-14-004 220-18-14-004 |
12.MISE AU REBUT
12.1 Mise au rebut de l'appareil

Ne jetez pas l'appareil avec les ordures menagères. L'appareil doit être mis au rebut en tant que déchet d'équipements électriques et électroniques, conformément aux directives en vigueur. Respectez les dispositions en vigueur dans votre pays. Pour de plus amples informations à ce sujet, veuillez contacter notre service après-vente à cette adresse :
service@seca.com
12.2 Files et accus

Ne jetez pas les piles et accus usages avec les ordures menagères, qu'ils contiennent ou non des substances toxiques. En tant que consommateur de ces produits, vous étés tenu par la loi demettre au rebut les piles et les accus via les centres de collecte de votre commune ou du commerce. Ne restituez les piles et les accus qu'une fois ces derniers complètement décharges.
13.GARANTIE
Une garantie de deux ans à compter de la date de livraison est accordée pour les défauts de matière ou de fabrication. Cette garantie ne s'applique pas aux pieces amovibles, comme par ex. les piles, les cables, les blocs d'alimentation, les accus, etc. Les défauts couverts par la garantie sont réparés gratuitement sur presentation de la facture d'achat par le client. Aucune autre demande de réparation ne peut être prise en compte. Les frais de transport sont à la charge du client si l'appareil n'est pas installé à la même adresse que celle du client. En cas de dommages dus au transport, le cas de garantie peut être invoqué uniquement si l'emballage d'origine complet a été utilisé pour les transports et si la balance a été immobilisée et fixée conformément à l'emballage initial. Tous les éléments de l'emballage doivent par conséquent être conservés.
Aucun cas de garantie ne peut etre invoqué si I'appareil est ouvert par des personnes qui ne sont pas explicite-ment autorisées par seca.
Nous prions nos clients à l'étranger de bien pouvoir contacter directement le revendeur de leur pays respectif pour les cas de garantie.
INDICE
Le pese-personnes non automatique
...satisfait en substance à la directive 2004/108/CE relative à la compatibilité electromagnétique ainsi qu'aux normes EN 300 328 et EN 301 489 relatives à la compatibilité electromagnétique et au spectre radioélectrique.
Si toutes, lors de l'utilisation du pèse-personne à proximé de sources de rayonnement electromagnetique telles que des fours micro-ondes, des téléphones mobiles, des walkies-talkies, etc., des perturbations provisoires ou des erreurs de pesage apparaissait, veuillez éloigner la balance de la source de perturbations ou déconnectez celle-ci et repêze l'opération de pesage.

Notice Facile