703 - Balanças SECA - Manual de utilização gratuito
Encontre gratuitamente o manual do aparelho 703 SECA em formato PDF.
| Características técnicas | Capacidade máxima: 200 kg, Precisão: 100 g, Dimensões: 350 x 350 x 60 mm, Alimentação: Pilhas |
|---|---|
| Utilização | Projetada para uso médico e profissional, ideal para pesar pacientes em ambiente hospitalar ou clínico. |
| Manutenção e reparação | Limpar com um pano macio, evitar produtos abrasivos. Verificar regularmente o estado das pilhas. |
| Segurança | Não ultrapassar a capacidade máxima, usar numa superfície plana e estável para evitar quedas. |
| Informações gerais | Garantia de 2 anos, conforme as normas de segurança vigentes, peso leve para transporte fácil. |
Perguntas frequentes - 703 SECA
Perguntas dos utilizadores sobre 703 SECA
0 pergunta sobre este aparelho. Responda às que conhece ou faça a sua.
Faça uma nova pergunta sobre este aparelho
Baixe as instruções para o seu Balanças em formato PDF gratuitamente! Encontre o seu manual 703 - SECA e retome o controlo do seu dispositivo eletrónico. Nesta página estão publicados todos os documentos necessários para a utilização do seu dispositivo. 703 da marca SECA.
MANUAL DE UTILIZADOR 703 SECA
- Descrição do aparecido 161
1.1 Parabéns!. 161
1.2 Finalidade de utilização. 161
- Informações de seguranca. 162
2.1 Instruçõesbasicas de segança 162
2.2 Instruções de segurança\
nestemanualdeinstrçõesde\
utilização 162
2.3 Manuseamento de pilhas e acumuladores. 163
- Vista geral 164
3.1 Elementos de commando . 164
3.2 Simbolos no display 165
3.3 Símbolos da placá de caractéristicas166
3.4 Estrutura do menu 167
- Antes de iniciaar a utilização deve...168
4.1 Montagem da coluna 168
4.2 Providenciar a alimentacao de energia 169
Colocar as pilhas 169
Ligar o alimentador (optional) . 169
4.3 Montar a balanca 170
- Utilização 170
5.1 Pesar 170
Iniciar o processo de pesagem170
Pesar lactentes/crianças\
pequenas (2 em 1) . . . . . . . . . . . . . . . . . . . . . . . . . . . . . . . . . . . . . . . . . . . . . . . . . . . . . . . . . . . . . . . . . . . . . . . . .
Indicar permanente o
resultado da medicao (HOLD).171
Determinar e avaliar o Body Mass Index (BMI) (Indice de massa corporal - IMC) 172
Calculus imprimir automaticamente o IMC. 173
Enviar o resulto da medicacao para o receptor de rado . . . . 173
Desligar a balanca 174
5.2 Outras funções (menu) 174
Navegar no menu. 174
Apagar automaticamente
valores guardados (AClr) 175
Guardar permanente o peso adicional (Pt) 176
Activar a funcao Autohold (Ahold) 176
Activarsinais acusticos(BEEP)177
Ajustar o amortecimento (Fil) . 177
Comutar a unidade de peso (Unit) (unidade) 178
Restabelecer as definições de fabrica (RESET) 178
- A rede sem fios seca 360^ wireless. 179
6.1 Introducao 179
Grupos de comunicação via rádio seca 179
Canais 180
Detecao de apareiros 180
6.2 Operar a balança numroupode comunicação via rádio (menu) 181
Activar modulo de radio (SYS) 181
Configurar grupo de comunicação via rádio (Lrn) . . 181
Activar a transmissao automatica (ASend) (envio automatico). 183
Selecionar a opcao de impressao (APrt). 184
Definir a hora (Time) (hora) 184
- Limpeza. 185
- O que fazer quando...? 185
- Manutenção. 187
9.1 Informacoes relatives a manutenacao 187
10.Dados techniques. 188
11. Acessórios. 189
12. Eliminação 190
12.1 Eliminação do aparecido . . . 190
12.2 Pilhas e acumuladores . 190
13.Garantia. 190
1. DESCRIÇÃO DO APARELHO
1.1 Parabéns!
Ao adquirir a balança electrónica para adultos seca 703 você optou por um aparecido de elevada precisão e ao mesmo tempo robusto.
Há mais de 170 anos que a seca coloca a sua experiencia ao服务于a saude, affirmando-se como lidr de mercado em muitos paises do mundo, gratas as suas inovacoes na area da metrologia.
1.2 Finalidade de'utilisation
A balança electrónica paraadultos seca 703 éutilizada principalmente em hospitais, consultórios Médicos e unidas estacionárias de cuidados de saude, de acordo com as normas vigentes no País de'utilisation.
Em algumas variantes esta balança, a indentação do peso pode alternar entre quilogramas (kg),libraries (Ibs) e stones (sts). O peso é determinado em poucos segundos.
Paralelamente à determinação convencional do peso, a seca 703 possui uma funcção para determinar o Índice de Massa Corporal (IMC). Para tal, introduz-se a estatura da pessoa atraves do teclado, segindo-se deposito ou calculo automatico do Índice de massa corporal correspondente ao valor do peso.
Através da rede sem fios seca 360^ wireless é possível transmitir, sem a utilização de fios, os resultados de medicação para uma impressora sem fios seca ou para um PC equipado com o software seca analytics 105 e o seca 360^ wireless USB adapter 456.
A seca 703 pode ser deslocada sobre rodas e'utiliza.
durante um longo periodo de tempo com um Conjunto
de pilhas, gratas ao seu reduzidoconsumo de energia.
2. INFORMAÇÉS DE SEGURANÇA
2.1 Instruçõesbasicas de segurarca
- Observe as indentações deste manual de instruções de'utilisation.
- Guarde cuidadosamente o manual de instruções de'utilisation e a respectiva declaração de conformidade.
- Certifique-se de que a balança se entrainuma posicao segura sobre uma superficie plana.
- Não deixe a balança cair. Não sujeite a balança a pancadas fortes.
- No caso de operar a balança com um alimentador de rede, colocque o cabo de rede de forma a que nãohawk perigo de tropeçar.
- Mande realizar periodicamente PTRabalhos de manutencao ver "Manutencao" na pagina 187.
- Os tratabalhos de manutenção e reparação devem ser executados apenas por um服务于 pos-venda autorizzato. Em www.seca.com encontrar o的服务o de pos-venda mais(PRXSIMO de si. Em alternativa, envie um e-mail para service@seca.com.
- Utilize exclusivamente acessórios e peças sobressalentes originais seca. Caso contrário, a seca não garante o direito à garantia.
- Na utilização de aparehos de alta frequência, como p. ex. telemóveis, mantenha uma distância minima de aprox. 1 metro, de forma a evacitar medicções erradas ou falhas na transmissão via rádio.
2.2 Instruções de segurança neste manual de instruções de utilizesação

PERIGO!
Identifica uma situacao de grande perigo fora do normal. A inobservancia esta indicatorao resultarao em ferimentos graves irreversiveis ou mesmo fatais.

AVISO!
Identifica uma situação de grande perigo para do normal. A inobservência esta indicação pode resultar em ferimentos graves irreversíveis ou mesmo fatais.

CUIDADO!
Identifica uma situação de perigo. A inobservação esta indicação pode resultar em ferimentos ligeiros ou médios.
ATENÇAIO!
Identifica uma possivel'utilisation errada do aparibo. A inobservancia esta indicatoração pode originar danos no aparelo ou resultados de medicacao errados.
NOTA:
Contém informações adiconais relativas à utilização deste aparecido.
2.3 Manuseamento de pilhas e acumuladores
Este aparecido é fornecido com 6 pilhas Mignon, tipo AA. Este tipo de pilhas não é recarregavel. Respeite as instruções de segurarça que se seguem.

AVISO!
Danos pessoas devo a manuseamento inadequado
As pilhas contém substâncias nocivas que podem explodir no caso de um manuseamento Incorrecto.
- Não tente recarregar as pilhas.
- Não aqueça pilhas/acumuladores.
- Não queime pilhas/acumuladores.
- Em caso de derramamento de acido, evite o contacto com a pele, olhos e mucosas. Lave as zonas afectadas com agua limpa e abundante e consulte imeditamente um medico.
ATENÇAIO!
Danos no aparecido e anomalias devido autilização inadequada
- Utilize exclusivamente o tipo de pilhas/ Accumuladores indicado ver "Colocar as pilhas" na page 169.
- Substitua sempre todas as pilhas/ Accumuladores em simultaneo.
- Não curte-circuite pilhas/acumuladores.
- Se o aparelho não for utilizesdo durante um longo periodo de tempo retire as pilhas/ Accumuladores. Deste modo, não saira acido para o aparelho.
3. VISTA GERAL
3.1 Elementos de commando


| N.° | Elemento de commando | Função |
| 1 | Ligar e desligar a balança | |
| 2 | Tecla de seta • Durante a pesagem: - Breve pressão: activar a função Hold (bloquear) - Longa pressão: activar a função 2 in 1 (2 em 1) • N o m e n u: - SeLECTIONAR o submenu, selecionar o item de menu - AUMENTAR o valor | |
| 3 | Tecla de seta • Durante a pesagem: - Breve pressão: fazer a função BMI (IMC) - Longa pressão: chamar o menu • N me menu: - SeLECTIONAR o submenu, selecionar o item de menu - Reduziro valor | |
| 4 | Tecla Enter • Durante a pesagem (se estiver instalada a rede sem fios): - Breve pressão: enviar o resulto de medicao para os apareiros preparados para recepçao (PC com módulo de rádio USB) - Longa pressão: imprimir o resulto de medicao (impressora sem fios) • N me menu: - Confirmar o item de menu selecionado - Guardar o valor definido | |
| 5 | Display | Elemento indicator para resultados de medicao e para a configuraçao do aparecido |
| 6 | Compartimento das pilhas | Alojamento para 6 pilhas Mignon, tipo AA de 1,5 Volts |
| 7 | Ligaço eletrica | Serve para ligar um alimentador disponível optionalmente |
| 8 | Rolos de transporte | A balança pode ser deslocada sobre"These rolos" |
| 9 | Pé roscado 4 | unidas, servem para o alinhamento exacto |
3.2 Simbolos no display

| Símbolo Significado | ||
| A | Pilhas fracas | |
| B | Funcionamento com alimentador | |
| C | Função não calibratório activa | |
3.3 Símbolos da placá de característica
| Texto/Símbolo Significado | |
| Modelo N.° do modelos | |
| Tipo Designação do tipo | |
| N.° série Nível de série | |
| i | Respeitar o manual de instruções de'utilização |
| Aparelho electromédicinal, tipo B | |
| Aparelho isolado, classe de proteção II | |
| FCC ID | Para EUA: Número de homologiação do aparelho pela autoridade americana Federal Communications Commission FCC |
| IC | Para o Canadá: Número de homologiação pela autoridade Industry Canada |
| CE 0123 | O aparelho está em conformidade com as normas e direcitas das CE. |
| FC | Símbolo da FCC (USA) |
| +--- | Operar o aparelho apenas com corrente continua |
| Não colocar o aparelho no lixo dométrico | |
3.4 Estrutura do menu
No menu do aparecido está disponible以及其他 funções. Assim, pode configurar o aparecido de forma ideal para as suas condições de'utilisation (Detalhes a partir da Págrina 174).

4. ANTES DE INICIAR A UTILIZACAO DEVE...
4.1 Montagem da coluna

A coluna com oestrador LCD pode ser montada em das posicaoes. Deste modo, pode determinar em que sentido e que oestrador élegivel - a partir da base de apoio fixo ou a partir da posicao oposta.
- Encaixe a tampa na coluna.
- Insira a coluna na abertura, no sentido desejado.
- Aparafuse a coluna à plataforma de pesagem, a partir de baixo.
Se necessário, vire cuidadosamente a balança de lado para aperture os parafusos.
- Una, tal como ilustrado, a ficha do cabo do在哪 dor à parte de baixo da plataforma de pesagem.
ATENÇAÖ!
Anomalia devido a erros de montagem
Quando os cabos são montados ficando sob tensão, p. ex. quando está muito vincados ou a ficha está dobrada, pode resultar indicatores erradas ou o display pode apagar-se.
- Disponha todos os cabos de forma a que não fiquem muito vincados nem a ficha dobrada.
-
Certifique-se de que os cabos não ficam sobre tensão, colocando-os nos respectivos suportes.
-
Fixe os cabos nos respectivos suportes.
- Seguidamente, volta a colocar a balança de pé.
- Empurre a tampa da coluna toda para baixo até ficar engatada na plataforma de pesagem.
4.2 Providenciar a alimentação de energia
Colocar as pilhas

A alimentação de energia da balança é feita atraves de pilhas ou de um alimentador disponible como acessório.
São necessarias 6 pilhas Mignon, tipo AA, de 1,5 Volts (incluidas no escopo de fornecimento).
- Pressione o fecho do compartmento das pilhas.
- Abra a tampa do compartmento das pilhas.
- Retire o suporte das pilhas.
- Cologne as pilhas no suporte.
NOTA:
Tenha atençao a polaridade correcta das pilhas (marcações no suporte das pilhas). Se aparecer a indicação bAeT no display, significa que as pilhas não foram bem colocadas ou que está vazias.
- Coloque o suporte com as pilhas no compartmento.
- Fecha o compartmento das pilhas.
Ligar o alimentador (optional)
A balança pode functionar com um alimentador que está disponible como acessório.

AVISO!
Perigo de ferimentos e de danos no aparecido na utilização de alimentadores errados
Os alimentadores comuns podem fornecer alta tensão, tal como está indicado nosleasedos. A balança pode sobraquecer, incendiar-se, derreter ou fazer curto-circuito.
- Utilize exclusivamente alimentadores originais seca de 9 V ou uma tensione de saida regulada de 12 Volts.

- Insira a ficha necessária para a alimentação de energia no alimentador.
- Insira a ficha do aparelho de rede na tomada de ligação da balança.
- Ligue o alimentador a uma tomada de rede.
4.3 Montar a balança

Pés roscados
ATENÇÂO!
Medicão errada devido a derivação de forca
Se a caixa da balança estiver colocada, p. ex. sobre uma toalha, o peso não sera medico correctamente.
-
Coloque a balança de forma a que apenas os pés roscados tenham contacto com a superficie de apoio.
-
Coloque a balança sobre uma superficie segura e plana.
- Ajuste a balanca rodando os pés roscados.
5. UTILIZACAO
5.1 Pesar
Iniciar o processo de pesagem


Pesar lactentes/ crianças��enas (2 em 1)
- Certifique-se de que a balança está vazia.
- Prima a tecla Start (Iniciar).
Aparece SECA no主義or, de seguida sao visua- alizados por breves instantes todos os elementos do display.
A balança está operacional quando aparecer a指示ação 0.00 no display.
Se a balança for operada com um alimentador, surge o símbolo no主義or.
- Cologne-se sobre a balança e permanecelemetry.
- Leia o resulto da medicao.
Com a ajuda da funcao 2 em 1 pode determinar o peso de lactentes e de crianças��enas. Para tal, a crianca tem de ficar ao colo de um adulto durante a pesagem. Proceda da segunte forma:
- Certifique-se de que a balança está vazia.
- Peça aoadulto para se colocar sobre a balança.
- Leia o resulto da medicacao.

- Mantenha a tecla de seta (hold/2 in 1) premida, até que apareça a mensagem NET no display.
O peso é guardado.
000aporeceno display.
ATENÇAIO!
Medicao errada devidao a peso de saida trocado
Quando a pesagem da crianca é efectuada com um及其他 peso de saida, não é possivel determinar corretoamente o peso da crianca.
- Certifique-se de que a pesagem da criança é sempre efectuada com o adulto com quem foi determinado o peso de saída.
- Certifique-se de que o peso do adulto não é alterado, p. ex. ao vestir mais uma coisa de roupa.

- Peça aoadulto para se colocar sobre a balança com acriança.
É indicado o peso dacriança.
O symbolo o symbolo eas mensagens
- Peça aoadultopara sair da balança comacriança.
- Para descativar a funcao 2 em 1, prima a tecla de seta (hold/2 in 1), até que o símbolo ao Simbolo
e as mensagens "HOLD" e "NET" desapareçam doasntrador ou desligea balanca.
Indicarpermanentemente oresultado damedição (HOLD)

Quando activa a funcao HOLD, o valor do peso continua a ser indicado mesmo antes de a balanca está vazia. Desta forma, pode fazer do paciente antes de anotar o valor do peso.
- Certifique-se de que a balança está vazia.
- Peça ao paciente para se colocar sobre a balança.
- Prima breve a tecla de seta (hold/2 in 1).
A indentação permanece intermitente até que está aferido um peso estável. A seguir, o valor do peso é exibido de forma permanente. O símbolo (função não calibravel) e a mensagem "HOLD" surgem no主義者。

- Para desactivar a funcao HOLD, prima breve a tecla de seta (hold/2 in 1).
O*síbolo a mensagem"HOLD"desaparecem doasnocrador.

NOTA:
Quando a funcao Autohold (bloqueio automatico) está activada, o valor do peso é indicado de forma permanente. ver "Activar a funcao Autohold (Ahold)" na page 176.
Determinar e avaliar o Body Mass Index (BMI) (Indice de massa corporal - IMC)





O indice de massa corporal relaciona a estatura e o peso do corpo permitindo assim dar indicatoroes mais precisas, como p. ex. o peso ideal segudo Broca. É indica uma faixa de tolerância que correponde a uma faixa ideal do punto de vista da Saúde.
- Certifique-se de que a balança está vazia.
- Prima breve a tecla de seta (bmimenu).
Aparece a mensagem "BMI" (IMC).
Piscam setas no display.
E indica a ultima estatura introduzida. - Pode aceitar a estatura indica ou seleccionar uma outra estatura com a tecla de seta.
- Confirme a sua selecao com a tecla Enter (send/ print).
- Peça ao paciente para se colocar sobre a balança e permanecer quieto.
- Leia o IMC e compare-o com as categorias indicadas mais abaixo.
- Para desactivar a funcao BMI (IMC), prima brevemente a tecla Enter (send/print).
| BMI Avaliação | |
| inferior a 18,5 | Ó pacientePGA muito pouco. Podérá existir um tendência para anorexia nervosa. Recomenda-se um aumento de peso de forma a melhorar o bem-estar e a capacidade de desem-penso. Em caso de duária consultar um médico especialista. |
| entre 18,5 e 24,9 | Ó paciente tem um peso normal. Pode manter o peso actual. |
| entre 25 e 30 (pré-obesidade) | Ó paciente tem um ligeiro a médio excesso de peso. Deve reduzir o seu peso se padecer de alguma doença (p. ex. diabetes, tensão arterial alta, gota, perturbações do metabo-lismo lipídico). |
| superior a 30 | É absolutamente necessário reduzir o peso. O metabolismo, a circulação sanguínea e os ossos está a ser afectados. Recomenda-se uma dieta coerente, muito exercício e um treino de comportamento. Em caso de dúvida consultar um médico especialista. |
Calcular e imprintar automaticamente o IMC
Se utilizes esta balança juntamente com uma impressora sem fios e uma escala de medicacao do comprimento do Sistema seca 360^ wireless, pode calcular e imprimir automaticamente o IMC.
NOTA:
É condição prévia para esta funcção que os aparhos esteyam registados em Conjunto num grupo de comunicação via radio (ver "A rede sem fios seca 360^ wireless" na págnia 179).
- Efectue a pesagem.
- Prima breve a tecla Enter (send/print) da balança.
O valor medido éenviado para a impressora sem fios mas não é impresso.
- Efetue a medicao do comprimento.
- Prima durante mais tempo a tecla Enter (send/print) da escala de medico do comprimento.
O valor medido é enviado para a impressora sem fios.
O IMC é calculado.
O comprimento, o peso e o IMC são impressos.
Enviar o resulto da medicao para o receptor de rado

Se a balança estiver integra numa rede sem fios seca 360^ wireless, é possivel enviar os resultados de medicação para apareiros preparados para receção, (impressora sem fios, PC com modulo de radio USB), atraves do acontecimiento das teclas.
Prima a tecla Enter (send/print).
- Breve pressão das teclas: enviar o resulto de medicação para todos os apareiros preparados para receção
- Longa pressão das teclas: imprimir o resultado de medicação na impressora sem fios
Desligar a balança

Prima a tecla Start (Iniciar).
NOTA:
No funciona a pilhas, a balança desligase automaticamente peu tempo antes de estar vazia.
5.2 Outras funções (menu)
No menu da balança está disponible以及其他 funções. Assim, pode configurar a balança de forma ideal para as suas condições de'utilisation.

- A descrição do item de menu "rF" encontrar-se na secção "Operar a balança numroupo de comunicação via rádio (menu)" na págnia 181.
Navegar no menu 1. Ligue a balança.


- Mantenha a tecla de seta (bm i/menu) premida, até que apareça o menu.
O item de menu seleccionado porultimate aparece no display (aqui: Autohold "Ahold").

- Prima uma das teclas de seta as vezes necessarias até que apareça o item de menu desejado no display (aquí: Amortecimento "Fil").
- Confirme a sua selecao com a tecla Enter (send/ print).
Sãoindicadasasdefiniçõesactuaispara oitem demenu ou umsubmenu(aqui:nivel"0").
- Para alterar a definição ou chamar及其他 submenu, prima uma das teclas de seta as vezes necessarias até que surja a definição desejada (aquí: não "2").
- Confirme a definição com a tecla Enter (send/ print).
A saída do menu é feita automaticamente.
- Para efectuar outras definições, chame novamente o menu e procede do segunte modo.
NOTA:
Se durante aprox. 24 segundos não for pre-mida nenhuma tecla, a saída do menu é feita automaticamente.
Apagar automaticamente valores guardados (ACIr)
Para fazer que permançam na memória do aparecido resultados de medico desactualizados que deseem origem a um calculo do IMC Incorrecto, é possivel configurar a balança de forma a que os resultados de medicacao sejam eliminados automaticamente antes 5 minutos.
NOTA:
Em algunos modelos esta funcão vem já activada de fabrica. Se desejar, pode desactivar a funcão.

- No menu, selezione o item "AClr".
- Confirma a seleção.
-
Seleciona a definição desejada:
-
On
-
Off
-
Confirma a seleção.
A saída do menu é feita automaticamente.
Guardar permanece o peso adicular (Pt)




Activar a funcao Autohold (Ahold)

A funcão de pré-taragem permite guardar um peso adicional de forma permanente e subtrai-lo automaticamente de um resulto de medicao. Pode guardar por exemplo um peso aproximado para os sapatos e roupas e subtraio do resulto de medicao, sempre que um paciente é pesado completenessamente vestido.
Aparece a mensagem "Pt".
- Confirma a sua selecao.
Piscam setas no display.
É indicado oultimate peso adicional guardado.
- Pode aceitar o valor guardado ou alterá-lo com as teclas de seta.
NOTA:
Se introduzir o valor "0", a funcão é desligada.
A mensagem "Pt" não aparece no display.
-
Confirme a sua selecao.
-
Peça ao paciente para se colocar sobre a balança.
É indicado o peso do paciente.
O peso adicional guardado foi subtraído automaticamente.
- Para desactivar a funcao, selecione novamente no
menu o item "Pt".
- Confirme a sua selecao.
A saída do menu é feita automaticamente.
Quando activa a funcão Autohold (bloqueio automatico), o resultado da medicação continua a ser indicado em cada過程o de pesagem,(before de a balança ser esvaziada. Deixa de ser necessário activar manualmente a funcão Hold em cada過程o de pesagem.
NOTA:
- Em algunos modelos esta funcão vem já activada de fabrica. Se desejar, pode desactivar a funcão.
-
Independente das definições tão selecções, o peso da criança é sempre determinado em Autohold na função 2 em 1.
-
No menu, selezione o item "Ahold".
-
Confirma a seleção.
É indicada a definição actual.
On
-
SeLECTIONA definição desejada:
-
On
-Off -
Confirme a sua selecao.
A saía do menu é feita automaticamente.
Activar sinais acústicos (BEEP)
Pode definir se deve ser audível um sinal acústico ao pressionar as teclas ou ao ser alcângado um valor de peso estável. O最後 é importante para a funcção Hold/Autohold.
NOTA:
A funcão "Sinal acústico com um valor de peso estável" vem activada de fabrica. Se desejar, pode desactivar esta funcão.
BEEP
Pre55
- No menu, selezione o item "BEEP".
- Confirma a selecao.
-
Selegione um item de menu:
-
Press: Sinal acústico ao pressionar teclas
- Hold: Sinal acústico quando é alc的功能 um valor de peso estável.
0n
-
Confirme a sua seleção.
É indicada a definição actual. -
Seleciona a definição desejada:
-
On
-
Off
-
Confirme a sua selecao.
A saída do menu é feita automaticamente.
- Se desejar activar o sinal acústico también para a mesma função, repita o processo.
Ajustar o amortecimento (Fil)
Com o amortecimento (Fil = filtro) pode reduzir as falhas na determinação do peso (p. ex. devido aos movimentos do paciente).
FIL
É indicada a definição actual.
-
Selezione um niven de amortecimento.
-
0: amortecimento reduzido
- 1: amortecimento medio
- 2: amortecimento elevado
FIL2
- Confirma a seleção.
A saída do menu é feita automaticamente.
Comutar aunities de peso (Unit) (unidade)



Restabelecer as definições de fabrica (RESET)

Em balances não calibradas pode選擇ar unidade (Unit), na qual deseja que sera indicado o peso.
E indicaa a definição actual.
-
Quilogramas (kg)
-Libras(Ibs)
-Stones (sts) -
Confirma a seleção.
A saída do menu é feita automaticamente.
As definições de fábrica podem ser restabelecidas para as següntes funções:
| Função | Definições de fábrica |
| Autohold (Ahold) | dependente do modelo |
| Sinal acústico (Press) off | |
| Sinal acústico (Hold) on | |
| Amortecimento (Fil) 0 | |
| Autoclear (Aclear) (limpeza automática) | dependente do modelo |
| Pre-Tara (Pt) (pré-taragem) 0 kg | |
| Comprimento do corpo para Body Mass Index (BMI) | 170 cm |
| Unidade de peso kg | |
| Módulo de rádio (SYS) off | |
| Autosend (ASend) (envio automatístico) | off |
| Autoprint (APrt) (impressionagem automatística) | off |
NOTA:
No restabelecimiento das definições de fabricula o modulo de rádio é desligado. As informações relativas aos grupos de comunização via rídio mantém-se. Os grupos de comunização via rídio não tem de ser novamente configuradas.
- No menu, selezione o item "Reset".
- Confirma a seleção.
A saída do menu é feita automaticamente.
3. Desligue a balança.
As definições de fabrica são restabelecidas e ficam novamente disponíveis quando a balança voltar a ser ligada.
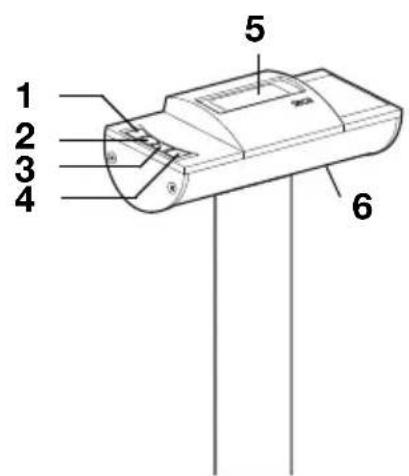
6. A REDE SEM FIOS SECA 360^ WIRELESS
6.1 Introdução

Grupos de comunicação via rádio seca

Este aparecido está equipado com um[móulo de rádio. O[módulo de rádio permite a transmissão sem fios dos resultados de medicação para avaliação e documentação. Épossível fazer a transmissão dos dados para os seguides apareiros:
- impressora sem fios seca
- PC com modulo de raggio USB seca
A rede sem fios seca 360^ wireless trabalho comroupos de comunicação via rádio. Um grupo de comuniçao via rádio é um grupo virtual de emissores ereceptores. Caso sera necessário operar various emissores e receptores do mesmo tipo, é possivel equipar até 3roupos de comunicação via rádio (0,1,2) comeste aparelho.
A configuração de variedosroupos de comunicaçãovia rádio assegura o endereçamento fiavel e correto de valores de medico, quando sãoutilizadasvarias salas de exame com o mesmo tipo de equipamento.
A distência Tmaxa entre emissor e receptor é de aprox. 10 metros. Determinadas caracteristicas do local, como p. ex. a espessura e constituição das paredes, podem reduzir o alcance.
Por cada grupo de comunicação via rádio é possível a segunte combinação de apareiros:
1 balança para bebés
- 1 balança paraadultos
- 1 escala de medicacao do comprimento
- 1 impressora sem fios seca
- 1 PC com modulo de rádio USB seca
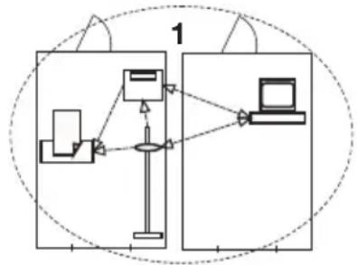
Canais

Dentro de um grupo de comunização via rádio os aparhços comunicam entre si através deTRS canais (C1, C2,C3).Desta forma é assegurada uma transmissão de dados fiavel e sem falhas.
Se configurar um grupo de comunicação via rádio com esta balança, o aparecido irá sugerir-lhe这几 canais que garantem uma excellente transmissão de dados. Recomendamos que aceite os números de canal sugeridos.
Tambemode selecionar osnumbers de canal (0a 99)manualmente,porexample,quandodesea instalar variosgruposdecomunicaoia viaradio.
De forma a assegurar uma transmissão de dados sem falhas, os canais tem de ter uma distência suficiente entre eles. Recomendamos uma distência de pelo menos 30. Cada número de canalsolepoder serutilado para um canal, respectivamente.
Exemplo de configuraçao; números de canal na insta-.
lação de 3 grupos de comunicação via radoço dentro de
um consultorio:
- Grupo de comunicação via rádio 0: C1=_, C2=30, C3=60
- Grupo de comunicação via rádio 1: C1=10, C2=40, C3=70
- Grupo de comunicação via rádio 2: C1=20, C2=50, C3=80
Detecção de apareiros Se configurar um grupo de comunização via radio com a balança, este éra procurar outros apareiros activos do Sistema seca 360^ wireless. Os apareiros detectados são indicados no display da balança como modulos (p. ex. MO 3). Os números significam o segunte:
1: Balança para adultos
- 2: Escala de medicação do comprimento
3: Impressora sem fios
- 4: PC com modulo de rádio USB seca
- 7: Balança para bebés
- 5, 6 e 8-12: Reservado para ampliação do Sistema
6.2 Operar a balança numroupode comunicação via rádio (menu)
Todas as funções necessarias para operar a balança numroupode comunicaçao via rado seca encontram-se no submenu "rF".Poderá encontrar informaçoes sobre como navegar no menu em Págnia 174.

O aparecido é fornecido com o MODULE de rário desactivado. Tem de o activating antes de poder configurar um grupo de化合acao via rario.
NOTA:
Quando activa o modulo de rádio, o consumes de energia do aparelho augmente. Para o acontecimiento do aparelho numa rede sem fios recomendamos a utilizesçao de um alimentador de rede.

- Ligue o aparelho.
- Sezione no submenu "rf" o item "SYS".
- Confirma a selecao.
- Seleciona a definicao "on".
- Confirma a seleção.
A saída do menu é feita automaticamente.
Configurar grupo de comunicação via radio (Lrn)
Para configurar um grupo de comunicação via radio, proceedo do segunte modo:
- Ligue o aparelho.
- Chame o menu.







- No menu, selezione o item "rf".
- Confirma a seleção.
- Selegione no submenu "rf" o item "lm" (learn) (aprender).
- Confirme a selecao.
E indicado o grupo de comunicaao via radio defini doodalmente (aqu: Grupo de comunicaao via radio 0 "ID 0").
Se o groupe de comunicaao via radio "0" ja existir e
desepar configurar um除外o groupe com este aparelho, selecao octro ID com as teclas de seta (aqu: Grupo de comunicaao via radio 1 "ID 1"). - Confirme a sua selecao do grupo de comunica- 音 via rado. O aparelho sugere um numero de canal para o canal 1 (aqui: C1 "0"). Pode aceitar o numero de canal sugerido ou defiro
otro numero de canal com as teclas de seta. - Confirme a sua selecao para o canal 1. O aparecido sugere um numero de canal para o canal 2 (aquic C2 "30"). Pode aceitar o numero de canal sugerido ou definir及其他 numero de canal com as teclas de seta.
NOTA:
A apareção dos números de canal de dois digitos é feita sem espacços vazios. A indicação "C230" significa: Canal "2", número de canal "30".
- Confirme a sua selecao para o canal 2. O aparelho sugere um numero de canal para o canal 3 (aqui: C3 "60"). Pode aceitar o numero de canal sugerido ou definir除外o numero de canal com as teclas de seta.
- Confirme a sua selecao para o canal 3.
Aparece a mensagem STOP no display.
O aparelho esperaelinesinaisdeoutrosaparemelhos aptos para transmissaoanivelde alcance.
NOTA:
Alguns apareiros necessitam de um procedimento especial de ligação caso tenham de ser integrados numroupo de comunicação via rádio. Respeite o manual de instruções de utilizesçao do respectivo aparelho.
- Ligue o aparecido que deseja integrar no grupo de comunicação via rádio, p. ex. uma impressora sem fios.
Quando a impressora sem fios é reconhecida, ouve-se um sinal acústico.
NOTA:
Quando integrar uma impressora sem fios numroupode comunicao via rado tem de selec.cionaruma opcao de impressao (menu\rf\APrt)e definir a hora (menu\rf\time).
- Repita o passo 11. para todos os apareiros que deseja integrar neste grupo de comunicação via rádio.
- Prima a tecla Enter para conclusir o processo de procura.
- Prima una das teclas de seta para visualizar whatsoever os aparelhos que foram detectados (aquí: Mo 3 para una impressora sem fios).
Se tiver integrado various apareiros numroupode comunicaçãovia rádio,primavarias vezesas teclas de seta para assegurar que todos os apareiros foram detectados pela balança.
- Saia do menu com a tecla Enter ou espere até que a saída do menu sera feita automaticamente.
Activar a transmissao automatica (ASend) (envio automatico)
Pode configurar o aparecido de forma a que os resultados de medicação sejam enviados automaticamente para todos os emissores preparados para receção e registados no mesmo grupo de comunização via radio (p. ex.: impressora sem fios, PC com modulo de radio USB).
NOTA:
Se utilizes uma impressora sem fios, asseguese de que, como opçao de impressão, não estádefinido "off"(ver"Selecionar a opçao deimpressao(APrt)"na pagsina 184).
RSEnd
On
- Ligue o aparelho.
- SeLECTIONE no submenu "rf" o item "ASend" e confirma a selecao.
- Seleciona a definição "on" e confirma a seleção. A saía do menu é feita automaticamente.
Selecionar a opcao de impressao (APrt)
Pode configurar o aparecido de forma a que os resultados de medicação sejam impressos automaticamente por uma impressora sem fios registada no grupo de comunicação via rádio.
NOTA:
Esta funcção está disponible se tiver sido integrala uma impressora sem fios seca atraves de funcao "learn" no grupo de comunacao via radio.
APrt
- Ligue o aparelho.
- SeLECTION no submenu "rf" o item "APrt" e confirma a selecao.
-
Seleciona a definicao aplicavel a sua combinação de aparelhos:
-
HI: Resultados de medicao de aparehos de medicao do comprimento
- MA: Resultados de medicação de balanças
- HI_MA: Resultados de medicação de apareiros de medicação do comprimento e balanças
off: Sem impressão automatica, a impressão é possível atraves de uma pressão longa da tecla Enter durante o processo de pesagem.
- Confirma a sua selecao.
A saída do menu é feita automaticamente.
Definir a hora (Time) (hora)
Pode configurar oSYSTEMA de forma a que a impressora crescente automaticamente a data e a hora aos seu resultados de medicacao. Para tal, tem de definir uma vez a data e a horaVESTE aparelho e transferir para o relógio interno da impressora sem fios.
NOTA:
Esta funcção está disponible se tiver sido integrala uma impressora sem fios seca atraves de funcao "learn" no grupo de comunacao via radio.
EINE
- Ligue o aparelho.
- Selegione no submenu "rf" o item "Time".
- Confirme a seleção.
É indica a definição actual para o "Ano (Year)".
YEA10
- Defina o número correto do ano.
-
Confirm a seleção.
-
Repita os passos 3. e 4. respectivamente para "Mês" (HôpDía) (dRy), Hora (hour) e Minutos (in).
- Confirma a sua selecao.
Apos a confirmação da definição dos minutos à saída do menu é feita automaticamente.
As definições são transmitidas automaticamente à impressora sem fios.
A impressora sem fios acrescenta automaticamente a data e a hora a todas as impressões.
NOTA:
Para mais operações com a impressora sem fios consulte o respectivo manual de instruções de utilizesção.
7. LIMPEZA
Em caso de necessidade, limpe o revestimento e a caixa com um produto de limpeza dométrico ou com um desinfectante vulgar. Observe as指示os do fabricante.
Nunca limpe com produits que sejam agressivos ou abrasivos, alcool, benzina ou autres. Estes produits podem danificar as superficies de alta calidad.
8. O QUE FAZER QUANDO...?
| Falha Causa/Eliminação | |
| ... com cargo não aparece a indicação do peso? | A balança não tem alimentação de energia. - Verificar se a balança está ligada - Verificar se as pilhas está colocadas |
| ... não aparece 0.00 antes da pesagem? | Foi colocadaAway na balança antes de esta ser ligada. - Esvaziar a balança - Desligar e tornar a ligar a balança |
| ... um segmento está permanentemente acesso ou não se acende? | O respectivo punto indica umerro. - Contactar o service de manutenção. |
| ... aparece a indicação ? | AAway das pilhas está a ficar frac. - Colocar pilhas novas logo que possível |
| ... aparece a indicação bAtt? | As pilhas está vazias. - Colocar pilhas novas |
| ... aparece a indicatoração StDP? | Foi exceedida a cargo maior. - Esvaziar a balança |
| ... aparece a indicatoração LENO? | A temperatura ambiente da balança é muito alta ou muito baixa. - Colocar a balança numa temperatura ambiente entre +10 °C e +40 °C - Esperar aprox. 15 minutos às que a balança se tenha adaptado à temperatura ambiente |
| ... depuis de ligar sãoenviados resultados de medicação pela primarya vez e se ouvem dossinais acústicos? | • O aparecido não conseguiu enviar resultados de medicação aos receptores de radio (impressora sem fios seca ou PC com módulo de radio USB seca). - Certifique-se de que a balança está inteigrada na rede sem fios. - Certifique-se de que o receptor está ligado. • A receção é afectada por apareiros de alta frequência que se encontrar nas imedicações (p. ex. telemóveis). - Na rede sem fios seca mantenha os apare-lhos de alta frequência a uma distância minima de 1 metro dos emissores e receptores. NOTES: Se a falha não for eliminada, nas prósimo tentativas de envio não soar nenhum aviso acústico. |
| ... no menu rfsole visível o item "SYS"? | • O[móulo de rádio está desactivado. - Activar o[móulo de rádio (ver "Activar[móulo de rádio (SYS)" na pagina 181). |
| ... no menu rfsole visí-veis os itens "SYS" e"Irn"? | • O[móulo de rádio está activado e não está configurado nenhumroupode comunicação via radio. - Configurarroupode comunicaçãovia radio (ver "Configurarroupode comunicaçãovia radio (Lrn)" na pagina 181). |
| ... no menu rfos itens "APrt" e "Time" não são visíveis? | • Nenhuma impressora sem fios registada no grupo de comunicação via radio. - Registar a impressora sem fios no groupe de comunicação via rádio atraves do item de menu "Irn" (ver "Configurarroupode comunicaçãovia rádio (Lrn)" na pagina 181). |
| ... aparece a indicação Er:H: 11? | A balança está em posicao muito alta ou FOI sobrecarregada num dos cantos. - Esvaziar a balança ou distribuir o peso uniformamente - Reinecer a balança |
| ... aparece a indicação Er:H: 12? | A balança FOI ligada com excesso de peso sobre ela. - Esvaziar a balança - Reinecer a balança. |
| ... aparece a indicação Er:H: 16? | A balança moveu-se devido à oscilaçãopropriaria, não FOI possível determinar o punto zero. - Reinecer a balança |
| ... é premida a tecla Enter (send/print) e apo-rece a indicação Er:H: 71? | Não é possível a transmissão de dados, o[móulo de radio está desactivado. - Activar o[móulo de radio (ver "Activar[móulo de radio (SYS)" na pageda 181). |
| ... é premida a tecla Enter (send/print) e apo-rece a indicação Er:H: 72? | Não é possível a transmissão de dados, não está configurado nenhum grupo de comunicação via radio. - Configurar groupe de comunicação via radio (ver "Configurar groupe de comunicação via radio (Lrn)" na pageda 181). |
9. MANUTENÇÃO
9.1 Informações relativas à manutenção
A balança seca vem de fabrica com uma precisão superior a ± 0,15% . Para que esta precisão se mantenha, é necessário montar bem o produto e efetuar uma manutenção regular. Consoante a frequência deutilização, recomendamos que a balança sera revista em intervalos de 3 a 5 anos, por um服务于 manutenção especial.
ATENÇAÖ!
Medições erradas devido a manutenção incorrecta
- Os lavoros de manutenção e reparação devem ser executados apenas por um service de pos-venda autorizzato.
- Em www.seca.com encontrar o服务于 deposito-venda mais proximo de si. Em alternative, envie um e-mail para service@seca.com.
10.DADOS TECNICOS
| Dados técnico seca 703 | |
| Dimensoes • Profundidade • Larga • Altura | 520 mm 360 mm 930 mm |
| Peso(PR)pio 17 kg | |
| Faixa de temperatura +10°C até +40°C | |
| Altura dos dígitos 25 mm | |
| Alimentação de energia | Pilhas Alimentador (optional) |
| Consumo de energia • com:móulo de radio desactivado • com:móulo de radio activado | aprox. 32 mA aprox. 50 mA |
| Tempo maximal de service no funciona a pilhas • com:móulo de radio desactivado • com:móulo de radio activado | aprox. 5.600 minutos Alimentador recommendado |
| EN 60 601-1: • aparecido isolado, classe de proteção II: • aparecido electromédicinal, tipo B: | |
| Carga maior • Faixa de cargo parcial 1 • Faixa de cargo parcial 2 | 150 kg / 330 lbs / 24 sts 300 kg / 660 lbs / 47 sts |
| Carga minima 2 kg | |
| Divisão最小ia • Faixa de cargo parcial 1 • Faixa de cargo parcial 2 | 50 g / 0.1 lbs 100 g / 0.2 lbs |
| Faixa da tara 300 kg | |
| Precisão • 0(até 70 kg • 70 kg até)carga maior • 0(até 150 lbs • 150 lbs até)carga maior • 0(até 11 sts • 11 sts até)carga maior | ±100 g ±0,15% ±0.2 lbs ±0,15% ±0.2 lbs ±0.2 lbs |
| Transmissão via rádio • Banda de frequência • Potência de envio • Normas cumpridas | 2,433 GHz - 2,480 GHz < 10 mW EN 30028, EN 301 489-1, -17 |
11.ACCESSORIOS
| Acessórios Nível de artigo | |
| Rede sem fios seca seca 360° wireless: • Impressora sem fios - seca 360° wireless printer 465 - seca 360° wireless printer advanced 466 • Software do PC - seca analytics 105 • Módulo de rádio USB seca 360° wireless USB adapter 456 | Variantes espéclicas do País Variantes espéclicas do País Pacote de licença espécífico da utilização 456-00-00-009 |
| Alimentação de energia: • Alimentador, Euro: 230V~ / 50Hz / 12V= / 150mA • Alimentador com função de transformador: 100-240V~ / 50-60Hz / 12V= / 0,5A | 68-32-10-252 68-32-10-265 |
| Outros acessórios • Escala telescopia seca 220, margem de mediação: 890 - 2000 mm, divisão: 1 mm, material: alúnio anodizzato duro, correixa com linguetas de mediação com entalhes • Escala telescopia seca 220 (divisão dupla), margem de mediação: 890 - 2000 mm e 35 " - 78 3/4 ", divisão: 1 mm e 1/8 ", material: alúnio anodizzato duro, correixa com lin-guetas de mediação com entalhes | 220-17-14-004 220-18-14-004 |
12.ELIMINAÇÃO
12.1 Eliminação do aparecido

Não deite o aparecido no lixo dométrico. O aparecido tem de ser eliminado de forma adequada como sucata electrónica. Respeite as respectivas disponções{nacionais. Para mais informações contacte os outros serviços em:
service@seca.com
12.2 Pilhas e acumuladores

Não deite as pilhas e os Accumuladores usados no lixo dométrico, independente de these conterem substâncias nocivas ou não. Como consumidor é obrigado por lei a eliminar as pilhas e Accumuladores nos locais de recolha previstos ou nos locais de recolha do fornecedor. Elimine as pilhas e Accumuladores apenas quando estiverem completeness decarregados.
13.GARANTIA
Para falhas originadas por defeito de material ou de fabrico, o direito à garantia aplicá-se por um periodo de dois anos après o fornecimento. Todas as partes moveris, como p. ex. pilhas, cabo, alimentadores, Accumuladores, etc. está excluidas da garantia. Todas as falhas abrangidas pela garantia são eliminadas sem qualquer custo para o cliente, mediante a apareção da faculta de compra. Outras revindicações não são levadas em consideração. Os custos de transporte ficam a cargo do cliente se o aparecido se encontrar noutro local que não a morada do cliente. Em caso de danos durante o transporte, o direito à garantia sé aplicará se tiver sidoutilizada a embalagem original completa para o transporte, e se a balança tiver sido acomodada e fixada conveniente dentro da mesma. Por esse motivo, guarde todas as partes da embalagem.
O direito à garantia é anulado se o aparecido tiver sido aberto por pessoas sem autorização expressa da seca.
Para os cliente que se encontrar no estrangeiro, pedimos que no caso de revivencia do direito a garantia se dirija ao vendedor do respectivo pais.
SPIS TRESCI
- Opis urzadzenia 192
A balança não automatica para pessoas
H μn autóμatn Cuyapá a tóμw
Osobni vahy s neautomatickou cinnosti
... cumpre os requisitos essenciais da directiva 2004/108/CE relativa a compatibilidade electromagnética e das normas EN 300 328 e EN 301 489 relativas a compatibilidade electromagnética e assuntos de espectro radioelectrico.
Não obstante, se temporariamente forem detectadas interferências ou pesagens erradas quando a balança for utilitya na proximidade de fontes de forte radiação electromagnética, como sejam apareiros de microondas, Telefones moveris ou apareiros radiotelefónicos portáeis, afaste a balança da fonte de interferência ou deslgue o aparelho causador da interferência e repita a pesagem.
GR
... Ekntnpwei tic Baaikc antaithoeic tnc Odbnyiac 2004/108/EK nepi nAektpoaywntiknc oubaTOTnTAC onwC enionc ta npotuna EN 300 328 kai EN 301 489 nepi nAektpoaywntiknc oubaTOTnTAC kai nepi thepaTuw pabiopdaupatoc.
ManualFácil