653 - Balanças SECA - Manual de utilização gratuito
Encontre gratuitamente o manual do aparelho 653 SECA em formato PDF.
Perguntas frequentes - 653 SECA
Perguntas dos utilizadores sobre 653 SECA
0 pergunta sobre este aparelho. Responda às que conhece ou faça a sua.
Faça uma nova pergunta sobre este aparelho
Baixe as instruções para o seu Balanças em formato PDF gratuitamente! Encontre o seu manual 653 - SECA e retome o controlo do seu dispositivo eletrónico. Nesta página estão publicados todos os documentos necessários para a utilização do seu dispositivo. 653 da marca SECA.
MANUAL DE UTILIZADOR 653 SECA
9. CONTROLLO DEL FUNZIONAMENTO
9. CONTROL DEL FUNCIONAMIENTO
3. Informações de segurarca 265
3.1 Instruções de segurarça nestemanual de instruções deutilização 265
3.2 Instruçõesbasicas de segança. 266
Manuseamento do(APARALHO) . 266
Eliminação do risco dechoqueétrico 267
Eliminação do risco de infeação 268
Eliminação do risco de ferimentos 268
Eliminação do risco de danos no aparecido 269
Uso dos resultados de medico 270
Manuseamento do material da embalagem 270
3.3 Manuseamento de pilhas e Accumuladores 271
4. Vista geral 272
4.1 Elementos de commando 272
4.2 Simbolos no display 273
4.3 Simbolos no aparecido en unapellac decharacteristicas 274
4.4 Símbolos na embalagem 275
4.5 Estrutura do menu 276
5. Antes de.iniciar autilização deve... 277
5.1 Escopo de fornecimento 277
5.2 Preparar a caixa do主義
para o Functionamento
(mostrador de mesa) 278
Montar o adaptor angular 278
Conectar o cabo de ligação à plataforma 278
5.3 Preparar a caixa do主義 para o Functionamento (mostrador de parede) 279 Montar o adaptor angular 279 Conectar o cabo de ligação à plataforma 280 Montar os suportes de parede 281 Colocar a caixa do主義 no suporte de parede 281
5.4 Providenciar a alimentacao de energia 282 Colocar as pilhas 282
5.5 Montar a balanca 283 Alinhamento da balanca 283
6. Utilização 284
6.1 Pesar 284
Ligar a balança 284
Pesar o paciente 284
Tarar o peso adicular (TARE) 285
Indicar permanente o
resultado da medicao (HOLD) 285
Determinar e avaliar o Índice de Massa Corporal (IMC) . . . 286
Enviar resultados de medico para o recetor de rado 288
Calcarareimprimar automaticamente o IMC.288
Comutation automática dagama de pesagem 288
Desligar a balanca 289
6.2 Outras funções (menu) 289
Navegar no menu 290
Apagar automaticamente
valores guardados (ACIr) 290
Guardar permanente o peso adicional (Pt) 291
Ativar a funcao Autohold (Ahold) 292
Ativar sinais acusticos (BEEP) 292
Ajustar o amortecimento (Fil) 293
Restabelecer as definições de fabrica (RESET) 293
7.A redesemfiosseca 360^ wireless 295
7.1 Introducao 295
Grupos de comunicação via radio seca 295
Canais 296
Deteao de aparelhos 296
7.2 Operar a balança numroupode comunicação via rádio(menu) 297
Ativar modulo de raggio (SYS) 297
Configurar um grupo de comunicação via rádio (Lrn) . 297
Ativar a transmissao automatica (ASend) 299
Selecionar a opcao de impressao (APrt) 300
Definir a hora (Time) 300
8.1 Limpeza 302
8.2 Desinfeço 302
8.3 Esterilização 302
9. Controlo do funciona 303
10. O que fazer quando...? 304
11. Manutenção/ Recalibração . 306
11.1 Informações relatives à manutenção e recalibração 306
11.2 Verificar o indice do controle de calibração 307
12. Dados技术和 308
12.1 Dados技术和gerais 308
12.2 Dados da的技术a pesagem 309
13. Acessórios.optionais 309
14. Peças sobressalentes 310
15. Eliminação 310
15.1 Aparelho 310
15.2 Pilhas e acumuladores . . . 310
16.Garantia 311
1. CERTIFICADO



CE
xx 0109 0123



Com os produits seca, está a comprar não soit uma técnica amadurecida há mais de um século como también uma优质的 certificada e regulamentada e comprovada por institutos. Os produits seca está em conformidade com as direitivas europeias, normas e legislacoesnationais. Com a seca está a comprar o futuro.
As balances com esta marca está em conformidade com o disposto na Diretiva 2009/23/CE do Parlamento Europeu e do Conselho, respeitante a instrumentos de pesagem. As balances seca com esta marca satisfazem os elevados requisitos qualitivos e&Tecnicos impostos as balances calibraveis.
As balances com esta marca satisfazem os requisitos rigorosos da classe de precisão III e podem ser realizadas para medicções calibráveis em medicina.
Os produits com esta marca cumprem os requisitos regulamente da Comunidade Europeia aplicacoes, sobretudo os seguiates:
- Diretiva 2009/23/CE relativa a instrumentos de pesagem de functimento não automatico
- Diretiva 93/42/CEE relativa a dispositivos médicos
- DIN EN 45501 relativa a aspetos metrologicos dos instrumentos de pesagem de funcionaamento não automatico
O profissionalismo da seca también é reconhecido por entidas关于我们. A TUV Süd Product Service, a entida responsavel por dispositivos médicos, confirmar por certificado que a seca cumpre de forma constente os requisitos legais rigorosens quando fabricante de dispositivos médicos. O Sistema de garantia de qualida-seca abrange as和地区 do design, desenvolvimento, producao, distribuicao e assistencia的技术ica para as balances medicas e sistemas de medicacao de altera, bem como para o software e sistemas de medicacao para a avaliacao do estado de saude e de alimentacao.
A seca é amiga do ambiente. A economia dos recursos naturais é fundamental para nos. Por esse motivo, procuramos economizar material de embalagem quando este é dispensavel. E o restante material pode ser eliminado comfortavelmente no local, atraves do Sistema de reciclagem.
2. DESCRIÇÃO DO APARELHO
2.1 Parabéns!
Ao adquirir a balança multifunções eletrónica seca 635 optou por um aparecido de elevada precisão e ao mesmo tempo robusto.
Há mais de 170 anos que a seca coloca a sua experiencia ao service da Saúde, affirmando-se como理事长 de mercado em muitos paises do mundo, gratas às suas inovações na area da metrologia.
2.2 Finalidade de'utilisation
A balança multifunções eletrónica seca 635 é realizada principalmente em hospitais, consulítorios médicos e unidas estacionárias de cuidados de Saúde, de acordo com as normas vigentes no País de'utilisation.
A balança serve para a determinação convencional do peso e do estado geral de alimentação e para fazer o médico a elaborar um diagnóstico ou a tomar uma decisão terapêutica.
Contudo, para elaborar um diagnóstico preciso, paraLEM do registo do valor do peso, o médico tem derealizar exames mais objetivos e ter em conta osresultados dosmesmos.
2.3 Descrição do functi顾问amento
Paralelamente à determinação convencional do peso, a seca 635 possui uma funcção para determinar o Índice de Massa Corporal (IMC). Para tal, introduz-se a estatura da pessoa atraves do teclado, seguido-sedecesso ou calculo automatico do Índice de Massa Corporal correspondente ao valor do peso. Os aparelhos de medicacao da alta do sistema seca 360^ wirelessconseguem transmitir, sem a utilização de fios, a estatura à seca 635.
Através da rede sem fios seca 360^ wireless é possível transmitir, sem a utilização de fios, os resultados de medicação para uma impressora sem fios seca ou para um PC equipado com o software seca analytics e o modulo de rário USB seca.
Utilize a balança exclusivamente para os fins mencionados na secção "Finalidade de Utilização" na网页 264.
2.4 Qualificacao do utiliser
Montagem
Os apareiros fornecidos parcialmente montados são poder ser montados por pessoas com as devidas qualificações, p. ex.representante,专业技术o do hospital ou da assistencia seca.
Utilização O aparecido está para ser operado por pessoalístico.
3. INFORMAÇÉS DE SEGURANÇA
3.1 Instruções de segurança neste manual de instruções de Utilização

PERIGO!
Identifica uma situação de grande perigo para do normal. A inobservança esta indicação resultará em ferimentos graves irreversíveis ou mesmo fatais.

AVISO!
Identifica uma situação de grande perigo para do normal. A inobservência esta indicação pode resultar em ferimentos graves irreversíveis ou mesmo fatais.

CUIDADO!
Identifica uma situação de perigo. A inobservação esta indicação pode resultar em ferimentos ligeiros ou médios.
ATENÇÂO!
Identifica uma possível'utilisation errada do aparcelho. A inobservança这点a referencia pode resultar em danos no aparcelho ou resultados de medicacao errados.
NOTA:
Contém informações adiconais relativas à utilizesçao desteasurelho.
3.2 Instruçõesbasicas de segurarca
Manuseamento do aparelho
- Observe as indentações deste manual de instruções de'utilisation.
- Guarde cuidadosamente o manual de instruções de'utilisation. O manual deinstrções deutilização faz parte integrante do aparecido e devê estar sempre disponible.

PERIGO!
Perigo de explosão
Não utilize o aparecido num ambiente com acumulação dos seguides gases:
-Oxigenio
- Anestésicos inflamáveis
- Outrassubstencias/misturas de ar inflamáveis

CUIDADO!
- Os apareiros adiconcisos que são ligados a apareiros médicosétricos devem estar em conformidade comprovada com as suas respetivas normas IEC ou ISO (p. ex. IEC 60950 para apareiros de processamento de dados). Além disso, todas as configurações devem estar em conformidade com os requisitos normativos para sistemas médicos (ver IEC 60601-1-1 ou secção 16 da 3^a edicao da IEC 60601-1, respetivamente). Quem ligar apareiros adiconcisos a apareiros médicosétricos é configurador doSYSTEMA e assim responsevel para a conformidade doSYSTEMA com os requisitos normativos para sistemas. Chama-se a atencao para o fato de alegislaço nacional prevalcer sobre os requisitos normativos acima. Em caso de duvidas, queira contactar o seu revendedor especializzato local ou o service de assistencia Tecnica.
- Mande realizar periodically tratabalhos de manutencao e recalibragens, tal como descririto na respetiva secao do manual de instruções de utilizesao do aparelho.
- Não são permitidas alterações tínicas no aparecido. O aparecido não contém partes para manutençaoeloutilizador.Os travaços de manutençao e reparacao devem ser executados apenas por um seca service de pos
venda autorizzato. Em www.seca.com encontra o service de pos-venda mais proxies de si. Em alternatively, envie um e-mail para service@seca.com.
- Utilize exclusivamente acessórios e peças sobressalentes originais seca. Caso contrário, a seca não garante o direito à garantia.

CUIDADO!
Perigo para o paciente, anomalia
-
Na utilização de apareiros médicosétricos, como p. ex. apareiros cirurgicos de alta frequência, mantenha uma distança minima de aprox. 1 metro, de forma a fazer medicções erradas ou falhas na transmissão via rádio.
-
Na utilização de apareiros de alta frequência, como p. ex. telemóveis, mantenha uma distância minima de aprox. 1 metro, de forma a evacitar medicções erradas ou falhas na transmissão via rádio.
-
A potência de envio efetiva de apareiros de alta frequência pode querer direstáncias minimas de mais de 1 metro. Pode consulitar os detalhes em www.seca.com.
Eliminação do risco dechoqueétrico

AVISO!
Choque elétrico
- Os apareiros que possam ser usados com um alimentador devem ser colocados de forma a que a.tomada de rede fique acessivel para um desligamento rápido da FHA.
- Certifique-se de que a alimentação de rede local correponde aos dados no alimentador.
- Nunca toque no alimentador com as mãos humidas.
- Não use cabos de extensione nen tomadas multiplas.
- O cabo de alimentação não pode ficar entalado nem danificado por arestas vivas.
- Não opere o aparecido a uma alta superior a 3000 m acima doível medio do mar.
Eliminação do risco de infeção

AVISO! Perigo de infecao
- Faça a preparação higiénica do aparecido em intervalos regulares, tal como descririto na respetiva secção deste documento.
- Certifique-se de que o paciente não tem nenhuma doença contagiosa.
- Certifique-se de que o paciente não tem nenhuma ferida aberta ou lesões cutaneas infecciosas que possamentrar emcontacto com o aparecido.
Eliminação do risco de ferimentos

- Certifique-se de que o aparecido está fixo e nivelado.
- Disponha o cabo de ligaçao de forma a que outilizar e o paciente não possam tropeçar.
- Certifique-se de que o paciente não sobe para a plataforma de pesagem diretamente pelas arestas.
- Certifique-se de que o paciente sobe para a plataforma de pesagem de forma lenta e segura.

AVISO! Perigo de escorregamento
- Certifique-se de que a plataforma de pesagem está seca antes da subida do paciente.
- Certifique-se de que o paciente tem os pés secs antes de subir para a plataforma de pesagem.
- Certifique-se de que o paciente sobe para a plataforma de pesagem de forma lenta e segura.
Eliminação do risco de danos no aparecido
ATENÇAIO!
Danos do aparelho
- Certifique-se de que nunca entram liquidos para dentro do aparelho. Estes podem prejudicar a parte eletrónica.
- Desligue o aparecido antes de retirar o alimentador da tomada.
- Se o aparelho não for正常使用 durante muito tempo, retire o alimentador da tomada. Só assim o aparelho fica sem corrente.
- Não deixe cair o aparelho.
- Não exponha o aparecido aCHOQUES ou vibraçoes.
- Verifique o Functionamento em intervalos regulares, tal como descririto na respetiva secção deste documento. Não opere o aparecido se este não estiver a funcionar em condições ou se estiver danificado.
- Não exponha o aparecido à luz solar direta e certifique-se de que não há nenhuma fonte de calor perto dele. As temperatas demasiado elevadas poderiam danIFICAR a parte eletrónica.
- Evite mudanças bruscas de temperatura. Durante o transporte do aparelho em que se verifiquem diferencas de temperatura superiores a 20^ , o aparelho tem de ficar em repouso durante, pelo menos 2 horas antes de ser ligado. Caso contrário, forma-se condensado, que pode danIFICAR a parte eletrónica.
- Os produits de limpeza agressivos podem danificar as superficies do aparelho. Use sempre um pano macio, que pode humedecer com água de sabão suave.
- Utilize exclusivamente desinfetanteADEgua para superficies sensiveis. Os desinfetantes adequados encontrar-se a vendamelojas especializadas.
Uso dos resultados de medico

AVISO!
Este não é um aparecido de diagnóstico. O aparibo ajuda omedicalo assistente a elaborar o diagnóstico.
- Para Criar um diagnóstico preco é in创始 as terapias, às tem da utilização deste aparelho, é necessário fazer os exames pedidos pelo médico assistente e ter em conta os respetivos resultados.
- A responsabilité pelos diagnósticos e pelas terapias derivadas deles é domedicalo assistente.

ATENÇAÖ!
Perda de dados
- Antes de guardar e de reutilizar os valuores medidos com este aparecido (p. ex. no software para PC seca analytics ou num sistemas de informacao hospitalar), certifique-se da sua plausibilitad.
- Se os valuores de medicacao tiverem sido transferidos para um software para PC seca analytics ou para umsystema de informacao hospitalar,antes da sua reutilização certifique-se de que são plausível e que correpondem ao pacienteCERTO.
Manuseamento do material da embalagem

AVISO!
Perigo de asfixia
O material da embalagem da película de plastico (sacos) representa um perigo de asfixia.
- Guarde o material da embalagem fora do alcance das crianças.
- Se ja não tiver o material original da embalagem, use aparas sacos de plástico com furos de segurarça a fim de reduz o perigo de asfixia.
NOTA:
Garde o material original da embalagem para uso.
utilização futura (p.ex.devoluçao para manutenção).
3.3 Manuseamento de pilhas e acumuladores

AVISO!
Ferimentos devido a manuseamento inadequado
As pilhas contém substantasias nocivas que podem explodir no caso de um manuseamento incorreto.
- Não tente recarregar as pilhas.
- Não aqueça pilhas/accumuladores.
- Não queime pilhas/acumuladores.
- Em caso de derramamento de acido, evite o contacto com a pele, olhos e mucosas. Lave as zonas afetadas do corpo com agua limpa e abundante e consulte imeditamente um medico.
ATENÇAIO!
Danos no aparecido e anomalias devido a utilização inadequada
- Utilize exclusivamente o tipo de pilhas/acumuladores indicado neste documento.
- Substitua sempre todas as pilhas/acumuladores em simultâneo.
- Não curte-circuite pilhas/acumuladores.
- Se o aparecido não for正常使用 durante um longo periodo de tempo, retire as pilhas/accumuladores. Deste modo, não saira alcido para o aparecido.
- Não volta a usar o aparecido se tiver entraço acido nele. Leve o aparecido a um服务于 pos-venda autorização seca para ser verificado e, se necessário, reparado.
4. VISTA GERAL
4.1 Elementos de commando

| N.° | Elemento de commando | Função |
| 1 | Caixa domostatur | • Elemento de commando e de indentação central • Pode ser colocado sobre uma superficie de trabalho ou montado numa parede |
| 2 | Ligar e desligar a balança | |
| 3 | Tecla de seta • Durante a pesagem: - Breve pressão: ativar a função Hold - Longa pressão: ativar a função Tare • NOMEU: - SeLECTIONAR o submenu, selecionar o item de menu - AUMENTAR o valor | |
| 4 | bored menu | Tecla de seta • Durante a pesagem: - Breve pressão:"Ativar a função BM (IMC) - Longa pressão:chamar o menu • No menu: - SeLECTIONAR O SUBMENU, SELECTIONAR O item de menu - Reduziro valor |
| 5 | send plicc | Tecla Enter • Durante a pesagem (se estiver instalada a rede sem fios): - Breve pressão:enviar o resultdo de medico para apareiros preparados para receção (PC com[móulo de radio USB) - Longa pressão:imprimir o resultdo de medicacao (impressora sem fios) • No menu: - Confirmar o item de menu selecionado - Guardar o valor definido |
| 6 | Display | Elemento de indicatorão para resultados de medicação e para a configuraçao do aparecido |
| 7 | Compartimento das pilhas | Alojamento para as pilhas |
| 8 | Bolha de nível | Indica se o aparecido está na horizontal |
| 9 | Ligação do alimentador | Serve para a ligation do alimentador optional |
| 10 | Pé roscado 4 | Unidades, servem para o alinhamento exato |
4.2 Simbolos no display

| Símbolo Significado | ||
| A | Pilhas fracas | |
| B | Funcionamento com alimentador | |
| C | Função não calibrário ativa | |
| D | Memória我当时amente realizada | |
| E | →|1|← →|2|← | Gama de pesagem atualmente utilizada ver "Dados技术和icos" na página 308 |
4.3 Simbolos no aparecido e na lista de caracteristicas
| Texto/Símbolo Significado | |
| Modell N.° do | modelo |
| Ser. No. Nível de série | |
| Respeitar o manual de instruções de'utilização | |
| Aparelho eletromedicinal, tipo B | |
| Aparelho isolado, classe de proteção II | |
| M | Marca de conformidade segundo a Diretiva 2009/23/CE relativa a instrumentos de pesagem de functimento não automatístico |
| e | Valor em unidas de medidautilizando para a classificações e a calibração de uma balança |
| d | Valor que indica aDIFFERência entreinousvalores seguidos indi-cados |
| →|x|← | Gama de pesagem ativa |
| III | Balança da classe de precisão III conforme Diretiva 2009/23/CE |
| CExx01090123 | O aparelho está em conformidade com Diretivas da CE • xx: Ano em que foi efetuada acalibração CE e afixada a marca CE • 0109: Local denominado metrologia: Hessische Eichdi-rektion • 0123: Local denominado dispositivos médicos: TÜV Süd Product Service |
| FC | Símbolo da autoridade americana Federal Communications Commission FCC |
| FCC ID | Número de homologiação do aparelho pela autoridade américa Federal Communications Commission FCC |
| IC Nível | de homologiação pela autoridade Industry Canada |
| Texto/Simbolo Significado | |
| - - + x-y V = max. xxx mA use compatible seca adapter only | Placa de caracteristicas na tomada de ligação de rede • x-y V: tensão de alimentação necessária • max xxx mA:consumo máximo de corrente • : ter atençao à polaridade correta da ficha do aparelho • : Operar o aparelho com corrente continua |
| Não colocar o aparelho no lixo dométrico | |
4.4 Simbolos na embalagem
| J | Proteger dahumidade |
| As setas apontam para a parte superior do produitsTransportar e armazenar na posicao vertical | |
| QuebravelNão deitar ao chão, nem deleiar cair | |
| Temperatasmin. emax. para o transporte e oarmazenamento | |
| Humidade do armin. emax. para o transporte e oarmazenamento | |
| O material da embalagem éreciclavel. |
4.5 Estrutura do menu
No menu do aparecido está disponible以及其他 funções. Assim, pode configurar o aparecido de forma ideal para as suas condições de utilizesçao detalhes a partir da网页 289).


Chamar o menu:

Aparelhos detetados (Mo):
- 1: Balança para adultos
- 2: Escala de medicacao da altitude
- 3: Impressora sem fios
- 4: PC com modulo de rádio USB
- 7: Balança para bebés
| N.° Componente Unid. | ||
| a | Plataforma de pesagem 1 | |
| b | Suporte de parede 1 | |
| c | Adaptador angular 1 | |
| d | Parafusos, 3 x 35 mm 2 | |
| e | Buchas Ø 5 mm 2 | |
| f | Pilhas tipo AA/LR6, 1,5 V 6 | |
| g | Caixa do主義者 com cabo de ligação 1 | |
| Manual de instruções de utilização, não ilustrado 1 | ||
5.2 Preparar a caixa doMASTER para o funcimento (mostrador de mesa)
ATENÇAIO!
Danos do aparelho
Apos a montagem, o adaptor angular não podevoltar a ser retirado.
- Certifique-se, après da montagem, de que a caixa do主義ador deve ser colocada sobre uma mesa.
Montar o adaptor angular

- Coloque o adaptor angul na posicao indicada na caixa do mostrador.
- Certifique-se de que o cabo de ligação passa na ranhura de quia do adaptorangular.
- Pressione o adaptador angular na caixa do在哪or até as quatre linguetas de retençao engatare m com um clique.
Conectar o cabo de ligaçao à plataforma

NOTA:
Ao escolher o local de instalacao tenha em atencao o comprimento do cabo de ligaacao, para que a caixa do mostrador possa ser colocada sobre uma superficie de trabalho.
- Coloque a balança sobre uma superficie segura e plana.
- Conecte o cabo de ligaçao a caixa eletrónica da balança.
ATENÇAIO!
Medicao errada devidao a derivacao de forca
Se o cabo da caixa doadora tocar napla- forma de pesagem, não é possivel pesar o paciente corretemente.
-
Disponha o cabo de forma a que este não possa tocar na plataforma de pesagem.
-
Coloque a caixa do主義ador sobre una superficie de trabajo.
5.3 Preparar a caixa do主義atorio para o uso de transporte (mostrador de parede)
ATENÇAIO!
Danos do aparelho
Apos a montagem, o adaptorangular não podevoltar a ser retirado.
- Certifique-se, après da montagem, de que a caixa doMASTER deve ser montada numa parede.
Montar o adaptor angular

- Coloque o adaptor angular na posicao indica na caixa do主義or.
- Certifique-se de que o cabo de ligaçao passa na ranhura de guia do adaptordo angular.
- Pressione o adaptador angular na caixa do meuador até as quatre linguetas de retençao engatare com um clique.
Conectar o cabo de ligação à plataforma

NOTA:
Ao escolher o local de instalacao tenha em atencao o comprimento do cabo de ligaacao, para que a caixa doadora possa ser colocada no suporte de parede.
-
Coloque a balança sobre uma superficie segura e plana.
-
Conecte o cabo de ligaçao à caixa eletrónica da balanca.
ATENÇAÖ!
Medicão errada devido a derivação de fora
Se o cabo da caixa do主義or tocar na forma de pesagem, não é possivel pesar o paciente corretemente.
- Disponha o cabo de forma a que este não possa tocar na plataforma de pesagem.
Montar os suportes de parede
Escolha uma parede com capacidade de cargo adequada para a montagem. Para a montagem em alvenaria macça, são fornecidas buchas standard. Para paredes de outras tipo de constituicao, recomendamos a utilização de buchas especialis adequadas.
NOTA:
Ao escolher a-altura de montagem tenha em atencao o comprimento do cabo de ligacao.

- Marque os furos na parede à alta desejada de forma horizontal entre si.
- Faça os furos com uma broca de 0.5mm
- Insira asbuchas nos furos.
- Aparafuse o suporte na parede orientado como ilustrado na figura.
Colocar a caixa do mostrador no suporte de parede

Coloque a caixa do主義or no suporte de parede, como ilustrado no desenho anterior.
5.4 Providenciar a alimentação de energia
Colocar as pilhas

A alimentação de energia da balança é feita atraves de pilhas ou de um alimentador disponible como acessório.
- Pressione o dato do compartmento das pilhas.
- Abra a tampa do compartmento das pilhas.
- Retire o suporte das pilhas.
- Cologne as pilhas no suporte.
NOTA:
Tenha atençao a polaridade correta das pilhas (marcações no suporte das pilhas). Se aparecer a indicação bAtt no display, significa que as pilhas não foram bem colocadas ou que está descarregadas.
- Coloque o suporte com as pilhas no respetivo compartmento.
- Fecha o compartmento das pilhas.
Ligar o alimentador (optional)
A balança pode functionar com um alimentador que está disponible como acessório. Estão disponibleis dosismos de alimentador, um com adaptordo de ficha e um com uma ficha EURO fixa.

AVISO!
Perigo de ferimentos e de danos no aparecido na utilização de alimentadores errados
Os alimentadores comuns podem fornecer uma tensão mais alta do que a indicaça nosmosmos. A balança pode sobraquecer, incendiarse, derreter ou fazer curto-circuito.
- Utilize exclusivamente alimentadores originais seca de 9 V ou uma tensão de saída regulada de 12 V.

- Se necessário, insira a ficha necessária para a sua alimentação de energia no alimentador.

- Insira a ficha do alimentador na tomada de ligação da balança.
- Ligue o alimentador a uma tomada de rede.
5.5 Montar a balança
Alinhamento da balança
ATENÇÂO!
Medicao errada devidao a derivacao de forca
Se a caixa da balança estiver colocada, p. ex. sobre uma toalha, o peso não sera medido corre- retamente.
- Coloque a balança de forma a que apenas os pés roscados tenham contacto com a superficie de apoio.

- Coloque a balança sobre uma superficie segura e plana.
- Desaperte as rodas serrilhadas.
- Ajuste o aparelho rodando os pés roscados.
A bolha de ar do nível deve encontrar-se exata-mente no centro do circulo.
- Aperte as rodas serrilhadas no sentido da seta. Os pés roscados está protegidos contra desajustes acidentais.
6. UTILIZAZão

CUIDADO!
Danosessoais
Antes de cada'utilisation do aparecido, efetue um controle do Functionamento conforme descripto na�� "Controlo do Functionamento" na párgina 303.
6.1 Pesar

CUIDADO!
As pessoas com mobilidade reduzida podem cair ao tentar colocar-se na balança.
- Ampare as pessoas com mobilidade reduzida no momento de se colocarem na balança.
ATENÇAIO!
Medicao errada devidao a peso incorreto
Se o peso for aplicado apenas de um lado ou num canto da balança, este não sera medido corretemente.
- Peça ao paciente para se colocar no centro da balança.
Ligar a balança

Prima a tecla Start (Iniciar).
Todo os elementos do display são indicados breve, a seguir aparece SECA no display.
A balança está operacional quando aparecer ainderscão 0.0 no display.
Se a balança for operada com um alimentador, surge o símbolo no主義or.
Pesar o paciente 1. Certifique-se de que a balança está vazia.
- Peça ao paciente para se colocar sobre a balança.
- Peça ao paciente para permanecer quieto.
- Leia o resulto da medicao.
635
Tarar o peso adicional (TARE)
A funcão TARE permitite fazer que um peso adicional (por exemplo uma toalha ou um apoio na superficie de pesagem) influencé o resulto da pesagem.
ATENÇAIO!
Medicao errada devidao a derivacao de forca
Quando um peso adicional, p. ex. uma toalha grande, toca na superficie em que está a balança, o peso não é medido corretemente.
-
Certifique-se de que os pesos adcionais se encontrarunicamente na superficie de pesagem da balança.
-
Ligue a balança.
- Coloque o peso adicular sobre a balança.
- Mantenha a tecla de seta (hold/tare) premida, às que apareça a mensagem "NET" no主義。
- Aguarde até que a indentação deixe de piscar e surja, em vez_DESTa, 0.0.
- Pese o paciente conforme descripto na secção "Pesar o paciente".
- Leia o resulto da medicao. O peso adiconal foi subtraido automaticamente.
- Para desativar a funcão TARE, prima a tecla de seta (hold/tare), até desaparecer a mensagem "NET" ou deslgue a balança.
NOTA:
Do peso máximo indicável é deduzido o peso dos objetos já colocados.
Indicarpermanentemente oresultado damedição (HOLD)
Quando ativa a funcao HOLD, o valor do peso continua a ser indicado mesmo antes de a balanca estar vazia. Desta forma, pode fazer do paciente antes de anotar o valor do peso.
- Certifique-se de que a balança está vazia.
- Ligue a balança.
- Pese o paciente conforme descririto na secção "Pesar o paciente".
- Prima brevamente a tecla de seta (hold/tare).






A indentação permanece intermitente até que está aferido um peso estável. A seguir, o valor do peso é exibido de forma permanente. O símbolo (função não calibravel) e a mensagem "HOLD" surgeons noestrador.
- Para desativar a funcao HOLD, prima breve a tecla de seta (hold/tare).
O*síbolo a mensagem"HOLD"desaparecem doasnóstrador.
NOTA:
Se a funcao Autohold estiver ativa, o valor do peso é automaticamente indicado de forma permanente ate a balança se desligar ou ser desligada, ver "Ativar a funcao Autohold (Ahold)" na page 292.
Determinar e avaliar o Ínicio de Massa Corporal (IMC)





O Índice de Massa Corporal relaciona a estatura e o peso do corpo permitindo assim dar indicatoroes mais precisas, como p. ex. o peso ideal segudo Broca. É indicaça uma faixa de tolerância que correponde a uma faixa ideal do punto de vista da Saúde.
O aparecido dispõe deTRS locais de memória para estatas. É possível introduzir e memorizar a estatura de determinados pacientes. Em alternativa, pode memorizar differsentes价值观s iniciais e assim definir maisrapidamentea estaturaefetivade um paciente.
- Certifique-se de que a balança está vazia.
- Ligue a balança.
- Prima breve a tecla de seta (bmi/menu).
Aparece a mensagem "BMI".
É indicado oultimate local de的记忆utilizando (aquilocal de memoria 2).
- Pode aceitar o local de memória indicado ou selecionar除外o local de memória com as teclas de seta.
- Confirme a sua seleção com a tecla Enter (send/print).
Piscam setas no display.
É indica a ultima estatura guardada no local de memória selecionado.

- Pode aceitar a estatura indica ou selecionar uma outra estatura com as teclas de seta.
- Confirme a sua selecao com a tecla Enter (send/print).
A estatura introduzida é memorizada e fica novamente disponible para oproximo calculo do IMC.
NOTA:
Anote o local de的记忆 para podervoltar a chamar a estatura para um novo calculo do IMC.
- Pese o paciente conforme descriço na sequção "Pesar o paciente".
O IMC do paciente é calculado e exibido automaticamente. - Leia o IMC e compare-o com as categorias indicadas mais abaixo.
- Para desativar a funcao BMI (IMC), prima brevemente a tecla Enter (send/print).

| IMC Avaliação | |
| inferior a 18,5 | O paciente pesa muito pouco. Poderá existir uma tendência para anorexia nervosa. Recomenda-se um aumento de peso de forma a melhorar o bem-estar e a capacidade de desem-penso. Em caso de dupida consultar um médico especialista. |
| entre 18,5 e 24,9 O paciente tem um peso normal. | |
| entre 25 e 30 (pré-obesidade) | O paciente tem um ligeiro a médio excesso de peso. Deve reduzir o seu peso se padecer de alguma doença (p. ex. diabetes, tensão arterial alta, gota, perturbações do metabo-lismo lipílico). |
| superior a 30 | É absolutamente necessário reduzir o peso. O metabolismo, a circulação sanguínea e os ossos está a ser afetados. Recomenda-se uma dieta coerente, muito exercício e um treino de comportamento. Em caso de dupida consultar um médico especialista. |
Enviar resultados de medico para o recetor de rado

Se a balança estiver integra numa rede sem fios seca 360^ wireless, é possivel enviar os resultados de medicação para apareiros preparados para receção (p. ex. impressora sem fios, PC com modulo de radio USB) atraves do aconteamento das teclas.
Prima a tecla Enter (send/print).
- Breve pressão das teclas: enviar os resultados de medicação para todos os apareiros preparados paraendaleção
- Longa pressão das teclas: imprimir o resultado de medicação na impressora sem fios
Calculare imprimir automaticamente o IMC
Se utilizes esta balança juntamente com uma impressora sem fios e uma escala de medicacao da ultura do sistema seca 360^ wireless, pode calcular e imprimir automaticamente o IMC.
NOTA:
É condição prévia para esta funcção que os aparços esteyam registados em conta numroupode comunicação via rádio (ver"A rede sem fios seca 360^ wireless" na págnina 295).
- Efetue a medicao da altitude.
- Prima breve a tecla Enter (send/print) da es- cala de medicacao da altera.
O valor de medicação é enviado para a impressora sem fios mas não é impresso.
- Efetue a pesagem.
- Prima durante mais tempo a tecla Enter (send/print) da balança.
O valor de medico é enviado para a impressora sem fios.
O IMC é calculado.
A altitude, o peso e o IMC são impressos.
Comutation automatica da gama de pesagem
A balança possui das gamas de pesagem. Na gama de pesagem 1 (he fornecida uma divisão mais precisa da indentação do peso com uma capacidade de)carga reduzida. Na gama de pesagem 2 (modeutilizar a capacidade de cargo Tmaxima da balança.
Depois de ligar a balança, a gama de pesagem 1 fica ativa. Se for ultrapassado um determinado valor de peso, a balança comuta automaticamente para a gama de pesagem 2.
Para comutar nowamente para a gama de pesagem 1, proceedo do segunte modo:
Esvazie completeness a balança.
A gama de pesagem 1 está novamente ativa.
Desligar a balança

Prima a tecla Start (Iniciar).
NOTA:
No funciona a pilhas, a balança desligasse automaticamente antes 5 horas(before de estar vazia.
6.2 Outras funções (menu)
No menu da balança está disponible以及其他 funções. Assim, pode configurar a balança de forma ideal para as suas condições de'utilisation.

- A descrição do item de menu "rF" encontrar-se na classe "Operar a balança numroupo de comunicaçao via rádio (menu)" na págnina 297.
Navegar no menu 1. Ligue a balança.












Apagar
automaticamentevalores guardados
(ACIr)
ACLR
On
- Mantenha a tecla de seta (bm/i/menu) premida, até que apareça o menu.
O item de menu selectiono porultimate aparece no display (aqui: behold "Ahold").
- Prima uma das teclas de seta as vezes necessarias até que apareça o item de menu desejado no display (aquí: amortecimento "Fil").
- Confirma a sua selecao com a tecla Enter (send/print).
Sãoindicadasasdefiniçõesatuaispara o item de menu ou um submenu (aquimível"0").
- Para alterar a definição ou chamar及其他 submenu, prima uma das teclas de seta as vezes necessarias até que surja a definição desejada (aquí: não "2").
- Confirme a definição com a tecla Enter (send/print).
A saída do menu é feita automaticamente.
- Para efetuar outras definições, chame novamente o menu e proceedo do segunte modo.
NOTA:
Se durante aprox. 24 segundos não for pre-mida nenhuma tecla, a saía do menu é feita automaticamente.
Para fazer que permançam na memória do aparecido resultados de medicação desatualizados que deem origem a um calculo do IMC incorreto, é possível configurar a balança de forma a que os resultados de medicação sejam eliminados automaticamente antes 5 minutos.
NOTA:
Em algunos modelos esta funcão vem já ativada de fabrica. Se desejar, pode desativar a funcão.
- No menu, selezione o item "ACIr".
- Confirme a seleção.
-
SeLECTIONA definição desejada:
-
On
-
Off
-
Confirma a seleção.
A saída do menu é feita automaticamente.
Guardar permanece o peso adicular (Pt)
A funcão de pré-taragem permite guardar um peso adicional de forma permanente e subtrai-lo automaticamente de um resulto de medicao. Pode guardar por exemplo um peso aproximado para os sapatos e roupas e subtraio do resulto de medicao, sempre que um paciente é pesado completenessly vestido.

O aparecido disposé de这只是 locais de memória para valor dos pesos. É possível memorizar algumas valores do peso e chamá-los individualmente conforme a situação inicial, de forma a serem automaticamente deduzidos do resulto da medicação.



- No menu, selezione o item "Pt".
Aparece a mensagem "Pt". - Confirme a sua seleção.
É indicado o ultimateo local de memória utilizao. - Pode aceitar o local de memória indicado ou selecionar除外o local de memória com as teclas de seta.
- Confirme a seleção.
Piscam setas no display.
É indicado no local de memória的选择ado ou ultimate peso adicional guardado. - Pode aceitar o valor guardado ou alterá-lo com as teclas de seta.
NOTA:
Se introduzir o valor "0", a funcão é desligada. A mensagem "Pt" não aparece no display.
- Confirme a sua selecao.
- Peça ao paciente para se colocar sobre a balança. É indentado o peso do paciente. O peso adicional guardado foi subtraído automaticamente.
- Para desativar a funcao, selecione novamente no menu o item "Pt".
- Confirme a sua selecao. A funcao está desativada. A saida do menu é feita automaticamente.


NOTA:
Se desligar a balança, a função é desligada. Ao ligar novamente, a mensagem "Pt" não aparece no display.
Ativar a funcao Autohold (Ahold)
Quando ativa a funcao Autohold, o resulto da medicocontinua a ser indicado em cada過程o depesagem,soon de a balanca ser esvaziada. Deixa deser necessario ativar manualmente a funcao Hold emcada過程o de pesagem.
NOTA:
Em algunos modelos esta funcão vem já"Ativada de fabrica. Se desejar, pode desativar a funcão.
AHOLD
On
-
No menu, selezione o item "Ahold".
-
Confirma a seleção.
É indicada a definição atual.
-
SeLECTIONA definição desejada:
-
On
-Off
- Confirma a sua seleção.
A saída do menu é feita automaticamente.
Ativar sinais acusticos (BEEP)
Pode definir se deve ser audível um sinal acústico ao pressionar as teclas ou ao ser alcângado um valor de peso estável. O最後 é importante para a funcção Hold/Autohold.
NOTA:
A funcão "Sinal acústico com um valor de peso estável" vem ativada de fabrica. Se desejar, pode desativar esta funcão.
BEEP
-
No menu, selezione o item "BEEP".
-
Confirma a seleção.
-
Sezione um item de menu:
-
Press: sinal acústico ao pressionar teclas
- Hold: sinal acústico quando é alc的功能 um valor de peso estável.
Pre55
- Confirma a sua seleção.
É indicada a definição atual.
On
-
SeLECTIONA definição desejada:
-
On
-
Off
-
Confirma a sua seleção.
A saída do menu é feita automaticamente.
- Se desejar ativar o sinal acústico también para a mesma função, repita o processo.
Ajustar o amortecimento (Fil)

Com o amortecimento (Fil = filtro) pode reduzir as falhas na determinação do peso (p. ex. devido aos movimentos do paciente).
- No menu, selezione o item "Fil".
- Confirme a seleção.
É indicada a definição atual.
-
Selecione um nivel de amortecimento.
-
0: sem amortecimento
- 1: amortecimento medio
-
2: amortecimento elevado
-
Confirma a seleção.
A saía do menu é feita automaticamente.
Restabelec as definições de fabrica (RESET)
As definições de fábrica podem ser restabelecidas para as següntes funções:
| Função | Definições de fábrica |
| Autohold (Ahold) | dependente do modelo |
| Sinal acústico (Press) off | |
| Sinal acústico (Hold) on | |
| Amortecimento (Fil) 0 | |
| Autoclear (Aclear) | dependente do modelo |
| Pre-taragem (Pt) 0 kg | |
| Altura para o Índice de Massa Corporal (IMC) | 170 cm |
| Módulo de rádio (SYS) off | |
| Autosend (ASend) off | |
| Autoprint (APrt) off |
RESET
NOTA:
No restabelecimiento das definições de fabricula o modulo de rádio é desligado. As informações relativas aos grupos de comunização via rídio mantém-se. Os grupos de comunização via rádio não tem de ser novamente configurados.
-
No menu, selezione o item "Reset".
-
Confirma a seleção.
A saída do menu é feita automaticamente.
- Desligue a balança.
As definições de fabrica são restabelecidas e ficam novamente disponíveis quando a balança voltar a ser ligada.
7. A REDE SEM FIOS SECA 360^ WIRELESS
7.1 Introdução
Este aparecido está equipado com um MODULE de rário. O MODULE de rário permitse a transmissão sem fios dos resultados de medicação para avaliação e documentação. É possível fazer a transmissão dos dados para os seguides apareiros:
- Impressora sem fios seca
- PC com modulo de rádio USB seca
Grupos de comunicação via rádio seca
A rede sem fios seca 360^ wireless referencia com grupos de comunacao via rado. Um grupo de comunacao via rado é um grupo virtual de emissores e recetores. Caso sera necessario operar various emissores e recetores do mesmo tipo, é possivel equipar até 3 grupos de comunacao via rado (0, 1, 2) com este aparelho.

A configuraçao de variedos grupos de comunicaao via radio assegura o enderecamento fiavel e correto de values de medico, quando são realizadas varias salas de exame com o mesmo tipo de equipamento.
A distência Tmaxa entre emissor e recetor é de aprox. 10 metros. Determinadas caractéristicas do local, como p. ex. a espessura e constituição das paredes, poder reduzir o alcance.
Por cada grupo de化合acao via rado é possivel a segunte combinacao de aparehos:
- 1 balança para bebés
- 1 balança para adultos
1 escalade medico da altitude - 1 impressora sem fios seca
- 1 PC com modulo de rádio USB seca
Canais
Dentro de um grupo de comunização via rádio os aparhços comunicam entre si através deTRS canais (C1, C2,C3).Desta forma, é assegurada uma transmissão de dados fiavel e sem falhas.

Se configurar um grupo de comunicação via rádio com esta balança, o aparecido irá sugerir-lhe tíres canais que garantem uma excellente transmissão de dados. Recomendamos que aceite os números de canal sugeridos.
Tambemode selecionar osnumbers de canal (0a99)
manualmente,porexample, quando deseja instalar
variosgruposdecomunicaoia viaradio.
De forma a assegurar uma transmissão de dados sem falhas, os canais tem de ter uma distência suficiente entre eles. Recomendamos uma distência entre os números de canal deleo menos 30. Cada número de canalsolepoderesturadoparaum canal,respetivamente.
Exemplo de configuração: números de canal na instalação de 3roupos de comunicação via rádio dentro de um consultório:
- Grupo de comunicação via radio 0: C1=_, C2=30, C3=60
- Grupo de comunicação via radio 1: C1=10, C2=40, C3=70
- Grupo de comunicação via radio 2: C1=20, C2=50, C3=80
Deteção de apareiros Se configurar um grupo de comunização via rádio com a balança, este érá procurar outros apareiros ativos do Sistema seca 360^ wireless. Os apareiros detetados são indicados no display da balança como modulos (p. ex. "MO 3"). Os números significam o seguito:
1: Balança para adultos
2: Escala de medicacao da altitude
3: Impressora sem fios
- 4: PC com modulo de rádio USB seca
- 7: Balança para bebés
- 5, 6 e 8-12: Reservado para ampliação do Sistema
7.2 Operar a balança numroupode comunicação via rádio (menu)
Todas as funções necessarias para operar o aparecido numroupode comunicaçãovia rádio seca encontram-se no submenu "rF".Poderá encontrar informações sobre como navegar no menu na págnina 290.

Ativar modulo de raggio (SYS)
O aparecido é fornecido com o modo de rádio desativado. Tem de o ativar antes de poder configurar um grupo de化合ação via rádio.
NOTA:
Quando ativa o modulo de rádio, o consumo de energia do aparelho augmente. Para o funcional-mentation do aparelho numa rede sem fios recomendamos a Utilização de um alimentador.

- Ligue o aparelho.
- Selegione no submenu "rF" o item "SYS".
- Confirme a seleção.
- SeLECTIONA definição "On".
- Confirme a selecao. A saida do menu feita automaticamente.
Configurar um grupo de comunicação via rádio (Lrn)
Para configurar um grupo de comunicação via rácio, proceedo do segunte modo:
- Ligue o aparelho.
- Chame o menu.

- No menu, selezione o item "rF".
- Confirme a seleção.
- Selecione no submenu "rF" o item "Lrn" (learn).
- Confirme a seleção.

É indicao o grupo de comunicação via rádio definido atualmente (aqui:roupode comunicaçãovia rádio 0 "Id 0").

Se o grupo de comunicação via rádio "0" não existir, seleção除外 ID com as teclas de seta (aquí:roupo de comunicação via rádio 1 "Id 1").

- Confirme a sua seleção do grupo de comunicações via rádio.

- Confirme a sua selecao para o canal 1.
A apareção dos números de canal de dois digitos é feita sem espécOs vexios. A referencia "C230" significa: Canal "2", número de canal "30".
- Confirma a sua selecao para o canal 2.
O aparecido sugere um número de canal para o canal 3 (aquí: C3 "60").
- Confirme a sua selecao para o canal 3.
Aparece a mensagem StOP no display.
O aparelho esperaelinesinsaisdeoutrosaparemelhos aptospara transmissaoanivelde alcance.
Alguns apareiros necessitam de um procedimento especial de ligação caso tenham de ser integrados numroupo de comunicação via rádio. Respeite o manual de instruções de utilização do respetivo aparecido.
- Ligue o aparecido que deseja integrar no grupo de comunicação via rádio, p. ex. uma impressora sem fios.
Quando a impressora sem fios é reconhecida, ouve-se um sinal acústico.
NOTA:
Quando integrar uma impressora sem fios numroupode comunicao via rado tem de selecionaruma opcao de impressao (menu\rF\APrt)e definir a hora (menu\rF\time).
- Repita o passo 11. para todos os apareiros que deseja integrar neste grupo de comunicação via rádio.
- Prima a tecla Enter para conclusir o processo de procura.
- Prima una das teclas de seta para visualizar whatsoever os apareiros que foram detetados (aquí: "MO 3" para una impressora sem fios).
Se tiver integrado various apareiros no grupo de comunicação via rádio, prima varías vezes as teclas de seta para assegurar que todos os apareiros foram detetados pela balança.
- Saia do menu com a tecla Enter ou espere até que a saída do menu sera feita automaticamente.
Ativar a transmissao automatica (ASend)
Pode configurar o aparecido de forma a que os resultados de medicação sejam enviados automaticamente para todos os emissores preparados para receção e registados no mesmo grupo de comunização via radio (p. ex.: impressora sem fios, PC com modulo de radio USB).
NOTA:
Se utilizes una impressora sem fios, assegues de que, como opção de impressão, não está definido "Off" (ver "Selecionar a opção de impressão (APrt)" na págnica 300).
A5End
- Ligue o aparelho.
On
-
SeLECTION no submenu "rF" o item "ASEnd" e confirme a selecao.
-
SeLECTIONA definição "On" e confirma a seleção. A saída do menu é feita automaticamente.
Selecionar a opcao de impressao (APrt)
Pode configurar o aparecido de forma a que os resultados de medicação sejam impressos automaticamente por uma impressora sem fios registada no grupo de comunicação via rádio.
NOTA:
Esta funciona so está disponible se tiver sido integrala uma impressora sem fios seca atraves de uso "learn" no grupo de comunização via rádio.
APrE
- Ligue o aparelho.
- SeLECTION no submenu "rF" o item "APrt" e confirme a selecao.
-
SeLECTIONA definição aplicável à sua combinação de aparhos:
-
HI: Resultados de medico de aparehos de medicacao da altitude
- MA : ressaltados de medicacao de
- HI_MA: Resultados de medicação de apareiros de medicação da idade e balanças
-
Off: sem impressão automatica, a impressão está esponível atraves de uma pressão longa da tecla Enter durante o processo de pesagem.
-
Confirma a sua selecao.
A saída do menu é feita automaticamente.
Definir a hora (Time) Pode configurar oSYSTEMA de forma a que a impressora sem fios acrescente automaticamente a data e a hora aos seu resultados de medicacao. Para tal, tem de definir uma vez a data e a hora nesteaporelho e transferir para o relógio interno da impressora sem fios.
NOTA:
Esta funcção está disponible se tiver sido integrala uma impressora sem fios seca atraves de funcção "learn" no grupo de comunização via rádio.
EINE
- Ligue o aparelho.
- Selecione no submenu "rF" o item "tIME".
- Confirma a seleção.
É indica a definição atual para "Ano" (YEA).
YER10
- Defina o número correto do ano.
-
Confirma a seleção.
-
Repita os passos 3. e 5. respetivamente para
"Mês" (Mon), "Dia" (dAy), "Hora" (hour) e "Minuto" (Min).
- Confirma a sua seleção.
Apos a confirmação da definição dos minutos a saía do menu é feita automaticamente.
As definições são transmitidas automaticamente à impressora sem fios.
A impressora sem fios acrescenta automaticamente a data e a hora a todas as impressões.
NOTA:
Para mais operações com a impressora sem fios consulte o respetivo manual de instruções de utilizesção.
8. TRATAMENTO HIGIÉNICO

AVISO!
Choque elétrico
O aparelho não está sem corrente quando for premida a tecla Ligar/Desligar e o display se apaga. Na'utilisation de liquidos no aparelho pode havarCHOque elétrico.
- Para retirar o aparecido da corrente, puxe a ficha de alimentação antes de qualquer tratamento higiénico.
- Certifique-se de que não entram liquidos no aparecido.

CUIDADO!
Danos no aparelho
Produtos de limpeza e desinfétantes inadequados podem danIFICAR as superficies sensíveis do aparelho.
- Não utilizeiros de limpeza agressivos ou abrasivos.
- Não utilize alcool ou benzina.
- Utilize exclusivamente desinfetante adequado para superficies sensíveis. Os desinfetantes adequados encontrar-se a venda em lojas especializadas.
8.1 Limpeza
Em caso de necessidade, limpe as superficies do aparelho com um pano macio humedecido com agua de sabão suave.
8.2 Desinfeço
ATENÇAIO!
Danos do aparelho
Os vidros de visualização nas escalas e displaysão compostos por vidro acrílico. Os vidros acrílicos podem quebrar-se ou ficar turvôs, caso sejam realizados desinfetantes inadequados.
-
Utilize exclusivamente desinfetante adequado para superficies sensíveis. Os desinfetantes adequados encontrar-se a vendam em lojas especializadas.
-
Observe o manual de instruções de'utilisation do desinfetante.
- Desinfete o aparelho em intervalos regulares'utilizing um pano macio humedecido com um desinfetante adequado.
- Observe os seguiñes prazos:
| Prazo Componente | |
| Antes de cada medicao com contacto direto com a pele | Plataforma de pesagem |
| DepoS de cada medicao com contacto direto com a pele | Plataforma de pesagem |
| Se necessário | • Display• Teclado de membrana |
8.3 Esterilização
Não é permitida a esterilização do aparho.
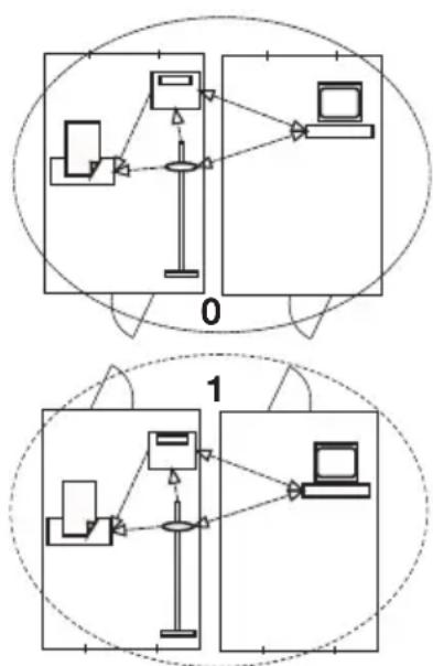
9. CONTROLLO DO FUNCIONAMENTO
Antes de cada'utilisation efetue um controlo do funcimento.
Fazem parte de um controlo do funcionaamento completeness:
- Exame visual para detectao de danos mecancios
- Exame visual everification do��amento do display
- Verificacao do functiimento de todos os elementos de commando presentados no capitulo "Vista geral"
- Verificação do functimento dos acessórios eles
- Oportunidades de transporte, alimentação e hospitalização.
Se detetar anomalias ou desvios durante o controlo do funciona, tente primeiro corrigir oerro com a ajuda do capítulo "O que fazer quando...?" a partir da página 304.
CUIDADO!
Danos subpoenais
Se, durante o controlo do funciona, detetar anomalias ou desvios que não podem ser corrigidos com a ajuda do capículo "O que fazer quando...?" a partir da págnica 304, não deve utilizes o aparecido.
- Mande reparar o aparecido peloServiço专业技术o da seca ou por um的服务o de posvenda autorizzato.
- Observe a classe "Manutenção/ Recalibração" na páginha 306.
10.O QUE FAZER QUANDO...?
| Falha Causa/Eliminação | |
| ... com想找 não aparece nenhumama indicaçao do peso? | A balança não tem alimentação de energia. - Verificar se a balança está ligada. - Verificar se as pilhas está colocadas. |
| ... não aparece 0.0 antes da pesagem? | Foi colocada想找 na balança antes de esta ser ligada. - Esvaziar a balança. - Desligar e tornar a ligar a balança. |
| ... um segmento está permanentamente acesso ou não se acende? | O respetivo punto indica umerro. - Contactar o service de manutenção. |
| ... aparece a indicação ? | As pilhas está a ficar fracas. - Colocar pilhas novas logo que possível. |
| ... aparece a indicação "bAtt"? | As pilhas está vazias. - Colocar pilhas novas. |
| ... aparece a indicação "StOP"? | Foi exceedida a想找 maior. - Esvaziar a balança. |
| ... aparece a indicação "tEMP"? | A temperatura ambiente da balança é muito alta ou muito baixa. - Colocar a balança numa temperatura ambiente entre +10 °C e +40 °C. - Esperar aprox. 15 minutos até que a balança se tenha adaptado à temperatura ambiente. |
| ... Deposis de ligar sãoenviados resultados demedicao pela primaryavez e se ouvem dossinais acústicos? | · O aparecido não conseguiu enviar resultados de medicoao aos recetores de rádio (impressora sem fios seca ou PC com modulo de rádio USB seca).- Certifique-se de que a balança está integrada na rede sem fios.- Certifique-se de que o recetor está ligado.A receção é afetada por apareiros de alta frequência que se encontrar nas imeditações (p.ex. telemóveis).- Na rede sem fios seca mantenha os apare-lhos de alta frequência a uma distância minima de 1 metro dos emissores e receto-res. A potência de envio efetiva de apareiros de alta frequência pode querer direstânciasminimas de mais de 1 metro. Pode consultar os detalhes em www.seca.com.NOTA:Se a falha não for eliminada, nasproximastentativas de envio não soar nenhum avisoacústico. |
| ... no menu "rF"sole visi-vel o item "SYS"? | · O[módulo de rádio está desativado.- Ativar o[módulo de rádio (ver "Ativar[módulo de rádio (SYS)"na pagedina 297). |
| ... no menu "rF"sole visiweis os itens "SYS"e"Lrn"? | · O[módulo de rádio está ativado e não está configurado nenhum grupo de comunicaçoino. - Configurar um groupe de comunicaçoino via rádio (ver "Configurar um groupe de comunicaçoino via rádio (Lrn)"na pagedina 297). |
| ... no menu "rF"os itens"APrt"e"Time"não sāo visiweis? | · Nenhuma impressora sem fios registada no Grupo de comunicaçoino. -Registrar a impressora sem fios no grupo de comunicaçoino via rádio atraves do item de menu "Irn" (ver "Configurar um groupe de comunicaçoino via rádio (Lrn)"na pagedina 297). |
| ...deposis de abrir o menu, o item "rF"não éindicado? | · O[módulo de rádio da balança está avariado.- Contactar o service专业技术 da seca. |
| ... aparece a indicação "Er:X:11"? | A balança está em posicao muito alta ou foi sobrecarregada num dos cantos. - Esvaziar a balança ou distribuir o peso uniformamente. - Reinecer a balança. |
| ... aparece a indicação "Er:X:12"? | A balança foi ligada com excesso de peso sobre ela. - Esvaziar a balança. - Reinecer a balança. |
| ... aparece a indicação "Er:X:16"? | A balança moveu-se devido à oscilaçãopropriaria, não foi possível determinar o punto zero. - Reinecer a balança. |
| ... é premida a tecla Enter (send/print) e apo-rece a indicação "Er:X:71"? | Não é possível a transmissão de dados, o[módulo de rário está desativado. - Ativar o[módulo de rário (ver "Ativar[módulo de rário (SYS)" na pageda 297). |
| ... é premida a tecla Enter (send/print) e apo-rece a indicação "Er:X:72"? | Não é possível a transmissão de dados, não está configurado nenhum grupo de comunicaçãovia rário. - Configurar um groupe de comunicaçãovia rário (ver "Configurar um groupe de comunicaçãovia rário (Lrn)" na pageda 297). |
11.MANUTENÇA/ RECALIBRAÇA
11.1 Informações relativas à manutenção e recalibração
Antes de proceder à recalibração do aparecido, recomendamos quemande efetuaruma manutenção.
ATENÇAIO!
Erros de medicacao devido a uma manutenção incorreta
-
Os tratabalhos de manutençao e reparacao devem ser executados apenas pelo service专业技术 da seca ou por um service de posvenda autorizzato.
-
Em www.seca.com encontrar o service de pós-venda maisproximo de si. Em alternatively,envie um e-mail para service@seca.com.
As dispositions legais nationals relativas a uma recalibratione devem ser aplicadas por pessoal autorizzato. O ano da primeira calibração encontrar-se atrás da marca CE na placá de caracteristicas por cima do número do local denominado 0109 (direção de calibração de Hessen).
Tambem e necessaria uma recalibração sempre que uma ou varias MARCAS de segurar a estiverem danificadas ou o indice do controle de calibracao nao coincide com o numero na marca valida do controle de calibracao. Se as MARCAS de segurar a estiverem danificadas, contacte diretamente o service专业技术o da seca.
11.2 Verificado o indice do controle de calibracao



Esta balança seca está calibrada. As calibragens são poder ser efetuadas por postos autorizados. Para o assegurar, a balança está equipada com um controle de calibração que fixa todas as alterações dos dados relevantes do punto de vista da calibração.
Se desejar verificar se a balança está corretemente calibrada, procee do segunte modo:
- Se necessário, désigne a balança.
- Mantenha uma tecla qualquer premida e ligue a balança.
O indice do controle de calibração piscá durantefewgs segundos no display.
- Compare o indice do controle de calibração indicado com o número indicado na marca do respetivo controle.
Para a calibracao ser valida, os dois他们在 tém de coincir. Se a marca e o controle de calibracao não coincidirem, é necessario efetuar uma recalibracao. Contacte o seu service de pos-venda ou o service de assistência pos-venda da seca. Se a recalibracao tiver sido realizada, é utilizes a红茶 do controle de calibracao nova e atualizada para a identificacao do estado do controle de calibracoes.Esta marca sera fixada com um来进行ial pelas pessoas autorizadas para efetuar a recalibracao. A marca do controle de calibracao pode ser obtida atraves do service de assistencia pos-venda da seca.
12.DADOS TÉCNICOS
12.1 Dados技术和gerais
| Dados técnico gerais seca 635 | |
| Dimensoes da balança • Profundidade • Largura • Altura | 600 mm 640 mm 46 mm |
| Dimensoes da plataforma de pesagem • Profundidade • Largura • Altura | 600 mm 600 mm 46 mm |
| Pesoproprio aprox. 14,1 kg | |
| Faixa de temperatura • Funcionamento • Armazenamento • Transporte | +10 °C(até +40 °C/+50 °F(até 104 °F-10 °C(até +65 °C/+14 °F(até 149 °F-10 °C(até +65 °C/+14 °F(até 149 °F |
| Pressão atmosférica • Funcionamento • Armazenamento • Transporte | 700-1060 hPa 700-1060 hPa 700-1060 hPa |
| Humidade do ar • Funcionamento • Armazenamento • Transporte | 30 % - 80 % sem condensação 0 % - 95 % sem condensação 0 % - 95 % sem condensação |
| Altura dos dígitos 25 mm | |
| Alimentação de energia pilhas, alimentador optional | |
| Consumo de energia • com módulo de rário desativado • com módulo de rário ativado | aprox. 25 mA aprox. 42 mA |
| Tempo máximo de service nofuncionamento a pilhas • com módulo de rário desativado • com módulo de rário ativado | aprox. 4.800 pesagensalimentador recomendado |
| Dispositivo médico segundo a Diretiva93/42/CEE | Classe I com funcção de medicação |
| EN 60601-1: • aparelho isolado, classe de proteção II: • aparelho eletromedicinal, tipo B: | □ |
| Transmissão via rádio | |
| • Banda de frequência | 2,433 GHz - 2,480 GHz |
| • Potência de envio | < 10 mW |
| • Normas aplicadas | EN 300 328 |
| EN 301 489-1 | |
| EN 301 489-17 | |
12.2 Dados da的技术ica de pesagem
| Dados da的技术e de pesagem | |
| Calibracao segundo a Diretiva 2009/23/CE Classe | III |
| Carga maxima • Gama parcial de pesagem 1 • Gama parcial de pesagem 2 | 200 kg 300 kg |
| Carga minima • Gama parcial de pesagem 1 • Gama parcial de pesagem 2 | 2,0 kg 4,0 kg |
| Divisao minima • Gama parcial de pesagem 1 • Gama parcial de pesagem 2 | 100 g 200 g |
| Gama de taragem 300 kg | |
| Precisao na primeira calibracao • Gama parcial de pesagem 1, até 50 kg • Gama parcial de pesagem 1, 50 kg até 200 kg • Gama parcial de pesagem 2, até 100 kg • Gama parcial de pesagem 2, 100 kg até 300 kg | ±50 g ±100 g ±100 g ±200 g |
13.ACCESSORIOS OPGIONAIS
| seca 360° wireless Aparelhos | Número de artigo |
| Escalas de medicação da idade • seca 274 • seca 264 | varietas especáticas do País varietas especáticas do País |
| Impressora sem fios • seca 360° wireless printer 465 • seca 360° wireless printer advanced 466 | varietas especáticas do País varietas especáticas do País |
| Software para PC • seca analytics 115 | pacotes de licença específicos da utilização |
| seca 360° wireless USB adapter 456 456-00- | 00-009 |
| Peças sobressalentes Nível de artigo | |
| Alimentador com ficha EURO: 230 V~ / 50 Hz/12 V=/130 mA | 68-32-10-252 |
| Alimentador com funcao de transformador com adaptadores: 100 - 240 V~ / 50 -60 Hz/12 V=/0,5 A | 68-32-10-265 |
15.ELIMINAÇÃO
15.1 Aparelho

Não deite o aparecido no lixo dométrico. O aparecido tem de ser eliminado de forma adequada como sucata eletrónica. Respeite as respetivas disponções{nacionais. Para mais informações,contacte os outros serviços em:
service@seca.com
15.2 Pilhas e acumuladores

Não deite as pilhas e os Accumuladores usados no lixo dométrico, independente de these conterem substâncias nocivas ou não. Como consumidor é obligado por lei a eliminar as pilhas e Accumuladores nos locais de recolha previstos ou nos locais de recolha do fornecedor. Elimine as pilhas e Accumuladores apenas quando estiverem completeness decarregados.
16.GARANTIA
Para falhas originadas por defeito de material ou de fabrico, o direito à garantia aplicá-se por um periodo de dois anos après o fornecimento. Todas as partes moveris, como p. ex. pilhas, cabo, alimentadores, acumuladores, etc. está excluidas da garantia. Todas as falhas abrangidas pela garantia são eliminadas sem qualquer custo para o cliente, mediante alya presentação da factura de compra. Outras revindicações não serao levadas em consideração. Os custos de transporte ficam a cargo do cliente se o aparecido se encontrar noutro local que nao a morada do cliente. Em caso de danos durante o transporte, o direito à garantia so se aplicará se tiver sido realizada a embalagem original completa para o transporte, e se a balança tiver sido acomodada e fixada conveniente dentro da mesma. Por esse motivo, guardes todas as partes da embalagem.
O direito à garantia é anulado se o aparecido tiver sido aberto por pessoas sem autorização expressa da seca.
Para os cliente que se encontrar no estrangeiro, pedimos que no caso de revindicao do direito a garantia se dirija ao vendedor do respectivo pais.
SPIS TRESCI
A balança não automatica para pessoas
... corresponde ao padrão de construcao descripto no certificado de homologiação de tipo de construção.
A balança cumpre os requisitos validos das seguintes direcitas:
2009/23/CE relativa a instrumentos de pesagem de functiOnamento não automatico; 93/42/CEE relativa a dispositivos medicos:
Para além todas aplicam-se, entre outras, as seguiñtes normas:
EN 45501 relativa a aspectos metrologicos dos instrumentos de pesagem de functiimento não automatico; EN 300 328, EN 301 489-1 e -17 relativa a compatibili-dade electromagnética e assentes de espectro radioe-lectrico.

... AVTANOKPIVETAI OTO KATAOKUAOIKO IPOTUO TOU TEPIYAPDETAI OTNV EYKPITIKI ββaiwon Tou KATAOKUAOIKOI TOIou.
H cyuapi EaI npweTIC IOXouoec, aanttnoeic TwV akolouBw Odyiw:
ManualFácil