653 - Waagen SECA - Kostenlose Bedienungsanleitung
Finden Sie kostenlos die Bedienungsanleitung des Geräts 653 SECA als PDF.
Häufig gestellte Fragen - 653 SECA
Benutzerfragen zu 653 SECA
0 Frage zu diesem Gerät. Beantworten Sie die, die Sie kennen, oder stellen Sie Ihre eigene.
Eine neue Frage zu diesem Gerät stellen
Laden Sie die Anleitung für Ihr Waagen kostenlos im PDF-Format! Finden Sie Ihr Handbuch 653 - SECA und nehmen Sie Ihr elektronisches Gerät wieder in die Hand. Auf dieser Seite sind alle Dokumente veröffentlicht, die für die Verwendung Ihres Geräts notwendig sind. 653 von der Marke SECA.
BEDIENUNGSANLEITUNG 653 SECA
1. Mit Brief und Siegel 5
2.Gerätebeschreibung 6
2.1 Herzlichen Glückwunsch! 6
2.2 Verwendungszweck 6
2.3 Funktionsbeschreibung 6
2.4 Anwenderqualifikation 7
Montage 7
Bedienung 7
3. Sicherheitsinformationen 7
3.1 Sicherheitshinweise in dieser Gebrauchsanweisung 7
3.2 Grundlegende
Sicherheitshinweise 8
Umgang mit dem Gerät 8
Vermeidung eines elektrischen
Schlages 9
Vermeidung von Infektionen 10
Vermeidung von Verletzungen 10
Vermeidung von Geräteschäden 11
Umgang mit Messergebnissen 12
Umgang mit Verpackungsmaterial 12
3.3 Umgang mit Batterien und Akkus 13
4. Übersicht 14
4.1 Bedienelemente 14
4.2 Symbole im Display 15
4.3 Kennzeichen am Gerät und auf dem Typenschild 16
4.4 Kennzeichen auf der Verpackung 17
4.5 Menu-Struktur 18
5. Bevor es richtig los goht.... 19
5.1 Lieferumfang 19
5.2 Anzeigegehäuse betriebsbereit
machen (Tischanzeige) 20
Winkeladpter montieren 20
Verbindungskabel an Plattform anschließen 20
5.3 Anzeigegehäuse betriebsbereit
machen (Wandanzeige) 21
Winkeladapter montieren 21
Verbindungskabel an Plattform anschließen 22
Wandhalter montieren 23
Anzeigegehäuse auf Wandhalter setzen 23
5.4 Stromversorgung herstellen 24 Batterien einlagen 24
5.5 Waage aufstellen 25
Waage ausrichten 25
6. Bedienung 26
6.1 Wiegen 26
Waage einschalten 26
Patientwiegen 26
Zusatzgewicht austarieren (TARE) 27
Messergebnis dauerhaft
anzeigen (HOLD) 27
Body-Mass-Index ermitteln und bewerten (BMI) 28
Messergebnisse an
Funkempfänger senden 30
BMI automatisch berechnen
und ausdrucken 30
Automatische Wägebereichs-umschaltung 30
Waage ausschalten 31
6.2 Weitere Funktionen (Menu) 31
Im Menu navigieren 32
Gespeicherte Werte automatisch loschen (ACIr) 32
Zusatzgewicht dauerhaft speichern (Pt) 33
Autohold-Funktion aktivieren (Ahold) 34
Signaltone aktivieren (BEEP) . . 34
Dampfung einstellen (Fil) 35
Werkseinstellungen wiederherstellen (RESET) 35
7. Das Funknetzwerk seca 360^ wireless 37
7.1 Einführung 37
seca Funkgruppen 37
Kanäle 38
Geräteerkennung 38
7.2 Waage in einer Funkgruppe betreiben (Menu) 39
Funkmodul aktivieren (SYS) 39
Funkgruppe einrichten (Lrn) .. 39
Automatische Übertragung aktivieren (ASend) 41
Druckoption wahlen (APrt) 42
Uhrzeit einstellen (Time) 42
8.Hygienische Aufbereitung 43
8.1 Reinigung 44
8.2 Desinfektion 44
8.3 Sterilisation 44
9. Funktionskontrolle 45
10. Was tun, wenn...? 45
11.Wartung/Nacheichung 47
11.1 Informationen zu Wartung und Nacheichung 47
11.2 Eichzahlerinhalt prufen 48
12. Technische Daten 49
12.1 Allgemeine Technische Daten 49
12.2 Wägetechnische Daten 50
13. Optionales Zubehor 50
14. Ersatzteile 51
15. Entsorgung 51
15.1 Gerat 51
15.2 Batterien und Akkus . 51
16.Gewährleistung 52
1. MIT BRIEF UND SIEGEL

M
Mit seca Produktien kaufen Sie nicht nur über ein Jahrhundert ausgereife Technik, sondern auch eine behörddlich, gesetzlich und durch Institute bestätigte Qualität. seca Produkte entsprechen den europäischen Richtlinien, Normen und den nationalen Gesetzen. Mit seca kaufen Sie Zukunft.
Waagen, die diesen Zeichen tragen, sind konform mit der europäischen Waagenrichtlinie 2009/23/EG. seca Waagen mit diesen Zeichen erfüllen die hohen qualitativen und technischen Anforderungen, die an eichfähige Waagen gestellt werden.

Waagen, die diesen Zeichen tragen, erfüllen die strengen Anforderungen der Eichklasse III und können für eichpflichtige Messungen in der Heilkunde eingesetzt werden.
CE
xx 0109 0123
Produkte, die diesen Zeichen tragen, erfüllen die auf sie anwendbaren regulatorischen Anforderungen der Europäischen Gemeinschaft, insbesondere die folgenden:
- Richtlinie 2009/23/EG über nichtseibstätte Waagen
- Richtlinie 93/42/EWG über Medizinprodukte
DIN EN 45501 über metrologische Aspekte nicht selbstätiger Waagen
Auch von offizieller Seite wird die Professionalität von seca anerkannt. Der TÜV Süd Product Service, die zuständige Stelle für Medizinprodukte, bestätigt per Zertifikat, dass seca die strengen gesetzlichen Anforderungen als Medizinprodukthersteller konse- quent einhalt. secas Qualitätssicherungssystem umfasst die Bereiche Design, Entwicklung, Produktion, Vertrieb und Service von medizinischen Waagen und Längenmessystemen sowie von Software und Mess- systemen zur Beurteilung des Gesundheits- und Ernährungsstatus.



seca hilft der Umwelt. Die Einsparung natürlicher Ressourcen liegt uns am Herzen. Deshalb bemühen wir uns, Verpackungsmaterial Dort einzusparen, wo es sinnvoll ist. Und das, was übrigbleibt, kann über das Duale System bequem vor Ort entsorgt werden.
2. GERÄTEBESCHREIBUNG
2.1 Herzlichen Glückwunsch!
Mit der elektronischen Multifunktionswaage seca 635 haben Sie ein hochprézises und gleichzeitig robustes Gerät erworben.
Seit über 170 Jahren stellt seca seine Erfahrung in den Dienst der Gesundheit und setzt als Marktführer in vielen Ländern der Welt mit innovativen Entwicklungen für das Wiegen und Messen immer neue Maßstäbe.
2.2 Verwendungszweck
Die elektronische Multifunktionswaage seca 635\ kommen entsprechend den nationalen Vorschriften\ hauptsächlich in Krankenhäusern, Arztpraxen und stationären Pflegeeinrichtungen zum Einsatz.
Die Waage dient der konventionellen Gewichtsbestimmung, der Feststellung des allgemeinen Ernährungszustandes und Unterstützung den behandelnden Arzt bei der Erstellung einer Diagnose oder der Therapieentscheidung.
Zur Erstellung einer genauen Diagnose mussen jedoch abide.
nben der Gewichtswerterfassung noch weitere gezielte Untersuchungen durch den Arzt veranlasst und deren Ergebnisse berücksichtigt werden.
2.3 Funktionsbeschreibung
Neben der konventionellen Bestimmung des Gewichtes bietet die seca 635 eine Funktion zur Ermittlung des Body-Mass-Indexes. Hierzu wird mittels der Tastatur die Körpergroße eingegeben und automatisch der zum Gewichtswert gehörende Body-Mass-Index errechnet. Längenmessgeräte aus dem seca 360^ wireless System können die Körpergroße drahtlos an die seca 635 übermitteln.
Über das Funknetzwerk seca 360^ wireless konnen Messergebnisse drahtlos an einen seca Funkdrucker oder an einen mit seca analytics PC-Software und dem seca USB-Funkadapter ausgestatteten PC übertragen werden.
Verwenden Sie die Waage ausschließlich für den im Abschnitt „Verwendungszweck" auf Seite 6 genannten Zweck.
2.4 Anwenderqualification
Montage Geräte, die teilmontiert ausgeliefert werden, dürfen ausschließlich von ausreichend qualifizierten Personen z. B. Fachhändler, Krankenhaustechniker oder dem seca service montiert werden.
Bedienung Das Gerätarf ausschließlich von medizinischen Fachpersonal bedient werden.
3. SICHERHEITSINFORMATIONEN
3.1 Sicherheitshinweise in dieser Gebrauchsanweisung

GEFAHR!
Kennzeichnet eine außergewöhnlich große Gefahrensituation. Wenn Sie diesen Hinweis nicht beachten, wird es zu schweren irreversiblen oder tändlichen Verletzungen kommt.

WARNING!
Kennzeichnet eine außergewöhnlich große Gefahrensituation. Wenn Sie diesen Hinweis nicht beachten, kann es zu schweren irreversiblen oder tändlichen Verletzungen kommt.

VORSICHT!
Kennzeichnet eine GefahrensITUation. Wenn Sie diesen Hinweis nicht beachten, kann es zu leichten bis mittleren Verletzungen kommt.
ACHTUNG!
Kennzeichnet eine mögliche Fehlbedienung des Gerätes. Wenn Sie diesen Hinweis nicht beachten, kann es zu Geräteschäden oder zu falschen Messergebnissen kommt.
HINWEIS:
Enthält zusätzliche Informationen zur Anwendung diesen Gerätes.
Umgang mit dem Gerät
- Beachten Sie die Hinweise in dieser Gebrauchs-anweisung.
- Bewahren Sie die Gebrauchsanweisung sorgfältig auf. Die Gebrauchsanweisung ist Bestandteil des Gerätes und muss jederzeit verfügbar sein.

GEFAHR!
Explosionsgefahr
Setzen Sie das Gerät nicht in einer mit folgenden Gasen angereicherten Umgebung ein:
Sauerstoff
Brennbare Anästhetika
- Sonstige feuergefährliche
Substanzen/Luftgemische

VORSICHT!
Patientengeführung, Geräteschaden
-
Zusätzliche Geräte, die an medizinische elektrische Geräte angeschlossen werden, müssen nachweisbar ihren entsprechenden IEC-oder ISO-Normen entsprechchen (z. B. IEC 60950 für Datenverarbeitende Geräte). Weiterhin須sien alle Konfigurationen den normativen Anforderungen für medizinische Systeme entsprechchen (siehe IEC 60601-1-1 oder Abschnitt 16 der 3. Ausgabe der IEC 60601-1, jeweilig). Wer zusätzliche Geräte an medizinische elektrische Geräte anschließt, ist Systemkonfigurierer und ist damit verantwortlich, dass das System mit den normativen Anforderungen für Systeme übereinstimmt. Es wird darauf hingewiesen, dass lokale Gesetze gegenüber obigen normativen Anforderungen Vorrang haben. Bei Rückfragen kontaktieren Sieittehren örtlichen Fachhändler oder den Technischen Service.
-
Lassen Sie Wartungen und Nacheichungen regelmäßig durchführten, wie im entsprechenden Abschnitt in this dem Dokument beschrieben.
- Technische Veränderungen am Gerät sind unzulässig. Das Gerät enthalt keine durch den Anwender zu wartenden Teile. Lassen Sie Wartungen und Reparaturen ausschließlich
von einem autorisierten seca Servicepartner durchführren. Den Servicepartner in ihrer Höhefinden Sie unter www.seca.com oder senden Sie eine E-Mail an service@seca.com.
- Verwenden Sie ausschließlich Originalzubehör und -ersatzteile von seca. Andernfalls gewährt seca keinerlei Garantie.

VORSICHT!
Patientengefährung, Fehlfunktion
-
Halten Sie mit elektrischen medizinischen Geräten z. B. Hochfrequenz-Chirurgiegeräten einen Mindestabstand von ca. 1 Meter ein, um Fehlmessungen oder Störungen bei der Funkübertragung zu vermeiden.
-
Halten Sie mit HF-Geräten wie z. B. Mobiltelefonen einen Mindestabstand von ca. 1 Meter ein, um Fehlmessungen oder Störungen bei der Funkübertragung zu vermeiden.
Die tatsächliche Sendeleistung von HF-Geräten kann Mindestabstände von mehr als 1 Meter erfordern. Details finden Sie unter www.seca.com.
Vermeidung eines elektrischen Schlages

WARNING!
Elektrischer Schlag
- Stellen Sie Geräte, die mit einem Netzgerät betrieben werden können, so auf, dass die Netzsteckdose einfach zu erreichen und eine Trennung vom Stromnetz schnell durchzuführen ist.
- Stellen Sie sicher, dass ihre lokale Netzversorgung mit den Angaben auf dem Netzgerät übereinstimmt.
- Fassen Sie das Netzgerät niemals mit feuchten Händen an.
- Verwenden Sie keine Verlängerungskabel und Mehrfachsteckdosen.
- Achten Sie darauf, dass das Stromkabel nicht gequetscht wird oder durch eine scharfe Kante beschädigt werden kann.
- Betreiben Sie das Gerät nicht oberhalb einer Höhe von 3000 m über NN.
Vermeidung von Infektionen

WARNING! Infektionsgefahr
- Bereiten Sie das Gerät in regelmäßigen Abständen hygienisch auf, wie im entsprechenden Abschnitt in this dem Dokument beschrieben.
- Stellen Sie sicher, dass der Patient keine ansteckenden Krankheiten hat.
- Stellen Sie sicher, dass der Patient keine offenen Wunden oder infektiosen Hautveränderungen hat, die mit dem Gerät in Berührung kommt konnen.
Vermeidung von Verletzungen

WARNING! Sturzgefahr
- Stellen Sie sicher, dass das Gerät fest und eben steht.
- Verlegen Sie Anschlusskabel so, dass Anwender und Patient nicht darüber stolpern können.
- Stellen Sie sicher, dass der Patient die Wiegeplattform nicht direkt an den Kanten betritt.
- Stellen Sie sicher, dass der Patient die Wiegeplattform langsam und sicher betritt.

WARNING! Rutschgefahr
- Stellen Sie sicher, dass die Wiegeplattform trocken ist, bevor der Patient sie betritt.
- Stellen Sie sicher, dass der Patient trockene Fuß hat, bevor er die Wiegeplattform betritt.
- Stellen Sie sicher, dass der Patient die Wiegeplattform langsam und sicher betritt.
Vermeidung von Geräteschäden
ACHTUNG! Geräteschad
- Achten Sie darauf, dass niemals Flüssigkeiten in das Innere des Gerätes gelangen. Diese können die Elektronik zerstären.
- Schalten Sie das Gerät aus, bevor Sie das Netzgerät aus der Steckdoseziehen.
- Wenn Sie das Gerät längerere Zeit nicht benutzen,ziehen Sie das Netzgerät aus der Steckdose.Nur so ist das Gerät stromlos.
- Lassen Sie das Gerät nicht fallen.
- Setzen Sie das Gerät keinen Stößen oder Vibrationen aus.
- Führn Sie in regelmäßigen Abständen eine Funktionskontrolle durch, wie im entsprechenden Abschnitt in dieser Dokument beschreiben. Betreiben Sie das Gerät nicht, wenn es nicht ordnungsgemäß funktioniert oder beschädigt ist.
- Setzen Sie das Gerät nicht dem direkten Sonnenlicht aus und achten Sie darauf, dass sich keine Heizquelle in unmittelbarer Höhe befindet. Die zu hohen Temperaturen konnten die Elektronik beschädigen.
- Vermeiden Siechnelle Temperaturschwankungen. Wenn das Gerät so transportiert wird, dass ein Temperaturunterschied von mehr als 20^ auftritt, muss das Gerät mindestens 2 Stunden ruhen, bevor es eingeschaltet wird. Andernfalls bildet sich Kondenswasser, das die Elektronik beschädigen kann.
- Scharfe Reinigungsmittel können die Oberflächen beschädigen. Verwenden Sie ausschließlich ein weiches Tuch, das Sie gegebenenfalls mit milder Seitenlauge anfeuchten.
- Verwenden Sie ausschließlich Desinfektionsmittel, die für empfindliche Oberflächen geeignet sind. Geeignete Desinfektionsmittel sind im Fachhandel erhältlich.
Umgang mit Messergebnissen

WARNING! Patientengefährung
Dieses Gerät ist kein Diagnosegerät. Das Gerät understands den behandelnden Arzt bei der Diagnoseerstellung.
- Zur Erstellung einer genauen Diagnose und zur Einleitung von Therapien müssen abide der Anwendung deses Gerätes gezielte Untersuchungen durch den behandelnden Arzt veranlasst und deren Ergebnisse berücksichtigt werden.
Die Verantwortung für Diagnosen und die daraus abgeleiteten Therapien liegt beim behandelnden Arzt.

ACHTUNG! Datenverlust
- Bevor Sie mit diesen Gerät erfasste Messwerte speichern und weiterverwenden (z. B. in der PC-Software seca analytics oder in einem Krankenhausinformationssystem), stellen Sie sicher, dass die Messwerte plausibel sind.
- Wenn Messwerte an die PC-Software seca analytics oder an ein Krankenhausinformationssystem übertragen worden sind, stellen Sie vor der Weiterverwendung sicher, dass die Messwerte plausibel und dem richtigen Patienten zugeordnet sind.
Umgang mit Verpackungsmaterial

WARNING! Erstickungsgefahr
Verpackungsmaterial aus Kunststofffolie (Tüten) stellen eine Erstickungsgefahr dar.
-Bewahren Sie Verpackungsmaterial fur Kinder unzuganglich auf.
- Sollte das Orginalverpackungsmaterial nicht mehr vorhanden sein, verwenden Sie ausschließlich Kunststofftuten mit Sicherheitslochem, um die Erstickungsgefahr zu reduzieren.
HINWEIS:
Bewahren Sie das Originalverpackungsmaterial zur späteren Verwendung auf (z. B. Rück- sendung zur Wartung).
3.3 Umgang mit Batterien und Akkus

WARNING!
Personenschäden durch unsachgemäße Handhabung
Batterien enthalten Schadstoffe, die bei unsachgemäßer Handhabung explosionsartig freigesetzt werden konnen.
- Versuchen Sie nicht, Batterien wieder aufzuladen.
- Erhitzen Sie Batterien/Akkus nicht.
- Verbrennen Sie Batterien/Akkus nicht.
- Wenn Säure ausgelaufen ist, vermeiden Sie Kontakt mit Haut, Augen und Schleimhäuten. Spulen Sie betroffene Körperstellen mit reichlich klarem Wasser unduchen Sie umgehend einen Arzt auf.
ACHTUNG!
Geräteschäden und Fehlfunktion durch unsachgemäß Handhabung
- Verwenden Sie ausschließlich den in thisem Dokument angegebenen Batterietyp/Akkutyp.
- Tauschen Sie stets alle Batterien/Akkus gleichzeitig aus.
- Schließen Sie Batterien/Akkus nicht kurz.
- Wird das Gerät längerere Zeit nicht verwendet, entnehmen Sie die Batterien/Akkus. So kann keine Säure in das Gerät laufen.
- Sollte Säure in das Gerät eingedrungen sein, verwenden Sie es nicht weiter. Lassen Sie das Gerät durch einen autorisierten seca-Servicepartner prüfen und falls notwendig reparieren.
4. ÜBERSICHT
4.1 Bedienelemente

| Nr. Bedienelement Funktion | ||
| 1 | Anzeige- gehäuse | Zentrales Bedien- und Anzeigeelement Kann auf einer Arbeitsfläche aufgestellt oder an einer Wand montiert werden |
| 2 | Ein- und Ausschalten der Waage | |
| 3 | Pfeil-Taste Während des Wiegens: - Kurzes Drücken: Hold-Funktion aktivieren - Langes Drücken: Tare-Funktion aktivieren • Im Menü: - Untermenü auswahlen, Menüpunkt auswahlen - Wertberhöhen | |
| 4 | Pfeil-Taste Während des Wiegens: - Kurzes Drücken: BMI-Funktion aktivieren - Langes Drücken: Menu aufrufen • Im Menü: - Untermenü auswahlen, Menüpunkt auswahlen - Wertverringern | |
| 5 | Enter-Taste • Während des Wiegens (wenn Funknetzwerk eingerichtet): - Kurzes Drücken: Messergebnis an empfangsbereite Geräte (PC mit USB-Funkadapater) senden - Langes Drücken: Messergebnis ausdrucken (Funkdrucker) • Im Menu: - Ausgewählten Menüpunkt bestätigten - Eingestelltten Wert speichern | |
| 6 | Display | Anzeigeelement für Messergebnisse und zur Konfiguration des Gerätes |
| 7 | Batteriefach Aufnahme für die Batterien | |
| 8 | Libelle Zeigt an, ob das Gerät waagerecht stehen | |
| 9 | Netzgeräte-anschluss | Dient zum Anschluss des optionalen Netzgerätes |
| 10 | Fußschraube 4 | Stück, dienen zum genauen Ausrichten |
4.2 Symbole im Display

| Symbol Bedeutung | ||
| A | Batterien sind schwach | |
| B | Betrieb mit Netzgerät | |
| C | Nicht eichfähige Funktion aktiv | |
| D | Aktuell genutzer Speicherplatz | |
| E | →|1|← →|2|← | Aktuell genutzer Wägebereich siehe „Technische Daten" auf Seite 49 |
4.3 Kennzeichen am Gerät und auf dem Typenschild
| Text/Symbol Bedeutung | |
| Modell Modeler | nummer |
| Ser. No. Serien | nummer |
| Gebrauchsanweisung beachten | |
| Elektromedizinisches Gerät, Typ B | |
| Schutzsoliertes Gerät, Schutzklasse II | |
| M | Konformitätsmarke nach Richtlinie 2009/23/EG über nichtsebstätigte Waagen |
| e | Wert in Masseinheiten, der zur Einstufung und zur Eichung einer Waage benutzt wird |
| d | Wert, der die Differenz zwischen zwei aufeinander folgenden Anzeigewerten angibt |
| →|x|← | Aktiver Wägebereich |
| III | Waage der Eichklasse III nach Richtlinie 2009/23/EG |
| CE xx 0109 0123 | Gerät ist konform mit Richtlinien der EG • xx: Jahr, in dem die EG-Eichung durchgeführt und die CE-Kennzeichnung angebracht wurde • 0109: Benannte Stelle Metrologie: Hessische Eichdirektion • 0123: Benannte Stelle Medizinprodukte: TÜV Süd Product Service |
| FC | Symbol der US-Behörde Federal Communications Commission FCC |
| FCC ID | Zulassungsnummer des Gerätes bei der US-Behörde Federal Communications Commission FCC |
| IC | Zulassungsnummer des Gerätes bei der Behörde Industry Canada |
| x-y V = max. xxx mA use compatible seca adapter only | Typenschild an der Netzanschlussbuchse • x-y V: benötigte Versorgungsspannung • max xxx mA: maximale Stromaufnahme • Fängung des Gerätesteckers beachten • : Gerät mit Gleichstrom betreiben |
| Gerät nicht im Hausmüll entsorgen | |
4.4 Kennzeichen auf der Verpackung
| Vor Nässe schützen | |
| Pfeile zeigen zur Oberseite des Produktés Aufrecht transportieren und lagern | |
| Zerbrechlich Nicht werden oder fallen halten | |
| Zulässige min. und max. Temperatur für Transport und Lagerung | |
| Zulässige min. und max. Luftfeuchtigkeit für Transport und Lagerung | |
| Verpackungsmaterial kann über Recycling-Programme entsorgt werden. |
4.5 Menu-Struktur
Im Menu des Gerätes stehen Ohnen weitere Funktionen zur Verfügung. So können Sie das Gerät optimal für ihre Nutzungsbedingungen konfigurieren (Details ab Seite 31).


Menu aufrufen:

5. BEVOR ES RICTIG LOS GEHT…
5.1 Lieferumfang

| Nr. Komponente Stck. | ||
| a | Wägeplattform | 1 |
| b | Wandhalter | 1 |
| c | Winkeladapter | 1 |
| d | Schrauben, 3 x 35 mm 2 | |
| e | Dübel Ø 5 mm 2 | |
| f | Batterien Typ AA/LR6, 1,5 V 6 | |
| g | Anzeigegehäuse mit Verbindungskabel 1 | |
| Gebrauchsanweisung, o. Abb. 1 | ||
5.2 Anzeigegehäuse betriebsbereit machen (Tischanzeige)
ACHTUNG!
Geräteschaden
Der Winkeladapter kann nach der Montagenicht wieder gelost werden.
-Vergewissern Sie sich vor der Montage, dass das Anzeigegehause auf einem Tisch aufgestellt werden soll.
Winkeladapter montieren

- Setzen Sie den Winkeladapter in der gezeigten Position am Anzeigegehause an.
- Stellen Sie safer, dass das Verbindungskabel in der Führungsnut des Winkeladapters verläuft.
- Drücken Sie den Winkeladapter auf das Anzeigegehause, bis er mit allen vier Rastnasen hörbar einrastet.
Verbindungskabel an Plattform anschließen

HINWEIS:
Beachten Sie bei der Wahl des Aufstellungs-ortes die Länge des Verbindungskabels, sodass Sie das Anzeigegehäuse auf einer Arbeitsfläche aufstellen können.
-
Legen Sie die Waage auf eine feste und ebene Fläche.
-
Schlieben Sie das Verbindungskabel an der Elektronikbox der Waage an.
ACHTUNG!
Fehlmessung durch Kraftnebenschluss
Wenn das Kabel des Anzeigegehäuses die Wägeplattform berührt, kann das Gewicht des Patienten nicht korrekt gemessen werden.
-
Verlegen Sie das Kabel so, dass es die Wageplattform nicht berühren kann.
-
Stellen Sie das Anzeigegehause auf einer Arbeitsfläche auf.
5.3 Anzeigegehäge betriebsbereit machen (Wandanzeige)
ACHTUNG!
Geräteschaden
Der Winkeladapter kann nach der Montagenicht wieder gelöst werden.
-Vergewissern Sie sich vor der Montage, dass die Kabelfernzeige an einer Wand montiert werden soll.
Winkeladapter montieren

- Setzen Sie den Winkeladapter in der gezeigten Position am Anzeigegehäuse an.
- Stellen Sie safer, dass das Verbindungskabel in der Führungsnut des Winkeladapters verläuft.
- Drücken Sie den Winkeladapter auf das Anzeigegehause, bis er mit allen vier Rastnasen hörbar einrastet.
Verbindungskabel an Plattform anschließen

HINWEIS:
Beachten Sie bei der Wahl des Aufstellungs-ortes die Länge des Verbindungskabels, sodass Sie das Anzeigegehause auf den Wandhalter setzen können.
- Legen Sie die Waage auf eine feste und ebene Fläche.
- SchlieBen Sie das Verbindungskabel an der Elektronikbox der Waage an.
ACHTUNG!
Fehlmessung durch Kraftnebenschluss
Wenn das Kabel des Anzeigegehäuses die Wageplattform berührt, kann das Gewicht des Patienten nicht korrekt gemessen werden.
- Verlegen Sie das Kabel so, dass es die Wägeplattform nicht berühren kann.
Wandhalter montieren
Wahlen Sie eine ausreichend tragfähige Wand als Montagestelle. Für die Montage an massivem Mauerwerk sind Standarddüb im Lieferumfang enthalten. Für andere Wandbeschaffenheiten empfehlen wir, entsprechende Spezialüber zu verwenden.
HINWEIS:
Beachten Sie bei der Wahl der Montagehöhe die Länge des Verbindungskabels.

- Zeichnen Sie die Bohrlocher -waagerecht zueinander- in der gewündsten Höhe an.
- Bohren Sie die LÖcher mit einem Bohrer 0.5 mm.
- Stecken Sie die Dübel in die Bohrlocher.
- Schrauben Sie den Wandhalter in der gezeigten Ausrichtung an der Wand fest.
Anzeigegehäuse auf Wandhalter setzen

Setzen Sie das Anzeigegehause auf den Wandhalter, wie in obiger Zeichnung dargestellt.
Die Stromversorgung der Waage erfolgt mit Batterien oder mit einem als Zubehör erhältlichen Netzgerät.
Batterien einlagen Sie benötigen 6 Mignon-Batterien, Typ AA, 1,5 Volt (im Lieferumfang enthalten).

- Drücken Sie auf den Verschluss des Batteriefaches.
- Klappen Sie den Deckel des Batteriefaches herunter.
- Nehmen Sie die Batterie-Halterung hersus.
- Legen Sie die Batterien in die Halterung.
HINWEIS:
Achten Sie auf die korrekte Polung der Batterien (Markierungen in der Batteriehalterung). Soltte die Anzeige bAtt im Display erscheinen, haben Sie eine der Batterien verkehrt herum eingelegt, oder die Batterien sind leer.
- Legen Sie die Halterung mit den Batterien in das Batteriefach.
- Schließen Sie das Batteriefach.
Netzgerät anschlieBen (optional)
Die Waage kann mit einem als Zubehör erhältlichen Netzgerät betrieben werden. Es sind zwei Netzgeräte typen lieferbar, eines mit Steckeradaptern und eines mit festem Euro-Stecker.

WARNING!
Personen- und Geräteschäden durch falsche Netzgeräte
Handelsübliche Netzgeräte können eine höhere Spannung liefern, als auf ihren angegeben ist. Die Waage kann überhitzen, in Brand geraten, schmelzen oder kurzgeschlossen werden.
- Verwenden Sie ausschließlich Original-Steckernetzgeräte von seca mit 9-Volt-Ausgangsspannung oder geregelter 12-Volt-Ausgangsspannung.

- Stecken Sie, falls notwendig, den für ihre Stromversorgung notwendigen Netzstecker auf das Netzgerät.

-
Stecken Sie den Gerätestecker des Netzgerätes in die Anschlussbuchse der Waage.
-
Stecken Sie das Netzgerät in eine Netzsteckdose.
5.5 Waage aufstellen
Waage ausrichten ACHTUNG!
Fehlmessung durch Kraftnebenschluss
Wenn die Waage mit dem Gehäuse aufliegt,
z. B. auf einem Handtuch, wird das Gewicht nicht korrekt gemessen.
-
Stellen Sie die Waage so auf, dass sie ausschließlich mit den Fußschrauben Bodenkontakt hat.
-
Stellen Sie die Waage auf einen festen, ebenen Untergrund.
- Losen Sie die Rändelräder.
- Richten Sie das Gerät durch Drehen der Fuß-schrauben aus.

Die Luftblase der Libelle muss sich genau in der Mitte des Kreises befinden.
- Drehen Sie die Rändelräder in Pfeilrichtung fest. Die Fußschrauben sind gegen Verstellen gesichert.
6. BEDIENUNG

VORSICHT!
Personenschäden
Führer Sie vor jeder Anwendung des Gerätes eine Funktionskontrolle durch, wie im Abschnitt „Funktionskontrolle" auf Seite 45 beschrieben.
6.1 Wiegen

VORSICHT!
Verletzung des Patienten durch Sturz
Personen mit eingeschränkter Motorik, können stürzen, wenn sie versuchen, die Waage zu betreten.
- Stützen Sie Personen mit eingeschränkter Motorik beim Betreten der Waage.
ACHTUNG!
Fehlmessung durch falsche Belastung
Wird die Waage einseitig oder nur in einer Ecke belastet, wird das Gewicht nicht korrekt gemessen.
- Bitten Sie ihre Patienten, sich mittig auf die Waage zu stellen.
Waage einschalten

Drucken Sie die Start-Taste.
Alle Elemente des Displays werden kurz angezeigt, dann erscheint SECA im Display.
Die Waage ist betriebsbereit, wenn 0.0 im Display erscheint.
Wird die Waage mit einem Netzgerät betrieben,
erscheint das Symbol in der Anzeige.
Patient wiegen 1. Stellen Sie sicher, dass die Waage unbelastet ist.
- Bitten Sie den Patienten, die Waage zu betreten.
- Bitten Sie den Patienten, ruhig stehen zu bleiben.
- Lesen Sie das Messergebnis ab.
635
Zusatzgewicht austarieren (TARE)
Mit der Funktion TARE konnen Sie vermeiden, dass ein Zusammengewicht (z. B. ein Handtuch oder eine Auflage auf der Wiegefläche) das Wiegeergebnis beeinflusst.
ACHTUNG!
Fehlmessung durch Kraftnebenschluss
Wenn ein Zusammengewicht z. B. ein große Handtuch die Fläche berührt, auf dem die Waage steht, wird das Gewicht nicht korrekt gemessen.
- Stellen Sie sicher, dass Zusammengewichtete ausschließlich auf der Wägefläche der Waage aufliegen.

-
Schalten Sie die Waage ein.
-
Legen Sie das Zusammengewicht auf die Waage.
-
Halten Sie die Pfeil-Taste (hold/tare) gedrückt, bis die Meldung „NET" in der Anzeige erscheint.
-
Warten Sie, bis die Anzeige nicht mehr blinkt undstattdessen 0.0 erscheint.
-
Wiegen Sie den Patienten wie im Abschnitt „Patient wiegen" beschreiben.
-
Lesen Sie das Messergebnis ab. Das Zusammengewicht wurde automatisch abgezogen.
-
Um die Funktion TARE zu deaktivieren, drücken Sie die Pfeil-Taste (hold/tare), bis die Meldung „NET" nicht mehr angezeigt wird oder schalten Sie die Waage aus.

HINWEIS:
Das maximal anzeigbare Gewicht verringert sich um das Gewicht der bereits aufgelegten Gegenstände.
Messergebnis dauerhaft anzeigen (HOLD)
Wenn Sie die HOLD-Funktion aktivieren, wird der Gewichtswert nach Entlastung der Waage weiterhin angezeigt. So konnen Sie den Patienten versorgen, bevor Sie den Gewichtswert notieren.
- Stellen Sie sicher, dass die Waage unbelastet ist.
- Schalten Sie die Waage ein.
- Wiegen Sie den Patienten wie im Abschnitt „Patient wiegen“ beschreiben.
- Drücken Sie kurz die Pfeil-Taste (hold/tare).



Die Anzeige blinkt, bis ein stabiles Gewicht gemessen wird. Dann wird der Gewichtswert dauerhaft angezeigt. Das Symbol (nicht eichfähige Funktion) und die Meldung „HOLD" werden angezeigt.
- Um die HOLD-Funktion zu deaktivieren, drücken Sie kurz die Pfeil-Taste (hold/tare).
Das Symbol und die Meldung „HOLD“ werden nicht mehr angezeigt.
HINWEIS:
Wenn die Autohold-Funktion aktiviert ist, wird der Gewichtswert automatisch dauerhaft angezeigt, bis sich die Waage ausschaltet oder ausgeschaltet wird, siehe „Autohold-Funktion aktivieren (Ahold)” auf Seite 34.
Body-Mass-Index ermitteln und bewerten (BMI)





Der Body-Mass-Index setzt Körpergroße und Körpersgewicht zueinander in Beziehung und ermöglich dadurch genauere Angaben als z. B. das Idealgewicht nach Broca. Es wird ein Toleranzbereich angegeben, der als gesundheitlich optimal gilt.
Das Gerät verfügbar über drei Speicherplätze für Körpergrößen. Sie können die Körpergröße bestimmter Patienten eingeben und speichern. Alternativ dazu konnen Sie unterschiedliche Startwerte speichern und so die tatsächliche Körpergröße eines Patienten Schneller einstehen.
- Stellen Sie sicher, dass die Waage unbelastet ist.
- Schalten Sie die Waage ein.
- Drücken Sie kurz die Pfeil-Taste (bmimenu).
Die Meldung „BMI“ erscheint.
Der zuletzt verwendete Speicherplatz wird angezeigt (hier Speicherplatz 2).
- Sie können den angezeigten Speicherplatz übernehmen oder mit den Pfeiltasten einen anderen Speicherplatz auswahlen.
- Bestätigkeiten Sie ihre Einstellung mit der Enter-Taste (send/print).
Im Display blinken Pfeile.
Die zuletzt auf dem gewählten Speicherplatz gespeicherte Körpergroße wird angezeigt.

- Sie können die angezeigte Körpergröbe übernehmen oder mit den Pfeil-Tasten eine andere Körpergröbe einstehen.
- Bestätigen Sie ihre Einstellung mit der Enter-Taste (send/print). Die eingebene Körperprüge wird gespeichert und steht für die{nachste BMI-Berechnung wieder zur Verfugung.
HINWEIS:
Notieren Sie sich den Speicherplatz, um die Körpergroße für eine erneute BMI-Berechnung wieder aufrufen zu können.
- Wiegen Sie den Patienten wie im Abschnitt „Patient wiegen" beschreiben. Der BMI des Patienten wird automatisch berechnet und angezeigt.
- Lesen Sie den BMI ab und vergleichenihn mit den weiter unter angegebenen Kategorien.
- Um die BMI-Funktion zu deaktivieren, drücken Sie kurz die Enter-Taste (send/print).

| BMI Bewertung | |
| unter 18,5 | Der Patient wiegt zu weniger. Es konnte eine Tendenz zur Magersucht vorliegen. Eine Gewichtszunahme ist empfehlenswert, um Wohlbefinden und Leistungsfähigkeit zu verbesern. Im Zweifelsfalle sollte ein Facharzt konsultiert werden. |
| zwischen 18,5 und 24,9 | Der Patient ist normalgewichtig. |
| zwischen 25 und 30 (Präadipositas) | Der Patient hat leichtes bis mittleres Übergewicht. Er sollte sein Gewicht reduzieren, wenn bereits eine Krankheit vorliegt (z. B. Diabetes, Bluthochdruck, Gicht, Fettstoffwechselstörungen). |
| über 30 | Eine Gewichtsabnahme ist dringend erforderlich. Stoffwechsel, Kreislauf und Knochen werden belastet. Empfohlen ist eine konsequente Diät, viel Bewegung und Verhaltenstraining. Im Zweifelsfalle sollte ein Facharzt konsultiert werden. |
Messergebnisse an Funkempfänger senden

Wenn die Waage in ein seca 360^ wireless Funknetzwerk integriert ist, können Sie die Messergebnisse per Tastendruck an empfangsbereite Geräte (z. B. Funkdrucker, PC mit USB-Funkadapter) senden.
Drucken Sie die Enter-Taste (send/print).
- Kurzer Tastendruck: Messergebnisse an alle empfangsbereiten Geräte senden
- Langer Tastendruck: Messergebnis am Funkdrucker ausdrucken
BMI automatisch berechnen und ausdrucken
Wenn Sie diese Waage zusammen mit einem Funkdrucker und einem Längenmessstab aus dem seca 360^ wireless System verwenden, können Sie den BMI automatisch berechnen setzen und ausdrucken.
HINWEIS:
Voraussetzung für diese Funktion ist, dass die Geräte zusammen in einer Funkgruppe angemeldet sind (siehe „Das Funknetzwerk seca 360^ wireless" auf Seite 37).
- Führer Sie die Längenmessung durch.
- Drücken Sie kurz die Enter-Taste (send/print) des Längenmessstabes.
Der Messwert wird an den Funkdrucker gesendet, aber nicht ausgedrucht.
- Führn Sie die Wägung durch.
- Drücken Sie lange die Enter-Taste (send/print) der Waage.
Der Messwert wird an den Funkdrucker gesendet. Der BMI wird berechnet.
Länge, Gewicht und BMI werden ausgedruckt.
Automatische Wägebereichsumschaltung
Die Waage verfügbar über zwei Wägebereiche. Im Wägebereich 1 ( ) isteht Ichn bei verringerter Tragkraft eine feinere Teilung der Gewichtsanzeige zur Verfugung. Im Wägebereich 2 ( ) konnen Sie die maximale Tragkraft der Waage nutzen.
Nach dem Einsatz der Waage ist der Wägebereich 1 aktiv. Wird ein bestimmter Gewichtswert über-schritten, schaltet die Waage automatisch in den Wägebereich 2.
Um wieder in den Wägebereich 1 umzuschalten, gehen Sie folgendermaßen vor:
Entlasten Sie die Waage vollständig. Der Wägebereich 1 ist wieder aktiv.
Waage ausschalten

Drucken Sie die Start-Taste.
HINWEIS:
Im Batteriebetrieb schaltet sich die Waage nach 5 Minuten automatisch aus, wenn sie nicht belastet wird.
6.2 Weitere Funktionen (Menu)
Im Menu der Waage stehen Ohnen weitere Funktionen zur Verfügung. So konnen Sie die Waage optimal für ihre Nutzungsbedinungen konfigurieren.

- Die Beschreibung des Menüpunktes „rF“finden Sie im Abschnitt „Waage in einer Funkgruppe betreiben (Menu)” auf Seite 39.
Im Menu navigieren 1. Schalten Sie die Waage ein.












Gespeicherte Werte automatisch Löschen (AClr)


- Halten Sie die Pfeil-Taste (bm/i/menu) gedrückt, bis das Menu aufgerufen wird.
Der zuletzt gewählte Menüpunkt erscheint im Display (hier: Autohold „Ahold").
- Drücken Sie eine der Pfeil-Tasten so oft, bis der gewünschte Menüpunkt im Display erscheint (hier: Dämpfung „Fil").
- Bestätigkeiten Sie ihre Auswahl mit der Enter-Taste (send/print).
Die aktuelle Einstellung für den Menüpunkt oder ein Untermenü werden angezeigt (hier: Stufe „0").
- Um die Einstellung zu ändern oder ein anderes Untermenü aufzurufen, drücken Sie eine der Pfeil-Tasten so oft, bis die gewündte Einstellung (hier: Stufe „2") angezeigt wird.
- Bestätigkeiten Sie die Einstellung mit der Enter-Taste (send/print).
Das Menu wird automatisch verlassen.
- Um weitere Einstellungen vorzunehmen, rufen Sie das Menu erneut auf und verfahren Sie in der beschreibenben Weise.
HINWEIS:
Wird für ca. 24 Sekunden keine Taste gedrückt, wird das Menu automatisch verlassen.
Um zu vermeiden, dass nicht mehr aktuelle Messergebnisse im Speicher des Gerätes verbleiben und zu einer fehlerhaften BMI-Berechnung führen, können Sie die Waage so einstellen, dass Messergebnisse nach 5 Minuten automatisch gelöscht werden.
HINWEIS:
Bei einigen Modellen ist diese Funktion werkseitig aktiviert. Falls gewünscht, können Sie die Funktion deaktivieren.
- Wahlen Sie im Menu den Punkt „ACIr" aus.
- Bestätigen Sie die Auswahr.
-
Wahlen Sie die gewünschte Einstellung:
-
On
-
Off
-
Bestätigen Sie die Auswahl.
Das Menu wird automatisch verlassen.
Zusatzgewicht dauerhaft speichern (Pt)
Mit der Pre-Tara Funktion konnen Sie ein Zusammenhang gewicht dauerhaft speichern und automatisch von einem Messergebnis abziehen setzen. Sie konnen zum Beispiel ein Pauschalgewicht für Schuhe und Kleidung speichern, und immer dann vom Messergebnis abziehen setzen, wenn ein Patient vollständig bekleidet gewogen wird.

Das Gerät verfügbar über drei Speicherplätze für Gewichtswerte. Sie können entsprechliche Gewichtswerte speichern und je nach Ausgangssituation einzeln aufrufen, so dass sie automatisch vom Messergebnis abgezogen werden.

- Wahlen Sie im Menu den Punkt „Pt“ aus. Die Meldung „Pt“ erscheint.

- Bestätigen Sie ihre Auswahr. Der zuletzt verwendete Speicherplatz wird angezeigt.

-
Sie können den angezeigten Speicherplatz übernehmen oder mit den Pfeil-Tasten einen anderen Speicherplatz auswahlen.
-
Bestätigen Sie die Auswahr. Im Display blinken Pfeile. Das auf dem gewählten Speicherplatz gespeicherte Zusatzgewicht wird angezeigt.
-
Sie können den gespeicherten Wert übernehmen oder mit den Pfeil-Tasten verändern.
HINWEIS:
Wenn Sie den Wert „0“ eingeben, wird die Funktion abgeschaltet. Die Meldung „Pt“ wird nicht mehr im Display angezeigt.
- Bestätigen Sie ihre Auswahl.
- Bitten Sie den Patienten, sich auf die Waage zu stellen.

Das Gewicht des Patienten wird angezeigt. Das gespeicherte Zusatzgewicht wurde automatisch abgezogen.

- Um die Funktion zu deaktivieren, wahlen Sie im Menu erneut den Punkt „Pt" aus.
- Bestätigen Sie ihre Auswahr.
Die Funktion ist deaktiviert.
Das Menu wird automatisch verlassen.
HINWEIS:
Wenn Sie die Waage ausschalten, wird die Funktion abgeschaltet. Die Meldung „Pt“ wird beim Wiedereinschalten nicht mehr im Display angezeigt.
Automhold-Funktion aktivieren (Ahold)
Wenn Sie die Autohold-Funktion aktivieren, wird das Messergebnis bei jedem Wiegevorgang nach Entlastung der Waage weiterhin angezeigt. Es ist dann nicht mehr notwendig, bei jedem einzelnen Wiegevorgang die Hold-Funktion manuell zu aktivieren.
HINWEIS:
Bei einigen Modellen ist diese Funktion werkseitig aktiviert. Falls gewünscht, können Sie die Funktion deaktivieren.

- Wahlen Sie im Menu den Punkt „Ahold" aus.
- Bestätigen Sie die Auswahr. Die aktuelle Einstellung wird angezeigt.

-
Wahlen Sie die gewünschte Einstellung:
-
On
-
Off
-
Bestätigen Sie ihre Auswahr. Das Menu wird automatisch verlassen.
Signaltone aktivieren (BEEP)
Sie können einstellen, ob bei jedem Tastendruck und bei Erreichen eines stabilen Gewichtswertes ein Signat. ton hörbar ist. Letzteres ist für die Funktion Hold/Autohold von Bedeutung.
HINWEIS:
Die Funktion „Signalon bei stabilem Gewichtswert" istwerkseitigaktiviert. Falls gewünscht, konnen Sie diese Funktion deaktivieren.

- Wahlen Sie im Menu den Punkt „BEEP" aus.
- Bestätigen Sie die Auswahl.
- Wahlen Sie einen Menüpunkt aus:
- Press: Signatton bei Tastendruck
- Hold: Signatton bei stabilem Gewichtswert

-
Bestätigen Sie ihre Auswahr. Die aktuelle Einstellung wird angezeigt.
-
Wahlen Sie die gewünschte Einstellung:
-
On
-
Off
-
Bestätigen Sie ihre Auswahr. Das Menu wird automatisch verlassen.
- Wenn Sie auch für die zweite Funktion die Signat-tone aktivieren sollen, wiederholen Sie den Vorgang.
Dämpfung einstellen (Fil)
Mit der Dämpfung (Fil = Filter) konnen Sie Störungen bei der Gewichtsermittlung (z. B. durch Patientenbewegungen) reduzieren.
FIL
- Wahlen Sie im Menu den Punkt „Fil" aus.
FIL0
- Bestätigen Sie die Auswahr. Die aktuelle Einstellung wird angezeigt.
FIL2
- Wahlen Sie eine Dämpfungsstufe aus.
-0:keine Dampfung
-1:mittlere Dampfung
-2: starke Dämpfung
- Bestätigen Sie die Auswahr. Das Menu wird automatisch verlassen.
Werkseinstellungen wiederherstellen (RESET)
Für folgende Funktionen konnen Sie die Werkseinstellungen wiederherstellen:
| Funktion Werkseinstellung | |
| Autohold (Ahold) modellabhängig | |
| Signalton (Press) off | |
| Signalton (Hold) on | |
| Dämpfung (Fil) 0 | |
| Autoclear (Aclear) modellabhängig | |
| Pre-Tara (Pt) 0 kg | |
| Körperlänge für Body Mass Index (BMI) | 170 cm |
| Funkmodul (SYS) off | |
| Autosend (ASend) off | |
| Autoprint (APrt) off | |
RESET
HINWEIS:
Bei der Wiederherstellung der Werkseinstellungen wird das Funkmodul abgeschelt. Informationen über bestehende Funkgruppen bleiben erhalten. Funkgruppen müssen nicht wieder neu eingerichtet werden.
-
Wahlen Sie im Menu den Punkt „Reset" aus.
-
Bestätigen Sie die Auswahl.
Das Menu wird automatisch verlassen.
- Schalten Sie die Waage aus.
Die Werkseinstellungen werden wieder hergestellt und stehen zur Verfügung, wenn die Waage wieder eingeschaltet wird.
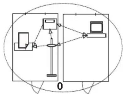
7. DAS FUNKNETZWERK SECA 360^ WIRELESS
7.1 Einführung
Dieses Gerät ist mit einem Funkmodul ausgestattet. Das Funkmodul ermöglich die drahtlose Übertragung von Messergebnissen zur Auswertung und Dokumentation. Die Übertragung der Daten ist an folgende Geräte möglich:
- seca Funkdrucker
- PC mit seca USB-Funkadapter
seca Funkgruppen
Das Funknetzwerk seca 360^ wireless erarbeitet mit Funkgruppen. Eine Funkgruppe ist eine virtuelle Gruppe von Sendern und Empfängern. Sollen mehrere Sender und Empfänger gleichen Typs betrieben werden, können mit thisem Gerät bis zu 3 Funkgruppen (0, 1, 2) eingerichtet werden.

Das Einrichten von mehreren Funkgruppen gewährleistet die zuverlässige und korrekt adressierte Übertragung von Messwerten, wenn mehrere Untersuchungsräume mit jeweils vergleichbarer Geräteausstattung betrieben werden sollen.

Die maximale Entfernung zwischen Sendern und Empfängern beträgt ca. 10 Meter. Bestimmte örtliche Gegebenheiten, z. B. Dicke und Beschaffenheit von Wänden, können die Reichweite verringern.
Pro Funkgruppe ist folgende Gerätekombination möglich:
1 Babywaage
1 Personewaage
1 Längemessstab
- 1 seca Funkdrucker
- 1 PC mit seca USB-Funkadapter

Kanäle Innerhalb einer Funkgruppe kommunizieren die Geräte
auf drei Kanälen (C1, C2, C3) miteinander. So wird eine zuverlässige und störungsfrei Datenübertragung gewährleistet.
Wenn Sie mit dieser Waage einer Funkgruppe einrichten, schlägt Ihnen das Gerät drei Kanäle vor, die eine optimale Datenübertragung gewährleisten. Wirempfehlen, die vorgeschlagenen Kanalzahlen zu übernehmen.
Sie können die Kanalzahlen (0 bis 99) auch manuell auswahlen, zum Beispiel, wenn Sie mehrere Funkgruppen einrichten wollen.
Um eine störungsfrei的数据 übertragung zu gewährleisten, müssen die Kanäleweit genug auseinander liegen. Wir empfehlen einen Abstand der Kanalzahlen von mindestens 30. jeder Kanalzahlarfur nur jeweils einen Kanal verwendet werden.
Beisielkonfiguration: Kanalzahlen bei Einrichtung von 3 Funkgruppen innerhalb einer Praxis:
- Funkgruppe 0: C1=_, C2=30, C3=60
- Funkgruppe 1: C1=10, C2=40, C3=70
- Funkgruppe 2: C1=20, C2=50, C3=80
Geräteerkennung Wenn Sie mit der Waage eine Funkgruppe einrichten,ucht diese nach weiteren aktiven Geräten aus dem seca 360^ wireless System. Die erkannten Geräte werden im Display der Waage als Module (z. B. „MO 3") angezeigt. Die Ziffern haben folgende Bedeutung:
1:Personenwaage
- 2: Längenmessstab
- 3: Funkdrucker
- 4: PC mit seca USB-Funkadapter
- 7 : B a b y w a a g e
- 5, 6 und 8-12: Reserviert für Systemerweiterung
7.2 Waage in einer Funkgruppe betreiben (Menu)
Alle Funktionen, die Sie benötigen, um das Gerät in einer seca Funkgruppe zu betreiben, befinden sich im Untermenü „rF". Informationen zum Navigieren im Menufinden Sie auf Seite 32.

Funkmodul aktivieren (SYS)
Das Gerät wird mit deaktiviertem Funkmodul ausgeliefert. Sie müssen es aktivieren, bevor Sie eine Funkgruppe einrichten können.
HINWEIS:
Wenn Sie das Funkmodul aktivieren, steigt der Stromverbrauch des Gerätes. Für den Betrieb des Gerätes in einem Funknetzwerk empfehlen wir die Verwendung eines Netzgerätes.

- Schalten Sie das Gerät ein.
- Wahlen Sie im Untermenü „rF" den Menüpunkt „SYS" aus.
- Bestätigen Sie die Auswahl.
- Wahlen Sie die Einstellung „On".
- Bestätigen Sie die Auswahr. Das Menu wird automatisch verlassen.
Funkgruppe einrichten (Lrn)
Um eine Funkgruppe einzurichten, gehen Sie folgendermaßen vor:
- Schalten Sie das Gerät ein.
- Rufen Sie das Menu auf.

- Wahlen Sie im Menu den Punkt „rF" aus.
- Bestätigen Sie die Auswahl.
- Wahlen Sie im Untermenü „rF" den Menüpunkt „Lrn" (learn).
- Bestätigen Sie die Auswahl.
Die aktuell eingestelle Funkgruppe (hier: Funkgruppe 0 „ld 0“) wird angezeigt.







Wenn die Funkgruppe „0“ bereits existiert, wahren Sie mit den Pfeil-Tasten eine andere ID aus (hier: Funkgruppe 1 „Id 1“).
- Bestätigen Sie ihre Auswahl der Funkgruppe.
Das Gerät schlägt eine Kanalzahl für Kanal 1 vor (hier: C1 „0").
Sie können die vorgeschlagene Kanalzahl übernehmen oder mit den Pfeil-Tasten eine andere Kanalzahl einstehen.
- Bestätigen Sie ihre Auswahl für Kanal 1.
Das Gerät schlägt eine Kanalzahl für Kanal 2 (hier: C2 „30") vor.
Sie können die vorgeschlagene Kanalzahl übernehmen oder mit den Pfeil-Tasten eine andere Kanalzahl einstehen.
HINWEIS:
Die Darstellung zweistelliger Kanalzahlen erfolgt ohne Leerzeichen. Die Anzeige „C230" bedetet: Kanal „2", Kanalzahl „30".
- Bestätigen Sie ihre Auswahl für Kanal 2.
Das Gerät schlägt eine Kanalzahl für Kanal 3 vor (hier: C3 „60").
Sie können die vorgeschlagene Kanalzahl übernehmen oder mit den Pfeil-Tasten eine andere Kanalzahl einstehen.
- Bestätigen Sie ihre Auswahl für Kanal 3.
Die Meldung StOP entscheid im Display. Das Gerät wartet auf Signale anderer funkfähiger Geräte in Reichweite.
HINWEIS:
Bei einigen Geräten ist eine besondere Einschaltprozedur zu befolgen, wenn diese in einer Funkgruppe integriert werden sollen. Beachten Sie die Gebrauchsanweisung des jeweiligen Gerätes.
- Schalten Sie das Gerät ein, das Sie in die Funkgruppe integrieren wollen, z. B. einen Funkdrucker. Wenn der Funkdrucker erkannt wurde, ist ein Piepton hörbar.
HINWEIS:
Sobald Sie einen Funkdrucker in die Funkgruppe integriert haben, müssen Sie anschließend eine Druckoption wahren (MenürF\APrt) und die Uhrzeit einstellen (MenürF\time).
- Wiederholen Sie den Schritt 11. für alle Geräte, die Sie in dieser Funkgruppe integrieren sollen.
- Drücken Sie die Enter-Taste, um den Suchvorgang zu beenden.
- Drücken Sie eine der Pfeil-Tasten, um sich an-zeigen zulassen, welche Geräte erkannt wurden (hier: „MO 3" für einen Funkdrucker). Wenn Sie mehrere Geräte in die Funkgruppe integriert haben, drücken Sie die Pfeil-Tasten mehrfach, um sicherzustellen, dass alle Geräte von der Waage erkannt wurden.
- Verlassen Sie das Menu mit der Enter-Taste oder warten Sie, bis das Menu automatisch verlassen wird.
Automatische Übertragung aktivieren (ASend)
Sie können das Gerät so konfigurieren, dass die Messergebnisse automatisch an alle empfangsbereiten und in derselben Funkgruppe angemeldeten Empfänger (z. B.: Funkdrucker, PC mit USB-Funkadapter) gesendet werden.
HINWEIS:
Wenn Sie einen Funkdrucker verwenden, stellen Sie sicher, dass als Druckoption nicht „Off“ eingestellt ist (siehe „Druckoption wahren (APrt)” auf Seite 42).
- Schalten Sie das Gerät ein.
- Wahlen Sie im Untermenü „rF“ den Menüpunkt „ASEnd“ aus und bestätigten Sie die Auswahl.
A5End
0n
- Wahlen Sie die Einstellung „On" und bestätigten Sie die Auswahr.
Das Menu wird automatisch verlassen.
Sie konnen das Gerät so konfigurieren, dass Messergebnisse automatisch auf einem in der Funkgruppe angemeldeten Funkdrucker ausgedrucht werden.
HINWEIS:
These Funktion ist nur zugänglich, wenn über die „learn“-Funktion ein seca Funkdrucker in die Funkgruppe integriert wurde.
- Schalten Sie das Gerät ein.
APRt
-
Wahlen Sie im Untermenü „rF" den Menüpunkt „APrt" aus und bestätigten Sie die Auswahl.
-
Wahlen Sie die für ihre Gerätekombination zuteffende Einstellung:
-
HI: Messergebnisse von Längenmessgeräten
- MA: Messergebnisse von Waagen
- HI_MA: Messergebnisse von Längenmess-geräten und Waagen
-
Off: Kein automatischer Druck, Drucken nur durch langes Drucken der Enter-Taste während des Wiegevorganges.
-
Bestätigen Sie ihre Auswahl. Das Menu wird automatisch verlassen.
Uhrzeit einstellen (Time)
Sie können das System so konfigurieren, dass der Funkdrucker ihren Messergebnissen automatisch Datum und Uhrzeit hinzufugt. Dazu müssen Sie einmalig Datum und Uhrzeit an thisem Gerät einstellen und an die interne Uhr des Funkdruckers übertragen.
HINWEIS:
These Funktion ist nur zugänglich, wenn über die „learn“-Funktion ein seca Funkdrucker in die Funkgruppe integriert wurde.
EINE
- Schalten Sie das Gerät ein.
- Wahlen Sie im Untermenü „rF“ den Menüpunkt „tIME“ aus.
- Bestätigen Sie die Auswahr. Die aktuelle Einstellung für „Jahr" (YEA) wird angezeigt.
YEA10
- Stellen Sie die korrekte Jahreszahl ein.
- Bestätigen Sie die Auswahl.
- Wiederholen Sie die Schritte 3. und 5. entsprechend für „Monat“ (Mon), „Tag“ (dAy), „Stunde“ (hour) und „Minute“ (Min).
- Bestätigen Sie jeweils ihre Auswahl.
Nach dem Bestätigen der Einstellung für Minute wird das Menu automatisch verlassen.
Die Einstellungen werden automatisch an den Funkdrucker übertragen.
Der Funkdrucker fegt automatisch jedem Ausdruck Datum und Uhrzeit hinzu.
HINWEIS:
Für die weitere Bedienung des Funkdruckers beachten Sie dessen Gebrauchsanweisung.
8. HYGIENISCHE AUFBEREITUNG

WARNING!
Elektrischer Schlag
Das Gerät ist nicht stromlos, wenn die Ein-/Austaste gedrückt wird und das Display erlischt. Bei der Anwendung von Flüssigkeiten am Gerät kann es zu einem elektrischen Schlag kommt.
-
Um das Gerät stromlos zu machen,ziehen Sie vor jeder hygienischen Aufbereitung den Netzstecker.
-
Stellen Sie sicher, dass keine Flüssigkeiten in das Gerät gelangen.

VORSICHT!
Geräteschäden
Ungeeignete Reinigungs- und Desinfektionsmittel können die empfindlichen Oberflächen des Gerätes beschädigen.
-
Verwenden Sie keine scharfen oder scheuernden Reinigungsmittel.
-
Verwenden Sie keinen Spiritus oder Benzin.
-
Verwenden Sie ausschließlich Desinfektionsmittel, die für empfindliche Oberflächen geeignet sind. Geeignete Desinfektionsmittel sind im Fachhandel erhältlich.
8.1 Reinigung
Reinigen Sie die Oberflächen des Gerätes bei Bedarf mit einem weichen Tuch, das Sie mit einer milden Seitenlauge anfeuchen.
8.2 Desinfektion
ACHTUNG!
Geräteschaden
Sichtscheiben auf Skalen und Displays bestehen aus Acrylglas. Acrylglasscheiben konnen reiBen oder eintruben, wenn ungeeignete Desinfektionsmittel verwendet werden.
-
Verwenden Sie ausschließlich Desinfektionsmittel, die für empfindliche Oberflächen geeignet sind. Geeignete Desinfektionsmittel sind im Fachhandel erhältlich.
-
Beachten Sie die Gebrauchsanweisung des Desinfektionsmittels.
- Desinfizieren Sie das Gerät in regelmäßigen Abständen mit einem weichen Tuch, das Sie mit einem geeigneten Desinfektionsmittel anfeuchen.
- Beachten Sie folgende Fristen:
| Frist Komponente | |
| Vor jeder Messung mit direk- tem Hautkontakt | Wiegeplattform |
| Nach jeder Messung mit direktem Hautkontakt | Wiegeplattform |
| Bei Bedarf | • D i s p l a y • Folientastatur |
8.3 Sterilisation
Die Sterilisation des Gerätes ist nicht zulässig.
9. FUNKTIONSKONTROLLE
Führn Sie vor jeder Anwendung eine Funktionskontrolle durch.
Zu einer vollständigen Funktionskontrolle gehoren:
- Sichtprüfung auf Mechanische Beschädigung
- Sight-und Funktionsprüfung des Displays
- Funktionsprüfung aller im Kapitel „Übersicht“ dargestilten Bedienelemente
- Funktionsprüfung des optionalen Zubehörns
Sollten Sie bei der Funktionskontrolle Fehler oder Abweichungen feststellen, versuchen Sie zunachst, den Fehler mit Hilfe des Kapitals „Was tun, wenn...?" ab Seite 45 zu beheben.

VORSICHT! Personenschäden
Wenn Sie bei der Funktionskontrolle Fehler oder Abweichungen feststellen, die nicht mit Hilfe des Kapitals „Was tun, wenn...?” ab Seite 45 behoben werden können, dürfen Sie das Gerät nicht verwenden.
- Lassen Sie das Gerät durch den seca service oder einen autorisierten Servicepartner reparieren.
- Beachten Sie den Abschnitt „Wartung/Nacheichung" auf Seite 47.
10.WAS TUN, WENN...?
| Störung Ursache/Beseitigung | |
| ... bei Belastung keine Gewichtsanzeige erscheint? | Die Waage hat keine Stromversorgung. - Prüfen, ob die Waage eingeschaltet ist - Prüfen, ob Batterien eingelegt sind |
| ... vor dem Wiegen nicht 0.0 erscheint? | Die Waage wurde vor dem Einsatzen belastet. - Waage entlasten - Waage aus- und wieder einschalten |
| ... ein Segment ständig oder gar nicht leuchtet? | Die entsprechende Stelle weist einen Fehler auf. - Wartungs Dienst benachrichtigen. |
| ... die Anzeige erscheint? | Spannung der Batterien{lösst nach. - Möglichkeit bald neue Batterien einlagen |
| ... die Anzeige „bAtt“ erscheint? | Die Batterien sind leer. - Neue Batterien einlagen |
| Störung Ursache/ | Beseitigung |
| ... die Anzeige „StOP“ erscheint? | Die Höchstlast wurde übersritten. - Waage entlasten |
| ... die Anzeige „tEMP“ erscheint? | Die Umgebungstemperatur der Waage ist zu hoch oder zu niedrig. - Waage in einer Umgebungstemperatur zwi-schen +10 °C und +40 °C aufstellen - Ca. 15 Minuten warten, bis sich die Waage an die Umgebungstemperatur angepasst hat |
| ... wenn nach dem Ein-schalten das erstee Mal Messergebnisse gesen-det werden und zwei Signatlõne hörbar sind? | ·Das Gerät konnte keine Messergebnisse an den Funkempfänger (seca Funkdrucker bzw. PC mit seca USB-Funkadapter) senden. - Stellen Sie sicher, dass die Waage in das Funknetzwerk integriert ist. - Stellen Sie sicher, dass der Empfänger einge-schaltet ist. ·Der Empfang wird durch in der Höhe befindliche HF-Geräte (z. B. Mobiletelefon) gestört. - Halten Sie mit HF-Geräten einen Mindestabstand von 1 Meter zu Sendern und Empfängern im seca Funknetzwerk. Die tatsächliche Sendeleistung von HF-Geräten kann Mindestabstände von mehr als 1 Meter erfordern. Details finden Sie unter www.seca.com. HINWEIS: Wird diese Störung nicht behoben, erfolgt bei weiteren Sendoversuchen keine erneute akustische Warnung. |
| ... im „rF“-Menu nur der Punkt „SYS“ sightbar ist? | ·Das Funkmodul ist deaktiviert. - Funkmodul aktivieren (siehe „Funkmodul akti-vieren (SYS)” auf Seite 39) |
| ... im „rF“-Menu nur die Punkte „SYS“ und „Lrn“ sightbar sind? | ·Das Funkmodul ist aktiviert und es ist keine Funkgruppe eingerichtet. - Funkgruppe einrichten (siehe „Funkgruppe einrichten (Lrn)” auf Seite 39) |
| ... im „rF“-Menu die Punkte „APrt“ und „Time“ nicht sightbar sind? | ·Kein Funkdrucker in der Funkgruppe angemel-det. - Funkdrucker über den Menüpunkt „Lrn“ in der Funkgruppe anmelden (siehe „Funkgruppe einrichten (Lrn)” auf Seite 39) |
| ...nach Aufrufen des Menüs der Punkt „rF“ nicht angezeigt wird? | ·Das Funkmodul der Waage ist defekt. - seca Service benachrichtigen |
| Störung Ursache/Beseitigung | |
| ... die Anzeige „Er:X:11“ erscheint? | Die Waage ist zu hoch oder an einer Ecke zu stark belastet worden. - Waage entlasten oder Gewicht gleich-mäßiger verteilen - Waage neu starten |
| ... die Anzeige „Er:X:12“ erscheint? | Die Waage ist mit einer zu großen Belastung ein-geschaltet worden. - Waage entlasten - Waage neu starten |
| ... die Anzeige „Er:X:16“ erscheint? | Die Waage wurde in Eigenschwingungen versetzt, der Nullpunkt konnte nicht ermittelt werden. - Waage neu starten |
| ... wenn die Enter-Taste (send/print) gedrückt wird und die Anzeige „Er:X:71“ erscheint? | Keine Datenübertragung möglich, Funkmodul ist deaktiviert. - Funkmodul aktivieren (siehe „Funkmodul akti-vieren (SYS)” auf Seite 39) |
| ... wenn die Enter-Taste (send/print) gedrückt wird und die Anzeige „Er:X:72“ erscheint? | Keine Datenübertragung möglich, keine Funk-gruppe eingerichtet. - Funkgruppe einrichten (siehe „Funkgruppe einrichten (Lrn)” auf Seite 39) |
11.WARTUNG/NACHEICHUNG
11.1 Informationen zu Wartung und Nacheichung
Wir empfehlen, vor der Nacheichung des Gerätes eine Wartung durchführren zu halten.
ACHTUNG!
Fehlmessungen durch unsachgemäß Wartung
- Lassen Sie Wartungen und Reparaturen ausschließlich durch den seca Service oder einen autorisierten Servicepartner durchführten.
- Den Servicepartner in Ihrer Höhe finden Sie unter www.seca.com oder setzen Sie eine email an service@seca.com.
Lassen Sie den nationalen gesetzlichen Bestimmungen entsprechend eine Nacheichung durch autorisierte Personen durchführren. Das Jahr der Ersteichung befindet
sich hinter dem CE-Zeichen auf dem Typenschild über der Nummer der benannten Stelle 0109 (Hessische Eichdirektion).
Eine Nacheichung ist in jedem Falle erforderlich, wenn eine oder mehrere Sicherungsmarken verletzt sind oder der Eichzahlerinhalt nicht mit der Zahl auf der gultigen Eichzahlermarke übereinstimmt. Wenn Sicherungsmarken verletzt sind, wenden Sie sich direkt an den seca service.
11.2 Eichzahlerinhalt prufen



These seca Waage ist geeicht. Eichungen dürfen nur durch autorisierte Stellen erfolgen. Um dies sicherzustellen, ist die Waage mit einem Eichzahler ausgestattet, der jeder Veränderung der eichtechnisch relevanten Daten festhalten.
Wenn Sie prufen möchten, ob die Waage ordnungsgemäß geeicht ist, gehen Sie folgendermaßen vor:
- Schalten Sie gegebenenfalls die Waage aus.
- Halten Sie eine beliebige Taste gedrückt und starten Sie die Waage.
Auf dem Display blinkt für weniger Sekunden der aktuelle Eichzahlerinhalt.
- Vergleichen Sie den ausgegebenen Eichzahlerinhalt mit der auf der Eichzahlermarke angegebenen Zahl.
Für eine gültige Eichung mussen beiden Zahlen übereinstimmen. Wenn Marke und Eichzahler nicht übereinstimmen, muss eine Nacheichung erfolgen. Wenden Sie sich an ihren Servicepartner oder den seca-Service. Ist die Nacheichung erfolgt, wird eine neue, aktualisierte Eichzahlermarke zur Kennzeichnung des Eichzahlerstandes verwendet. Diese Marke wird durch die zur Nacheichung autorisierte Person mit einem Zusammenhang gesichert. Die Eichzahlermarke kann vom seca Service bezogen werden.
12. TECHNISCHE DATEN
12.1 Allgemeine Technische Daten
| Allgemeine Technische Daten seca 635 | |
| Abmessungen Waage | |
| • Tiefe | 600 mm |
| • Breite | 640 mm |
| • Höhe | 46 mm |
| Abmessungen Wiegeplattform | |
| • Tiefe | 600 mm |
| • Breite | 600 mm |
| • Höhe | 46 mm |
| Eigengewicht ca. 14,1 kg | |
| Temperaturbereich | |
| • Betrieb | +10 °C bis +40 °C / +50 °F bis 104 °F |
| • Lagerung | -10 °C bis +65 °C / +14 °F bis 149 °F |
| • Transport | -10 °C bis +65 °C / +14 °F bis 149 °F |
| Luftdruck | |
| • Betrieb | 700-1060 hPa |
| • Lagerung | 700-1060 hPa |
| • Transport | 700-1060 hPa |
| Luftfeuchtigkeit | |
| • Betrieb | 30 % - 80 % nicht kondenserend |
| • Lagerung | 0 % - 95 % nicht kondenserend |
| • Transport | 0 % - 95 % nicht kondenserend |
| Ziffernhöhe 25 mm | |
| Stromversorgung Batterien, optionales Netzgerät | |
| Stromaufnahme | |
| • mit deaktiviertem Funkmodul | ca. 25 mA |
| • mit aktiviertem Funkmodul | ca. 42 mA |
| Maximale Laufzeit bei Batteriebetrieb | |
| • mit deaktiviertem Funkmodul | ca. 4.800 Wägungen |
| • mit aktiviertem Funkmodul | Netzgerät empfohlen |
| Medizinprodukt nach Richtlinie | |
| 93/42/EWG | Klasse I mit Messfunktion |
| EN 60601-1: • schutzisoliertes Gerät, Schutzklasse II: • elektröm edizinisch Gerät, Typ B: | |
| Funkübertragung | |
| • Freqenzband | 2,433 GHz - 2,480 GHz |
| • Sendeleistung | < 10 mW |
| • angewandte Normen | EN 300 328 |
| EN 301 489-1 | |
| EN 301 489-17 | |
12.2 Wägetechnische Daten
| Wägetechnische Daten | |
| Eichung nach Richtlinie 2009/23/EG Klasse III | |
| Höchstlast | |
| • Teilwägebereich 1 | 200 kg |
| • Teilwägebereich 2 | 300 kg |
| Mindestlast | |
| • Teilwägebereich 1 | 2,0 kg |
| • Teilwägebereich 2 | 4,0 kg |
| Feinteilung | |
| • Teilwägebereich 1 | 100 g |
| • Teilwägebereich 2 | 200 g |
| Tarierbereich 300 kg | |
| Genauigkeit bei Ersteichung | |
| • Teilwägebereich 1, bis 50 kg | ±50 g |
| • Teilwägebereich 1, 50 kg bis 200 kg | ±100 g |
| • Teilwägebereich 2, bis 100 kg | ±100 g |
| • Teilwägebereich 2, 100 kg bis 300 kg | ±200 g |
13.OPTIONALES ZUBEHÖR
| seca 360° wireless Geräte | Artikelnummer |
| Längenmessstäbe • seca 274 • seca 264 | länderspezifische Varianten länderspezifische Varianten |
| Funkdrucker • seca 360° wireless printer 465 • seca 360° wireless printer advanced 466 | länderspezifische Varianten länderspezifische Varianten |
| PC-Software • seca analytics 115 | anwendungsspezifische Lizenzpakete |
| seca 360° wireless USB adapter 456 456-00- | 00-009 |
14.ERSATZTEILE
| Ersatzteile Artikelnummer | |
| Steckernetzgerät mit Euro-Stecker: 230 V~ / 50 Hz/12 V= / 130 mA | 68-32-10-252 |
| Switchmode Netzgerät mit Adaptern: 100 - 240 V~ / 50 -60 Hz / 12 V= / 0.5 A | 68-32-10-265 |
15.ENTSORGUNG
15.1 Gerät

Entsorgen Sie das Gerät nicht über den Hausmüll. Das Gerät muss sachgerecht als Elektronikschrott entsorgt werden. Beachten Sie ihre jeweiligen nationalen Bestimmungen. Für weitere Auskünfte wenden Sie sich an unseren Service unter:
service@seca.com
15.2 Batterien und Akkus

Werfen Sie verbrauchte Batterien und Akkus nicht in den Hausmüll, unabhängig davon, ob diese Schadstoffe enthalten oder nicht. Als Verbraucher sind Sie gesetzlich verpflichtet, Batterien und Akkus überCOMMUNALE SAMmelstellen oder Sammelstellen des Handels zu entsorgen. Geben Sie Batterien und Akkus nur im vollständig entladenen Zustand ab.
16.GEWÄHRLEISTUNG
Für Mängel, die auf Material- oder Fabrikationsfehler zurückzuführen sind, gilt eine zweijährige Gewährleistungsfrist ab Lieferung. Alle beweglichen Teile, wie z. B. Batterien, Kabel, Netzgeräte, Akkus etc., sind hiervon ausgenommen. Mängel, die unter die Gewährleistung fallen, werden für den Kunden gegen Vorlage der Kaufquittung kostenlos behoben. Weitere Ansprüche können nicht berücksichtigt werden. Kosten für Hinund Rücktransporte gehen zu Lasten des Kunden, wenn sich das Gerät an einem anderen Ort als dem Sitz des Kunden befindet. Bei Transportschäden können Gewährleistungsansprüche nur geltend gemacht werden, wenn für Transporte die komplette Originalverpackung verwendet und die Waage darin gemäß dem originalverpackten Zustand gesichert und befestigt wurde. Bewahren Sie daher alle Verpackungsteile auf.
Es besteht keine Gewährleistung, wenn das Gerät durch Personen geöffnet wird, die hierzu nicht ausdrücklich von seca autorisiert worden sind.
Kunden im Ausland bitten wir, sich im Gewährleistungsfall direkt an den Verkäufen des jeweiligen Landes zu wenden.
TABLE OF CONTENTS
Die nichtselbstätige Personenwaage
Model: 635-70-21-004
EG-Bauartzulassung D00-09-010
... entspricht dem in der Bescheinigung über die Bau-artzulassung beschriebenen Baumuster.
Die Waage erfüllt die geltenden Anforderungen folgender Richtlinien:
2009/23/EG über nichtselbstätige Waagen, 93/42/EWG über Medizinprodukte.
Darüberhinaus sind unter anderem folgende Normen anwendbar:
EN 45501 über metrologische Aspekte nichtselbstätigter Waagen; EN 300 328, EN 301 489-1 und -17 über elektromagnetische Verträglichkeit und Funkspektrumangelegenheiten.

Desuden er folgende standarder anvendelige:
2009/23/EG betreffende nicht-automatische weegwerktuigen; 93/42/EEG betreffende medische hulpmiddelen.
Be to, taikomi sie standartai:
EN 45501 api metrologinius neautomatiniy svarstykliy aspektus; EN 300 328, EN 301 489-1 ir -17 del elektromagnetinio suderinamumo ir radijo dažniu spektro dalyku.

EinfachAnleitung