653 - Balance SECA - Manual de uso y guía de instrucciones gratis
Encuentra gratis el manual del aparato 653 SECA en formato PDF.
Preguntas frecuentes - 653 SECA
Preguntas de los usuarios sobre 653 SECA
0 pregunta sobre este aparato. Responde a las que conoces o haz la tuya.
Hacer una nueva pregunta sobre este aparato
Descarga las instrucciones para tu Balance en formato PDF gratis! Encuentra tus instrucciones 653 - SECA y toma tu dispositivo electrónico nuevamente en la mano. En esta página están publicados todos los documentos necesarios para el uso de su dispositivo. 653 de la marca SECA.
MANUAL DE USUARIO 653 SECA
- Specnere la bilancia.
14.PARTI DI RICAMBIO
1. Calidad garantizada 211
2. Descripción del aparato 212
2.1 Enhorabuena! 212
2.2 Uso previsto 212
2.3 Descripción delfunciación 212
2.4 Cualificacion del usuario . . . . 213
Montaje 213
Manejo 213
3. Información de seguridad . 213
3.1 Indicaciones de seguridad en estas instrucciones de uso .. 213
3.2 Indicaciones de seguidabásicas 214
Manejo del aparato 214
Prevencion de descargas
eléctricas 215
Prevencion de infecciones .. 216
Prevencion de lesiones 216
Prevencion de daños en el aparato 216
Manejo de los resultados de la medicación 217
Manejo del material de embalaje 218
3.3 Manejo con pilas y baterias . . 219
4. Vista general 220
4.1 Elementos de mando 220
4.2 Símbolos en el visor 221
4.3 Indicaciones en el aparato y en la plac de identificacion . 222
4.4 Indicación en el embalaje . . . 223
4.5 Estructura del menu 224
5. Antes de empezar... 225
5.1 Volumen de suministro 225
5.2 Preparar la caja del indicator para el service (indicador de sobremesa) 226
Montar el adaptor angular. 226
Conectar el cable de connexion a la plataforma 226
5.3 Preparar la caja del indicator para el service (indicador de pared) 227
Montar el adaptor angular . 227
Conectar el cable de connexion a la plataforma 228
Montar los soportes de pared 229
Colocar la caja delindicatoren el soporte de pared . 229
5.4Establecer el suministro de corrente. 230
Colocar las pilas 230
5.5 Colocar la basia . 231
Nivelar la báscula 231
6. Manejo 232
6.1 Pesaje 232
Encender la basia. 232
Pesar al paciente 232
Tarar peso adicional (TARE) . 233
Indicación continua del的结果ado de la medicación
(HOLD) 233
Calculary valorar el indices demasa corporal (BMI) 234
Enviar los resultados de la medicación a receptores
inalambricos. 236
Calculare imprimir automatistically el BMI . 236
Cambio automatico del margen de pesaje 236
Desconectar la báscula 237
6.2 Otras functions (menu) 237
Navegar por el menu 238
Borrar automatamente losvalores almacenados (AClr) . 238
Almacenardoformaculada el peso adicional (Pt) 239
Activar la funciona Autohold (Ahold) 240
Activar tonos de senal (BEEP) 240
Ajustar filtrado (Fil) 241
Restablecer la configuración de fabrica (RESET) 241
7. La red inalámbrica seca 360^ wireless 243
7.1 Introduccion 243
seca Grupos inalámbricos 243
Canales 244
Reconocimiento de aparatos 244
7.2 Utilizar la báscula bajo de un grupo inalámbrico (menu) 245
Activar el modulo
inalábrico (SYS) 245
Establisher el grupo
inalábrico (Lrn) 246
Activar la transmisión automática (ASend) 247
Selección opuesta de impresión (APrt) 248
Ajustar la hora (Time) 248
8.Preparación higiénica 249
8.1 Limpieza 250
8.2 Desinfeccion 250
8.3 Esterilización 250
9. Control del funciona . . . 251
10. 5Que hacer cuando... 252
11. Mantenimiento/recalibrado . . 254
11.1 Información sobre el mantenimiento y recalibrado 254
11.2 Comprobar el contenido delkontador 255
12. Datos&Tecnicos 256
12.1 Datos技术和 generales . 256
12.2 Datos先进技术 de pesaje . . 257
13. Accesorios.optiones 257
14.Piezaderecambio 258
15. Eliminacion 258
15.1 Aparato 258
15.2 Pilasybaterias. 258
16.Garantía 259
1. CALIDAD GARANTIZADA

M
Con los productos seca no solo compra una技术水平e peas y las leyes naciales. Con seca adquiere futuro.
Las BASCELAS que llevan este distinctivo cumplen con la directiva europea relativa a BASCELAS y balanzas 2009/23/CE. Las BASCELAS seca con este distinctivo satisfacen las altas exigencias sociales y de calidad que deben cumplir las BASCELAS calibrables.

Las BASculas que llevan este distinctivo cumplen las exigencias rigurosas de la clase de calibracion lI y可以更好利用率 en medicina para medicaciones susetas a calibracion.
C E
xx 0109 0123
Los produits que llevan este símboloFUL den los requisitos regulatorios de la Comunidad Europea que les son aplicables, en especial los siguientes:
- Directa 2009/23/CE relativ a básculas y balanzas de funcionaismo no automatico
- Directa 93/42/CEE sobre produits sanitarios
- DIN EN 45501 relativa a aspectos metrologicos de las básculas y balanzas de funciona no automatico
ISO 9001
ISO 13485
Tambien desde el sector oficial se reconoce la profes-. sionalidad de seca. La TUV Sud Product Service,la oficina competente en productos sanitarios confirma con un certificado que seca cumple de forma consecuente los estrictos requisitos legales como fabricante de productos sanitarios.El systemade control del calidad de seca abarca las areas de diseño,desarrollo, produccion,ventas y serviceposventa de basculas y sistemas de medicacion de longitud sanitarios,asi como de software y sistemas de medicacion para la evaluacion del estado de salute y de la alimentacion.

seca ayud al medio ambiente. Para nosotros el ahora de recursos naturales es una cuestion vital. Por ese nos esforzamos en ahorrar material de embalaje siempre que searzazonable. El resto se pueda desechar comoamente in situ a工程技术 del Sistema Dual de reciclaje.
2. DESCRIPTICN DEL APARATO
2.1 Enhorabuena!
Con la báscula electrónica multifunctional seca 635 ha adquirido un aparato de alta precision y al mismo tiempo robusto.
Deshpacm as de 170 aos,por su experiencia en el service de la salute y,siendo lider del mercado en numerousos paises,con sus desarrollos innovadores para el pesaje y la medicacion,seca senta cada vez nuevas bases.
2.2 Uso previsto
La báscula electrónica multifunctional seca 635 se utilize confluence a las normas naciales principalmente en hospitales, consultas medicas y centros de cuidado estacionarios.
La báscula sirve para determinar de forma convencional el peso y el estado general de alimentación, yshipsa al medico responsable del tratimiento a elaborar un diagnóstico o decideir un tratamento.
Para elaborar un diagnóstico exacto,además de calcular el peso,el Médico responsable del tratimiento deberealizar másstudiosystemáticos y tener en cuenta susresultados.
2.3 Descripción del funciona
Además de la determinación convencional del peso, la seca 635 offre una función para calcular el indice de masa corporal. Paraarlo, con el teclado se introduce la alta y automatistically se calcula el indice de masa corporal correspondiente al peso. Los aparatos de medicación de longitud del sistemasea seca 360^ wirelesscoulden transmitir inalámbricamente la estatura a la seca 635.
Acomings de la red inalámbrica seca 360^ wireless, los resultados de la medicación se pueda trasladar a una implicora inalámbrica seca o a un PC equipo con el software seca analytics y el adaptor USB inalámbrico seca.
Utilice la báscula exclusivamente para la finalidad indicada en la sección "Uso previsto" en la頁ina 212.
2.4 Cualificación del usuario
Montaje El montaje de los aparatos que seenta un parcialmente montados solo puede encomendarse a personal suficientementeriallicado, p. ej., distribuidores,技术和 de su hospital o al serviceo和技术o de seca.
Manejo El aparato solo puede ser manejado por personal medico especializzato.
3. INFORMACION DE SEGURIDAD
3.1 Indicaciones de seguridad en estas instructaciones de uso

PELIGRO!
Indica una situación de peligro extremadamente elevada. Si no tiene en cuenta esta indicación, se producirán graves lesiones irreversibles o mortales.

JADVERTENCIA!
Indica una situacion de peligro extremadamente elevada. Si noiene en cuenta esta indication, se pueda produir graves lesiones irreversibles o mortales.

PRECAUCION!
Indica una situacion de peligro. Si noiene en conta esta indication, poder producirse lesiones leves o medianas.
ATENCLION!
Indica un posible manejo erroneo del aparato. Si noiene enIELDa esta indicacion能把 producirse daños en el aparato o resultados erroneos de la medicacion.
NOTA:
Contiene informacion adicular sobre el empleo de este aparato.
Manejo del aparato
- Tenga en cuenta lasindicaciones de estas instrucciones de uso.
- Guarde cuidadosamente las instrucciones de uso. Las instrucciones de uso forman parte del aparato y deben estar disponibles en todo momento.

PELIGRO!
Peligro de explosión
No utilise el aparato en un ambiente enriquecido con los siguientes gases:
- o x i g e n o
- agentes anestéscicos inflamables
-除外 sustancias/mezclas con aire inflamables

PRECAUCION!
Peligro para el paciente, daños en el aparato
-
Los aparatos adiconiales que se conectan a dispositivos médicos electricos deben corresponder de forma demonstrable a las normas IEC o ISO correspondientes (p. ej., IEC 60950 para dispositivos de procesamento de datos). Asimismo, todas las configuraciones debenFULMIRlos requisitos normativos para sistemas Médicos (véase IEC 60601-1-1 o apartado 16 de la 3.^a edicion de IEC 60601-1, respectively). Quien conecta aparatos adiconiales a dispositivos médicos electricos actúa como configurador de sistemas, por loquel es responsable de que el sistema cumpla los requisitos normativos para sistemas. Se hace constar que las leyes locales tienen preferenciarente a los citados requisitos normativos. En caso de consultas, póngase en contacto con su distribuidor local o con el serviceo técnico.
-
Haga realizar cada dos años el mantenimiento, el recalibrado, tal como se describe en el apartado correspondiente de las instrucciones de uso del aparato.
- No está permitidas las modificaciones技术水平 del aparato. El aparato no contiene elementos bajokeepinglot. Los problemas de manternimiento y las reparaciones deben ser realizados únicamente por el equipo de servicios
seca autorizzato. El equipo de service más cercano lo encontrará en www.seca.com o enviando un correto electrónico a service@seca.com.
- Utilice únicamente accesos y piezas de recambio seca originales. De lo contrario, seca no asume ningún tipo de garantía.

PRECAUCION!
Peligro para el paciente, funciona bajo el mejo!.
-
Mantenga los dispositivos Médicos electricos, tales como los equipos quirúrgicos de alta Frequencia, a una distancia minima de aprox. 1 metro, para evaporar medicaciones erróneas o interferencias en la transmisión inalámbrica.
-
Mantenga los aparatos de AF, como los Telefonos moviles, a una distancia minima de aprox. 1 metro paraatarmedacioneserroneas o interferencias en la transmisión inalámbrica.
-
La potencia efectiva de transmisión de los aparatos AF puedeLERquerir distancias minimas de mas de 1 metro.Encontraraxas informacion en www.seca.com.
Prevencion de descargas electricas

iADVERTENCIA!
Electrocución
-
Coloque los aparatos que pueda ser con una fuente de alimentacion de forma que la toma de corriente de la red sea fácilmente accesible y se pueda realizarrapidamente una desconexion de la red de corriente.
-
Asegürese de que su suministro de red local coincide con los datos de la fuente de alimentación.
-
No toque la fuente de alimentacion nunca con las manos humedes.
-
No utilise cables de prolongación ni tomas multíples.
-
Preste atencion a que el cable electrico no quede aplastado ni pueda sufir daños por un borde aflilado.
-
No utilise el aparato a una altitud superior a 3000 m.
Prevencion de infecciones

jADVERTENCIA! Peligro de infecction
- Prepare higiénicamente el aparato en intervallos regulares, tal como se describe en el aparto correspondiente de este documento.
- Cerciórese de que el paciente no sufre ninguna enfermedad contagiosa.
- Cerciorese de que el paciente no tiene heridas abiertas o infecciones cutaneas que pueda entrada en contacto con el aparato.
Prevencion de lesiones

jADVERTENCIA! Peligro de caía
- Cerciorese de que el aparato está colocado en una superficie estable y plana.
- Coloque el cable de connexion de talmania que el usuario y el paciente no pueda tropezarse con el.
- Cerciorese de que el paciente no pise la plataforma de pesaje directamente en los bordes.
- Cercórese de que el paciente suba de forma lenta y segura a la plataforma de pesaje.

jADVERTENCIA! Peligro de resbalar
- Cerciorese de que la plataforma de pesaje está seca antes de que suba el paciente.
- Cerciórese de que el pacienteonga los pies secs antes de subir a la plataforma de pesaje.
- Cercórese de que el paciente suba de forma lenta y segura a la plataforma de pesaje.
Prevencion de daños en el aparato
ATENCLON! Daños en el aparato
- Preste atencion a que no pueda penetrar nunca liquidos al interior del aparato. En este caso podra quedar destruido el sistema elec tronico.
-
Desconecte el aparato antes de retirar la fuente de alimentacion de la toma de corriente.
-
Retire la fuente de alimentación de la toma de corriente si no utilizes el aparato durante un tiempo prolongado. Solo así está asegurado que el aparato está sin corriente.
- No doit que el aparato se caiga.
- Evite impactos fuertes o vibraciones en el aparato.
- Controle en intervalos regulares el funciona miento, tal como se describe en el apartado correspondiente de este documento. No utilise el aparato si no funciona correctamente o está dañado.
- No exponga el aparato a la luz solar directa y preste atencion a que no se enquirytren fuentes de calor en la proximidad inmediata. Las temperatas excessivas podrrian darar el sistemas electronomico.
- Evite fluctuaciones rápidas de la temperatura. Si el aparato es transporte deforma que experimentaunas diferencias de temperatura de mas de 20^ ,se tiene quedeojar reposar durante un minimo de 2 horas antes de conectarlo.De lo contrario,se forma condensationquecouldedaNarelystemaelectrknowno.
- Los productos de limpieza agresivos能把 darar las superficies. Utilice unicamente un paño suave, empapado, si esnecessary, con una lejía jabonosa suave.
- Utilice exclusivamente desinfectantes que Sean adecuados para superficies sensibles. Los desinfectantes adecuados se peuvent adquirir en un commercio especializzato.
Manejo de los resultados de la medicación

ADVERTENCIA!
Peligro para el paciente
Este aparato no es un aparato de diagnóstico. El aparato可以帮助 al medico responsable del tratimiento a realizar el diagnóstico.
- Para elaborar un diagnóstico exacto y para inicia terapias, además de utiliser este aparato, el Médico responsable del
tratumiento debe realizar estudios systemáticos y tener en cuenta sus resultados.
- El medico encargado del tratimiento asume la responsabilidad de los diagnósticos y las terapias que se inicia a partir de ellos.

iATENCION! Perdida de datos
-
Antes de guardar y seguir utilizing los valores de medicación registrados con este aparato (por exemple en el software de PC seca analytics o en un sistema de información del hospital), asegúrese de que los valores de medicación son plausibles.
-
Cuando se han transmitido values de medicación al software de PC seca analytics o a un sistema de información de hospitales, antes de seguir realizando asegürese de que los values de medicación son plausibles y se han asignado al paciente correcto.
Manejo del material de embalaje

jADVERTENCIA! Peligro de asfixia
Los materiales de embalaje de lámina de plástico (bolsas) representan un peligro de asfixia.
- Conserve el material de embalaje fuera del alcance de los niños.
- Si ya no estuviera disponible el material de embalaje original, utilise unicamente bolsas de plástico con perforaciones de seguridad para reducir el peligro de asfixia.
NOTA:
Conserve el material de embalaje original para el uso posterior (p. ej., envío para el mantenimiento).
3.3 Manejo con pilas y baterías

JADVERTENCIA!
Danos personales deben a un manejo inadequado
Las pilas contienen sustancias nocivas que con un manejo inadequado se pueda liberar de forma explosiva.
- No intentecarraglas pilas.
- No caliente las pilas/baterías.
- No queme las pilas/baterias.
- Si se escapa acido, evite el contacto con la piel, ojos y mucosas. Aclare con abundante agua las zonas corporales afectadas y acuda a un medico inmediamente.
JATENCION!
Danos en el aparato y funciona bajo el control de erroro debugo a un manejo inapropiado
- Utilice únicamente el tipo de pila/bateria indica en este documento.
- Bombie siempre al mismo tiempo todas las pilas/baterías.
- No ponga en cortocircuito las pilas/baterías.
- Si el aparato no se utilizes durante un长大o periodo de tiempo, retire las pilas/baterías. Así se evita que entre acido en el aparato.
- Si hubiera penetrado acido en el aparato, nowhelming a utiliser. Haga comprar y, en casoAPSARAL, REPARAR el aparato por un equipo de service seca autorizzato.
4. VISTA GENERAL
4.1 Elementos de mando

| Núm. | Elemento de mando | Función |
| 1 | Caja del indicator | • Elemento central de mando y visualización • Se pueda colocar en una superficie de trabajo o montar en una pared |
| 2 | Encender y apagar la baja | |
| 3 | Tecla de cursor • Durante el pesaje: - Pulsación breve: activar funciona Hold - Pulsación larga: activar funciona Tare • En el menú: - Seccionar submenu, seleccionar punto del menú - Augentar el valor | |
| 4 | bidi menu | Tecla de cursor • Durante el pesaje: - Pulsación breve:activar la funciona BMW - Pulsación larga:acceder al menu • En el menu: - Seccionar submenu, seleccionar punto del menu - Reducire valor |
| 5 | send pilc | Tecla Enter • Durante el pesaje (con la red inalámbrica preparada): - Pulsación breve:enviar resultado de la medicación a aparatos listos para la recepción (PC con adaptor USB inalámbrico) - Pulsación larga:imprimir el的结果ado de la medicación (impresora inalámbrica) • En el menu: - Confirmar el punto del punto selectionado - Almacenar el valor ajustado |
| 6 | Visor | Elemento de visualización para los resultados de la medicación y para la configuración del aparato |
| 7 | Comparti-miento para pilas | Alojamente para las pilas |
| 8 | Fiola Indica | si el aparato está nivelado |
| 9 | Conexión para equipos de alimentación | Sirve para la conexión del equipo de alimentación optional |
| 10 | Tornillo nivelador | 4 unidades, sirven para un nivelado preciso |
4.2 Simbolos en el visor

| Símbolo Significado | ||
| A | Las pilas tienenlittle carga | |
| B | Funciónamente con equipo de alimentación | |
| C | Función no calibrable activa | |
| D | 123 | Memoria realizadaactualmente |
| E | →|1|←→|2|← | Margon de pesaje utiliséactualmente véase “Datas先进技术” en la page 256 |
4.3 Indicaciones en el aparato y en la placar de identificacion
| Texto/símbolo Significado | |
| Modell Númeo de modelos | |
| Ser. No. Número de série | |
| Tener en cuenta las instrucciones de uso | |
| Aparato electromédico, tipo B | |
| Aparato con aislamento de protección, classe de protección II | |
| M | Marca de conformidad según la Directiva 2009/23/CE rela-tiva a los instrumentos de pesaje de funcionaimiento no automatístico |
| e | Valor en unidades de mata que se utilizes para clasificar y calibrar una báscula |
| d | Valor que indica la diferencia entre dos values indicados consecutivos |
| →|x|← | Margen de pesaje activo |
| III | Báscula de la clase de calibración III según Directiva 2009/23/CE |
| CE XX 0109 0123 | El aparato cumple las directivas de la CE • xx: ano en el que se realizó el calibrado CE y se aplicó la marca-CE • 0109: oficina de metrología Mentionada: Hessische Eich-direktion • 0123: oficina de productos sanitarios Mentionada: TÜV Süd Product Service |
| FC | Símbolo de la-oficina de la Comisión Federal de Comunica- ciones de EE. UU. |
| FCC ID | Número de autorización del aparato en la-oficina de la Comi- sión Federal de Comunicaciones de EE. UU. |
| IC | Número de autorización del aparato en la-oficina Industry Canada |
| Texto/simbolo Significado | |
| - - + x-y V = max. xxx mA use compatible seca adapter only | Placa de identificacion de la hembrilla de conexion a la red • x-y V: tensiOn de alimentacion necesaria • max xxx mA: consumo maximum de electricidad • : observar la polaridad de la clavija del aparato • : utiliser el aparato con corriente continua |
| X | No eliminar el aparato con la basura domestica |
4.4 Indicación en el embalaje
| Protegerlo de la humedad | |
| Las flechas señalan la parte superior del producto Debe transportarse y almacenarse Derecho | |
| Frágil No arrojarlo nideoarlo caer | |
| Temperatura min.y más autorizada para el transporte y el almacenimiento | |
| Humedad atmósferica min.y más autorizada para el transporte y el almacenimiento | |
| El material del embalaje se pueda eliminar mediante programas de reciclaje. |
4.5 Estructura del menu
En el menu del aparato hay disponibles otheras funci-ones. De este modo peut configurar el aparato de forma optima para los requisitos del uso que quiera darle (detalles a partir de page 237).


Acceder al menu:

Navigación:
Aparato reconocido (Mo):
- 1: Báscula para personas
- 2: Metro de longitudes
- 3: Impresora inalámbrica
- 4: PC con adaptor USB inalámbrico
- 7: Báscula para bebés
5. ANTES DE EMPEZAR…
5.1 Volumen de suministro

| N.° Componente Uds. | ||
| a | Plataforma de pesaje 1 | |
| b | Soporte de pared 1 | |
| c | Adaptador angular 1 | |
| d | Tornillos, 3 x 35 mm 2 | |
| e | Taco Ø 5 mm 2 | |
| f | Pilas tipo AA/LR6, 1,5 V 6 | |
| g | Caja del indicator con cable de conexión 1 | |
| Instrucciones de uso, sin figura 1 | ||
5.2 Preparar la caja del indicator para el service (indicador de sobremesa)
ATENCLION!
Danos en el aparato
El adaptor angular no se可以选择 volver a soltar cuando del montaje.
- Cerciorese antes del montaje de que la caja del indicator se colque encima de una mesa.
Montar el adaptor angular

- Aplique el adaptor angular en la posicion mostrada en la caja del indicator.
- Asegürese de que el cable de conexión está tendido en la ranura quía del adaptor angular.
- Apriete el adaptor横向 sobre la caja del indicator hasta que encaje audiblemente con los cuales salientes de enclavamiento.
Conectar el cable de conexión a la plataforma

NOTA:
A la hora de elegir el lugar de instalación,onga en cuenta la longitud del cable de connexion, de manière que pueda colocar la caja delindicador en una superficie de trabajo.
-
Coloque la báscula sobre una superficie firme y lisa.
-
Connecte el cable de connexion a la caja de electrónica de la báscula.
JATENCION!
Medicina erronea por transmisión parcial de fuerza
Si el cable de la caja del indicator toca la plata forma de la bascula puede occurrir que se mida incorrectly el peso del paciente.
-
Coloque el cable de forma que no couldatocar la plataforma de la báscula.
-
Coloque la caja del indicator encima de una superficie de trabajo.
5.3 Preparar la caja del indicator para el service (indicador de pared)
;ATENCIón!
Danos en el aparato
El adaptor angular no se可以选择 volver a soltar cuando del montaje.
- Cerciórese antes del montaje de que la caja del indicator se monte en una pared
Montar el adaptor angular

- Aplique el adaptor angular en la posicion mostrada en la caja del indicator.
- Asegürese de que el cable de connexion está tendido en la ranura guía del adaptor angular.
- Apriete el adaptor横向 sobre la caja del indicator hasta que encaje audiblemente con los cuales salientes de enclavamiento.
Conectar el cable de conexión a la plataforma

NOTA:
A la hora de elegir el lugar de instalación, teng a en cuenta la longitud del cable de connexion, de manera que pueda colocar la caja del indicator en el soporte de pared.
- Coloque la báscula sobre una superficie firme y lisa.
- Conecte el cable de connexion a la caja de electrónica de la báscula.
ATENCLION!
Medicina erronea por transmisión parcial de fuerza
Si el cable de la caja del indicator toca la plata forma de la bascula puede occurrir que se mida incorrectly el peso del paciente.
- Coloque el cable de forma que no pueda tocar la plataforma de la báscula.
Montar los soportes de pared
Elija una pared suficientemente estable como lugar de montaje. Para el montaje en mampostería maciza, el volumen de suministro incluye tacos estándar. Para paredes deorascharacteristicas recomendamosutilizar los tacos especials correspondientes.
NOTA:
A la hora de elegir la alta de montaje, tengaa en cuenta la longitud del cable de connexion.

- Marque los agujeros a la alta眼看 en una linea horizontal.
- Taladre los agujeros con una broca de 05mm
- Inserte los tacos en los agujeros.
- Atornille el soporte en la pared con la alineación indicada.
Colocar la caja del indicator en el soporte de pared

Coloque la caja del indicator en el soporte de pared, tal como se muestra en el dibujo anterior.
El suministro de corriente de la báscula se llama a cabo con pilas o con un equipo de alimentación disponible como accesorio.
Colocar las pilas Se necesitan 6 pilas Mignon, tipo AA, 1,5 V (incluidas en el volumen de suministro).

- Presione sobre el cierre del compartmento para pilas.
- Abra hacía abajo la tapa del compartmento para pilas.
- Retire el soporte de las pilas.
- Coloque las pilas en el soporte.
NOTA:
Tenga en cuenta los polos correctos de las pilas (marcados en el soporte de las pilas). Si en el visor aparece la indicacion bAtt,uede que haya colocado una de las pilas en la posicion contraria o que las pilas esten gastadas.
- Coloque el soporte con las pilas en el compartmentimiento para pilas.
- Cierre el compartmentimiento para pilas.
Conecte el equipo de alimentación (optional)
La báscula puede functionar con un equipo de alimentación disponible como accesorio. Están disponibles dos temas de equipo de alimentación: uno con adaptadores enchufables y uno con conductor Euro bajo.

JADVERTENCIA!
Danos personales y en el aparato debido a una fuente de alimentacion incorrecta
Las fuentes de alimentación habituales en el mercado peuvent proportionscar una tensión más elevada de la que indican. La báscula se pueda sobrecalarntar, incendiar, fundir o poner en cortocircuito.
- Utilice exclusivamente equipos de alimentación originales de seca con 9 V o tension de salute regulada de 12 V.

-
En caso necessario, enchufe en el equipo de alimentacion la clavija necessitiesa para su suministro de corriente.
-
Enchufe la clavija del equipo de alimentacion en el zocalo de connexion de la bascula.
-
Enchufe el equipo de alimentacion a una toma de corriente de la red.
5.5 Colocar la báscula
Nivelar la báscula ;ATENCIón!
Medicina erronea por transmisión parcial de fuerza
Si la báscula con la carcasa se coloca, por典型案例, sobre una toalla, el peso no se mide correctamente.
- Coloque la báscula de tal modo que estén en contacto con el sueño a工程技术 de los tornillos niveladores.

- Coloque la báscula sobre una base firme y lisa.
- Suelte las ruedas moleteadas.
- Nivele el aparato girando los tornillos niveladores.
La burbuja de aire de la fiolaDebe encontrarse exactamente en el centro del círculo.
- Apriete las ruedas moleteadas en el sentido de la flecha.
Los tornillos niveladores están asegurados contra el desajuste.
6. MANEJO

iPRECAUCION! Danos personales
Antes de cada aplicación del aparato, realice un control del functionality de lamania descripción en el apartado "Control del functionality" en la頁a 251.
6.1 Pesaje

iPRECAUCION! Lesión del paciente por caía
Las personas con motricidad limitada能把 caerse cuando intentan subir a la báscula.
-Ayude a las personas con motricidad limitada.
cuando suban a la bascula.
jATENCION! Medicacion erronea porargaincorrecta
Si la energia se aplica de forma unilateral o solamente en una esquina, el peso no se mide correctamente.
- Pida al paciente que se colque en el centro de la báscula.
Encender la báscula

Pulse la tecla Start.
Todo los elementos del visor se muestran brevemente, bajo aparece SECA en el visor.
La báscula está operativa cuando aparece 0.0 en el visor.
Si la báscula está的功能ando con un equipo de alimentación, en el visor aparece el symbolo
Pesar al paciente
635
- Asegürese de que sobre la báscula no haya ningún peso.
- Pida al paciente que suba a la báscula.
- Pida al paciente que se mantenga quieto.
- Lea el的结果ado de la medicación.
Tarar peso adicional (TARE)
Con la funciona TARE puede evaporar que un peso adicional (p. ej. una toalla o una capa sobre la superficie de pesaje) influya en el的结果 del pesaje.
;ATENCION!
Medicina erronea por transmisión parcial de fuerza
Si un peso adicional, p. ej. una toalla grande, toca la superficie sobre la que se sitúa la báscula, el peso no se mide correctamente.
- Asegürese de que los pesos adiciones se situán exclusivamente sobre la superficie de medicación de la báscula.

-
Encienda la báscula.
-
Cologne el peso adicular sobre la báscula.
-
Mantenga pulsada la tecla de cursor (hold/tare) hasta que en el visor aparezca la indicacion "NET".
-
Espere hasta que la indicación deje de parpadear y en su lugar aparezca 0.0.
-
Pese al paciente tal como se describe en el apartado "Pesar al paciente".
-
Lea el的结果をla medicion. El peso adicular se ha restado automatisticamente.
-
Para desactivar la funciona TARE, presione la tecla de cursor (hold/tare) hasta que desaparezca la indication "NET" o desconecte la báscula.

NOTA:
Al peso máximo que se pueda indicar se le reduce el peso de los objetivos ya colocados.
Indicación continua del的结果ado de la medicación (HOLD)
Si activa la funciona HOLD, el valor del peso se vigue indicando afterwards de retiring el peso de la báscula. De este modo puede atender al paciente antes de annotar el peso.
- Asegürese de que sobre la基本情况 no haya ningún peso.
- Encienda la báscula.
- Pese al paciente tal como se describe en el apartado "Pesar al paciente".
- Pulse brevamente la tecla de cursor (hold/tare).



La indicación parpadea hasta que se mide un peso estable. Después se indica el valor de peso de forma continua. Se muestran el símbolo (función no calibrable) y la indicación "HOLD".
- Para desactivar la funciona HOLD, pulse brevemente la tecla de cursor (hold/tare). Desaparecen el símbolo la referencia "HOLD".
NOTA:
Si está activada la función Autohold, el peso se indica automatistically de forma continua hasta que la báscula se apaga o es apagada, vease "Activar la funciona Autohold (Ahold)" en la頁a 240.
Calcular y valorar el indice de masa corporal (BMI)





El indice de mata corporal relacionla alta y el peso proportionsando asi datos más precisos que, p. ej., el peso ideal de Broca. Se indica un margen de tolerancia que se considera optimo desde el punto de vista de la salute.
El aparato dispone de tres memorias para estatas. Usted pueda introducir y almacenar las estatas de pacientes determinados. Alternativamente aarlo, puede almacenar diversos values de partida, y de esta forma ajustar más rápidamente las estatas efectivas de un paciente.
-
Asegürese de que sobre la基本情况 no haya ningún peso.
-
Encienda la báscula.
-
Pulse brevamente la tecla de cursor (bmimenu). Aparece el aviso "BMI". Se muestra la ultima memoria empleada (en este caso la memoria 2).
-
Puede adoptar la memoriamostatada o seleccionar.
otra memoria con las teclas de cursor. -
Confirme su ajuste con la tecla Enter (send/print). En el visor parpadean flechas.
Se muestra laULTima estatura guardada en la memoria seleccionada.

- Puede adoptar la estatura indicada o ajustar另一边 estatura con las teclas de cursor.
- Confirme su ajuste con la tecla Enter (send/print). La estatura introducida se guarda y está disponible de nuevo para el siguientes calculo de BMI.
NOTA:
Anótese la memoria, a fin de poder volver a acceder a la estatura para un nuevo calculo de BMI.
- Pese al paciente tal como se describe en el apartado "Pesar al paciente". El BMI del paciente se calcula y se indica automatistically.
- Lea el BMI y comparélo con las categorías indicadas más abajo.
- Para desactivar la funciona BMI, pulse brevamente la tecla Enter (send/print).

| BMI Valoración | |
| menos de 18,5 | El paciente pesa demasiado poco. Puede haber una tendencia a la anorexia. Se recomienda augmentar de peso para mejorar el bienestar y el rendimiento. En caso de duda se debe consultar a un Médico especialista. |
| entre 18,5 y 24,9 El paciente tiene un peso normal. | |
| entre 25 y 30 (sobre-peso) | El paciente tiene un sobrepeso entre ligero y mediano. Debe-ria reducir su peso si ya tiene alguna enfermedad (p. ej. diab-tes, tensión alta, gotta, colesterol alto). |
| más de 30 | Esurgentte reducir el peso. Hay una sobrecarga del metabo-lismo, la circulación y los huesos. Se recomienda una dieta consecuente, mucho movimiento y un cambio de actitud. En caso de duda se debe consultar a un Médico especialista. |
Enviar los resultados de la medicación a receptores inalámbricos

Si la báscula está integrada en una red inalámbrica seca 360^ wireless, usted可以选择 enviar los resultados de la medicación a aparatos listos para la recepción (p. ej., impresora inalámbrica, PC con adaptor USB inalámbrico) pulsando un botón.
Pulse la tecla Enter (send/print).
- Pulsación breve de la tecla: enviar los resultados de la medicación a todos los aparatos listos para la recepción
- Pulsación breve de la tecla: imprimir el的结果を medecion en la impressora inalámbrica
Calcular e imprintar automatically el BMI
Si utilizes esta báscula jusqu con una impresora inalámbrica y un metro de longitudes del sistema seca 360^ wireless, pueda calcular e imprimir el BMI automatistically.
NOTA:
Un requisito para esta función es que los aparatos estén registrados jintos en un grupo inalámbrico (vease "La red inalámbrica seca 360^ wireless" en la page 243).
- Realice la medicación de la longitud.
- Pulse brevamente la tecla Enter (send/print) del metro de longitudes.
El valor medido se envía a la impresora inalámbrica pero no se imprime.
- Realice el pesaje.
- Pulse de forma prolongada la tecla Enter (send/print) de la báscula.
El valor medido se envía a la impresora inalábrica. Se calcula el BMI.
Se imprimen la longitud, el peso y el BMI.
Cambio automatico del margen de pesaje
La báscula tiene dos margenes de pesaje. En el margen de pesaje 1 (x)usted dispone de una indicación de peso más precisa con una division de la capacité dearga mayor. En el margen de pesaje 2 (y)uede utiliser la maxima capacité dearga de la báscula.
Después de encender la báscula está activo el margen de pesaje 1. Si se sobrepasa un determinado peso, la báscula cambia automatistically al margen de pesaje 2.
Para volver al margen de pesaje 1 proceda de la?siguefte manera:
Retire todo el peso de la báscula.
El margen de pesaje 1 vuye a estar activo.
Desconectar la báscula

Pulse la tecla Start.
NOTA:
Cuando funciona con pilas, la báscula se desconecta automatistically al cabo de 5 instantos si no se coloca ningún peso sobre ella.
6.2 Otras unidades (menu)
En el menu de la báscula hay disponibles otheras functions. De este modo peut configurar la báscula de forma optima para los requisitos del uso que quiera darle.

- La descripción del punto del menu "rF" se incluye en la sección "Utilizar la bascula bajo de un equipo inalámbrico (menu)" en la頁a 245.
Navegar por el menu 1. Encienda la báscula.












Borrar
automátamente los valeurs almacenados
(ACIr)


- Mantenga pulsada la tecla de cursor (bm/i/menu) hasta acceder al menu.
El punto del menu selección porULTima vez aparece en el visor (en este caso: Autohold "Ahold").
- Pulse una de las teclas de cursorantas vezes como seanecessary hasta que en el visor aparezca el punto del menuque se desea (en este caso: Filtrado "Fil").
- Confirme su selección con la tecla Enter (send/print).
Se muestra el ajuste actual del punto del menu o un submenu (en este caso: el nivel "0").
- Para modifier el ajuste o acceder a otro submenu, presione una de las teclas de cursorantas vezes como seanecessary hasta que aparezca el ajuste que se desea (en este caso: nivel "2").
- Confirme el ajuste con la tecla Enter (send/print). El menu desaparece del visor automatamente.
- Para realizarthersajustes,vuelva a acceder al menu yprocedadel modo descririto.
NOTA:
Si durante aprox. 24 segundos no se pulsa ninguna tecla, el menu desaparece del visor automatistically.
Para evaporar que en la memoria del aparato queden resultados de medicaciones que ya no son actuales y que originen un calculo erroneo del BMI,可以更好izar la bascula de talmania que los resultados de la medicacion se borren automatistically al cabo de 5 Minutes.
NOTA:
En algunos modelos esta funciona estáactivada de fabrica. Si lo desea pueda desactivar la functiOn.
- Seleccione en el menu el punto "ACir".
- Confirme la selección.
-
Seleccione el ajuste que desees:
-
On
-
Off
-
Confirme la selección.
El menu desaparece del visor automatamente.
Almacenar de forma continua el peso adicional (Pt)
Con la función Pre-Tara pueda almacenar de forma continua un peso adicional y restarlo automatistically del的结果を una medicación. Por exemple, pueda almacenar un peso global para calzado y ropa, y siempre restarlo del結果をla medicación cuando un paciente se pese Completely vestido.

El aparato dispone de tres memorias para values de peso. Usted pueda almacenar diversos values de peso y, según la situación de partida, acceder a ellos individualmente, de forma que se restan automatistically del的结果をla medicación.

- Seccione en el menu el punto "Pt".
Aparece el aviso "Pt".

- Confirme su selección.
Se muestra la memoria utilizada por ultima vez.
- Puede adoptar la memoria在哪樣o seleccionar other memoria con las teclas de cursor.

- Confirme la selección.
En el visor parpadean flechas.
Se muestra el peso adicular almacenado en la memoria seleccionada.
- Puede adoptar el valor almacenado o cambiarlo con las teclas de cursor.
NOTA:
Si introduce el valor "0", la funciona se desconecta. En el visor ya no aparece el avis "Pt".
-
Confirme su selección.
-
Pida al paciente que secoloque sobre la báscula.
Se indica el peso del paciente.
El peso adicional almacenado se ha restado automaticamente.
-
Para desactivar la funciona, selección en el menu de nuevo el punto "Pt".
-
Confirme su selección.
La función está desactivada.
El menu desaparece del visor automatamente.


NOTA:
Si apaga laquina, la funciona se desconecta. En el visor ya no aparece el avis "Pt" al volver a encender laquina.
Activar la funciona Autohold (Ahold)
Si activa la funciona Autohold, en cada pesaje el的结果をの medicion se sigueindicando afterwards de retirar el peso de la bascula. Ya no esnecessaryactivarmanualmentela funcionaHoldencadaspesaje.
NOTA:
En algunos modelos esta funciona está activada de fabrica. Si lo desea pueda desactivar la direccion.
AHOLD
- SeLECTIONE en el menu el punto "Ahold".
On
-
Confirme la selección. Se muestra el ajuste del momento.
-
Seleccione el ajuste que desees:
-
On
-
Off
-
Confirme su selección. El menu desaparece del visor automatamente.
Activar tonos de senal (BEEP)
Puede ajustar que al pulsar cada tecla y al alcancar un valor estable del peso se oiga o no un tono de senal. Este es importante para la funciona Hold/Autohold.
NOTA:
La funciona "Tono de senal para valor estable del peso" estáactivada defabrica. Si lo desea pueda desactivar esta funciona.
BEEP
- SeLECTIONE en el menu el punto "BEEP".
PreSS
-
Confirme la selección.
-
Selezionenu punto delmenu.
-
Press: tono de senal al pulsar una tecla
-
Hold: tono de senal con un valor estable del peso.
-
Confirme su selección. Se muestra el ajuste del momento.
On
-
Seleccione el ajuste que deseee: -On -Off
-
Confirme su selección. El menu desaparece del visor automatamente.
-
Si también deseaactivar los tonos de senal para lasegundafunciOn,repita elproceso.
Ajustar filtrado (Fil)
Con el filtrado (Fil = Filter) puede reducir las interferencias a la hora de calcular el peso (por exemple las debidas a movimientos del paciente).

- Seccione en el menu el punto "Fil".

- Confirme la selección.
Se muestra el ajuste del momento.

-
Selezione un nivel de filtrado.
-
0: sin filtrado
-
1: filtrado medio
-2: filtrado alto -
Confirme la selección.
El menu desaparece del visor automatamente.
Restablecer la configuración de fabrica (RESET)
Para las siguientes sistemas你可以 restablecer la func tion de fabrica:
| Función | Configuración de fábrica |
| Autohold (Ahold) | dependiendo del modelo |
| Tono deolenal (Press) off | |
| Tono deolenal (Hold) on | |
| Filtrado (Fil) 0 | |
| Autoclear (Aclear) | dependiendo del modelo |
| Pre-Tara (Pt) 0 kg | |
| Longitud para el indices de masa corporal (BMI) | 170 cm |
| Módulo inalámbrico (SYS) off | |
| Autosend (ASend) off | |
| Autoprint (APrt) off |
NOTA:
Al restablecer la configuración de fabrica se desconecta el modulo inalámbrico. Se mantiene la información sobre los grupos inalámbricos existentes. Los grupos inalámbricos no se tenen que volver a establercer.
RESET
- Seccione en el menu el punto "Reset".
- Confirme la selección.
El menu desaparece del visor automatamente.
- Apague la báscula.
La configuración de fabrica se restablece y está disponible cuando la báscula se vuelva a encender.
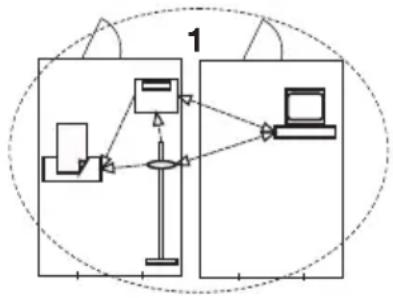
7. LA RED INALÁMBRICA SECA 360° WIRELESS
7.1 Introduccion
Este aparato está equipado con un modulo inalámbrico. El modulo inalámbrico permitte realizar una transmisión sin cables de los resultados de la medicación para su valoración y documento. Los datos seonian transmitir a los siguientes aparatos:
- seca Impresora inalámbrica
- PC con adaptor USB inalámbrico seca
seca Grupos inalámbricos
La red inalábrica seca 360^ wireless funciona con grupos inalábricos. Un grupo inalábrico es un grupo virtual de emisores y receptores. Si esnecessaryutilizar variedesemisorysreceptoresdelmeso tipo, con este aparato se pueda instalar hasta 3 grupos inalábricos (0,1,2).

La instalación de variedos grupos inalábricos garantiza una transmisión fiable y dirigida correctamente de los values de medicación cuando varías salas de consulta deben estar configurado con un equipuesto de aparatos similar.

La maxima distancia entre emisores y receptores es de aprox. 10 metros. Algunas circunstancias locales, por典型案例 el espesor y las caracteristicas de las paredes, puede reducir el alcance.
Por cada grupo inalámbrico se pueda realizar lasuma de combinación de aparatos:
- 1 báscula para bebés
- 1 báscula para personas
1 metroparalongitudes
1 seca Impresora inalámbrica - 1 PC con adaptor USB inalámbrico seca

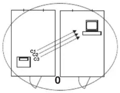
Canales Dento de un grupo inalámbrico, los canales se comu-
nican entre sí mediante tres canales (C1, C2, C3). De este modo se garantiza una transmisión de datos friable y sin interferencias.
Si con esta báscula estálece unGrupo inalámbrico, el aparato le sugiere tres canales que garantizan una transmisión de datos perfecta. Recomendamosadoptar los númeroos de los canales sugeridos.
Tambien peut elegir los nombres de los canales (de 0 a 99) de forma manual, por exemple, si desea establercer various grupos inalábricos.
Para garantizar una transmisión de datos sin interferencias, los canales deben estar suficientementeSeparatedos. Recomendamos una separacion de los nombres de los canales de al menos 30. Cada numero de canal peut utilizese unicolemente para un canal.
Ejempio de configuracion: nombres de los canales al establisher 3 grupos inalambricos bajo de una consulta:
- Grupo inalámbrico 0: C1=_, C2=30, C3=60
- Grupo inalámbrico 1: C1=10, C2=40, C3=70
- Grupo inalámbrico 2: C1=20, C2=50, C3=80
Reconocimiento de aparatos
Si establiece un equipo inalámbrico con la báscula, esta buscaotiros aparatos activos del systema seca 360^
wireless. Los aparatos reconocidos se muestran en el visor de la báscula como发展模式 (por exemple
"MO 3"). Los númeroos tienen elARRYante significado:
1: Báscula para personas
2: Metro de longitudes
- 3: Impresora inalámbrica
- 4: PC con adaptor USB inalámbrico seca
- 7: Báscula para bebés
- 5, 6 y 8-12: Reservados para una amplisión del sistema
7.2 Utilizar la基本情况 bajo el control de un grupo inalábrico (menu)
Todas las functions que nécessita para usar el aparato dentro de un grupo inalámbrico seca se encuentran en el submenu "rF". Puede encontrar información de como navigate por el menu en頁a 238.

Activar el modulo inalámbrico (SYS)
El aparato se suministra con el modulo inalámbrico desactivado. Debe activarlo para poder establisher un grupo inalámbrico.
NOTA:
Si activa el modulo inalámbrico, AUGmente el consumo de electricidad del aparato. Para utilizez el aparato bajo de una red inalámbrica recomendamosemployar un equipo de alimentacion.

- Encienda el aparato.
- Seleccione en el submenu "rf" el punto del menu "SYS".
- Confirme la selección.
- Seleccione el ajuste "On".
- Confirme la selección. El menu desaparece del visor automatamente.
Establecer el grupo inalámbrico (Lrn)
Para建立起 un equipo inalámbrico, proceda de lasuma眼看:
F
- Encienda el aparato.
- Acceda al menú.
- SeLECTIONE en el menu el punto "rF".
- Confirme la selección.
- Sezione en el submenu "rF" el punto del menu "Lrn" (learn).
- Confirme la selección.
Se muestra el grupo inalámbrico ajustado ahora (en este caso: grupo inalámbrico 0 "Id 0").
n
Id
Si ya existe el grupo inalámbrico "0", selección con las teclas de cursor octra ID (en este caso: grupo inalámbrico 1 "Id 1").
10
- Confirme su selección del grupo inalámbrico.
El aparato sugiere un número de canal para el canal 1 (en este caso: C1 "0").
Puede adoptar el número de canal sugerido o ajustar除外 número de canal con las teclas de cursor.
- Confirme su selección para el canal 1.
[230
El aparato sugiere un número de canal para el canal 2 (en este caso: C2 "30").
Puede adoptar el número de canal sugerido o ajustar除外 número de canal con las teclas de cursor.
NOTA:
La representation de nombres de canal de dos digitos se llama a cabo sin espacios vacios. Laadicacion "C230"significa: canal "2", numero de canal "30".
- Confirme su selección para el canal 2.
[360
El aparato sugiere un número de canal para el canal 3 (en este caso: C3 "60").
Puede adoptar el número de canal sugerido o ajustar除外 número de canal con las teclas de cursor.
- Confirme su selección para el canal 3.
56OP
El aviso StOP aparece en el visor.
El aparato expectsa snales deothers aparatos inalambricos al alcance.
NOTA:
En algunos aparatos se debe seguir un procedimiento de encendido especial cuando se deben Integrar en un grupo inalámbrico. Tenga en cuenta las instrucciones de uso de cada aparato.
- Encienda el aparato que quiera integrar en el grupo inalábrico, por exemple una impresora inalábrica. Cuando se ha Reconocido la impresora inalábrica, se pueda oir un pitido.
NOTA:
En cuando haya integrado una impresora inalámbrica en el grupo inalámbrico debe selecciónar unaopsis (menu\rF\APrt) yajustar la hora (menu\rF\time).
- Repita el paso 11. para todos los aparatos que desee integrar en este grupo inalámbrico.
- Pulse la tecla Enter para finalizar el proceso de búsqueda.
- Pulse una de las teclas de cursor para que se le indique qué aparatos se han Reconocido (en este caso: "MO 3" para una impresora inalámbrica). Si ha integrado various aparatos en el grupo inalámbrico, pulse las teclas de cursor varias vezes para asegurarde que todos los aparatos han sido reconocidos por la báscula.
- Salga del menu con la tecla Enter o espere a salir automatamente del menu.
Activar la transmisión automática (ASend)
Puede configurar el aparato de talmania que los resultados de la medicación se envien automatistically a todos los receptores listos para la recepción y registrarlos en el mesmo grupo inalámbrico (por exemple: impresora inalámbrica, PC con adaptorador USB inalámbrico).
NOTA:
Si utilizes una impresora inalábrica, asegúrese de que la función de impresión no está ajustada a "Off" (vease "Selecciónar)—opión de impresión (APrt)" en la párgina 248).
- Encienda el aparato.
- Seleezione en el submenu "rF" el punto del menu "ASEnd" y confirme la seleccion.
A5End
0n
- Seccione el ajuste "On" y confirmre la seleccion. El menu desaparece del visor automatamente.
Selección opuesta de impresión (APrt)
Puede configurar el aparato de talmania que los resultados de la medicación se impriman automatistically en una impresora inalámbrica registrada en el grupo inalámbrico.
NOTA:
Esta funciona solo es accesible si a工程技术 de la func tion "learn" se ha integrado una impressora inalámbrica seca en el grupo inalámbrico.
APrE
- Encienda el aparato.
- Seccione en el submenu "rF" el punto del menu "APrt" y confirme la seleccion.
-
Selección el ajuste apropiado para su combinación de aparatos:
-
HI: resultados de la medicación de los aparatos de medicación de longitudes
- MA: resultados de la medicación de básculas
- HI_MA: resultados de la medicación de los aparatos de medicación de longitudes y BASCAS
- Off: sin impresión automática, impresión a工程技术 de pulsación larga de la tecla Enter durante el proceso de pesaje.
图
- Confirme su selección.
El menu desaparece del visor automatamente.
Ajustar la hora (Time)
Puede configurar el sistema de talmania que la impresora inalámbricaañada automatistically la Fecha y la hora a los resultados de su medicación. Paraarlo debe ajustar una vez la Fecha y la hora en este aparato y Transmitirlas al reloj interno de la impresora inalámbrica.
NOTA:
Esta funciona solo es accesible si a工程技术 de la func tion "learn" se ha integrado una impressora inalámbrica seca en el grupo inalámbrico.
EINE
- Encienda el aparato.
- Sezione en el submenu "rF" el punto del menu "tIME".
- Confirme la selección. Se muestra el ajuste actual de "Año" (YEA).
YEA10
- Ajuste el número de año correcto.
- Confirme la selección.
- Repita los pasos 3. y 5. de acuerdo al "Mes" (Mon), "Día" (dAy), "Hora" (hour) y "Minuto" (Min).
- Confirme cada una de sus selecciones.
Después de confirmar el ajuste de los Minutes el menu desaparece del visor automatístico.
Los ajustes se transmiten automatistically a la impersonora inalámbrica.
La impresora inalámbricaañade automatistically a cada impresión la Fecha y la hora.
NOTA:
Para seguir manejando la impressora inalámbricatenga en cuenta sus instrucciones de uso.
8. PREPARACION HIGIENICA

JADVERTENCIA!
Electrocución
El aparato no queda sin corriente cuando se pulsa la tecla CON/DES y se apaga el visor. En caso de aplicar liquidos en el aparato se pueda producir una descarga electrica.
- Para que el aparato quede sin corriente, desenchufe la clavija de alimentacion antes de cada preparacion higiénica.
- Asegürese de que no能把nninger liquidos al aparato.

PRECAUCION!
Danos en el aparato
Los produits de limpieza y los desinfectantes inadequados peuvent darar las superficies del aparato.
- No utilise products de limpieza corrosivos o abrasivos
- No utilise alcohol gasolina.
- Utilice exclusivamente desinfectantes que sean adecuados para superficies sensibles. Los desinfectantes adecuados se pueda adquirir en un commercio especializzato.
8.1 Limpieza
Si es besoinio, limpie la superficie del aparato con un paño suave, humedecido en su caso con una lejía jabonosa suave.
8.2 Desinfección
ATENCLION!
Danos en el aparato
Los cristales de las escalas y los visores son de vidrio acrificio. Los cristales de vidrio acrificio se pueda rajar o enterbier si se utilizes desinfectantes inadequados.
-
Utilice exclusivamente desinfectantes que sean adecuados para superficies sensibles. Los desinfectantes adecuados se peuvent adquirir en un commercio especializzato.
-
Observe las instrucciones de uso del desinfectante.
- Desinfecte el aparato en intervalos regulares con un paño suave humedecido con un desinfectante adecuado.
- Tenga en cuenta los siguientes plazos:
| Plazo Componente | |
| Antes de cada medicación con contacto directo con la piel | Plataforma de pesaje |
| Después de cada medicación con contacto directo con la piel | Plataforma de pesaje |
| En caso de necesidad | • Visor • Teclado de membrana sensible |
8.3 Esterilización
No está permitida la esterilización del aparato.
Realice un control del funciona bajo antes de cada aplicacion.
Un control completo del funcionaamento comprende:
- Comprobación visual en cuando a daños mecánicos
- Comprobación visual y del funciona del visor
- Comprobación del functionality de todos los elementos de mando representados en el capítulo "Vista general"
- Comprobación del functionality de los accesos OPCIONALES
Si detectara errors o discrepancies al realizar el control del functionality, intente primero subsanar el fallo con ].a?. a partir de la page 252.
PRECAUCION!
Danos personales
Si al realizar el control del funciona detectara errors o discrepancies que no puden subsanarse contips del capitulo "¿Qué hacer cuando..." a partir de la pagea 252,deferá abstenerse de utiliser el aparato.
-
Haga reparar el aparato por el servicei technique de seca o un serviceo postventa autorizzato.
-
Tenga en cuenta la sección "Mantenimiento/recalibrado" en la頁a 254.
10.À QUÉ HACER CUANDO...
| Avería Causa/solución | |
| ... al colocar un peso no aparece ninguna indicatorde peso? | La:báscula no tiene alimentación electrónica. - Comprobar que la:báscula está conectada. - Comprobar que se han puesto las pilas. |
| ... antes del pesaje no aparece 0.0? | El peso se colocó antes de encender la:báscula. - Retirar el peso de la:báscula. - Apagar y volver a encender la:báscula. |
| ... un segmento se ilu-minacontinuamente o nunca? | El punto correspondiente indica un error. - Informar al servicios de mantenimiento. |
| ... aparece el avis ? | La tensión de las pilas va disminuyendo. - Colocar cuando antes pilasURTAS. |
| ... aparece el avis "bAtt"? | Las pilas está gastadas. - Colocar pilasURTAS. |
| ... aparece el avis "StOP"? | Se ha superado el peso máximo. - Retirar el peso de la:báscula. |
| ... aparece el avis "tEMP"? | La temperature ambiente de la:báscula esdemasiado elevado ocreamido bajo. - Colocar la:báscula a una temperaturainstrumente entre +10 °C y +40 °C. - Esperar aprox. 15 minutos hasta que la:bás-cula se haya adaptado a la temperaturaambiente. |
| ... después de encenderla báscula se envian porprimera vez resultadosde la medicación y se oyendos tonos deSEO? | ·El aparato no ha podido enviar ningúnresultado de medicación al receptor inalámbrico(impresora inalámbrica seca o PC con adaptador USB inalámbrico seca).- Asegúrese de que la báscula se enquiryenta integrada en la red inalámbrica.- Asegúrese de que el receptor está encidendo.·La recepción está obstaculizada por un aparato AF (por exemple un téléphone móvil) que seencuentra cerca.- Mantenga una distancia minima de 1 metroentre los aparatos AF y los emisores y reteptores bajo de la red inalámbrica seca. La potencia efectiva de transmisión de los aparatos AF pueda requisirardistancias minimasde más de 1 metro. Encontrará más detallesen www.seca.com.NOTA:Si esta interferencia no se soluciona, en lossiguientesintentos de envío no se emiteotraSEO acústica. |
| ... en el menu "rF" solo se pueda ver el punto“SYS”? | ·El modulo inalámbrico está desactivado.- Activar el modulo inalámbrico (véase “Activarel modulo inalámbrico (SYS)” en lapellina 245). |
| ... en el menu "rF" solo se pueda ver los+puntos“SYS” y “Lrn”? | ·El modulo inalámbrico está activado y no se hesteablecido ningún grupo inalámbrico.- Establisher el groupe inalámbrico (véase “Establercer el groupe inalámbrico (Lrn)” en lapellina 246). |
| ... en el menu "rF" no sepuede ver los+puntos“APrt” ni “Time”? | ·No se ha registrado ninguna impressora inalámbrica en el groupe inalámbrico.- Registrar la impressora inalámbrica a工程技术 del punto del menu “Lrn” en el groupe inalámbrico(véase “Establishecer el groupe inalámbrico (Lrn)” en lapellina 246). |
| ...tras acceder al menúno se indica el punto“rF”? | ·El modulo inalámbrico de la báscula estáaveriado.- Llamar al service teteño seca. |
| ... aparece el avis “Er:X:11”? | Se ha colocado un peso demasiado elevado en la báscula o se ha cargado en excesso una esquina. - Retirar el peso de la báscula o distribuir el peso uniformamente. - Encender de nuevo la báscula. |
| ... aparece el avis “Er:X:12”? | La báscula se ha encendido con un peso demasiado elevado. - Retirar el peso de la báscula. - Encender de nuevo la báscula. |
| ... aparece el avis “Er:X:16”? | La báscula ha vibrado, no se ha podido determinar el punto cero. - Encender de nuevo la báscula. |
| ... cuando se pulsa la tecla Enter (send/print) y aparece el avis “Er:X:71”? | No es possible transmitir los datos, el modulo inalámbrico está desactivado. - Activar el modulo inalámbrico (véase “Activar el modulo inalámbrico (SYS)” en la頁a 245). |
| ... cuando se pulsa la tecla Enter (send/print) y aparece elviso “Er:X:72”? | No es possible transmitir los datos, no se ha establishido el grupo inalámbrico. - Establecer el grupo inalámbrico (véase “Establecer el grupo inalámbrico (Lrn)” en la頁a 246). |
11.MANTENIMIENTO/RECALIBRADO
11.1 Información sobre el mantenimiento y recalibrado
Antes del recalibrado del aparato recomendamos que realiza una revisión de mantenimiento.
ATENCLION!
Mediciones erroneas en caso de mantenimiento inadequado
-
Los trabajo de mantenimiento y las reparaciones deben ser realizados únicamente por el Servicio técnico seca o un equipo de servicios autorizado.
-
El equipo de servicios más cercano lo encontrará en www.seca.com o enviando un correto electrónico a service@seca.com.
Haga que el recalibrado sea realizado por personas autorizadas de acuerdo a las disponeciones legales naciales. El ano del primer calibrado se encuentra detras de lamarca CE en la chapa de identificacion sobre el numero de la oficina mentionada 0109 (Hessische Eichdirektion).
En cualquier caso un recalibrado esnecessary cuando uno o variedesellos deseguidadestandanados o el contenido del控制器 no coincide con el numero del sello valido del控制器.Si hayPRECINTOSde seguidadanaidos, consulte directamente al Servicio专业技术e.
11.2 Comprobar el contenido del contador
Esta báscula seca está calibrada. El calibrado debe ser realizado únicamente por ofecinas autorizadas. Para garantizar esta condidión, la báscula está equipada con un contador que registraequalquiermericano de los datos relevantes de la的技术a de calibrado.
Si quiere comprobar si la báscula está calibrada correctamente, proceda de laARRYEE manera:

- Apague, si esnecessary, la báscula.
- Mantenga pulsadarialquierteclayencienda la bascula.
En el visor parpadea durante uno poco segundos el contenido actual del contador.
- Compare el contenido del contador indicado con el número indicado en el sello del控制器.
Para un calibrado社会稳定 deben coincidir los dos númeroos. Si el sello y el contador no coinciden, se debe realizar un recalibrado. Dirijase a su-oficina de serviceposventa o al serviceo al cliente de seca. Si se ha realizado el recalibrado se utilizes un nuevo sello del contador,actualizzato,para identificar el contador.La persona autorizada para el recalibrado asegura este sello con un sello adicular. El sello del contador se pueda solicitar al serviceo al cliente de seca.
12.DATOS TECNICOS
12.1 Datos&Tecnicos generales
| Datas技术和 generales seca 635 | |
| Dimensiones BAScula • Fondo • Ancho • Alto | 600 mm 640 mm 46 mm |
| Dimensiones plataforma de pesaje • Fondo • Ancho • Alto | 600 mm 600 mm 46 mm |
| Peso propio aprox. 14,1 kg | |
| Margon de temperatura • Funcionamento • Almacenamento • Transporte | +10 °C a +40 °C / +50 °F a 104 °F -10 °C a +65 °C / +14 °F a 149 °F -10 °C a +65 °C / +14 °F a 149 °F |
| Presión de aire • Funcionamento • Almacenamento • Transporte | 700-1060 hPa 700-1060 hPa 700-1060 hPa |
| Humedad del aire • Funcionamento • Almacenamento • Transporte | 30 % - 80 % sin condensación 0 % - 95 % sin condensación 0 % - 95 % sin condensación |
| Altura de los+numeros 25 mm | |
| Suministro de corriente Pilas, equipo de alimentación optional | |
| Consumo de electricidad • con el[módulo inalábrico desactivado • con el[módulo inalábrico activado | aprox. 25 mA aprox. 42 mA |
| Duración的最大con pilas • con el[módulo inalábrico desactivado • con el[módulo inalábrico activado | aprox. 4800 pesajes Equipo de alimentación recommendado |
| Producto sanitario según la Dirección 93/42/CEE | Clase I con funciona de medicación |
| EN 60601-1: • aparato con aislamento de protección, cline de protección II: • aparato electromédico, tipo B: | □ ▲ |
| Transmisión inalábrica • Banda de Frequencia • Potencia de transmisión • Normas aplicadas | 2,433 GHz - 2,480 GHz < 10 mW EN 300 328 EN 301 489-1 EN 301 489-17 |
12.2 Datos技术和 pesaje
| Datas技术和es pesaje | |
| Calibrado según la directiva 2009/23/CE Clase III | |
| Carga maxima ·Campo parcial de pesaje 1 ·Campo parcial de pesaje 2 | 200 kg 300 kg |
| Carga minima ·Campo parcial de pesaje 1 ·Campo parcial de pesaje 2 | 2,0 kg 4,0 kg |
| División de precisionión ·Campo parcial de pesaje 1 ·Campo parcial de pesaje 2 | 100 g 200 g |
| Campo de tara 300 kg | |
| Precisión en el primer calibrado ·Campo parcial de pesaje 1, hasta 50 kg ·Campo parcial de pesaje 1, 50 kg hasta 200 kg ·Campo parcial de pesaje 2, hasta 100 kg ·Campo parcial de pesaje 2, 100 kg hasta 300 kg | ±50 g ±100 g ±100 g ±200 g |
| seca 360° wireless Aparatos | Número de articulo |
| Metros de longitudes • seca 274 • seca 264 | Variantes disponibles de cada País Variantes disponibles de cada País |
| Impresora inalábrica • seca 360° wireless printer 465 • seca 360° wireless printer advanced 466 | Variantes disponibles de cada País Variantes disponibles de cada País |
| Software del PC • seca analytics 115 | Paquetes de licencia disponibles para cadaAPPEDeción |
| seca 360° wireless USB adapter 456 456-00- | 00-009 |
14.PIEZAS DE RECAMBIO
| Piezas de recambio Núm. articULO | |
| Alimentador con conductor Euro: 230 V~ / 50 Hz/12 V= / 130 mA | 68-32-10-252 |
| Equipo de alimentación de fuente conmutada con adaptadores: 100 - 240 V~/50 - 60 Hz/12 V=/0.5 A | 68-32-10-265 |
15.ELIMINACION
15.1 Aparato

No elimine el aparato en la basura domestica. El aparato se debe eliminar de forma apropriada como material electrónico. Tenga en cuenta las disponeciones sociales de su País. Para más información, dirijase a nuestro service:
service@seca.com
15.2 Pilas y baterías

No deposite las pilas ni las baterias usadas en la basura domestica, independiente de si contienen o no materiales nocivos. Como usuario tiene la obligacion legal de eliminar las pilas y las baterias en+puntos de recogida municipales o commerciales. Entregue las pilas y las baterias solo completenessdescargadas.
16.GARANTÍA
Para los defectos implicados a errors del material o de fabrica existe una garantía de dos años a partir del suministro. Todas las piezas mívolles, como pilas, cables, equipos de alimentación, accumulatoradores, etc., queden excluidas de la garantía. Los defectos que se incluyen Dentro de la garantía serán reparados gratuamente presentando la factura de la compra. No se podrá tener en cuenta otheras exigencies. Los costes del transporte de iday y vuelta corren a cargo del cliente en el caso de que el aparato se ocurren en un lugar diferente al domicilio del cliente. En caso de causarse daños durante el transporte, los derechos de garantía solo son validos si para el transporte se ha empleado el embalaje original completo y la báscula se ha protegado y sujetado conforme al estado del embalaje original. Por este motivo, conserve todas las piezas del embalaje.
La garantía noiene validez cuando el aparato haya sido abierto por personas que no estén autorizadas paraarlo expresamente por seca.
A los pacientes residentes en el extranjero les rogamos se dirijan directamente al vendedor de su País correspondiente para casos relacionados con la garantía.
INDICE
1. Certificado 263
2. Descrizo do aparelho 264
2.1 Parabéns! 264
2.2 Finalidade de uso ... 264
2.3 Descrizao do functiomento 264
2.4 Qualificacao do'utilizar . . . 265
Montagem 265
Utilização 265
8. Tramento higiénico 301
Perigo para o paciente, danos no aparecido
AVISO! Perigo de queda
Perigo para o paciente
5. ANTES DE INICIAR A UTILIZACHO DEVE...
5.1 Escopo de fornecimento

São necessarias 6 pilhas Mignon, tipo AA, de 1,5 V (incluidas no escopo de fornecimento).
Ferimento do paciente devido a queda
O aparecido sugere um número de canal para o canal 1 (aquí: C1 "0").
Pode aceitar o número de canal sugerido ou definir除外ly.
otro número de canal com as teclas de seta.
O aparecido sugere um número de canal para o canal 2 (aquí: C2 "30").

Pode aceitar o número de canal sugerido ou definir除外ly.
otro número de canal com as teclas de seta.
NOTA:
Pode aceitar o número de canal sugerido ou definir除外ly.
otro número de canal com as teclas de seta.
NOTA:
14.PEÇAS SOBRESSALENTES
...corresponde a la ].muestra descriita en el certificado sobre el permiso de construccion.
La báscula cumple las exigencias vigentes de las siguientes directivas:
2009/23/CE relativa a los instrumentos de pesaje de configuracion no automatico; 93/42/CEE sobre productos sanitarios.
Adicondionalmente se aplicarán, entre otheras, las normas seguidentes:
EN 45501 sobre aspectos metrologicos de los instrumentos de pesaje de funcionajo no automatico; EN 300 328, EN 301 489-1 y -17 sobre compatibilidad electromagnética y cuestiones del aspectro radioelectrico.

ManualFácil