PondoAir Set 450 - Воздушный насос Pontec - Бесплатное руководство пользователя
Найдите руководство к устройству бесплатно PondoAir Set 450 Pontec в формате PDF.
Questions des utilisateurs sur PondoAir Set 450 Pontec
0 question sur cet appareil. Repondez a celles que vous connaissez ou posez la votre.
Poser une nouvelle question sur cet appareil
Скачайте инструкцию для вашего Воздушный насос в формате PDF бесплатно! Найдите своё руководство PondoAir Set 450 - Pontec и возьмите своё электронное устройство обратно в руки. На этой странице опубликованы все документы, необходимые для использования вашего устройства. PondoAir Set 450 бренда Pontec.
РУКОВОДСТВО ПОЛЬЗОВАТЕЛЯ PondoAir Set 450 Pontec
| ☐ A | PondoAir Set | Описане | ||
| 200 | 450 | 900 | ||
| Колочево | Колочево | Колочево | ||
| 1 | 1 | 1 | 1 | Насов Вентлилара с сетевы м кабелем 1,5 M |
| 2 | 2 | 2 | 2 | Воздуньийшилг 5 M |
| 3 | 2 | 2 | 2 | Камень-aэратор |
| 4 | 2 | 2 | 4 | Мембрана (запасаня) |
| 5 | - | - | 2 | Y-образнý расправедитейь |
UcnoJb3ObaHne np6opa no Ha3HaueHnIO
PondoAir Set 200/450/900, danee B TeKCTe "YcTpoiCtBO", pa3peuaeTcNcNoJIb3OBA Tb NCKJIIOHTeNbHO TaK, KaK yka-3aHo Hnke:
-ДяВeHTnIaunIиобсneчehЯ caObBix npydoB KncIopoIOM.
-Дяинбзовая В сонтаньх устанькх и npудан.
- 3Kcnnyataa npn co6nOeHn TeHNuecknx daHHbIX.
B 3mHn nepno np6op moxho ncoJb3oBaTb B kauecTBpe npncoc6neHn oT 3amep3aHn BOOema. YcNoBHe: BHeuHr TemnepaTypa He dONXHa ONyCaTbcra Hnke DOnyCTMOn.
YcTaHOBka n IOdCoeINHeHne
B,C,D
Pa3MeueHne ycTpoCtBa
- Topn30HTaIbHo yCTaHOBtB np6Op, yTO6bI OH 6bI 3aUuIeH OT 3aTOnJIeHn. Be3onacHoe pacctOraHHe Do BOIbI DOJXHO COCTABrMbMmym 2 MeTpTa.
- YctaHOBtB npHbOp HaI yPOBHeM BObI, TAK KAK OH, B IpOTnBHom Cnyae, MoXeT 6bITb NOBpeXJeH OTKaTbIBaHO-
Peknamaun O nobpekdeHnx, Cb3aHbIX C HnpabunbHO yCTaHOBko, He MoryT paccMaTpnbTaBcB paMKax npedocTabHe nraapHTnHbIX 63aTeJIbCTB.
PoiKJIIOHHTb npn6op
- YctaHOBntb BO3dUHbI WlaHr TaKIM 06pa3OM, YTO6bl OH 6bln 3aunueH, N YTO6bl OH HaxoDnnc npn 3TOM Ha MNHmAJbHO KOPOTKOM pACCTOHH.
Kameh-b-aapatop coeINHtB C BO3nyHbIM JNaHrom I NOMEcTnB B npye.
Cbo6oHbI KOHeu BO3dyuHoro 7laHra BCTaBnTb B paCIOJIOKeHHoe Ha np6ope OTBepcTne IyBaXOda Bo3dyxa.
BbO B 3Kcnpnyatauio
Bknouhtb: POncoeHNHTe np6op K cetn. Pnp6op BkniOuaTcH HeMeJeHNO.
BbIKHIOHTb:OTKIOHTyeCTPOCTBOOTcETN.
| Немправноctrь | Прочина | Устраенье |
| Устroduстwo He paBOTaET | Осутствия наразожения в сети | Проберcrete сeteвое наразожения |
| Пробор He haRHeTaET Bo3dUx Или пюзВODи-Тельность HeydOblTeBOPrIteNbHa | Камень-aэратор загязnéн | Очирcrete Или заMuhenite Камни-aэрт彬. |
| Во3dUnHbФильtp загязnéн | Очирcrete Или заMuhenite Во3dUnHbФильtp | |
| Во3dUnHbшланг поегнUT Или поисту | Уложichte Во3dUnHbшланг поегнБов Или заMuhenite. | |
| Мemбрана порев dedиа | Заменfte обe Мemбраны. | |
| Пробор paBOTaET Ненивунно ГROMKO | Мemбрана поев dedиа | Заменfte обe Мemбраны. |
N3HaWNBaIOUncnecJTeTaN
- MembpaHa
Bo3dyuHbIΦnIbTp - KameHb-aəpaTop
OuNTka n yxoi

PPEyPPEKDEHNE
Bo3MOxHeN cMeTeJIbHbI INCXoI INI cepBe3HbIE TpaBMBI BCJeCDTBne ONaCHOrO 3JIeKTPnueckORO HAnpJKeHnI!
- Ipexke yem norpy3ntb pykn B BOy, o6ra3aTeJbHO OTKJIIOHTe cTeBOe HAnpJxHHe OT BCEX yCTpoiCTB, HaxoJaunxCBA BOJe.
- Ipeed BbIIOJIHeHem pa6oT ha yctpoiCTBe OTKIOUHTe ceTeBOe HAnpJKeHne.
OuHCTnTb Bo3dyHbI ΦnIbTp
Heo6xoJIMO BbInOJIHHb CJIeDyUOJIne DeIcTBnIa:
E
1.ИЗВЕКИТЕДерЖATEЛБФИЛТРаИЗНХСЕЧТЮКОРПУСАС ПOMОЦьЮ OTBЕРТК.
2. CHIMITE ΦιλβτροBaJbHbI ΜεΤκaHbI MaTeρηaJI N BbIδeIte erO nII - no CHTyaLm - 3aMeHInTe.
3. BdInhIe nIbTpObaIbHbI HeTkaHbMaTePnAaB DepeKxATEb
-Obpatnte BnImaHne Ha KoJIbIcO kpyrIoro CeueHnra - OHO qKcnpye TepKaTeIb qNtpa Ha Kopnyce.
- C6paTb npu6op B o6paTHo nocJeObaTeIbHocTn.
3aMeHHTb Mem6paHbI
Ecn npacxOIO B03dyxa cHJKeH, Heo6xoDIMO 3aMeHHTb Mem6paHb IHeBMOdBnraTeJI. Ipy 3TOrO Heo6xoDIMO DEMOHNTPOBaTb IHeBMOdBnraTeJIb.

YKA3AHNE
- Pπb6op Hηb3Я ΚκπηλγaTIpOBaTb npi HαΠuγιν ΜΟβεχДeHHbIX Mm6paH.
B IIO6OM cnyae doJXHbI 6bIT b3aMeHeHbI o6e Mem6paHbI, daxKe TOrda, KOrda ToNbKO OJHa U3 HIX IMeET deΦeKT. NopAOK DeiCTBn uDeHTNUHbI. - Пожибдьтб заму саоctялбно 3anpeшсno,прн Heo6xOuIMocTи obpaTneTec b BaIeMy dInepy.
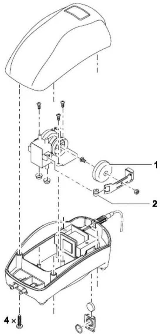
Otkpbibahne kopnyca
□F
- BbIKpyTte BnHTbI Ha HnKHeu cactn Kopnyca n CHIMTe BepxHIOU qactb Kopnyca C HnKHeu qactn.
ChrTne nHeBMaTHueCKORO DBnraTeJIa
Heo6xoJIMO BbIOnHHTb CJIeDyUOuNe DeiCTBnA:
G
- BbikpyTne BnHTbI Ha OCHOBAHN NHeBMaTueeCKOro DnBraTeJIa.
-XomyTNK MEmbpaHbI NO CNTyaunCJIeRka OTOrHnTe BCTOPOHy. - CHIMMTE INHEBMATUeCKN DBNrAteJIb.
-ДаЗakpenпньх Выичka ДЯВОЗдуха OKa3bBAIOT BHAaJIe CONpoTINBJIeHne.
3aMeHHTb Mem6paHbI
Heo6xOIMO BbInONHHTb CJeDyUOune DeiCTBnA:
□H
- Ckpynte raiky c xomytnka Mem6paHb i ydaIte e.
- XomyTNIK MEm6paHbI OTBeINTe BCTOPOHy.
- 3aMeHHTe Mem6paHy.
4.BCTaBbTe BnHTbl.
5.3akpoTeXOMyTNK MEm6paHbI.
6.YcTaHOBnTe raKy u 3aTAHnTe.
YctaHOBka nHeBMATnueckoro DBnraTeTn
Heo6xoJMO BbInOJIHHb CJIeDyUOJne DeIcTBnIa:
□
-
YctaHOBnTe nHeBMaTnueckm DnBaTaNb B KOpNyc.
-
PpocneDnte, YTO6bl Ha BbInyckax dnnr BO3dyxa 6bln ynnIOHTeNbHbIe KOIbca.
-
Ppi yctaHOBKe o6a BbInycka dIra BO3dyxa OKa3bIBaHT BHaayane CoPtoNBJIeHne.
2.ПикртугптЕ пнебматческIM DBURAteJIb.
3akpbibahmekopnyca
-
YctaHOBNTe BepXHIOU qactb Kopnyca Ha HnKHOI npNKpyTnte.
-
Obpatnte BHMmaHne Ha To, YTo6bI yCTpoiCtBO ChrTnHaTKeHn IHHn IOnCoEHNHeHn K cTe n pabuNbHO BXOJIno B Bblpe3 Kopnyca.
XpaHHeHa cKnae/xpaHHeB 3mMHee BpeMa
Ecnn npn6op haxoHtca B HenpepbBHO 3KcNpyaTauH, OH MoKeT 6bITb octaBHe H Ma Mopo3e B yCTaHOBHeHOM COCTOHN. B INHom cnyae npn6op cneDyET xpaHtB C cyXOM NOMEuEHN (npu KOMHaTHOH TemnepaType).
Yttnnaa

YKA3AHNE
He ytniunpoBaTb daHHbI np6op BmecTe c domaHm Mycopom!
BbBeIte yctpoIcTO n3 pa6oTbI, o6pe3aB erO ka6eJIb, uytuIN3npyIte uepe3 npedycmOTpeHHyIO dIra 3tOrO cncTeMy BO3Bpata.
TapaANTnHbIe ycNoBna
ΦπρMa PfG dæt 2-rotuHry rapaHTnIO, haunHa c DaItpaJx, Ha doKa3yEmbIe deΦeKTB MaTePnana n 130TobHeNIA. YcnoBnem npedocTabneHra paHTnHbIX ycnyr RaBnETC npedbRaBHeHne KaccOBoro yeKa. TaPAHTnHoe Tpe6oBaHne TepaETCpri HeaAdnEkaam EpaSeHH, 3NeKTPnueeCKOM IIN MEXAHueckOM NOBpeXDeHH B pe3yNbTaTe HnPaBnHOrO npimeHeHH, a TAKKe npri HeaAdnEkaam EpeMOHTe, BblONHeHHOM HeABTOp3OBAHHo MaCTepCKo. PemOHr pAsPeAetcBbInOnHbT ToIbKO ΦnpMe PfG nIM MaCTepcKo, ABTOp3OBAHHo ΦnpMo PfG. Ppi npdBraBHeHH rapaHTnHbIX Tpe6oBaHH BbcIbaNTe peKNaMaUNHOHBI np6Op IIN DeΦeKTHU OacTb C onncAnHem DeΦeKTA n KaccOBbIM qekOM, BKlIOyA CTOnMOCb DOCTaBKn, Ha ΦnpMy PfG. ΦnpMa PfG OCTaBJeT 3a co6oPiabBO bICCTaBbT ChET HA MOHTaXhble pa6ToBt. 3a NOBpeXdeHH, BO3HKwne npri TpaHCnOpTIpOBke, ΦnpMa PfG OTBeTCTBeHHOCTHn He Hecet. O Hnx Heo6xOdIMO HeMeJleHHO 3aBbNTb TpaHCnOpTHO ΦnpMe. Dpyrme npit3aHHa NIOb6oPoJa, B YactHOCTN, KocBeHHb yUep6, NCKIOUaOTcR. DaHHa rapaHTnH e 3aTpaHnBaET Tpe6oBaHH KOHeYHO 3aka3uNk A IO THoWeHHIO K dIInePam.
| DE | Abmessungen | Gewicht | Bemessungsspannung | Leistungsaufname | Lufffördermenge | Druck | Ausgabe | Außerbetrag |
| EN | Dimensions | Weight | Rated voltage | Power consumption | Air flow rate | Pressure | Outlets | Outside temperature |
| FR | Dimensions | Poids | Tension de mesure | Puisance absorbée | Débit d'air | Pression | Sorties | Température extérieure |
| NL | Afmetingen | Gewicht | Dimensionierungsspanning | Vermogensopname | Luchtstroom | Druk | Ultgangen | Bultemperatuar |
| ES | Dimensiones | Peso | Tensión asignada | Consumo de potencia | Caudal de aire | Presión | Salidas | Temperatura exterior |
| PT | Dimensões | Peso | Voltagem considerada | Potência absorvida | Caudal de ar | Pressão | Saídas | Temperatura externa |
| IT | Dimensioni | Peso | Tensione di taratura | Potenza assorbita | Quantità di aria convogliata | Pressione | Uscite | Temperatura estema |
| DA | Dimensioner | Vægt | Nominal spendsing | Effektforbrug | Luftstrøm | Tryk | Udange | Udetemperatur |
| NO | Mäl | Vekt | Merkespenning | Effekttopptak | Transportert luftmengde | Trykk | Utganger | Ytre temperatur |
| SV | Mäl't | Vikt | övre märkspänning | Effekt | Luftkapacitet | Tryck | Ugängar | Utomhustemperatur |
| FI | Mitl | Paino | mitolusjännile | Ottoleho | Ilmankuljetummaärha | Paine | Lähdöl | Ulkolampölla |
| HU | Mèretek | Süly | mört feszültseg | Teljesitményfelvétel | Százilott levego mennysége | Nyomás | Kimenetek | Külö hörmsèklet |
| PL | Wymiary | Cizgar | napićce znamionowe | Pobó mocy | Ilośc lloczonoğ powtétrza | Cisnienie | Wyloty | Temperatura zwěngtrzna |
| CS | Rozmýry | Hmotnost | domezovaci napétī | Přikon | Přitok vzduchu | Tlak | Vystupy | Venkovni teplota |
| SK | Rozmery | Hmot-nost' | dimenzažné napátle | Přikon | Dopravované množstvo vzduchu | Tlak | Vystupy | Vonkajśia teplota |
| SL | Dimenzije | Teža | dimenzirana napelost | Poraba moci | Prelok zraka | Tlak | Izhodi | Zunanja temperatura |
| HR | Dimenzije | Masa | gornji nazivni napon | Petrošnja energlje | Protok zraka | Tlak | Izlaži | Vanjka temperatura |
| RO | Dimensiuni | Masă | tensiune a māsurată | Putere consumată | Debit de aer | Presiune | leşiri | Temperatura exterior-àră |
| BG | Pazempi | Terno | hominahno haprejenne | Погговая мошноct | Дебин на вларуха | Hailagane | ИхODи | Въндан Tempepatура |
| UK | Pozmivi | Bara | pozpauxynkoанапuya | Стожваньсяпелктоhoepeрillo | Кльбость поитри, по подочья | Тих | ВхODи | Tempepatура ззови |
| RU | Pazempi | Bec | pacnehtnoe habrajgenene | Погговая мошносту | Калочстю подаиметого воздауха | Давлие | ВхODи | Tempepatура санарухи |
| PondoAir Set 200 | 150 × 90 × 90 mm | 0.65 kg | 230 V AC, 50 Hz | 4 W | 200 l/h | 0.15 bar | 2 | -5 ... +45 °C |
| PondoAir Set 450 | 185 × 115 × 110 mm | 1 kg | 230 V AC, 50 Hz | 6 W | 450 l/h | 0.15 bar | 2 | -5 ... +45 °C |
| PondoAir Set 900 | 238 × 173 × 130 mm | 2.1 kg | 230 V AC, 50 Hz | 12 W | 900 l/h | 0.15 bar | 4 | -5 ... +45 °C |
| IP X4 |  |  | |
| DE | Schutz gegen das Eindringen von Spritz- wasser. | Nicht mit normalem Hausmull entsorgen! | Achtung! Lesen Sie die Gebrauchsanleitung |
| EN | Protection against the ingress of splash water. | Do not dispose of together with household waste! | Attention! Read the operating instructions |
| FR | Protection contre la pénétration de pro-jec- tion d'eau | Ne pas recycler dans les ordures mena- gères ! | Attention ! Lire la notice d'emploi |
| NL | Beveiliging gegen het binnendringen van spatwater. | Niet met het normale huisvuil afvoeren! | Let op! Lees de gebruiksaanwijzing |
| ES | Protección contra la entrada de agua salp- cante.. | ;No desese che el equipo en la basura do- mésística! | ;Atencion! Lea las instrucciones de uso |
| PT | Proteção contra respingos de água. | Não deitar ao lixo dométrico! | Atença! Leia as instruções de'utilização |
| IT | Protezione contro la penetrazione di spruzzi d'accua.. | Non smaltire con normali rifiuti domestici! | Attenzione! Leggete le struzioni d'uso! |
| DA | Besykttelse mod indtrængning af vand- sprejt. | Mà不同程度 med det almindelige hushholdningsaffald! | OBS! Læs brugsanvisningen |
| NO | Besykttelse mot inntrenging av vannsprut. | Ikke kast i alminnelig hushholdningsavfall! | NB! Les bruksanvisningen |
| SV | Skydd mot inträngande stänkvatten. | Fár inte kastes i hushällssoporna! | Varning! Lás igenom bra克斯anvisningen |
| FI | Sujoa roiskeveden sisāänpääsemisen estämiseksi | Alä havità laitetta tavallisen kotitalousjät- teen mukana! | Huonio! Lue käytöohje |
| HU | Permetvíz behatolása elleni védelem. | A készüléket nem a normalé háztartási szemétel együt kell megsemmisilen! | Figyelem! Olvassa el a használati utmutató |
| PL | Zabezpieczenia przy przenikaniem Roz- pryskujęacej sie wody. | Nie wyrzuć wraz ze smieciami domo- wymi! | Uwaga! Przechytać instrukcje uzytkowania! |
| CS | Ochrana proti pronikányi odstřikujici vody. | Nelikvidovat v normálímim komunálímim odpadu! | Pozor! Přěctete Námod k použít! |
| SK | Ochrana proti prenikaniu odstrekujúcej vody | Nelikvidovat v normálímom komunálímom odpadu! | Pozor! Prečitajte si Námod na použítie |
| SL | Zaščita pred vdiranjem pršće vode | Ne zavržite skupaj z gospodinjskimi od- padki! | Pozor! Preberite navodila za uporabo! |
| HR | Zašita od prodiranja prskajuće vode | Ne bacati u obican kućni otpad! | Pažnja! Pročitajte upute za upotrebu! |
| RO | Protecté impotrivá intrārii apei de stropire. | Nu aruncați in gunoiul menajer ! | Atentjie! Citişi instrucţunjile de utilizare! |
| BG | Зашита OT нахлveyане на вoda от раз- пьсквана вODиаструя | He n3xbvрліte заедно с обикновени домakинckи boхлун! | Вимане! П探测егу ультынeto |
| UK | Завост Вд бризок вodи. | He binkdайтze nbóbytomсміт'm! | Ураза! Chпайто Inchestрукцю. |
| RU | Зашита OT пониковеня вороньх 6рьзг | He утллзиробать вмосте с DOMашим мUCOPOM! | Вимане! П探测егу Иструкцю по Incpopьзова- ningо |
| CN | C防止溅水渗入。 | 不要与普通的家庭 垃圾一起处理! | 注意! 请阅读使用说明书。 |
| Pos. | PondoAir Set | |
| 200 | 450 | |
| 1 | 37678 | 37677 |
| 2 | 2×71250 | 2×71250 |
| 3 | 22078 | 22079 |
| 4 | 22077 | 22077 |



PAR0008_01_57514
| Pos. | PondoAir Set 900 |
| 1 | 37677 |
| 2 | 4×71250 |
| 3 | 22079 |
| 4 | 22077 |


PAR0014_01_57516

C
ПростаяИнструкция