9 CFD 60 X - Exaustor de cozinha FAGOR - Manual de utilização gratuito
Encontre gratuitamente o manual do aparelho 9 CFD 60 X FAGOR em formato PDF.
Baixe as instruções para o seu Exaustor de cozinha em formato PDF gratuitamente! Encontre o seu manual 9 CFD 60 X - FAGOR e retome o controlo do seu dispositivo eletrónico. Nesta página estão publicados todos os documentos necessários para a utilização do seu dispositivo. 9 CFD 60 X da marca FAGOR.
MANUAL DE UTILIZADOR 9 CFD 60 X FAGOR
5/ANOMALIAS DE FUNCIONAMIENTO 16
6/SERVICIO TECNICO 17
1 / A LA ATENCIón DEL USUARIOES
Important
No/utilizar herramentas para retirear el fim protector.
5 / ANOMALIAS DE FUNCIONAMIENTOES
Com o objectivo de melhorar constantly os outros produits, reservamo-nos o direito de modifi car as respectivas caracteristicas痫icas, funconais ou estéticas por motivos ligados a avanços先进技术.

Important:
Antes de colocar o seu aparecido em��amento, leia atentamente este manual de instalação e utilizesação para se familiarizar mais rapidamente possivel com o seu��amento.
PTI
1/INFORMAÇÖES DESTINADAS AO UTILIZADOR
- Instruções de segurança 52
- Proteção do ambiente 53
- Descrição do aparecido 54
2 / INSTALLACAO DO APARELHO
- Utilização na versão de evacuação 55
- Utilização na versão de reciclagem 55
- Ligação eletrica 56
Montagemdoexaustor 57
Montagem da chaminé Evacuaçao exterior 58
° Reciclagem
3 / UTILIZACAO DO APARELHO
- Descrição dos comandos 60
4 / MANUTENÇA E LIMPEZA DO APARELHO
- Limpeza dos fi ltros cassette 61
- Substituicao do fi Itro de carvao 61
- Limpeza da superficie exterior 62
- Substituicao da lampada 62
- Manutenção do exaustor 63
5/ANOMALIASDEFUNCTIONAMENTO 64
6/SERVIço TECNICO 65
1 / INFORMAÇões DESTINADAS AO UTILIZADORPT
Guarde este guia de'utilização muito do aparecido. Se o aparecido for vendido ou Cedido a outras pessoas, tenho ou cuidado de remeter igualmente o manual de'utilização. Leia estas recomendações antes de instalar e utilizes o aparecido. Estas recomendações foram redigi-das para a sua segurança e a segurança dos outros.
INSTRUÇÉS DE SEGURANÇA
-
Este aparelho foi concebido para ser realizado por particulares em suas casas.
-
Este aparelho deve ser utilizado apenas por adultos. Certifi que-se de que ascriencias não lhe tocam e que não o utilizes como um brinqueado. Certifi que-se de que não月至carno pailen de controlo do aparelho.
-
Quando receiveber o aparelho, retire-o da embalagem imeditamente. Faça uma verifição geral. Aponte as eventuais reservas por escrito na guía de remessa e guarde um exemplar da mesma.
-
Este aparecido destiná-se a ter uma utilização dométrica normal. Não o utilize para fi ns commerciais ou industriais ou com outros fi ns para àsmos dos objectivos para os quais foi concebido.
-
Não modifi que nem tente modifi car as caracteristicas deste aparelho. Isso poderá representar um perigo para si.
-
As reparações devem ser efectuadas exclusivamente por um técnico autorizzato.
-
Desligue sempre o exaustor antes de proceder à manutenção ou à limpeza do mesmo.
-
Ventile conveniente a cozinha em caso de funciona simultaneo do exaustor com outros apareiros funcionando com fontes de energia differs da electricidade, para que o exaustor não aspire os gases de combustão.
-
É interdita a realização, por baixo do exaustor, de receitas "fl采访时 ou fazer funcional os bicos de gás sem recipientes, (as
chamas aspiradas são susceptíveis de deteriorar o aparecido).
-
As frituras efectuadas sob o aparelho deform ser alvo de una vigilência constante. O oleo e as gorduras aquecidas a temperativas bastante elevadas podem incendiar-se.
-
Respeite a frequência de limpeza e de substituição dos fi ltros. A Accumulação de gordura pode occasionar a defl agração de incéndios.
-
Não é autorizado o funcionaamento por cima de um foco de combustível (lenha, carão, etc.)
-
Nunca utilize aparehos a vapor ou de alta pressão para limpar o aparecido (requisitos relativos à segurarça eletrica).
-
Com a preocupaçao de melhorar constanmente os)nossos produits, reservamo-nos o direito de modifi car as respectivas caracteristicas tecnicas,funcionais ou estéticas por motivos ligados avançois tecnicos.
-
Para no futuro encontrar fácilmente as referências do aparelho, aconselhamos a que as aponte na网页 "Servico Pós-Venda e Relações com o Consumidor". (Esta网页 también explicá when se encontrar no aparelho).
-
Este aparelho não está previsto para ser realizado por pessoas (incluindo crianças) com capacidades fisicas, sensoriais ou mentalais reduzidas, ou por pessoas sem experiência ou conhecemtos, excepto se foram viigiadas ou se tiverem instruções prévias sobre a utilização do aparelho.
Atenção
No caso de a cozinha ser aquecida com um aparelho ligado a uma chaminé (ex.: fogao de sala), é necessario instalar o exaustor na sua versão de reciclagem. Não utilize o exaustor sem os fi ltros cassete.
Dever-se-á prever uma ventilação adequada da cozinha sempre que o exaustor está utilizedo simultaneamente com apareiros que utilizem gás ou outras combustível qualquer.
1 / INFORMAÇões DESTINADAS AO UTILIZADOR PT
PROTECÇAO DO AMBIENTE
-
Os materiais e embalagem deste aparelho são recicláveis. Por isso, participe na reciclagem dosleasedos contribua,assim,para a proteçãodo ambiente,depositando-os nos contentores municipais previstos para esteefeito.
-
Este aparelho también contentmos materiais reciclaveis. Por esta razao, está marcado com thisesimbolo a fim de lhe indicar que os aparelhos usados nao devem ser misturados com os restantes residuos. A reciclagem dos aparelhos organizada pelo fabricante sera, poi, efectuada nas melhores condioes possiveis, de acordo com a directiva europeia 2002/96/CE sobre os residuos de equipamentos eletricos e electronicos. Consulte a sua camara municipal ou o revendedor de forma a encontrar os pontos de recolha para aparelhos realizados mais praxisos de sua casa.
— Agradecemos, desde ja,a sua collaborationa na protecção do ambiente.

Atença
A instalacao do exaustor é reservada ao instaladores e tecnicos quali cados.

Atença
Antes da primeira'utilisation do fi Itro cassette, retire a pellicula de protecção.
1 / INFORMAÇões DESTINADAS AO UTILIZADORPT
DESCRÊçÂO DO APARELHO

2 / INSTALLação DO APARELHO PT
- O exaustor deve estar desligado durante a sua instalação ou em caso de intervenção.
- Verifi que se a tensão da rede elétrica corresponde à tensão mencionada na placá de caracteristicas situada no interior do exaustor.
- Se a instalação eletrica da sua residência necessitar de uma alteração para a ligação do exaustor, contacte um electricista qualífico.
- Se o exaustor for utilizes na sua versao de evacuação, não o ligue a uma conduça de evacuação de fumes de combustão (caldeira, chamé, etc.) ou a umsystema de ventilação meçânia controada.
- A conduça de evacuação, sera de que tipo for, não deve desembocar em águmas furtadas.
- Instale o exaustor a uma distancia minima de seguranca de 70 cm em RELATED ao placad cozinha eletrica, a gas ou mista.
- UTILIZACAO NA VERSAO DE EVACUACAO
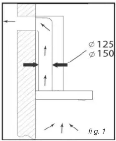
A sua instalação possui uma saída para o exterior (fi g. 1)
O exaustor pode ser ligado a esta saida atraves de um tubo de evacuação (0 minimo 125 mm, esmaltado, em aluminio, ou em material não infl amavel). Se o tubo tiver um diametro inferior a 125 mm, passse obligatoriamente para o modo reciclagem.

- UTILIZACAO NA VERSAO DE RECICLAGEM
A sua instalação não possui saída para o exterior (fi g. 2)
Todo os outros apareiros tem a possibidade de fazer em modo reciclagem.
Neste caso, acrescente um fi ltro de carvo.
activo que captarao os cheiros.
(Ver Capítulo 4: Substituição do fíltro de carvão).

2 / INSTALLação DO APARELHOPT
LIGACAO ELECTRICA
Durante a instalacao e as operacoes de manutencao, o exaustor deve ser desligado da corrente electrica e os fusiveis devem ser cortados ou retirados.
A ligação eletrica deve ser realizada antes de o aparecido ser instalado no armário.
Verifi car se:
— a instalação tem potência sufí cidente,
- os fi os electricos está em boas condições.
- o diametro dos fi os está em conformidade com os requisitos de instalacao.
Atenção
Este aparelho é vendido com um cabo eletrico H 05 VVF de 3 conduções de 0,75mm^2 (neutro, fase e terra), devendo este ser ligado a uma rede monofásica de 220-240 V atraves de uma tomada eletrica normalizada CEI 60083, que, de acordo com as regras de instalação, deve fi car acessível antes a instalação.
Declinamos qualquer responsabilitademe en caso de acidente occasionado por umalgiao a terra inexistente ou Incorrecta. Ofusivel da sua instalação deve ser de 10 ou16 A. Se o cabo eletrico estiver danifi cado,contacte o service pos-venda a fim de evaporqualquer perigo.
Atença Se a ins
Se a instalacao eletrica da sua residencia necessitar de uma alteracao para a ligaao do exaustor, contacte um electricista qualifi cado.
Atença Se o exa
Se o exaustor aparecer qualquer anomalia, deslige o aparelho ou retire o fusivel correspondente a LINHA de ligaço do mesmo.
2 / INSTALLação DO APARELHO PT
MONTAGEM DO EXAUSTOR DECORATIVO
Atença A. instal
A instalação devestrupir os requisitos dos regulamentos em vigor para a ventilação dos locais.Em Franca, estes regulamentos são indicados no DTU 61.1 do CSTB. Designamente, o ar evacuado não deve ser enviado para uma conduitautilizada para a evacuaçao de fumes de aparelhos a gas ouutilizando outros combustíveis.Autilização de tubos desaftados so pode ser feita après acordo de um especialista competente.
A distança minima entre a placu de cozinha e a parte mais baixa do exaustordeer ser de 70~cm no minimo. Se as instruções da placu de cozinha instalada sob o exaustor especifi caretm uma distancia superior a 70~cm , esta devera ser levada emconsideração.


Fixação na parede:
Trace uma LINHA na parede, centrada e verticalmente à placá de cozinha.
Trace na parede os 3 orificios que tem de fazer utilizes o gancho de suspensao do exaustor fornecido e respeitando a distancia aconselhada (peça A da fi g.1).
- Faça os 3 orificios de 8 mm no local adequado e insira asbuchas.
Fixe o suporte de fi xaca do exaustor, certifi cando-se de que fica totalmente nivelado (peça A fi g. 1).
- Antes de ligar o exaustor, monte a valvula de retencion na saida do motor.
Fixe o tubo extensivel de evacuação (não fornecido) na saía do motor sem obstruir o movimento da valvula de retenção (fi g. 3).
- Coloque e fi xe o corpo do exaustor\ neste suporte com os parafusos previstos\ para esse fi m (fi g. 2).

2 / INSTALLação DO APARELHOPT
MONTAGEM DA CHAMINÉ
Evacuaçao exterior
Calcule a alta fi nal para fi xar o apoio em U do所提供 de chaminé (peça B da fi g. 1).
- Marque os 2 orificios no local adequado.
- Faça os 2 orificios de 8 mm e fixe o apoio do suporte da chaminé certifi cando-se de que fi ca exactamente no eixo do exaustor (peça B da fi g.1).
Fixe o apioo plano na parte deTRS da chamine inferior.
— Coloque as 2 chaminés sobre o exaustor (fi g. 5).
Ligue o tubo a saida de ar para o exterior.
- Efectue a ligação eletrica do exaustor com o cabo de alimentação.
Levante a chaminé superior até ao tecto e fi xe-a no apoio com parafusos.




2 / INSTALAÇÃO DO APARELHO PT
Reciclagem
- Calcule a alteura fi nal para fi xar o apoio de suporte à chaminé.
- Marque os 2 orificios no local adequado.
- Faça os 2 orificios de 8 mm e fixe o apoio do suporte da chaminé certi cando-se de que f ca exactamente no eixo do exaustor.
Fixe o apoio plano na parte deTRS da chaminé inferior.
— Coloque as 2 chaminés sobre o exaustor (fi g. 5).
Ligue a capa da saida de ar para o exterior.
— Efectue a ligação eletrica do exaustor através do cabo de alimentação.
Levante a chamine superior ate ao tecto e fi xe-a no apoio com os 2 parafusos.






Conselho
Para uma utilização ideal do exaustor, aconseihamos que a ligação sera efetuada a um tubo com 150 mm de diametro (vendido separadamente). Limite ao máximo o número de cotovelos e o comprimento do tubo. Se o exaustor funciona com uma evacuação exterior, convém assegurar-se da existência de uma entrada de ar exterior sufí CCTemente grande para fazer colocar a cozinha em depressão.

Atença
Não utilize ferramentas para�air a pelicula de protecção transparente dos paineis.
3 / UTILIZACAO DO APARELHOPT
DESCRICAO DOS COMANDOS
- Premindo o botão Stop (Parar), o motor para.
- Premindo o botao de baixa velocidade, o alarme sonoro toca uma vez e o motor funciona a baixa velocidade.
- Premindo o botao de velocidade media, o alarme sonoro toca uma vez e o motor funciona a velocidade media.
- Premindo o botao de alta velocidade, oAlarme sonoro toca uma vez e o motor funciona a velocidade rapiida.
- Premindo o botão de illuminação, as das lampadas acendem-se. Prima novamente e elas apagam-se.

4 / MANUTENÇÃO E LIMPEZA DO APARELHO PT

Atença
Desligue o aparelho antes de proceder à sua limpeza e manutenção. Uma manutenção periodica do aparelho é uma garantia para o seu devido funciona, bom rendimento e durabilitad.

Atença
O não cumprimento das instruções de limpeza do aparelho e dos filiros podem provocar incéndios. Respeite absolutamente as instruções de manutenção.
- LIMPEZA DOS Filtros CASSETE
Devem ser limpos antes 30 horas de utilizesao ou no minimum uma vez por mês. A sua limpeza pode ser efectuada na maquina de lavar louça na vertical.
Lave-os com una escova, agua quente e um detergente suave. Passe-os por agua e seque-os cuidadosamente antes de osvoltar a instalar.
- Desmontagem dos fi ltros cassette
Rode a pega integrada do fi ltro cassette.
— Incline o fi Itro cassette para baixo.

- SUBSTITUÇÃO DO FILTRO DE CARVÃO (optional)
Substitua o fi Itro de carvão après 120 horas deutilização aproximadamente.
Retire os fi ltros cassette.
— Rode o fi Itro de carvao para o retirar.
- Faça a operação inversa para instalar um novo fi Itro.
Volte a instalar os fi ltros cassette.

4 / MANUTENÇÃO E LIMPEZA DO APARELHOPT
- LIMPEZA DA SUPERFÍCIE EXTERIOR
Para limpar a parte exterior do exaustor, utilize aigua com um detergente; não utilize cremes abrasivos, detergentes corrosivos, nem o esfregao das esponjas, nem escovas. Seque com um pano macio e humido.
- SUBSTITUÇÃO DA LÁMPADA

Atença
Antes de efectuar qualquer intervencao, deslige o exaustor da corrente electrica, quer retirando a fi cha da tomada, ou actionando o disjuntor.
Modelo com lampie de halogeneo
Retire o visor
- Substitua a lampada de halogeneo.
Volte a instalar todos os elementos, efectuando as operacoes no sentido inverso.

4 / MANUTENÇÃO E LIMPEZA DO APARELHO PT

Atença
Antes de efectuar qualquer intervencao, desligue o exaustor da corrente electrica, quer retirando a fi cha da tomada, ou actionando o disjuntor.
- MANUTENÇÃO DO EXAUSTOR
| MANUTENÇÃO COMO | PROCEDER? | PRODutos/ACCESSORIOS A UTILizar |
| Campânula ecessórios | Nunca utilize esfregões metálicos, produits abrasivos ou escovas demasiado duras. | Para limpar a parte exterior e a vigia de iluminação, utilize exclusivamente produits de limpeza dométricos vendidos no comércio diluidos em água, em seguida enxague com agua limpa e seque com um pano macio. |
| Filtro cassete | Este fi Itro absorve os vapores gordurosos e as poeiras. Este elemento desempenha uma importante função na efi)cacia do exaustor. Se houver manchas persistentes, utilize um detergente creme não abrasivo e passe porágua limpa. | Com um produto de limpeza dométrico vendido no comércio, em seguida enxague e seque. A sua limpeza pode ser efectuada na区管委会 de lavar louça colocados na vertical. (Não pôr em contacto com louça suja ou talheres de prata). |
| Filtro de carvão activo | Este fi Itro absorve os cheiros e deve ser substituído pelo menos todos os anos em função da sua utilização. Encomende fi Itros no seu revendedor (através da referencia indicatora na placadecaracteristicas situada dentro do exaustor) e anote a data de substituição. |
Para preservar o seu aparecido, recomendamos a utilização de produits de limpeza Clearit.

Os conhecellos e a experiencia dos profi sionais ao服务于各部分
A Clearit propoe-Ihe produtos profi ssonais e soluções adequadas para a manutenção diária dos seu electrodométricos e da sua cozinha.
Poderá encontrarlos à vendao no seu revendedor habitual, bem como toda uma LINHA de acessórios e consumíveis.
5 / ANOMALIAS DE FUNCIONAMENTOPT
| SINTOMAS | SOLUTIONES |
| O exaustor não funciona... | Verifi car se: • não há um corte de electricidade. • foi realmente selecionada uma velocidade. |
| O rendimento do exaustor é insufi ciente... | Verifi car se: • a velocidade do motor selecionada é sufi ciente para a quantidade de fumo e vapor libertada. • a ventilação da cozinha é sufi ciente para permitir a entrada de ar. • o fiço de carvão não está gasto (exaustor na versão de reciclagem). |
| O exaustor parou durante o seu funciona... | Verifi car se: • não há um corte de electricidade. • o dispositalo de corte ominoplar não se activou. |
6 / SERVICO TECNICO PT
As intervenções de que o aparecido necessite devem ser realizadas
Ao chamá-los, indique a referencia completa do seu aparelho (modelo, tipo e número de série). Estas informações figuram na placá de identificação fixada no aparelho.
Notice-Facile