9 CFD 60 X - Emhætte FAGOR - Gratis brugsanvisning og manual
Find enhedens vejledning gratis 9 CFD 60 X FAGOR i PDF-format.
Download vejledningen til din Emhætte i PDF-format gratis! Find din vejledning 9 CFD 60 X - FAGOR og tag din elektroniske enhed tilbage i hånden. På denne side er alle dokumenter nødvendige for brugen af din enhed offentliggjort. 9 CFD 60 X af mærket FAGOR.
BRUGSANVISNING 9 CFD 60 X FAGOR
Som en del af vores forpligtelse til lobende at forbredre vores Produkter, forbeholder vi os retten til at foretage ændringer på dem på baggrund af tekniske fremskridt i forhold til deres tekniske og Funktionelle egenskaber og udseende.

Vigtigt:
Inden du installerer og bruger dette apparat, skal davon Installations- og brugsvejledning læses grundigt, hvilket tillader dig hurtigt at blivebekendt med apparatets virkemåde.
DKI
1/BEM/ERKNINGER TIL BRUGEREN
Sikkerhedsanbefalinger 164
·Miljobeskyttelse 165
Beskrivelse af apparatet 166
- Brug med udsugningsversionen 167
- Brug med recirculeringsversionen 167
·Elektriske tilslutninger 168
Samling af emhaeten 169 - Samling af ventilationsskakten
^ Udsugning til det fri 170
° Recirculering
3 / BRUG AF APPARATET
Beskrivelse af knapper 172
4 / PLEJE OG RENGØRING AF APPARATET
-
Udskiftning af filterelementerne 173
-
Udskiftning af kulfi Itret 173
· Rengoring af de uvdendige overflader 174 - Udskiftning af paeren 174
Vedligeholdelse af apparatet 175
5/FEJLFINDING 176
6/EFTERSALGSSERVICE 177
1 / MAERKNINGER TIL BRUGERDK
Vigtigt Gem de
Gem davon brugsanvisning sammen med apparatet. Hvis apparatet på noget tidspunkt sælges eller videregives til andre, skal du sorge for, at den nye ejer fär davon brugsanvisning. Gör dig venligstbekendt med disse anbefalinger inden du installerer og bruger emhæten. Anbefalingerne er udarbejdet for atærne om din og andres sikkerhed.
- SIKKERHEDSANBEFALINGER
— Denne emhætte er fremstillet til at blive bugt af private i hjemmet.
Dette apparat skal bruges af voksne. Sog for at born ikke rorer det og at de ikke behandler det som legetoj. Sorg for at de ikke rorer apparatets knapper.
Nár du modtager apparatet, skal du pakke det ud eller fá det pakket ud med det samme. Giv det en overordnet generelinspection. Læg mærke til eventuelle problemer aller forbehold på leveringssedlen og sorg for at gemme en kopi af/DDne seddel.
Apparatet er beregnet til almirde hushholdningsbrug. Brug det ikke til erhoverseller industrielle formaler til noget andet formalendtildet apparatet er fremstilletil.
-
AEndr不解 pa nogen af apparatets dele ell er udseende og forsog heller不解 herpa. Dette vil udgore en fare for din sikkerhed.
-
Reparationer må kun foretages af en autoriseret specialist.
Stikket skal altid tages ud inden emhætten rengøres aller inden der foretages andre vedligeholdelseshandlinger.
Sorg for hensigsmaesig ventilering i lokalet his emhaeten bruges samtidigt med andre apparater, som drives af en anden energikilde end el. Dette vil forhindre emhaeten i at indsuge forbrændingsgasseme. Du bor aldrig "fl ambere" retter under emhaeten ell anvende gaskogeplader under emhaeten uten at placere kogegrejer pa dem (fl ammerne kan suges op i emhaeten og beskadige apparatet).
apparatet, skal emhaeten og tilberedningen.
overvåges omhyggeligt hele tiden.
Olier og fertstoffer som brings op pa meget hoje temperaturer kan antændes.
-
Respekter den anbefalede hyppighed for rengoring odskiftning af fi Itre. Ophobning af fedtrester kan forarsage brand.
-
Emhætten ma aldrig bruges over et komfur som bruger antændeligt materiale (træ, kul, osv.)
-
Brug aldrig damp-ller hojtryksapparater til rengoring af apparatet (krav palgt af regler tvedr. el-sikkerhed).
-
Med lobeende forbedring af voresprodukter for oje, forbeholder vi os retten til at aendre pa deres tekniske, Funktionelle og aestetiske egenskaber, idet eventuelle ændringer pa deres Funktioner opfattes som varende nodvendige aller onskværlige med den tekniske udvikling for oje.
-
For nemt at kinne fi nde referenceinformationerne til apparatet, anbefaler vi, at du noterer disse data pa sider "Eftersalgsservice og kundeservice". (Denne side forklarer desuden, hvor du kan fi nde dissee informationer pa dit apparat.)
-
Dette apparat er/DDke beregnet til at blive brugt af personer (herunder born) med med nedsatte fysiske Funktioner ellersansefungtioner,ller af personer,som mangler erfaring ellerevidsthed,medmindre apparatet bruges med hjaelp fra den person, som er ansvarlig for deres sikkerhed,eller under opsyn og med forudgaende instruk tion i brugen af apparatet.
Advarsel
Hvis dit kokken er opvarmet af en anordning, som er tilsluttet en skorsten (for eksempel en brændeovn skal "recirkulerings-" versionen af emhætten installereres. Brug ikke emhætten.uden metalfi Itrene.
Der bor sorges for hensigtsmaessig ventilering i lokaler, hvor emhætten bruges samtidigt med apparater, som bruger gas ull er et andet brandbart drivmiddel.
1 / MAERKNINGER TIL BRUGER DK
MILJOBESKYTTALSE
— Dette apparats emballagemateriale er genbrugeligt. Hjælp med at genbruge det og beskyt miljoet ved at afl evere det på et kommunalt genbrugscenter til dette formål.
- En stor del af apparatets materiale er ogsa genbrugeligt. Det er mærket med denen etiket for at indikere de brugte dele af apparatet, som ikke bør blandes med andet affald.

Säledes vil genanvendelsen af apparatet, der organiseres af fabrikanten, blive udført under de bedst mulige forhold, i henhold til EU-direktivet 2002/96/EF om Affald af elektrisk og elektronisk udstyr. Kontakt dinCOMMUNEEller din forhandler for at blive oplyst om genbrugscentralraler i nærheden af, hvor du bor.
— Vi takker dig for, at du gør dit til at beskytte miljøet.

Advarsel
Installationen bor kun udfores af installer oer og kvalifi cerede teknikere.

Advarsel
Fjern beskyttelsesfolien fra fi Itrt inden brug.
1 / MAERKNINGER TIL BRUGERDK
BESKRIVELSE AF APPARATET

2 / INSTALLATION AF APPARATET DK
— Dette apparats stik skal vare taget ud af stikkontakten under installation, somt nr der udfores reparationer og vedligeholdelse.
Du skal sikre dig at nettets spending svarer til spendingen pa identifi kationsskilt, som fi ndes pa andersiden af emhætten.
- Hvis el-installationerne i din bolig kræver nogen form forændringer for at kunne tilslutte apparatet, skal du tilkalde en professionnel elektriker.
- Hvis emhaettens bruges med udsugningsversionen, på apparatet ikke tilsluttes en afktrækskanal til brændbare gasser (fyrkedel, storsten, osv) eller til et kontrolleret mekanisk ventilierungssystem.
— Aftraekkanalen ma under ingen omstaendigheder udledes til et loftsrum.
- Installer emhæten med en forsvarlig afstand på mindst 70 cm fra et elektrisk kogeblus, et gaskogeblus eller et kombineret kogeblus.
- BRUG MED UDSUGNINGSVERSIONEN
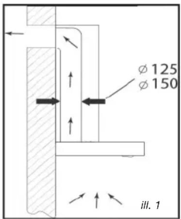
Hvis du har et udtag til det fri (III.1)
Kan emhaeten tilsluttes dette udtag med et aftraekror (diameter pāmindst 0 mm, som er emaljeret, afaluminium, fleksibelteller lavetaf ubrændbart materiale). Hvis aftrakskanalen er mindre end 125 mm i diameter, skal du bruge recirkuleringsversionen.

- BRUG MED RECIRKULERINGSVERSIONEN
Hvis du ikke har et udtag til det fri (ill. 2)
Kan alle apparaterne bruges med recirculeringsversionen.
I sa fald skal du pasaette et aktivt kulfi iter, som vil holde pa lugte.
(Se kapitel 4: Udskifting af kulfi Itret.)

2 / INSTALLATION AF APPARATET DK
ELEKTRISKE TILSLUTNINGER
Under installation og vedligeholdelse skal apparatets stik vare taget ud af el-forsyningsnettet; sikringer skal slas fra aller fjernes.
De elektriske tilslutninger foretages inden apparatet installereres i sin kasse.
Kontroller at:
— den elektriske installation har tilstrækkelig spænding,
— elkablerne er i god stand,
- kablernes diameter overholder installationskravene.
Advarsel
Apparatet leveres med en elledning til H 05 VVF, som har tre 0,75mm ledere (nul, fase og jord). Det skal tilsluttes el-nettet (som skal have en spanding pa 220-240 V) via et godkendt stromudtag, som skal vare tilgengeligt after installationen i henhold til retningslinjerne for installation.
Fabrikanten kan ikke stilles til ansvar for eventuelle ulykker forarsaget af en ikke-eksisterende, defekt aller forkert jordledning. Sikringen til installationen skal��e på 10 eller 16A. Hvis elledningen er beskadiget, skal du kontakte afdelingen for eftersalgsservice for at undgå farer.
Advarsel
Hvis den elektriske installation i din bolig kræverændringer for at dit apparat kan tilsluttes, skal en professionnel elektriker tilkaldes.
Advarsel Hys emha
Hvis emhaeten udviser nogen form for defekter, skal du tage stikket ud ell er fjerne den sikring, som horer til det elektriske udtag, hvor apparatet er isat.
2 / INSTALLATION AF APPARATET DK
- SAMLING AF EMHAETTEN
Advarsel Emhaetter
Emhæten skal installeres i overensstemmelse med alle gældende regler for ventilering og aftrækskanaler. I Frankrig er disse regler beskrevet i DTU 61.1 fra CSTB. I særdeleshed ma den udsugede luft aldrig ledes ud igennem en kanal, som bruges til at udsuge røg fra apparater, som bruger gas ull andre brændbare drivmidler. Kanaler som ikke eribrug违法犯罪 after godkendelse fra en kompetent specialist.
Minimumsafstanden mellem komfurets overkant og emhaettens nederste del skal vare mindst 70 cm. Hvis anvisningerne til det blus som er installereret under emhaeten foreskriver en afstand pa over 70 cm, skaldette krav respekteres.
Montering pa væggen:
-
Afmaerk en vandret linje pa væggen, centreret i forhold til komfurets overfl ade.
-
Afmærk på væggen de tre huller som skal bores ved hjælp af den medfolgende holder til emhætten samtidig med, at du observerer den anbefalede afstand. (del A III.1).
Bor de tre huller med en diameter pa 8 mm i en passende position og iset rawlplugs.
-
Inden emhæten fastgøres, skal du montere kontraventilen pámotornsudgang.
-
Fastgor emhaettens fastgorelsesbeslag, sorg for at det er nojagtigt nivelleret. (del A III. 1).
-
Fastgor fl ex-udsugningsslangen (medfolger ici) til motorens udgang uten af forbhindre kontraventilens bevagelse. (III. 3).
-
Monter og fastgor emhaettens hoveddel pa det tilhorende stottebeslag med demedfolgende skruer til dette formal. (III. 2).



2 / INSTALLATION AF APPARATET DK
- SAMLING AF VENTILATIONSKKAKTEN
- Udsugning til det fri
Beregn den endelige hojde, hvor aftraekkanalens u-beslag skal fastgores (del B III. 1).
- Afmaerk de to huller herefter.
Bor hullerne med en diameter pa 8 mm og fastgor kanalens stottebeslag, sorg for at det er fastgjort pa samme akse som emhætten (del B III. 1).
Fastgör det fl ade beslag bag pa kanalens nedre del. Ilu. 6
Fastgor de to kanaler til emhaeten. (III. 5).
Tilslut fl exslangen til luftudtaget til det fri.
- Foretag den elektriske tilslutning til emhaeten med kablet fra el-nettet.
Loft den øvre kanal op til loftet og fastgorden til beslaget med skruerne.




2 / INSTALLATION AF APPARATET DK
Recirculering
Beregn den endelige hojde, hvor aftraekskanalens U-beslag skal fastgores.
- Afmærk de to huller.
Bor hullerne med en diameter pa 8 mm og fastgor kanalens stottebeslag, sorg for at det er fastgjort pa samme akse som emhætten.
Fastgor det fl ade beslag bagpa kanalens nedre del.
Monter slange-tilpasningsstykket pa defl ektoren (III. 8).
Tilslut fl exslangen til defl ektoren.
Monter kanalens to dele pa emhaeten (III. 5).
- Monter defl ektoren (Iliu. 8) på kanalens øvre del ved ventilationsindstagene (III. 6)
- Foretag den elektriske tilslutning til emhaeten med kablet fra el-nettet.
- Loft den øvre kanal op til loftet og fastgør den til beslaget med de to skruer.

IIIu. 8





Råd
For at udnytte apparatet optimalt, anbefaler vi, at du tilslutter emhaeten til et ksror med en diameter pa 150 mm(medfolger ici). Reducer antallet af vinkler og kamt aftraeksrorets lengde. Hvis emhaeten skal bruges med udsugning til det fri, borige for tilstraekkelig tilforsel af frisk luft for at undga undertryk i lokalet.

Vigtigt
Fjern ikke sikkerhedsfolien med nogen form for værktoj.
3/BRUG AF APPARATET DK
BESKRIVELSE AF KNAPPER
Trykknap
- Tryk på stop-kappen, motoren afbrydes
- Tryk på Low-kappen (Lav), brummeren lyder en gang og motoren korer ved lav hastighed.
- Tryk på Mid-kappen (Middel), brummeren lyder en gang og motoren kører ved middel hastighed.
- Tryk på High-kappen (Hoj), brummeren lyder en gang og motoren korer ved høj hastighed.
- Tryk på light-kappen (lys), der taendes to lys. Tryk på den igen, lyset slukkes.

4 / PLEJE OG RENGØRING AF APPARATET DK

Advarsel
Stikket skal altid tages ud inden emhætten rengøres, og inden der foretages andre former for vedligeholdelse. Regelmaessig vedligeholdelse af apparatet er en garanti for korrekt Funktion, god ydeevne og levetid.

Advarsel
Respekteres retningslinjerne for rengoring af apparat og fi litre ikke, kan deforallsage brand. Folg omhyggeligt anbefalingerne vedrørende vedligeholdelse.
RENGORING AF FILTERELEMENTERNE
Filtrene skal rengores after cirka 30 timers.
brug aller mindst en gang om maneden.
Disse fi Itre kan vaskes i opretstaende stilling i opvaskemaskinen.
Brug en børste, varmt vand og opvaskemiddel. Skyl og tør fi Itrene grundigt inden de sættes tilbage i emhætten.
- Aftagning af fi Iterelelement
Drej det indbyggede greb fi Iterelementet.
til
- Udfor forlobet omvendt rækkefolge, nardet nye fi Iter skal saettes paigen.
— Saet fi Iterelementerne tilbage.

4/PLEJE OG RENGØRING AF APPARATETDK
- RENGØRING AF DE YDRE OVERFLADER
Brug saebevand til rengoring af emhaettens ydre flader, men brug aldrig slibemidler, aetsende rengoringsmidler, skrubbesvampe ell er borster. Torres af med en blod fugtig klud.
- UDSKIFNING AF PAEREN

Advarsel
Inden der udfores nogen form for opgaver, skal stromforsyninger til emhaeten slasn ten ved at tage emhaettens stik ud ell er ved hjaelp af kredsafbryderen.
Model med halogenpare
—Fjernskaermen
- Udskift halogenpaelen.
Sæt delene pól plads ved at gentagedeisse trin i omvendtrækkefolge.

4 / PLEJE OG RENGØRING AF APPARATET DK

Advarsel
Inden der udfores nogen form for opgaver, skal stromforsyninger til emhaeten slas fra, enten ved at tage emhaettens stik ud ell er ved hjaelp af hovedafbryderen.
VEDLIGEHOLDELSAFAPPARATET
| VEDLIGEHOLDELSDET | SKAL DU GÖRE | PRODUKTER/TILBEHØR SOM SKAL BRUGES |
| Øvre overflader og tilbehør | Brug aldrig metal-skrubbésvampe,slide-produkter eller meget härde børster. | Til rengöring af hoveddelen og lysdelen, brør der kun brugesprodukter fortyndet med vand og som fjernes med rent vand og tørres med en blød fugtig klud. |
| Filterelementer | Dette fi lter opfanger fedtdampe og støv. Denne component spiller en vigtg rolle i emhættens effektivitet. Hvis der opstår genstridge pletter, kan du bruge en ikke-slibende creme og skylle after med rent vand. | Brug et rengøringsprodukt som kan købes i en almindelig han- del, skyl med rigeligt vand og tør. Disse fi Itre kan vaskes i opretsta-ende stilling i opvaskemaskinen. (De pågressive kommt til atråbe beskidt service ellersølvtoj.) |
| Aktiveret kulfi Iter | Dette fi lter opfanger lugte og skal udskiftes mindst en gang om Året afhängig af brugsintensiteten. Disse fi Itre brør bestilles hos forhandleren (opgiv referencen på indentitetsskittet, som sidder på emhættens anderside) og noter datoen, hvør fi Iteret brev skiftet. |
For at bevar apparatuset, anbefaler vi, at du bruger Clearit rengoringsprodukter.

Clearit tilbyder professionelle produit og losninger udarbejdet til den daglige pleje af dine husholdningsapparater og dit kokken.
De kan kobes hos din saedvanlige forhandler, sammen med et komplet udvalg af tilbehør og forbrugsvarer.
5/FEJLFINDINGDK
| SYMPTOMER | LØSNINGER |
| Emhætten virker ikke... | Kontroller at: • Strømmen ikke er slået fra. • En hastighed er valgt. |
| Emhættens præstation er utilizestrækkelig... | Kontroller at: • Den valgte motorhastighed et tilstrækkelig for den mængde af mados og damp som skal suges ud. • Køkkenet er tilstrækkeligrt ventileret for at tillade indtag af frisk luft. • Kulfi Itret ikke er opbrugt (emhætte som fungerer med recirculeringsversionen. |
| Emhætten er gået i stå | Kontroller at: • Strømmen ikke er slået fra. • De enpolede automatiskringer ikke er blevet aktiveret. |
6 / EFTERSALGSSERVICE DK
Al vedligeholdelse pa dit udstyr bør foretages af:
- aller en,anden kvalifi ceret mekaniker, som er autorisert til reparation af apparater af dette mærke.
Når du laver aftale med ovenstående, skal du opgive hele dit udstyrs reference (model, type og serienummer). Disse oplysninger fi ndes på fabrikantens navneskilt päsat dit udstyr.
Notice-Facile