9 CFD 60 X - Hotte FAGOR - Notice d'utilisation et mode d'emploi gratuit
Retrouvez gratuitement la notice de l'appareil 9 CFD 60 X FAGOR au format PDF.
| Caractéristiques | Détails |
|---|---|
| Type de hotte | Hotte murale |
| Dimensions (L x P x H) | 60 cm de largeur |
| Débit d'air | Jusqu'à 600 m³/h |
| Niveaux de puissance | 3 niveaux de vitesse |
| Éclairage | Éclairage LED intégré |
| Filtre à graisse | Filtre métallique lavable |
| Filtre à charbon | Compatible avec filtre à charbon (non inclus) |
| Niveau sonore | Max 65 dB |
| Installation | Installation murale, nécessite un conduit d'évacuation |
| Consommation énergétique | Classe énergétique A |
| Maintenance | Nettoyage régulier du filtre à graisse, remplacement du filtre à charbon |
| Sécurité | Protection contre la surchauffe |
| Garantie | 2 ans |
FOIRE AUX QUESTIONS - 9 CFD 60 X FAGOR
Téléchargez la notice de votre Hotte au format PDF gratuitement ! Retrouvez votre notice 9 CFD 60 X - FAGOR et reprennez votre appareil électronique en main. Sur cette page sont publiés tous les documents nécessaires à l'utilisation de votre appareil 9 CFD 60 X de la marque FAGOR.
MODE D'EMPLOI 9 CFD 60 X FAGOR
Dans le souci d'une amélioration constante de nos produits, nous nous réservons le droit d'apporter à leurs caractéristiques techniques, fonctionnelles ou esthétiques toutes modifi cations liées à leur évolution.
Important : Avant de me
Avant de mettre votre apparéil en marche, veuilles lire attentivement ce guide d'installation et d'utilisation api n de vous familiariser plus rapidement avec son fonctionnement.
FRS
1 / A L'ATTENTION DE L'UTILISATEUR
- Consignes de sécurité 36
- Respect de l'environnement 37
Description de votre apparéil 38
2 / INSTALLATION DE VOTRE APPAREIL
- Utilisation en version évacuation 39
- Utilisation en version recyclage 39
Raccordement electrique 40
Montage de la hotte 41
Montage de la cheminée Evacuation extérieure 42
Recyclage 43
3 / UTILISATION DE VOTRE APPAREIL
- Description des commandes 44
4 / ENTRETIEN ET NETTOYAGE DE VOTRE APPAREIL
Nettoyage des fi Itres cassettes 45
- Changement du fi Itre charbon 45
- Nettoyage de la surface extérieure 46
Changement de la lampe 46
- Entretenir votre apparéil 47
5/ANOMALIES DE FONCTIONNEMENT 48
6 / SERVICE APRES-VENTE
Interventions 49
- Relations consommateurs 49
1 / A L'ATTENTION DE L'UTILISATEURFR
Important
Conservez cette notice d'utilisation avec votre apparéil. Si l' apparéil devait être vendu ou cédé à une autre personne, assurez- vous que la notice d'utilisation l'accompagne. Merci de prendre connaissance de ces conseils avant d'insteller et d'utiliser votre apparéil. Ils ont été rédigés pour votre sécurité et celle d'autrui.
- CONSIGNES DE SECURITÉ
— Cet apparéil a été concu pour être utilisé par des particuliers dans leur lieu d'habitation.
— Cet apparéil doit être utilisé par des adultes. Veillez à ce que les enfants n'y touchent pas et ne l'utilisent pas comme un jouet. Assurez-vous qu'ils ne manipulent pas les commandes de l' apparéil.
— A la réception de l'appareil, déballez-le ou faites le déballer immédiatement. Vérifi ez son aspect général. Faites les évientuelles réserves par écrit sur le bon de livraison dont vous gardez un exemplaire.
- Notre apparéil est destiné à un usage domestique normal. Ne l'utilise pas à des fi ns commerciales ou industrielles ou pour d'autres buts que celui pour lequel il a été consu.
- Ne modifi ez pas ou n'essayer pas de modifi er les caractéristiques de cet apparéil. Cela représentait un danger pour vous.
- Les réparations doivent être exclusivement effectuees par un spécialiste agreé.
— Débranche toujours la hotte avant de procéder à son nettoyage ou à son entretien.
Aérez convenablement la piece en cas de fonctionnement simultané de la hotte et d'autres apparèils alimentés par une source d'énergie différente de l'énergie électrique. Ceci ai n que la hotte n'aspire pas les gaz de combustion.
- Il est interdit de fl amber des mets ou de faire fonctionner des foyers gaz sans recipients de cuisson, au dessous de la hotte (les fl ammes aspirées risqueraient de détériorer l'appareil).
- Les fritures effectuees sous l'appareil doit faire I'objet d'une surveillance constante. Les huiles et graisses portees a tres haute tempereature peuvent prender feu.
- Respectez la fréquence de nettoyage et de remplacement des fi Itres. L'accumulation de dépôts deGRAISSERISQUE d'occasionner un incendie.
- Le fonctionnement au dessus d'un foyer à combustible (bois, charbon...) n'est pas autorisé.
- N'utilisez jamais d'appareils à vapeur ou à haute pression pour nettoyer votre apparreil (exigences relatives à la sécurité électrique).
- Dans le souci d'une amélioration constante de nos produits, nous nous réservons le droit d'apporter à leurs caractéristiques techniques, fonctionnelles ou esthétiques toutes modifi cations de leurs caractéristiques liées à l'évolution technique.
— Afi n de retrouver aisément à l'avenir les références de votre apparéil, nous vous conseillons de les noter en page "Service Àpres-Vente et Relations Consommateurs". (Cette page vous explique également où les trouver sur votre apparéil).
Attention Dans le cas
Dans le cas d'une cuisine chauffée avec un apparéil raccordé à une cheminée (ex : poèle), il faut installer la hotte en version recyclage. Ne pas utiliser la hotte sans les filtres cassettes. Une ventilation convenable de la pierce doit être prévue lorsqu'une hotte de cuisine est utilisée simultanément avec des apparéils utilisants du gaz ou un autre combustible.
1 / A L'ATTENTION DE L'UTILISATEUR FR
- RESPECT DE L'ENVIRONNEMENT
- Les matériaux d'emballage de cet apparéil sont recyclables. Participez à leur recyclage et contribuez ainsi à la protection de l'environnement en les déposant dans les conteneurs municipaux prévus à cet effet.
- Notre apparéil contient également de nombreux matériaux recyclables. Il est donc mar


que de ce logo a fi n de vous indiquer que les apparciels usages ne doivent pas etre melanges avec d'autres déchets. Le recyclage des apparciels qu'organise.
votre fabricant sera ainsi realized dans les meilleures conditions, conformement à la directive européenne 2002/96/CE sur les déchets d'equipements
electriques et Electroniques.
Adressez vous à votre mairie ou à votre revendeur pour connaître les points de collecte des apparèils usages les plus proches de votre domicile.
- Nous vous remercions pour votre collaboration à la protection de l'environnement.

Attention
L'installation est réservée aux installateurs et techniciens qualifiés.

Attention
Avant la première utilisation du fiitre cassette, retirez le fi im de protection.
1 / A L'ATTENTION DE L'UTILISATEURFR
DESCRIPTION DE VOTRE APPAREIL

2 / INSTALLATION DE VOTRE APPAREIL FR
- L'appareil doit être débranché pendant l'installation ou dans l'eventualité d'une intervention.
- Verifi ez que la tension du réseau correspond à la tension mentionnée sur la plaque signalétique située à l'intérieur de la hotte.
- Si l'installation électrique de votre habitation nécessite une modifi cation pour le branchement de votre apparéil, faites appel à un électricien qualifié.
- Si la hotte est utilisée en version évacuation, ne raccordez pas l'appareil à un conduit d'évacuation de fumées de combustion (chaudière, cheminée, etc...) ou à une VMC (ventilation mécanique contrôle).
— Le conduit d'évacuation, quel qu'il soit ne doit pas déboucher dans les combles. - Installé la hotte à une distance de sécurité d'au moins 70cm d'un plan de cuisson électrique, gaz ou mixte.
- UTILISATION EN VERSION EVACUATION
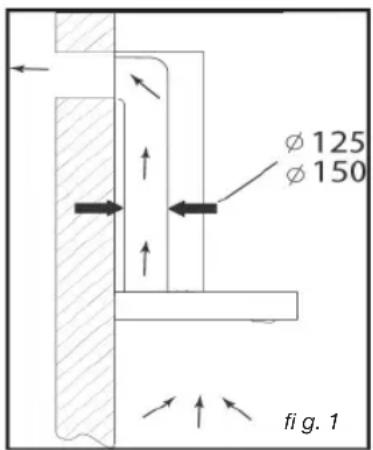
Vous possedez une sortie vers l'extérieur (fi g. 1)
Votre hotte peut etre raccordee sur celle-ci par Iintermedaire d'une gaine d'evacuation (minimum 125 mm, emaillee, en alu, fl exible ou en matière ininfl ammable). Si voitre gaine est inférieure a 125 mm de diametre, passez obligatoirement en mode recyclage.

- UTILISATION EN VERSION RECYCLAGE
Vous ne possedez pas de sortie vers l'extérieur (fi g. 2)
Tous nos apparèils ont la capacité de fonctionner en mode recyclage.
Dans ce cas, ajoutez un fi Itre à charbon actif qui retiendra les odeurs.
(voir Chapitre 4: Changement du fi ttre charbon)

2 / INSTALLATION DE VOTRE APPAREILFR
RACCORDEMENT ELECTRIQUE
Lors de l'installation et des opérations d'entretien, l'appareil doit être débranché du réseau électrique, les fusibles doivent être coupés ou rétirés.
Le raccordement électrique est à réaliser avant la mise en place de l'appareil dans le meuble.
Vérifi ez que:
— la puissance de l'installation est suffi sante,
- les lignes d'alimentation sont en bon etat
- le diamètre des fi ls est conforme aux régles d'installation.
Attention Esteapana
Este aparato se suministra con un cable Cet apparéil est livre avec un cable d'alimentation H 05 VVF à 3 conducteurs de 0,75mm^2 (neutre, phase et terre). Il doit être branché sur réseau 220-240 V monophasé par l'intermédiaire d'une prise de courant normalisée CEI 60083 qui doit rester accessible après installation, conformément aux règles d'installation.
Notre responsabilité ne saurait este engagee en cas d'accident consecutif a une mise à la terre inexistante ou incorrecte. Le fusible de votre installation doit etre de 10 ou 16 A. Si le cable d'alimentation est endommagé, faites appel au service après afin d'eviter un danger.
Si l'installation électrique de votre habitation nécessite une modifi cation pour le branchement de votre apparéil, faites appel à un électricien qualifi é.
Attention Si la hotte
Si la hotte presente unequelconque anomalie, debranchez l'appareil ou enlevez le fusible correspondant à la ligne de branchement de I'appareil.
2 / INSTALLATION DE VOTRE APPAREIL FR
MONTAGE DE LA HOTTE
Attention L'installati
L'installation doit être conforme aux règlements en vigueur pour la ventilation des locaux. En France, ces règlements sont indiqués dans le DTU 61.1 du CSTB. En particulier, l'air evacué ne doit pas être envoyé dans un conduit utilisé pour evacuer les fumées d'appareils utilisant du gaz ou autre combustible. L'utilisation de conduits désaffectés ne peut se faire qu'après accord d'un spécialiste compétent.
La distance minimale entre le plan de cuisson et la partie la plus basse de la hotte doit être de 70 cm. au minimum. Si les instructions de la table de cuisson installée sous la hotte spécifique ent une distance plus grande que 70 cm, celle-ci doit être prise en compte.
Fixation au mur :
Tracez une ligne sur le mur, centre et à la verticale de votre plan de cuisson.
Tracez sur le mur les 3 trough que vous doivent pincer en utilisant le crochet de suspension de la hotte fourni et en respectant la distance conseillée (pièce A fig. 1).
- Percez les 3 trouss de 8mm à l'emplacement adequat et inserez les chevilles.
— Avant de raccorder la hotter, monter le clapet anti-retour sur la sortie moteur.
Fixez le support de fi xation de la hotte en veillant a ce qu'il soit parfaitement de niveau (piece A fi g. 1).
Fixez la gaine extensible d'évacuation (non fournie) sur la sortie moteur sans généré le mouvement du clapet anti-retour (fi g. 3).
- Posez et fi xez le corps de la hotte sur ce support avec les vis prevues en dotation (fig. 2).


Fig. 2

Fig. 3
2 / INSTALLATION DE VOTRE APPAREILFR
MONTAGE DE LA CHEMINEE
Evacuation extérieure
- Calculez la hauteur fi nale pour fixer l'étrier en U de support de la cheminée (piece B fig. 1).
Tracez les 2 trough à l'endetroit adapté. - Percez les 2 trouss de 8mm et fixez l'étrier de support de la cheminée en faisant attention qu'il soit bien dans l'axe de la hotte (piece B fi g.1).
Fixez l'etrier plat à l'arrière de la cheminée inférieure. - Posez les 2 cheminées sur la hotte (fi g. 5).
Raccordez la gaine à la sortie de l'air vers l'extérieur.
Effectuez le raccordement electrique de la hotte au moyen du cable d'alimentation. - Soulever la cheminée supérieure jusqu'au plafond et la fi xer à l'étrier à l'aide des vis.




2 / INSTALLATION DE VOTRE APPAREIL FR
Recyclage
- Calculez la hauteur fi nale pour fixer l'étrier de support de la cheminée.
Tracez les 2 trouss à l'endetroit adapté.
— Percez les 2 trouss de 8mm et fi xez l'étrier de support de la cheminée en faisant attention qu'il soit bien dans l'axe de la hotte.
Fixez l'etrier plat a l'arriere de la cheminée inférieure. - Installer l'adaptateur de gaine sur le defl ecteur (fi g. 8).
Raccordez la gaine extensible au defl ecteur. - Posez la cheminée composée de 2 parties sur la hotte (fi g. 5).
- Installer le défil ecteur (fi g. 8) dans la cheminée supérieure au niveau des ouies d'aération (fi g. 6).
Effectuez le raccordement électrique de la hotte au moyen du cable d'alimentation.
— Soulevez la cheminée supérieure jusqu'au plafond et la fi xer à l'étrier à l'aide des 2 vis.


Fig. 8




Conseil
Pour une utilisation optimale de votre apparéil, nous vous conseillons le raccordement à une gaine diamètre 150 mm (non livrée). Limiter au maximum le nombre de coude et la longueur de la gaine. Dans le cas où la hotte fonctionne en évacuation extérieure, il convient d'assurer une arrivée d'air frais suffi sante pour éviter demettre la pièce en dépression.

Attention
Ne pas utiliser d'outils pour enlever le fi lm de protection transperant sur les parois.
3 / UTILISATION DE VOTRE APPAREILFR
DESCRIPTION DES COMMANDES
Bouton-poussoir
- Appuyez sur la touche stop et le moteurs s'arrête.
- Appuyez sur le boutonasse vitesse, l'avertisseur sonore retentit une fois et le moteur tourne a basses vitesse.
- Appuyez sur le bouton moyenne vitesse, l'avertisseur sonore retentit une fois et le moteur tourne à moyenne vitesse.
- Appuyez sur le bouton vitesse rapide, l'avertisseur sonore retentit une fois et le moteur tourne à vitesse rapide.
- Appuyez sur le bouton éclairage et les deux lampes s'allument. Appuyez à nouveau et elles s'eteignent.

4 / ENTRETIEN ET NETTOYAGE DE VOTRE APPAREIL FR

Attention
Debranche l'appareil avant de proceder à l'entretien et au nettoyage de l'appareil. Un entretien régulier de votre apparéil est une garantie de bon fonctionnement, de bon rendement et de durabilité.

Attention
Le non-respect des instructions de nettoyage de l'appareil et des filtres peut occasionner des incendies. Veuillez respecter strictement les consignes d'entretien.
- NETTOYAGE DES FILTRES CASSETTES
Ils doivent être nettoyés toutes les 30 heures d'utilisation environ ou une fois par mois minimum. Ce nettoyage peut être effectué dans votre lave-vaisselle en position verticale.
Utilisez une brosse, de l'eau chaude et un détergent doux. Rincez-les et séchez-les soignement avant de les remetre en place.

- Demontage du fi Itre cassette
Pivotez la poignee integree du filtre cassette.
- Basculez le fi Itre cassette vers le bas.
- CHANGEMENT DU FILTRE CHARBON
Remplacez-le toutes les 120 heures d'utilisation environ.
Retirez les fi Itres cassettes.
Tournier le fi itre charbon pour le retirer.
-
Faire l'opération inverse pour remettre un nouveau fi Itre.
-
Remetre les fi Itres cassettes.

4 / ENTRETIEN ET NETTOYAGE DE VOTRE APPAREILFR
- NETTOYAGE DE LA SURFACE EXTERIEURE
Pour nettoyer l'extérieure de votre hotte utilisez de I'eau savonneuse, mais n'utilisez jamais de crèmes à recuner, de détergents corrosif, ni d'éponge grattoir ou Brosse. Essuyez avec un chiffon humide et doux.
- CHANGEMENT DE LAMPE
Attention Avant tout
Avant toute intervention, la hotte doit etre mise hors tension, soit en retirant la prise, soit en actionnant le disjoncteur.
Modèle avec lampe halogène
Retirez le hublot
- Changez la lampe halogène
- Replacez l'ensemble en effectuant les opérations en sens inverse.

4 / ENTRETIEN ET NETTOYAGE DE VOTRE APPAREIL FR

Attention
Avant toute intervention, la hotter doit etre mise hors tension, soit en retirant la prise, soit en actionnant le disjoncteur.
ENTRETENIR VOTRE APPAREIL
| ENTRETIEN... COMMENT PROCEDURE? | PRODUITS/ACCESSIONS A UTILISER | |
| Enveloppe et accessoires | N'utilisez jamais de tampons métalliques, de produits abrasifs ou de brosses trop dures. | Pour nettoyer la carrosserie et le hublot d'éclairage, utilisez exclusivement des nettoyants menagers du commerce dilués dans de l'eau, puis rincez à l'eau claire et essuyez avec un chiffon doux. |
| Filtre cassette | Ce fi Itre retient les vapeurs grasses et les poussières. Il est l'élement assurent une part importante de l'effi cacité de votre hotte. Dans le cas de taches persistantes, utilisez une crème non abrasive, puis rincez à l'eau claire. | Avec un nettoyant menager du commerce, puis rincez abondamment et séchez. Ce nettoyage peut être effectué dans votre lave-vaisselle en position verticale (ne pasmettre en contact avec de la vaisselle sale ou des couverts en argent). |
| Filtre charbon actif | Ce fi Itre retient les odeurs et doit être changé au moins tous les ans en fonction de votre utilisation. Commandez ces fi Itres chez votre revendeur (sous la référence indiquée sur la plaque signalétique située à l'intérieur de la hotte) et notez la date de changement. | |
Pour préserver votre apparéil, nous vous recommendons d'utiliser les produits d'entretien Clearit.

L'expertise des professionnelles au service des particuliers
Clearit you propose des produits professionnels et des solutions adaptees pour l'entretien quotidien de vos apparèils électroménagers et de vos cuisines.
Vous les trouvrez en vente chez votre revendeur habitual, ainsi que toute une ligne de produits accessoires et consommables.
5/ANOMALIES DE FONCTIONNEMENTFR
| SYMPTOMES | SOLUTIONS |
| La hotte ne fonctionne pas... | Vérifi ez que: • il n'y a pas de coupure de courant. • une vitesse a été effectivement sélectionnée. |
| La hotte a un rendement insuffi sant... | Vérifi ez que: • la vitesse moteur sélectionnée est suffi sante pour la quantité de fumée et de vapeur dégagée. • la cuisine est suffiSAMMENT aérée pour permettre une prise d'air. • le fi Ittre à charbon n'est pas usage (hotte en version recyclage). |
| La hotte s'est arrêtée au cours du fonctionnement | Vérifi ez que: • il n'y a pas de coupure de courant. • le dispositif à coupure omnipolaire ne s'est pas enclenché. |
6 / SERVICE APRES-VENTE ET RELATIONS CONSOMMATEURS
- INTERVENTIONS
Les éventuelles interventions sur votre apparéil doivent être effectuées par un professionnel qualité dépositaire de la marque. Lors de votre appel, mentionnez la référence complète de votre apparéil (modèle, type, numéro de série). Ces renseignements fi gument sur la plaque signalétique (Fig. 1).

- Pour en savoir plus sur tous les produits de la marque :
informations, consels, les points de vente, les spécialistes après-vente.
- Pour communiquer:
nous sommes à l'écoute de toutes vos remarques, suggestions, propositions auxquelles nous vous répondrons personnellement.
> Vous pouvez nous écrire :
Service Consommateurs FAGOR
BP 9526
95069 CERGY PONTOISE CEDEX
>ou nous téléphoner au :

PIECES D'ORIGINE
Lors d'une intervention d'entretien, demandez l'utilisation exclusive de pieces détaches certifiées d'origine. PIECE

Notice Facile