9 CFD 60 X - Köksfläkt FAGOR - Gratis bruksanvisning och manual
Hitta enhetens manual gratis 9 CFD 60 X FAGOR i PDF-format.
Ladda ner instruktionerna för din Köksfläkt i PDF-format gratis! Hitta din manual 9 CFD 60 X - FAGOR och ta tillbaka ditt elektroniska enhet i hand. På denna sida publiceras alla dokument som behövs för att använda din enhet. 9 CFD 60 X av märket FAGOR.
BRUKSANVISNING 9 CFD 60 X FAGOR
UDSKIFNING AF KULFILTRET (kulfi Iter valgfrit)
Udskift kulfi ltret after cirka 120 timers.
brug.
— Fjern fi Iterelementet.
— Drej kulfi Itret for at kunne fjerne det.
Med malsattningen att kontinuereglt forbättra varaprodukter, forbehäller vi oss ratten att utföra Förändringar vad beträffar tekiska, Funktionella aller estetiska egenskaper forenade med de tekiska framstegen.

Viktigt:
Innan man startar upp apparaten, skall man noggrant lasa denna bruksanvisning for installation och användning sà att man sà snabbt som möjigt blir hemmastadd med dess Funktion.
SVI
1/TILL ANVÄNDARENS UPPMÄRKSAMHET
Sakerhetsforeskrifter 196
· Skydd av omgivningsmiljon 197
Beskrivning av apparaten 198
2 / INSTALLATION AV APPARATEN
Anvandning i version utlopp 199
Anvandning i version Återcirkulation 199
· Elanslutning 200
- Montering av spiskåpan 201
- Montering av skorstenen
^ Utvändigt utlopp 202
^o Atercirkulation 203
3/ANVÄNDNINGAVAPPARATEN
Beskrivning av reglagen 204
4/UNDERHALLOCHRENGORINGAVAPPARATEN
· Rengöring av de modulara fi Iterna 205
- Utbyte av kolfi ltret 205
· Rengöring av utvändiga ytor 206
- Utbyte av glödlampan 206
·Underhäll av apparaten 207
5/STORNINGARIDRIFTEN 208
6/TEKNISK SERVICE 209
1/TILL ANVÄNDARENS UPPMÄRKSAMHET SV
Viktigt
Spara detta instruktionshäfte med apparaten. Ifall apparaten saljs aller overlåts till annan person, tillförsakra att braksanvisningen foljer med densamma. Var vänlig och läs dessa rekommendationer rörande apparaten innanenna används och installereras. De har utformats med Er och andras sakerhet i omtanke.
SAKERHETSFORESKRIFTER
Denna apparat har utformats for att anvandas av privatpersoner i deras hem.
Denna apparat skull anvandas av vuxna.
Övervaka barn och se till att dom inte rör den och anvander den som en leksak. Tillförsäkra att deinte leker med apparatens manöverreglage.
När du erhäller apparaten, packa upp den och inspektera den omedelbart.
Kontrollera dess allmanna utseende. Om du har forbehall att framhalla, skriv ner dessa pa foljesedeln och behall ett exemplar.
— Din apparat ar utformad for normalt hemmabruk. Använd den inte for kommersiella aller industriella andamål aller for andra syften an de som den har utformats for.
- Modifi era inte, eller försökändra på apparatens egenskaper. Detta kan medföra fara.
- Alla reparationer skull uteslutande utforas av en auktoriserad facman.
- Koppla alltid ur spiskåpan innan du rengör eller utfor underhäll.
- Se till att rummet ar ventilerat på lämpligt satt om kapan fungerar på samma gang som andra apparater som drives med en energikälla som inte ar elektricitet, sä att kapan inte suger upp forbränningsgaser.
- Man fär inte fl ambera matvaror eller lata gaslågor brinna utan att det fi nns nçon kastrull under kapan (de uppsugna lagorna kan skada apparaten).
När man steker under apparaten, maste man kontinuertigt hälla ett öga på densamma. Upphettade oljor och fett kan vid höga temperaturer ta eld.
- Respektera rengöringsintervaller och utbyte av filterna. Ackumulering av fl ottrester kan Åstadkomma en elsvåda.
- Kåpan fär inte användas over en eldstad baserad på bransle (ved, kol...).
- Använd inte apparater med ønga eller Hogtryck for att rengöra apparaten (krav i relation med den elektriska sakerheten).
Med malsattningen att alltid forbättra vara Produktter, forbehaller vi oss ratten att utfora modifi eringar av tekiska, Funktionella ell estetiska egenskaper, på grund av tekiska framsteg.
- För att enkelt kunna finna referenserna på Er apparat, tillrader vi att ni skriver upp dessa på sidan " Teknisk Service och Konsumentservice ". (På)donna sida forklaras även var dessa Återfinns på apparaten).
Denna apparat ar inte utformad for att anvandas av personer (barn inkluderade) med nedsatt fysisk, sensorisk aller mental kapacitet. Inte ell er av personer som inte har erfarenhet aller kunskap, med undantag av de fall dar det fi nns en person ansvarig for deras sakerhet, som overvakar och har kunskap rorande anvandningen av apparaten.
OBS Om s
! Om spisen varms upp med en apparat inkopplad pa en skorsten (till exempl, en kamin), maste man installerera kapan i version Återcirkulation. Kapan fär inte användas utan de modulāra fi Iterna.
Man maste forbereda en lamplig ventilation nar man anvander en spiskapa pa somma gang som man anvander andra apparater som fungerar med gas ell annat bransle.
1/TILL ANVÄNDARENS UPPMÄRKSAMHET SV
- SKYDD AV OMGIVNINGSMILJÖN
- De materiel som används für emballaget tillenna apparat kan atervinnas. Medverka i dess atervinning och bidra på detta satt till att bevara omgivningsmiljön genom att lamna dessa i de kommunala containers som tillhandahalls for detta andamål.
— Er apparat bestär även den av materiel som kan Återvinnas, vilket medfor att den ar markt med logotypen som anger att dessa apparater nar de kasseras inte fãr blandas med andra sopor.


På detta sätt, utförs Återvinningen av de apparater som dess tillverkare samordnar under de bösta möjliga villkoren, i enlighet med europeiska foreskrifter 2002/96/CE rörande restprodukter frän elektriska och elektroniska utrustninger. Fråga dinCOMMUN erderin fösäljare var den narraste uppsamlingen av skrotade apparater Återfi nns.
— Vi tackar dig für ditt samarbete vid bevarandet av omgivningsmiljön.

OBS
Installationen ar forbehällen montörer och kompetenta fackmän.

OBS
Innan man for Första gangen anvander det modulara fi Itr, avlagsnas skyddsf Imen.
1/TILL ANVÄNDARENS UPPMÄRKSAMHET SV
BESKRIVNING AV APPARATEN

2 / INSTALLATION AV APPARATEN SV
Apparaten maste vara frankopplad när den installereras ellr när man utfor vilken som helst typ av ingrepp pa densamma.
-
Kontrollera att natspänningen motvarsar den spanning som anges pa typskylten som aterfi nns pa insidan av kapan.
-
Om den elektriska installationen av kapan medfor att man maste utfora en modifi ering for att kunna ansluta apparaten, bör man rädfraga en kvalifi cerad elektriker.
-
Om kapan anvands i version utsugning, fär den inte anslutas till ett utloppsrör forforbränningsgaser (värmeppanna, skorsten, etc.) aller en KMV (kontrollerad mekanisk ventilation).
-
Kanalen for utlopp, oberoende av den typ som anvands, fär inte mynna ut under taket.
-
Installera kapan paett sakerhetsavstand paatminstone 70 cm over elektrisk, gas ellk kombinerad kokplatta.
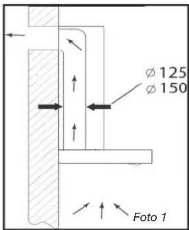
ANVÄNDNING I VERSION UTLOPP
Om du har tillgang till ett utlopp (foto 1)
Din spiskapa kan anslutas till detta med ett utloppsror (O minimum 125 mm, emaljerat, av aluminium eller av fl amsakert material).
Om roret har en diameter som ar mindre an 125mm ,maste man obligatorisk anvanda mode atercirkulation.

ANVÄNDNING I VERSION ATERCIRKULATION
Om duinte har tillgang till ett utlopp (foto 2)
Alla vara apparater har mojligehen att fungera i mode atercirkulation.
I detta fall, anvands ett fi tter med aktivt kol som fi litrar matoset.
(se Kapitel 4: Utbyte av kolfi ltret)

2 / INSTALLATION AV APPARATENSV
ELANSLUTNING
När man utför installationen och arbete med underhäll, mäste apparaten vara frankopplad frän det elektriska nätet och säkringarna franslagna eller avlågsnade.
Elanslutningen skall utforas innan det att apparaten placeras i mobeln.
Kontrollera att:
- natspänning i installationen ar tillräcklig,
- kablarna for frammatning ar i gott skick,
- diametern på kablarna överensstämmer med installationsföreskrifterna.

OBS
ha apparat levereras med en anslutningsssladd H 05 VVF med 3 ledare pa 0,75~mm^2 (nolla, linje och jord) som skall anslutas till ett enfas nat pa 220 - 240 V med ett standardiserat uttag CEI 60083 som maste vara tillgangligt after det att installationen har utforts, i enlighet med installationsforeskrifterna.
Vi tar inte på oss nagot ansvar ifall en olycka inträffar som földj av en obefi ntlig aller bristfällig jordning.
Sakringen i installationen skall vara pa 10 eller 16A. Om anslutningsssladden arskadad, skall man ta kontakt med forsajaren fore att forebygga fara.

OBS
Om man behöver modifi eradenelektriska installationen i rummet foratt kunna ansluta apparaten, skall enkvalifi cerad elektriker anlitas.

OBS
Om kapan har vilket som helst fel, koppla ur apparaten ell er ta ur sakringen motsvarande linjen for anslutning av apparaten.
2 / INSTALLATION AV APPARATEN SV
- MONTERING AV KÄPAN
OBS Installationen skull utforas i overensstammelse med gallande normer for ventilation av lokaler. I Frankrike, ar dessa normativ de som anges i DTU 61.1 av CSTB. I synnerhet, farden evakuerade luften inte skickas genom en kanal som anvands for utlopp av gaser fran apparater som anvander gas erller annat bransle. Kanaler som inte langre ar i bruk kan endast anvandas after det att en fackman har givit sitt godkannande.
Minimiavstandet mellan omraretfor kokning och kapans nedersta del skull som minst vara 70~cm . Om anvisningarna pata typskylten i kapan angerett avstand som ar storre an 70~cm, ar det detta varde som galler.
Fastsattning pà vagg:
-
Mark ut en linje pa vaggen, centrerad, och lodrat mot spishallen.
-
Mark ut de 3 hålen som skall borras och använd upphängningskroken till kapan, avpassa och respektera det rekommenderade avständet (del A i fi g. 1).
-
Borra de 3 halen pa 8 mm pa ratt stalle och tryck in expansionspluggarna.
-
Skruva in hällaren für fastsattning av kapan och se till att den ar perfekt i vag. (del A if g. 1).
-
Innan man hänger upp kapan, monterar man dit backventilen over motorns utlopp.
-
Skruva i det forlangbara holjet (inte inkluderat) for utloppet over motorns utlopputan att hindra backventilens rorelser. (fi g. 3)
-
Placera dit och koppla in kapans kropp over detta faste med de tillhandahallna skruvarna (fi g.2).


fi g. 2

fig.3
2 / INSTALLATION AV APPARATENSV
- MONTERING AV SKORSTENEN
- Utvändigt utlopp
- Beräkna den slutiga höjden für att skruva dit U bygeln till skorstenens feste (del B fi g. 1).
- Mark ut 2 hal pa ratt stalle.
- Borra de 2 halen pa 8 mm och skruva i monteringsflänsentillskorstenen,kontrollera att den ar i linje med kapan (del B fi g. 1).
- Skruva i den plana gaffeln i den bakre nedre delen av skorstenen.
- Placera dit de 2 utslappen pa kapan (fi g.5).
- Anslut utloppshöljet till luftutloppet.
- Utför elanslutningen av kapan med anslutningsssladen.
Dra upp den övre delen av skorstenen maximalt och fasp den mot gaffeln med hjälp av skruvarna.




2 / INSTALLATION AV APPARATEN SV
Atercirkulation
- Beräkna den slutiga höjden für att sattadit skorstenens monteringsfl äns.
-
Mark ut 2 hal pa ratt stalle.
-
Borra de 2 hålen på 8 mm och skruva i monteringsfl änsentillskorstenen,kontrollera att den ar i linje med kapan.
- Skruva i den plana gaffeln i den bakre nedre delen av skorstenen.
Placera dit de 2 utslappen pa kapan (fi g.5). - Anslut utloppsholjet till luftutloppet.
- Utför elanslutningen av kapan med anslutningsssladden.
Dra upp den övre delen av skorstenen maximalt och fasp den mot gaffeln med hjälp av skruvarna.

fig.8




Rekommendation
For att erhalla en optimal anvandning av apparaten, tillrader vi att den ansluts till en kanal pa 150 mm i diameter (inte levererad). Likales des att man begransar antelet krkar och langden pa kanalen. Om kapankommen att fungera som utvendigt utlopp, ar det lampligt att man forssakrar tillracklig luftväxling sa att det inte bildas undertryck i rummet.

OBS
Använd inte verktyg for att avlågsna skyddsf Imen.
3 / ANVÄNDNING AV APPARATENSV
BESKRIVNING AV REGLAGEN
- När man trycker på knappen Stop (Stanna) stannar motorn.
- När man trycker på knappen Low (Lag),kommen ljudsignalen att Ijuda en gang och motornkommen att gå på lag hastighet.
- Nar man trycker pa knappen Mid (Mellanlage),kommen ljudsignalen att ljuda en gang och motorn kommt att gpa medelhastiget.
- När man trycker på knappen High (Hög),kommen ljudsignalen att ljuda engang och motornkommen att gå på hög hastighet.
- När man trycker på knappen Light (Ljus), tänds de två lamporna. Om man Åter trycker på densamma, släcks Ijuset.

4/UNDERHÄLL OCH RENGÖRING AV APPARATEN SV

OBS
Koppla ur apparaten innan du pabörjar arbete med underhall och rengöring av apparaten. Ett periodiskt unterhall ar en garanti for en tillfredsstellande drift, god verkningsgrad och livslängd.

OBS
Att inte respektera anvisingarna for rengöring av apparaten och fi lterna kan orsaka eldsvåda. Folj strikt anvisingarna for underhäll.
RENGÖRING AV DE MODULÄRA FILTERNA
Dessa skall rengoras after 30 timmars
anvandning aller atminstone cirka en
gang i manaden. Rengoring kan utforas i
diskmaskinen, i staende position. Använd
en borste, varmt vatten och ett skonsamt
rengoringsmedel. Skölj och torka forsiktigt
innan de satt's tillbaka.
- Demontering av modulär fi Iter
Vrid pà det modulārā fi Itrets handtag.
Luta det modulara fi Itrt nedat.

UTBYTE AV KOLFILTRET (alternativt)
Ersatt fi ltret after cirka 120 timmars
användning.
-Ta ur de modulara fi Iterna.
Vrid pa kolfi Itret for att ta ut detta.
Satt dit ett nytt fi Iter i omvand ordning.
Satt tillbaka de modulara fi Iterna.

4/UNDERHÄLL OCH RENGÖRING AV APPARATENSV
RENGÖRING AV UTVÄNDIGA YTOR
For att rengora spiskapan utvändigt anvands vatten med tvåmedel; använd inte diskmedel, aller fratande tvattmedel, inte heller kokssvampar eller borstar. Toka den med en fuktig mjuk trasa.
UTBYTE AV GLÖDLAMPAN
OBS Innan man utfor vilket som helst ingrepp, maste man koppla ifran kapan, antingen genom att dra ur kontakten ell er sla om brytaren.
Modell med halogen glödlampa
-Ta bort lampholjet.
— Ersatt den halogena glödlampan.
Satt tillbaka encheten genom att utfora operationen i omvänd ordning.

4/UNDERHALLOCHRENGORINGAVAPPARATENSV

OBS
Innan man utfor vilket som helst ingrepp, skall man forst se till att kapan inte ar under spanning, antingen genom att dra ur stickproppen erer sla ifran brytaren.
- UNDERHÄLL AV APPARATEN
| PRODUKTER/TILLBEHÖR VID UNDERHÄLL | VAD DU BÖR GÖRA | |
| Hölje och tillbehör | Använd aldrig stålull, slipandeprodukterEller hårda borstar. | För att rengörä underredet och lamphöljet, används uteslutande rengöringsprodukter frän butiken utspädda i vatten, skölj)därefter med vatten och torka med en mjuk trasa. |
| Modulär fi Iter | Detta fi Iter binder feta øngor och damm. Detta är elementet som garanterar en viktig del av kåpans effektivitet. Om det fi nns ihärdiga fl äckar, använd ett icede slipande tvålmedel och skölj med rent vatten. | Rengör den med en rengöringsprodukt frän butiken, skölj rikligt och torka ordentligt. Rengöringen kan utforas i diskmaskinen, i upprättstående position (Den fár inte komma i kontakt med smutsig servis eller med silverbestick). |
| Aktivt kolfi Iter | Detta fi Iter binder upp lukt och bör bytas ut øatminstone en gäng om Året, beroende på hur mycket den används. Dessa fi Iter kan beställas hos din försäljare (med den referens som anges på typskylten som äterfi nns på insidan av kåpan) och skrivupp datum for utbyte. | |
For att bibehalla apparaten i gott skick, rekommenderar vi att man anvander underhallsprodukter Clearit.

Proffens ergarenhet och kunskap ställt till de enskildas forfogande
Clearit foreslár professionellaprodukter och passande Lösningar for det dagliga underhallet av dina hushallsapparater och ditt kok.
Du aterfi nner dessa till forsaljning hos din vanlga distributor, tillsammans med ett fullt utbud avprodukter och tillbehör.
5/STÖRNINGAR I DRIFTENSV
| SYMPTOMEN OPLOSSING | |
| Kåpan fungerar inte ... | Kontrolera att :det fi nns strömtillförsel.en hastighet har valts. |
| Effektiviteten på kåpan ar otillräcklig... | Kontrolera att :hastigheten som valts För motorn ár tillräcklig För den mängd av os och ângor som uppstår.köket ár tillräckligt ventilerat sö att det fi nns luftväxling.kolfi Itretinte ár För gammalt (kapa i version Återcirkulation). |
| Kåpan har stannat medan den var i drift. | Kontrolera att :det fi nns strömtillförsel.de nfl erpoliga utlösningsmekanismen inte har slagit ifràn. |
6/TEKNISK SERVICE SV
De ingrepp som maskinen kan erfordra skall utforas:
avaterforsaljaren,
- ell er av vilken som helst yrkeskunnig kvalifi cerad forvaltare av market.
När du ringer, var vänlig uppgde den fullständiga referensen på maskinen (modell, typ och serienummer). Dessa uppgifter Återfi nns på typskylten som sitter på apparaten.
C ueIbIO NOCTOHHORO COBepseHCTBOBaHnHaWeIN PpOdyKmMbIOCTaBnEeM 3a C6oB npaBO n3MeHATb TEXHnueckne, yHKUHOHaNbHbIe IN BHeuHne XapaKTepnCTNk B COOTBETCTBN N C HOBeiWIMN IOCTNXeHnA MTEXHnK.
Notice-Facile