9 CFD 60 X - Capucha FAGOR - Manual de uso y guía de instrucciones gratis
Encuentra gratis el manual del aparato 9 CFD 60 X FAGOR en formato PDF.
Descarga las instrucciones para tu Capucha en formato PDF gratis! Encuentra tus instrucciones 9 CFD 60 X - FAGOR y toma tu dispositivo electrónico nuevamente en la mano. En esta página están publicados todos los documentos necesarios para el uso de su dispositivo. 9 CFD 60 X de la marca FAGOR.
MANUAL DE USUARIO 9 CFD 60 X FAGOR
ES MANUAL DE UTILIZACION
Con el objetivo de melhorar constantemente nuestros productos, nos reservamos el derecho de efectuar modifi caciones en sus caracteristicas sociales,ionales o estéticas vinculadas con los avances技术和icos.

Important:
Antes deponer en marcha su aparato,lea atentamente este manual de instalacion yutilizacion para familiarizarse lo masrapidamente possible con su funciona.
ESI
1 / A LA ATENCION DEL USUARIO
- Consignas de seguridad 4
- Conservación del medio ambiente 5
- Descripción del aparato 6
2 / INSTALACION DEL APARATO
- Utilización en version evacuación 7
- Utilización en version reciclaje 7
- Conexión electrica 8
Montaje de la campana extractor 9
Montaje de la chimenea Evacuacion exterior 10
° Reciclaje
3 / UTILIZACION DEL APARATO
- Descripción de los mandos 12
4 / MANTENIMIENTO Y LIMPIEZA DEL APARATO
·Limpieza de los fi ltros modulares 13
- Cambio del fi Itro de carbono 13
Limpieza de la superficie exterior 14
- Cambio de la bombilla 14
Mantenimiento del aparato 15
Conserve este manual con el aparato. Si debe vendero o ceder el aparato a另一边 persona, asegürese de que elmanual deutilizacion va con el. Porfavor,lea这些东西 consejos antes de instalar yutilizar el aparato. Han sido redactados pensando en su seguridad y la de losdemas.
- CONSIGNAS DE SEGURIDAD
-
Este aparato ha sido Diseñado para ser realizado por particulares en sus domicílios.
-
Este aparato debe serutilizzato poradultos. Tenga cuidado de que los niños no lo toquen y loutilicen como un juguete. Asegürese de que no manipulen los mandos del aparato.
-
Cuando reciba el aparato, desembalelo o hagalo desembalar inmediamente. Compruebe su aspecto general. Si tiene reservas que signaled, hagalo por escrito en el albaran de entrega y quédese con un ejemplar.
-
Su aparato está destinado a un uso dométrico normal. No lo utilizes con fi nes commerciales o industriales o con altri fi nes que no sean aquellos para los que ha sido disnado.
-
No modifi que o intente modifi car las caractéristicas del aparato. Podrá suponer un peligro par usted.
-
Las reparaciones deben ser realizadas exclusivamente por un especialista autorizada.
-
Desconecte siempre la campana extractor a nantes de limpiarla o realizar el mantenimiento.
-
Ventile adecuadamente la habitación si la campana funciona al mismo tiempo que otros aparatos alimentados con una fuente de energia que no sea la electricidad. Illo es para que la campana no aspire los gases de combustión.
-
No se pueda fl amberar alimentos o tener encendidos los fuegos de gas sin ningún
recipient bajo la campana (las llamas aspiradas podrjan deteriorar el aparato).
-
Cuando este Friendo debajo del aparato, deben vigilarlo constantemente. Los aceites y grasas calentadas hasta una alta temperatura pueda coger fuego.
-
Respete la Frequencia de limpieza y cambio de los fi ltros. La acumulacion de depositos de grasa podra provocar un incendio.
-
No puede funciona encima de un fuego a base de combustible (madera, carbón...).
-
No utilise aparatos de vape o a alta presi sión para limpiar el aparato (exigencias relativas a la seguridad electrica).
-
Con el objetivo de melhorar siempre nuestros productos, nos reservamos el Derecho de aplicar modificaciones a sus caracteristicas sociales, superficies o estéticas, provocadas por los avances技术和
-
Para que pueda encontrar fácilmente las referencias de su aparato, le aconsejaramos que las anote en la网页 "Servicio Tecnico y Servicio al Consumidor". (Esta頁a también le explicada sobre encontrarlas en el aparato).
-
Este aparato no está previsto para ser realizado por personas (incluyendo niños) con las capacidades fisicas, sensoriales o mentales reducidas, o por personas desprovistas de experiencia o conocimientos, salvo si, atramés de una persona responsable de su seguridad,@cuentan con vigilancia o tienen instrucciones prevalas sobre lautilidacion del aparato.
Atencion Si la cocina
Si la cucina calienta con un aparato connectado a una chimenea (por exemple, una estufa), se debe instalar la campana en version reciclaje. No utilise la campana sin los fi ltros modulares.
Hay que prever una ventilacion adecuada cuando se utilise una campana extractor de cocina al mesmo tiempo queOthers aparatos que functionen con gas u除外 combustible.
1 / A LA ATENCIón DEL USUARIO ES
PROTECCION DEL MEDIO AMBIENTE
- Los materiales realizados para el embalaje de este aparato son reciclables. Participe en su reciclaje y contribuya asi a conservar el medio ambiente tirandolos a los contenedores municipales previstos para ellos.
— Su aparato también contiene materiales reciclables, por lo que está marcado con este


logotipo que le indica que los aparatos desechados no deben mezclarse con otros residuos. Actuando asi, el reciclaje de los aparatos que organize su fabricante se efectuará en las mejoras conditiones posibles, de acuerdo con la directiva europea 2002/96/CE sobre los residuos de equipos electricos y electrónicos. Consulte en su ayuntimiento o a su vendedor para poder conocerdonde se encontrartran los+puntos de recogida de aparatosdesechados más cercanos a su domicilio.
- Le damos las gratias por su的合作ación en la protección del medio ambiente.

Atencion
La instalación está reservada a los instaladores y技术和佼idos caleados.

Atencion
Antes de utilizes por prima zez el fi Itro modular, retire la pelicula protectora.
1 / A LA ATENCION DEL USUARIOES
DESCRIPCION DEL APARATO

2 / INSTALLACION DEL APARATO ES
— El aparato debe estar desconectado al instalarlo o al realizarrialquier intervencion en el.
- Compruebe que la tension de la red corresponde a la tension indicada en la placar de caracteristicas que se enquiryra en el inferior de la campana.
- Si la instalación electrica de su campana obliga a efectuar una modifi cación para poder conectar el aparato, llame a un electricistaequali cado.
- Si la campana se usa en version evacuación, no conecte el aparato a un conductor de evacuación de humos de combustión (caldera, chimenea, etc.) o a una VMC (ventilación mecnica controlada.
— El conducto de evacuacion, sea cual sea, no debe desembocar en los bajos del tejado.
- Instale la campana a una distancia de seguridad de al menos 70cm de la placar de cocccion electrica, de gas o mixta.
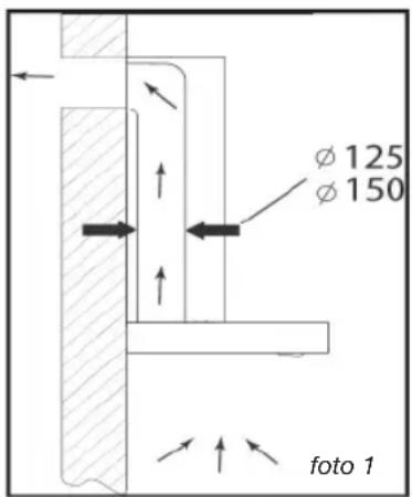
- UTILIZACION EN VERSION EVACUACION
Si tiene una calidad hacía el exterior (photo 1)
Su campana se pueda conectar a ella mediante un conductor de evacuacion (o minimo 125~mm , esmaltado, de aluminio o de material ininfl amable). Si el conductor Tiene un diametro inferior a 125~mm , pase obligatoriamente al modo reciclaje.

- UTILIZACION EN VERSION RECICLAJE
Todo losnectros aparatos presentan la posibidad deFuncionar en modo reciclaje. En ese caso,añada un fi ltro de carbono activo que retendra los olores.
(verb Capitulo 4: Cambio del filtro de carbono).

2 / INSTALLACION DEL APARATOES
- CONEXION ELECTRICA
Al efectuar la instalacion y las operaciones deostenimiento, el aparato deben estar desconectado de la red electrica y los fusibles estaran cortados y quitados.
La conexión electrica se deben realizar antes de colocar el aparato en el mueble.
Compruebe que:
- la potencia de la instalación es suficiente,
— las lineas de alimentacion está en buena estado, - el diametro de los cables es conforme con las normas de instalacion.
Atencion Esteapan
Este aparato se suministra con un cable de alimentacion H 05 VVF a 3 conductores de 0,75~mm^2 (neutro, fase y tierra) que se debe conectar a la red de 220 -240 V - monofasia mediante una toma de corriente normalizada CEI 60083 que deben estar accesible una vez efectuada la instalacion, de acuerdo con las normas de instalacion.
No asumiremos贯穿a responsabilidad en caso de producirse un accidente debido a una toma de tierra inexistente o incorrecta. El fusible de su instalacion deben ser de 10 o 16 A. Si el cable de alimentacion estuerva dañado, llame al serviceo posventa para evaporar todo peligro.
Atencion Si necessities
Si necesita modifi car la instalacion electrica de su habitacion para poder conectar el aparato, llame a un electricista qualifi cado.
Atencion Si la ca
Si la campana Tiene该如何 anomía, desconecte el aparato o quite el fusible correspondiente a la linea de connexion del aparato.
2 / INSTALLACION DEL APARATO ES
MONTAJE DE LA CAMPANA EXTRACTORA
Atencion La instalata
La instalacion debe ser conforme a las normativas vigentes para la ventilacion de los locales.En Francia, dichas normativas vivoen indicadas en el DTU 61.1 del CSTB. En particular, el aire evacuado no debe ser enviado un conductor utilizado para evacuar el homo de aparatos queutilicen gas uOtro combustible.Los conductos en desuso solo peuvent ser realizados con el acuerdo de un especialista competente.
La distancia minima entre la zona de coccyon y la parte mas baja de la campana debe ser por lo menos de 70~cm .Si las instrucciones de la plac installation bajo la campana indicaran una distancia mayor que 70~cm es esta la que se deben tener en cuesta.
Fijación en la pared:
Dibuje una linea sobre el muro, centrada, y de la vertical de su plan de cocccion.
-
Dibuje sobre el muro los 3 agujeros que necesita taladrar utilizing el gancho de suspENSION de la campana, proportionsado y respetando la distancia recomendada (pieza A de la fi g.1).
-
Taladre los 3 agujeros de 8 mm en laubicacion adecuada y introduzca las espigas.
-
Enrosque el soporte para fi性和 de la campana garantizing que esté totalmente nivelado (pieza A de la fi g. 1).
-
Antes de colgar la campana, montar la valvula de retencion.sobre la calidad del motor.
Enrosque la funda extensible (no incluida) para evacuacion sobre la calidad del motor sin obstaculzar los movimientos de la valvula de retencion.(fi g.3).
— Coloque y conecte el cuerpo de la campana sobre este soporte con los tornillos previstos incluidos (fi g. 2).



2 / INSTALLACION DEL APARATOES
MONTAJE DE LA CHIMENEA
Evacuación exterior
- Calcule la alta fi nal para enroscar el estribo en U del soporte de la chimenea (pieza B fi g. 1).
- Marque 2 agujeros en el lugar adequado.
- Taladre los 2 agujeros de 8 mm y enrosque la brida de soporte de la chimenea prestando atencion para que este bien en el eje de la campana (pieza B fi g.1).
- Enrosque la horquilla plana a la parte trasera de la parte inferior de la chimenea.
- Coloque las 2 chimeneas sobre la campana (fi g. 5).
- Conecte lafundaa la salute del aire hacia el exterior.
Realice la connexion electrica de la campana por medio del cable de alimentacion. - Levante la chimenea superior hasta el limite maximo y fjela a la horquilla con la。,ayuda de los tornillos.


foto 5

foto 3

2 / INSTALLACION DEL APARATO ES
Reciclaje
- Calcule la alta fi nal para insertar la brida de soporte de la chimenea.
- Marque 2 agujeros en un lugarADECUIDO
— Taladre los 2 agujeros de 8 mm y enrosque la brida de soporte de la chimenea prestando atencion para que este bien en el eje de la campana.
— Enrosque la horquilla plana a la parte trasera de la parte inferior de la chimenea.
— Coloque las 2 chimeneas sobre la campana (fi g. 5).
- Connecte la funda a la calidad del aire hacía el exterior.
Realice la connexion electrica de la campana por medio del cable de alimentacion.
- Levante la chimenea superior hasta el limite maximo y la fi je a la horquilla con la ayud de los tornillos.






Nota
Para su optima utilizacion, se recomienda conectar la campana a una chimenea de 150mm de diametro (no suministrado). Limitar al maximum el numero de codos y la longitud del conductor. Si la campana funciona en evacuation exterior, es conveniente asegurarse de que隐身 aire sufiable para que no se cree depresion en la habitacion.

Atencion
3/UTILIZACION DEL APARATOES
DESCRIPCION DE LOS MANDOS
- Presionando el boton Stop (Parar) el motor se parara.
- Presionando el botón Low (Baja), el avisador sonara una vez y el motor funciona a velocidad baja.
- Presionando el botón Mid (Media), el avisador sonara una vez y el motor funciona para速率 media.
- Presionando el botón High (Alta), el avisador sonara una vez y el motor funciona a velocidad alta.
- Presionando el botón Light (Luz), las dos luces se encenderán. Presionandolo de nuevo, la luz se apagará.

4 / MANTENIMIENTO Y LIMPIEZA DEL APARATO ES

Atencion
Desconecte el aparato antes de proceder al mantenimiento y limpieza del aparato. Un mantenimiento periodico es una garantía de buen funciona, buen rendimiento y duración.

Atencion
No respetar las instrucciones de limpieza del aparato y los fi ltros可以更好 occasionar incendios. Respete estrectamente las instrucciones deostenimiento.
- LIMPIEZA DE LOS FILTROS MODULARES
Se deben limpiar cada 30 horas de uso o aproximamente una vez al mes como minimo. La limpieza se pueda hacer en el lavavajillas, en posicion vertical.
Utilice un cepillo, agua caliente y un detergente suave. Aclarenos y sequelos con cuidado antes de volverlos a colocar.
- Desmontaje del fi Itro modular
Gire el asa integrada del fi Itro modular.
— Incline el fi Itro modular hacía abajo.

- CAMBIO DEL FILTRO DE CARBONO (enopping)
Cambiocada120horasdeutilizacionapproximadamente.
- Quite los fi ltros modulares.
Gire el fi Itro de carbono para retirarlo.
— Haga la operación contraria para colocar un nuevo fi Itro.
— Vuelva a poner los fi ltros modulares.

4 / MANTENIMIENTO Y LIMPIEZA DEL APARATOES
- LIMPieZA DE LA SUPERFICIE EXTERIOR
Para limpiar el exterior de la campana extractora utilise agua con jabon; no utilise cremas para fregar, ni detergentes corrosivos, ni estropajos o cepillos. Séquela con un trapo humedo y suave.
- CAMBIO DE LA BOMBILLA

Atencion
Antes de realizarrialquier intervencion,debera dejar la campana sin tension,bien desenchufandola o bien actionando el disyuntor.
Modelo con bombilla halógena
- Quite la tulipa
Cambie la bombilla halógena
— Vuelva a colocar el Conjunto realizando las operaciones en sentido inverso.

4 / MANTENIMIENTO Y LIMPIEZA DEL APARATO ES

Atencion
Antes de realizarrialquier intervencion,debera dejar la campana sin tension,bien desenchufandola o bien actionando el disyuntor.
MANTENIMIENTO DEL APARATO
| MANTENIMIENTO QUE | DEBE HACER | PRODUCTOS /ACCESORIOS A EMPLEAR |
| Carcasa y accesos | No有用的idea nunca estropajes metálicos, productos abrasivos o cepillos demasiado duros. | Para limpiar el chasis y ojo de buey de iluminación, utilise exclusivamente products de limpieza del commercio diluidos en agua, aclare afterwards con agua y seque con un trapo suave. |
| Filtro modular | Este fi itro retiene los vapores grasos y el polvo. Es el elemento que garantiza una parte importante de la efi cacia de la campana.Si hubiera manchas persistentes, utilise una crema no abrasiva y aclare con agua limpia. | Límpielo con un producto de limpieza del commercio, aclarela abundamente y séquela. La limpieza se pueda hacer en el lavavajillas, en posición vertical (No poder en contacto con la vajilla sucía o con cubiertos de plata). |
| Filtro carbono activo | Este fi itro retiene los olores y se debe cambiar al menos una vez al año, en función de su uso.Pida ellos fi ltros a su vendedor (con la referencia indicada en la placá de característica que se incluya en el interior de la campana) y anote la Fecha del cambio. |
Para Maintener el aparato en buen estado, le recomendamos que utilise los productos de mantenimiento Clearit.

Los conocimientos y la experiencia de los profesionales al service de los particulares
Clearit le propone produits professionnelles y SOLUTIONES adecuadas para el mantenimiento cotidiano de sus aparatos electrodomesticos y su cucina.
LosURTARo en laventa en su distribuidor habitual, junto con toda una linea de
productos accesarios y consumables.
| SINTOMAS | SOLUTIONES |
| La campana no funciona... | Compruebe que : • no hay un corte de corriente. • se ha selección una velocidad. |
| El rendimiento de la campana es insufi ciente... | Compruebe que : • la velocidad del motor que ha的选择acionado es sufí ciente para lacantad de homo y el vapor de agua producido. • la cucina esta sufí cientamenteventilada para que pueda entrada aire. • el fi ltro de carbono no esta gastado (campana en version reciclaje). |
| La campana se ha parado@msteadas estaría functionando. | Compruebe que : • no hay un corte de corriente. • no se ha Activado el dispositivo de corte omnipolar. |
6/SERVICIO TECNICO ES
Las intervenciones que requirelaquinadeferan ser efectuadas:
— por el revendedor,
- o porrialquier profesional qualifi cado depositario de la marca.
Al llamar,mentione la referencia completa de la maquina (modelo, tipo y numero de series).
Estos datos fi guran en la placá de identifi cación situada en laquina.
EN18
3 / USO DEL DISPOSITIVO
Vip filterelementet nedad.

ManualFacil