9 CFD 60 X - Basket FAGOR - Free user manual and instructions
Find the device manual for free 9 CFD 60 X FAGOR in PDF.
Download the instructions for your Basket in PDF format for free! Find your manual 9 CFD 60 X - FAGOR and take your electronic device back in hand. On this page are published all the documents necessary for the use of your device. 9 CFD 60 X by FAGOR.
USER MANUAL 9 CFD 60 X FAGOR
ENGUIDETO INSTALLATION
FR GUIDE D'UTILISATION
PT MANUAL DE UTILIZACAO
As part of our commitment to constantly improving our products, we reserve the right to make changes to them based on technical advances to their technical and functional features and appearance.

Warning :
Before installing and using your appliance, please carefully read this Guide to Installation and Use, which will allow you to quickly familiarise yourself with its operation.
ENT
1 /NOTICES TO THE USER
- Safety recommendations 20
- Environmental protection 21
- Description of your appliance 22
2 / INSTALLING YOUR APPLIANCE
- Using the evacuation mode 23
- Using the recycling mode
- Electrical connections 24
-Assembling the hood 25 - Assembling the ventilation shaft
^ Outdoor evacuation 26
^ Recycling 27
23
3 / USING YOUR APPLIANCE
- Description of control panel 28
4 / CARING FOR AND CLEANING YOUR APPLIANCE
- Cleaning the fi Iter cartridges 29
- Changing the carbon filter 29
- Cleaning the outer surfaces 30
- Changing the light bulb 30
- Maintaining your appliance 31
5/TROUBLESHOOTING 32
6/ AFTER-SALES SERVICE 33
1 /NOTICES TO THE USEREN

Attention
Keep this user guide with your appliance. If the appliance is ever sold or transferred to another person, ensure that the new owner receives the user guide. Please become familiar with these recommendations before installing and using your oven. They were written for your safety and the safety of others.
SAFETY RECOMMENDATIONS
-
This oven was designed for use by private persons in their homes.
-
This appliance is to be used by adults. Make sure that children do not touch and that they do not treat it as a toy. Make sure that they do not touch the appliance's control panel.
-
When you receive the appliance, unpack or have it unpacked immediately. Give it an overall general inspection. Make note of any concerns or reservations on the delivery slip and make sure to keep a copy of this form.
-
Your appliance is intended for standard household use. Do not use it for commercial or industrial purposes or for any other purpose than that for which it was designed.
-
Do not modify or attempt to modify any of the characteristics of this appliance. This would be dangerous to your safety.
-
Repairs must only be carried out by an approved specialist.
Always unplug the hood before cleaning it or performing other maintenance acts.
-
Provide adequate ventilation for the room in the case of simultaneous use of the hood and other appliances powered by an energy source other than electricity. This will prevent the hood from aspirating the combustion gases.
-
You should never "fl ambé" dishes under the hood or operate gas rings under the hood without placing cookware on them (the fl ames sucked up into the hood can damage the appliance).
-
When frying food under the appliance,
you must carefully monitor the preparation at all times.
Oils and grease brought to very high temperatures can catch fire.
- Respect the recommended frequency of cleanings and fiiter replacements. The accumulation of grease deposits may cause a fire.
The hood should never be used over a combustible fuel burning stove (wood, coal, etc.).
- Never use steam or high-pressure devices to clean your appliance (requirement imposed by electrical safety).
With a view to constantly improving our products, we reserve the right to modify their technical, functional or aesthetic characteristics, making any changes to their features considered necessary or desirable in view of technical progress.
In order to easily locate the reference information for your appliance, we recommend that you note these data on the "After-Sales Service Department and Customer Relations" page.
(This page also explains to you where to find this information on your appliance.)
- This appliance is not intended to be used by persons (including children) with reduced physical, sensory or mental abilities, or persons lacking experience or awareness, unless using it with the help of a person responsible for their safety, or under supervision and with prior instruction in its use.

Warning
In the case of a kitchen heated by a device connected to a chimney (a stove, for example) the "recycling" version of the hood should be installed. Do not use the hood without metal filters.
Suitable ventilation should be provided in the room when the hood is used at the same time as appliances operated by gas or another combustible fuel.
1 /NOTICES TO THE USER EN
ENVIRONMENTAL PROTECTION
- This appliance's packaging material is recyclable. Help recycle it and protect the environment by dropping it off in the municipal receptacles provided for this purpose.
- Your appliance also contains a great amount of recyclable material. It is marked with this label to indicate the used appliances that should not be mixed with other waste. This way,

the appliance recycling organised by your manufacturer will be done under the best possible conditions, in compliance with European Directive 2002/96/ EC on Waste Electrical and Electronic Equipment. Contact your town hall or your retailer for the used appliance collection points closest to your home.
- We thank you doing your part to protect the environment.

Warning
Installation should only be performed by installers and qualifi ed technicians.

Warning
Remove the protective fi lm from the cartridge filter before use.
1 /NOTICES TO THE USEREN
DESCRIPTION OF YOUR APPLIANCE

2 / INSTALLING YOUR APPLIANCE EN
The appliance must be unplugged during installation or when any repairs or maintenance work is being performed.
- Ensure that the network voltage corresponds to the voltage noted on the identificaiton plate located inside the hood.
If the electrical installation at your residence requires any changes in order to hook up your Appliance, call upon a professional electrician.
- If the hood is being used in evacuation mode, do not connect the appliance to a combustion gas exhaust duct (boiler, chimney, etc.) or to a CMV (controlled mechanical ventilation) system.
- Under no circumstances should the exhaust duct empty into the attic.
- Install the hood at a safe distance of at least 70~cm from an electric, gas or combined cooking hob.
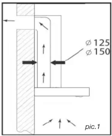
- USING THE EVACUATION MODE
If you possess an outlet to the exterior (pic. 1)
Your hood can be connected to this outlet using a fl ue (minimum diameter mm that is enamelled, in aluminium, fl exible or made of infl ammable material). If your fl ue is less than 125mm in diameter, you must use the recycling mode.

- USING THE RECYCLING MODE
If you do not possess an outlet to the exterior (pic. 2)
All of our appliances can be used in recycling mode.
In this case, you should add an active carbon fi Iter which will keep in odours. (See Chapter 4: Changing the carbon fi Iter.)

2 / INSTALLING YOUR APPLIANCEEN
ELECTRICAL CONNECTIONS
During installation and maintenance operations, the appliance must be unplugged from the electrical grid; fuses must be cut off or removed.
The electrical connections are made before the appliance is installed in its housing.
Ensure that:
the electrical installation has sufficient voltage,
the electrical wires are in good condition,
the diameter of the wires complies with the installation requirements.

Warning
This appliance is delivered with a H 05 VVF power cord that has three- 0.75mm^2 conductors (neutral, phase and ground). It must be connected to the main power supply (which should be a 220-240 V single phase current) via a CE160083 standardised socket that should remain accessible after installation, in keeping with installation guidelines.
We cannot be held responsible for any accident resulting from an inexistent, defective or incorrect ground lead. The fuse for your installation must be 10 or 16A. If the power cable is damaged, call the aftersales service department in order to avoid danger.

Warning
If the electrical installation at your residence requires any changes in order to hook up your appliance, call upon a professional electrician.

Warning
If the hood displays any malfunctions, unplug the appliance or remove the fuse corresponding to the electrical socket where your appliance is plugged in.
2 / INSTALLING YOUR APPLIANCE EN
ASSEMBLING THE HOOD

Warning
The hood must be installed
in compliance with all applicable regulations concerning the ventilation of premises. In France these regulations are described in DTU 61.1 from the CSTB. In particular, the evacuated air should never be conveyed to a duct used to evacuate smoke from appliances that use gas or other combustible fuels. Unused ducts may only be used after approval from a competent specialist.
The minimum distance between the cooking surface and the lowest part of the hood must be 70~cm at least. If the instructions for the hob installed under the hood specify a distance of more than 70~cm , this requirement must be respected.
Fixing to the wall :
Mark a vertical line on the wall centred on the cooktop.
-
Mark on the wall the three holes that have to be drilled, using the supplied hood suspension hook and observing the recommended distance. (part A Pic. 1)
-
Drill the three 8 mm diameter holes in a suitable position and insert the plugs.
Before fixing the hood, mount the nonreturn valve on the motor outlet -Secure the hood's fi xing support, ensuring that it is perfectly level. (part A Pic. 1)
Fix the extendable evacuation sleeve (not included) to the motor outlet without impeding the movement of the non-return valve.(Pic. 3)
- Fit and secure the body of the hood on this support with the screws provided for this purpose. (Pic. 2)


Pict 2

Pict 3
2 / INSTALLING YOUR APPLIANCEEN
ASSEMBLING THE VENTILATION SHAFT
- Outdoor evacuation
Calculate the final height for fixing the duct support U-bracket (part B Pic. 1)
Mark the two holes accordingly
Drill 8 mm diameter holes and secure the duct support bracket, ensuring that it is fixed on the same axis as the hood (part B Pic.1)
Fix the fl at bracket behind the lower duct.
Fix the two ducts to the hood.(Pic. 5)
- Connect the sleeve to the air outlet to the outside.
- Make the electrical connection to the hood using the mains supply cable.
- Lift the upper duct up to the ceiling and fi x it to the bracket using the screws.


Pict 5

Pict 3

2 / INSTALLING YOUR APPLIANCE EN
Recycling
Calculate the final height for fixing the duct support U-bracket.
Mark the two holes.
Drill 8 mm diameter holes and secure the duct support bracket, ensuring that it is fixed in the same axis as the hood.
Fix the fl at bracket behind the lower duct.
- Fit the sleeve adapter on the deflector (Pic. 8).
- Connect the extendable sleeve to the deflector.
- Fit the two parts of the duct on to the hood (Pic. 5).
- Fit the deflector (Pic. 8) into the upper duct by the ventilation inlets (Pic. 6)
- Make the electrical connection to the hood using the mains supply cable.
- Lift the upper duct up to the ceiling and fix it to the bracket using the two screws.

Pict 8





Tip
For optimal use of your appliance, we recommend that you connect the hood to a 150 mm-diameter fl ue (not delivered with the appliance). Minimise the number of angles and bends and the lengths of the fl ue. In the event that the hood will be operated using outdoor evacuation, you should ensure a sufficient inflow of fresh air to avoid a pressure deficiency in the room.

Warning
Do not use tools to remove the safety fi lm of hood.
3 / USING YOUR APPLIANCEEN
DESCRIPTION OF CONTROL PANEL
Push button
- Push stop button, and the motor will stop.
- Push the Low button, the buzzer will buzz once, and the motor runs at low speed.
- Push the Mid button, the buzzer will buzz once, and the motor runs at mid speed.
- Push the High button, the buzzer will buzz once, and the motor runs at high speed.
- Push the light button and the two lights will come on. Push it again and the light will turn off.

4 / CARING FOR AND CLEANING YOUR APPLIANCE EN

Warning
Always unplug the hood before cleaning it or performing other maintenance acts. Regular maintenance of your appliance is a guarantee of proper functioning, good performance and durability.

Warning
Failure to respect the guidelines for cleaning the appliance and fi iters may cause fi res. Please carefully adhere to the maintenance recommendations.
- CLEANING THE FILTER CARTRIDGES
They must be cleaned after approximately 30 hours of use or at least once a month. These fi iters can be cleaned in a vertical position in your dishwasher.
Use a brush, hot water and mild detergent. Rinse and dry them thoroughly before returning them to the hood.

- Dismantling the fi Iter cartridge
Turn the built-in fi Iter cartridge handle.
Tilt the fi lter cartridge downward.
- CHANGING THE CARBON FILTER (optional)
Replace it after approximately 120 hours of use.
- Remove the fi Iter cartridge.
Turn the carbon filter to remove it.
- Do the operation in the reverse order to put a new filter back.
Put the filter cartridges back.

4 / CARING FOR AND CLEANING YOUR APPLIANCEEN
- CLEANING THE OUTER SURFACES
To clean the outside of your hood, use soapy water, but never use abrasive creams, corrosive detergents, scrubbing sponges or brushes. Wipe down with a soft, damp cloth.
CHANGING THE LIGHT BULB

Warning
Before carrying out any work, the power supply to the hood must be turned off, either by unplugging it or by using the circuit breaker switch.
Model with halogen bulb
- Remove the lighting port
Change the halogen bulb.
- Replace the bulb by repeating these steps in reverse order.

4 / CARING FOR AND CLEANING YOUR APPLIANCE EN

Warning
Before carrying out any work, the power supply to the hood must be turned off, either by unplugging it or by using the circuit breaker switch.
MAINTAINING YOUR APPLIANCE
| MAINTENANCE WHAT | TO DO | PRODUCTS/ACCESSORIES TO USE |
| Top surface and accessories | Never use metal scouring pads, abrasive products or excessively stiff brushes. | To clean the body and the lighting port, you should use only commercial household cleaning products diluted in water and then rinse using clean water, drying with a soft cloth. |
| Filter cartridge | This fi iter traps fatty vapours and dust. This component plays an important role in ensuring the effectiveness of your hood. In the event of tough stains, use a non-abrasive cream, then rinse with clean water. | Use a commercial household cleaning product then rinse abundantly and dry. These fi Iters can be cleaned in a vertical position in your dishwasher. (Do not allow them to touch dirty dishes or silverware.) |
| Activated carbon fi Iter | This fi iter traps odours and must be changed at least once a year depending on your level of use. You should order these fi Iters from your dealer (quoting the reference shown on the identifi cation plate located inside the hood) and note the date the fi Iter was changed. |
To preserve your appliance, we recommend that you use Clearit cleaning products.

Professional expertise serving individuals
Clearit offers you professional products and solutions designed for the daily care of your household appliances and kitchens.
They are on sale at your regular retailer, along with a complete line of accessories and consumable products.
5/TROUBLESHOOTINGEN
| SYMPTOMS | SOLUTIONS |
| The hood is not working... | Ensure that: · The power is not cut off. · A speed has been selected. |
| The hood is not operating effectively... | Ensure that: · The selected motor speed is sufficient for the quantity of smoke and vapours to be cleared. · The kitchen is suffiently ventilated to allow for fresh air intake. · The carbon fiiter is not worn (hood operating in recycling mode). |
| The hood stopped working. | Ensure that: · The power is not cut off. · The single-pole cut-off device was not activated. |
6 / AFTER- SALES SERVICE EN
Any maintenance on your equipment should be undertaken by :
either your dealer,
- or another quali ed mechanic who is an authorized agent for the brand appliances.
When making an appointment, state the full reference of your equipment (model, type and serial number). This information appears on the manufacturer's nameplate attached to your equipment.
FR 34
Attention: Si I'installa
- RELATIONS CONSOMMATEURS
2/INSTALACE PRISTROJE
2 / INSTALLATION AF APPARATET
BESCHRIJVING VAN HET APPARAAT

2 / INSTALLATIE VAN HET APPARAAT NL
2 / INSTALLATIE VAN HET APPARAATNL
2 / INSTALLATIE VAN HET APPARAATNL
- MONTAGE VAN HET AFVOERKANAAL
IpeH Naayom NcNoB3OBaHHa KxOHHO BbITAXKN BHNMaTeNbHO npOHTHe 3TO pyKOBoDCTBO no yCTaHOBKe n 3KcNpyatauHn O3HaKOMbTecb C npaBnAmn erO NcNoB3OBaHHa.
PYCD
1/OBJIAR INHOPMALIINIOJIb3OBATEJIa
- TEXHnKA BE3OJACHOCTN 212
3AUHTA OKPYKAIOUCEI CPEbl 213 - ONICAHNE KYXOHHO BbITAXKK 214
2/MOHTAX KXYOHHO BbITAAKKU
- INCIOJIb3OBAHNE B PEXKIME BbITAKKIN BO3IyXA 215
- INCIOJIb3OBAHNE B PEXKIME OUHCTKN BO3JYXA 215
-ПОДКЛЮЕНЕКЗЛЕКТРИECHКОCTEN 216
MOHTAX BbITXHORO KYNOLA 217
MOHTAK BO3IyXOBODA 218
^ Pekim BbITaKn Bo3dyxa 218
^ Pekim Ovnctkn B03nyxa 219
3 / INCIOJIb3OBAHNE KXYOHHO BbITJAKKIN
-ОПИСАНЕ ЗЛЕМЕТOBУПAPВЛECHИ 220
4/ YXOD 3A KYXOHHO BbITJAKKO IN EE OBCJIYKUBAHIE
OuNTKA MOyJbHbIX ΦIbTPOB 221
3AMEHA YTOJIbHOFOΦIbTPA 221
OCHCTKA BHEUHENIOBEPXHOCTN 222
3AMEHA JAMNOUKN 222
MEPOPNPNAIPOYXOy 223
5/UCTPAHEHNE HENOLAOK 224
6/TEXHINUECKOE OBCJYKINBAHNE 225
1/OBsqAHHΦOPMAUJIJIPOJIb3OBATEJIAPUC

3TO BaxkHO
CoxpaHnIe 3TO pyKOBODCTBO NO 3KcnnyatauH. EcH N BbITXHO annapat Heo6xOIMO npoIaBnn nepeDAtb dpyromy nUcy, y6eINTecb Hannuyn pyKOBODCTBa no erO 3KcnnyatauH. Ipeed hauanom MOHTaxa H cnoJb3OBAHN KxOHHO BbITXKN O6r3aTeNbHO 03hAKOMbTEc b C OBETAMN 3TOrO pyKOBODCTBa. OHn 6blnn HAnncahblc c eIbIoo o6ecneueHn Baew 6e3onacHocTN 6e3onacHocTN dpynx IIOdei.
- TEXHNUKA BE3ONACHOCTN
- Kyxohna BbITJkka 6bla pa3pa60tHa nHnCIOJIb3OBaHHa YactHBIMN NlUcAMN B XINbIX DOMax.
KyxohHb BbITXKKO MORYT NOJb3OBaTbCToNbKO B3PocIbe.CneIte 3a TEM, YTO6bl DeTI He npKacalncb K Hn Hn IcNtB3OBaIN B KaeeCTBeIrpyuKn. He pa3pewaTe DeTAM HAXMaTb KHONKn naHei ynpaBHeHa.
Cpa3y Xe nocJe DOCTaBKn KxyoHHO BbITAAKn pacnaknyTe ee nn Nopocnte Koro-Im6o CdeNaTb 3To. PpOBepbTe ee 6uMn BnD. B cnyae KaKxHn6o HapeKaHH CdenaIte 3aNcB KBNTaHnO O DOCTaBKe IN COXpAHnte OIN 3K3EmnIrp. - Kyxohna BbITJkKa npeHa3NaYeHa nn 06bIyHOrO NcNoJIb3OBaHnB B 6bITOBbIX ycIOBnAX. He nCNOJIb3yIte ee B KOMMepuecknx ININ npON3BOIDCTBeHHbIX cJIeJX.
He n3MeHnTe Hn He nbTaNTecb MeHrTb TexHnueckne XapaKTepeNCTnKn annapaTa. 3To MoKet 6bITb ONaCHO. - PemOHThbIe pa60TbI dOJIxKHbI npOn3BOJNTbcr TOJbKO KBaJIINΦUINpOBaHHbIMn CNEuNAInCTAmN.
BcerdaOTKJIOaHTe BbITaXHOy KynoI nepeO uNCTKO NIN 3aMeHO fNJIbTPOB.
O6raTeIbHo npOBeTpBaIte NOMeUHeHne, ECn HapAy C BbITAKHbIM yCTPOINCTBOM pa60TAOT DpyIe yCTPOINCTBa, NTOUHNKOM INTAHN KOTOpBIX He ABJIeTc3IeKTPo3HEprn. 3TO Heo6xOIMO dIa TOrO, YTO6bl BbITAKKa HE BCacbIBaI pOdyKTbI cROPAHn.
HeIb3ra roTOBnTb npOdyKtby nITaHna, Tpe6yUoIe npImeHEnHr OTKpbITOrO rHr nnocTabnTb NOB BbITAKKO 3aXKeHHbIe ra3OBbIe ropENKn, He 3aKpbTBe NocyoN (npn 3abope BO3dyxa OTKpbIToe PnAm MOKeT NobpeDnTB annapaT).
—EcnKyXOHnBaBbITKaNpImeHETcBOBpeM JapKn,Heo6xOIMO NOBbIeHHoe BHMaHne.Macno IINJ Knp,pazorpeTbe Do BbICOKo TEMnepaTypbl, MOrTy BOCnIaMeHHTbcra.
CobnIpaTepaФOuNTKIN3aMeHbIΦnIbTpOB.HakonJIeHneOTIOXeHmJNpaMOXeTBblBaTbNoxap.
— HeIb3a IcNoIb3OBA Tb BbITJxKy HaI NeaMn, B KOTOpBx IcNoIb3yETcH TBepDoe TOnJIINBO (6ymara, yOrIb...).
He nCnoB3yIte npoBbIe yCTpoNCTBa mnn yCTpOInCTBa,paOToAIOUne NOd BbICOKm DaBNeHnEM, dN OuNCTKn BbITJxHOrO KynOna (3TO Tpe6OBaHne 3JIeKtPO6e30NaCHOCTn).
C CEJIbIO NOCTOHHORO COBepueHcTBOBaHnHaWeI npOdyKmMbIOCTaBnHem 3a C6oB IpaBOu3MeHrTbe ee TexHueCKne, yHKUHOHaNbHbIe IN BHeuHne XapaKTepnCTnKn B COOTBETCTBNN C HOBeuHIMN IOCTNXeHnMn TEXHnK.
-Дя 6bIcTepeIeero noncka nHΦopMaunno KxOHHO BbITXKE peKOMeHdyeTcra 3aINCbIBaTb Heo6xoDnMbIe CcblKn Ha cTpaHnue «TexHnueckoe 06cIyKmbaHne npabOta c notpe6nTeJAMn'. (Ha 3ToJ xe cTpaHnue pOKa3aHo paCNOIOKeHne COOTBeTCTByUOux 0603HaueHn Ha caMOM annapate).
- He npeducmptepo nCNoJIb3OBaHne KxOHHO BblTAAKNIUaMM(BKNIOUaJTeE)CORpaHnueHHbIMN fN3uCeCKMn UyMCtBeHHbIMN BO3MOXHOCTAMN IINIINIaMn,He yMeIOUcMM EIO NOLb3OBaTcB.C. B 3TOm CIIyae NOLb3OBaHne BblTAAKKO B03MOXHO TOJIbKO NOI pncmOTpOM OTBeTCTBEHHORO 3a 6e3ONaCHOCTb IINca I Nocle npedBaPHTeBHO INHCTpyKTaxka NO IcNOJIb3OBaHIO annapata.

BHHMaHne
Ecnn nnta nocknoeHa KdbimoxOy (Hanpnmep, neb), Heo6xOIMO 3KcnnyaTnpobatb yctpoiCTBO B pexnme BbTTkKn. He nonb3yTe BbTTkky 6e3 MoynbHbIX qnlbTpOB.
B clyuae nncnbo3oBaHn KxohHO BbITAAKK OJHOBpeMeHHO C dpyHM yCTpOcTBAMn, pa6oTaIOHMn Ha ra3e nnHa dpyrom TOnnBE, Heo6xoIIMO npedycmOTpeT bCOOBETCTBYUOy BOHTNIAHQ NOMEeHn.
1/OBSSAHHΦOPMAUINIJIPOJB3OBATEJPNYC
3AUHTA OKPYXAIIOUEN CPEbl
- MaTePnAbI, nCNoB3OBAHbIe dIy yNaKOBKn 3TOro aInpaTa, MOrY T nCNoB3OBAbCBaIOBTOpHO. Bbl6paBaH IN B CneuaJIbHO npElyCMOTpeHHbIe dIy 3TOrO MyHUNIaJIbHbIE KOHTeHepBI, Bbl yAcTByeTe B IN yTINN3aUHN, cNOcO6CTBya, taKIM O6pa3OM, coXpaHeHIO OKpyKaIOSeI cpebl.
- KyxohHnB BbITaKKa TaKKe CoepKnt MaTePnaIb BTOpNHO IcNoIb3ObaHn, BBNuD yero OHa


OTMeueHO IIOrOtnOM, yKa3bIBAIOUIM Ha To, YTO NOCNE OKOHaHnC pOKA 3KcNllyaTaUIM 3TOT aIInapat HeIb3y yTININ3NPOBaTb BMeCTe C DpyrIMN 6bITOBbIMN OTXoDAMN. TaKIM O6pa3OM yTININ3aUIN aIInapaTOB, oPRAHIN3OBaHHa IN XN IPOIN3BOIDTeJEM, IPOINCXODNT B COOTBETCTBNC C EBPONEICCKM 3aKOHOaTeJIbHbIM AKTOM 2002/96/CE 06 yTININ3aUIN 3JIeKTPuYeCKO IN 3JIeKTPoHHo 6bITOBO TexHKn. DInr NOJUeyHn INΦOpMaUIN O MecToHaxOXKeHm 6blXaMxN K BaWemy DOmy NYHKTOB c6opa BblweDuEIN 13 yNtpe6JIeHn 6bITOBO TexHKn CJeDyET 6bpatNTCB R MeCTHbE OpraHbI BNaCTN INN K TOPROBOMy PpeICTaBNTeIIO, y KOTOPORO 6bl npio6peTeH anppaT.
- Mbl 6naoradapm Bac 3a cotpydHnueCTBO B deJe 3aunTb Okpykaioe cpebl.

BHHMaHne
YcTaHOBka DOJXHa OcyueCTBnATbC KBaJIHΦuNpuOBaHHbIM NepCOHaJIOM.

BHHMaHne
Ipeep nepbbim HcnoIb3ObaHnem MoynbHoro fNbtpa CHMNTe 3aunTHyIO nnEHK.
1/OBJIAR NHΦOPMAUJIДЛЯ NOJIb3OBATEJIAPYC
ONICAHNE KXYOHHO BbITRAKKN

2/MOHTAX KYXOHHO BbITAKKPNYC
- Ipepe MoHTaxKom HIn NIO6oB Dpyro Onepauee BbITAKKy Heo6xOIMO OTKIIOHTb.
- Y6eIntecb, yTO HApJxHHe 3NeKTPocETn COOTBeTCTByet HApJxHHeIO, yKa3aHHOMy B TaBInue XapAKTEpNCtIK. KOTOPA HAXOHTcHa BHVTpeHHe NaHEIN BlITAKKN.
Bcnyae Heo6xoDMOCn Ipon3BecTn 3MeHnB 3JeKtpuecko Yactn BbITAXKn DnR ee NOKIOUeHn, PpIgACNTe KBaINΦuINPOBAHHORO 3JeKTPuKa.
— EcIn yCToPcTBO nCnOlb3yeTcB Pexmme BbITaKKn BO3dyxa, He NOkIIOaIte aannapat K BbITaKHO Tpy6, IpeHa3HaueHHO IN OTOBaI npOyKTOB CROPaHn KOTna, KaMnHa N T.D. INN K WaxTe 06eMEXAHUeCKoBHTINBUNN.
-OTBOHNOB03dYXOBDHeNoJXeHBbIXOINbIOKPOBJIIO. - YcTaHaBnBaIe Kyonl Ha 6e3oNaChom paCToHm OT BapOyHO NOBepxHocTn 3neKtpueckoro, ra30BOrO nnn CMeuaHHOr Tuna (He MeHee 70 cm).
- IcNoJIb3OBAHNE B PEXNME BbITJXKN BO3dYXA
Ecn eCTb KaHAn dIa OTB0da BO3dyxa I3 NOMeueHH
(pnc.1).
BbITXKApOcOeHnREtC K Hemy C NOMOsbIO BO3dYxOBOda (MHNMaJIbHbI 125 MM, n3 3MaJIa, aIOMMHNHa IIN I3 dpyrOro HeropUcero MaTePnAna). Ecn DNAmETp BO3dYxOBOda MeHee 125 MM, o6raTeNbHO hCNoJIb3OBaHne peXmAm OCHCTKn.

- INCIOJIb3OBAHNE B PEXNIME OYNCTKI BO3dYXA
Ecn HET KaHana DnA OTBoa BO3yxa n3 NOMeueHH
(pnc. 2).
Bce BbIpyckaemble Haewe KOMnHaHne KyxOHHbE BbITAAKKN IMeOT BO3MOXHOCTb pa6oTaTb BpeKIMe OCHCTKN BO3Dyxa B NOMEueHHN.
B 3TOM Cnyuae HcnoJb3yIte DOnONHITeJIbHO ΦnIbTp C aKTHBnPoBaHHbIM yrIeM, yNaBnBaIOuN 3aIaxn. (cm. IaBy 4: 3aMeHa yroIbHoro ΦnIbTpα).

2/MOHTAX KYXOHHOB BBITAKKINPYC
- NOДКЛIOUЧЕНК ЗЛЕКТРУECHKO CETN
Bo Bpem yctahOBKn annapata N BbINONHeHnpeMOHTbIX pa6OT kyxOHHa BbITXkA DOJXHa 6blTbOTKIOUeHa OT 3NeKTPOCeTn, a npEdoxpaHntenOTKIOUeHbI n3BJIeYeHbl.
IopKnIOueHnK 3JNEKtpocETn PpOu3BOUntCn DO yCTaHOBKn BbITAXKNO BCTPOeHHyMoBeJIb.
Y6eTeCb, YTO:
-3NEKTPOCETb IMeET IOCTaTOUHIO MOUHOCTb;
JIINHIN 3JNEKTPoCETn HAXOJATcB XopoWEM COCTOHHM;
- KaBeJI N3JIeKTPoCETN IMeIOT dIaMeTp cOrJIaCHO HOpM MOHTaKa.

BHMaHne
Kyxohn BbITAXKa NOCTABNReTcB KOMnKeTc C 3JIeKTPnueCKm TPexXnIbHbIM Ka6enm H 05 VVF (HOB, pa3a n 3a3emHeHc CceHnEM Xn0.75 MM², JnnoNDKIOUeHnB OndHOa3Hyo CeTB 220 - 240 B NocpeDCTBOM PO3ETKn CTAndapTa CEI 60083, KOtopa dnJXHa 6bITb B HANuHn BO Bpem MoHTaxa cornaCHO HOpMaM MOHTaxa.
MbI He 6epem Ha Ce68 OTBetCTBeHHoc7b 3a HecyactHbIe Cnyan, PpON3oWedwne H3-3a OTCYCTBnI Nnn HnnpabunbHO BblONHeHHoro 3aEmnEHN. IpeoxpanHTen 3JekTpcETn DOnxhen 6bITb paccHTan Ha 10 - 16 A. B cnyae NOBpexdEHHN 3NeKtpueckoro Ka6eN BO n36ExAHne ONachOCTn NOPaxehn TOKOM BOCNoJIb3yITeCb ycIyramn CneuAnHCTa.

BHHMaHne
B Cnyuae Heo6xOaHMoCTn npOn3BeCTN H3MeHeHH B 3NeKTPocET BaWei KBapTnpbl DnI NOkJIIOHeHH BbITAXHOrO yCTPOcTBa PnIRJaCtTe KBaINΦnUPoBaHOrO 3NeKTPnKa.

BHHMaHne
Ecn BBITAXHON KYNON NMeet KaKHe-TO NOBpeXdEHN,OTKNIOHTe annapat HnN 3BKeNTe npedoxpaHntEn B cenn NoKIOUeHHn annapata.
2/MOHTAX KYXOHHO BbITAKK PUC
MOHTAX BbITXHORO KYNOJA

BHHMaHne
YctahOBka DOJXHa npON3BOOnTbcn CORnaCHO DeNCTByIOUHM HopMaB BeHTnIaHn NOMeueHn.Bo OpaHnn 3TN HOpMaTHNBbl N3IOKeHb B DTU 61.1 CSTB. B YacTHocTH, BCacbIBaemb BO3dYx He DOJIxHc OTBOuNTbcB B BEHTnIaUHOHHbe WaxTbI, PpeHa3HaueHHbE dAa YcTPOINCTB, NCNoNb3yIOUx Ra3 nn Dpyroe TOnJIbO. Be3DeNCTByIOUne BEHTKaHaJIbI MOrTy NcNoJIb3OBaTbCn ToIbKO C pa3peWeHHa KOMnTeHTHOrO nua.
MHHMaJIbHoe pacCTOHNHe MEXy BApOuHOI NOBepxHOCTbIO N OCHOBaHnEM KynoA DoJXHO 6bITb He Mehee 70 cm. EcIn corJIaCHO INCTpyKUN nnTbI, yCTaHOBJEHNO NOD BBITAKKO, paCCTOHNe DOJXHO 6bITb BoJee 70 cm, bepetca pacCTOHNHe, yKa3aHHOE B INCTpyKUN No 3KcnJyataUINnnTbI.
KpenneHne Ha cTeHy:
HapncyTe JINHIO Ha CTHe,OTMeTbTe ueHTp.
C nOMOsbKpEnHnI Ia NIOBWeINBaHn KynoIa OTMeTbTe Ha CteHe 3 OTBepCTnI, KOtOpbl He06XoIMNoPocBepNITb, paccHTab N OTMepNB COOTBeTcByOuuee pacCTOHNHe (cm. A pnc.1).
- PpocBepnnte 3 OTBepCTnA DnAmetpOM 8 MM B COOTBETCTBYOUX MECTAX N BCTaBbTE Camope3bl.
-Пркртугтел Крелпене Дд ПОДBEшВань Куюla И yбeintecь,чTO OHO paCNoIOnKeHo npaBnJIbHo (CM.Apnc.1).
-
IpeaTcK, KaK IOBecNTb KynoI, yCTaHOBnte 6bpaTHbKnapanHa BbIXOdHoe OTBepCTne DnurataTe.
-
PnKpyTne CMeHHbI OTBODHOyexo (He NOCTaBnRETCB KOMNKeTc) Ha BbIXOHDoe OTBepCTNE DBrAteH, He HApUaB DnBXeHne aHTNB03BpAthORo KlananaHa (pnc. 3).
-
YcTaHOBnTe KynonHaKpEnHeHne npKpyTnte BnHTaMn, NOCTaBnEmbmB KOMnEKeTc (pnc.2).


pnc.2

pnc.3
2/MOHTAX KYXOHHOB BBITAKKINPYC
MOHTAX BO3DyXOBODA
- PexkmbbITaKKB03dyXa
-ПрocHTaIte KOHeuHyIO BbICOTy N yCTaHOBITeCKO6y U-06pa3HoiФopMbI DnKpePJIeHnKoPOba(cm.Bpnc.1).
- HametbTe 2 OTBepCTnHa COOTBeTcTByIOUeM pacctoHH.
- PpocBepnTe 2 OTBepCTnI DnAmEtPOM 8 MM N PnpcoeDnHInTe COeDnHInTeIbHbI ΦIaHeu BO3dYxOBoJa. CneDnTe, YTObI OH HaxOdnCnToUHO Ha OCN KynOna (cm. B pnc.1)
- PπpKpyTe pIoCKyU cKo6y K 3aDHe nAHeNn HxHKe Yactn BO3dYxOBOda.
- YcTaHOBnTe 06a Kopo6a Bo3dyxOBOda Ha KynoI (pnc.5).
- PnpcoeHnHte nepexoHOn ΦlaHeu K BbIXOHNOMY OTBepCTNIO BEHTINLAHOHOrO KaHaJa.
I OdklIOHTe BbITXkky K 3JIeKTPocetn C NOMOsbIO 3JIeKTPuueCKOro Ka6en.
- POnHIMnTE BHeuHnKOPO6 BO3dyXOBoJa Do MaKcMaJIbHorO yPoBHa n pNkpeHnTe erO K Cko6e C NOMOsbIO BNHTOB.




2/MOHTAX KYXOHHO BbITAKKPNYC
- PexkM OunchKn BO3dyxa
PaccnTaTe KOHeHyO BbICOTy IINrTO, UTO6bl BCTaBtB COeHNHTelhBi PnaHeu BO3dyxOBOda.
OTMeTbTe 2 OTBepCTnHa COOTBetCTByIOUcEM pacCToHHN.
- PocBepnTe 2 OTBepCTnAaMeTpOM 8 MM n PnPKpyTnte CoeHNHTeNbHbI ΦNaHeu BO3dyXOBoJa. CneDInTe, YTO6bl OH cnJeI TOUHO Ha OcN KynOJa.
- PpIKpyTne pIockyIO ckOy K 3aHHe nHaHn HxHHe uactu BO3dyXoBOda.
- YcTaHOBInTe 06a KOpO6a Bo3dYxOBoJa Ha Kypon (pnc.5).5)
- PnpcoeDnHte nepexoHoi fnaHeu K BbIXOHDomy OTBepCTIO BEHTNJRAOHHORO KaHana.
- PnoknHouTe BbITaKky K 3neKtpocetn C NOMOsbIO 3NEKTPnueCKTO Ka6eJI.
IIOHNMTBE BHeuHn Kopo6 BO3dyXoBOda MoAKCMaJIbHO rOpBHa n npKpeNTe erO K cKO6e C NOMOsbBHTOB.


pnc.8




Cobet
DnONTNMaHbHO NcNOb3OBaHH BbITAXHOro annapata COBeTyEM NOKKnIOuATb erO C NOMOsbIO 3JekTpnpoBODa DNAmETpOM 150 MM (He NoCTABNNeTcB KOMNKeTe). MakcImaNbHO cOKpaTne KOJIyueCTBO n3r6OB u nnHy npoBDA. EcnB bITaxHoe yCTPOIcTB pa6OtaeTB peXmme HApYxHoro OTBODa, CNe dyet y6eHTbcR B TOM, YTO6bI B NOMEeHne NOCTyNaI OocTaOHTHO KOnNueeCTBO BO3dyxA He Co3DaBaJacb Oblaactb IONHKeHHORo daBJeHHra.

BHHMaHne
He nCNoJb3yIte HnCTpyMeHTbI dIaHcTn3aunTHoN nnEHN.
3 /MCIOJIb3OBAHNE KYXOHHO BBITAKKNU PUC
ONUCAHNE 3JEMEHTOB YNPABJIENNA
KhoNk
KhONka 1. Пи Нжатин KhONkn 1 DBuratelb OCTaHaBnBaetcR.
KhONka 2.Пинжатин KhONkn 2 pa3daetcH cnHan,ИДВIraTeJIb HauHHaET pa6OtaTb Ha MaNoI CKOpocTu.
KhONka 3. Пи Нжкати KHONk 3 pa3daeTc HcHnAn, И DBnIaTeJIb HauHHaet pa6OtaTb Ha cpeHHeN ckOpocTN.
KhONka 4. Pn HaxKaTN KhONKn 4 pa3daetcnaHaN, n DnBraTeNb HaHnHaet pa6oTaTb Ha BbICOKO CKOpocTN.
Khonka 5. Pn HaxaTnn KhoNkn 5 3aropaOTca o6e lamnoKn. Pn nobTOpHOM HaxaTnn NOcBETKa rachet.

4/ YXOD 3A KYXOHHO BbITAXKO IN EE OBCJYXINBAHNE PUC

BhimaHne
PepoOcHTKOn n npyRnMa pa6oTAMn annapat Heo6xOaMo OTKNoaTb. PpOPhNaKTNuCeKnpeMepOpNpAHTno yXoHy n 06CnykBaHnO rapaHTnpYOT HaTeKHyIO n DInTeNbHyIO 3KcnNyatauNO BBICOKyI pON3BOAnTEbHOCTb.

BHHMaHne
HecBoeBpeMeHHa OuchTka BbITXHoro yCTpoNCTBa n erO fNbTpOB MoKet npNBecTN K NOxApy. Ctporo npndepxNBaTeCb npabnNo yxOdy n 06cnyKBaHHo.
OuNCTKA MOyIbHbIX ΦIbTPOB
ФильТьг HeобхОДИМ OуИцаТь KaЖдьe 30 YacOB NcПОЛБЗОВАнЯ ИИnpIMePHO OdINH pa3 B Mecu KaK MINHmUМ.ФильТьg MOxHObMbITb B NOcYdOMOeHOn MaшиHe B BePTnKaJIbHOM NpIoXeHnN.
Дя OYNCTKnФINbTpOB BpyHyIO NcnoJIb3yIte 电Tky,rOpyu BOy IMMrkOe MOUoee CpeDCTBO.3aTeM OCTopoXHo npOnoONuTE n BblCyuNTeФINbTpblpei INx NOBTOPHO yCTaHOBKOJ.

- CHaTne MoDyIbHOrO qNJIbTpA
- NObepHnTe pbyaXoK MoDyIbHOro cnIbTpA.
—HaKNoHnTe MoDyIbHbI ΦNJIbTp BHN3.
3AMEHA YTOJIbHOrO ΦNJIbTPA
PpOu3BODnTe 3aMeHy yrOJIbHOro qIINbTpapnp6Iu3nTeJbHo KaXDbIe 120 YacOBpa60Tbl.
—CHIMMTEMOdyIbHbIeΦnIbTpbl.
-
NObepHnTe yroIbHbI ΦnIbTp n3BnKeHTe erO.
-
YcTaHOBtHe HOBbI cHJIbTp, NOBTOpNB IpeIbIyUne DeIcTBnB O6paTHOM NOPaIKe.
-
YcTaHOBnTe MoDyHbHbIe qNtTpbl.

4/ YXOD 3A KYXOHHO BBITJAKKON I EE OBCJIYXINBAHNEPUC
OuNCTKA BHEWHEN NOBEPXHOCTN
Дя Oунстки BWEшен NOBepxHOCTN BbITaXHOrO Kynona NcNoIb3yIte MblbHyIO BDOy. He nCnoJIb3yIte TJIIN DЯ MblTb, cyXne YnCTaUe CpeIcTBa, XeCTKne MoaANKn IuETKn. IpotnpaIte Kynon BlaxHoN mMKoTpAnOyKOi.
3AMEHA JAMNOUKN

BHHMaHne
Ipeep npoBeHnem KaKnx-Jn6o pa60 Heo6xOaMo o6eToHTb BbITXkY, OTKnIOuHB ee ot 3JeKtpocetn.
ModenbraJoreHNoJamnoKoJ
-CHMnTe nnafoH.
-3aMeHHTe ranoreHHyIaMnOHyK.
- YcTaHOBInTe nJafoH Ha npexKHe MeCTO.

4/ YXOD 3A KYXOHHO BbITAXKO I EE OBCJYXINBAHNE PUC

BHHMaHne
Ipeep npoBeHnem KaKnx-Jn6o pa60 Heo6xoJIMO oBecToHTb BbITaXKy, OTKnIOuHB ee ot 3JIeKtpocetN.
MEPONPNATNA NO YXOy
ManualGo.com