9 CFD 60 X - Kuchynský digestor FAGOR - Bezplatný návod na obsluhu
Nájdite návod k zariadeniu zdarma 9 CFD 60 X FAGOR vo formáte PDF.
Stiahnite si návod pre váš Kuchynský digestor vo formáte PDF zadarmo! Nájdite svoj návod 9 CFD 60 X - FAGOR a vezmite svoje elektronické zariadenie späť do rúk. Na tejto stránke sú zverejnené všetky dokumenty potrebné na používanie vášho zariadenia. 9 CFD 60 X značky FAGOR.
NÁVOD NA OBSLUHU 9 CFD 60 X FAGOR
Dekoračný extračný zvon
Extrakcnidekorativnizvon
· Ochrana zivotného prostrendia 117
·Popis pristroja 118
2/INS'TALACIA PRISTROJA
·Pouzitie v evakuačnom spôsobe 119
·Pouzitie v recyklacnom sposobe 119
·Elektrické priopojenie 120
Montáž extračného zvona 121
Montáz komina
Evakuácia von 122
Recyklovanie 123
3 /POUZITIE PRISTROJA
- Popis ovládačov 124
4 /POUZITIE A CISTENIE PRISTROJA
·Cistenie modularnych filtrov 125
Vymena uhlikového filtra 125
·Cistenie vonkajsieho povrchu 126
Vymena ziarovsky 126
·Udrzba pristroja 127
5/PORUCHY VO FUNGOVANI 128
6/TECHNICKAPODPORA 129
SK 1/PRE UZIVATELA
Dóležité
Uschovajte tuto prirucku spolocne s pristrojom. Ak predate alebo prenechate pristroj inej osobe, ubezpeche sa, ze je prilozena prirucka pre jeho pouzivanie. Prosime, precitajte si tieto rady skor, ak zoacnete instalovat' a pouzivat' pristroj. Boli spisané v zajmu bezpecnosti vasej, aj ostatnych.
BEZPECNOSTNÉ HESLÁ
Tento pristroj je urceny na pouzivanie sukromnymi osobami vo svojich domacnostiach.
Tento pristroj musi byt použivaný iba dospelymi. Davajte pozor, aby sa ho nedotykali deti a nehrali sa s nim. Ubezpečte sa, ze ne manipulujú s ovládačmi pristroja.
- Po obdržani pristroj okamžite vybalte, alebo ho nechajte vybalit. Skontrolujte jeho celkový vzhlad. Ak mate vyhrady, napisajte ich do dodacieho listu a uschovajte si Jednu kópiu.
Vas pristroj je urceny na bezné domace pouzitie. Nepouzivaje ho na komercné, priemyselné alebo iné učely, než pre aké bol vyrobený.
- Neupravujte, ani sa nesnaze upravovat technické vlastnosti pristroja. Mohlo by to byt'preVASnebezpecné.
Opravy musia byt'prevadzane iba autorizovanymi odbornikmi.
— Vždy odpojte extrakcný zvon skör, ako začnete s jeho Čistením alebo udrzbou.
- Ventilujte adekvátne izbu v pripade, ze zvon funguje sucasne s inymi pristrojmi, ktoré su napajan inym, nez elektrickym zdrojom energia. Je to preto, aby zvon nenasával spalovacie plyny.
- Nie je możné pod zvonom flambovat po-traviny alebo mat' zapaleny plynovy ěporák bez nádoby (aśpirácia plamenov by mohla poskodit prístroi).
- Ked' smazite pod pristrojom, mali by ste ho neustale kontrolovat. Oleje a tuky, ktoré sa ohreju na vysoku teplotu, sa možu vznat.
- Respektujte frekvenciu cistenia a vymeny fi Itrov. Nahromadenie nanosov tukov by mohlo vyvolat požiar.
Nemozhe fungovat' nad ohnom, ktory je na palivovej bazi (drevo, uhlie...). - K cisteniiu pristroja nepouzivajte nastroje na paru alebo svysoym napatim (poziadavky, tykajuce sa elektrickej bezpečnosti).
Za učelom neustáleho zlepšovania našich vyrobkov si vyhradzujeme pravo prevadzat zmeny ich technických, funkčnéch alebo estetických charakteristík, spôsoběnéch technickýmPokrokom. - Aby bolo możné l'ahko najst' referencingie vasho pristroja, odporučame vám, aby ste ich zapísali na stránku "Technická podpora a zákaznicke centrum". (Tato stránka vam tiež vysvetlí, kde ich moźete najst' na pristroji).
- Tento pristroj nie je urceny na pouzitie osobami (vratane deti), ktoré majú znižené fyzické, zmyslove alebo mentalne schopnosti, alebo majú nedostatok skusenosti a vedomosti, s vynimkou, ak by na nich dozerala osoba zodpovedna za ich bezpečnost', alebo by boli vopred poucení o správnom použiti pristroja.
Pozor Ak sa
Ak sa šporák ohrieva pomocou prístroja napojeneho na komín (napriklad kachle), treba nainstalovat' zvon v recyklacnom spösobe. Nepouživajte zvon bez modulárnych fi ltrov.
Treba zabepecit' adekvatnu ventilaciu, kad'puzivate extrakcny kuchynsky zvon sucasne s inymi pristrojmi, ktoré funguju na plyn alebo iné palivo.
1/PRE UZIVATELA
SK
- OCHRANA ZIVOTNEHO PROSTREDA
- Materiaíly, použité na zabalenie tohto prístroja, su recyklovatelné. Zúčastnite sa ich recyklovani a prispejte k ochraneŽivotného prostredia ich umiestnením do k tomu určenych obecních kontajnerov.
Vás strój tiež obsahuje recyklovatelématerialy, preto je oznaceny tymto logom, ktoré


Vás upozornuje, ze pristroje sa pri odstránovani nesmia miesat's ostatnám odpadom. Ak budete takto postupovat, recyklovanie pristrojov, organizované ich vyrobcom, sa uskutočni za optimálnych podmienok, v sulade s europskou smernicou 2002/96/CE o odstráneni elektrických a elektronických zariadení. Kontaktujte Vás mestský urad alebo predajcu, aby vás informovali, kde sa nachadzaju zberné miesta pre opotrebené pristroje, njablžsie vasmu bydlisku.
— Dakujeme Vám za Vašu spoluprácu pri ochraneŽivotného prostredia.

Pozor
Instalaciu musia prevadzatiba kvalifikovani monteri a technici.

Pozor
Pred pvym pouzitim modulárneho filtra odstrante ochranny film.
SK 1/PRE UZIVATELA
-POPIS PRISTROJA

2 / INSTALÁCIA PRISTROJA
SK
- Pristroj musi dostat odpojeny poças instalacie alebo pri prevadzani akehokolek zasahu na nom.
- Skontrlujte, Či napatie v sieti odpovedá hodnote uvedenej na tabulke s charakteristikami, ktorá sa nachadza vo vnútri zvona.
Ak elektrická instalacia vasho zvonu vyzaduje previest' upravy, aby bolo mozné zapojit pristroj, kontaktujte kvalifi kovaného elektrikára.
Ak sa zvon pouziva v evakuačnom spôsobe, nespájajte pristroj s vedením pre odvod dymu zo spałovania (kotol, komín, atd.), ani s VMC (kontrolovanou mechanickou ventiláciou).
Evakuačny vývod, akýkolvek, nesmie vyústit pod strechou. - Instalujte zvon v bezpečnej vzdialenosti najmenej 70cm od dosky s elektrickými, plynovými alebo smieşánymi horákmi.
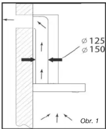
POUZITIE V EVAKUACNOM SPOSOBE
Ak ma vyvod von
(Obr. 1)
Vász vón je mozné pripojit' pomocou evakuačného vyvodu (Ø minimálne 125 mm, zo smaltu, hliníka alebo nehorlavého materialú). Ak má vyvod priemer mensí, než 125 mm, prejdite povinne do recyklačného spôsobu.

POUZITIE V RECYKLACNOM SPOSOBE
Ak némá vyvod von
(Obr. 2)
Vsetky nase pristroje su uspôsobené pre možnost fungovania v recyklacnom spôsobe.
V tom priade pridajte fi Iter s aktivnymi uhlikmi, ktory zachytipachy,(vid. kapitola 4: Vymena uhlikoveho fi Itra).

SK 2/INSITALÁCIA PRISTROJA
ELEKTRICKÉ PRIPOJENIE
Pocas instalacie a udrzbarskych prac musi pristroj dostat'odpojeny od elektrickej siete a poistky musia byt'odpojené a odstranene. Elektricke pripojenie treba previest skor, nez sa umiestni pristroj na nabytok.
Skontrolujte, ci:
je vykon instalacia dostatochny,
— su napajacie linky v dobrom stave,
— priemer kábla odpovedá instalačným normám.
Pozor Pristro
Pristroj je dodávaný s napájacím káblom H 05 VVF, s 3 vodičmi 0,75 mm (nula, fázza a uzemnenie), ktorý treba napojit' na Jednofázovú siet's 220 - 240 V - pomocou normalizovanej zásuvky CEI 60083, pá musí dostat' pristupné aj po ukončeni instalácie, v sulade s instalacnými normami.
Nebudeme na seba brat' zodpovednost' za pripadne nebody, sposobene neexistujucim alebo nespravnym uzemnenim. Poistka vo vasej instalacii musi mat'10 alebo 16 A. Pokialby napajaci kabel bol poskodeny, kontaktujte zakaznicky servis, aby ste predišli nebezpeciu.
Pozor Ak p
Ak potrebujete pre zapojenie pristroja upravit' elektricku instalaciu vo vasej izbe, zavolajte kvalifi kovaného elektrikára.
Pozor Ak ma
Ak ma zvon akukolvek poruchu, odpojte pristroj, alebo odoberte prislu'sn u pointku pre vedenie zapojenia pristroja.
- MONTAZ EXTRACNEHO ZVONA

Pozor
Instalacia musi byt' prevedenav sulade s platnymi normami preventilaciu priestorov. Vo Francuzku su tieto normy uvedene v DTU 61.1, CSTB.Predovsetkym sa vzduch nesmie odvadzat'von cez potrubie, ktoré sa tiez pouziva pre vyvod dymu zo zariadenipouzivajucich plyn alebo ine palivo.Zastarale vedenia je mozné pouzit'iba so suhlasom kompetentného odborníka.
Minimána vzdialenost medzi varnou zónou a spodnám okrajom zvona musi byt najmenej 70 cm. Ak by bola v instrukciach dosky, nainstalovanej pod zvonom, uvedená vzdialenost'vyssia ako 70 cm, treba brat do uvahy tuto vzdialenost'.
Uchytenie na stenu:
Nakreslite na stene ciarku, ktora bude v strede a vertikalna k varnej ploche.
Oznacte na stene 3 otvory, ktoré potrebujete vyrtat a pouzite zavesny hak pre zvon, aby ste poskytnuli a respektovali odporucanu vzdialenost (kus A, obr.1).
Vyvrjate vsetky tri otvory o 8 mm v adekvatnom umiestneni a vlozte hmozdinky.
Naskrutkujte podperu pre upevnenie zvona a ubezpeche sa, ze je dobre nivelizovana (kus A, obr. 1).
Pred zavesenim zvona namontujte spatny ventil na vypod motora.
Naskrutkujte vysuvny vvfukovy kryt (nedodavany) na vvod motora bez toho, aby prekazal v pohyboch spatneho ventilu (obr.3).
-Umiestnite a zapojte teleso zvona na tuto podperu pomocou k tomu urcenych prilozenych skrutiek (obr. 2).



SK 2/INS TALACIA PRISTROJA
MONTAZ KOMINA
Vypustanie von
Vypocitajte konecnu vysku pre naskrutkovanie operneho piliera U podpery komina (kus B,OCR.1).
Oznache 2 otvory na adekvatnom mieste.
Vyvrjte oba 2 otvory o 8 mm a naskrutkujte pribrubu opory komina, davajte pozor, aby dobre zapadla na hriadel' zvona (kus B,OCR.1).
Naskrutkujte plochu vidlicu dozadu, na spodnu ccast komina.
Umiestnite oba 2 kominy na zvon (obr.5).
— Napojte kryt na vyvod vzduchu von.
- Prevedte elektrické zapojenie zvona, prostrednictvom napajaceho kábla.
Zdvihnite horny komin az na maximum a upevnite ho na vidlicu pomocou skrutiek.




2/INSITALACIA PRISTROJA
SK
Recyclácia
Vypocitajte konecnu vysku pre vlozenie priruby opory komina.
Oznache 2 otvory na adekvatnom mieste.
— Vyvrjateoba2otvoryo8mm, naskrutkujte pribrubu opory komina a davajte pozor, aby dobre zapadla na hriadel' zvona.
Naskrutkujte plochu vidlicu dozadu, do spodnej casti komina.
Umiestnite oba 2 kominy na zvon (obr.5).
Napojte kryt na vyvod vzduchu von.
- Prevedte elektrické zapojenie zvona prostrednictvom napajaceho kábla.
Zdvihnite horny komin az na maximum a upevnite ho na vidlicu pomocou skrutiek.






Rada
Pre dosiahnutie optimáneho fungovania pristroja, Vám odporúçame ho napojit na vývod s priemerom 150 mm (nedodáný). Obmedzte na maximum počet kolien a dlžku vývodu. Ak zvon funguje s evakuaciou von, treba sa ubezpečit, Či vchadza dostatočné množstvo vžduchu, aby sa netvoril podtlak v izbe.

Pozor
Na odstranenie ochranného fi Imu nepoužívajte ziadne nastroje.
SK 3 /POUZITIE PRISTROJA
- POPIS OVLÁDAČOV
-
Po stisnuti tlacidla Stop (Zastavit), sa motor zastavi.
-
Po stisnuti tlacidla Low (Nizky), sa hlasic jeder krát ozve a motor bude fungovat pri nizkej rychlosti.
-
Po stisnuti tlacidla Mid (Stredny), sa hlasic jeder krát ozve a motor bude fungovat pri strednej rychlosti.
-
Po stisnuti tlacidla High (Vysoky), sa hlasic jeder krát ozve a motor bude fungovat pri vysokej rychlosti.
-
Stisnutim tlacidla Light (Svetlo), sa obesvetla rozsvietia. Ked ho opat stisnete, svetlo zhasne.

4/ UDRZBA A CISTENIE PRISTROJA
SK

Pozor
Treba ich cistit vždy po 30 hodinach používania alebo minimálne jegnou mesačne. Čistenie je možné prevádžat v umývačke, vo vertikálnej polohe.
- Demontáž modulárneho fi Itra
Urobte opacnú operáciu pre opatovné nasadenie filtra.
Modulárne filtré znova nasadte.

SK 4/ UDRZBA A CISTENIE PRISTROJA
- CISTENIE VONKAJSIEHO POVRCHU
Na Čistenie vonkajšieho povrchu extrakného zvona použite mydlový roztok; nepoužívajte křémy na drhnutie, ani korozívine Čistiance prostriedky, drotenky alebo kefky. Vysuste ho vlhkou a jemnou handrou.
VYMENA ZIAROVKY
Pozor Než za
| ÜDRŽBA ČO TREBA | UROBIŠ | KTORÉ VÍROBKY/DOPLNKY TREBA POUžIT |
| Kostra a prislušenstvo | Nikdy nepoužívajte kovové drotenko, abrazívine produkty alebo príliš tvrdé kefky. | Na Čistenie rámu a osveltílovacieho otvoru používajte exkluzívine komerçné Čistiacie prostriedky riedené vodou, napokon opláchnite vodou a vysušte jemnou handrou. |
| Modulárny fi lter | Tento fi lter zachyti mastné výpary a prach. Jedné sa o sučiastku, ktorá zaručuje podstatné Čast'ćinného fungovania zvona. Ak by sa objavili odolné škvrny, použite na ich čistenie neabrazívy krém a opláchnite Čistou vodou. | Vycistite ho komerčnám čistiacim prostriedkom, dobre opláchnite a osušte. Čistenie je možné prevádzat' v umývačke, vo vertikálnej polohe. (Nedávajte do kontaktu so špinavým riadom alebo so strieborným priborom) |
| Filter s aktívnym uhlim | Tento fi lter zachyti pachy a treba ho vymenit' majmenej jedenkrát za rok, v závislosti od jeho používania. Objednajte si tieto fi litre u vášho predajcu (s referencingiu uvedenou na štítku s charakteristikami, ktorý sa nachádza vo vnútri zvona) a poznamenajte si datum výmeny. |
Pre udržiavanie prístroja v dobrom stave Vám odporúčame, aby ste používali udřbové produktу Clearit.

Clearit Vám ponúka profesiónáne vyrobky a adekvátne rieşenia pre každodennú udrzbu Vašich elektrických spotrebičov a Vasej kuchyne.
Mózete ich zakúpit u vásho zvyčajného dodávatěla, spolocne s celou liniu doplnkovych a spotrebných vyrobkov.
SK 5/PORUCHY VO FUNGOVANI
| PRÍZAKY RIEŠENIA | |
| Zvon nefunguje ... | Skontrolujte, Či: • nie je prerušená dodávka elektriny. • bola zvolená"Justa rychlost". |
| Výkon zvona je nedostačujúci... | Skontrolujte, Či: • zvolená rychlost' motora je dostatočná pre množstvo vzníklého dymu a vodnej pary. • je kuchyťa dostatočne ventilovaná, aby mohol vchádzať vzduch. • nie je opotrebovaný uhlíkový filter (zvon v recyklačnom spôsobe). |
| Zvon sa počas fungovania zastavil. | Skontrolujte, Či: • nie je prerušená dodávka elektriny. • nebol aktivovaný viacpólový istič. |
6/TECHNICKA PODPORA
SK
Zakroky, ktoré vyzadujé stroj, musia byt' prevedene:
predajcom,
- alebo akymkolvek iny m kvalifikovanym odbornikom, nositelom značky.
Do Telefonu uvedte kompletnu referencingiu stroja (model, typ a sereiove cislo). Tieto udaje su uvedene na identifikacnom stitku, umiestnenom na stroji.
Notice-Facile