9 CFD 60 X - Afzuigkap FAGOR - Gratis gebruiksaanwijzing en handleiding
Vind de handleiding van het apparaat gratis 9 CFD 60 X FAGOR in PDF-formaat.
Download de handleiding voor uw Afzuigkap in PDF-formaat gratis! Vind uw handleiding 9 CFD 60 X - FAGOR en neem uw elektronisch apparaat weer in handen. Op deze pagina staan alle documenten die nodig zijn voor het gebruik van uw apparaat. 9 CFD 60 X van het merk FAGOR.
GEBRUIKSAANWIJZING 9 CFD 60 X FAGOR
Decoratieve afzuigkap
Dekorativ Spiskapa
DEKOPATINBHA KYNOJIbHAR KYXOHHAR BBITJXAKA

| ES | 2 |
| EN | 18 |
| FR | 34 |
| PT | 50 |
| DE | 66 |
| IT | 82 |
| HU | 98 |
| SK | 114 |
| CZ | 130 |
| PL | 146 |
| DK | 162 |
| NL | 178 |
| SV | 194 |
| PYC | 210 |
Met het doel ons產品en voortdurend te verbeteren, behouden wij ons hetrecht voor om de technische, fonctionele of esthetische eigenschappen, die te makeh hebben met十几年e technische ontwikkelingen, zonder kennisgeving vooraf te wijzigen.

Belangrijk:
Voordat u het apparaat in gebruik neemt, dient u deze handleiding voor installmentie en gebruik aandachtig door te lezen zodate u zo snel möglichk vertrouwd raakt met het functioneren ervan.
NLI
1/TER ATTENTIE VAN DE GEBRUIKER
Veiligheidsaanwijzingen 180
- Zorg voor het milieu 181
Beschrijving van het apparatus 182
2 / INSTALLATIE VAN HET APPARAAT
- Gebruik van de afzuiigfunctie 183
- Gebruik van de recirculatiefunctie 183
·Elektrische aansluiting 184
Montage van de afzuigkap 185
Montage van het afvoerkanaal
^ Afvoer maar buiten 186
Recirculation
3 / GEBRUIK VAN HET APPARAAT
Beschrijving van de bedieningselementen 188
4/ONDERHOUD EN REINIGING VAN HET APPARAAT
Reiniging van de fi Itercassettes 189
Vervanging van het koolstoffi Iter 189
- Reiniging van de buitenzijde 190
Vervanging van het lampje 190
- Onderhoud van het apparatus 191
5/AFWIJKENDFUNCTIONEREN 192
6/TECHNISCHE DIENST 193
1/TER ATTENTIE VAN DE GEBRUIKERNL
Belangrijk Bewaardez
Bewaar deze handleiding bij het apparaat. Wanner u het apparaat aan iemand verkoopt of schenkt, zorg er dan voor dat u de gebruikershandleiding erbij geeft. Wij verzoeken u deze aanwijzingen door te lezen voordat u het apparaat gaat gebruiken. Zij+zijn opgesteld denkend aan uw veiligheid en die van andere Personen.
VEILIGHEIDSAANWIJZINGEN
— Dit apparaat is ontworpen voor het opstaat (aanzuigen van vlammen kan schade gebruik door particuliere gebruikers in hun toebrengen aan het apparaat).
woonomgeving. — Wonneer u iets onder het apparaat braadt
— Dit apparaat dient te worden gebruikt door of frituurt, dient ukaar voortdurend het oog op volwassenen. Zorg ervoor dat kinderen er nicht te houden. Tot hoge temperatuur verhitte olie aankomen en het als speelgoed gebruiken. en vet kuren vlam vatten.
Zorg ervoor dat ze Niet de knoppen bedieren.
Pak het apparaat onmiddelijk ontvangstuit of laat het uitpakken. Bekijk de algemene staat waarin het verkeert. Wanneru opmerkingen heeft, noteer die dan op de pakbon en bewaar een kopie voor u zich.
Uw apparaat is bestemd voor normalaal huiselijk gebruik. Gebruik het Niet voor commerciele of industrièle doeleinden of voor andere doeleinden dan waaroor het ontworpen is.
Breng geen wijzigingen aan in de eigenschappen van het apparatusat of doe waar geen poging toe. Dat zou gevaar voor u konnen opleveren.
-
Reparations dienen uitsluitend te worden uitgevoerd door een bevoegde specialist.
-
Koppel de afzuigkap algtd van het stroomnet af voor het uitvoeren van een reiniging of onderhoud.
-
Ventileer de ruimte goed wanner de afzuigkap tegelijkkertijd functioneert met apparatuur die op andere wijze gevoed worden dan door elektriciteit. Dit要去 gedaan worden om te voorkomen dat de afzuigkap verbrandingsgassen aanzuigt.
U dient onder de afzuigkap geen voedingsmiddelen te fl amberen of gastpitten te lately branden zonder datkaar een pan
Wanner u iets onder het apparaat braadt of frituurt, dient u waar voortdurend het oog op te honden. Tot hoge temperatuur verhitte olie en vet+kunnen vlam vatten.
- Houdt u zich aan de periodes voor naitvoeren van reiniging en verrangig van fi Iters. Ophoping van vetresten kan brand veroorzaken.
— Het apparaat kan nicht functioneren boven een vuur gevoed door brandstoffen als hout of kolen.
-
Gebruik voor reiniging geen stoom- of hagedrukapparatuur (vereisten met betrekking tot elektrische verilgheid).
-
Met het doel unsere producten steeds te verbeteren, behouden wij ons hetrecht voor om de technische, functionele of esthetische eigenschappen, die möglichelijk zich door neue technische ontwikkelingen, te wijzigen.
Wij raden u aan de gegevens van uw apparaat te noteren op de pagina "Technische Dienst en Klantenservice" zodate u die gemakkelijk kut terugvinden.
(Op die pagina wordt eveneens uitgelegd waar u die op uw apparaat kutn vinden).
- Dit apparaat is Niet bedoeld voor gebruik door personen (inclusief kinderen) met verminderde lichamelijke, sensorische of geestelijkke capaciteiten of door personen zonder ervaring met of kennis van het apparaat, tenzij die begeleid worden of instructies hebben ontvangen over het gebruik van een persoon die verantwoordelijk is voor hun veiligheid.
Attentie neer de k
Jneer de keuken verwarmd wordt door een apparaat dat aangesloten is op een schoorsteen (bijvoorbeeld een kachel), dan dient de afzugkap te worden geinstalleerd in de functie recirculatie. Gebruik de afzugkap Niet zonder fi Itercassettes.
U dient te zorgen voor goede ventilatie wanner de afzuigkap gebruikt worden met andere apparaten die functioneren op gas of een andere brandstof.
1/TER ATTENTIE VAN DE GEBRUIKER NL
MILIEUBESCHERMING
- De verpakkingsmaterialen van dit apparaat zijn recycleerbaar. Zorg ervoor dat ze gerecycleerd worden en lever een bijdrage aan het behoud van ons milieu door ze de in de containers van uw gemeente te deponeren die waarvoort bestemd�.
— Het apparaat zich bevat ook recycleerbare materialen, reden waarom het voorzien is van


dit logo dat aangeeft dat de apparatuur Niet samen met ander afval dient te worden weggeworpen. Wanneer u daarnaar handelt, za de recyclage van de apparatuur, die georganiseerd worden door de fabrikant, onder de best möglichke omstandigheden plaatsvinden in overeenstemming met Europese richtlijn 2002/96/EG betreffende afgedankte elektrische en elektronische apparatuur. Neem contact op met uw gemeente of met uw winkelier om te vernemen waar zich deuchtst bijzijnde inamelpunten bevinden voor afgedankte apparatuur. - Wij danken u voor uw medewerking aan de bescherming van ons milieu.

Attentie
De installmentie dient uitsluitend uitgevoerd te worden door gekwalifi ceerde installateurs en monteurs.

Attentie
Voordat u de fi Itercassette voor de eerste keer gaat gebruiken, dient u de beschermlaag te verwijderen.
1/TER ATTENTIE VAN DE GEBRUIKERNL
— Het apparaat dient tijdens installment en andere werkzaamheden afgesloten te worden van het stroomnet.
- Controller of de spanning van het stroomnet overeenkomt met de spanning die aangegeven staat op hetplaatje met technische gegevens dat zich aan de binnenzijde van de afzuiqkap bevindt.
Wanner het voor de installmentie van uw afzuigkap nodig is wijzigingen aan te brengen, dient u waarvoorte contact op te nemen met een gekwalifi ceerde elektricien.
- Wanner de afzuigkap gebruikt worden in zijn afzuiqfunctie dient u die Niet aan te sluiten op een afvoerkanaal van verbrandingsgassen (verwarmingsketel, schoorsteen, etc.) of op een VMC (systeem met gecontroleerde mechanische ventilatie).
— Het afvoerkanaal, ongeacht het type dat gebruikt worden, dient Niet uit te monden onder het dak.
- Installee de afzugkap op een veilige afstand van ten minste 70~cm van de kookplaat (elektrisch, gas- of gemengd).
- GEBRUIK VAN DE AFZUIGFUNCTIE
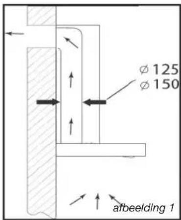
Bij afvoer maar buiten (afbeelding 1)
Uw afzugkap kan aangesloten worden door middel van een afvoerkanaal (O minimaal 125 mm, geemailerd, van aluminium of van een Niet brandaar materiaal). Wanner het kanaal een diameter heeft van minder dan 125mm is het verplicht de recirculatiefunctie te gebruiken.

- GEBRUK VAN DE RECIRCULATIEFUNCTIE
Bij afwezigheid van een afvoer maar buiten (afbeelding 2)
Al onze apparaten beschikken over demogelijkheid om in de recirculatiefunctie te functioneren.
In dat geval dient u een fi Iter van actieve koolstof teplaatsen die de luchtjes absorbheert.
(zie Hoofdstuk 4: Vervanging van het koolstoffi Iter).

Tijdens installmenten
onderhoudswerkzaamheden dient het
apparaat van het stroomnet te zich
losgekoppeld en要去en de zekeringen
uitgeschakeld of verwijderd zich.
De elektrische aansluiting dient te worden
gemaakt voordat u het apparaat in het
keukenmeubelplaatst.
Controleer of:
- het vermogen vandeinstallatievoldoende
is,
- de elektrische leidingen in goede staat
verkeren,
- ofdediametervandekabelsovereenstemt
met de installmentevoorschriften.
Attentie
Dit apparatus wordt geleverd met een H 05 VVF-voedingskabel met drie stroomdraden van 0,75mm^2 (neutraal, fase en aarde) dieClient te worden aangesloten op een eenfasig stroomnet met een spanning tussen 220 - 240 V, door middel van een genormaliseerd stopcontact dat voldoet aan de CEI 60083-norm en dat na installmentie bereikbaarClient te zijn in overeenstemming met de installmentevoorschriften. Wij zijn op geen enkele wijze aansprakelijk voor ongevallen die te wijten zich aan een ontbrekende of incorrecte aarding. Dezekering van uw installationieClient 10 of 16 A te bedragen. In het geval de voedingskabel beschadigd isClient u, om ieder gevaar te vermijden, contact op te nemen met de after-saleservice.
Attentie
Wonneer het nodig is wijzigingen in de elektrische installmentie van uw woning aan te brengen, dient u contact op te nemen met een gekwalifi ceerde elektricien.
Attentie Wanner
Wanner de afzuigkap nicht normal functioneert, dient u het apparaat van de stroom af te sluiten en moet u de zekering van de elektrische voeding van het apparaat verwijderen.
2 / INSTALLATIE VAN HET APPARAAT NL
- MONTAGE VAN DE AFZUIGKAP
Attentie De instal
De installmentie dient te voldoen aan de geldende voorschriften voor ventilatie van ruimten. In Frankrijk staan genoemde voorschriften in document DTU 61.1 van het CSTB. Het belangrijkste voorschrift waar bij is dat afgezogen lustt Niet dient te worden afgevoerd via een kanaal dat gebruikt worden voor de afvoer van de rook van apparaten die gas of een andere brandstof gebruiken. In onbruik geraakte afvoerkanalen mogen slechts in gebruik genomen worden na de toestemmingaarvoor van een bevoegde specialist.
De minimale aufstand tessen het kookgedeelte en het laagste gedeelte van de afzuiigkap dient ten minste 70~cm te bedragen. Wanner de instructies van de kookplaat een aufstand aangeven die groter is dan 70~cm , dan dienen die in dat geval opgevolgd te worden.
Bevestiging aan de muur:
-
Teken vanuit het midden van uw kookplaat een verticale lijn omhoog op de muur.
-
Teken op de muur 3 gaten af die geboard要去en worden voor de installmentie en gebruik waarvoort het ophangmechanisme van de afzuigkap; zorg dat die de aanbevolen afstand hebben (onderdeel A van afbeelding 1).
Boor op de juiste plaats 3 gaten van 8 mm en steek waar de pluggen in.
-
Schroef het bevestigingsystem van de afzuigkap vast en zorg er waar bij voor dat die volkommen waterpas is (onderdeel A van afbeelding 1).
-
Monteer voordat u de afzuigkap ophangt de terugslagklep boven de uitlaat van de motor.
Schroef de uitschuifbare afvoerkoker vast (niet meegeleverd) boven de uitlaat van de motor zonder waar bij de beweging van deterugslagklep te hinderen (afbeelding 3).
- Plaats nu de afzuiigkap op de draagconstructie en maak die vast met de waarvoor bestemde meegeleverde schroeven (afbeeling 2).


afbeelding 2

afbeelding 3
- Afvoer maar buiten
Bereken de plaatsvoor het vastschroeven van de U-vormige steunbeugel van het afvoerkanaal (onderdeel B afbeelding 1).
- Teken twee gaten af op de juiste plaats.
Boor 2 gaten van 8 mm en schroef de steunbeugel van het afvoerkanaal vast, let er waar bij op dat die precies in het midden van de afzuigkap geplaatst is (onderdeel B afbeelding 1).
- Schroef de platte steun aan dechterzijde van het onderste gedeelte van het afvoerkanaal vast.
- Plaats de twee delen van het afvoerkanaal op de afzuigkap (afbeelding 5).
Sluit de afvoerkoker aan op de opening.
haar buiten.
— Sluit de afzuigkap aan op de stroom door middel van de voedingskabel.
Breng het afvoerkanaal zo ver möglichk omhoog en maak het vast aan de beugel met behulp van de schroeven.




2 / INSTALLATIE VAN HET APPARAAT NL
- Recirculatie
Bereken de uiteindelijke hoogte voor de bevestiging van de U-vormige steunbeugel van het afvoerkanaal.
- Teken 2 gaten af op de juiste plaats.
Boor 2 gaten van 8 mm en schroef de steunbeugel van het afvoerkanaal vast, let er waar bij op dat die precies in het midden van de afzuigkap geplaatst is.
Schroef de platte steun aan dechterzijde van het onderste gedeelte van het afvoerkanaal vast.
- Plaats de twee delen van het afvoerkanaal op de afzuigkap (afb. 5).
— Sluit de afvoerkoker aan op de opening maar buiten.
Sluit de afzuigkap aan op de stroom door middel van de voedingskabel.
Breng het afvoerkanaal zo ver möglichk omhoog en kaak het vast aan de beugel met behulp van de schroeven.

afbeelding 8




Advies Voor he
Voor het optimaal functioneren van het apparaat, raden wij u aan een afvoerijp te gebruiken met een diameter van 150 mm (niet meegeleverd). Plaats zo min möglich philboogstukken en houd de lengte van de buis zo kort möglich. Wanner de afzuigkap de lucht maar buiten afvoert, is het raadzaam te zorgen voor voldoende instroom van frisse lucht, zodate er geen onderdruk ontstaat in de ruimte.
Attentie Gebruik g
Gebruik geen gereedschap voor het verwijderen van de beschermlaag.
3 / GEBRUK VAN HET APPARAAT NL
BESCHRIJVING VAN DE BEDIENINGSELEMENTEN
- Wanneer u drukt op de knop Stop (Stoppen) zal de motor tot stilstandkommen.
- Wanner u drukt op de knop Low (Laag), zal het waarschuwingssignaal eenmaal klinken en za de motor op lage snelheid functioneren.
- Wanner u drukt op de knop Mid (Half), zal het waarschuwingssignaal eenmaal klinken en za de motor op halve能力和 functioneren.
- Wanner u drukt op de knop High (Hoog), zal het waarschuwingssignaal eenmaal klinken en zal de motor op hoge能力和 functioneren.
- Wanner u drukt op de knop Light (Licht) zullen de twee Lichtjes aangaan. Wanner u er nogmaals op drukt, gaat het Licht UIT.

4 / ONDERHOUD EN REINIGING VAN HET APPARAAT NL

Attentie
Koppel het apparaat los van het stroomnet voordat u overgaat tot onderhoud en reiniging van het apparaat. Een periodieke reiniging is een garantie voor goed functioneren, een goed rendement en een lange levensduur.

Attentie
Niet opvolgen van de instructies voor schoonmaken van apparaat en fiilters kan leiden tot brand. Volg de instructies voor onderhoud strikt op.
- REINIGING VAN DE FILTERCASSETTS
Na ongeveer 30 eer gebruik of minimaal eenmaal per maand dienen de filters te worden schoongemakt. Ze kunnen verticaal geplaatst in een vaatwasmachine worden schoongemakt.
Gebruik een borstel, warm water en een mild wasmiddel. Spoel ze schoon en maak ze zorgvuldig droog voordat u ze teruggeplaatst.
- Demontage van de fi Itercassette
Draai de hendel die in de fi Itercassette is aangebracht.
Kantel de fi Itercassetteaarbeneden.
- VERVANGING VAN HET KOOLSTOFFILTER (optioneel)
Vervang het telkens na ongeveer 120 uur gebruik.
- Verwijder de fi Itercassettes.
Draai het koolstoffi Iter om het te verwijderen.
Volg de omgekeerde procedure om het fi Iter opnieuw teplaatsen.
- Plaats opnieuw de fi ltercassettes.


4/ONDERHOUD EN REINIGING VAN HET APPARAATNL
- REINIGING VAN DE BUITENZIJDE
Voor de reiniging van de buitenzijde van de afzuigkap gebruikt u water met zeep; gebruik geen poetsmiddelen of schuurmiddelen, noch schuursponsjes of borstels. Veeg het schoon met een zachte vochtige doeck.
- VERVANGING VAN HET LAMPJE
Attentie Voordat u
Voordat u hiermee begint, dient u de afzuigkap spanningsvrij te makeen door de stekker uit het stopcontact te verwijderen of door de stroomonderbreker om te zetten.
Model met halogeneen lampje
— Verwijder het beschemkapaje
— Vervang het halogeen lampje
Zet het geheel weer in elkaar door de handelingen in omgekeerde volgorde uit te voeren.

4 / ONDERHOUD EN REINIGING VAN HET APPARAAT NL

Attentie
Voordat u hiermee begint, dient u de afzuigkap spanningsvrij te maken door de stekkeruit het stopcontact te verwijderen of door de stroomonderbreker om te zetten.
- ONDERHOUD VAN HET APPARAAT
| ONDERHOUD DAT MOET U DOEN | TE GEBRUKENPRODUCTEN/ACCESSIONS | |
| Behuizing en accessoires | Gebruik nooit metalenschuursponsjes,schuirmiddelen of te hardeborstels. | Om de behuizing enhet lichtvenster schoonte makegnobrukt uuitsluitend commercieleschoonmaakmiddelenopgelost in water, daarnaspoelt u ze schoon metwater en droogt ze meteen zachte doek. |
| Filtercassette | Dit fi lter absorbeert de vettige dampen en het stof.Dit is het element dat voor een groot deel zorgt voor de doeltreffendheid vanafzuigkap. Voor hardnekkigevlekken gezruikt u een Nietschurende crème en schoonwater. | Reinig met eencommercieelschoonmaakproduct,spoel af met overvloedigwater en maak droog.Zekunnen verticaal geplaatst in een vaatwasmachinen worden schoongemaaKT.(Laat die nicht in contactkomen met vuile vaat ofsilver bestek). |
| Filter van actieve koolstof | Dit fi lter houdt de luchtjes vast en dient, afhankelijkvan het gebruik, minimaaleenmaal per staatervangente worden.Bestel deze fi lters bijuw winkelier (met hetreferentienummer dat staatangegeven op het plaatjemet technische gegevensdat zich aan de binnenzijdevan de afzuigkap bevindt)en noteer de datum vanervanging. | |
Om het apparaat in goede staat te houden, bevelen wij u het gebruik van de onderhoudsproducten van Clearit aan.

De kennis en de ervaring van de professional ten dienste van de particulier
Clearit biedt u professionele producten en oplossingen die geschikt zich voor het dagelijk onderhoud van uw huishoudelijkte apparatuur en uw keulen.
U=kunt ze vinden bij uwnormale leverancier samen met een complete productijn van accessoires en gebruiksproducten.
5/AFWIJKENDFUNCTIONERENNL
| SYMPTOMEN OPLOSSING | |
| De afzuigkap functioniert nicht ... | Controler of: • er een stroomonderbreking is. • er een snelheid is geselecteerd. |
| Het rendement van de afzuigkap is onvoldoende ... | Controler of: • de geselecteerde snelheid van de motor voldoende is voor de hoeveelheid geproduceerde rook en waterdamp. • de keuken voldoende goventileerd worden, zDat er lucht binnenkomen kan. • het koolstoffi Iter Niet versleten is (afzuigkap in recirculatiefunctie). |
| De afzuigkap isijdens functioneren stil komen te staan. | Controler of: • er een stroomonderbreking is. • de omnipolaire schakelaar wellicht omgezet is. |
Werkzaamheden die aan de machine dienen te worden uitgevoerd, moeten gedaan worden:
door de distributeur,
- of door een andere gekwalifi ceerde technicus die daartoe door de fabrikant bevoegd is. Wanner u contact opneemt, geef dan alle gegevens van de machine door (model, type en seriENUMmer). Deze gegevens zijn te vinden op het identifi catieplaatje van de machine.
Notice-Facile