9 CFD 60 X - Cappa da cucina FAGOR - Manuale utente e istruzioni gratuiti
Trova gratuitamente il manuale del dispositivo 9 CFD 60 X FAGOR in formato PDF.
Scarica le istruzioni per il tuo Cappa da cucina in formato PDF gratuitamente! Trova il tuo manuale 9 CFD 60 X - FAGOR e riprendi in mano il tuo dispositivo elettronico. In questa pagina sono pubblicati tutti i documenti necessari per l'utilizzo del tuo dispositivo. 9 CFD 60 X del marchio FAGOR.
MANUALE UTENTE 9 CFD 60 X FAGOR
IT MANUALE DI ISTRUZIONI
HU HASZNÁLATI UTMUTATO
SK SPRIEVODCA INSTALÁCIOU
CZ NAVOD KPOUZITI
PL INSTRUKCJA OBSLUGI
DK INSTALLATIONSVEJLEDNING
NL GEBRUIKERSHANDLEIDING
SV BRUKSANVISNING
PYC PYKOBODCTBO NO 3KCNJYATAUIN
Campana extractora decorativa
Decorative Hood
Hotte décorative
Exaustor decorativo
Cappa aspirante decorativa
Paraelszivo
Si noiene una salute al exterior (foto 2)
—pelo revendedor;
- por除外 profi ssional qualifi cado autorizzato nella marca.
Allo scopo di migliorare costamente i nostri prodotti, ci riserviamo il diritto di effetuare modifi che alle loro caratteristiche tecniche, funzionali o estetiche vincolate ai progrissi tecnici.
Important: Prima di me
Prima diMETTERe in funzione il vostro dispositivo, leggete attendamente\ questo manuale di installatione e d'uso per acquisire il più rapidamente possibile\ dimestichezza con il suo funzionamento.
ITIN
1/INFORMAZIONI PER L'UTENTE
·Indicazioni di sicurezza 84
Conservazione dell'ambiente 85
- Descrizione del disposativo 86
2 / INSTALLAZIONE DEL DISPOSITIVO
Utilizzo in versione evacuazione 87
Utilizzo in versione ricircolo 87
- Connessione elettrica 88
Montaggio della cappa aspirante 89
Montaggio della canna fumaria 90
^ Ricircolo 91
- Descrizione dei comandi 92
4 / MANUTENZIONE E PULIZIA DEL DISPOSITIVO
Pulizia dei fi Itri modulari 93
- Sostituzione del fi ltro di carbonio 93
Pulizia della superfici cie esterna 94
- Sostituzione della lampadina 94
Manutenzione del dispositivo 95
5/ANOMALIE DI FUNZIONAMENTO 96
6/SERVIZIO TECNICO 97
1/INFORMAZIONI PER L'UTENTEIT
Important
Conservare quello manuale con il dispositivo. Se si deve vendere o Cedere il dispositivo a un'altra persona, assicurarsi che il manuale di istruzioni lo accompagni. Si prega di leggere dati consigli prima di installare e utilizzare il dispositivo. Sono stati concepiiti pensando alla vostra sicurezza e a quella degli altri.
INDICAZIONI DI SICUREZZA
-
Questo dispositivo è stato progettato per essere utilizzato da privati nelle loro case.
-
Questo dispositivo deve essere utilizzato da uomini. Fare attenzione che i bambini non lo tocchino e lo utilizzato come un giocatto. Assicurarsi che non manipolino i comandi del dispositivo.
-
Quando si riceve il dispositivo, disimballo o farlo disimballare immediatamente. Controllare il suo aspetto generale. Se bisogna far presente quale riserva, farlo per iscritto nella bolla di consegna e tenere una copia della stessa.
-
Il vosto disposativo è stato concepito per un uso domestico normale. Non utilizzato a scopi commerciali o industriali o con altri scopi diversi da quelli per cui è stato progettato.
Non modifi care o cercare di modifi care le caratteristiche del disposativo. Potrebberappresentare un pericolo per l'utente.
-
Le riparazioni devono essere effettuate esclusivamente da uno specialista autorizzato.
-
Scollegare sempre la cappa aspirante prima di pulirla o di realizazare la manutenzione.
-
Ventilare adeguatamente il locale se la cappa funziona contemporaneamente ad altri dispositivi alimentati da una fonte di energia che non sia l'elettricità. Cio affine nché la cappa non aspiri i gas di combustione.
-
Non si possono fare alimenti flambre o
tenere accesi i fornelli a gas alla nessun recipiente nelle cappa (le fi amme aspirate potrebbero rovinare il dispositivo).
- Quando si sta friggendo sotto il dispositivo, bisognera controllario costamente. Gli oli e i grassi riscaldati ad alta temperatura possono prendere fuoco.
Rispettare la frequenza di pulizia e sostituzione dei fi Itri. L'accumulo di depositi di grasso potrebbe causare un incendio.
-
Non si cui utilizzato sopra un fuoco a base di combustibile (legno, carbone...).
-
Non usare dispositivi a vapore o ad alta pressione per pulire il dispositivo (esigenze relative alla sicurezza elettrica).
-
Allo scopo di migliorare sempre i nostri prodotti, ci riserviamo il diritto di applicare modifi che alle loro caratteristiche tecniche, funzionali o estetiche vincolate ai progressi tecnici.
-
Per trovare lavoramente i peszzi del dispositivo, consigliamo di segnarlì nella paglia "Servizio Tecnico e Servizio al Consumatore". (Questa pagna spiegaanche dove si possono trovare nel dispositivo).
-
Questo dispositivo non è stato concepi-to per l'uso da parte di persona (compresi i bambini) con energia fi siche, sensoriali o mentali ridotte, o persone privile di esperienza o conoscenze, a meno che,attraverso una persona responsable della loro sicurezza, siano controllati o ricevano precedentemente istruzioni circa l'uso del dispositivo.
Attenzione Se la cucina
Se la cucina si riscalda con un dispositivo collegato a una canna fumaria (ad esempio una stufa), la cappa dovrà essere installata in versione ricircolo. Non usare la cappa sulla fi Itri modulari.
Bisogna prevedere una ventilazione adeguata quando si usa una cappa aspirante da cucina contemporaneamente ad altri dispositivi che funzionano a gas o con un altro combustibile.
1/INFORMAZIONI PER L'UTENTE IT
PROTEZIONE AMBIENTALE
-
I materiali utilizzati per l'imballaggio di quello dispositivo sono riciclabili. Per participare al loro riciclaggio e contribuire in tal modo alla protezione ambientale si prega di smaltirli nei contentitori comunali apposti.
-
Anche il vostro dispositivo contiene dei materiali riciclabili, per cui è stato marchiato


con quello logotipo aindicare che i dispositivi scartati non devono essere mescolati con altri residui. Agendo in tal modo, il riciclaggio dei dispositivi defi nito dal vostro fabbricante verrà effettuato nel migliorie dei modi possibile, in linea con la direttiva europea 2002/96/CE sui residui di dispositivi elettrici ed elettronici. Informatevi presso il vostro comune o il vostro rivenditore persapere dove si trovano i punti di raccolta dei dispositivi eliminati più vicini a casa vostra.
— Vi ringraziamo per la vostra collaborazione nella protezione dell'ambiente.

Attenzione
L'installazione è riservataagli installatori e tecnici qualifi cati.

Attenzione
Prima di usare per la prima volta il fi Itro modulare, togliere la pellicola di protezione.
1/INFORMAZIONI PER L'UTENTEIT
DESCRIZIONDELDISPOSITIVO

2 / INSTALLAZIONE DEL DISPOSITIVO IT
- Il disposativo deve essere scollegato quando viene installato o se si realizza quale intervento sullo stesso.
- Verificare che la tensione della rete corrisponda alla tensione indicata nella targhetta delle caratteristiche che si trovava all'interno della cappa.
- Se l'impiano elettrico della cappa richiede obbligatoriamente una modifi ca per poter collegare il dispositivo, rivolgersi a un elettricista qualifi cato.
- Se la cappa viene utilizzata in versione evacuazione, non collegare il disposativo a un condotto di evacuationhe dei fumi di combustione (caldaia, caminetto, ecc.) o a una VMC (Ventilazione meccanica controllata.
- Il condotto di evacuatione, qualsiasi sua, non deve sfociare nella parte inferiore del fatto.
- Installare la cappa a una distance di sicurezza di almeno 70cm alla piatra di cottura elettrica, a gas o mista.
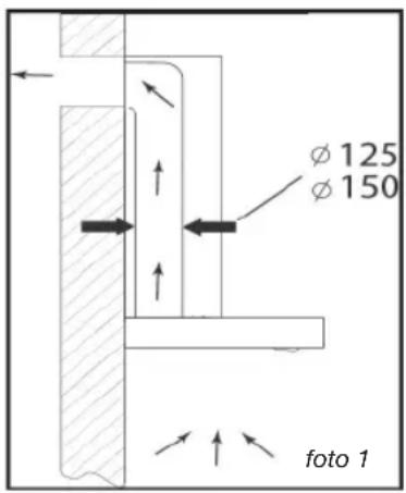
- UTILIZZO IN VERSIONE EVACUAZIONE
Se ha un'uscita versus l'esterno (foto 1)
La cappa si può collegare alla stessa attraverso un condotto di evacuatione (O minimo 125~mm ,smaltato,in alluminio o di materiale non infi ammabile).Se il condotto ha un diametro inferiore a 125 mm passare obbligatoriamente alla modalità di ricircolo.

- UTILIZZO IN VERSIONERICIRCOLO
Se non ne ha un'uscita all'esterno (foto 2)
Tutti i nostri dispositivi hanno la possibilità di funzionare in modalità ricircolo.
In tal caso,aggiungere un fi Itro di carbonio attivo che tratterra gli odori.
(Vedi Capitolo 4: Sostituzione del fi Itro di carbonio)

2 / INSTALLAZIONE DEL DISPOSITIVOIT
CONNECTION ELETTRICA
Quando si realizza l'installazione e le operazioni di manutenzione, il dispositivo dovrà essere scollegato alla rete elettrica e i fusibili verranno escludi e tolti.
La connessione elettrica si dovrare realizazare prima di collocare il dispositivo nel mobile.
Verificareche:
— la potenza dell'impiano sua suffi ciente,
- le linee di alimentazione siano in buono stato,
- il diametro dei cavi sia conforme alle norme di installmente.
Attenzione
Questo dispositivoiene fornito con un cavo di alimentazione H05VVF a 3 conduttori di 0,75mm^2 (neutro, fase e terra) che si deve collegare alla rete di 220 - 240 V - monofase tramite una presa di corrente normalizzata CEI 60083 che dovra essere accessibile una volta effettuata l'installazione, in base alle norme di installazione.
Non assumeremo nessuna responsabilità nel caso in cui si verifi chi un incidente a causa di una presa di terra inesistente o non corretta. Il fusibile dell'impianto dovrè essere di 10 o 16 A. In caso di danneggiamento del cavo, chiamare il servizio.
Attenzione Se bisogna
Se bisogna modifi care l'impianto elettrico del proprio locale per poter collegare il dispositivo, rivolgersi a un elettricista qualifi cato.
Attenzione Se la cappa
Se la cappa ha qualsiasi anomalia, scollegare il dispositivo o togliere il fusibile corrispondente alla linea di connessione del dispositivo.
2 / INSTALLAZIONE DEL DISPOSITIVO IT
- MONTAGGIO DELLA CAPPA ASPIRANTE

Attenzione
L'installazione devese sere
conforme alle normative vigenti per la ventilazione dei locali. In Francia, tali normative vengono indicate nel DTU 61.1 del CSTB. In particolare, l'aria evacuata non deve essere mandata in un condotto utilizzato per l'evacuatione del fumo di dispositivi che funzionano a gas o con un'alto combustibile. Le tubature in disuso si possono utilizzato solo se lo stabilisce uno specialista competente.
La distanza minima tra la zona di cottura e la parte più Bassa della cappa deve essere per lo meno di 70 cm. Se le istruzioni della targhetta che si trova sotto la cappa dovesseroindicare una distanza superiore a 70 cm,questa è quella che si dovrà prendere in considerazione.
Fissaggio a parete:
- Tracciare una linea sul muro, concentrata, partendo alla verticale del piano di cottura.
Segnare sul muro i 3 fori che bisogna realizzare utilizzato il gancio di suspensione della cappa fornito e rispettoando la distanza consigliata (pezzo A della fi g. 1) - Realizzare i 3 fori di 8 mm nella posizione adeguata e inseire i perni.
-
Avvitare il supporto per il fi ssaggio della cappa assicurandosi che sia bene a livello (pezzo A della fi g. 1).
-
Prima di appendere la cappa, montare la valvola di non ritorno all'uscita del motore.
-
Avvitare la copertura estensible (non inclusa) per l'evacuatione sull'uscita del motore alla non ostacolare i movimenti della valvola di non ritorno. (fi g. 3).
-
Collocare e connettere il corpo della cappa su quello supporto con le viti previste incluse (fi g. 2).



2 / INSTALLAZIONE DEL DISPOSITIVOIT
- MONTAGGIO DELLA CANNA FUMARIA
Evacuazione esterna
- Calcolare l'altezza fi nale per avvitare il contrafforte a U del supporto della canna fumaria (pezzo B fig. 1).
— Segnare 2 fori nel luogo adeguato.
Realizzare i 2 fori di 8 mm e avvitare la fl angia di supporto della canna fumaria prestando attenzione affinché stia bene nell'asse della cappa (pezzo B fi g.1). - Avvitare la forcella piatta alla parte posteriore della parte inferiore della canna fumaria.
Collocare le 2 canne fumarie sulla cappa (Fig. 5). - Collegare la copertura all'uscita dell'aria versuso l'esterno.
Realizzare la connessione elettrica della cappa con il cavo di alimentazione. - Sollevare la canna fumaria superiore fi no al limite massimo e fi ssarla alla forcella con I'aiuto delle viti.


foto 5

foto 3

2 / INSTALLAZIONE DEL DISPOSITIVO IT
Riciclaggio
- Calcolare l'altezza fi nale per insere la fl angia di supporto della canna fumaria.
— Segnare 2 fori in un luogo adeguato.
Realizzare i 2 fori di 8 mm e avvitare la fl angia di supporto della canna fumaria prestando attenzione affinché stia bene nell'asse della cappa.
- Avvitare la forcella piatta alla parte posteriore della parte inferiore della canna fumaria.
Collocare le 2 canne fumarie sulla cappa (Fig.5). - Collegare la copertura all'uscita dell'aria versuso l'esterno.
Realizzare la connessione elettrica della cappa con il cavo di alimentazione. - Sollevare la canna fumaria superiore fi no al limite massimo e fi ssarla alla forcella con I'aiuto delle viti.






Nota
Per un utilizzo ottimale, è consigliabile collegare il campanello di una pila di 150 mm di diametro (non fornito). Limitare al massimo il numero di gomiti e la lunghezza del condotto. Se la cappa funziona in evacuatione esterna, è opportuno assicurarsi che arriviva sufficiente affinché non si venga a generare depressione nella camera.

Attenzione
Non usare strumenti per togliere la pellicola di protezione.
3/USO DEL DISPOSITIVOIT
- DESCrizIONE DEI COMANDI
- Premendo il pulsante Stop (Arresto) il motore si ferma.
- Premendo il pulsante Low (Bassa), l'avvisatore emettera un suono e il motore funzionera a bassa velocità.
- Premendo il pulsante Mid (Media), l'avvisatore emettera un suono e il motore funzionera a media velocità.
- Premendo il pulsante High (Alta), l'avvisatore emettera un suono e il motore funzionera ad alta velocità.
- Premendo il pulsante Light (Luce), le due luci si accenderanno. Premendolo di nuovo, la luce si spegnerà.

4/MANUTENZIONEEPULIZADEL DISPOSITIVOIT

Attenzione
Scollegare il dispositivo prima di procedere alla manutenzione e alla pulizia dello stesso. Una manutenzione periodica è garanzia di un buon funzionamento, una buona resa e durata.

Attenzione
Il mancato rispetto delle istruzioni di pulizia del disposativo e dei fi ltri cui poe causare incendi.Seguire alla lettera le istruzioni per la manutenzione.
PULIZIA DEI FILTRI MODULARI
Si devono pulire ogni 30 ore di utilizzo o circa una volta al mese per lo meno. La pulizia si può realizzare nella lavastoviglie, in posizione verticale.
Usare una spazzola, acqua calda e un detergente non aggressivo. Sciac quarli e asciugarli con cura prima di collocarli nuovamente.
- Smontaggio del fi Itro modulare
- Ruotare il manico integrato del filtro modulare.
— Inclinare il fi Itro modulare verso il basso.

SOSTITUZIONE DEL FILTRO DI CARBONIO (optional)
Sostituirlo circa ogni 120 ore di utilizzo.
Togliere i fi Itri modulari.
— Ruotare il fi Itro di carbonio per toglierlo.
Realizzare l'operazione contraria per collocare un nuovo fi Itro.
Rimettere i fi Itri modulari.

4 / MANUTENZIONE E PULIZIA DEL DISPOSITIVOIT
PULIZIA DELLA SUPERFICIE ESTERNAT
Per pulire l'esterno della cappa aspirante usare acqua e sapone; non usare creme per la pulizia, né detergenti corrosivi, né spugne abrasive o spazzole. Asciuare con un panno umido e morbido.
SOSTITUZIONE DELLA LAMPADINA
Attenzione Prima di rea
Prima di realizzare qualiasi intervento bisogna togliere la tensione alla cappa, scollegandola oppure azionando il disgiuntore.
Modello con lampadina alogena
Togliere la copertura.
Sostituire la lampadina alogena.
- Collocare di nuovo il tutto realizando le operazioni in senso opposto.

4 / MANUTENZIONE E PULIZIA DEL DISPOSITIVO IT
Attenzione Prima di reali
Prima di realizzzare qualsiasi intervento bisogna togliere la tensione alla cappa, scolle-gandola oppure azionando il disgiuntore.
MANUTENZIONE DEL DISPOSITIVO
| MANUTENZIONE COSA | SI DEVE FARE | PRODOTTI/ACCESSORI DA UTILIZZARE |
| Carcassa e accessori | Non utilizzato mai spugnette metalliche, prodotti abrasivi o spazzoleccessivamente dure. | Per pulire il telaio e l'oblò di illuminazione, usare esclusivamente prodotti di pulizia disponibili in commercio, diluiti in acqua, e quindi sciacquare con acqua e asciugare con un panno morbido. |
| Filtro modulare | Questo fi Itro trattiene i vapori grassi e la polvere. è l'elemento che garantisce una parte notevole dell'effi cacia della cappa. In caso di macchie persistenti, usare una crema non abrasiva e sciacquare con acqua pulita. | Pulire con un prodotto di pulizia disponibile in commercio, sciacquare abbondamente e asciugare. La pulizia si può realizare nella lavastoviglia, in posizione verticale.(Non mettere in contatto con stoviglia sporche o con coperti di argento) |
| Filtro di carbonio attivo | Questo fi Itro trattiene gli odori e si deve cancellare almeno una volta all'anno, a seconda del suo uso.Richiedere questei fi Itri al proprio rivenditore (con il riferimento indicato nella targhetta delle caratteristiche che si trovata all'interno della cappa)e segnare la data della sostituzione. |
Per mantenere il dispositivo in buone condizioni, consigliamo di utilizzare i prodotti di manutenzione Clearit.

Le conoscenze e l'esperienza dei professionisti al servizio dei privati
Clearit propone dei prodotti professionali e soluzioni adeguate per la manutenzione quotidiana dei vostri elettrodomestici e della vostra cucina.
Li potrete trovare in vendita presso il vosto distributore abituale, assieme a una vasta gamma di prodotti, accessori e prodotti di consumo.
| SINTOMI | SOLUZIONI |
| La cappa non funziona ... | Verifi care che: • non ci sia un'interruzione di corrente. • sia stata selezionata una velocità. |
| La resa della cappa è insuffi ciente... | Verifi care che: • la velocità del motore selezionato si sussi ciente per la quantità di fumo e il vapore acqueo prodotto. • la cucina si suffi cientamente ventilata affi nché possa entrare aria. • il fi lltro di carbonio non siia consumato (cappa in versione ricircolo). |
| La cappa si è fermata durante il funzionamento. | Verifi care che: • non ci sia un'interruzione di corrente. • non si'a stato attivato l'interruttore onnipolare. |
6 / SERVIZIO TECNICO IT
Gli interventi che richiede la macchina dovranno essere realizzati:
dal rivenditore,
- o da qualsiasi professionista quali cato depositario della marca.
Quando si chiama citare il riferimento completo della macchina (modello, tipo e numero di seri), Questi dati appaiono sulle targhette di identifi cazione collocate sulla macchina.
HU 98
Ellenorizzee a kovetkezoket:
Notice-Facile