DHD789X - Páraelszívó DE DIETRICH - Ingyenes használati útmutató
Találja meg az eszköz kézikönyvét ingyenesen DHD789X DE DIETRICH PDF formátumban.
Felhasználói kérdések a következőről DHD789X DE DIETRICH
0 kérdés erről a készülékről. Válaszolj azokra, amiket ismersz, vagy tedd fel a sajátod.
Tegyél fel egy új kérdést erről a készülékről
Töltse le az útmutatót a következőhöz Páraelszívó PDF formátumban ingyenesen! Találja meg kézikönyvét DHD789X - DE DIETRICH és vegye vissza elektronikus eszközét a kezébe. Ezen az oldalon közzé van téve az eszköze használatához szükséges összes dokumentum. DHD789X márka DE DIETRICH.
HASZNÁLATI ÚTMUTATÓ DHD789X DE DIETRICH
HU HASZNÁLATI UTASÍTÁS
EL EΓXEPIΔIO XPHES
DA BRUGERMANUAL
SK PRÍRUČKA NA POUŽITIE
Hotte decor Digestor
Decorative Hood Szagelszívó berendezés
Campana extractora decorativa ATooppofoTnPax
Cappa arredamento Indretnings emhætte
Designafzuigkap
Exaustor decorativo
Digestor
Spiskapa forinnebruk
DHD789X
De Dietrich


UN A terméken, vagy a csomagoláson feltüntetett jei mutatja, hogy a terméket nem szabad hétköznapi háztartasi hulladékként kezelni, hanem egy elektramos és elektronikus berendeşesek ürahasznosítására alkalmas gyüjtöhelyre kell szállitani. A hulladék megfelelo ádon történő el-tavolításával nagyobb esellyer kerülheto el az olyan esetleges negativ hatás a környezetre vagy az egészsègre, ami a hulladék nem megfelelo kezeléseból adódhat.
Amennyiben további információvaanzukségea termek ujrahasnositásavalkapcsolatban,lepjen kapcsolatba a kozsegi/varosi hivatall, a helyi hulladek begyujto szolgaltatoval, vagy az uzlettel ahol a termeket vásárolta. Ez a haztartasi keszulek a 2002/96/CE, elektramos es elektronikus készulek hulladékairól szólo Europai Irányelvnek (WEEE) megfeleloen van jerolve.
EL To oujoo oTo npoiov n otn oukeuaia deixvei ot to pioov dev npentie v a 8wnp9ei aav kavovko oikiao atoppmu, aaia npetie va npaofoei oTo kaTaaan oonueio Tepoulooyng yia tnv avakkawon nektpukw Kai nektpovikw ouokewv.
Ön epp most vásárolt meg egy DE DIETRICH szagelszívót és ezér tőszö-netet mondunk Önnek.
Fejlesztó részlegeink megterveztek Ölnek egy uy keszülékshaladot, mely esztétikus külsejével, sukoldalusagával, korszerüsegevel kiveteles minosegú termekeket tartalmaz, melyek jol tukrozik tapasztalatunkat.
Az On uy DE DIETRICH szagelszivo keszüléke harmonikusan fog illeszkedni a konyhába és tokeletesen fogja ötvöznia jo elszívo teljesítmenyt a konnyu kezelhetőseggel. Mi egy kivaló terméket akartunk kinalni Onnek.
A DE DIETRICH termekcsaladban tovabba tuzhelyek, fozolapok, mosogatogepek, mikrohullamu sutok, beepitheto hutszekrenyek szeles valasztekatalhatja meg, melyek tetszes szerint osszehangolhatok az uy DE DIETRICH szagelszivoval.
Mivel celunk termeszetesen, hogy vásarloink elegedettek legyenek terme-keinkkel, vevoszolgálatunk az On teljes rendelkezésere all ahhoz, hogy kéréseinek eleget tegyen és hogy hasznos eszreveteleket fogadjon (elérhetösegeink a muzaki kezikonyv vegén talalhatoak).
Latogasson el honlapunkra is (www.dedietrich-electromanager.com) ahol az osszes hasznos informacion tul legujabb fejleszteseinket is megismerheti.
DE DIETRICH Az uj minosegi termek
Mivel allandó celunk, hogy fejlesszuk termekeinket, fenntartjuk a jogot, hogy elvegezzuk az esetleges technikai, funcionális, esztétikai valtoztatasokat keszülékeink folyamatos fejlodése miatt.
Fontos: A keszülék üzembe helyezese elott figyelmesen olvassa el a hasznalati és a szerelési utmutató, hogy gyorsabban megismeredjen a keszülék muködésével.
TARTALOM
HU
1/ A FELHASNZALO FIGYELMÉBE
-Biztonsagi elorasok 97
-A keszulek leirasa 98
2 / A SZAGELSZIVO FELSZERELESE
-A szagelszivo felszerelése
-Beallitas 99
-A szagelszivo elektromos bekotese 100
99
3/A SZAGELSZIVO MUKÖDESE 101
4/A SZAGELSZIVO TISZTITASA 102
5/MUKODESI RENDELLENESSEGEK
-A lampa csereje 103
6/UTANVETELI ASSZISZTENCIA SZOLGALAT 103
Fontos: Örizzemegezeka hasznalati utasitasokat a keszülkekkel egytt. Amennyiben a keszüléket el kivanja adni vagy ajandekozni, gyózódjön meg arról, hogy jelen hasznalati kezikonyv is atadásra kerül.
Koszönjuk, hovy feljegyzi tanácsainkat mielótt felszerelné vagy használná a készüléket. Az On és masok biztonságá érdekében szerkesztettük azokat.
- BIZTONSÁGIELOÍRÁSOK
Ezeket a szagelszívo keszülékeket háztartási használatra tervezték magánszemélyek száma- rara. A keszüléket csak felnött emberek használatjak. Üglyeljenarra, hogy gyermek ne er- hessenek hozza és ne jatszhassanak vele. Figyeljenarra is, hogy nem manipulálják a keszülék távvezérloit.
-
A keszülék átvetele után haladéktalanul távolítsa el vagy távolittassa el acsomagolást. Ellenörizze a keszülék allapotát. Az esetleges megjegyzeseket jegyezze fel az átvételi elismervényre, melyból egy masolat Onnel van. Az On keszülékét normalis háztartási hasznalatra tervezték. Nem szabad kereskedelmi, ipari vagy az eredeti rendeltétésétól kulönboźć celokra használni.
-
Ne allitsa at a keszülék parametereit és ne is kiserletezzen azok atallitásával. Ez veszelyfor-rast jelenthet.
A javitásokat kizárólag meghatalmazott, hozzaérto szakember végezheti.
A keszülék karbantartása vagy tiszítása elótt mindig kapcsolja le a keszüléket az elektromos halózatról.
-
Abban az esetben, hogyha a szagelszivot az elektromostól kūlönbozo energiaellátásu készülékkel használa egyidōben, gondoskodjon a helyiség megfelelo szellózséról, hogy a szagelszivo ne szivjon be égett gázokat.
-
A szagelszívo alatt pilos langoló ételek késztése, valamint edényel le nem fedett gáztúzhely muködtétese (a készülékb je tó langok károsithatják azt).
-
A keszülék alatt történő olajban sutes állando felügyeletet igényel, mert a felhevüt olaj vagy zsir konnyen meggyulladhat.
Az utmutatoban eloirt gyakorisaggal tisztitsa es cserelje a szuroket. A felgyulemlett zsirlerakodasok a keszulek kigyulladasahoz gezethetnek.
- A keszüléket nem szabad szilard tuzeloanyaggal (fa, szen, stb.) muköd sütok felett használni.
A szagelszívo keszülék tisztitásahoz soha ne használjon gozös vagy magasnyomásu készülekeket (elektromos biztonságra vonatkozo irányelv).
Mivel folyamatosan az a celunk, hogy fejlesszuk termekeinket, fenntartjuk a jogot, hogy elvegezzuk az esetleges technikai, funkcionalis, esztetakai valtoztatasokat keszulékeink fejlódese miatt.
Hogy a jovoben is konnyen visszakereshesse a keszülékère vonatkozo adatokat, jegyzeteket, javasoljuk, hogy gyüjtse ki azokat a „Utánvételi szolgálat és Kapcsolatifelvétel a fogyasztóval" nevú oldalra. (Az oldal megmutatja továbbá, hogy hol találhatja meg az adatokat a keszülé-kén).
Figyelem: Amennyiben a konyhát egy fustcsohöz kotött keszülék futi (pl. kalyha), a szagelszívo keszüléket keringetós üemmodban kell használni. Soha ne használja a szagelszívo keszüléket a szúrópatronok nélkül. Ezenfelül gondoskodjon a helyiség megfelelo szellózeséról abban az esetben, ha a szagelszívot más gazzal, vagy egyeb gyulékony anyaggal muködó keszülékek együtt használja.
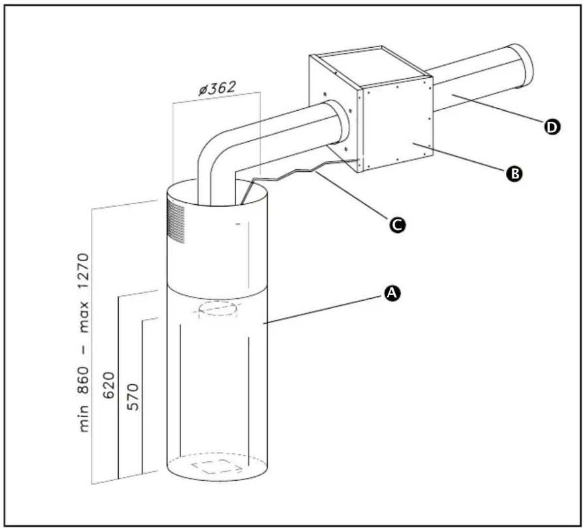
- A KÉSZÜLEK LEÍRÁSA


fustcs

legkivezetocso (kulon kaphato)

külso motor

(DHK7000) (kūlōn kaphato)

csatlakozó kabel
2/A SZAGELSZÍVÖ FELSZERELESE
HU
- A felszereles vagy javitas kozben a keszuleket az elektromos halozatról lekapcsolt allapotban kell tartani.
- Bizonyosodjon meg arról, hogy az elektromos halózat megfelela szagelszívo besejében talalhato információs címkén feltüntetétatt adatoknak.
- Amennyiben meg kell valtozatni a helyiség elektromos paramétereit a keszülék hasznalhatóságanak érdekében, hívion képesített szakembert.
- Soha ne csatlakoztassa azt oyan elvezetocsohoz, mely egett gazokat szallit (kazan, kemencek, stb), vagy Ellenorzott Mechanikus Szellozteto rendszerhez (EMSZ).
-Az elszivo csovege soha ne a padlasszttel egy szinten erjen vget. - A szagelszívó keszüléket az elektromos, gáz vagy vegyes üzemeléső főzöfelülettól legalább 70 cm-es bizton-sági magasságba kell felszerelni.
Ha a helyiség rendelkezik szabadba gezetó nyilással:
A külter felé törtenő legelterelés egy DHK7000 típusú kulönallyo motor (külön kaphato) beszerelésével lehét séges. A szagelszívo keszüleket a kulönallyo DHK7000 típusu motorho z egy legalább 125 mm átméröjcsövön keresztül helet rákottni A csonek rugalmasnak kell lennie, almaniumból, nem gyulékony anagyól. A cso átméroje nem lehet kisebb, mint 125 mm. EZT A Keszüleket NEM SZABAD KERINGETOS ÜZEMMODBAN HASNZALNI.
ELEKTROMOS CSATLAKOZTATÁS
A felszerelés pillanatában vagy a karbantartás kozben a keszüléket az elektromos halózatról lekapcsolt allapot-ban kell tartani, az olvadoBiztositékokat le kell valasztani vagy el kell távolitani.
Az elektromos csatlakoztatast a keszulek felhelyezese elott kell elvegezni.
Ellenőrizze hogy:
- az elektromos teljesítmény megfelelo,
- az elektromos tapsvezetékek jo állapotban vannak,
- a kábelek átméroje a beszerelés elóirásainak megfelel.
- A SZAGELSZÍVÖ FELSZERELESE

A felszerelést a hatályban levő, zart helyiségek szellóztétésere vonatkoz árányelveknek megfeleloen elvegezni. Franciaországban az irányelv szama: CSTB DTU 61.1. A kibocsátandó levegőt semmíkeppen szabad oyan csöbe gezetni amelyet más, gázzzal vagy más gyúlékony anyaggal muködő keszülékekználnak. Hacsak egy képesített szakember nem hagyjá jová, nem szabad a szagelszívot használaton l maradt légelvezető csövekkel összekötni. A fozófelület és a szagelszívo keszülék legalsó részeott legalabb 70 cm távolságot kell hagyni. Ha a szagelszívo keszülék alatt levő fozolap használati utatója,enél nagyobb távolságot ir elő, akkor azt távolságot kell figylembe venni.
- BEÁLLÍTÁS
A szereles megkezdese elott tavolitsa el a zsirszuroket, hogy megelozze a keszulek esetleges kurosodasat. A zsirszurok eltavolitasahoz tolja a nyelet a szagelszivo keszulek also resze fele, majd lefelé nyomva a szurot tavolitsa el azt a helyerol (3a abra).
Figyelem: A szerelest legalabbb két embernek kell végezie.
A szagelszívo keszülék beszerelése elött gondoskodjon az elektromos ellatás elokészítéséról, a külso közpoint beallitásaról és a legelvezető nyilás elokészítéséról.
A hosszabbitókat (5A ábra) a mellekelt csavarok segitségével rogzítse a felso lemezhez (5. ábra). A felse lemezt allitsa a mennyezetre (4.1 ábra), majd a furosablonnak megfeleloen alakitson ki 4 db 8 mm atmérojú lyukat.
A peckeket helyezze a lyukakba (4.1-A ábra) és a lemezt rogzítse a mennyezetre a csavarok segítségevel (4.1-B ábra).
Ezután az also szerkezet (6.2 ábra) rogzítse a szagelszívo keszülékhez úgy, hogy annak nyí-lásai talákozzanak a ventilátor tartójára forrasztott metrikus csavarokkal (6.1 ábra). Helyezze be a mellekelt csavaraláteteket és a csavar anyákat (6.2-A ábra), majd csavarja be azokat egy megfelelo eszköz segitségével.
Egy szoritogyuru segitssegével kõsse a legelvezetö csövet a motor egységhez; a felse szerkezet (6.3 ábra) allitsa az also szerkezetre es ezzel egyidoben allitsa be a felse szerkezet poziójat a megfelelo magassagban, kulönös tekintettel az eloirt minimalis magassagra a fozofelulet és a szagelszívo készülk között. Rögzítse a két szerkezet a csavarokkal (6.3 B ábra).
Ezután a szagelszívo keszüléket a szerkezettel és a mar behelyezett csövekkel emelje fel úgy, hogy a négy rugo (6.6-E ábra) beakadjon a felse szerkezet (6.3 C ábra). Amint a két rész összeakadt, aBiztonsági csavarokkal (5.2 A ábra) rogzítse a két blokkot (5.1, 5.2 . ábra).
A szagelszivo keszulék csövet csatlakoztassa a légelvezető nyiláshoz.
Ezután helyezze be a két teleszkópos csövet (6.4, 6.5 ábra) a szagelszívo készülék also résébe, emelje fel teljesen a csövet és a mellekelt csavarok segitségével (10 ábra) rogzítse azt a készülékhez. A felső csövet emelje fel a mennyezetig és rogzítse azt a csavarokkal (6.6–D ábra).
- A SZAGELSZÍVÖ ELEKTROMOS CSATLAKOZTATÁSA

Ez a keszülék egy H 05 WF, 3 eres pátkabelle muködik (vezető keresztmetszet : 0.75
mm2, semleges, foldelt). A kabelt 220-240 volts egyfazisu elektromos halozatra kell kapcsolni egy CEI 60083 normanak megfelelo konnektoron keresztul, melynek a felszerelesre vonatkozo szabalyok szerint konnyen hozzaferhetonek kell maradnia a felszerelés utan is. A gyartó semmilyen felelosséget nem vallal oyan esetleges balesetekert, melyek a keszülék helytelen foldeléseból vagy a foldelés elmulasztásaból erednek. A keszüléket 10 vagy 16 amperes olvadobiztositonak kell vedenie. Ha az elektromos tapkabel serultahivja az utanvételi szolgálatot hogy elkerüljön mindedfajta kockázatot.

Figyelem:
Ha a keszülek muködéseben rendellenességet eszlel, szakitsa meg az elektromos csatlakoztatast, vagy tavolitsa el az olvadóbiztositékot a keszülek megfelelo elektromos tapkabeljéról.
3/ A SZAGELSZÍVÓ MUKÖDESE
A távirányítón 6 gomb található, mellyel a szagelszívo készüléket távolról is lehet irányítani. Amikor bekapcsolja az időzítő gombot (D gomb), a szagelszívo készülék meg 10 percig üzelmel majd automatikusan lekapcsol.
A távirányító műszaki jellemzői:
-Elemes ellatas : 12V
- Munkafrekvencia : 433,92 Mhz
- Elnyelés max. : 25 mA
- Mūködési hómér séklet: -20 + 70 °C
-Meretek 45× 75× 14 mm.
A mukodés leirasa:
A keszülék irányításához a távirányítón 6 gomb találhato, melyek a következők:
ON/OFF vilagítás kapcsoló
01 : ON (elso sebesség) kapcsoló OFF motor
2: Második sebesség kapcsoló
3 : Harmadik sebesség kapcsoló
4 : Negyedik sebesség kapcsoló
:10 perces idozito

Alapbeallitás:
A gyári beallítás során az összes "szagelszívo keszülék-távirányító" berendezés ugyanazt a kózvetitési kódot kapja (dip-switch n°6-7-8-9-10- ON helyzetben).
Ha ugyanabban a helyiségben két szagelszívo keszüléket szerelnek fel, vagy azok tül bözel vannak egymashoz, az befolyasolhatja a muködésüket. Ebben az esetben az egyik tavirányitó kódjat meg kell valtoztatni.
A kód megváltoztatása
A kozvetitesi kód megvaltoztatásahoz a kovetkezóképpen járjon el: Nyissa ki a tavirányito fedelét és távolítsa el az elemet, majd valassza ki a dip switch-ek kozül valamelyiket (7-8-9-10) és allítsa azt OFF helyzetbe (a 6. switch-et ON helyzetben kell hagyni).
Az uj kód érvényesitése
Miután megvaltoztatta a tavirányitó kozvetitési kódját, a kovetkezókeppen járjon el: nyomja meg a keszülék általanos lekapcsoló gombját (3B ábra), állitsa vissza az elektramos csatlakoztatast ugyanannak a gombnak az újboli megnyomásával (3B ábra); ettol a pillanattól kezdve 15 mp all rendelkezésere ahhoz, hogy megnyomja az ON/OFF gombat, hogy a szagelszívo keszülék atállhasson az új kódra.
Veszgomb 3B ábra
Ha a taviranyito nem mukodik, a keszulek leallitasahoz nyomja meg a villanykortehez kozel eso veszgombot. Az esetleges javitas utan allitsa vissza a veszgombot eredeti helyzetbe. A keszulek oyan elektramos szerkezettel rendelkezik, mely lehetové teszi a keszulek automatikus leallasat negy oraval az utolso vegrehajtott muvelet utan.
A gondos karbantarás a készülék hosszú távú jo muködésénék garanciája.
A fémszürök eltávolítása elótt a szagelszívôt le kell kapcsolni az elektrmos haló-zatról. Húzza ki a csatlakozót az aljzataból vagy kapcsolja le a biztonsági kapcsolót. A tisztitás után a használatiutasításnak megfeleloen vissza kell helyezni a fémszüróket.
| KARBANTARTÁS HOGY | AN VÉGEZZE? | HASZNÁLATRA ALKALMAS KIEGÉSZÍTŐ TERMÉKEK |
| Külső felület és kiegészítök | Semmilyen esetben ne használjon fémes suroló-kat, dörzshatású termé-keket vagy tül kénye surolókeféket. | A szagelszívó külő felülete és a lampabúra tiszütásához ki-zárólag háztartási használatra készült, kereskedelemben kap-ható, vizben oldott tiszütósze- reket használjon, majd tiszta vízzel öblítse le, és puha rong-gyal törölje szárazra azokat. |
| Szűrópatron | 30 ora működés után a billentyűzet az összes nyomógomb kivilágításával jelzi a telitettséget. Állítsa le az üzenetet úgy, hogy megnyomj az időzító kapcsolót .Az sírtalanító rács eltávolításához nyomj a nyelet a sza-gelszívó üvege felét és fordítsa lefelé a rácsot, majd vegye ki a helyéről. A rács visszahelyezéséhez ismételje meg a műveletet fordított sorrendben. | A rácsot kézzel vagy moso-gatógépben tiszítátsa. Legalább 2 havonta tiszítátsa meg.. |
A keszülék jo allapotának megörzéséhez javasoljuk, hogy használjon Clearit karbantartó termékeket.
clearit
Clearit A professzionalisok tapasztalata a maganfelhasznalok szolgalataban
A Clearit professzionalis termekeket, valamint megfelelo megoldasokat kinal az On szamara a haztartasi keszulékek és a konyha napi karbantartasahoz.
A termekek megvasarolhatok az On szokott viszonteladojanal, ahol kiegeszito termekek egesz sorozatat talalhatja meg.
| TÜNET MEGOLDÁS | |
| A szagelszívó nem működik... | Ellenőrizable hogy: · Nincs áramkimaradás. · Megfeleloén választott ki egy bizonyos bevességet. · Üglyeljen arra, hogy a külso közpoint (DHK7000) csatlakozója jó legyen bekötve. |
| A szagelszívónak gyenge a teljesít-ménye... | Ellenőrizable hogy: · A motor bevességénék kivalasztása elegendő a keletkező goźok, füstök elszívására. · A konyha elég szellós ahhoz, hogy lehetséges legyen. |
| A szagelszívó működés közben leáll | Ellenőrizable hogy: · Nincs áramkimaradás. · A tobbpólusú kapcsoló nem oldott ki. |
- A LÁMPA CSERÉJE

Mindenféle muvelet megkezdésé elott le kell kapcsolni a szagelszívot az elektromosózatról. Távolítsa el a csatlakozó t a konnektorból vagy kapcsolja le a fokapcsolót.
Dikroikus lampa
A halogen lampa kicsereléséhez elobb tavolitsa el azt egy csavarhuzóval vagy egy oylan he-gyes eszközzel, melynek vege要比 a lampa es annak hézaga koze. Cserelje ki a lampat egy olyanra, mely hasonlo jellemzokkel rendelkezik (7. ábra).
6/ UTÁNVÉTELI ASSZISZTENCIA SZOLGÁLAT
HU
A keszüléken az esetleges javitásokat a következő egyények végeshetik:
-
a viszontelado,
-
vagy egy, a marga irant elkötelezett, jol képzett szakember.
A Telefonálaskor hivatkozzon a keszülék adataira (modell, típus, törzsszám). Ezeket az adatokat a keszülék információs tablaján találhatja meg.
Ayantntεπeλατη,
KönnyűKézikönyv