DHD789X - Okap kuchenny DE DIETRICH - Bezpłatna instrukcja obsługi
Znajdź bezpłatnie instrukcję urządzenia DHD789X DE DIETRICH w formacie PDF.
Questions des utilisateurs sur DHD789X DE DIETRICH
0 question sur cet appareil. Repondez a celles que vous connaissez ou posez la votre.
Poser une nouvelle question sur cet appareil
Pobierz instrukcję dla swojego Okap kuchenny w formacie PDF za darmo! Znajdź swoją instrukcję DHD789X - DE DIETRICH i weź swoje urządzenie elektroniczne z powrotem w ręce. Na tej stronie opublikowane są wszystkie dokumenty niezbędne do korzystania z urządzenia. DHD789X marki DE DIETRICH.
INSTRUKCJA OBSŁUGI DHD789X DE DIETRICH
PL Symbol umieszczony na produktie lub seinen opakowaniu wskazuje, ze wyrob nie powinien byc traktowy jako normalny odpad gospodarstwa domowego i przy likwidacji nalezy go przykekaca do stosownego punktu zbiorki recyklungu wyposazenia elektrycznego i elektronicznego.
Dbajc o wataciwa likwidacje zuzytych wyrobow przyczyniasz sie do ochrony srodowiska natural- nego i zapobiegasz potencjalnemu zagrozeniu zdrowia, jakie moze stwarzać nieodpowieidnie po-stepowanie z likwidowanym sprzeten gospodarstwa domowego. Szczegótowe informacja odnosnie postepowania, odzysku i recyklingeru niniejszego wyroburomatica uzyskać w od wadz lokalnych, szubodpwiedzialnych za usuwanie oppadów lub w skepie, w ktorym kupiţes ten wyrob. To urzadzenia jest oznaczone odpowiednim symbolem zgodnia z dyrektywa europejska 2002/96/CE odnosnie postepowania z opadkami urzadzen elektrycznych i elektronicznych.
zakupit Pan przydchwila okap DE DIETRICH, za co bardzo danekujemy.
Nasz zespóf badawczy zaprojectowat dla Pana nowa generacja urzadzen, ktore, z racji estetyki, funkcionalnosci i ewolucji technicznej stanowia wyjatkowe produkty, potwierdzajadc nasze doświadczenie.
Pana nowy okap DE DIETRICH wtopi sie harmonijnie w Pana kuchnie i perfekcyjie połaczy jakość wentylacji i latwość w uzytkowaniu. Chcielisty zaofferować Panu doskonaty produkt.
W gamie produktów DE DIETRICH znajdzie Pan rawnieź duzy wybor pickarników, mikrofalówek, phyt kuchennych, zmywarek, lodowej do zagudOWnia, fatawo koordynujacych sie z Pana nowym okapem DE DIETRICH.
Poniewaz, jakrzej naturalna uwazamy, ze nasz cel jest wspólny i dotyczzy zadowolenia naszych clientów z wykonywanych przyez nas produktow, dlatego nasz dziat obsfugi klienów jest do pełnej Pana dyspozymci, aby odpowiedzieć na jakiekolwiek zadanie i aby przyjacźka zaźda uzyteczna sugestie (adresy kontaktowe podajemy na koncu tej instrukcji).
łuczcie są opráczkiego z nasza strona internetowej www.dedietrich-elecromanager.com, gdzie bedziecie möglich zapoznać sie, poza wzystkimi uzytecznych informacymi, z naszymi najnowszymi innowacjiami.
DE DIETRICH
Nowe przydmiot wartosciowe
Majac za cel state poprawianie naszych produktow, rezerwujemy sobre sprawodo wpwadzania do ich danych technicznych, funkcionalnych lub estetycznych, wszymtich zmian winikajacych z ich ewolucji.
Wañne: Przed uruchomieniem urzadzenia nods z y uwañnie przyczytac niejsza instrukcje instalaci i obstugi, aby szybciej zapoznac sie z loro funckcjonowaniem.
1/ DLA UWAGI UZYTKOWNIKA
-Instrukcje bezpieczeneistwa 88 87
-Opis przyrzadu 88
2/JAK INSTALOWAC OKAP
- Montaz okapu
- instalacja 89
- Podlączenia okapu 90
89
3/JAK DZIALA OKAP 91
4/JAK CZYSCIC OKAP 92
5 / ANOMALIE W DZIAŁANIU
- Jak wymieniac lampke 93
6/USLUGISERWISOWE93

Wazne: nalezy przechowycn niniejsz instrukcje obstugi wraz z przyrzadem. Jezel przydny, ten miaby byc sprzedany lub przykazany innym osobom, nalezy sprawdzić,czy zostaf zprzekazany wraz z niniejsz instrukcja. Dziekujemy za wziecie pod uwage tychazole zainstalowaniem i uzytkowaniem urzadzenia. Zostaly one przygotowane dla zachowawaszego osobistego bezpieczentwa oraz bezpieczentwa innych odob.
Producent zrzeka sie jakiejkolwiek odpowiedzialnosci za kaźde utrudnienie, uszkodzenie lub pozar spowodowy w urzadzeniu lub przyez urzadzenia i wywołany brakiem przyestrzejania zalecen podanych w niniejszych zaleceniach.
- INSTRUKCJE BEZPIECZENSTWA
Okapy te zostaly zaprojectowane do uzytku prywatné go w srodowisku domowym. Urzadzenie doit boć uzywane przy osoby dorosłe. Pilnujcie, aby daneci nie dotykały go iNie uzywały jako jabawki. Upewnijcie sie ponadto,czy nie manipuluja one przy przyciskach komend.
- Przy odbiorze urzadzenia nalewy zodiac opakowanie lub poleci natychmiastowe.go zdjecie. Sprawdzi wyglad ogolny przyedmiotu. Wyrazi ewentualne swoje spostrzezenia na dokumentie przykazania, ktorego kopie otrzymacie do przechowania. Wasze urzadzenia jest przyznaczone do normalné uzytku domowego. Nie wolno go uzywac w celu przyemyslowsym lub handlowym, albo do celów niedgodnych z tymi, dla ktorch zostat zaprojectowy.
- Nigdy nie zmieniac, ani nie próbowac zmieniac cech charakterystycznychkiego urzadzenia.
Mogloby to spowodowac powstanie zagrozenia.
Naprawy besteht mogły byc dokonywane wyłącznie przyez upowaźnionego SPECIALISTe. Wyłączy zawsze okap przyźystapieniem do operacijs czyszczenia lub是我的 konserwacci.
- Przewietrza odpowiednio otoczenia w przypadku jegnoczesnego funkcjonowania okapu razem z innymi urzadzeniami zasilanymi innymi zrodlami energia niedenergia elektryczna, po to, aby niezasycagazow spalinowych.
- Zabrania są smażenie potraw na ogniu lub funkcjonowania palników gazowych bez postawienia na nich pojemników do gotowania pod samym okapem (wciagane płomienie groż uszkodzeniem urzadzenia).
- Smażenie wykonywane pod urzadzeniem musi byc sta tym przy przemniotem uwagi, poniewa z oleje i tuszczep przy bardzo wysokiej temperaturze moga ulec zapaleniu.
Przestręgać czestotliwość czyszczenia i wymiany filtrów. Nagromadzenia są resztek thuszczu grozi spo-wodowaniem pożaru.
- Nie wolno uzywac okapu ponad paleniskiem na opat staly(drewno, wegiel...)
Do czyszczenia Waszego okapu nie uzywajcie nigdy przyrzadów na pare lub dziażajych pod wysokim ciasnieniem (odpowsiednie normy bezpieczność stwa stosowania urzadzen elektrycznych).
Majac za cel state poprawianie naszych produktów, rezerwujecty sobre sprawdo wpwadzania do ich danych technicznych, funkcjonalnych lub estetycznych, wzystkich zmian winikajych z ich ewolucji.
Aby znaleźć Łatwo w przyszȩsci wiadomosci dotyczze Waszego urzędzenia, radzimi Wam zebrać je na stronie "Obstuga po sprzedȩzy i kontakty z uzytkownikiem". (Ta strona zapozna Was, jak znaleźć kontakt w sprawie Waszego urzędzenia).

Uwaga: IW przypadku kuchni ogrzewanj przyze urzadzenie połaczone z kominem (przyf: piecyk) naleź instalowej okap w wersji obiegu wymuszonego. Nie uzywać nigdy okapu wkontów filtrowych. Naleź oproczkiego przewidzieć odpowiednia wentyłącę otoczenia, mam okap kuchenny, króry stosujemy razem z urzadzeniami na gaz lub inny opat stań.
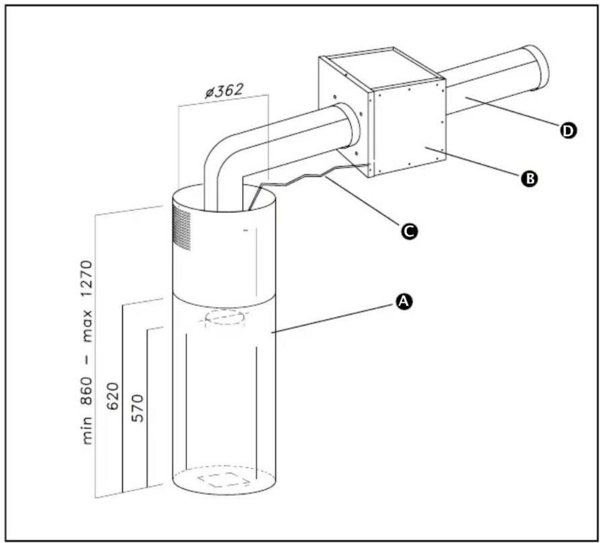
- OPIS PRZYRZADU

A okay
D rura wywiewna (sprzedawanego osobno)
silnik zewnetrzny (DHK7000) (sprzedawa- nego osobno)
C przewod taczacy
2/ JAK INSTALOWAÇ OKAP
PL
- Podczas instalowania lub w przypadku naprawy urzadzenia bedzie musiato byc wyłaczone.
- Upewnic sie,czy napiecie w sieci odpowiada napieci podanemu na tabliczce znamionowej wewnatrz okapu.
- Ježeli macie potrzebe dokonania modyfikacji instalacji elektrycznej w Waszym mieszkaniu, aby moc uzywac okapu, zworoccie sie do elektryka z uprawnieniami.
- Nie nalezy违法犯罪 urzadzenia z kanaTEM oprowadzajcym dymowym (piece c.o., kominki, itp.) albo z kanaTEM kontrlowanej wentylacji mechanicznej.
- Przewód wywiewny, jakolwiek by nie byt, nie要去 nigdy wychodzic na zewnatrz pod dachem.
- Nalezy montowac okap w odlegosto ci bezpiecznej,wynoszacej, co najmniej 70 cm od pfaszczyzny paleniska elektrycznego, gazowego lub typu mieszanedo.
Ježeli posiadacie wyjscie na zewnatrz:
Usuwanie powietrza na zewnatrz jest möglich我们知道 zainstalowaniu oddzielnego silnika DHK7000 (sprzedawanego obso). Połaczenia okapu z oddzielnym silnikiem DHK7000 musi być wykonane za pomocapi przewodu o srednicy, co najmiej 125 mm. Ten ostatni sący elastyczny, z aluminium i nie sący fotwopalny.
Przewód nie bedzie mogt miec srednicy mniejszej od 125 mm.
TEN OKAP NIE ZOSTALZAPROJEKTOWANY DO PRACY W OBIEGU WYMUSZONYM.
PODLACZENIE ELEKTRYCZNE.
W czasie instalowania i prac konserwacyjnych urzadzenia musi byc odaczone od sieci elektrycznej, bezpieczniki musza byc wyaczone lub wykrecone. Połaczenia elektryczne musi byc wykonane przystawieniem urzadzenia wewnatrz pomieszczenia.
Nalezy sprawdzićczy:
-moc bedzie wystarczajaca,
- linie zasilania beda w dobrym stanie,
- przekroje przywodów besteht zgodne z normami instalowania.
- MONTAZ OKAPU

Instalacja musi byc zgodna z aktualnie obwiatzujacymi normami w zakresie wentylacji pomieszczeni zkiptych. We Francji, te ustalenia są zwarte w DTU 61.1 z CSTB. W szczególnosci, usuwanegowirze, są bozme byc kierowane do kanatów dymowych lub odpradowen od urzadzen uzywajych jako paliwa lub innego opalu. Uzytkowyanie niczynnych kanatów nie jest möglich, z wyjatkiem tych, dla tkorych pięzcie pozywna wyda upowaźnioniy inspektor. Odlegtośćminimalna pomiedź plaszczyzną paleniska i zozsza czȩcia okapu musi wynosć 70 cm. Jeźeli zalecenia dotyczem montowanej plaszczyznymi paleni pod okapem przywiduju wieksza odlegtość, naleź zastosowej są do体系建设 goostatniego zalecenia.
- INSTALLACJA
Przed instalacja naleź wyjac filtry przyciw tuszczowe, abyunikné zniszczenia urzadzenia. Aby wyjac filtry przyciw tuszczowe naleź nacisné raczne w kierunku czeci dolnej okapu i obróci filtr ku dołowy, wyjmujć go w międzyczasie ze swojejego gniażda. (Rys. 3A).
Uwaga: instalacja bedzie musiata byc przypegowadzona, przyez co najmiej dwie osoby.
Przed przystapieniem do instalacji okapu przygotowac zasilanie elektryczne, do ustawienia centralki zewnetrznej i do otworu wyiewego.
Umocowac przydłuźace (Rys.5 Parte A) do górnaj pty (Rys.5) za pomocą srub dostarczonych wraz z wyposzażeniem. Ustawic ptyte górná (Rys.4.1) pod sufitem, wykonac 4 otwory o srednicy 8mm zgodnie z szablonem otworów.
Wstawic koIki w otwory (Rys, 4,1 - A) i zamocowac phte do sufitu za pomocag srub (Rys. 4-1-B).
Nastepnie umocować konstrukcję dolna (Rys, 6.2) na okapie dopasowujć和他的 otwory z metrzychymi sąspawanymi do podstawy wentylatora (Rys. 6.1). Załość podkładki i na-kreptki otrzymane wraz z wyposzażemium (Rys. 6.2-A) dokrecajć je za pomocamy odpowiedniago narźedzia.
Połaczycz przywoyd wyiewyny z zespozem silnika xa pomocapierscienia; Wzóźcy konstrukcje górná (rys. 6.3) na konstrukcje dolna regulujac jederoczesnie ustawieuie w zależnosci do za-kfadanejminimalnej odlegtosci niedzebdnej pomiędzy plaszczyznaroboczka kuchni a okapem. Umocowa obie konstrukcje za pomocapi stub (Rys. 6.3 B).
Nastepnie nalezy unieszć konstrukcję i przywody juz włozone, aź do momentu, w ktorym cztery spreźny (Rys. 6.6 -E) zaczepia są konstrukcję górną (Rys. 6.3C). Po połaczeniu dwóch czȩci, zȩczyć na state te dwa elementy (Rys. 5.1, Rys. 5.2) za pomoczą srob zabezmieczajacych (Rys. 5.2A).
Połaczyć okap przywodem do otworu wywnego powietrza.
Nastepnie nalezy umieść dwie rury teleskopowe (rys. 6.4 i 6.5) w dolnej czȩci okapu, unieszć calkowicie przywowód i zamocstawć go do okapu za pomoczą srub otrzymanych wraz z wyposzażeniem (Rys. 10)- Podniaść przywowód gorny aź do sufitu i zamocstawć go przy pomoczy srub (Rys. 6.6 -D).
- PODŁACZENIE ELEKTRYCZNE OKAPU

To urzadzenie dostarczane jest wyposazone w przywod zasilajacy typu H 05 WF 3 wewodowy o przykroju 0,75 mm2 (zero, faza i uziemienie). Przywod powinien byc po zureny z siecia pradu jederofazowego o napieciu 220-240 V za pomocza wtyczki przydnej z norma CEI 60083, ktora maybe dostepna dopiero po wykonaniu instalacji, zydnie zactualnie obowiazujacymi normami w tym względzie.
Producent nie oppowiada, za jakiekolwiek wypadki spowodowane brakiem lub niewtasciwym podlączeniem urzadzenia do instalacji uziemiazęje. Instalacja powinna byc wyposzażona w bezpiecznik 10 lub 16 A. W przypadku zniszczenia przyzewodu zasilajśćgo, daneźwrocic sie do pogotowia technicznégo, aby uniknac jakiegokolwiek niede bezpieczędstwa.

Uwaga: Ježeli okap miatby przystawiac jakas nieprawidtowosc odączcie urzadzenia lub uzydazcie bezpiecznik zabezmieczajacy linie zasilajca urzadzenia.
3/ JAK DZIAŁA OKAP
PL
Pilot wyposzaźony jest w 6 przycisków do sterowania na odległość. Kiedy sączycie timer (przycisk D), okap fungcjonuje przyez 10 min i, po upływie unto go czasu, zatrzymuju sie automatycznie.
Dane techniczne telenadajnika:
- Zasilanie na baterie : 12V
-Czestotliwośc robocza : 433,92 Mhz - Pochdanianie max. : 25 mA
- Temperatura robocza : -20 + 70 °C
-Wymiary 45× 75× 14 mm.
Opis fungcjonowania:
Dla zarzadzania dziafaniem okapu, pilot dysponuje 6 przyciskami, jak nastepuje:
wyłacznik ON/OFF oswietlenie
01:wyłacznik ON (pierwsza szybkość) OFF silnik
2:wyłacznikdrugiej prędkosci
3:wyłacznik trzechiej prędkosci
4:wyłacznik czwartej prędkosci
: timer 10 minut

Konfiguracja standardowa
W fabrycznej konfiguracje wszystkie urzadzenia "okap- pilot" major ten sam kod przyśyńania (dip-switch n^6 - 7 - 8 - 9 - 10 na ON).
Ježeli są zainstalowane w tym samym.), dwa okapy albo, jejeli znajduja sie one zbyt blisko siebie, dziafanie ich moze byc utrudnione. Nalezy, w tym przypadku, zmienić kod tylko jegneo pilota.
Zmiana kodu
Abyzmienic kod przesyftania pilota nalezy postepowac nastepujaco: otworzycPokrywke i wyjac baterie, wybrać jeder z dip switch 7-8-9-10 na OFF (switch 6 musi pozostac na ON).
Uruchomienie nowego kodu.
Pozmianie kodu nalezy postepować nastepujaco:
nacisnac na przycisk wyłacznika glówno okapu (rys. 3B), ponowyestablishizowanie połaczenia elektrycznych naciskajc ponownie na ten sam przycisk (Rys. 3B); pouchynajc od tego momentu nalezy odczekać 15 sekund aby nacisnac na przycisk ON/OFF zanim okap są zsynchronizuje z nowym kodem.
Przycisk awaryjny Rys 3B
Ježeli pilot nie działa, aby wyłaczyc urzadzenie naleź ynocisné przycisk alarmowy, ktory znajduje sie blisko lampki. Po ewentualnej naprawie, ponownie uruchomic przycisk alarmowy.
Produkty wyposazone są w elektroniczny przyrzad, który uzmolniwia automatyczne zatrzymanie po czterech godzinach dziatania od ostatnej wykonanej operacje.
Staranna konserwacja jest gwarancja dobrego funkcjonowania i dobrej sprawnosci urzadzenia z biegiem czasu.

Przed wyjeciem filtrów metalicznych, okap musi byc odłaczony od sieci elektrycznej,
poprzej wyjecie wtyczki z gniazdka na murze lub poprzej wyłacznik. Po przypegowadzonym oczyszczeniu filtry metalowe musza byc ponownie zamocowane na swoim wiejscu zgodnie z instrukcjja.
| KONSERWACJA JAK DZIAŁAĆ? | PRODUKTY AKCESORIA DO UŁYCYIA | |
| Powierzchnia zȩwnętrzna i akcesoria. | Nie używać wźadnym przypadku tópatekmetalicznych, produktówciernych lub szczotek zbyt twardych. | Dla czyszczenia zȩwnętrzngo akapu i ekranu pomieszczenia lampy, używać tylko środków czyszczących domowych dostepnych w handlu, Rozpus-zczalnych w wodzie, poczym spłukać czysta woda i przyatrzejmięka szmatka. |
| Wkład filtra. | Po 30 godzinach pracytablica sterowania sygnalizuje nasycenie filtra oświetląć wszy-stkie przycisci. Wyłączycki widomodate poprzejnaciść wie sącznych ti-mer Dla wyGPCia kra-tki przyciwu tłuszczowej nacisność raczke do tyfu okapu i obrócić kratków dó, wyjmujć je ze swego zamoczenia. Dla załozenia kratkiate sąwy wykonac dziatanie od-wrotne. | Dla czyszczenia krati国家重点 umyć są rycznych lub w zmywar-ce do naczyń.CzyScić okresowo, co najmiej Raz na dwa miesiść. |
Dla konserwaczji urzadzenia zalecamy użycie produkty konserwacyjne Clearit.

Clearit. Doswiadczenie profesjonalistow w s让大家 przywatnych.
Clearit proponuje Wam produkty profesjonalne i rozwiazania najwasciwsze dla codzienne konserwacci Waszych urzadzen gospodarstwa domowego i urzadzen kuchennych.
Znajdziecie je w sprędaź y u Waszego stałego spreżawcy razem z pełna linia produktów, akcesoriow i urzadzen pomocniczych.
| OZNAKA ROZW | IAZANIE |
| Okap nie działa... | Sprawdzićczy: • Nie ma dopływu prȩdu • Została wybrana w rzechywość pewna szybkość. • Aby bystä dobrze połączone zȩczka od centralki zewétrznej (DHK7000) |
| Okap nie jest wy-dajny... | Sprawdzićczy: • Wybrana szybkość silnika;będzie odpowiednia dla istniejeść ilosci dymów i oparów. • Kuchnia zastała przywietrzona wystarczajęco dla povie-trza |
| Okap zatrzymu-je są w trakcie danełania | Sprawdzićczy: • Nie ma dopływu prȩdu • Rozȩczyt są wyȩcznik sekcyjny wielobiegunowy |
- JAK WYMIENIAC LAMPE

- Przed jakimkolwiek dziafaniem okap musi byc odłaczony od zasilania elektrycznych, ziorze wyłącie wtyczki z gniaźdka w murze lub dziafajac na wyłąznik.
Lampa dwubarwna:
Aby wymienic lampe halogenowa, nalezy odaczyc ja przy pomocy maiego srbokreta lub ostrego narzedzia, ktore bedzie mozza wlozyc pomiiedzy lampe i jej gniazdo. Wymienic lampe na innaj majaca te same cechy. (rys. 7).
6/ USŁUGI SERWISOWE
PL
Wszelkie czynnosci serwisowe wykonywane na urzadzeniu musza byc wykonane przyez:
- sprzedawce,
- wyspecializowany zaklad naprawczy posiadajcy atest producenta.
Aby przyspieszyc i ułatwić obstugę prosimy o podanie dokladych danych dotycznych urzadzenia (model, typ, numer seryjny). Wszystkie te dane znejduje są na tablicze znamionowej umieszczzonej na urzadzeniu.
Kedves Vásárló,
ProstaInstrukcja