DHD789X - Dunstabzugshaube DE DIETRICH - Kostenlose Bedienungsanleitung
Finden Sie kostenlos die Bedienungsanleitung des Geräts DHD789X DE DIETRICH als PDF.
Questions des utilisateurs sur DHD789X DE DIETRICH
0 question sur cet appareil. Repondez a celles que vous connaissez ou posez la votre.
Poser une nouvelle question sur cet appareil
Laden Sie die Anleitung für Ihr Dunstabzugshaube kostenlos im PDF-Format! Finden Sie Ihr Handbuch DHD789X - DE DIETRICH und nehmen Sie Ihr elektronisches Gerät wieder in die Hand. Auf dieser Seite sind alle Dokumente veröffentlicht, die für die Verwendung Ihres Geräts notwendig sind. DHD789X von der Marke DE DIETRICH.
BEDIENUNGSANLEITUNG DHD789X DE DIETRICH
DE BETRIEBSANLEITUNG
Dekor-Dunstabzugshaube Wyposazenie okapu
DE Das Symbol auf dem Produkt oder seiner Verpackung weist daraufhin, dass these Productnicht als normaler Haushaltsabfall zu behandeln ist, sondern an einem Sammelpunkt fur das Recycling von elektrischen und elektronischen Geräten abgegeben werden muss. Durch ihren Beitrag zum korrekten Entsorgen these Products schützen Sie die Umwelt und die Gesundheit ihrer Mitmenschen. Umwelt und Gesundheit werden durch falsches Entsorgen gefahrdet. Weitere Informationen über das Recycling these Products erhalten sie von ihrem Rathaus, ihrer Müllabfuhr oder dem Geschäft, in dem Sie das Produkt gkauft haben. Dieses Elektro-haushaltsgerät ist entsprechend der EU-Richtlinie 2002/96/CE Über Elektro- und Elektronik - Altgeräte (WEEE).
Sehr geehrter Kunde,
Wir bedanken uns bei Ohnen, dass Sie sich für eine Dunstabzugshaube von DE DIETRICH entschieden haben.
Unsere Forschungsteams haben für Sie eine neue Generation an Geräten entwickelt, die in ihrer ästhetischen Qualität, in ihrer Funktionalität und in ihrer technischen Entwicklung außergewöhnliche Produkte darstellen und so unsere Erfahrung bezeugen.
Ohre neue Dunstabzugshaube von DE DIETRICH fegt sich harmonisch in ihre Kuche und vereint Abzugsleistung und leichte Handhabung vollkommen. Wir bieten Ihnen ein unübertreffliches Produkt.
In der Produktpalette von DE DIETRICH konnen Sie darüber hinaus eine große Auswahl an Öfen, Mikrowellen, Kochfeldern, Geschirrspulmaschinen und einbaubaren Kühlschränken finden, die sich frei mit ihrer Dunstabzugshaube kombinierten halten.
Da unser Ziel natürlich die Kundenzufriedenheit mit unseren Produkten ist, steht Ihnen unser Kundenservice zur vollen Verfügung, um Anfrage jeder Art zu beantwerten und nützliche Hinweise entgegen zunehmen (Kontakhinweise findsie am Ende dieser Anleitung).
Besuchen Sie uns auch im Internet unter www.dedietrich-electromanager. com; hier finden Sie besoin nutzlichen Informationen auch unsere letzten Innovationen.
DE DIETRICH Neue Wertobjekte
In der Absicht unsere Produkte ständig zu verbessern, behalten wir uns das Recht vor, an den technischen, Funktionellen und asthetischen Eigenschaften alle Veränderungen vorzunehmen, die sich aus ihrer Weiterentwicklung ergeben.
Wichtig: Bevor sie das Gerät in Funktionnehmen,lesen Sie die Installationsanleitung aufmerksam durch und machen Sie sie mit der Bedienung ihrer Dunstabzugshaube vertraut.
1/ALLGEMINE HINWEISE
- Sicherheitshinweise 17
Gerätebeschreibung 18
2 / INSTALLATION DER DUNSTABZUGSHAUBE
- Einbau der Dunstabzugshaube
- Installation 19
-Anschluss der Dunstabzugshaube 20
19
3 / FUNKTIONSWEISE DER DUNSTABZUGSHAUBE 21
4 / REINIGUNG DER DUNSTABZUGSHAUBE 22
5 / UNREGELMÄSSIGKEITEN IN DER FUNKTIONSWEISE
- Ersetzen der Lampe 23
6/KUNDENDIENST23

Wichtig: Bewahren Sie die vorliegende Bedienungsanleitung mit dem Gerät auf. Sollte das at verkauf oder abgegeben werden, vergewissern Sie sich, dass dies mit der vorliegenden Dienungsanleitung geschieht. Wir danken Ihnen dazu, dass Sie die Hinweise vor der Instalion und Inbetriebnahme des Gerätes beachten. Dies dient ihrer Sicherheit und der Sicherheit derer.
Der Hersteller haftet nicht für Störungen, Schäden oder Brände, die infolge der Nichtbeachtung dieser Vorschriften an oder durch das Gerät entstehen sollenn.
- SICHERHEITSHINWEISE
These Abzugshauben wurden für den tatsächlichen Gebrauch durch Privatpersonen entwickelt. Das Gerätarf nur von Erwachsenen bedient werden. Achten Sie darauf, dass Kinder das Gerät nicht berühren und es nicht als Spielzeug verwenden. Versichert sie sich darüber hinaus, dass die Einstellungen nicht durch sie manipuliert werden.
- Entfern den Sie oder halten Sie bei Lieferung einzeln die Verpackung entfernen. Überprüfen Sie den allgemeinen Zustand des Gerätes. Vermerken Sie eventuelle Mängel auf dem Kassenbon, von dem Sie sich eine Kopie anfertigen sollenn. Ihr Gerät ist für den normalen tatsächlichen Gebrauch bestimmt. Das Gerätarf nicht für kommerzielle, industrielle oder andere Zwecke verwendet werden.
- Verändern Sie nie und versuchen Sie auch die Eigenschaften des Gerätes zu verändern. Dies wurde eine Gefahr darstellen.
Reparaturen durren ausschlieblich von bevollmachtigen Fachpersonal vorgenommen werden.
Trennen Sie die Dunstabzugshaube immer vom Stromnetz bevor Sie die Reinigung oder Wartungsarbeiten vornehmen.
- Lüften Sie die Umgebung ausreichend, wenn die Dunstabzugshaube gleichzeitig mit anderen Geräten in Funktion ist, wobei die anderen Geräte durch andere Stromanschlüsse versorgt werden sollenn. Andernfalls besteht die Gefahr, dass die Dunstabzugshaube entzündbare Gase ansaugt.
- Es ist verboten unter der Abzugshaube Lebensmittel auf offener Flamme zuzubereiten oder den Gasherd ohne Kochbehälter angezündet zu haben (werden die Flammen von der Dunstabzugshaube angesaugt, besteht die Gefahr das Gerät zu beschädigen).
- Wird unter der Abzugshaube frittiert, muss ständige Aufmerksamkeit geleistet werden, da sich heiße Öle und Fette entzünden können.
Halten Sie die zeitlichen Abstände für die Reinigung ein und ersetzten Sie die Filter in den erforderlichen Zeitabständen. Fettansammlungen können Brände verursichen.
- Der Installation der Dunstabzugshaube über Brennstoffherden (Holz, Kohle, ...) ist nicht erlaubt. Verwenden Sie zur Reinigung ihrer Dunstabzugshaube niemals Wasserdampfreinigungsgeräte oder Reinigungsgeräte mit Hochdruck (Sicherheitsregeln bezüglich elektronischer Geräte)
In der Absicht unsere Produkte ständig zu verbessern, behalten wir uns das Recht vor, an den technischen, Funktionellen und ästhetischen Eigenschaften alle Veränderungen vorzunehmen, die sich aus ihrer Weiterentwicklung ergeben.
Um zukünftig die Daten bezüglich Ihres Gerätes schnell zur Hand zu haben, raten wir Ihnendiese auf der Seite „Kundenbetreuung nach Kauf" einzutragen. (Auf dieser Seite wird Ihnendarüber hinaus erklart, wo Sie die entsprechenden Daten an Ihrem Gerät finden können)

Achtung: Im Falle, dass ihre Kuche durch ein Gerät beheizt wird, das an den Abzugs-acht (Schornstein) angeschlossen ist, muss die Abzugshaube im Umluftbetrieb installiert werden. Benutzen Sie die Dunstabzugshaube nie ohne Filter. Darüber hinaus müssen Sie für die ausreichende Belüftung sorgen, sollen die Dunstabzugshaube zusammen mit anderen - oder Brennstoffgeräten genutzt werden.
- GERÄTEBESCHREIBUNG


Kamin

Luftabzugsrohr (wird getrennt verkauft)

Externer Motor

(DHK7000) (wird getrennt verkauft)

Anschlusskabel
2/ INSTALLATION DER DUNSTABZUGSHAUBE
DE
- Wahlend der Installation und Eingriffen muss das Gerät vom Stromnetz getrennt werden.
- Vergewissern Sie sich, dass die Spannungswerte des Stromnetzes mit den Werten des geräteintern angebrachten Typenschilds übereinstimmen.
- Sollte die Notwendigkeit einer elektrotechnischen Änderung in ihrer Wohnung bestehen, wenden Sie sich an einen Fachmann.
- Schlieben sie das Gerät niemals an einen Abzugsschacht für brennbaren Rauch (Heizkessel, Schornsteine, usw.) oder an ein mechanisch kontrolliertes Belüfungssystem an.
- Der Abzugsschacht, egal welchen Typs, scarf niemals in Übereinstimmung mit dem Dachgeschoss hinaus stehen.
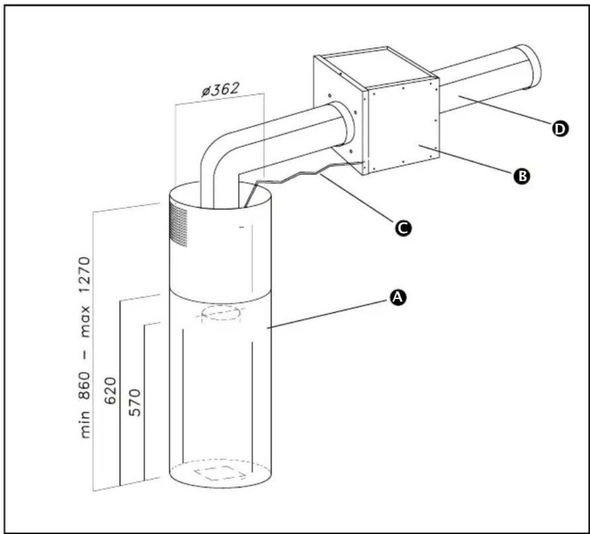
- Installieren sie die Dunstabzugshaube in einem Sicherheitsabstand von mindestens 70~cm von der Kochfläche (elektrisch, Gas, oder gemischt).
Wenn sie einen Luftabzug nach Außen besitzen:
Der Ausstoo der Luft nach auBen ist durch Installation eines separates Motors DHK7000 (wird getrennt verkauft) möglich. Der Anschluss der Abzugshaube an dem separaten Motor DHK7000 muss durch eine Leitung mit Mindestdurchmesser 125 mm vorgenommen werden. Diese Leitung kann flexibel, aus Aluminium hergestellt sein und muss unentzündlich sein. Der Durchmesser darf nicht unter 125 mm liegen. DIESE ABZUGSHAUBE IST NICT FÜR DIE VERWENDUNG IM UMLUFTBETRIEB AUSGELEGT.
ELEKTKROANSCHLUSS
Ihr Gerät entspricht den EG- Richtlinien 2006/65/CEE (Niederspannungsrichtlinie) und 2004/108/CE (Elektromagnetische Vertätiglichkeit)
Während der Installation und Wartungsarbeiten muss das Gerät vom Stromnetz getrennt und die Schmelzsicherungen abgeschelt oder entfernt werden. Der Stromanschluss muss ausgeführten werden, bevor das Gerät ins Möbelstück eingesetzt wird.
Vergewissern Sie sich, dass:
- die Stromstärke ausreichend ist,
- die Stromverbindungen in gutem Zustand sind,
- der Durchmesser der Kabel mit den Installationsregeln übereinstimmt.
- EINBAU DER DUNSTABZUGSHAUBE

Die Installation muss entsprechend den geltenden Vorschriften bezüglich einer ausstehenden Belüftung von geschlossenen Räumen durchgeführt werden. In Frankreich sind die Vorschriften in DTU 61.1 des CSTB enthalten. Im Besonderen darf die abzugebende nicht in Luftschächte geführt werden, die für den Abzug von Rauch oder anderen Gas- und Brennstoffgeräten benutzt werden. Die Nutzung von Abzugsschäften außer Betrieb ist, schließlich nach der Zustimmung eines qualifizierten Fachmannes möglich. Der Abstand auschen der Kochfläche und dem unteren Rand der Dunstabzugshaube muss mindestens 70 kg betragen. Sollten die Vorschriften für die installierte Kochfläche einen größeren Abstand ausgeben, ist dem gerecht zu werden.
- INSTALLATION
Um Schaden am Gerät zu vermeiden mussen vor der Installation die Fettfilter entfernt werden. Dazu den Griff nach unter drücken, den Filter nach unter drehen und aus seiner Aufnahme fühmen (Abb. 3A).
Achtung: Zur Installation sind mindestens zwei Personen erforderlich.
Vor Installation der Abzugshaube muss der Stromanschluss ausgeführrt, Das externe steuergerät positioniert und die auslassöffnung hergestellt werden.
Die Verlängerungsteile (Abb.5, Teil A) an der oberen Platte (Abb..5) anhand der mitgelieferten Schraube befestigen. Die obere Platte (Abb. 4.1) an der Decke befestigen und mithilfe der Bohrschablone 4 Bohrungen Durchm. 8mm herstellen.
Die Stifte in die Öffnungen (Abb. 4,1 - A) einsetzen und die Platte mit den Schrauben an der Decke befestigen (Abb. 4-1-B).
Dieunte Tragstruktur (Abb. 6.2) an der Abzugshaube so anbringen, dass die Bohrungen mit den metrischen Schrauben übereinstimmen, die an der Halterung des Ventilators (Abb. 6.1) angeschweit sind. Die mitgelieferten Unterlegscheiben und Muttern einsetzen (Abb. 6.2-A) und mit einem geeigneten Werkzeug festziehen.
Das Luftabzugsrohr mithilfe einer Manschette an der Motoreinheit befestigen. Die obere Tragstruktur (Abb. 6.3) auf den unteren Teil aufsetzen und damit die Position entsprechend der gewündten Höhe und insbesondere unter Berücksichtigung des notwendigen Mindest-abstands zwischen Kochplatte und Abzugshaube regulieren. Die beiden Tragstrukturen mit den Schrauben (Abb. 6.3 B) befestigen. Dann die Abzugshaube zusammen mit der Tragstruktur und den bereits eingesetzten Rohren haben, bis die vier Federn (Abb. 6.6 -E) in die Bohrschablone (Fig. 6.3C) eingreifen. Nachdem die beiden Teile miteinander verbunden wurde n sind die beiden Elemente (Abb. 5.1, Abb. 5.2) anhand der Sicherungsschrauben (Fig. 5.2A) zu befestigen. Das Abzugsrhr der Haube in die Luftauslassoffnung einfahren.
Danach die beiden Teleskoprohre (Abb. 6.4 und 6.5) in den unteren Teil der Abzugshaube einfahren, das Rohr ganz anheiten und mit den mitgelieferten Schrauben an der Abzugshaube befestigen (Abb. 10). Das obere Rohr bis zur Decke schieben und dort mit den Schrauben (Abb. 6.6 -D) befestigen.
- SROMANSCHLUSS DER DUNSTABZUGSHAUBE

Dieses Gerät ist mit einem Versorgungskabel H05 VVF mit 3 Leitern zu je 0,75 mm2 (neutral, Phase und Erdung) ausgestattet. Es muss an ein Stromnetz mit 220 - 240 VVF sch eine normale Steckdose CEI 60083 angeschlossen werden, an die auch nach der Installation Zugriff besteht und die mit den Installationsvorschriften übereinstimmt. Für die Fall eines Unfalls, der durch eine fehlende oder nicht korrektre Erdung verursacht ist, wird jegliche Verantwortung abgeleht. Die verwendete Schmelzsicherung muss sachsen 10 und 16A sein. Sollte das Stromversorgungskabel beschädigt sein, wenden sich an die Kundenbetreuung nach Kauf um jegliches Risiko auszuschlieben.

Achtung:
Sollte die Dunstabzugshaube Unregelmäßigkeiten in ihrer Funktionseweise aufzeigen, behmen Sie das Gerät vom Netz oder entfernen sie die entsprechenden Schmelzsicherungen des Gerätes.
3/ FUNKTIONSWEISE DER DUNSTABZUGSHAUBE
DE
Die Fernsteuerung ist mit 6 Tasten für die Steuerung der Dunstabzugshaube ausgestattet. Wenn der Timer (Taste D) betätigt wird, lauft die Abzugshaube 10 Minuten lang und wird dann automatisch abgeschaltet.
Technische Merkmale der Fernsteuerung:
-Versorgungsbatterien:12V
-Betriebsfrequenz:433,92Mhz
- Stromaufnahme max. : 25 mA
-Betriebstemperatur : - 20 + 70^
- Abmessungen : 45x75x14 mm.
Funktionsbeschreibung:
Zur Steuerung der Funktionen ist das Gerät mit folgenden 6 Tasten ausgestattet:
Schalter EIN/AUS Beleuchtung
01 : Schalter EIN /(erste Geschwindigkeitsstufe) AUS Motor
2 : Schalter zweite Geschwindigkeitsstufe
3 : Schalter dritte Geschwindigkeitsstufe
4 : Schalter vierte Geschwindigkeitsstufe
:Minuten-Timer

Standard-Konfiguration
In der fabrikseitigen Konfiguration haben alle Fernsteuerungsanlagen der Abzugshauben den gleichen Übertragungscode (Dip-Schalter Nr. 6-7-8-9-10 auf ON).
Wenn am gleichen Ort zwei Abzugshauben installiert werden, oder wenn diese zu nahe beieinander liegen, kann es zu Funktionstörungen kommt. Aus thisem Grund muss dann der Code einer der beiden Fernsteuerungen geändert werden.
Änderung des Codes
Zur Änderung des Übertragungscodes der Fernsteuerung ist wie folgt vorzugehen: den Deckel öffnen und die Batterie wechseln. Einen der Dip-Schalter Nr. 7-8-9-10 auf OFF stellen (der Dip-Schalter Nr. 6 muss auf ON bleiben).
Initialisierung des neuen Codes
Nachdem der Code der Fernsteuerung geändert wurde, ist wie folgt vorzugehen:
Die Stoppaste des Abzugshaube (Abb. 3B) drücken. Dann durch Betätigten der gleichen Taste (Abb. 3B) die Stromversorgung wieder einschalten. Danach muss innerhalb von 15 Sekunden die Taste ON/OFF der Beleuchtung betätigt werden, damit sich die Abzugshaube auf den neuen Code synchronisiert.
Notstopp - Taste Abb 3B
Sollte die Fernsteuerung nicht Funktionieren, ist zum Abschalten des Geräts die Notstopp-aste darüber der Beleuchtungslampe zu betätigten. Nach der eventuell erforderlichen Reparatur, die Notstopp-aste wieder in ihren ursprünglichen Zustand bringen.
Die Produkte sind mit einer elektronischen Einrichtung versehen, die nach 4 Stunden Betrieb ab der letzten Betätigung das automatische Abschalten erhögt.
4/ REINIGUNG DER DUNSTABZUGSHAUBE DE
DE
Eine sorgfältige Pflege garantiert auf Dauer eine gute Leistung und Funktionstüchtigkeit des Gerats.

Die Dunstabzugshaube muss vom Stromnetz getrennt werden, bevor die Metallfilter...,kommen werden konnen. Nach der Reinigung sind die Metallfilter wie in der Anlei-gung beschrieben wieder einzusetzen.
| WARTUNG WIE IST VORZUGEHEN? PUTZ- UND HIL | FSMITTEL | |
| Außere Geräteoberfläche und Zubehör | Verwenden Sie keinesfalls Metalschwämme, Scheu-ermittel oder zu harte Bürsten. | Um die Oberfläche der Ab-zugshaube und die Lam-penoberfläche zu reinigen, verwenden Sie ausschließlich in Wasser verdünnte Reini-gungsmittel für den häs-lichen Gebrauch, die Sie im Handel kaufen konnen. Da-nach mit klarem Wasser ab-waschen und mit einem wei-chem Tuch trocken wischen. |
| Filterpatronen | Nach 30 Betriebsstunden si-gnalisiert ein Aufleuchten al-ler Tasten die Sättigung des Filters. Sie konnen these Signal abschalten, indem Sie die Timer- Taste drücken ◎ Um das Antifettgitter zu en-tfernen, drücken Sie den Griff nach halten und drehen das Gitter nach unter, um es so aus seiner Halterung hersa zunehmen. Um das Gitter wieder einzusetzen, führen Sie die Schritte in umgekehr-ter Weise aus. | Reinigen Sie das Gitter von Hand oder in der Spülma-schine. Reinigen Sie das Git-ter mindestens alle zwei Mo-nate. |
Um eine gute Pflege für Ihr Gerät zu gewährleisten, empfehlen wir Ihnen die Reinigungsvprodukte von Clearit.

Clearit Professionelle Erfahrung für den privaten Gebrauch
Clearit bieten Ihnen professionelle Produkte und Lösungen für die tägliche Wartung ihrer Haushaltsgerate und ihrer Kuche. Sie konnen Clearit zusammen mit einer kompletten Produktlinie an Zubehor bei ihrem üblichen Verkauf der Produkte.
5/ UNREGELMÄSSIGKEITEN IN DER FUNKTIONSWEISE
DE
| ANZEICHEN LÖSUNG | |
| Die Abzugshaube Funktioniert nicht.. | Versicherern Sie sich, dass: · kein Stromausfall besteht, · die gewünschte Betriebsstufe möglich ausgewählt wurde. · der Stecker des externen Steuergeräts (DHK7000) einwandfrei an-geschlossen ist |
| Die Abzugshaube Funktioniert nicht richtig | Versicherern Sie sich, dass: · die Motorgeschwindigkeit für die Rauch- und Dampfmenge hod genug gewählt ist, · die Küche ausreichend beluftet ist, um einen notwendigen Luftansog zu gewährleisten, |
| Die Abzugshaube blockiert sich während des Betriebs von allein. | Versicherern Sie sich, dass: · kein Stromausfall besteht, · die Unterbrechungsvorrichtung nicht ausgelöst worden ist |
- ERSETZEN DER LAMPE

Nehmen Sie die Abzugshaube vor jedem Eingriff vom Stromnetz, indem Sie den Stekaus der Steckdoseziehen oder die Nottaste betätigten.
Kaltlichtspiegellampe:
Zum Austausch die Kaltlichtspiegelampe durch Einscheiben eines kleinen Schraubenziehers oder eines beliebigen spitzen Werkzeugs zwischen Lampe und entfernen. Die Lampe gegen eine neue mit gleichen Merkmalen austauschen (Abb. 7).
6/ KUNDENDIENST
DE
Eingriffe an Ihrem Gerät)dürfen nur:
-von Ihrem Handler oder
- von einem sonstigen Fachmann und Vertragshandler der Marke durchgeführt werden.
Geben Sie bei der Meldung einer Störung die vollständige Typenbezeichnung Ihres Gerätes an (Modell, Typ, Seriennummer). Diese Angaben finden Sie auf einem an Ihrem Gerät angebrachten Schild.
Dear client,
EinfachAnleitung