DHD789X - Exaustor de cozinha DE DIETRICH - Manual de utilização gratuito
Encontre gratuitamente o manual do aparelho DHD789X DE DIETRICH em formato PDF.
Questions des utilisateurs sur DHD789X DE DIETRICH
0 question sur cet appareil. Repondez a celles que vous connaissez ou posez la votre.
Poser une nouvelle question sur cet appareil
Baixe as instruções para o seu Exaustor de cozinha em formato PDF gratuitamente! Encontre o seu manual DHD789X - DE DIETRICH e retome o controlo do seu dispositivo eletrónico. Nesta página estão publicados todos os documentos necessários para a utilização do seu dispositivo. DHD789X da marca DE DIETRICH.
MANUAL DE UTILIZADOR DHD789X DE DIETRICH
PT Os materiais de embalagem deste aparelho são reciclaveis. Por isso, participe na reciclagem dosleasedoes contribua,assim,paraa protecao do ambiente,depositando-os nos contento-res Municipais previstos para thisefeito.O seu aparelho contemtememinumeros materiais reciclaveis.Por esta razao,sta marcado com thisimbolo a fim de lhe indicar que os aparelhos usados nao devem ser mis-turados com os restantes residuos.Areciclagem dos aparelhos organizadaelo fabricante sera,pois,efectuada nas melhores condiOs,de acordo com a directiva europeia 2002/96/CE sobre os residuos de equipamentos eletricos e electronicos. Dirija-se a camara municipal da sua residencia ou ao seu revendedor para conhecer os pontos de recolha de aparelhos usados,localizados mais perto da sua residencia.
3 / CÓM OF UNICIONA LA CAMPANA 41
4 / CÓMOLIMPIAR LA CAMPANA 42
5 / DEFECTOS DE FUNCIONAMENTO
- Como sustituir la lampara 43
5/ DEFECTOS DE FUNCIONAMIENTO
ES
COLLEGAMENTO ELETTRICO
Gracias às{nossas equipas de pesquisa,apurantamosuma nova geração deaparelhosque,pela sua qualidade estética,funicialidade e evolucao Tecnológica,sao produits de exception que testemunham a)nossa experiência.
O novo exaustor DE DIETRICH integra-se harmoniosamente em qualquer cozinha, conjugando perfeitamente dificuldade de uso e performance de aspiracao, porque procuramos sempre.Oferecer um produits de excelencia.
Na gama dos produits DE DIETRICH poderá ahora encontrar una ampla escolha de fogões, fornos, fornos micro-ondas, planos de cozedura, lavaloções e frigoríficos de encastrar, coordenáveis com o novo exaustor DE DIETRICH.
Obviamente, sempre com o objectivo de satisfazer plenamente a minha cliente, a minha Assistência aos Componentes está à sua total disposicao para fornecer qualquer informacao e aceitar as suas sugestoes.
Visite también o nosotros site em www.dedietrich-electromanager.com onde poderá encontrar as nossas ultimas inovações e muitas outras informações úteis.
DE DIETRICH Os novos objectos de valor
Visando melhorar constantly os outros produits, reservamo-nos o direito de efctuar toda eventual alteracao ditada pela evolucao Tecnologica para as caracte-risticas tecnicas, funcaionais ou estéticas dos aparelhos.
Important: Antes de ligar o aparelho, leia atentamente o manual de instalação e de uso para conhecer o aparelho e adquirir familiaridade com o seu funciona.
1/ PARA O UTILIZADOR
-Instruções de segurarca 67
- Descrição do aparecido 68
2 / INSTALAÇÃO DO EXAUSTOR
- Montagem do exaustor
- Instalação do exaustor 69
- Ligação do exaustor 70
69
3 / FUNCIONAMENTO DO EXAUSTOR 71
4 / LIMPEZA DO EXAUSTOR 72
5/ANOMALIASDEFUNCTIONAMENTO
- Substituicao da lampada 73
6/SERVICOPOS-VENDA73

Importante: Guarde estas instruções de uso com o seu aparelho. Se decide vender ou fazer este aparelho, não se esqueça deOOTRGARas instruções. Agradecemos que leia a espite estas instruções antes de instalar eutilizar o aparelho,elas foram elaboradas paraantar a sua seguranca e a de otheras pessoas.
O fabricante declina toda e qualquer responsabilitadpe por problemas, danos ou incendio provocados no eleo aparelho devidos à inobservancia das prescrições destas instruções.
- INSTRUÇÉS DE SEGURANÇA
Estes exaustores foram concebidos para uso dométrico por parte de'utilidades particulares. O aparecido deve ser utilisé por pessoas adultas e capazes. Não deixe o aparecido ao alcance das crianças, que poderiam usará-lo como brinqueado. Assegure-se también de que as crianças não toqueim nos comandos.
-
Ao receber o aparelho, retire-o (ou peça para partirá-lo) da embalagem imeditamente. Verifique o seu aspecto geral. Anote eventuels observações ou duvidas nanota de entrega da qual ficará com uma cópia. O seu aparelho destiná-se a uso dométrico. Não deve ser utilizesdo para uso comercial ou industrial ou另外一个finalidade que não sera aquela para a qual foi concebido.
-
Nunca altere ou tente alterar as caracteristicas deste aparelho, o que poderia constituir fonte de perigo.
As reparacoes devem ser efectuadas exclusivamente por um technician autorizzato.
Desligue sempre o aparecido antes de iniciar as operações de limpeza ou de manutenção.
-
Areje inadequamente o ambiente em caso de funciona simultaneo do exaustor com outros aparelhos alimentados por una fonte de energia diferente da electrica de maneira que o exaustor não aspire gás de combustão.
-
É proibido preparar pratos de tipo flambé ou acender os queimadores de foggão a gás sem os recipientes de cozinha (tachos, panelas, etc) debaixo do exaustor (as chamas aspiradas podem danificar o aparelho).
-
Tenha sempre muito preocupado quando for fritar debaixo do exaustor: o oleo e a gordura à temperatura muito elevada pode incendiar-se.
Respeite a frequência de limpeza e de substituição dos filtros. Os acúmulos de gordura podem provocar incânvio.
- Não use o exaustor em cima de um fogão de combustível (lenha, carvão,...).
Para a limpeza do exaustor, nunca utilize aparehos a vapor ou de alta pressao (normas relativas a segurarca electrica).
Visando constantly melhorar os outros produits, reservamo-nos o direito de efectuar nas suas caracteristicas superficies,FUNCTIONS ou estéticas todas as alteracoes necessarias e ditadas pela evolucao Tecnologica do sector.
Para encontrar fácilmente no futuro as notas relativas ao seu aparelho, aconsehmos consultar a páginá "Assistência Tecnica e Relações com o Consumidor". (Tal páginá explicá inclusive onde encontrar-las no seu aparelho).

Atença: No caso de cozinha aquécida por um aparelho ligado à chamíne (exemplo:
estufa)deerinstalaroexaustor na versao de recirculaçãodoar(filtrante).Nuncautilizeo exaustorsemosfiltrosdecartucho.Areajeadequamenteoambiente quandoinstalarum exaustor que serautilizadojunto comaparelhosagásouotrocombustivel.
- DESCRIÇÃO DO APARELHO


chamé

2/ INSTALLação DO EXAUSTOR
PT
- Durante a instalação ou em caso de intervenção técnico, o aparecido deverá estar desligado.
- Verifique se tensão da rede corresponde à tensão指示 a colocar na placé de identificacao aposta no aparelho.
- Se precisar fazer uma alteração na instalação eletrica da sua casa para poder utiliser o exaustor, chame um técnico qualificado.
- Nunca ligue o aparelho a um tubo de descarga de fumos de combustao (caldeiras, chaminés, etc) ou a umsystema VMC (Ventilacao mecanica Controlada).
- O tubo de descarga,cka,uka qual for,uncasedeve projector do subteco.
- Monte o exaustor a uma distança de segurar deleo menos 70 cm do fogo eletrico, gás ou misto.
Se possuir una sáida para o exterior:
A evacuação do ar para o exterior é possível gratas à instalação de um motor à parte DHK7000 (vendido à parte). A ligação do exaustor ao motor Separado DHK7000 deve ser efectuada com um tubo de diamétro de ao menos 125~mm . O tubo pode ser de tipo flexível, em aluminio e não inflamável. O diamétro do tubo não deve ser inferior a 125~mm .
ESTE EXAUSTOR NAO FOI CONCEBIDO PARA FUNCIONAR NA VERSAO FILTRANTE (COM RECIRCULAÇÃO).
LIGACAO ELECTRICA
Para efectuar a instalacao e as operacoes de manutencao, o aparelho deve ser desligado da rede eletrica, os fusiveis devem ser soltos ou removidos. A ligaacao eletrica deve ser feita antes de colocar o aparelho dentro do movel.
Verifique se:
- a potência é suficiente;
- as linhas de alimentacao está em bom estado;
- o diametro dos cabos está em conformidade com as normas de instalacao.
- MONTAGEM DO EXAUSTOR
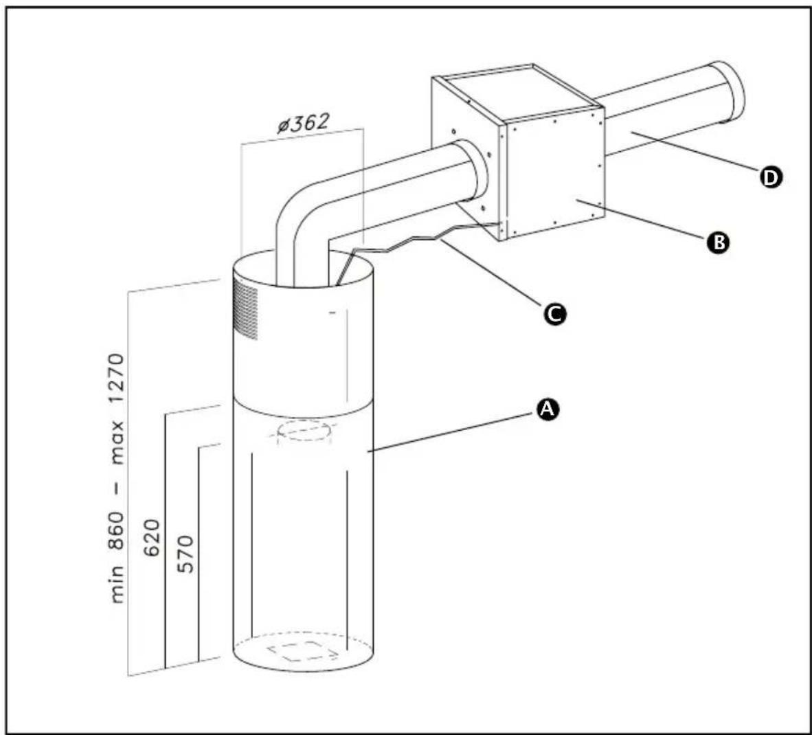
A instalação deve ser feita em conformidade com as normas vigentes em materia de ventilação de ambientes fechados. Em Franca, estas dispositions está contidas no DTU 61.1 do CSTB. Em particular, o ar evacuado não deve ser conducido por um tuboutilizado para a descarga dos fumos de aparelhos a gás ou及其他 combustível. A utilização de tubos fora de uso não é possível, salvo parecer favoravel de um técnico qualificado. A distência minima entre o plano de cozedura (fogão) e a parte mais baixa do exaustor deve ser de 70~cm .Se as instruções do plano de cozedura instalado debaixo do exaustor previrem uma distência maior, é necessário ter em conta esta ultima.
- INSTALLAÇAO DO EXAUSTOR
Antes da instalacao, remover os filtros de gordura para fazer danos ao aparelho. Para remover os filtros de gordura, empurrar a pega para a parte inferior do exaustor e girar o padrto para baixo, removendo-o, simultaneamente, de seu alojamento (Fig. 3A).
Atença: a instalaçãodeerá ser feita por,heiroiros,duas pessoas.
Antes de起初 a instalacao do exaustor, preparar a alimentacao eletrica, posicaoar a central externa e predispor o furo de descarga.
Fixar as extensions (Fig.5 Parte A) na chapa superior (Fig.5) com o parafuso fornecido. Posicaoar a chapa superior (Fig.4.1) no tecto, realizar 4 furos de 8mm em correspondencia da mascara de perfuracao.
Inserir os pinos nos furos (Fig, 4,1 - A) e fixar a chapa no tecto com os parafusos (Fig. 4-1-B). Fixar,enthala, a estrutura inferior (Fig, 6.2) no exaustor, encaixando seu suros nos parafusos metricos soldados no suporte do ventilador (Fig. 6.1). Inserir as arruelas e as porcas fornecidas (Fig. 6.2-A),parafusando-as com uma ferramenta adequada.
Unir o tubo de saída do ar com o grupo do motor atraves de um colar; Inserir a estrutura superior (fig. 6.3) na estrutura inferior regulando, simultaneamente, a sua posicao com relação à alta desejada e, principalmente, com relação à alta minima necessária entre o fogão e o exaustor. Fixar as两大 estruturas com os parafusos (Fig. 6.3 B).
Levantar, então, o exaustor com a estrutura e os tubos já inseridos até que as quatre molas (Fig. 6.6 -E) enganchem-se à estrutura superior (Fig. 6.3C). Depois de enganchar as两大 partes, fixar osinous elementos (Fig. 5.1, Fig. 5.2) com os parafusos de segurarça (Fig. 5.2A). Ligar o tubo do exaustor com o furo de descarga do ar.
Inserir,enthaloosdoistubostelescopicos(fig.6.4e6.5)na parte inferiordoexaustor,levantarcompletamenteotuboefixalo noexaustorcomosparafusos fornecidos(Fig.10)-Levantarotubo superioratheotectoefixalo comosparafusos(Fig.6.6-D).
- LIGAÇÃO ELECTRICA DO EXAUSTOR

Este aparecido é dotado de um cabo de alimentação H05 VVF de 3 conduções de 0,75 e 2 (neutro, fase e terra). O aparecido deve ser ligado a uma rede de 220 - 240 V monofá-1. Por meio de uma tomada de corrente normalizada CEI 60083 que deve permanecer passivel après a instalação, conforme as normas de instalação.
Declina-se toda responsabilitad em caso de acidente provocao por falta de ou incor-recta ligationao de terra. O fusivel uso dove ser de 10 ou 16A. Se o cabo de alimentacao estiver danificado, chame a assistencia的技术ica para fazer qualquer tipo de risco.

Atença:
Se o exaustor aparecer qualquer problema ou mau functiOnamento, deslige o aparelho ou remove o fusivel correspondente a LINHA de ligaçao do aparelho.
3/ FUNCIONAMENTO DO EXAUSTOR
PT
O commando a distência é equipado de 6 teclas para o commando a distência. quando é acessionado o timer (tecla D), o exhaustor funciona durante 10 min e, après esse tempo, para automaticamente.
\section*{Característicats néicas do telecomando:}
- Alimentação à pilha : 12V
- Freqência deestrutura:433,92 Mhz
-Absorcao max. : 25 mA - Temperatura de funciona : -20 + 70 °C
- Dimensoes : 45x75x14 mm.
Descrição do funciona:
Para controlar o funciona, o commande a distancia dispone de 6 teclas, como segue:
interruptor ON/OFF iluminação
01 : interruptor ON (primeira velocidade) OFF motor
2 : interruptor seguda velocidade
3:interruptor terreira velocidade
4 : interruptor quarta velocidade
: temporizador de10 horas

Configuração padrão
Na configuraçao de fabrica, todos os sistemas "exaustor - commando a distancia" tem um meismo��o de transmissao (dip-switch n.6-7-8-9-10 em ON).
Se forem instaladas no mesmo localdoesexaustoresousesteriveremmuchopróximos,o functi-mentation podeser prejudicado.Nesse caso,é preciseo modifier o)codigo deapanas um comando a distancia.
Configuração de um novo)c原标题:
Para modifier o)codido de transmissao do commando a distancia,agir como segue:abrir atampa e remove a bateria, colocar um dos dip switch 7-8-9-10 em OFF (o switch 6 deve permanecer ON).
nicialização do novo padrão:
Depois de modificado o número, agir como segue:
premer a tecla de desactivacao geral do exaustor (fig. 3B), e restabelecer, entao, a ligaço elec- trica, premindo novamente a mesma tecla (Fig. 3B); a partir de entao, dispoe-se de 15 segun-dos para premir a tecla ON/OFF para que o exaustor sera sincronizzato com o novo��igo.
Tecla de emergência (Fig.3B):
Se o commande a distança não funciona, para desligar o aparecido premer a tecla de emergência colocada perto da lampada. Depois de eventuais reparacoes, restabelecer a tecla de emergência.
Os produitsswickem de um dispositivo electrico que permite a paragem automatica depos de quatre horas de functiamento après a ultima operacao realizada.
4/ LIMPEZA DO EXAUSTOR
PT
Uma manutenção bem feita é uma garantia para o bom funciona e o bom rendimento de um aparecido ao longo do tempo.

O aparelho deve ser desligado da alimentacao eletrica, quer retirando a ficha da
tomada quer activando o salva-vidas, antes de remove os filtros metalicos. Após a limpeza, monte novamente os filtros metalicos de acordo com as instruções.
| MANUTENÇÃO COMO | FAZER? | PRODutos / ACESSORIOS A UTILizar |
| Superficialde externa e acessórios | Nunca utilize palhas de aço,ESCOvas duras e pro-dutos abrasivos. | Para a limpeza da superficie externa do exaustor e do ecra do vão da lâmpada,utilize exclu-sivamente detergentes de uso dométrico vendidos no comé-rcio diluidos em água;envague com agua limpa e seque com um pano macio. |
| Filtro de cartucho | Após 30 h de funciona-mente o teclado assinala a saturação do filtro acen-dendo todos os botões.Pare a mensagem premin-do o interruptor timer \(①\)Para remove a grelha de gordura,empurre o pu-xador paraTRS da coifa erode a grelha para baixo,removendo-a da sua sede.Para inserir a grelha,faça a operação contrária. | Para limpar a grelha,lave-a àmão ou na máquina.Limpe-aperiodicamente pelo menos acada dois vezes. |
Para conservar melhor o aparecido, recomendamos a utilização dos produits de manutenção Clearit.

Clearit A experiencia dos professionais ao service dos particulares
A Clearit oferece produtos professionais e soluOs apropriadas para a manutenao diaria de electrodomesticos e das cozinhas.
Os seu produits estao a vendao jusqudo seu revendedor habitual alem de toda uma linha de produits accesarios e complementares.
| PROBLEMA SOLUÇÂO | |
| O exaustor não funciona... | Verifique se: · não HOVE um black out de corrente · se foi efectivamente selecionada uma certa velocidade. · Esteja bem ligado o conector da central externa (DHK7000) |
| O rendimento é escasso... | Verifique se: · a velocidade do motor selecionada é suficiente para a quantidade de fumes e de vapeores presentes · a cozinha é suficientemente arejada para permitir uma tomada de ar |
| O exaustor para durante o funciona-amento | Verifique se: · não HOVE um black out de corrente · o dispositoivo de corte omnipolar não disparou |
- SUBSTITUÇÃO DA LÁMPADA

Antes de qualquer intervencao, o exaustor deve ser desligado electricamente, retido a fichte da tomada ou actuando no interruptor.
Lampada dicróica:
Para substituir a lampada de halogeneo,iturá-la com o auxilio de uma chave de fenda很小a ou de uma ferramenta pontiaguda que possa entrada entre a lampada e o seu alojamento. Substituir a lampada por outra com as mesmas caracteristicas. (fig. 7).
6/ SERVICO POS-VENDA
PT
Qualquer intervenção no seu aparecido deve ser realizada:
-querpelo seurervendedor,
-quer por(other professional qualificado autorizo pela marca.
Ao chamá-los, indique a referencia completeness do seu(AParalho (modelo, tipo e numero de série).
Estas informacoes figuram na placac de identificacao fixada no aparelho.
Vázěný zákazníku,
dekujeme Vam, ze jste si zakoupil digestor firmy DE DIETRICH.
ManualFácil