DHD789X - Köksfläkt DE DIETRICH - Gratis bruksanvisning och manual
Hitta enhetens manual gratis DHD789X DE DIETRICH i PDF-format.
Questions des utilisateurs sur DHD789X DE DIETRICH
0 question sur cet appareil. Repondez a celles que vous connaissez ou posez la votre.
Poser une nouvelle question sur cet appareil
Ladda ner instruktionerna för din Köksfläkt i PDF-format gratis! Hitta din manual DHD789X - DE DIETRICH och ta tillbaka ditt elektroniska enhet i hand. På denna sida publiceras alla dokument som behövs för att använda din enhet. DHD789X av märket DE DIETRICH.
BRUKSANVISNING DHD789X DE DIETRICH
SV Symbolen paprodukten ellp emballaget betyder att produkten inte far betraktas som normalhushallsavfall, utan den maste foras till en sopstation for atervinning av elektriska och elektroniska apparater. Om produit avyttras pa ratt satt, kan man undvika eventuella negativa konsekvenser for miljo och halsa, som annars skulle kunna resultera av en felaktigavytt-ring av produits. For mera detaljerad information angaende avyttring av produit kontakta kommunalkontoret, ropstationen eller affaren, dar produit inkopts. Denna hushallsprodukt ar markerad enligt EU-direktivet 2002/96/EN betraffande atervinning av elektriska och elektroniska apparater (WEEE).
C tilslutningsledning
2/ HVORDAN EMHAETTEN INSTALLERES
DA
Ni har precis kocht en koksflakt av market DE DIETRICH och det vill vi garna tacka for.
Vårt forskningssteam har framställt en helt ny generation vitvaror, som tack vare sin teknika utveckling och sin estetiska och Funktionella kvalitet hör till de absolut främsta på marknaden och som vittnar om.Var erfarenhet i branschen.
Er nya spisflakt DE DIETRICHkommen inte bara att smälta in i köksinred- ningen pa ett harmonisk satt utan även forena den enkla användningen med en utmärkt utblasnings-formaga. Vi har gjort vart alla basta for att ge er en fortrafflig produit
Bland Produkterna DE DIETRICH finns också att stort sortiment av ugnar, mikrougnar, spishällar, diskmaskiner och inbyggnadsbara kylar, som lättkan koordineras med er nya köksfakt DE DIETRICH.
Eftersom vi naturligtvis strävar after att alltid tillfredsstalla vara kunder, star var kundservice till komplett forfogande for att svara pa alla fragor och ta emot alla era eventuella forslag (kontaktinformation finns i slutet av instruktionsboken)
Kolla dessutom var hemsida HYPERLINK "http://www.dedietrich-electromanager.com/" www.dedietrich-electromanager.com, dar alla de senaste nyheterna presenteras och dar all nyttig information finns tillganglig.
DE DIETRICH
De nya värdefulla vitvarorna
I var stravan att ständigt forbätra varaprodukter, forbehäller vi oss ratten att modifiera de tekniska, Funktionella och estetiska särdragen i enlighet medprodukternas utveckling.

OBS: Läs noggrant installationsanvisingarna och bruksanvisningen innan paraten installereras. Det underlättar att forsta hur den fungerar.
1/ FÖR ANVÄNDARENS INFORMATION
- Sakerhetsforeskrifter 137
-Beskrivning av apparaten 138
2 / HUR MAN INSTALLERAR SPISFLÄKTIEN
-Hur man byter ut lampan 143
6/ASSISTENS EFTER KÖPET 143

OBS: bevara dessa instruktioner tillsammans med apparaten. Om apparaten skulle saljas, overforas pa en ennan person, kontrollera att instruktionsboken foljer med.
Tack for att ni foljer dessa instruktioner innan ni installerar och anvander apparaten. De har utformats for att garantera bade er och andra personers sakerhet.
- SÄKERHETSINSTRUKTIONER
Fläktarna har utvecklats for att användas i hemmiljö av privatpersoner. Fläkten skall endast användas av vuxna. Barn maste sta under uppsyn, sa att de inte använder den som leksak. Kontrollera dessutom att de inte leker med fjärkrkontroll och/eller andra reglage.
-
Var noga med att ta bort emballaget, eller låt andra ta bort det,ningar levereras. Kontrollera fluktens alla delar noga. Skriv upp eventuella observationer på er kopia av foljesedeln och spara den. Flukten ar avsedd for normal hemmabruk. Den fär inte användas i kommersiellt aller industriell syfte eller på andra användningsområdet, forutom det for vilket den utvecklats.
-
Modificera aldrig, eller forsok aldrig modificera, flaktens egenskaper. Detta kan vara riskabelt. Reparationen far endast utforas av en auktoriserad facman.
Dra alltid ur kontakten innan fläkten skull rengöras eller underhällas.
- Var noga med att lufta omgivningarna om flakten skall anvandas tillsammans med andra apparater, som drives med nagon annan form av energia (dvs. ej elektrisk), sa att flakten inte drar in forbranda gaser.
Det ar forbjudet att flambera eller anvanda gaslagor utan kastruller under sjalva flakten (flammor kan dras in i flakten och forstora den).
- Om man friterar under fläkten maste det ske under ständig uppsyn, aftersom mycket heta oljor och fetter lätt kan böjar brainn.
Var noga med att rengöra och underhalla fläkten med jämna mellanrum. Fettavlagringar kan fororsaka brand.
Flakten fär ej anvandas ovanfor ved- eller kolspasar aller liknande.
Anvand aldrig angtvattare erler hogtrycksapparater for rengoring av flakten (se reglerna for elsakerhet).
Vi forbehaller oss ratten att modifiera flaktens teknska, funkionella och estetiska egenskaper i en ständig stravan after att forbätravaraprodukter.
For att latt kunna hitta alla anteckninger angaende flakten i framtiden, rader vi er att samla dem pa sidan "Assistens och kundservice" (Denna sida visar ocks var ni kan hitta dem pa flakten).

OBS: I kök som varms upp med nagon form av aggregator, som ar kopplat till skorstensröret (x. en kamin) maste Återcirkulationsversionen av fläkten installeras. Använd aldrig fläkten in filterpatroner. Lokalen maste dessutom ha tillräcklig ventilation, nar man har en köks-ät som användes tillsammans med aggregator, som drives med gas aller andra brännmedel.
- BESKRIVNING AV APPARATEN

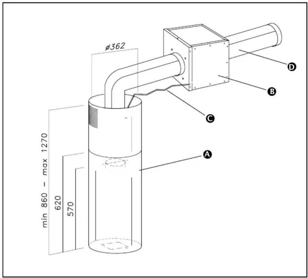
A skorsten
D luftutblasningsrOR (motorn saljes separat)
utsidesmotor (DHK7000) (motorn saljes separat)
kopplingssladd
2/ HUR MAN INSTALLERAR FLÄKTEX
- Fläkten fär inte vara ansluten till elnätet under tiden man installerar den ellr nar den skll underhallas.
- Kontrollera att strömstyrkan i elnätet motsvarar den strömstyrka, som finns angiven på informationsplattan på insidan av spiskåpan.
- Om ni maste modificera elnätet i erh hem, for att kunna anvanda fläkten, sā maste arbetet utforas av en kvalificerad tekniker.
- Var noga med att aldrig ansluta den till nagot ror, som slapper ut brand rok (varmepannor, kaminer etc.) ell KMV-aggregat (kontrollerad mekanisk ventilation)
- Utblåsningsröret (oavsett av vilken typ det ár) skall aldrig befinna sig i narheten av innertaket.
- Installera fläkten på atts sakerhetsavständ på minst 70 cm från gas- och eller elspisen.
Det ar möjlg att släppa ut luften utomhus tack vare installationen av en separat motor DHK7000 (motorn saljes separat). Anslutningen av spiskåpan till den separata motorn DHK7000 skall utforas med hjälp avett rör med en diameter på minst 125 mm. Detta rör skall vara flexibelt, i alluminium och eldhardsigt. Rörets diameter fär absolut inte understiga 125 mm. DENNA SPISKÄPA ARI INTE GJORD FÖR ATT FUNGERA I RECIRCULATIONSMODALITET.
ANSLUTNING TILL ELNÄTET
När fläkten skall installereras, och nar den skall rengöras och/eller underhällas, fär den inte vara ansluten till elnätet och sakringarna måste lossas eller avlågsnas. Anslutningen till elnätet måste utforas innan fläkten sättes på plats.
Kontrollera att:
- stromstyrkan ar tillracklig
- de elektriska kablarna ar i gott skick
- sladdarnas diameter stämmer överens med installationsnormerna
- MONTERING AV FLÄKTHEN
Installationen maste folja de gallande normerna for ventilation i stangda lokaler.
I Frankrike finns dessa normer i DTU 61.1 av CSTB. Framfor allt fär inte luften slappas ut i rör, som används for utbläsning av rök eller utslapp frän aggregat som använder gas erller andra brännmedel Det ar inte tillåtet att utnyttjagamla rör, som inte langre används, utan tillstand frän en behörig tekniker. Minimiavstandet mellan spishällen och spiskapans nedre del maste vara 70 cm. Om monteringsinstruktionerna für spishällen under spiskapan Förutserett större avstand, maste detta tas med i beräkningen.
- INSTALLATION
innan apparaten installeras maste fettuppsamlingsfiltren avlagsnas for att undvika eventuella skador. For att ta bort fettuppsamlingsfiltren maste man trycka handtaget mot nedre delen av spiskapan och vrida filtret nedat medan det dras ut fran sin plats (Fig. 3A)
OBS! Det behövs minst två personer for att utföra installationen
Innan spiskåpan installeras maste elanslutningen vara utförd, centralen skall vara på plats på utsidan av huset och utblåsningshålet skall vara forberett.
Fäst Förlangningarna (Fig. 5 del A) vid den övre plattan (Fig. 5) med hjälp av de medfoljande skruvarna. Stöd den övre plattan (Fig. 4.1) mot innertaket och borra 4 st 8mm-hål motsvarande dem i hålmasken.
Satt in pluggarna i halen (Fig. 4,q-A) och skruva fast plattan i innertaket (Fig. 4-1-B)
Fast sen den nedre delen (Fig. 6,2) pa spiskapan sa att halen motsvarar de graduerade skruvarna som sitter fastlodade pa flaktens stod (fig. 6.1). Satt i de medfoljande brickorna och bultarna (Fig. 6.2-A) och skruva fast dem med hjalp av ett passande verktyg.
Koppla luftutsugningsröret till motorgruppen med hjälp av en krage; Satt overdelen (Fig. 6.3) på underdelen och reglera samtidigt laget enligt den önskade Höjden och framfor allt enligt den minimihöjd som erfordras mellan spishällen och kapan. Fäst de bada delarna med hjälp av skruvarna (Fig. 6.3 B)
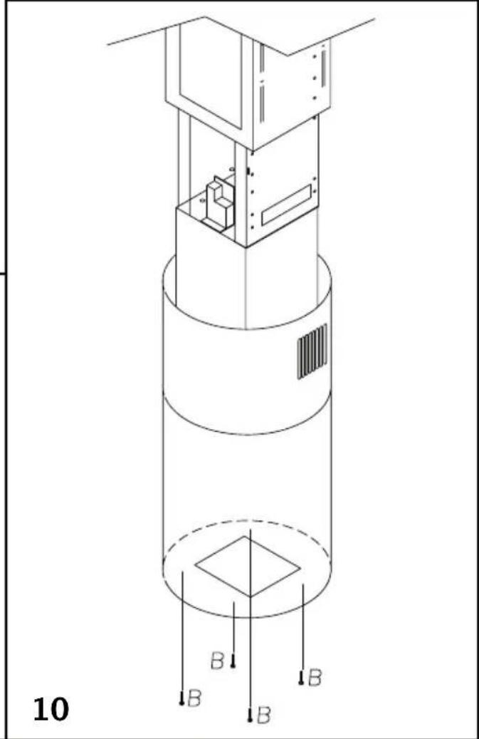
Lyft sen upp spiskåpan med de redan monterade delarna och kanalerna tills de fyra fjädrarna (Fig. 6.6-E) hakar fast i overdelen (Fig. 6.3C). After att de två delarna satts pa plats skall de två componenterna (Fig. 5.1, Fig. 5.2) skruvas fast med hjälp av sakerhetsskruvarna (Fig. 5.2A)P Koppla spiskåpans rör till luftutbläsningshålet.
For sen in de två teleskoprören (Fig. 6.4 och 6.5) i nedre delen av spiskåpan, lyft upp kanalen helt och fasp den i spiskåpan med hjälp av de medfoljande skruvarna (Fig. 10). Lyft sen den övre kanalen tills den när innertaket och fasp den med skruvarna (Fig. 6.6-D).
- ANSLUTNING TILL ELNÄTET

Apparaten ar utrustad med en elkabel av typ H05 VVF med tre 0.75 mm2-ledningsstradar (neutral, fas och jordad). Den skall anslutas till att enfasigt elnat pa 220-240 V med hjalp av en normaliserad kontakt av typ EU 60083, som maste vara tillganglig aven after installationen, enlgit normerna for elinstallation.
Tillverkaren ansvarar inte for skador eller olyckor, som kan inträffa p.g.a. att kontakten inte varit jordad, aller att den jordats på felaktigt satt. Dessutom maste en sakring på 10A aller 16A användas. Om sladden ar skadad kontakta VAR assistens for att undvika varje risk.

OBS:
Om fläkten skulle uppvisa nàgon form av fel, dra ur kontakten aller avlagsna sakringen mot-svarande apparatens kontaktlinje.
3/ HUR FLÄKTEN FUNGERAR
Fjarrkontrollen ar forsedd med 6 olica knappar for distanskontroll. När timerknappen (knapp D) slas pa sa fungerar flakten i 10 min, sen slas den av automatiskt.
Fjarrkontrollens tekniska egenskaper:
- Drivs med batteri : 12V
- Arbetsfrekyens : 433,92 Mhz
- Maxconsumption : 25 mA
-Funktionstemperatur: -20 + 70^ - Dimensioner : 45 × 75 × 14 mm .
Funktionsbeskrivning:
Fjarrkontrollen har 6 olika knappar som reglerar funktionen enligt foljande:
Strombrytare ON/OFF for Ijuset
01: Strömbrytare ON (fürsta hastiget) OFF für motorn
2: Strömbrytare für andra hastigheten
3: Strömbrytare für tredje hastigheten
4: Strömbrytare for fjärde hastigheten
: timer 10 minut.

Standardutforande
I fabriksutförande har alla installationer "spiskåpa-fjärrkontroll" samma overfüringskod (dipswitch nr. 6-7-8-9-10 pa ON)
Om man installerar två spiskapor på samma stalle, eller om de sitter mycket nara varandra, kan de fungera dåligt. I detta fall måste koden på endast den ena fjärrkontrollen bytas ut.
Hur man byter koden:
Gör sá har für att byta fjarrkontrollens überföringskod:
oppna locket pa fjarrkontrollen och avlagsna batteriet. Stall en dip-switch 7-8-9-10 pa OFF (switch nr. 6 skall sta kvar pa ON).
Initialisation av dennya koden:
När koden bytts ut, fortsett enligt foljande;
Tryck på knappen som stänger av flåkten welt (Fig. 3B), Återställ sen elanslutningen genom att trycka på nytt på samma knapp (Fig. 3B); nu har ni 15 sekunder på er För att trycka på knappen ON/OFF sä att flåkten synkroniseras med den nya koden.
Nödknapp: Fig. 3B
Om fjarrkontrollen inte skulle fungera kan man slå av apparaten genom att trycka på nödknappen, som sitter i narheten av lampan. Återställ nödknappen after eventuell reparation. Produktterna ar forsedda med en elektronisk mekanism, som gör att de stängs av automatiskt after att ha varit igång i fyra timmar after sista användningen.
En nogrann unterhällning ar en garanti För att apparaten skall fungera bra sö länge som möjligt.

Innan metallfiltren avlagsnas maste flakten stangas av och antingen maste kontaktas ur urtaget aller ocks maste huvudstrombrytare slas av. Efter att filtren rengjorts ill metallfiltren sattas pa plats enligt instruktionerna.
| UNDERHÄLLNING HUR | GÖR MAN? | PRODUKTER SOM FÄR ANVÄ- NDAS |
| Utsidor och tillbehör | Använd aldrig stålull, slipmedel eller für hårdaborstar. | För rengöring av utsidorna på fläkten samt lamphällaren an-vänd enbart de normala dis-kmedel, som finns i handeln, utblandade med vatten. Skölj med rent vatten och torka av med en mjuk trasa |
| Filterpatron | När fläkten fungerat i 30 timmar signalerar tangen-tbordet att filtret és fullt, genom att alla knappas börjar lysa. Tag bort med-delandet genom att trycka på timerknappen Tryck handtaget mot fläktens baksida für att avlågsna fett-uppsamlingsgrillenoch snurra grillen nedàt, medan den avlågsnas frän sin plats. Gör om sama moment i omvänd ordning För att sättta tillbaka gril-len. | Diska grillen manuellt aller i diskmaskin für att rengöra den. Rengör den regelbundet Åtm- stone varannan mânad. |
For att bevara apparaten i gott skick rekommenderar vi att man anvanderprodukter av market Clearit.

Clearit Proffsen erfarenhet i de privatas tjanst
Clearit erbjuder er professionellaprodukter och lampliga losninger for den dagliga underhäll- ningen av era hushållsapparater och era kok.
Ni hittar dem hos er vanlige handlare tillsammans med en komplett linje av tillbehör
| SYMPTOM LÖSN | NING |
| Fläkten fungerar inte... | Kontrolera att: • Det inte är strömavbrott • att ni verkligen valt en viss hastighet. • Kontrolera att utsidescentralens (DHK7000) koppling sitter ordent-ligt på plats. |
| Fläkten fungerar)dåligt... | Kontrolera att: • den valda motorhastigheten är tillräcklig for suga in röken och øn-gorna i likalen • Köket är tillräckligt luftat for att kunna tillåta ett luftutsläpp |
| Fläkten stannar under användning | Kontrolera att: • det inte är strömavbrott • att den allpoliga strömbrytarmekanismen inte brutits |
- HUR MAN BYTER UT LAMPAN

Färe varje ingripande maste strommen brytas, antingen genom att kontakten tas ur gurtaget aller att strömbrytaren slås av.
Halogenlampa:
När halogenlampan skall bytas ut skall den avlågsnas med hjälp av en liters skruvmejsel eller annat spetisgt verktyg, som kan foras in mellan lampan och hällaren. Byt ut lampan mot en annan med sama egenskaper (fig. 7).
6/ SERVICE OCH ASSISTENS EFTER KÖPET
SV
Alla eventuella reparationer maste utforas av inkopsstallets auktoriserade personal:
-elleravkvalificerade tekniker,
- som ar auktorisere av fabrikanten.
Lämna alla uppgifter om apparaten (modell, typ, registraringsnummer) vid beställning av tek-nisk assistens. Dessa uppgifter star på apparatens markesskylt.





De Dietrich

EnkelManual