Saneo CW - Camping DOMETIC - Free user manual and instructions
Find the device manual for free Saneo CW DOMETIC in PDF.
Frequently Asked Questions - Saneo CW DOMETIC
Download the instructions for your Camping in PDF format for free! Find your manual Saneo CW - DOMETIC and take your electronic device back in hand. On this page are published all the documents necessary for the use of your device. Saneo CW by DOMETIC.
USER MANUAL Saneo CW DOMETIC
Ooyniecs xepioou 324







7

8

9



12
90^ 0^ - 90^



13

14

15




19

20

21




25

26


27








Please read this instruction manual carefully before first use, and store it in a safe place. If you pass on the product to another person, hand over this instruction manual along with it.
Table of contents
1 Explanation of symbols 15
2 Safety instructions 15
2.1 General safety 16
2.2 Use of sanitary additives 16
3 Accessories 17
4 Intended use 17
5 Technical description 17
5.1 Description of the components 18
5.2 Control and display elements. 19
6 Using the toilet. 19
6.1 Sanitary additives. 19
6.2 Preparing the cassette tank. 20
6.3 Filling the freshwater tank 21
6.4 Using the toilet 21
6.5 Draining the cassette tank. 22
6.6 Positioning the toilet seat 23
6.7 Winter operation 23
6.8 Taking the toilet out of service 23
7 Cleaning and maintenance. 24
7.1 Cleaning the flushing nozzle. 24
7.2 Greasing the slider 24
7.3 Greasing the cassette seal 25
7.4 Cleaning the bayonet fitting and greasing the bayonet seal. 25
7.5 Greasing the O-ring of the cassette vent 25
8 Maintenance 26
8.1 Spare parts. 26
8.2 Replacing the cassette seal 26
8.3 Replacing the bayonet seal. 27
8.4 Replacing the fuse in the operating unit. 27
8.5 Replacing the wheels on the cassette tank 27
8.6 Removing and replacing the lid and seat. 27
8.7 Installing/replacing the Autoclose 28
9 What to do in case of problems 29
10 Warranty 30
11 Disposal 30
12 Technical data 31
1 Explanation of symbols

WARNING!
Safety instruction: Failure to observe this instruction can cause fatal or serious injury.

CAUTION!
Safety instruction: Failure to observe this instruction can lead to injury.

NOTICE!
Failure to observe this instruction can cause material damage and impair the function of the product.

NOTE
Supplementary information for operating the product.
2 Safety instructions
The manufacturer accepts no liability for damage in the following cases:
- Damage to the product resulting from mechanical influences and excess voltage
- Alterations to the product without express permission from the manufacturer
- Use for purposes other than those described in the operating manual
The declaration of conformity can be requested from the manufacturer (contact information on the back).
2.1 General safety

WARNING!
- This device can be used by children aged 8 years or over, as well as by persons with diminished physical, sensory or mental capacities or a lack of experience and knowledge, providing they are supervised, or have been taught how to use the device safely and are aware of the resulting risks.
- Cleaning and user maintenance must not be carried out by unsupervised children.
- Children must be supervised to ensure that they do not play with the device.

NOTICE!
- Do not shake the cassette tank vigorously.
- Do not hang the cassette tank on a bicycle or other vehicle for transportation.
- Do not use antifreeze. These agents may damage the cassette toilet.
- The toilet is designed for a person weighing no more than 150kg .
2.2 Use of sanitary additives

CAUTION!
- Store the sanitary accessories so that children cannot access them.

NOTICE!
- When using sanitary additives for use and cleaning of the toilet, pay attention to the instructions for use on the packaging.

NOTE
- Conventional toilet paper can clog the toilet. Use a special fast-dissolving toilet paper.
The manufacturer recommends Dometic COMFORT CARE.
3 A C C e s o r
Available as accessories (not included in the scope of delivery):
Description
Autoclose function
(included with Saneo C)
Touch-switch control unit
Tact-switch control unit
On the Domatic website (see back page) you can find information about sanitary accessories.
4 Intended use
The toilet is designed for installation and use in recreational vehicles such as campervans or motor caravans.
5 Technical description
The cassette toilet Saneo consists of a toilet permanently installed in the vehicle and a removable, mobile cassette as a holding tank. The cassette is externally accessible through a door. Depending on the model, the toilet gets the rinse water from a tank integrated in the housing or from a freshwater tank in the vehicle.
The following model versions of the toilet are available:
- Saneo B, Saneo C: freestanding, without water tank, without console
- Saneo BS, Saneo CS: freestanding, without water tank, with console
- Saneo BW, Saneo CW: freestanding, with a water tank in the console
- Saneo BLP, Saneo CLP: freestanding, without water tank, low console
Saneo C models can be equipped with an interval flush (optional). The water is pumped into the toilet bowl in short spurts in order to achieve improved flush wetting and cleaning. The wetting and cleaning depend on the amount of water available in the vehicle.
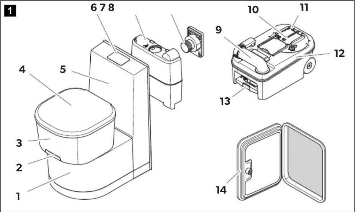
5.1 Description of the components
| No. in fig. 1, page 2 | Label |
| 1 Housing for cassette tank | |
| 2 Draining slider for toilet bowl | |
| 3 Saneo B models: Plastic toilet bowl Saneo C models: Ceramic toilet bowl | |
| 4 Seat (lid/toilet seat): Saneo B models: without Autoclose (Autoclose retrofit kit optional) Only Saneo C models: with Autoclose | |
| 5 | C o n s o l |
| 6 Control panel with level indicator and flushing | |
| 7 | Only Saneo BW/CW: Integrated freshwater tank |
| 8 Only Saneo BW/CW: Tank flap | |
| 9 | D r a i n p |
| 10 Slider on the cassette | |
| 11 Vent knob for draining | |
| 12 Cassette tank | |
| 13 Removable handle | |
| 14 Service door | |
5.2 Control and display elements
Item in fig. 2, Label page 2
1 "Flush" button
2 "Cassette tank removed" indicator
3 "Fill freshwater tank" indicator (Not always connected when using the on-board tanks)
4 "Cassette tank 3/4 full" indicator
5 "Cassette tank full" indicator
6 U S i n g t h e

NOTE
- Before putting the toilet into operation, you should clean inside and outside with a soft cloth and lukewarm water with a mild cleaning agent (also refer to chapter "Cleaning and maintenance" on page 24).
- Clean and grease the seals of your toilet regularly (see chapter "Cleaning and maintenance" on page 24).
6.1 Sanitary additives
Sanitary additives for the holding tank decompose faeces and prevent unpleasant odours.
The manufacturer recommends:
Dometic POWER CARE TABS
Dometic GREEN CARE TABS
When using sanitary additives, please note the instructions for use on the packaging.

NOTE
Conventional toilet paper can clog the toilet. Use a special fast-dissolving toilet paper. The manufacturer recommends Dometic COMFORT CARE.
On the Dometic website (see back page) you can find further information about sanitary accessories.
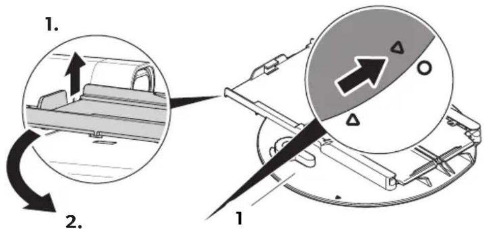
6.2 Preparing the cassette tank
Removing the cassette tank
Proceed as follows (fig. 3, page 2):
Open the service door.
Push the catch upward to unlock the cassette tank.
Pull the cassette tank out of the cassette housing. When pulling out the tank, resistance has to be overcome.

NOTE
When the cassette is removed, the slide handle on the toilet housing is locked. The cassette can only be inserted when the slider is closed.
Do not pull on the slider handle when the cassette has been removed.
Adding sanitary additive
Position the cassette tank upright.
Rotate the drain pipe approx. 90^ upward (fig. 4, page 3).

NOTE
Avoid turning the drain pipe more than 90^ , as it otherwise can come off (fig. 4, page 3).
Twist off the cap (fig. 5, page 3).
Put the cap onto the cassette (fig. 5, page 3).
Add sanitary additive into the cassette tank via the drain pipe (fig. 6, page 3). Observe the instructions for the sanitary additive.
Pushing the cassette tank into the cassette housing

NOTICE!
Ensure that the cassette tank can be pushed into the cassette housing easily. Make sure that the cassette tank does not bump into other objects or components.
▶ Slide the cassette tank all the way into the cassette housing.
The cassette tank lock locks by itself upon being pushed in.
Check that the cassette tank is securely installed.
Close and lock the service door.
6.3 Filling the freshwater tank
Fill the freshwater tank through the filler neck on the outside of the vehicle. The amount depends on the tank used (the integrated tank for models Saneo BW and Saneo CW = 7 litres).
6.4 Using the toilet
The toilet seat is secured against falling in the open 90^ position. With models with Autoclose, the seat lowers slowly when triggered (fig. 7, page 4).

NOTE
The slider must be closed while driving, and no liquid should be above the slider.
Before use, press the flush button to wet the surface of the bowl. A flushing operation is limited to 20 seconds regardless of how long the button is pressed. You may be able to hear the relay switching.
Pull the slider (fig. 8, page 4) forward. Leave the slider open during use.
After use, press the flush button to rinse the bowl again.
Close the slider (fig. 9, page 4).
When closing the slider, slight resistance can be felt from a distance of about 10mm from the housing. The slider is closed when the slider handle is flush with the toilet housing (fig. 9, page 4). Otherwise the cassette tank cannot be removed.
The cassette tank has a capacity of 16 l. When the indicator lights up, the toilet can only be use a few more times.

NOTE
With a 3/4-filled cassette, use is only possible when the slider is open. With a tilted position (such as lasting inclination of the vehicle), the cassette may only be 3/4 full. Overflowing through the vent is possible.
6.5 Draining the cassette tank
Empty the cassette tank when the indicator lights up:
Remove the cassette tank (chapter "Removing the cassette tank" on page 20).
Press the release button in the middle of the handle and pull the handle out to its end position (fig. 10, page 5).

NOTICE!
- Do not shake the cassette tank vigorously.
- Do not hang the cassette tank on a bicycle or other vehicle for transportation.
- Do not place heavy objects on the cassette tank during transport. This can damage the housing and rollers.
Bring the tank to the nearest designated disposal location.
Press the release button in the middle of the handle and push the handle back into the cassette.
Set the cassette tank upright and rotate the drain pipe 90^ upward (fig. 4, page 3).

NOTE
Avoid turning the drain pipe more than 90^ , as it otherwise can come off.
Twist off the cap (fig. 5, page 3).
Put the cap onto the cassette (fig. 5, page 3).
Hold the cassette tank by the handle with one hand (fig. 11 1, page 5) and with the other hand on the housing (fig. 11 3, page 5), so that you can push the vent button (fig. 11 2, page 5) while it is draining.
Press the vent button when the drain pipe points downwards.
- The tank drains steadily and without splashing.
After draining, rinse out the cassette tank carefully.
Add a sanitary additive to the cassette (chapter "Adding sanitary additive" on page 20).
Clear away course dirt from the wheels of the cassette tank to prevent scratching of the cassette housing.

NOTICE!
Do not clean the inside of the cassette tank with a high-pressure cleaner. This can damage the float for the level indicator.
Push the cassette tank into the cassette housing (chapter "Pushing the cassette tank into the cassette housing" on page 20).
6.6 Positioning the toilet seat
The upper part of the toilet is continuously rotatable by 180^ limited at ± 90^ (fig. 12, page 6).
6.7 Winter operation

NOTICE!
Do not use antifreeze. Antifreeze may damage the cassette toilet.
You can also use the cassette toilet in the winter, as long as the toilet and cassette tank are in a frost-free area.
If this is not the case, empty the freshwater tank, the cassette tank and the water line of the freshwater supply.
This will prevent damage by frost (chapter "Taking the toilet out of service" on page 23).
6.8 Taking the toilet out of service
Drain the freshwater tank and the water supply system completely if you are going to take the toilet out of service for an extended period of time.
Clean the toilet carefully (chapter "Cleaning and maintenance" on page 24).
Operate the flush button until no more water is in the pipes.
Interrupt the power supply to the toilet.
Then drain the cassette tank and rinse it out carefully. Clean the cassette. To allow the cassette tank to dry, do not close the drain pipe.
Clean and grease all seals and moving parts of the toilet and the cassette tank (chapter "Cleaning and maintenance" on page 24) and repeat this operation before putting the toilet back into service.
7 Cleaning and maintenance

CAUTION!
Cleaning agents for the toilet may not contain chlorine or alcohol!

NOTICE!
- To prevent material changes, do not use hard, abrasive or soda-based cleaning agents (scouring agents).
- Do not use polish for cleaning.

NOTE
For regular cleaning of the toilet bowl, use a mild colourless cleaning agent.
Clean the toilet regularly inside and out with a soft cloth and lukewarm water with a mild cleaning agent.
Then wash the surfaces with clear water.
Clean and grease all seals on the toilet and cassette tank regularly. In case of frequent use, perform these actions monthly or after 3 - 5 drainings of the cassette. Use grease or silicone-based spray.
The manufacturer recommends:
Grease: OKS® 1110
Silicone spray: OKS® 1111
7.1 Cleaning the flushing nozzle
Pull the cover away from the flushing nozzle (fig. 13, page 6).
Remove any dirt or debris with a cloth or soft brush.
Put the cap onto the flushing nozzle (fig. 14, page 6).
7.2 Greasing the slider

CAUTION!
When the slider is closed during cleaning or greasing, there is a risk of crushing body parts (fig. 15, page 6).
The slide moves smoothly when it is regularly lubricated.
Greasing the slider rods
Spray the rods of the slider with silicone spray (fig. 16, page 7).
Greasing the slider seal
Grease the two seals in the lower section of the toilet bowl (fig. 17, page 7).
7.3 Greasing the cassette seal

CAUTION!
When the slider is closed during cleaning or greasing, there is a risk of crushing body parts.
Remove the cassette tank and place it on a firm surface.
Pull back the cover (fig. 18 1, page 7) so that the seal is accessible.
Evenly grease the cassette seal (fig. 18 2, page 7) at the top with silicone-based grease. In this way the cover remains movable.
Close the cover (fig. 19, page 8).
7.4 Cleaning the bayonet fitting and greasing the bayonet seal
Loosen the bayonet fitting on the cassette (fig. 20, page 8). In the state upon delivery and after extended use, the bayonet fitting can be loosened only with difficulty.
Clean the bayonet fitting (fig. 21, page 8) completely. The fitting must be lifted slightly at the back.
Uniformly grease the bayonet seals (fig. 22 2, 3, page 9) with silicone grease.
Put the bayonet fitting back in place (fig. 23, page 9).
7.5 Greasing the O-ring of the cassette vent
Take the adapter (fig. 24 1, page 9) off the cassette.
Grease only the attached O-ring (fig. 24 2, page 9) with silicone grease.
8 Maintenance
This chapter describes maintenance that may be performed by the user. Have all other maintenance and service work performed by qualified personnel.
8.1 Spare parts
Spare parts can be obtained from the customer service of the respective country.
All the accessories are available from specialist dealers. If you have any questions, please contact the dealer or your service partner directly.
8.2 Replacing the cassette seal
Pull back the cover so that the seal is accessible (fig. 25, page 10).
Remove the support ring and the seal (fig. 25, page 10).

NOTICE!
The seal must be positioned uniformly in the opening so that the cassette is sealed and the slider can move easily.
Insert the new seal (fig. 26, page 10).
Place the support ring in the provided groove in the cassette seal (fig. 27, page 10).

CAUTION! Danger of crushing!
Do not reach into the opening when you close the cover.
Close the cover (fig. 19, page 8).
8.3 Replacing the bayonet seal
Loosen the bayonet fitting on the cassette (fig. 20, page 8). In the state upon delivery and after extended use, the bayonet fitting can be loosened only with difficulty.
Insert the new seal (fig. 22 2, page 9).
Ensure uniform seating of the new seal (fig. 22 2, page 9).
Put the bayonet fitting back in place (fig. 23, page 9).
8.4 Replacing the fuse in the operating unit

CAUTION!
- Switch off the voltage supply before you start!
- Carefully pull the control unit out of the wall opening. There is a risk of injury due to the springs springing back!
Lift the control unit with a suitable tool and then pull it out of the bracket or wall (fig. 28, page 11 and fig. 29, page 11).
Replace the fuse (automotive fuse: 10 A) on the bottom of the control unit (fig. 30, page 11).
8.5 Replacing the wheels on the cassette tank
The wheels on the cassette tank can be replaced individually if required:
Remove the old wheel as shown (fig. 31, page 11).
Mount the new wheel as shown (fig. 32, page 11).
Ensure that the wheel moves freely.
8.6 Removing and replacing the lid and seat

NOTE
The manufacturer accepts no liability for damage resulting from incorrect or faulty installation.
Proceed as follows (fig. 33, page 12):
Loosen the spacer (2) by prying it out of its position with a screwdriver.
Use a screwdriver to carefully pry the lid (1) out of its mounting and remove it.
If necessary, remove the components of the Autoclose with the markings "CW" and "CCW".
Lift the lid.
Use both hands to grasp the lid above the hinges (3) and bend it slightly toward the bowl to detach it.
Lift the seat.
Use both hands to grasp the seat above the hinges (3) and bend it slightly toward the bowl to detach it.
8.7 Installing/replacing the Autoclose
The Autoclose is integrated in Saneo Comfort models. With Saneo Basic models, this function can be retrofitted.

NOTE
The manufacturer accepts no liability for damage resulting from incorrect or faulty installation.
Use a screwdriver to carefully pry the lid (fig. 33 1, page 12) out of its mounting and remove it.
Lift the lid and seat.
If necessary, remove the components of the Autoclose with the markings "CW" and "CCW".
Insert the new parts of the Autoclose (fig. 34, page 13).
Lower the lid by tapping it.
The seat and lid lower slowly.
Place the lid (fig. 33 1, page 12) into the mounting.
9 What to do in case of problems
Domatic offers a Europe-wide service network. Authorized customer service centres are available on the Internet on the website dometic.com.
When contacting customer service, please make a note of the following information on the type plate:
Model Designation
Product Number
Serial No.
MLC

NOTE
You can find the type plate in the cassette housing after removal of the cassette.
Fault Possible cause Remedy
Toilet no longer flushes. Faulty fuse.
Cassette not inserted.
Cassette full.
No power supply.
Electronics defective.
Pump defective.
Solenoid valve defective.
Screen before solenoid valve is dirty.
Replace the fuse (see chapter "Replacing the fuse in the operating unit" on page 27).
If there are repeated failures, check the electrical connections!
Replace defective parts.
Cassette tank leaks. Seal worn. Replace the cassette seal (see
chapter "Replacing the cassette seal" on page 26).
No level indication. The float in the cassette tank is
hung up or jammed by toilet paper.
Clean the float in the cassette.
Do not use a high-pressure cleaner!
Cassette tank cannot be pushed in completely.
Lower slider flange has released.
Push slider flange into correct position (fig. 35, page 13).
Slider handle can be opened even though cassette has been removed.
Cassette cannot be removed.
Slider handle is open. Close slider handle.
Fault Possible cause Remedy
Cassette does not latch into Cassette latch is defective. Replace cassette latch, cassette housing.
The cassette can be removed even though the slider handle is open.
Latch recess on cassette is defective.
Replace bayonet latching mechanism on cassette.
Slider handle cannot be opened.
Cassette is not inserted. Insert cassette.
10 Warranty
The statutory warranty period applies. If the product is defective, please contact your retailer or the manufacturer's branch in your country (see the back of the instruction manual for the addresses).
For repair and guarantee processing, please include the following documents when you send in the device:
- A copy of the receipt with purchasing date
- A reason for the claim or description of the fault
11 Disposal
Place the packaging material in the appropriate recycling waste bins wherever possible.

If you wish to finally dispose of the product, ask your local recycling centre or specialist dealer for details about how to do this in accordance with the applicable disposal regulations.
12 Technical data
| Dometic Saneo | |
| Input voltage: 12 V== | |
| Current consumption: max. 2 A with internal pump max. 10 A with external pump | |
| Max. person weight: 150 kg | |
| Dimensions: see specifications in the installation manual | |
| Operating temperature: 0 °C to +50 °C | |
| Capacity: 16 I (cassette tank) | 7 I (freshwater tank, optional) |
| Test mark: | CE N1 ECFR13 |

NOTE
Water supply (vehicle-side pump):
The toilet requires a minimum of 7~l/min provided by the vehicle at the outlet of the hose connection of the toilet in order to ensure satisfactory flushing output of 5~l/min .
For the current EU declaration of conformity for your device please refer to the respective product page on dometic.com or contact the manufacturer directly (see back page).
5 Description technique 54
5 Description technique
Alternatively, you can use the inodoro de cassette during the invierno, whenever you are in the inodoro and the deposito of the cassette.
Lubricar as barras deslizantes
8.1 Reservenderdelen
6 Anvendelse at toilet

BEMAERK
Vandforsyning (pumperpakoretjssiden):
I3roTOBnteH He HecET HnKaKoI OTBeTCTBeHHOCTN 3a yUep6 B cNeDyUOxNcnyaJX:
HanoHnTe 6ak CBexeB BOIOUpe3 HanoHraOuIIN NaTPy6OK C BHeUHeN CTOpHbI aBTOMo6nII. KOnueCTBO BOIb 3aBNCIT OT NcNoJIb3yeMoRo 6aKa (O6beM BCTpoEHoro 6aka B MoEJx Saneo BW n Saneo CW = 7 nITpOB).
6.8 BbIBoI n3 3KcPnyatauH
Ipejde yem BbBecn TyaNET N3 3KcNpyaTaun, nonHOCTbIO ONOPOXHnte 6ak CO CBeXeBDOJ IN CNCTEmy BOOCHa6XeHnJ.
TtataeNbHO ouHCTnTe TyaIeT. (rI. «UncTk a N yXoD» Ha cTp. 226).
Haxmte KhoNky cnaBa do tex nop, noka B Tpy6ax n uHaRax He octaHeTcB OdbI.
OTcoeHHTe TyaNET OT NCTOCHKa PNTaHn.
OnopoxHnTe kaccetHbI 6aK n TuaTeNbHO npomOte erO. OuNCTnte Kaccety. DaIte KaCCeTHOMy 6aKy BbICOXHyTb, dnn 3aKpbBaIte CnIBHyTOpy6y.
OuICTte n cmaXbTe BCE yINOTHeHn IN DBHXyUInecra TuaNeTa N KaccetHoro 6aka (m. «YnCTka n yxoI» Ha cTp. 226); NOBtOpnte 3Tu npOeDpy nepei BBOdom B3KcPnPy aTaunIO.
7Чистка и ухов

OCTOPOXHO!
He nCnoB3yIe Inra YnCTKn TyaIeTa CpeIcTBA, CoedePxaIne XnOp nn cnnpt!

BHIMAHHE!
- YuTo6bI He IOnyCTnTb NOBpeXJdeHn I N3MeHeHn MaTePnaIOB, He IcNoJIb3yIte a6pa3NBhIe, arpeCCNBhIe IIN COdepXaIue CoIy YIcT8Une cpeDCTBa.
He nCnoB3yIe dIyOuNCTKn POnIpOnb.

YKA3AHNE
Hadehbe Te KpbIuKy Ha cInBHOJ MexaHn3M (pnc. 14, ctp. 6).
7.2 Cma3bIBaHne 3aBnXkN

OCTOPOXHO!
3aKpbBbA 3aDbNkky B IpoueCCE OuNCTKN Nn Cma3bBaHn, MoXHO 3aUe-Mntb pyKn (pnc. 15, cTp. 6).
YTo6bI 3aDbNkKa DnraNaCb NERKO, Heo6xOIMo peyIpaHcMa3bIBaTb ee.
Cma3bIBaHHe NOJIO3beB 3aDbNXKn
O6pa6oTaIe Iono3b8 3aIBNXKc C NOMOUIBO CINIKOOBOrO a3pO30nR(pnc.16, cTp.7).
Cma3bIbAHHe yNlOTHeHn 3aDbNXKn
CmaxbTe Dba yNIOtHeHnB HnXHeN YaCTNu HnTa3a (pnc. 17, ctp. 7).
7.3 Cma3bIbAHne ynpOTHeHnKaCCeTbI

OCTOPOXHO!
3aKpbBbA 3aDbNxxKy B IpoUcCce OuHCTKn Hn Cma3bBaHn, MoXHo 3aUe-MNTb pyKN.
CHIMMTE KACCEThbI 6aK IN NOCTaBBte eRO Ha yCTOuHByIO NOBepXHOCTb.
OTKpoIe ynpnoTHHeHne,NotyB KpbIuKy KaCCeTbI (pnc. 18 1, ctp. 7) Ha3aI.
PaBHomepHo cMaXbTe BepxHIOU yactb yIIOTHeHnra (pnc. 18 2, ctp. 7) cMa3KoHa OCHOBE CINIKOHa. 3TO oBeCneuNT IOdBHXHOCTb KpbIiKn.
3aKpoIe KpbIuKy (pnc. 19, ctp. 8).
7.4 OuNTka 6aioHeTHoro 3amKa n yIIOtHeHn
Ocbo6oHnte 6aHOHeTHbI 3AMOK n3 Kaccetbl (pnc.20, ctp.8). BaOHHTbIM 3AMOK HaxOHTcB TOM NOnOxEHNN, B KOToPOM OH 6bl npn NOnyehHN N3dEHH, PNO3TOMy NOcne dINTeNbHO HeNCNtB3OBAHNY XOD 3aMka MoXET 6bl TpyHM.
OuHCTIe 6aHOnHeTHbI 3aMOK He pa36npa8 (pnc.21, cTp.8). 3aMOK B 3aDHeJ qactn DOJIxE H IOHNMaTbcra 6e3 ycInn.
PabHOMepHO HaHeCnTe CnIKOHOByo CMa3Ky Ha yNpOTHeHna6aNoHeTa (pnc. 22 2, 3 ctp.9).
CHOBA BCTaBbTe 6aHHeTHbI 3aMOK (pnc.23, ctp.9).
7.5 Cma3bIbAHn yPnOHTHnTeNbHOrO KOJbUa B BeHTnJIaun KaCCeTbl
BbICBO6oDHTe nepexoHnK (pnc. 24 1, ctp. 9) n3 KaCCeTbI.
CmaxbTe ynpntnHtBHOe KOb2o (pnc. 24 2, ctp. 9) cnNkoHOBOcMa3KoJ.
8 Texnueckoe 6cnyxmbaHne
B 3TOI IaBe OINcBbAOTcpa6OtBI NO O6CnyXnBaHnIO N3DeNIA, KOTOpBIE BbIOnHraTcI ONb3OBaTeIeM. Pa6OtBI NO yXoYu O6CnyXnBaHnIO, KOTOpBie He nepeuNCJIeHbB 3TOm pa3dene, DOJXHbI BbIOnHrTbcr CneUHaNCTaMn.
8.1 3anachbIe yactn
3aNaChbIe yacTn MoXHO 3aKa3aTb B peRnoHaNbHOM cepBnCHOM ueHTpe.
Bodocna6xehne (hacoc co cstopohb TpaHcnpTHoro cpeCTBa): YTo6bl oBeCneuNTb DOCTaTOUHyO MOUHOCTb CMBiBa (He MeHee 5 n/MnH), paCXoI BODbl Ha BbIXoHOM NaTpy6ke UHaHra, BeDyUeRo K TyaneTy, DonXhen CoCTaBnTb He MeHee 7 n/MnH.
IeHCTBvUoUee 3aRbneHnE O COOTBeTcBnN cTaHdApTaM EC dnnKKeTHoro yCTpoiCTBa MoXHo HaHTn Ha cTpaHnue n3dennr Ha caTe dometic.com nn 3aIpocntb HeNoCpeDCTBeHHO y npOn3BOIDTeJIa (cm. o6paTHyIO CTOpOHy).
Panel obstugi Touch-Switch
Dometic Australia Pty. Ltd.
1John Duncan Court
Varsity Lakes QLD 4227
1800212121
+61755076001
Mail: sales@dometic.com.au
AUSTRIA
Dometic Austria GmbH
Neudorferstraße 108
A-2353 Guntramsdorf
+432236908070
+43223690807060
Mail: info@dometic.at
BENELUX
Domatic Branch Office Belgium
Lourdesstraat 84
B-8940 Geluwe
+3223598040
+3223598050
Mail: info@dometic.be
BRAZIL
Dometic DO Brasil LTDA
Avenida Paulista 1754, conj. 111
SP 01310-920 Sao Paulo
+551132513352
+551132513362
Dometic Group Asia Pacific
Suites 2207-11·22/F·Tower 1
The Gateway 25 Canton Road
Tsim Sha Tsui·Kowloon
+85224611386
+85224665553
Mail: info@waeco.com.hk
HUNGARY
Dometic Zrt. Sales Office
Kerekgyartu.5
H-1147 Budapest
+3614684400
+3614684401
Domatic Italy S.r.l.
Via Virgilio, 3
F47122 Forll (FC)
+390543754901
+390543754983
Mail: vendite@dometic.it
JAPAN
Domatic KK
Maekawa-Shibaura, Bldg. 2
2-13-9 Shibaura Minato-ku
Tokyo 108-0023
+81354453333
+81354453339
Mail: info@domestic.jp
MEXICO
Domatic Mx, S. de R. L. de C. V.
Circuito Médicos No. 6 Local 1
Domatic New Zealand Ltd.
PO Box 12011
Penrose
Auckland
+6496221490
+6496221573
Mail: customerservices@dometic.co.nz
NORWAY
Dometic Norway AS
Osteroyveien 46
N-3232 Sandefjord
+4733428450
+4733428459
Mail: firmapost@dometic.no
POLAND
Dometic Poland Sp. z o.o.
Ul. Puławska 435A
PL-02-801 Warszawa
+48224143200
+48224143201
Mail: info@dometic.pl
PORTUGAL
Dometic Spain, S.L.
Komsomolskaya square 6-1
RU-107140 Moscow
+74957807939
+74959165653
Mail: info@dometic.ru
SINGAPORE
Dometic Pte Ltd
18 Boon Lay Way
06-141TradeHub21
Singapore 609966
+6567953177
+6568626620
Mail: dometic@dometic.com.sg
SLOVAKIA
Domic Slovakia s.r.o.
Sales Office Bratislava
Nadrażna 34/A
900 28 Ivanka pri Dunaji
/+421245529680
Mail: bratislava@dometic.com
SOUTH AFRICA
Domicic (Pty) Ltd.
Regional Office
South Africa & Sub-Saharan Africa
2 Avalon Road
West Lake View Ext 11
Modderfontein 1645
Johannesburg
+27873530380
Mail: info@dometic.co.za
SPAIN
Domatic Spain S.L.
Avda. Sierra del Guadarrama, 16
E-28691 Villanueva de la Canada
Madrid
+34918336089
+34900100245
Mail: info@dometic.es
SWEDEN
Dometic Scandinavia AB
Gustaf Melins gata 7
SE-42131 Västra Frolunda
+46317341100
+46317341101
Mail: info@dometicgroup.se
SWITZERLAND
Dometic Switzerland AG
Riedackerslasse 7a
CH-8153 Rurnlang
+41448187171
+41448187191
Mail: info@dometic.ch
UNITED ARAB EMIR
Dometic Middle East FZCO
P.O.Box17860
S-D 6, Jebel Ali Freezone
Dubai
+97148833858
+97148833868
Mail: info@dometic.ae
UNITED KINGDOM
Dometic UK Ltd.
Dometic House, The Brewery
Blandford St. Mary
DorsetDT119LS
+443446260133
+443446260143
Mail: customerservices@dometic.co.uk
USA
Dometic RV Division
1120 North Main Street
Elkhart, IN 46515
+1574-264-2131
EasyManual