BMGB20212B - BMGB 20212 B - Mikrovalovne BEKO - Brezplačna navodila za uporabo
Brezplačno poiščite navodila za napravo BMGB20212B - BMGB 20212 B BEKO v formatu PDF.
Prenesite navodila za vaš Mikrovalovne v formatu PDF brezplačno! Poiščite svoja navodila BMGB20212B - BMGB 20212 B - BEKO in vzemite svojo elektronsko napravo nazaj v roke. Na tej strani so objavljeni vsi dokumenti, potrebni za uporabo vaše naprave. BMGB20212B - BMGB 20212 B znamke BEKO.
NAVODILA ZA UPORABO BMGB20212B - BMGB 20212 B BEKO
Nejprve si unto navod prectete!
Vázeny zákazníku,
Instalačni skrín nesmí mit zadné panel za pristro-jem.
Najprej preberite priročnik za uporabo!
Spostovani,
Zahvaljujemo se vam, da ste se odločili za nakup izdelka Beko. Upamo, da bo izdelek, ki je bil izdelan z visokokakovostno in majnovejšo tehnologijo, upravčil vaše zaupanje. Zato pred uporabo naprave preberite celoten uporabniški priročnik in vso ostalo prilozeno Dokumentacijo ter jo shranite kot reference za prihodnjo uporabo. Če napravo predate nekomu drugemu, vraven prilozite še uporabniški priročnik. Upostevejte vsa navodila in vse informacije, ki so v priročniku o uporabi.
Pomen simbolov
Naslednji symboli so uporabljeni v razlichnih razdelkih tegpa priročnika:
| i | Pomembne informacije in uporabni nasveti o uporabi. |
| ! | Oporozilna za nevarne situacije, ki za-devajo varnost zaŽiviljenje in lastnino. |
| Oporozilno za vroče povrsine. | |
| Oporozilno za elektrichi udar. | |
| Oporozilno na nevarnost požara. |

Ta izdelek je bil izdelan v okolju prijaznih in sodobnih proizvodnih obrathib, brez kakrsne koli skode zaravo.
1 Pomembna varnostna in okoljska navodila
Pomembna varnostna navodila natančno preberite in jih shranite za kasnejso uporabo
1.1 Varnostna opozorila
To poglavje vsebuje varnostna navodila, ki vam bodo pomagala pri zašciti pred požarom, elektrčnim uradom, izpostavljenosti uhajanja mikrovalovom, osebnim poskodbam in materialno škodo. Neupostevanje teh navodil razveljavi garancijo.
Mikrovalovna pečica Beko je skladna z varnostimi standardi, zato mora, v primerus poškodbe naprave ali napajalnegа kabla, le to popraviti ali zamenjati prodajalec, servisni center ali strokovnjak in pooblasčeni servis, da se izognete nevarnosti. Napacna ali nepooblasčena popravila so lahko nevarna in ogrozajo uporabnika.
- Naprava je namenjena za uporabo v gospodinjstvu in podobnih okoljih, kot so:
- kuhinje za osebjve v trgovinah, pisarnah in drugih delovnih okoljih;
-
kmetijska poslopja
-
hoteli in druga bivalna okolja, kjer jo lahko uporabljajo go-stje;
-
okolja, kjer ponujajo nočitve z zajtrkom.
-
Ni namenjena komercialni ali industrijski uporabi.
- Pečice ne poskusajte zagnati, ko so vrata odprta; Če so odprta ste lahko izpostavljeni škodljivi mikrovalovni energiji. Varoval ne smete onemogovi ali spreminjati.
Mikrovalovna pečica je namenjena ogrevanju hrane in pijač. Sušenje hrane ali oblačil in ogrevanje grelnih blazinic, copat, gobic, vlažne krpe in podobnega lahko vodi do nevarnosti poškodb, vžiga ali požara. - Med sprednjo stranjo in vrati pečice ne postavlajte predmetov. Na povrsinah za zapiranje ne dovolite nabiranja ostankov umazanje ali Čistil.
Vsa servisna dela,ki vključujeo odstranitevPokrova,ki zagostvlja zašcito pred izpostavljenostjo mikrovalovni energiji, morajo opraviti pooblašcene osebe/servis. Vsak drug pristop je nevaren.
1 Pomembna varnostna in okoljska navodila
- Vaš izdelek je namenjen kuhanju, ogrevanju in odtajanju hrane doma. Ne sme se uporabljati v komercialne namene.
- Vaša pečica ni zasnovana takó, da posuši katero koliživo bitje.
- Naprave ne uporabljaje za sušenje oblačil ali kuhinjskh brišac.
- Naprave ne uporabljaje na prostem, v kopalnicah, v vražnih okoljih ali na mestih, kjer se lahko zmoči.
- Za škodo, nastalo zaradi zlorabe ali nepravilnegaravnanja z napravo, ne prevzemamo nobene odgovornosti ali garancijskih zahtevkov.
- Naprave nikoli ne poskusajterazstaviti. Garancijski zahtevkiza ,nastalo zaradi nepravilnegaravnanja,ne bodosprejeti.
- Uporabljajte samo originalne dele ali dele, ki jih priporoča proizvajalec.
- Med uporabo naprave ne pušćajte brez nadzora.
-
Napravo vedno uporabljaje na stabilni, ravni, cisti, suhi in nedrseci povrsini.
-
Naprave ne smete uporabljati z zunanjo uro ali ločenim sistemom za daljinski upravljanje.
Pred prvo uporabo očistite vse dele. Prosimo, glejte podrobnosti, podane v poglavju "Čišćenje in vzdřevanje". - Napravo uporabljaje za previden names, opisan v tem priročniku.
- Naprava se med uporabo zelo segreje. Pazite, da se ne dotikate vročih delov v pečici.
- Pečice ne uporabljajte prazne.
Kuhinjski pripomoček je lahkovroč zaradi prehajanja toplete iz ogrete hrane na pripomoček. Morda boste za prijem tega pri-pomočka potrebovali kuhinjske rokavice. - Preveriti je potrebno,Če so pri-pomočki primerni za uporabo v mikrovalovnih pečicah.
- Pečice ne postavlajte na ste-dilnike ali druge naprave za ustvarjanje toplote. V nasprotnem primeru se lahko poškoduje in garancija preneha veljati.
- Po kuhanju hrane lahko med odpiranjemPokrovovali folije izhaja para.
1 Pomembna varnostna in okoljska navodila
- Naprava in njene dostopne površine so lahko med delovanjem naprave zelo vroče.
- Vrata in zunanje steklo sta lahko med delovanjem naprave zelo vroča.
- Prepričajte se, da vaše omrežno napajanje ustreza informacijam, naven Denim na tipski plošćici na-prave.
- Napravo Iahko izkljucite iz elektricnega napajanja samo tako, da izkljucite napajalni vtič iz elektricne vtičnice.
- Napravo uporabljajte samo zozemljeno vticnico.
- Naprave nikoli ne uporabljajte,Če je napajalni kabel ali napravasa sama poškodovana.
- Te naprave ne uporabljajte s podaljskom.
- Naprave ali njenega vtiča se nikoli ne dotikajte z vlžnimi ali mokrimi rokami.
-
Napravo postavite tak, da je vtikač vedno dostopen.
-
Preprečite poškodbe napajal-nega kabla, tak do ga ne stiskate, upogibate ali drgnete ob ostre robove. Napajalni kabel držite stran od vročih povrsin in odprtega ognja.
- Prepričajte se, da ni nevarnosti, da bi lahko napajalni kabel ne-namerno potegnili ven ali da bi se kdo ob njega spotaknil, ko naprava deluje.
- Napravo izkljucite iz elektricnega omrežja pred vsakim ciscenjem in kadar naprava ni v uporabi.
- Ne izključite napravo iz napajanja takto, da vlečete za napajalni kabel in nikoli ne ovijaje napajalnega kabla okoli naprave.
- Naprave, napajalega kabla ali vtiča ne potaplajte v vodo ali druge tekovičine. Ne držite jih pod tekovićo vodo.
Pri segrevanju hrane v plasticnih ali papirnih posodah pazite, da ne pride do požara v pečici. - Preden jih vstavite v pečico, s papirnih in plastičnih posod odstraniteŽične sponke in/ali kovinske ročaje.
1 Pomembna varnostna in okoljska navodila
- Če opazite dim, izklopite ali izključite napravo, Če je to varno, vrata pustite zaphta, da morebiten plamen ugasne.
- Mikrovalovne pečice ne uporabljajte za shranjevanje. Kadar pečice ne uporabljate, v nnej ne pusčajte papirja, kuhinjskh sestavin ali hrane.
Vsebino hrane za dojencke v steklenickah in kozarckih za otroško hrano je treba pred zaužitjem premešati ali pretresti in preveriti temperaturo, da se otrok ne opeče. - Ta naprava je skupine 2 razred B opreme ISM. Oprema skupine 2 vsebuje vse opreme ISM (industrijska, znanstvena in medicinska), v kateri se radiofrekvenčna energia namenoma ustvarja in/ali uporablja v obliki elektromagnetnega sevanja za obdelavo materiala, in oprema za erozijo isker.
- Oprema razreda B je primerna za uporabo v gospodinjstvu in obratih, ki so neposredno priključeni na nizkonapetostno elektricno omrežje.
V pečici ne uporabljajte jegilnega olja. Vroče olje lahko poškoduje komponente in materiale pečice ter lahko povzroči celo opekline kože.
- Hrano z močno lupino, kot so krompir, bučke, jabolka in kostanj, prebodite.
- Naprava mora biti postavljena tako, da je zadnja stran obrnjena proti steni.
Pred premikanjem naprave zavarujte vrtljivi pladenj, da preprecite skodo.
V mikrovalovni pečici ne segre-vajte jajc v njihovi lupini ali trdo kuhanih jajc, saj lahko eksplodirajo tudi po tem, ko se segre-vanje z mikrovalovi preneha.
OPOZORILO: Ce so vratca ali tesnila poškodovana, pečice ne uporabljajte, dokler je ne popraví serviser.
OPOZORILO: Vsa servisna dela in popravila morajo izvajati usposobljene osebe, ko je pri popravilutreba snetiPokrov,ki varuje pred nevarnim mikrovalovnim sevanjem.
1 Pomembna varnostna in okoljska navodila
OPOZORILO: Tekočin in druge hrane ne segrevajte v zaprtih posodah, saj lahko pride do eksplozije.
- Pečico redno Čistite in odstranite vse ostanke hrane.
- Nad zgornjim delom pečice njbo min. 20 cm prostega prostora.
- Ne prekuhajte hrane; v nasprotnem primeru lahko povzročite požar.
- Za ciscenje naprave ne uporabljajte kemikalij in parnih cis-tilnikov.
Pri uporabi blizu otrok in oseb z omejenimi fizičnimi, senzorčnimi ali duševnimi sposobnostmi je priporočljiva izjemna previdnost. - To napravo lahko uporabljajo otroci, starejsci od 8 let, in osebe z zmanjsanimi fizicnimi, senzoričnimi ali psihicnimi sposobnostmi ali s pomanjkanjem izkušenj ter znanja, ce so pod nadzorom zaradi varne uporabe izdelka ali so prejela navodila o varni uporabi izdelka ter razumejo:noznne nevarnosti. Otroci se s to napravo ne bi smeli igrati.
Otroci ne smejo izvajati cischcenja in vzdhrzevanja, razen ce jih nadzirajo odrasle osebe.
- Nevarnost zadusitve! Ves embalžni material hranite zunaj dosega otrok.
Zaradi prekomerne toplote, ki se pojavi v načinužar in kombini-niranih načinih, bi morali otroci uporabljati te načine le pod nad-zoram odrasle osebe. - Izdelek in njegov napajalni kabel hranite tak, da ne bosta dostopna otrokom, mlajsim od 8 let.
- Hrane ne kuhajte neosredno na stekleni vrtljivi plošci. Hrano položite v/na ustrezne kuhinjske pripomočke, preden jih postavite v pečico.
- Med kuhanjem v mikrovalovni pečici niso dovoljene kovinske posode za hrano in pijaco. V nasprotnem primeru lahko pride do iskrenja.
- Mikrovalovne pečice ne smete postavljati v omaro, ki ni v skladu z navodili za namestitev.
- Mikrovalovna pečica je name-njena samo vgradni uporabi.
1 Pomembna varnostna in okoljska navodila
- Ce se vgradne naprave uporabljajo enako ali visje od 900 mm nad tlemi, pazite, da pri odstranjevanju posod iz napravene premaknete tudi vrtljivega cladnja.
- Ce je vgrajeni izdelek v omari z vrati, mora mikrovalovna pečica delovati pri odprith vratih omare.
1.2 Skladno z direktivo OEEO in direktivo o odstranjevanju opadnih naprav:
Ta naprava je skladna z direktivo EU OEEO (2012/19/EU). Ta izdelek nosi oznako klasifikaci-je za odpadno elektricno in elektronsko opremo (WEEE).

Ta oznaka pomeni, da ob koncu njegovzeivjenjske dobe tega izdelka ne smete odstranjevati skupaj z drugimi gospodinjskimi odpadki. Uporabljeno napravo je treba vrniti na uradno tocko za reci
kliranje elektricnih in elektronskih naprav. Za lokacije tehystemov za zbiranje se obnite na lokalne organe ali trgovca, kjer ste kupili izdelek. Vsako gospodinstvo ima pomembno vlogo pri obnovi in reciklaranju starih naprav. Primerno odlaganje rabjenih naprav pomaga preprečevati potencialne negativne posledice za okolje in cloveskovo zdravje.
1.3 Skladnost z direktivo RoHS
Izdelek, ki ste ga kupili, je skladen z direktivo EU RoHS (2011/65/EU). Ne vsebuje skodljivih in prepovedanih snovi, navedenih v direktivi.
1.4 Informacije o embalaži

Embalažni materiali izdelka so izdelani iz materialov, ki jih je mogoče reciklirati, v skladu z nacionalnimi predpis i okolju. Ne odlagajte embalăžnih materialov
skupaj z gospodinjskimi ali drugimi opadki. Peljite jih v zbirne centre za embalazo, pooblascene s strani lokalne uprave.
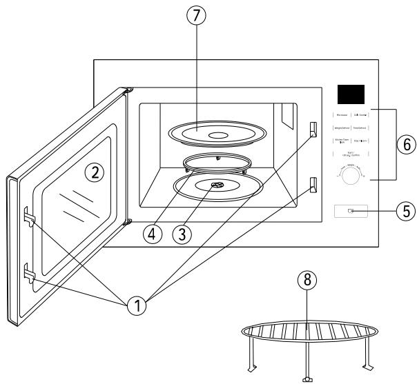
2.1 Pregled

- Sistem varnega zaklepanja vrat
- Steklo pečice
- Gred vrtljivega cladnja
- Podstavek vrtljivega pladinja
- Gumb za odpiranje vrat
- Upravljalna plošča
Mikrovalovi
- Zar / kombi
- Odtaljevanje teža
- OdtaljevanjeČas
- Casovnik, ura
- Ustavi / Pocisti
Zagon/+30sekund./Potrdi
- Čas / Teža / Samodejno ( potisni gumb )
- Stekleni pladenj
- Rešetka za Žar (ne sme se uporabljati pri načinu segrevanja z mikrovalovi in potrebno jo je postaviti na stekleni pladenj)
2.2. Tehnični podatki
| Nazivna moč | 230 V~50 Hz, 1270 W (mikrovalovi) 1000 W (žar) |
| moči | 800 W |
| Delovna frekvenca | 2450 MHz |
| Zunanje dimenzije (Vx Šx G) mm | 387x594x333 |
| Prostornina pečice | 20 litrov |
| Neto teža | 16,5 kg |
| Barva | črna |
Pravice do tehnichnih spremb in spremb oblikovanja so pridržane.
Oznake na napravi ali vrednosti, navedene v drugih dokumentih, prilozenih izdelku, so vrednosti, pridobljene v labororjskih pogojih v skladu z ustreznimi standardi. Te vrednosti se lahko razlikujejo glede na uporabo naprave in pogoje okolja. Vrednosti izhodne moci so preizkušene pri 230 V.
3.1 Navodila za namesitev
- Prosimo upostevajte posebna navodila za namestitev.
- Napravo Ilambda noamestite v 60 cm široko stensko omarico.
- Naprava je opremljena z vtičem in mora biti prikljucena samo na pravilno namesčeno ozemlieno vtičnico.
- Omrežna napetost mora ustrezati napetosti, naVEDeni na tipski plošćici.
- Samo usposobljen elektricar mora namestiti vticnico in zamenjati priključni kabel. Če po namestitvi vtic ni vec dostopen, mora biti na strani namestitve namešcena vsepolna odklopna naprava s kontaktno režo najmanj 3 mm.

OPOZORILO: Adapterjev, razdelilcev in podaljskov ne smete uporabljati. Preobremenitev lahko povzroci pozar.
3.2. Elektrčni priklop
- Naprava je opremljena z vtičem in mora biti prikljucena samo na pravilno namesčeno ozemlieno vtičnico.
- Samo usposobljen elektricar, ki upošteva ustrežne predpise, sme namestiti vtčnico ali zameniati prikliučni kabel.
- Ce po namestitvi vtic ni vec dostopen, mora biti na strani namestitve namescena vsepolna izolacijsko stikalo s kontaktno rezo najmanj 3 mm.
- Pri namestitvi je potrebno zagotoviti kontaktnogo zašcito.
3.3 Naprava v viseči stenski omari
Namestitveno ohišje ne sme imeti zadnje stene. Najmanjsa visina vgradnje: 850 mm. Prezračevalne reže in odprtine ne smejo bitiPokrite.
Deli;

Naprava v viseči stenski omari

3 Namestitev in priključitev
3.4 Naprava v talni omari
Namestitveno ohisje ne sme imeti zadnje stene.
Najmanjsha visina vgradnje: 850 mm. Prezračevalne
reze in odprintne smejo bitiPokrite.
Deli;

Naprava v talni omari

3.5 Namestitev pečice

3.6 Namestitev vrtljivega pladinja
- Nikoli ne postavljaje steklenega pladinja obrjenega na glavo. Steklenega pladinja nikoli ne smete omejiti.
- Med kuhanjem je treba vedno uporabljati stekleni pladenj in podstavek vrtljivega pladnja.
- Za kuhanje morajo bitiŽivila in posoda vedno postavljeni na stekleni pladenj.
- Če stekleni pladenj ali podstavek vrtljivega cladnja poči ali se zlomi, se obrnite na najblžji pooblašćeni servisni center.

4.1 Nadzorna plošča

Microwave
Grill / Combi.
Weight Defrost
Time Defrost
Kitchen Timer Clock
Stop / Clear
Ko se mikrovalovna pečica priključi,se na njej prikaže "0:00", zvočni signal enkrat zapiska. Mikrovalovna pečica preide v stanje Čakanja.
- Dvakrat pritisnite "Kitchen Timer/Clock" in ste-vilke za ure bodo zacele utripati.
- Obrnite "Time / Weight / Auto", da nastavite uro; vnesena vrednost naj bo med 0 in 23.
- Pritisnite "Kitchen Timer/Clock" in stevilke za minute bodo zaele utripati.
- Obrnite "Time / Weight / Auto", da nastavite minute; vnesena vrednost nj bo med 0 in 59.
- Pritisnite "Kitchen Timer/Clock", da zakljucite nastavitev. Simbol ". utripa, in ura bo svetila.

Če ura ni nastavljena, le ta ne deluje, ko priključite pečico.
4.3 Kuhanje z mikrovalovi
- Pritisnite tipko "Microwave" enkrat, in prikaže se "P100".
- Pritisnite tipko "Microwave" se enkrat in zavrtite "Time / Weight / Auto", da izberete zeeleno moč. Vsakič, ko pritsnete tipko, se po tem zaporedju prikaže, "P100", "P80", "P50", "P30" ali "P10".
- Pritisnite "Start/+30 Sec./Confirm", da potrdite Želeno moc.
- Obrnite "Time / Weight / Auto", , da nastavite Čas kuhanja na vrednost med 0:05 in 95:00.
5.Za začetak kuhanja znova pritisnite "Start/+30 Sec./Confirm". - Čas na zaslonu začne odševati.
- Po končanem postopku se zasliši zvočni signal "beep".
Koraki za preragoditev Časa so naslednji:
Tabela moči mikrovalov
| Nastavitev trajanja | Povečanje |
| 0-1 minuta | 5 sekund |
| 1-5 minut | 10 sekund |
| 5-10 minut | 30 sekund |
| 10-30 minut | 1 minuta |
| 30-95 minut | 5 minut |
| Mоč mikro-valov | Viso-ka | Sred-nje viso-ka | Sred-nje | Sred-nje Nizko | Niz-ko |
| Prikaz | P100 | P80 | P50 | P30 | P10 |
4.4 Žar ali kombinirano z mikrovalovi
- Enkrat pritisnite "Grill/Combi." in na zaslonu se prikaže "G".
- Večkrat pritisnite ali zavrtite "Time / Weight / Auto", da izbereteŽeleno moč, nazaslonu pa se prikažejo "G", "C-1" ali "C-2".
- Pritisnite "Start/+30Sec./Confirm", da potrditemoc.
- Za nastavitev Časa kuhanja zavrtite "Time / Weight / Auto". (Najdaljiši Čas kuhanja je 95 minut)
- Za začetek kuhanja znova pritisnite "Start/+30Sec./Confirm".
- Čas na zaslonu začne odševati.
- Po končanem postopku se zasliši zvočni signal "beep".
Napotek za kombinirano moč
| Program | Prikaz | Moč mik- rovalov | Močžara |
| Žar | G | 0% | 100% |
| Kombi.1 | C-1 | 55% | 45% |
| Kombi.2 | C-2 | 36% | 64% |

Če preteče polovico Časa pečenja na Žaru, pečica dvakrat zapiska, kar je normalno. Za boljši učinek pečenja hrane na Žaru obrnite hrano, zapri-te vrata in za nadaljevanje pečenja pritisnite "Start/+30Sec./Confirm". Če ne storite nic, pečica nadaljupe pečenje.
4.5 Odtaljevanje glide na težo
- Enkrat pritisnite "Weight Defrost" in na zaslunu se prikaže "dEF1".
- Za nastavitev tezeživila zavrte "Time / Weight / Auto". Razpon teze je 100-2000g.
- Za začetek odtaljevanja pritisnite "Start/+30Sec./Confirm".
- Ča na zaslonu začne odševati.
- Po končanem postopku se zasliši zvočni signal "beep".

Če preteče polovico Časa odtaljevanja, pečica dvakrat zapiska, kar je normalno. Za boljsi učinek odtaljevanja Živilo obrnite, zaprite vrata in za nadaljevanje pritisnite "Start/+30Sec./Confirm". Če ne storite nič, pečica nadalujupečenje.
4.6 Odtaljevanje glede naČas
- Enkrat pritisnite "Time Defrost" in na zaslonu se prikaže "dEF2".
- Za izbiro Časa kuhanja zavrtite “Time / Weight / Auto”. Najdaljši Čas je 95 minut.
- Za začetek odtaljevanja pritisnite "Start/+30Sec./Confirm".
- Ča na zaslonu začne odševati.
- Po končanem postopku se zasliši zvočni signal "beep".

Če preteče polovico Časa odtaljevanja, pečica dvakrat zapiska, kar je normalno. Za boljsi učinek odtaljevanja Živilo obrnite, zaprite vrata in za nadaljevanje pritisnite "Start/+30Sec./Confirm". Če ne storite nič, pečica nadalujupečenje.
4.7 Večstopenjsko kuhanje
Nastavljeni sta lahko Najvec 2 stopni. Ce se ena stopnja odtaljevanje, jo je treba samodejno postaviti v prvo stopnio. Po vsaki stopnio bo zvonec za-zvonil enkrat in začela se bo naslednja stopnio.

Samodejnga menija in hitrega kuhanja ni mogoče nastaviti kot večstopenjskega.
Primer: Zivilo zeilite odtajati v 5 minutah, nato ku-hati z 80% mikrovalovi 7 minut.
Koraki so naslednji:
- Enkrat pritsinite "Time Defrost" in na zaslonu se prikaže "dEF2".
- Za nastavitev odtaljevanja 5 minut zavrtile "Time / Weight / Auto";
- Enkrat pritisnite "Microwave" in na zaslonu se prikaže "P100".
4.Za izbiro moci mikrovalov večkrat pritsinite "Microwave", dokler se ne prikaže "P80"; - Za potrivatev pritisnite "Start/+30Sec./Confirm".
- Za nastavitev kihanja 7 minut zavrtile "Time / Weight / Auto";
- Za začetak kuhanja pritisnite "Start/+30Sec./ Confirm".
- Po končanem postopku se zasliši zvočni signal "beep".
4.8 Casovnik
-
Enkrat pritisnite "Kitchen Timer/Clock" in na za-slonu se prikaze " 00:00 ".
-
Za izbiro ustreznegа Časa zavrtite "Time / Weight / Auto". (Najdaljiš Čas kuhanja je 95 minut)
- Za potrditev pritisnite "Start/+30Sec./Confirm".
- Čas na zaslonu začne odševati.
- Po končanem postopku se zasliši zvočni signal "beep".
4.9 Meni Samodejno
- V stanju Čakanja zavrtite "Time / Weight / Auto" v desno, da izberete meni. Nazaslonu se prikaže "A 1".
- Za izhiro Želenega menija obrnite "Time / Weight / Auto" in nazaslonu se prikaze od "A 1" do "A 8".
3.Za potrditev menija pritisnite "Start/+30Sec./ Confirm". - Za izbiro teze zhivila zavrtite "Time / Weight / Auto".
- Za začetak kuhanja znova pritisnite "Start/+30Sec./Confirm".
- Čas na zaslonu začne odševati.
- Po končanem postopku se zasliši zvočni signal "beep".
Tabela za meni:
| Meni | Teža | Moč |
| A 1 - Pizza | 200 g | 100%(Mik.) |
| 400 g | ||
| A 2 - Meso | 250 g | 100%(Mik.) |
| 350 g | ||
| 450 g | ||
| A 3 - Zelenjava | 200 g | 100%(Mik.) |
| 300 g | ||
| 400 g | ||
| A 4 - Teste-nine | 50g (z 450g mrzle vode) | 80%(Mik.) |
| 100g (z 800g mrzle vode) | ||
| A 5 - Krompir | 200 g | 100%(Mik.) |
| 400 g | ||
| 600 g | ||
| A 6 - Riba | 250 g | 80%(Mik.) |
| 350 g | ||
| 450 g | ||
| A 7 - Pijača | 1 skodelica (priblžno 120ml) | 100%(Mik.) |
| 2 skodelici (priblžno 240ml) | ||
| 3 skodelice (priblžno 360ml) | ||
| A 8 - Kokice | 50 g | 100%(Mik.) |
| 100 g |
4.10 Hitro kuhanje
- V stanju Čakanja pritisnite tipko "Start/+30Sec./ Confirm", da 30 sekund kuhate s 100% močjo. Vsak pritisk na isto tipko poveča trajanje za 30 sekund. Najdaljši Čas kuhanja je 95 minut.
- Pri mikrovalovih, Žaru, kombiniranem kuhanju in odtaljevanju glede na Čas pritisnite "Start/+30Sec./Confirm", da podaljsate Čas kuhanja.
- Pri samodejnm meniju in odtaljevanju glede na tezo casa kuhanja ni mogoce povecati s pritiskom na "Start/+30Sec./Confirm".
- V stanju Čakanja zavrtite "Time / Weight / Auto" v levo, da izberete Čas kuhanja. Po nastavitvi Časa kuhanja pritisnite "Start/+30Sec./Confirm", da začnete kuhati z mikrovalovi s 100 močjo.
4.11 Varovalo za otroke
Zaklep: V stanju Čakanja za 3 sekunde pritisni-te "STOP/Clear", da zaklenete pečico in Če je Čas nastavljen, se prikažte trenutni Čas; v nasprotnem原則u se na zaslonu prikaže " -0".
Prekinitev zaklepa: V zaklenjenem stanju za 3 sekunde pritisnite "STOP/Clear" in osvobodili ste zaklep.
4.12 Funkcija Poizvedovanje
- Pri kuhanju z mikrovalovi ali zar in kombinacija. Pritisnite "Microwave" ali "Grill/Combi.", za 3 sekunde bo prikazana trenutna moč.
- Če je med kuhanjem nastavljena ura, pritisnite "Kitchen Timer/Clock", da preverite trenutni Čas. Prikazan bo 3 sekunde.
4.13 Specifikacja
- Ce sovrata med kuhanjem odprta, zapri-tevrata in za nadaljevanje kuhanja pritisnite "Start/+30Sec./Confirm".
- Ko je program kuhanja nastavljen, se "Start/+30Sec./Confirm" ne aktivira 1 minuto. Prikaže se trenutni šas. Nastavitev bo preklicana.
3.S pravilnim pritiskom se zašiši zvočni signal, v nasprotnem primeru se ne zašiši.
Naslednji dejavniki lahko vplivajo na rezultate kuhanja:
Razporeditev zivil
Debelejsa zivila poloztte proti zunanzi strani poso- de, tanjsa pa proti sredini in jih enakomerno razporedite. Ce je mogoce, jih ne prekrivajte.
Cas kuhanja
Zacnite kuhati s nastavitvijo za kratek cas, ocenite jo po izteku casa in jo podaljsajte glede na dejanske potrebe. Predolgo kuhanje lahko povzroci dim in opekline.
Enakomerno kuhanje hrane
Hrano, kot je piščanec, hamburger ali zrezek, nj bi med kuhanjem enkrat obrnili.
Odisno od hrane, med kuhanjem enkrat ali dvakrat premešajte od zunaj proti sredini posode
Pustite cas mirovanja
Po izteku ācasa kuhanja pustite hrano dovolj dolgo v pečici, na ta način omogocite, da se hrana «doku ha« in postopoma ohladi
Kdaj je hrana pripravljena za uživanje
Barva in trdota hrane pomagata ugotoviti, ali je hrana pripravljena, mednje spadajo:
- Para prihaja iz vseh delov hrane, ne samo z roba
- Kosti perutnine je mogoče enostavno premikati
- Svinjina ali perutnina nima nikjer sledi krvi
- Riba ni več prozorna in jo je mogoče enostavno narezati z vilicami
Zapeka Jedi
Ko uporabljate posodo za zapeko ali samo ogrevalno posodo, pod njo vedno položite na toploto odpornio izolacijo, kot je porcelanasti kroznik, da preprecite poškodbe steklenega cladna in vrtljivega obroča.
Plastica folija za mikrovalovno pečico
Ko kuhate zivila z visoko vsebnostjo mascob, vamplasticna folija za mikrovalovno peico preprecuje,da bi ta mascoba, ko se stopi, prisla v stik s hrano
Plastica posoda za mikrovalovno pečico
Nekateri plasticne posode za mikrovalovno peci co, morda niso primerne za kuhanje zivil z visoko vsebstoj maščob in sladkorja. Prav tak ne sme biti prekoračen cas predgrevanja, dolocen v navodilih za uporabo posode.
6 Smernice za pripomočke
6.1 Materiali, ki jih lahko uporabite v mikrovalovni pečici ali materiali, ki se jim morate izogniti

Nevarnost telesnih poškodb Vsa servisna dela in popravila morajo izvajati usposobljene osebe, zlasti kadar je pri popravilu treba snetiPokrov, ki varuje pred nevarnim mikrovalov-nim sevanjem.
Glejte navodila v poglavju "Materiali, ki jih lahko uporabite v mikrovalovni pečici ali materiali, ki se jim morate izogniti." Obstajajo lahko nekateri nekovinski pripomočki, ki jih ni varno uporabljati v mikrovalovni pečici. Če ste v dvomih, lahko posamezne pripomočke preskusite po naslednjem postopku.
Test pripomocka:
- V mikrovalovno pečico vstavite kozarec hladne vode (250 ml) in kos pribora, ki gaŽelite preskusiti.
- Segrevaje na njveci moci 1 minuto.
- Previdno potipajte kos pribora. Če je kos pribora vroč, ni primeren za uporabo v mikrovalovni pečici.
- Pečice pri preskušanju ne uporabljajte dlje kot 1 minuto.
6 Smernice za pripomočke
| Materiali, ki jih lahko uporabite v mikrovalovni pečici | |
| Pripomocki | Opombe |
| Aluminijasta folija | Samo zaščita Z majhnimi mehkimi koščki lahkoPokrijemo tanke dele mesa ali perut-nine, da preprečimo prekuhavanje. Če je folija preblizu sten pečice, se lahko pojavijo iskre. Folija mora bit od sten pečice oddaljena majmanj 2.5cm(1 inc). |
| Zapeka Jedi | Upoštevajte navodila proizvajalca. Dno posode za zapeko mora biti majmanj 5 mm(3/16 inca) nad vrtljivim pladnjem. Nepravilina uporaba lahko povzroči prelom vrtljivega pladnja. |
| Jedilni pribor | Dovoljeno za mikrovalovno pečico. Upoštevajte navodila proizvajalca. Ne uporablajte počěnegela ali odkrušenega pribora. |
| Stekleni kozarci | Vedno odstranitePokrov. Uporablajte samo za ogrevanje hrane, samo do toplega. Večina steklenih kozarcev ni odpoprnih na vročino in lahko počijo. |
| Steklena posoda | Samo steklena posoda odporna na vročino. Prepričajte se, da nima kovinske obloge, okraska. Ne uporablajte počěnegela ali odkrušenega pribora. |
| Vrečke za kuhanje v mi-krovalovni pečici | Upoštevajte navodila proizvajalca. Ne zapirajte s kovinsko Žičko. Naredite luknjice, da lahko para uhaja. |
| Papirnati krožniki in lonč-ki | Uporablajte samo za katkotrajno kuhanje/segrevanje. Med kuhanjem ne pušćajte pečice bred nadzora. |
| Papirnate brisače | Uporabite zaPokrivanje hrane pri pogrevanje in za vpijanje masčobe. Uporablajte samo za katkotrajno kuhanje in pod nadzoram. |
| Pergamentni papir | Uporabite kot prevleko za preprečevanje škropljenja ali za oblogo za paro. |
| Plastika | Dovoljeno za mikrovalovno pečico. Upoštevajte navodila proizvajalca. Oznaceno "Var-no za uporabo v mikrovalovni pečici". Nekatere plastične posode sezmehcajo, ko se hrana v njih segreje. "Vrečke za kuhanje" in tesno zapnte plastične vrečke je treba razrezati, preluknjati ali odzračevati kot je označeno na embalži. |
| Plastica folija | Dovoljeno za mikrovalovno pečico. Uporabite zaPokrivanje hrane med kuhanjem, da zadržite vlago. Pazite, da se plastična folija ne dotika hrane. |
| Termometri | Dovoljeno za mikrovalovno pečico (termometri za meso in slaščice). |
| Povoščeni papir | Uporabite kot prevleko za preprečevanje škropljenja in za zadrževanje vlage. |
| Materiali, ki se jim morate v mikrovalovni pečici izogniti | |
| Aluminijast pladenj | Lahko povzroči iskrenje. Hrano prenesite v posodo za mikrovalovno pečico. |
| Karton zaŽivila s ko-vinskim ročajem | Lahko povzroči iskrenje. Hrano prenesite v posodo za mikrovalovno pečico. |
| Kovinski in kovinsko okrašeni pripopomoči | Kovina ščitiŽivila pred mikrovalovi. Kovinske obloge lahko povzročijo iskrenje. |
| Kovinske zausučne vezi | Lahko povzroči iskrenje in povzroči požar v pečici. |
| Papirnate vrečke | Lahko povzroči požar v pečici. |
| Plastica pena | Plastica pena se lahko stopi ali onesnazi tekočino v notranjosti, Če je izpostavljena visoki temperaturi. |
| Les | Les se bo pri uporabi v mikrovalovni pečici izsušil in se lahko razcepji ali razpoka. |
7.1 Čiščenje
|  | OPOZORILO: Za Čiščenje naprave ne uporabljajte bencina, topil ali ab- razivnih Čistil, kovinskih predmetov ali trdih krtač. |
| ! | OPOZORILO: Naprave ali njenega napajalnegakabla nikoli ne potapljaje v vodo ali kakrsno koli drugo tekočino. |
- Izklopite napravo in jo izkljucite iz zidne vticnice.
- Počakajte, da se naprava popolnama ohladi.
- Naj bo notranjost pečice Čista. Ko se hrana ali razlita tekocina prilepi na stene pečice, obrišite z vlažno krpo. Če se pečica resnčno umaže, lahko uporabite blago Čistilno sredstvo. Izgobajte se uporabi razpršil in drugih agresivnih Čistilnih sredstev, saj lahko povzroćijo madeže in neprosojinost na povrsini vratc.
- Zunanje povrsine peice cistite z vlaznro krpo. Pazite, da ne pride do vdora vode v prezracevalne odprtine, da ne poškodujeteŽivih delov v notranjosti peice.
- Redno brišite obe strani vratc in steklo, tesnila vratc in dele v blizini tesnil z vlžno krpo, da odstranite madeže razlitja. Ne uporabljaje abrazivnih Čistilnih sredstev.
- Pazite, da se upravljalna plošča ne zmoči. Čistite samo z mehko, vlžnno krpo. Pustite vratca pečice odprta, da preprečite nenamerno delovanje med Čisčenjem upravljalne plošće.
- Če se znotraj ali okoli vratc pečice nabere para, jo obrišite z mehko krpo. Do tega lahko pride, ko mikrovalovna pečica deluje pod zelo VLCznimi pogoji. To je običajno.
- V nekaterih primerih boste morali odstraniti stekleni pladenj za ciscenje. Operite pladenj v topl milnici ali v pomivalnem stroju.
-
Ležajni obrč in dno pečice je treba redno Čistiti, da se izognemo pretiranemu hrupu.
-
Dovlj je, da spodnjo povrsino pečice obrišete z blagim Čistilnim sredstvom. Ležajni obroč lahko operete v topli milnici ali v pomivalnem stroju. Ko odstranite ležajni obroč iz notranjega dna pečice zaradi Čišcenja, bodite pozorni, da ga vrnete v pravilni položaj.
- Če Želite odstraniti neprijetne vonjave v pečici, vanjo postavite globoko posodo, ki je primerna za uporabo v mikrovalovni pečici, vanjo pa dajte kozarec vode, soka in limonin olupek ter pustite pečico delovati 5 minut v načinu mikrovalovne pečice. Nato pa obrišite do suhega z mehko krpo.
- Ko je treba zamenjati lučko pečice, se obrnite na pooblasčeni servis.
- Redno Čistite pečico in iz nje odstranjujte ostanke hrane. Če pečica ni Čista, lahko pride do napak na povrsini, ki lahko vplivajo naŽi-vljenjski cikel naprave in povzroćijo nevarna tveganja.
- Te naprave ne odlagajte skupaj z gospodinskimi odpadki; stare pečice je treba odpeljati na posebne zbirne centre, ki jih zagotovijo proizvajalci.
- Ko se mikrovalovna pečica uporablja v funkcijižara, lahko pride do majhne količine dima in vonja, ki po določenem Času uporabe izgine.
7.2 Shranjevanje
- Ce naprave ne Želite uporabljati dlje šasa, jo skrbno shranite.
- Prepričajte se, da je naprava izkljucena iz omrežja, ohlajena in popolnama suha.
- Napravo hranite na hladnem in suhem mestu.
- Napravo shranjujte izven dosega otrok.
7.3 Rokovanje in transport
- Med rokovanjem in prevozom prenašajte napravo v originalni embalazi.
- Embalaža napravo varuje pred fizčnimi poškodbami.
- Na napravo ali embalazo ne polagajte težkih bremen. Naprava se lahko poskoduje.
8 Odpravljanje težav
| Normalno | |
| Mikrovalovna pečica moti televizijski sprejem. | Delovanje mikrovalovne pečice lahko moti radijski in te-levizijski sprejem. To je podobnogo motnji, ko jo povzročijo mali elektrčni aparati, kot je mešalnik, sesalnik in elektrčni ventilator. To je obićajno. |
| Luč pečice je zatemnjena. | Pri kuhanju pri nizki moči mikrovalovne pečice je lahko luč pečice zatemnjena. To je obićajno. |
| Para se nabira na vratcih, iz zračnikov prihaja vroč zrak. | Med kuhanjem se lahko iz hrane dviga para. Većino pare bo izstopilo skozi zračnike. Nekaj pa se je lahko nabere na hladnem mestu, kot so vratca pečice. To je obićajno. |
| Pečica se je zagnala brez hrane. | Naprave ni dovoljeno uporabljati prazne. To je zelo ne-varno. |
| Težava | Možen vzrok | Rešitev |
| Pečice ni mogoče zagnati. | 1) Napajalni kabel ni pravilno priklopljen. | Izklopite iz omrežja. Počakajte 10 se-kund in ponovno priklopite. |
| 2) Varovalka je pregorela ali se je aktiviralo diferencialno stikalo. | Zamenjaje varovalko ali ponastavite diferencialno stikalo (popravljeno s strani strokovnega osebja našega podjetja). | |
| 3) Težava z vtičnico. | Testirajte vtičnico z drugimi elektrč-nimi napravami. | |
| Pečica ne segreva. | 4) Vrata niso pravilno zaphta. | Pravilno zaprite vrata. |
Molimo Vas, prvo pročitajte uputstvo za upotrebu!
Postovani korisnicke,
Zahvaljujemo Vam za kupovinu ovog Beko uredaja. Nadamo se da cete dobiti njolbe rezultate od svog uredaja, proizvedenog pomocu najsavremenije technologije visokog kvaliteta. Molimo Vas, pažljivo pročitajte celo uputstvo za upotrebu i sve prateće dokumente pre upotrebe uredaja i Čuvajte ga u slučaju da Vam zatreba ubuduće.
Ukoliko dajete uredaj nekom drugom, dajte i uputstvo za upotrebu uz uredaj. Postujte sva upozorenja i informacione iz uputstva.
Objasnjenesimbola
U uputstvu za upotrebu se koriste naredni symboli:
| i | Vžne informacije i korisni saveti za upotrebu. |
| ! | Upozorenje na opasnost poŽivot ili oštećenje imovine. |
| Upozorenje na vruće povrsine. | |
| Upozorenje na elektrčni udar. | |
| Upozorenje na opasnost od požara. |

6 Smernice za posude
Sigurnosni plastični omot za mikrovalnupecnicu
Kada kuhate hranu s velikim udjelom masnoce ne dozvolite da plastici ni omot dode u kontakt s hranom jer se moze otopiti
Plasticno posude koje se sigurno moze kori-stiti u mikrovaloj pecnici
Neko plasticno posude koje se moze sigurno koristiti u mikrovalnoj pecnici mozda nije prikladno za kuhanje hrane s velikim udjelom masnoce i šecera. Takožer, vrijeme zagrijavanja naznačeno u uputama posuda ne smije se premasiti.
Notice-Facile