TRAVELMATE 5742G - Portátil ACER - Manual de utilização gratuito
Encontre gratuitamente o manual do aparelho TRAVELMATE 5742G ACER em formato PDF.
Baixe as instruções para o seu Portátil em formato PDF gratuitamente! Encontre o seu manual TRAVELMATE 5742G - ACER e retome o controlo do seu dispositivo eletrónico. Nesta página estão publicados todos os documentos necessários para a utilização do seu dispositivo. TRAVELMATE 5742G da marca ACER.
MANUAL DE UTILIZADOR TRAVELMATE 5742G ACER
Manual Genétrico do Utilizador
Computador Portail Série TravelMate
Numero de Modelo:
Nombre de Serie:
Data de Compra:
Local de Aquisicao:
Informações relativas à sua segurarça e conforto
Instruções de segurança
Leia estemanual com atenção.Guarde thisdocumento para futuras consultas. Siga todas as advertências e instruções marcadas no produits.
Desligar o produit antes de limpar
Desligue este produit da.tomada de parede antes de limpa-lo. Não use produits delimpeza liquidos nem aerossós. Para limpeza,utilize um tecido humedecido com agua.
CUIDADO com a tomada ao desconectar do disposito
Siga as seguintes orientacoes ao conectar e disconnectar o aparecido na fonte de alimentacao:
Instale a fonte de alimentacao antes de conectar o cabo de alimentacao a tomada CA.
Desconecte o cabo de alimentacao antes de remover a fonte de alimentacao do computador.
Se o Sistema tiver variedas fontes de alimentacao,desconecte a alimentacao do,.
sistema retirando todos os cabos de alimentacao das respectivas fontes.
CUIDADO com Acessibilitad
Certifique-se de que a tomada em que conecta o cabo sera de fácilAceso e localizada o mais proximo possivel do operador do equipamento. quando precisar desconectar a alimentacao do equipamento, certificque-se deutar o cabo da tomada eletrica.
ATENÇA O à(s) proteçao(ões) de plástico incluías (apenas para determinados modelos)
O seu computador foi enviado com uma proteção plástica instalada nas ranhuras de cartões. Elas protegem os slots não usados contra poeira, objetos metálicos e outras partículas. Guarde as proteções para usar quando não houver cartões nas ranhuras.
CUIDADO a ter quando está a ouvir
Para proteger a sua audicao, siga estas instruções.
- Aumente o volume gradualmente até conseguir ouvir clara e comportavelmente.
- Nãoagate o;nivel de volume après os seuos ouvidos se terem ajustado.
- Não ouça música com volumes altos durante periodos de tempo alargados.
- Nãoagate o volume para bloquear um meio barulhento.
- Diminua o volume se não consiguiar ouvir as pessoas a falarem consigo.
iv
Avisos
- Não use este produits proxies de água.
- Não coloque este produit numa mesa, carrinho ou estante instável. Este produit pode cair e sofrer sérios danos.
- As ranhuras e aberturas existem para ventilação; para garantir uma operação fiavel do produto e para protegê-lo contra supraquecimento às aberturas não devem ser bloqueadas nem cobertas. As aberturas não devem nunca ser bloqueadas colocando este produto sobre uma cama,sofar, tapete ou outras superficie similar. Este produit não deve nunca ser colocado(PRximo ou sobre um aquecedor ou registrar de aquecimento,ou integrado numa instalação sem ventilação adequada.
- Nunca introduza objetivos de nenhum tipo nas ranhuras deste produits, eles podem tocar pontos de tensão perigosa ou colocar as peças em curto-circuito, o que pode provocar um incério ou什麽 eletrico. Nunca entorne liquidos de nenhum tipo no produits.
- Para fazer danos nos componentes internos e fugas na bateria, não colque o aparecido numa superficie oscélatura.
- Nunca use em condições esportivas, de exercício ou vibratórias, o que provavelmente causará curtos-circuitos inesperados ou danos aos dispositivos do rotor, HDD, unidade óptica e até mesmo exposicao ao risco da bateria de litio.
- A superficie inferior, as和地区 em torno das abertas de ventilacao e o adaptor da CA pode aquecer. Para fazer danos pessoasis, certifique-se que não entraram em contacto com a sua pele ou corpo.
- Seus dispositivo e seu aperfeicoamente podem conterPEGAs. Mantenha-as fora do alcance de criançasPEGas.
- Este produits deve ser alimentado com o tipo de alimentacao eletrica descriminado na etiqueta de markacao. Se nao tiver certeza do tipo de alimentacao disponivel, consulte o revendedor ou a companhia de energia electrica local.
- Não permita que nada se apoie no cabo de alimentação. Não coloque este produit onde outras pessoas possam calcar o cabo.
- Ao usar una extensão eléctrica com este produto, certificado-se de que a amperagem total dos equipamentos ligados não excede a tensão nominal da extensão. Certificado-se también de que a tensão total de todos os produits ligados à tomada da parede não excede a tensão do fusível.
-
Não ligue demasiados dispositivos a uma sé tomada elétrica, extensão elétrica ou tomada elétrica multipla, País poderá provocar uma sobrecarga. A energia total do Sistema não deva ultrapassar 80% da taxa do circuito de derivação. Ao utilizes uma extensão elétrica, a energia não deva ultrapassar 80% da potência de entrada da extensão.
-
O adaptor de CA este aparecido está equipado com uma ficha tripolar com conductor de terra. A ficha encaixa apenas em tomadas de electricidade ligadas à terra. Certifique-se de que a tomada de electricidade está ligada à terra de forma adequada antes de inserir a ficha do adaptor de CA. Não insira a ficha numa tomada de electricidade não ligada à terra. Consulte o seu electricista para obter informações mais detalhadas.

Atença! O pino de ligação à terra é uma característica de segurança. Utilizar uma tomada elétrica que não tenha uma ligação de terra adequada pode resultar emCHOque eletrico e/ou ferimentos pessoasis.

Nota: O pino de ligação à massa proporcióna también boa proteção em relacion ao ruidos inesperados provocados por dispositivos electricos proxies que possam interferir com o desempenho deste aparelho.
- O Sistema pode ser alimentado atraves de uma série de voltagens; 100 a 120 ou 220 a 240 V CA. O cabo de alimentação incluindo noSYSTEMA cumpre os requisitos para uso no pais/região quando o Sistema foi adquirido. Os cabos de alimentação para uso noutros paises/regiões terão de cumprir os requisitos para esse pais/região. Para mais informações sobre requisitos dos cabos de alimentação, contacte um revendedor ou fornecedor de serviços autorizzato.
Assistência ao produits
Não tente reparar este produto por siproprio,poisa a abertura ou a remoção das tampas poder expo-lo a pontos de tensao perigosa ou outros riscos. Todos os serviços de assistencia devem ser prestados por pessoal的技术ico qualificado.
Desligue este produit da tomada eletrica e entrega-o a pessoal de assistencia qualificado, nas seguntei condições:
- quando a ficha ou o cabo de alimentação estiver danificado ou descarnado.
Se algoql liquido entrar no produto.
Se o produto for exposto à chuva ou água.
Se o produto cair ou o seu exterior tiver sido danificado. - Se o produit demostrar uma perda de desempenho,indicando a necessidade de reparo.
- Se o produit não funciona normalmente quando as instruções de utilizesçao foram seguidas.

Nota: Ajuste apenas os controlos que está descritos nas instruções de utilizesçao, uma vez que o ajuste Incorrecto de outros controlos pode provocar danos que exijam trabalho especializzato por parte de um专业技术e qualificado para restaurar a condição normal do produits.
Suggestoes para utilizesao segura da bateria
Este portátil utilizes uma bateria de Lítio. Não o utilize num ambiente humido, molhado ou corrosivo. Não coloque, armazene ou deixe o seu produto numa ou perto de uma fonte de calor, num local de altas temperatas, em locais de forte exposação solar, numorno microondas ou num contentor pressurizado, e não o exponha a temperatas acima dos 60^ (140°F). O não seguir estas instruções pode provocar a fuga de acido na bateria, fique quente, expluda ou incendeie e provoque ferimentos e/ou danos. Não perfure, abra ou desmonte a bateria. Se a bateria tiver fugas, e tocar nos liquidos que sairam da bateria, passe porágua abundante e procure assistência médica. Por razões de segurarça, e para prolongar a duração da bateria, a cargo da bateria não deve ser efectuada a temperatas abaixo dos 0^ (32°F) ou acima dos 40^ (104°F).
A capacité total de una bateria nova é alcancada apenas aprèsdoes ou tres cicloos completos de energia e descarga. A bateria pode ser carregada e descarregada centenas de vezes, mas vai eventually perdendo a capacidade. quando o tempo de funcaoamento se tornar notoriamente mais curto que o normal, compre una bateria nova. Utilize apenas as baterias aprovasas, e recarregue a sua bateria apenas com os carregadores aprovados, designados para este dispositivo.
Utiliza as baterias apenas para os fins adequados. Nunca utilize um carregarador ou bateria que esteja avariado. Não faça curto circuito à bateria. Pode ocorro um curto circuito acidental quando um objecto metalico, tal como uma moeda, clipe ou caneta, provocam uma ligação directa dos terminais positivo (+) e negativo (-) da bateria. (Parecem faixas metalicas na bateria.) Isto pode acontecer, por exemplo, quando transporte uma bateria suplente o seu bolso ou saco. O curto circuitar os terminais pode danIFICAR a bateria ou o objecto de ligação.
A capacidade e duração da bateria sera diminuções se a bateria for deixada em locais quentes ou frios, tais como num carro fechado no Verão ou no Inverno. Tente sempre manter a bateria em temperatas entre 15^ e 25^ (59°F e 77^ ). Um dispositivo com uma bateria fria ou quente pode não funciona temporariamente, mesmo que a bateria está a completeness comemalmente correada. O desempinho da bateria é especialmente limitado em temperatas muito abaixo do zero.
Não coloque as baterias no lume, uma vez que pode explodir. As baterias también podem explodir se danificadas. Elimine as baterias de acordo com as normas locais. Recícle sempre que possível. Não as colque no lixo dométrico.
Os dispositivos sem fios podem ser susceptíveis a interferências das baterias, que podem afectar o desempenho.
Substituir a bateria
A série de computadores portáteis utilizes baterias de litio. Substitua a bateria por uma do mesmo tipo da que foi fornecida com o produto. A'utilização de outra bateria pode representar um risco de incência ou explosão.

Atença! As bacterias podem explodir se não forem manuseadas inadequamente. Não as desmonte nem as deite no fogo. Mantenha fora do alcance das crianças. Deite fora as bacterias usadascem prindo as regulamentoções locais.
Precauções a ter com a Unidade Óptica (apenas para determinados modelos)
Cuido: Este aparecido contentem umSYSTEMa laser e está classificado como um"PRODUTO LASER CLASSE 1". Caso tenha algo problema com este disposito, contacte o seu punto de service AutorizADO mais proxies. Para fazer exposicao directa ao feixe laser, não tente Abrir a tampa.
- Desligue sempre todas as linhas Telefonicas da tomada da parede antes de reparar ou desmontar este equipamento.
- Evite usar um téléphone (que não seja do tipo sem fios) durante uma tempestade. Podehavingorisico deuma descargaeléctricaproveniente de umraio.

Atença! Por razões de segurar, não utilize peças incompatíveis ao adionar ou Mudar componentes. Consulte o seu revendedor para conhecer as opções de compra.
Ambiente de operação

Aviso! Por razões de segurar, deslgue todos os dispositivos de transmissão de rádio ou sem fio ao usar seu laptop nas seguintes condições. Esses dispositivos podem incluar, mas não se limitam a: rede sem fio (WLAN), Bluetooth e/ou 3G.
Lembre-se de seguir todos os regulamentos especials em vigor em qualquer area e sempre desluegue seu dispositivo quando seu uso for proibido ou quando puder causar interferencia ou perigo. Use o dispositivo somente em suas posições normais de operação. Este dispositivo atende às orientações de exposão RF quando uso normalmente e ele e sua antenna são posicionados a pelo menos 1,5 centimetros (5/8 polegadas) de distança do corpo (veja a figura abaixo). Não deve contei metal e você deve disposicionar o dispositivo com a distência mentionada acima de seu corpo. Para transmitir arquivos de dados ou mensagens com successo, este dispositivo requer uma conexão de boa qualida com uma rede. Em algunos casos, a transmissão de arquivos de dados ou mensagens pode ser atrasada até que Hajía uma conexão disponível. Certificque-se de que as instruções quanto à distança de separação acima sejam seguidas até que a transmissão sera conclusa. Algumas peças do dispositivo são magnéticas. Materiais metalicos podem ser atraídos para o dispositivo e pessoal com aparelhos auditivos não devem segurar o dispositivo proximity ao ouvido. Não coloque cartões de credito ou outrasMZias de armazenagem magnéticas proximas ao dispositivo porque as informações armazenadas nelas podem ser apagadas.
A operação de qualquer equipamento transmissor de rádio, incluindo Telefonem sem fio pode interferir no functiónamento de dispositivos médicos inadequamente protegidos. Consulte um médico ou o fabricante do disposítivo para saber se eles sãoADEADAMENTE blindados contra energia de RF externa ou se tiver alguma dúvida. Desligue seu disposítivo em instalações hospitalares quando algoum regulamento évindo para tais和地区 instrui-lo a fazê-lo. Instalções hospitalares podem usar equipamentos sensíveis a transmissões externas de RF.
Marca-passos. Os fabricantes de marca-passos recomendam uma separação minima de 15,3 centímetros (6 polegadas) entre os dispositivos sem fio e um marca-passo para fazer possíveis interferências. Essas recomendações sãoconsistent com as pesquisas independentes e as recomendações da Pesquisa de Tecnologia Sem Fio. Pessoas que usam marca-passos deve fazer o seguito:
- Manter sempre o disposicao a mais de 15,3 centimetros (6 polegadas) de distancia do marka-passos.
- Não portar o disposítivo proxies ao marca-passo quando o disposítivo estiver ligado. Caso suspeite de interferência, deslgue o disposítivo e mude sua posicao.
Aparelhos auditivos. Alguns dispositivos digitais sem fio poder interferir em algoins aparelhos auditivos. Se ocorrre interferencia, consulta seu provedor de serviços.
Veículos
Os sinais RF podem afetar negativamente sistemas eletrônicos protegidos ou instalados de modo inadequado e veículos automotores como sistemas eletrônicos de injecção de combustível, sistemas eletrônicos de frenagem antiderrapagem (antibloqueio), sistemas eletrônicos de controle de velocidade e air bags. Para obter mais informações, verifique com o fabricante ou orepresentante do Vehicle sobre qualquer equipamento que tenha sido acrescentado. Somente pessoas qualificadas devem fazer manutençao no dispositivo ou instalá-LO em um Vehicle. A manutençao ou instalacao inadequada pode ser perigosa e pode invalidar qualquer garantia que se aplicque ao dispositivo. Verifique regularmente se todos os equipamentos sem fio de seu vehicle estao montados e operando corretamente. Não armazenem转运pe materiais explosivos, gases ou liquidos inflamáveis no mesmo compartmento do dispositivo, suas peças ou aperfeicoamenteos. Para veículos equipados com air bags, lambre-se que estes são inflados com maior forca. Não coloque objetivos, inclusive equipamentos sem fio portáei os instalados na area sobre o air bag ou na area de inflação do air bag. Se o equipamento sem fio estiver instalado inadequamente no vehicle o air bag se inflar, poder ocorrer graves lesoes. O uso do dispositivo durante o voo em uma aeronave é proibido. Desligue seu dispositivo antes de embarcar na aeronave. O uso de dispositivos sem fio em aeronaves pode ser perigoso para o funcimento do avião, para a rede de telephone sem fio e pode ser contra a lei.
Ambentes potencialmente explosivos
Desligue o seu dispositoivo em qualquer area com uma atmosalera potencialmente explosiva e obedeça a todos os sinais e instruções. As atmosaleras potencialmente explosivas incluem as和地区 em que normalmente é obligado a desligar o motor do seu carro. As faíças Nessas和地区 podem provocar uma explosão ou incêndio resultando ferimentos ou mesmo a morte. Desligue o seu portátil perto de bombas nos postos de abastecimento. Observe as restricções nautilização de equipamento rário em locais de combustível,和地区 de distribuição e armazenamento; instalações químicas, ou quando está adecorrer operações de dinamitização. As和地区 com atmosaleras potencialmente explosivas está normalmente, mas nem sempre, sinalizadas. Incluem abaix dos cones dos navios, instalações de transferência e armazenamento de químicos, veículos que utilizem gás de petróleo liquefeito (tal como o propano ou butano) e和地区 onde os ar contém químicos ou partículas tais como eles, poira ou metais em pó. Não ligue o portátil quando é proibida autilização de telefones sem fios, ou quando poder causar interferrências ou perigo.
Chamadas de emergência
Advertência: Você não pode fazer chamadas de emergência atravessem这是我 dispositivo. Para fazer uma chamada de emergência, você deve discordar em seu téléphone postal ou outras sistemas de chamadas Telefonicas.
Instruções de eliminação
Não deite ao lixo este disposito voelectronico quando pretender
desfazer-se dele. Para minimizar poluiao e garantir uma protecao
maxima do meio ambiente global, recicle, por favor. Para mais
informacoes relativas as regulamentoaes de residuos de
equipamento eletrico e electrico (WEEE) visite
http://www.acer-group.com/public/Sustainability/
sustainability01.htm.

Aconsehamento relativ a mercúrio
para projectores com lâmpadas ou produits electrónicos contaço um monitores ou ecran LCD/CRT sem retroiluminação LED: A(s) lâmpada(s) incluía;neste produit contentemmercúrio e delve ser reciclada ou destruía de acordo com as leis locais, estaduais ou federais. Para mais informações contacte a Aliança das Indústrias Electrónicas em www.eiae.org. Para obter mais informações acerca de eliminação de lâmpadas, consulte www.lamprecycle.org.

ENERGY STAR

ENERGY STAR
Os produits Acer com ENERGY STAR poupam-lhe dinheiro ao reduzir o custo de energia e protegendo o ambiente sem sacrificar functionalities ou desempenho. A Acer orgulha-se de.Oferecer acos tutti clients produits com a marca ENERGY STAR.
O que é a ENERGY STAR?
Produtos com ENERGY STAR realizam menos energia e evitam emissões de gases com efeito estufa ao cumprir rigoróras orientações de eficiência energetica definidas pela Agência de Proteção Ambiental dos E.U.A. A Acer dedica-se a.Oferecer Produtos e services pelo mundo inteiro que ajudem os pacientes a poupar dinheiro, energia, e a melhorar a qualida do nosso ambiente.Quanto mais energia pudermos poupar com mais eficiência energetica,mais consagemiremos reduzir a emissao de gases com efeito estufa e o risco de alteracoes climaticas Para mais informacoes consulte http://www.energystar.gov ou http://www.energystar.gov/powermanagement.
Produtos Acer com ENERGY STAR:
- Produzem menos calor e reduzem cargas de arrefecimento e climas quentes.
- Passam automaticamente para os modelos "suspensoro de ecra" e "suspensoro do computador" antes 10 e 30 minuots de inactividade, respectively.
- Desperte o computador do modo suspensa premindo o teclado ou mexendo no rato.
- Os computadores pouparão mais de 80% da energia no modo "suspensão".
A ENERGY STAR e a marca ENERGY STAR sãoscaras registadas dos E.U.A.
Suggestões e informações para uma utilização comfortavel
Após uso prolongado, os'utilidades de computadores podem queixar-se de faculdá ocular e direções de fazer. Os'utilidades podem tambem sofrer lesões corporais como conssequência da passagem de muitas horas seguides em fronte do computador. Longos periodos de trabalho, ma postura, maus hábitos de trabalho, stress, condições inadequadas do local de trabalho, saude pessoal e outros factores AUGmente me lembram o risco de lesões corporais.
A utilização Incorrecta do computador pode ter como consagemência a sindrome do canal caprico, tendinite, tenossinovite ou outras perturbações musculo-esqueleticas. Os sintomas que se seguem poderão aparecer nas muitos, pulsos, braços, ombros, pesço ou costas:
entorpecimento ou sensacao de queimadura ou formigueiro
- dor continua, sensibilitadou fragilidade
- dor报告显示,tumefacçao oulatejamento
rigidez ou tensao
- sensação localizada de frio ou fraqueza
Se possui"These sintomas, ou qualquer窗外 sensaço recorreve ou persistente deisko e/ou dor relacionada com autilização do computador, consulte imeditamente um médico e informe o département de saude e segurar da sua Empresa.
Encontrar a sua zona de comfortso
Encontre a sua zona de comfortso ajustando o angulo de visao do monitor, utilizing um descanso para os pés ou elevando a alta do seu assento para obter o maior comforto. Cumpra as seguintes sugestoes:
- não permanece uma mesma posicao por um periodo de tempo demasiado longo
evite curvar-se para arente e/ou inclinar-se paraTRS - levante-se regularamente eande para eliminar a tensiondo musculos das pernas
- forma(PC)as pausa para relaxar o pescoço e os ombros
- evite fazer tensão nos.mustulos ou encolher os ombros
- posiciono o monitor, o teclado e o rato de modo adequado e a uma distência comfortsamente
- se olha para o monitor mais do que para documentos fisicos, colque o monitor no centro da sua mesa para minimizar o esforço no pesço
Cuidados a ter com a sua visão
A visualização prolongada, o uso de óculos ou lentes de contacto não adequados, o brilho intenso, a luz em demasia, os ecranis mal iluminados, as letras demasiado preocupas e os monitores de baixo contraste podem provocar tensão ocular. As secções que se seguem fornecem sugestões sobre como reduzir a tensão ocular.
XII
Olhos
- Descanse os seu olhos com frequência.
- Faça intervalos regulares para descansar a visão afastando o olhar do monitor e focando num punto distante.
- Pisque os olhos com frequência para fazer que sequem.
Ecrã
- Mantenha o eça sempre limpo.
- Mantenha a suaCESSA a um nível mais alto do que a extremidade superior do ecran, de modo a que os seu olhos apontem ligeiramente para baixo ao olhar para o meio do ecran.
- Ajuste o;nivel de brilho e/ou contraste para um niven comfortavel de modo a melhorar a capacidade de leitura de texto e a claridade dos graficos.
-
Elimine o brinho excessivo e os reflexos:
-
colocando o écrã de modo a que a parte lateral fique virada para a janela ou para a fonte de luz
- minimizando a luz ambiente atraves de cortinas, persianas ou venezianas
- utilizesuma luz de secrearía
- mudando o ângulo de visão do ecra
-'utilizando um FILTER de reducao de brilho -
utilizes uma pala no eça, como um pedação de cartão posicionado na extremidade superior dianteira do monitor
-
Evite colocar o monitor num ângulo incómodo de visão.
- Evite olhar por longos periodos de tempo para fontes fortes de luz, tais como janelas abertas.
Desenvolver bons hábitos de trabalho
Habitue-se a Cumprir os seguições procedimentos para tornar a'utilização do computador mais relaxante e produtiva:
- Faça≦pequenosintervalosregulares.
- Execute algunos exercécios de alongamento.
- Respire ar fresco sempre que possível.
- Faça exercício regular e cuide da sua salute física.

Atença! Não é recomendável a utilizesçao do computador nosofar ou na cama. Se for inevitavel, travaile apenas durante poucoços periodos, faça intervalos regulares e execute algunos exercicios de alongamento.

Nota: Para mais informações, consulte "Avisos de seguranca e regulamentoacoes" na párgina 38.
Comecemos pelo原則
Gostaríamos de lhe agradecer por ter escolhido um computations portátil Acer para preencher as suas necessidades de computations molev.
Os seuis manuais
Para o幫助 a usar o seu computador portátil Acer, preparamos uma série de manuals:
Antes de mais, o cartaz Para principientes... ajuda-o a iniciar e a configurar o seucomputador.
O Manual Genétrico do utilizesdor da Série TravelMate contém informações úteis que se aplicam a todos os modelos da série de produits TravelMate. Abrange tópicos basics como a Acer eRecovery Management,utilização do teclado, audio, etc. Pedimos a sua compreensão para o facto de, pela sua natureza, o Manual Genétrico do Utilizador e o Manual do Utilizador AcerSystem (AcerSystem User Guide) abaix o mentionados referem-se occasionalmente a funções ou functionalidades apenas aplicáveis a determinados modelos da série, mas não necessariamente ao modelo específico que adquiriu. Estas situações aparecem marcadas no texto com referências como "apenas para determinados modelos".
O Guia rápido apareça as caractécticas e funções tíbasicas do seu novo computador. Para mais detalles sobre como o seu computador o pode fazer a ser mais produto, consulte o Manual do Utilizador AcerSystem (AcerSystem User Guide). Este manual contém informações pormenorizadas sobre temas como'utilírios doSYSTEM, recuperação de dados, opções de expansão e soluçao de problemas. Além disso, contenta informação da garantia e as regulamentações gerais e notas de segurança para o seu computador portátil. Não disponível no formato PDF (Portable Document Format) e vem já instalado no seu computador. Siga"These passos para o aceder:
1 Clique em Iniciar, Todos os programas, AcerSystem.
2 Clique em Manual do Utilizador AcerSystem (AcerSystem User Guide).

Note: É necessário instalar o Adobe Reader para visualizar o ficheiro. Se o Adobe Reader não estiver instalado no seu computador, ao fazer em Manual do Utilizador AcerSystem (AcerSystem User Guide) é executado o programa de instalação do Acrobat Reader. Siga as instruções do ereira para finalizar a instalação. Para obter instruções sobre como usar o Adobe Reader, às ao menu Ajuda e Suporte.
xiv
Cuidados Basics e sugestões para utiliser o computador
Ligar e desligar o computador
Para ligar o computadorISTA premir e libertar o botao de alimentacao que se encontra abaixo do ecranLCD, juno aes botoes de activacao rapiida.Consulte Guia rapiido para ficar a conhecer a localização deste botao de alimentacao.
Para desligar a alimentacao, execute uma das seguintes acções:
- Utilize o commando de encerramento do Windows
Clique em Iniciar e(before clique em Desligar.
Utilize o botao de alimentacao
Pode también colocar o computador em modo de suspensão pressionando a tecla de atalho de suspensão

Note: Se não for possível desligar o computador normalmente, prima e mantenha premido o botão de alimentação durante mais de quatro segundos para encERRR a computador. Se desligar o computador epretender voltar a ligá-lo, espere pelo menos dois segundos antes de efectuar a ligação.
- Não exponha o computador directamente à luz solar. Não colque o computador(PRóxico de fontes de calor, tais como radiadores.
- Não exponha o computador a temperadas inferiores a 0 °C (32 °F) ou superiores a 50 °C (122 °F).
- Não exponha o computador a Campos magnéticos.
- Não exponha o computador à chuva ouhumidade.
- Não entorneágua ou qualquer及其他 liquido sobre o computador.
- Não submeta o computador aCHOQUES ou VIBRAÇões fortes.
- Não exponha o computador a poeiras ou impurezas.
- Nunca colique objectos sobre o computador.
- Para evacitar danificar o monitor,cke-o com cuidado.
- Nunca coloque o computations sobre superficies irregularaes.
Aquí encontrará algumas instruções relatives aos problemas a ter com o adaptorador de CA (corrente alternada):
- Não lique o adaptor a outras dispositivo.
- Não pise no cabo de alimentação nem colque objectos pesados não mesmo. Com cuidado, encaminhe o cabo de alimentação, e todos os outros cabos, de forma a ficarem afastados de locais com tráfeço de pessoas.
Ao desligar o cabo de alimentacao, nao puxe pelo cabo mas sim pela ficha. - A amperagem total do equipamento ligado não deverá excesser a amperagem do cabo eletrico se for utilizeso um cabo de extensão. Além disso, a tensão nominal total de todos os equipamentos ligados a umaunjica tomada de parede não deve excesser a tensão do fusível.
Cuidados a ter com a bateria
Aquí encontrará algumas instruções relativas aos problemas a ter com a bateria:
- Para fins de substituição, utilize aspenas baterias do mesmo tipo. Desligue a alimentação antes de remover ou substituir as baterias.
- Não Manipule indevidamente as baterias. Mantenha-as fora do alcance das crianças.
- Deite fora as baterias usadas de acordo com as regulamentações locais. Recicle sempre que possível.
Para limpar e fazer a manutenção
A limpeza do computador deve obedecer aos seguintes passos:
1 Deslique o computador e retire a bateria.
2 Desligue o adaptor de CA.
3 Utilize um pano macio humedecido com agua. Não utilizeiros de limpeza liquidos ou em forma de aerossol.
Se surgir algoq dos problemas aqui referidos:
- Ocomputadorcaiu ou foi danificado.
- Ocomputador não funciona normalmente.
Consulte également "Perguntas freqentes" na páginá 33.
Informações relativas à sua segurarça e conforto
iii
Instruções de segurança iii
Precauções a ter com a Unidade Óptica
(apenas para determinados modelos) vii
Ambiente de operacao viii
Chamadas de emergência ix
Instruções de eliminação x
Aconsehamento relativ a mercúrio x
ENERGY STAR
Suggestoes e informacoes para umautilização comfortavel xi
Comecemoselo principal xiii
Os seuis manuais xiii
Cuidados Basics e sugestoes para utiliser o computador xiv
Ligar e desligar o computador xiv
Cuidados a ter com o computador xiv
Cuidados a ter com o adaptor de CA XV
Cuidados a ter com a bateria XV
Para limpar e fazer a manutenção xv
(com leitor de impressões digitais) 1
(com botões de duplo clique) 2
Teclas de bloqueio e teclado número integrado* 3
Teclas Windows 4
Áudio 5
Acer PureZone (apenas para determinados modelos) 5
Video 5
Ecrá 16:9 (apenas para determinados modelos) 5
Utilizar os'utilidades de sistemas 6
Acer Bio-Protection (apenas para determinados modelos) 6
Maximização da vida da bateria 14
Instalacao e remoicao da bateria 16
Carga da bateria 16
Verificaço da energia da bateria 16
Optimização da vida da bateria 17
Advertência de baixa carga da bateria 18
Levar o seucomputador porttil consigo 19
Preparacao do computador 19
O que levar para as reuniones 20
Levar o computador para casa 20
Preparacao do computador 20
O que levar consigo 21
Consideracoes especialis 21
Montar um escritório em casa 21
Viajar com o computador 22
Preparacao do computador 22
O que levar consigo 22
Consideracoes especialis 22
Viajar no estrangeiro com o computador 22
Preparacao do computador 22
O que levar consigo 23
Consideracoes especials 23
Segurarca do computador 24
Utilizar um fecho de segurarca para computador 24
Utilização de palavras-passe 24
Introduzirpalavras-passe 25
Definirpalavras-passe 25
Expandir através de opçôes 26
Opçoes de connectividade 26
Modem de fax/dados (apenas para determinados
modelos) 26
Funcao de rede incorpora da 27
Universal Serial Bus (USB) 27
Porta IEEE 1394 (apenas para determinados modelos) 28
apenas para determinados modelos) 28
ExpressCard (apenas para determinados modelos) 29
Instalacao de的记忆 30
Utilítaire BIOS 31
Sequência de inicialização 31
Activar recuperação disco-a-disco 31
Palavra-passe 31
Utilização do software 32
Reproducao de filmes em DVD 32
Perguntas freqentes 33
Pedir assistencia 36
Garantia Internacional de Viagem
Avisos de seguranca e regulamentoacoes 38
DECLARATION del FCC 38
Avisodomem (apenas para determinadosmodelos) 39
DECLARATIONo de pixeis do LCD 39
Aviso regulamente sobre dispositivo de raggio 39
Geral 39
O requisito de seguranca de radiofrequency da FCC 40
Caná – Dispositivos de radiocomunicação de baixa potência isentes de licença (RSS-210) 41
Exposicao de humanos ao Campos de radiofrequency
(RSS-102) 41
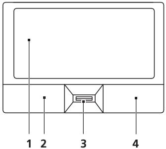
O touchpad (teclado tíctil) integrado é um disposítivo apontador sensível ao movimento na sua superficie. Isto significa que o cursor responde ao movimento do dedo do'utilizar ao tocar a superficie do teclado tíctil. A localização central no descanso de性和 proporción o máximo Fortress e apoio.
Principiosfundamentaisdo teclado táctil (comleitorde impressões digitais)
Os itens que se seguem mostram-lhe como usar o teclado tícal com o leitor de impressões digitais Acer Bio-Protection.
- Desloque o seu dedoPGA superficie do teclado tactil (1) para movimentar o cursor.
- Prima os botões esquerdo (2) e direito (4), situados na extremidade do teclado táctil, para efetuarunistões de seleção e de execuição. Estes Doyle botões são semelhantes aos botões esquerdo e direito de um rato. Tocar no teclado táctil equivale a fazer com o botão esquerdo.

| Função | Botão esquerdo (2) | Botão direito (4) | Teclado tícatil principal (1) | Botão central (3) |
| Executar | Clique vezes vezes rapidamente. | Toque quando às vezes (com a mesma velocidade com que faz duplo clique no botão do rato). | ||
| Selecionar | Clique uma vez. | Toque uma vez. | ||
| Arrastar | Faça clique e mantenha,deois arraste o cursor no teclado táctil com o dedo. | Toque quando às vezes (à mesma velocidade com que faz duplo clique no botão do rato) e no segundo quando mantenha o dedo no teclado táctil e arraste o cursor. | ||
| Aceder ao menu de(contexto | Clique uma vez. |
PrincipiosFundamentais do teclado táctil (com botões de duplo clique)
Os itens que se seguem demonstram o modo de'utilisation do teclado táctil com botões de duplo clique.
- Desloque o seu dedoPGA superficie do teclado tactil para movimentar o cursor.
- Prima os botões esquerdo e direito, situados na extremidade do teclado tíctil, para efetuar funções de seleção e de execuição. Estes são botões são semelhantes aos botões esquerdo e direito de um rato. Tocar no teclado tíctil equivale alicer com o botão esquerdo.
| Função | Botão esquerdo | Botão direito | Teclado tíctil principal |
| Executor | Clique两大 vezes rapidamente. | Toque两大 vezes (com a mesma velocidade com que faz duplo clique no botão do rato). | |
| Selecciónar | Clique uma vez. | Toque uma vez. | |
| Arrastar | Faça clique e mantenha, antes arraste o cursor no teclado tíctil com o dedo. | Toque两大 vezes (à mesma velocidade com que faz duplo clique no botão do rato) e no segundo toque mantenhao o dedo no teclado tíctil e arraste o cursor. | |
| Aceder ao menu de(contexto | Clique uma vez. |

Nota: As ilustrações são apenas uma referencia. A configuração exacta do seu PC depende do modelo adquirido.

Nota: Utilize o teclado tíctil apenas com os dedos secs e limpos. Mantenha o touchpad igualmente limpo e seco. O teclado tíctil é sensivel aos movimento dos dedos. Assim, quando mais leve for o toque, melhor sera a resposta. Tocar com demasiada para não AUGentará a capacidade de resposta do teclado tíctil.

Nota: Por defeito, está activada a navegacao vertical e horizontal no seu teclado taktil.Esta pode ser desactivada nas definições do Rato, no Painel de controlo do Windows.
Utilizar o teclado
O teclado possui teclas de tamanho normal e um teclado número integrado*, teclas separadas de cursor, debloqueio, do Windows, teclas especialis e de funcao.
| Tecla de bloqueio | Descrição |
| Caps Lock | quando Caps Lock está activo, todos os caracteres alfabeticos são digitados emLETAS maiúsculas. |
| Num Lock <Fn> + <F11>* | quando NumLk está activo, o teclado integralo entra em modo numérico. As teclas funçam como numa calculadora (com os operadores arrimétricos+, -, * e/). Use这种方式 quando precisar de escrever diversos dados numéricos. Uma soluções�还会 melhor seria ligar um teclado externo. |
| Scroll Lock <Fn> + <F12> | quando Scr Lk está activo, o conteúdo do eocr sboce e desce uma LINHA de cada vez, conforme as teclas direcionais (setas) foram premidas. Afunção Scr Lk não funciona comalgumas aplicações. |
O teclado número integrado funciona como o teclado número de desktop. É indicado porPEGueños caracteres situados no canto superior direito da superficie das teclas. Para simplificar a legenda do teclado, os síbolos das teclas de controlo do cursor não está impressos nas teclas.
| Acesso pretendido | NumLk activado | NumLk desactivado |
| Teclas numéricas no teclado integrado | Digite os números normalmente. | |
| Teclas de controlo do cursor no teclado integraldo. | Mantenha a tecla<↑> premida quando utilizes as teclas de controlo do cursor. | Mantenha a tecla<Fn> premida quando utilizes as teclas de controlo do cursor. |
| Teclas principales do teclado. | Mantenha a tecla<Fn> premida quando digitarLETAS no teclado integraldo. | Digite as letras normalmente. |
*anagan para determinados modelos
Teclas Windows
O teclado possui das teclas para funções especialicas do Windows.
| Tecla | Descrição |
| Tecla do Windows | quando premida por sisole, este tecla tem o mesmo efeito que fazer no botão Iniciar do Windows; abre o menu Iniciar. Pode也是非常 ser'utilizar em combinação com outras teclas para executar outras funções: |
| <→>: Abrir ou fechar o menu Iniciar | |
| <→> + <D>: Apresentar o ambiente de trabalho | |
| <→> + <E>: Abrir o Windows Explorer | |
| <→> + <F>: Procurar ficheiros ou pastas | |
| <→> + <G>: Percorrer os instrumentos da barra lateral | |
| <→> + <L>: Bloquear o computador (se estiver ligado a um domínio de rede) ou mudar de utilizescior (se não estiver ligado a um dominio de rede) | |
| <→> + <M>: Minimiza todas as janelas. | |
| <→> + <R>: Abre a caixa de dialogo Executar. | |
| <→> + <T>: Percorrer os programas presentes na barra de tarefas | |
| <→> + <U>: Abrir o Ease of Access Center | |
| <→> + <X>: Abrir o Windows Mobility Center | |
| <→> + <Break>: Abrir a caixa de dialogo de Propriedades do Sistema | |
| <→> + <↑+M>: Repor as janelas minimizadas no ambientede lavoro | |
| <→> + <K-→>: Percorrer os programas presentes na barra de tarefas atraves do Windows Flip 3-D | |
| <→> + <barra de espacços>: Trazer todos os instrumentos para arente e selecionar a barra lateral do Windows | |
| <Ctrl> + <→> + <F>: Procurar outros computadores (se estiver numa rede) | |
| <Ctrl> + <→> + <K-→>: Utilize as teclas de seta para percorrer os programas presentes na barra de tarefas atraves do Windows Flip 3-D | |
| Note: Consoante a sua edicao do Windows,agens atalhos poderao não functionar da forma descrita. | |
| Tecla de aplicacao | Esta tecla tem o mesmo efeito que fazer no botão direito do rato; abre o menu decontexto da aplicacao. |
Áudio
O computador possui也是非常 Áudio e altifalante(s) de Alta Definição (HD) 32-bit.
Acer PureZone (apenas para determinados modelos)
O Sistema proporcióna una experiencia de som totalmente inovadora e inclui o Acer PureZone com microfones estéreo integrados com technologías de formação de raios e cancelamento de eco. A Tecnologia Acer PureZone é compatível com a Tecnologia de Cancelamento de eco acústico, Formação de raios e Supressão de ruído para uma gravação pura de som. Para configurar o seu microfone, execute o Acer HD Audio Manager colocando两大 vezes no icone do Acer HD Audio Manager no tabuleiro doSYSTEMA do seu Windows. Abre-se a caixa de dialogo do Acer HD Audio Manager. Clique no separator Microfone edeois clique no Separator Efeitos do Microfone. SeLECTIONE Formação de raios e Cancelamento de eco acústico para definir oefeito do microfone.

Nota: Desactive a Formação de raios para obter a entrada de som de origens multiplas.
Védeo
Ecrã 16:9 (apenas para determinados modelos)
O érá 16:9 permite ver filmes em casa em alta definição total, como nunca antes visto. A elevada saturação de cor garante uma autêntica experiência de visualização em alta definição. A definição 16:9 significava que a优质的 visual digna dos ecran das cinema chega finalmente aos ecran dos computadores portáteis dos entusiastas deenetremento.
Utilizar os'utilidades de sistemas
Acer Bio-Protection (apenas para determinados modelos)
Acer Bio-Protection Fingerprint Solution (Solução de Bio-Proteção por Impressões Digitalis da Acer) é um software de leitura de impressões digitais integrado noSYSTEMA operativo Microsoft Windows. Atrasvês da exclusividade das impressões digitais de cada individuo, outilíttário Acer Bio-Protection Fingerprint Solution integra uma proteção contra o acesso não autorizzato ao seu computador via gestão centralizada de palavras-passe com Banco de Palavras-passe e execução rápida de aplicações/websites e iniciço de sessão com o Acer FingerLaunch.
Com o Acer Bio-Protection Fingerprint Solution (Solução de Bio-Proteção por Impressões Digitais da Acer), pode ahora desfrutar de uma nova proteção para o seu computador pessoal e de uma forma de acesso mais conveniente para as suas tarefas diárias com um simples toque!
Para mais informações, consulta os ficheiros de ajuda do Acer Bio-Protection.

Acer Backup Manager

Nota:Estamericanadesoestadisponivel emalgunsmodelos.
O Acer Backup Manager é um processo simple, em eles passos, que lhe permite Criar copias de segurarça de todo o seu Sistema ou ficheiros e pastas selecionadas, de acordo com um horário ou conforme necessitar.
Para iniciar o Acer Backup Manager, prima a tecla Acer Backup Manager acima do teclado. Como alternatively, pode ir a Iniciar > Todos os Programas > Acer Backup Manager > Acer Backup Manager. Isto irá partir o ecran de Boas-Vindas; deste ecran irá ser conducido por tres passos para configurar o agendaamento de copias de segurança. Clique em Continuar para fazer para fazer o segunte ecran. Clique no botão + e sina as instruções no ecran:
1 Selección o conteudo que deseja salvaguardar. Quanto menor for o conteudo selecionado, mais rápido sera o processo, mas aumento o risco de perda de dados.
2 Seleccione onde deseja armazenar as copias de seguranca. Irac necessitar de seleccionar una unidad externa,ou a sua unidad D: o Acer Backup Manager nao pode armazenar una copia de seguranca na unidad de origem.
3 Selezione com que frequência deseja que o Acer Backup Manager crie copias de segurança.
Se desejar alterar as suas definições a qualquer alta, execute o Acer Backup Manager a partir do menu Iniciar e siga os passos acima referidos.

Gestão de energia
Este computador tem uma unidade incorpORA para gestao de energia que monitoriza a atividade doSYSTEMA. A atividade do systema envolve qualquer um, ou mais, dos segunte dispositivos: teclado, rato, disco rigido, periféricos ligados as computador, e memoria de video. Caso nao sera detectada qualquer atividade durante um determinado periodo de tempo (chamado periodo de inactividade), o computador para eles ou todos these dispositivos para poupar energia.
Este computador utilizes um esquema de gestão de energia que suporta o Advanced Configuration and Power Interface (ACPI), o que permite uma conservação Tmaxima de energia e ao mesmo tempo um desempinho optimizado. O Windows gere todas as tarefas de economia de energia do computador.
Tecla Acer PowerSmart

Nota:Estamericanadesoestadisponivelemalgunsmodelos.
A teclar Acer PowerSmart utilize as caracteristicas de poupanca de energia do sub-sistema grmatico do seu computador para diminuir o consumo global de energia. Quando prime a tecla Acer PowerSmart, a luminosidade do ecra é reduzida, e o processor grmatico é colocado numa velocidade inferior; PCI e WLAN mudam para muitos de poupanca de energia. Prima a tecla Acer PowerSmart社会发展 para regressar às definições anteriores.
O Acer eRecovery Management é uma ferramenta para restaurar o Sistema com rapidez. Pode fazer copias de segurança/restaurar a imagem predefinida de fabrica e reinstalar aplicacoes e controladores.

Nota: O conteúdo que se segue deve apenas servir como referencia. As espécificações reais do produits podem variar.
O Acer eRecovery Management é constituído pelas seguintes funções:
1 Cópia de segurarça:
Criad Disco de Predefinições de Fábrica
Ciar Disco de Controladores e Aplicações
2 Restaure:
- Restaura Complemente o Sistema para as Predefinições de Fábrica
- Restaurar Sistema Operativo e Manter Dados de Utilizador
Reinstalar Controladores e Aplicações
Este capûtulo vai guiá-lo através este過程.

Nota:Esta funcionalidadesole estádisponivel emalgunsmodelos. Para sistemas sem gravador integrado de disco optico,ligue um gravador externode disco opticoanfteredentrar no Acer eRecovery Management pararealizar tarefas relacionadas com o disco optico.
Tem de configurar a Palavra-passe para usar a funcionalidade de protecao por palavra-passe do Acer eRecovery Management para proteger os seu dados. APALavra-passe é definida abrindo o Acer eRecovery Management e colocando em Definições.

Gravar disco com cópia de segurarça
A partir da páginá Cópia de Segurarca do Acer eRecovery Management, pode fazer cépias de segurarca da imagem predefinida de fabrica e das aplicações e controladores.
1 Clique em Iniciar, Todos os programas, Acer, AcerRecovery Management.
2 O Acer eRecovery Management abre a págnia Cópia de Segurarca.

3 SeLECTIONO o tipo de copia de segurarca (predefinição de fabrica ou controladores e aplicações) que gostaria de copiar para disco.
4 Siga as instruções que aparecem no érá para finalizar o processo.

Note: Crie uma imagem predefinida de fabrica quando pretendegravar um disco de arranque que contenha todo o systemap operativo do seu computador, tal como quando o computador lhefo entregue de fabrica. Sepretender ter um disco que lhe permitaprocurar os conteudos e instalar aplicacoes e controadoresselectionados, crie uma copia de seguranca dos controladores aplicações — este disco não sera de arranque.
Restaurant
A funcionalidade de restauro permite-lhe restaurar ou recuperar oSYSTEMA a partir de uma imagem predefinida de fabrica ou a partir de copias de segurar anteriormente criadas em CD ou DVD. Pode tambem reinstalar aplicacoes e controadores para o seuSYSTEMA Acer.
1 Clique em Iniciar, Todos os programas, Acer, Acer eRecovery Management.
2 Mude para a páginarestaurant,lickando em Restuarr.

3 Pode escolher restaurar o Sistema a partir de uma imagem predefinida de fábrica ou reinstalar aplicações e controladores.
4 Siga as instruções que aparecem no érá para finalizar o processo.
Para restaurar o Windows a partir dos seuis discos de copia de seguranca previamente executados, tera de insertir o primeiro disco de copia de seguranca e activar o Menu de Arranque F12 através do utilário de configuraçao do BIOS.
1 Ligue o computador e insira o primeiro disco de recuperação do Sistema na三位一体 de disco optico. Reinicao o computador
2 Durante o arranque, quando aparece o logólico Acer, prima a tecla F2 para entrada na Configuração do BIOS, quando pode configurar os parâmetros doSYSTEMA.
3 Utilize as setas para a esquerda e direita para selectionar o submenu Principal.
4 Utilize as setas para cima e para bajo para selectionar o Menu de Arranque F12.
5 Use as teclas F5 ou F6 para Mudar o Menu de Arranque F12 para Activo.
6 Prima a tecla ESC para entrada no submenu Sair, prima a tecla ENTER para Sair guardando as alteracoes. Prima novamente a tecla ENTER para seleccionar Sim. O Sistema sera reinicializzato.
7 Durante o arranque, quando aparece o logólico Acer, prima a tecla F12 para Abrir o Menu de Arranque. Aqui poderá selecciónar o dispositivo a partir de onde sera feito o arranque.
8 Use as setas para seleccionar o IDE1*, e(beforea prima a tecla ENTER. O Windows sera instalado a partir do disco de recuperacao.
9 Insira o segundo disco de recuperação quando este lhe for pedido edeois sigas as instruções que aparecem no eça para conclusir o processo de restauro.
10 Retire o disco de recuperacao da unidade optica logo que o restauro está conluido. Faça isto antes de reiniciar o computador.
Se preferir configurar a prioridade de arranque para utilizesao de longo prazo, deve selecionar o submenu Arranque.
1 Ligue o computador e insira o primeiro disco de recuperação do Sistema na unidade de disco optico. Reinicao o computador.
2 Durante o arranque, quando aparece o logólico Acer, prima a tecla F2 para entrada na Configuração do BIOS, ond pode configurar os parâmetros doSYSTEMA.
3 Utilize as setas para a esquerda e direita para seleccionar o submenu Arranque.
4 Utilize as setas para cima e para baixo para seleccionar o dispositovo IDE1.
5 Use a tecla F6 para mover o dispositorio IDE1 para a mais alta prioridade de arranque, ou use a tecla F5 para mover outros disposertos para uma prioridade de arranque mais baixa. Certifique-se de que o dispositorio IDE1* possui a prioridade mais elevada.
6 Prima a tecla ESC para entrada no submenu Sair, prima a tecla ENTER para Sair guardando as alteracoes. Prima novamente a tecla ENTER para seleccionar Sim. O Sistema sera reinicializzato.
7 Ao reinicializar, o Windows sera instalado a partir do disco de recuperacao.
8 Insira o segundo disco de recuperacao quando este lhe for pedido e depos siga as instruções que aparecem no ecran para conclusir o processo de restauro.
9 Retire o disco de recuperacao da unidade optica logo que o restauro esta conluido. Faça isto antes de reiniciar o computador.
Bateria
O computador utilizes uma bateria que proporciona uma'utilização duradoura entre corregamentos.
\section*{Characteristicas da Bateria}
A bateria possui as seguintes caractéristicas:
- utilizes padrões Tecnológicos atuais para baterias.
emite una advertencia de baixa carga.
A bateria é recarregada sempre que o computador é ligado ao adaptador de CA. Seu computador permitte recarregar a bateria quando continua a utilizes- lo. Entretanto, a recarga é significativamente mais rapiida quando o computador está desligado.
A bateria éutil ao utilizeo computador numa viagem ou durante umaque de energia eléctrica. Recomendamos que tenha, como reserva,uma bateria adicional totalmente carregada. Entre em contacto comseu revendedor para solicitar uma bateria adicional.
Maximização da vida da bateria
Assim como todas as baterias, a do seucomputador también se degrada com o tempo. Isto significa que o desempenso da bateria diminuiça com o tempo e o uso. Para maximizar a vida da sua bateria, sigas recomendacoes abaixo.
Antes de usar a bateria pulsa primeira vez, ha um processo de "condicionamento" que deve ser seguido:
1 Introduza a nova bateria no computador. Não ligue o computador.
2 Ligue o adaptador CA e corregue a bateria totalmente.
3 Desligue o adaptador CA.
4 Ligue o computador e utilize-o com a alimentacao da bateria.
5 Descarregue a bateria totalmente, até que a advertência de baixação carga apareça.
6 Volte a ligar o adaptor CA e recarregue a bateria totalmente.
Use this processo de condidacionamento para todas as baterias novas, ou se a bateria nao fou usa por muito tempo. Se o computador for ficar guardado por mais de das semanas, recomenda-se remove a bateria do mesmo.

Advertência: Não exponha as baterias a temperatas inferiores a 0^ (32°F) ou superiores a 45^ (113°F). Temperatas extremas podem prejudicar a bateria.
Seguido o processo de condicionamento da bateria, ela poderá aceitar a maiorça cargo possível. O não seguitoamento este procedimento impedirá que obtenha a maiorça cargo da bateria, àslem de encurtar sua vida-útil.
Além disto, a vida-útil da bateria é prejudicada pelos seguentes padrões de utilizesçao:
- Usar o computador constantly com a bateria instalada e a alimentacao CA ligada. Se desejar usar a alimentacao CA, recomenda-se remove a bateria(before que esteja totalmente carregada.
- Não descarregue nem recarregue a bateria acos seuos extremos, como descririto abaixo.
- Uso frequente; quando mais a bateria for usada, mais rápido ela chegará ao fim da vida-util. Uma bateria normal de computador tem uma durabilité de aproximamente 300 ciclos de cargo.
Instalacao e remoçao da bateria

Importante: Antes de remove a bateria do computador, ligue o adaptor CA se deseja continuar utilizes-o. Caso contrario, desligue o computador primeiro.
Para instalar a bateria:
1 Alinne a bateria com o compartmento; certifique-se de que a extremidade com contactos entre primeiro e que a parte superior da bateria esteja voltada para cima.
2 Deslize a bateria para dentro do compartmento e empurre-a suavamente até que fique travada na posicao correcta.
Para remove a bateria:
1 Deslize a trava para liberar a bateria.
2 Puxe a bateria para fora do compartmento.
Carga da bateria
Pararegarabateria, primeiro certificque-se de que esteja instalada correctamente no seu compartmento.Ligue o adaptador CA no computador e na tomada de energia elcctrica.Eposivelcontinuar autilizar o computador com alimentacaoCA enquanto abateria écarregada.Entretanto,a recarga esignificativamente mais rapiida quando o computador está desligado.


Nota: Recomenda-seregarar a bateriauponparardetrabalhar. Recarregarabateriaduranteana noiteanpestodevijarpermite-lhe quando o dia segunte com a bateria totalmentecarregada.
Verificaçao da energia da bateria
O indicator de energia do Windows indica o;nível de energia actual da bateria. Deixe o cursor sobre o icone de bateria/alimentacao na barra de tarefas para saber o;nível de energia actual da bateria.
Optimização da vida da bateria
Optimizar a vida da bateria ajuda a obter o maior da sua capacidade, augmentando o ciclo de energia/descarga e melhorando a eficiência de recarga. Recomenda-se seguir as sugestões abaixo:
adquira una bateria adicional
- use a alimentação CA sempre que possevel, reservando a bateria para utilizesao em viagens
- ejecte a Placa PC quando não estiver em uso, País ela consome energia para modelos seleccionados
- guarde a bateria num local frio e seco. A temperatura recomendada é de 10^ ( 50^ ) a 30^ ( 86^ ). Temperaturas mais altas aceleram a autodescarga da bateria
recarga excessiva diminui a vida da bateria
- cuide do adaptordo CA e da bateria
Advertência de baixa energia da bateria
Ao usar a energia da bateria, observe o indicator de energia do Windows.

Advertência: Ligue o adaptor da bateria. Pode fazer para dados se a bateria se esgotar completeness e o computador desligar.
Quando aparecer a advertência de baixa energia da bateria, a atitude a partir de dependecerá da sua situação:
| Situação | Acção Recomendada |
| O adaptor o adaptor CA e uma tomada eletrica está disponible. | 1. Ligue o adaptor o adaptor CA no computador e na tomada de energia elétrica. 2. Guarde todos os ficheiros necessários. 3. Retorne ao trabalho. Deslique o adaptor se desejar recarregar a bateria rapidamente. |
| Uma bateria adicional totalmente correduça está disponible. | 1. Guarde todos os ficheiros necessários. 2. Fate每一天 as aplicações. 3. Encerre oSYSTEMA operacional e desluge o adaptor. 4. Substitua a bateria. 5. Ligue o adaptor e returne ao trabalho. |
| O adaptor CA ou uma tomada eletrica não está disponible. Não há qualquer bateria reservava. | 1. Guarde todos os ficheiros necessários. 2. Fate每一天 as aplicações. 3. Encerre oSYSTEMA operacional e desluge o adaptor. |
Levar o seu computador portátil consigo
Este capitulo dá-lhe sugestões eDICAS sobre como se preparar quando viaja com o computador.
Para desligar o seu computador dos acessórios externos, siga os passos a seguir indicados:
1 Guarde os ficheiros abertos.
2 Remova qualquer item de媒介, disquete ou disco compaco da(s) unidade(s).
3 Encerre o computador.
4 Feche a cobertura do monitor.
5 Desligue o cabo eletrico do adaptordo CA.
6 Desligue o teclado, o dispositivo apontador, a impressora, o monitor externo e outros dispositivos externos.
7 Se estiver a utiliser una fechadura Kensington para proteger o seu computador, liberte-a.
Transporte
Quando vai apenas deslocar-se uma curta distância, como por exemplo, do seu escritório para uma sala de reunções.
Preparacao do computador
Antes de mover o computador, feche e travra a cobertura do monitor para colocá-lo no modo de Suspensorão. Pode ahora transporte com segurar o computador para qualquer parte dentro do edificio. Parautar o computador do modo de Suspensorão, abra o monitor e a seguir prima e solte o botão de alimentação.
Se levar o computador para o escritorio de um cliente ou para um edificio differente, pode desligar o computador:
Clique em Iniciar e(before clique em Desligar.
Ou
Pode pôr o computador no modo de Suspência premindo
Quando estiver preparado para usar o computador novamente, destrave e abra o ecra, e prima e solte o botão de alimentação.

Note: Se o indicator de Suspensorão estiver desligado, o computador entrou no modo de Hibernação desligou-se. Se o indicator de alimentação estiver desligado mas o indicator de Suspensorão estiver ligado, o computador entrou no modo de Suspensorão. Em eles os caos, prima e solte o botão de alimentação para voltar a ligar o computador. Tenha em atençao que o computador poderáentrar no modo de Hibernação se permanecer no modo de Suspensorão por algo tem tempo.
O que levar para as reuniones
Se a sua reunion for de curta duração, não precisará provavelmente de levar mais nada além do computador. Se a sua reunion for de mais longa duração, ou se a bateria não estiver totalmente carregada, está aconselhovel levar o adaptorador de CA para o poder ligar ao computador na sala de reunições.
Se a sala de reunições não tiver uma tomada elétrica, reduz o escoamento da bateria, colocando o computador no modo de Suspensorão. Prima
Levar o computador para casa
Quando transporte o computador do escritorio para casa ou vice-versa.
Preparacao do computador
- Verifique se retireu todos os itens de media e discos compactos da(s)三位一体(s). A não remoçao dos itens podera fazer danos naCESSA da unidade.
- Coloque o computador numa embalagem protectora que evite que o computador deslize, e acomode-o de forma a protege-lo em caso de queda.

Cuido: evite colocar objectos jusqu'à cobertura superior do computador. Exercer pressão contra a cobertura superior pode causar danos no ecra.
O que levar consigo
Se ainda não tiver em casa algunos dos seguentes itens, leve-os consigo:
- Adaptador de CA e cabo de alimentacao
- O Guia rápido impresso
- Minimize o efeito da oscilação de temperatura mantendo o computador sempre consigo.
- Se precisar de seDSPAR por um periodo de tempo alargado e não puder transportar o computador, deixe-o na mala do carro para fazer a sua exposicao a calor excessivo.
- As alteracoes de temperatura e de humidade poderao provocar condensacao. Deixe que o computador regresse a temperatura ambiente e verifique se existe condensacao no monitor antes de ligar o computador. Se a alteracao da temperatura for superior a 10^ (18°F),idepresso que o computador regresse lentamente a temperatura ambiente. Se possivel,idepresso computador durante 30 minutos num ambiente com uma temperatura intermedia entre a temperatura exterior e a interior.
Montar um escritório em casa
Se em casa trabalha no computador com frequência, talvez valha a pena adquirir um segundo adaptorado de CA para usar em casa. Evita assim o transporte de um peso adicional entre a casa e o local de trabalho.
Se em casa utilizar o computations por periodos de tempo significativos, poderá igualmente acrescentar um teclado externo, um monitor ou um rato.
Quando se desloca para locais mais distantes, por exemple, do seu escritório para o de um cliente, ou quando viaja localmente.
Preparacao do computador
Prepare o computador como faria para o levar para casa. Certificque-se de que a bateria do computador está carregada. A segurarca nos aeroportos podera exigir que ligue o seu computador quando o levar para a zona de embarque.
O que levar consigo
Faça-se acompanhar dos objectos a seguir indicados:
Adaptador de CA
- Baterias deresherva, totalmente carregadas
- Ficheiros de controladores de impressora adicional, se pretender usar另外一个 impressora
Para también das directrizes para o transporte do computador para casa, siga as abaixo indicadas para proteger o seu computador quando estiver em viagem:
- Transporte sempre o computador como bagagem de cabina.
- Se possível, submeta o computador a uma inspecção manual. As máquinas de raios-X para segurar do aeroporto são seguras, mas não passe o computador por um detector de metais.
- Evite a exposicao de disquetes a detectores portateursis de metais.
Viajar no estrangeiro com o computations
Preparacao do computador
Faça-se acompanhar dos objectos a seguir indicados:
Adaptador de CA
- Cabos de alimentação apropriados ao País de destino
- Baterias deresherva, totalmente carregadas
- Ficheiros de controladores de impressora adicional, se pretender utiliser窗外 impressora
Prova de compra, no caso de ter de a做不到 a functionarios da alfandega
Passaporte da garantia International Travelers Warranty
Siga as mesmas consideracoes especials realizadas quando transporte o computador em viagem. Para algo das consideracoes anteriores, as indicadasquiry poderao ser uteis em viagens ao estrangeiro:
- Quando viajar para outras País, verifique se a voltagem local da correrente alternada e as espécificações do cabo de alimentação do adaptor de CA são compatíveis. Caso não sejam compatíveis, adquirá um cabo de alimentação compatível com a voltagem local da correrente alternada. Não utilize kits de conversão vendidos para electrodométricos para alimentar a energia do seucomputador.
- Se utilizes o modem, verifie se existe compatuldade entre o modem e o conector e o Sistema de telecomunicações do País de destino.
Segurarca do computador
O seu computador é um investimento valioso de que necessita cidar. Aprendá como proteger e cidar do seu computador.
Os recursos de segurarca incluem bloqueiros de hardware e software — um cabo de segurarca e palavras-passe.
Utilizar um/DD de segurar para computador
O computador portál é fornecido com uma ranhura compatível com时间和 colocação de um cabo de segurar.
Enrole o cabo debloqueio de segurarca do computador em torno de um objecto imóvel, como uma mesa ou o puxador de uma gaveta fechada. Introduza o cabo de segurarca na ranhura e rode a chave para proteger o bloqueio. Não está disponívelis modelos sem chave.
Utilização dePALavras-passe
São utilizesOs trestipsodepalavra-passepara proteger ocomputadorde acesso não autorizzato.A definiço destaspalavras-passecriavariosniveisdifferentes de protecção para o seu computador e dados:
- A Palavra-passe de Supervisor (Supervisor Password) impede a entrada não autorizada no'utilário BIOS. Uma vez configurada, tera de registrar estaPALavra-passe para obter@açoutilheiro BIOS.Ver "Utilheiro BIOS" na pagina 31.
- A Palavra-passe do Utilizador (User Password) protege o computador contra uma utilização não autorizada. Combine a'utilisation de estaPALavra-passe com pontos de verificacao daPALavra-passe no arranque e reinicioapartir da hibernacao, para o maior de seguranca.
- A tPALavra-passedearranque (Password on Boot) protege o computador deunautilização não autorizada.Combineautilizaçãodestopalavra-passe com pontos de verificacao daPALavra-passeno arranque e reinicio a partir da hibernação,para o maior de seguranca.

Important! Não se esqueça da suaPALavra-passe! Se se esquecer daPALavra-passe,contacto o seu revendedor ou um centro de assistência Tecnica autorizzato.
Introduzir palavras-passe
Ao definir umaPALavra-passe,uma solicitação de entrada aparece no centro do eça.
- Ao definir aPALavra-passede supervisor, apareceuma solicitação de entrada ao premir < 2> para entrada noutilárioBIOSnainiciacao.
- Escreva aPALAVRA-passede supervisorepima
para aceder aoutilitarioBIOS.Se vocêdigitarasenhaincorrectamente,apareceuma mensagemdeadvertência.Tente novamenteeprima . - Quando a Palavra-passe de utilizes o definira e aPALavra-passo no arranque está activa, aparece uma solicitação de entrada no arranque.
- Escreva a Palavra-passe de'utilizar e prima
para usar o computador. Se você digitar a senha Incorrectamente, aparece uma mensagem de advertência. Tente novamente e prima .

Important! TemTRSopportunidades para introduzirumaPALAVRAPasse. Se introduzirapalavra-passecorrectamentedepos detrs tentativas, osistema para defuncionar. Prima e mantenhaobotao de alimentacao durante quatre segundos para desactivo orcomputador.DepoS,ligue novamente o computador e tenteoutra vez.
Definirpalavras-passe
Pode definirPALAVRAS-PASSATRAVESdoutilitarioBIOS.
Expandir através de opções
O seu computador portátil offerece-lhe uma completenesse molev de computação.
Opçoes de connectividade
As portas permitem ligar dispositivos periféricos ao computations tal como faria com um computations de secretaria. Para instruções sobre como ligar不同类型 dispositivos externos ao computations, leia a�� segunte.
O seu computador possui um fax/modem de dados V.92 de 56 Kbps incorporado. (apenas para determinados modelos)

Atença!Esta porta do modem não é compatível com linhas de téléphone digitais. Ligar o modem a uma LINHA de téléphone digital pode danIFICAR o modem.
Para usar a porta de fax/modem, ligne um cabo de téléphone da porta de modem a uma tomada de téléphone.


Atença! Certificque-se de que o cabo uso é apropriado para o País em que está a trabalho.
Função de rede incorpORA
A funcão de rede incorpORA permite-lhe ligar o seu computador a uma rede de base Ethernet.
Para usar o recurso de rede, ligue um cabo de Ethernet desde a porta de rede Ethernet (RJ-45) que se encontrar no chassis do computador, a uma tomada de rede ou ao hub da rede local.

Universal Serial Bus (USB)
A porta Universal Serial Bus (USB) 2.0 é um bus série de alta velocidade que permite ligar periféricos USB sem ter de recorrer a preciosos recursos doSYSTEM.

Porta IEEE 1394 (apenas para determinados modelos)
A porta IEEE 1394 do computador, permite-lhe ligar a dispositivos compatíveis com a norma IEEE 1394, tais comounistras de video ouunistras digitais. Para mais detalhes, consulte a documentação daunistra de video ou digital.

High-Definition Multimedia Interface (apenas para determinados modelos)
A HDMI (interface multimédia de alta definição) é uma interface audio/video totalmente digital, sem compressão, reconhecida pela indústria. A HDMI proportiona, com um cabounico, uma interface entre a fonte de audio/video digital compatível, como por exemplo uma caixa de configuração (set-top box), leitor de DVD ou receptor A/V, e um monitor de audio/video digital compatível, como por exemplo uma televisão digital (DTV).
Use a porta HDMI do seu computador para ligar a equipamentos Sofisticados de audio e video. A implementação de cabounico permite efectuar a instalacao e a ligaçao com rapidez efacilityade.

ExpressCard (apenas para determinados modelos)
O ExpressCard é a versão mais recente do cartão PC Card. É uma interface mais preocupa e mais rápida que optimiza a capacidade de utilizesçao e expansao do seu computador.
O ExpressCard suporta uma grande variedade de opções de expansão, incluindo adaptadores de cartões de memória flash, sintonizadores de TV, conecividade Bluetooth e adaptadores IEEE 1394B. O ExpressCard suporta aplicações USB 2.0 e PCI Express.

Important! Existemlotsisosde cartao,ExpressCard/54e ExpressCard/34(54mm e 34mm),cada um com differedes funções.Nem todas as ranhuras para ExpressCard suportam ambos ostips. Consulte o manual do cartao para obter pormenores acerca da instalacao,utilização e funçõesdo cartao.
Inserção de um ExpressCard
Insira o cartão na ranhura e empurre com cuidado até ouvir um clique, o que significica que o cartão está em posicao.

Ejecção de um ExpressCard
Antes de ejectar um ExpressCard:
1 Saia da aplicação que está a usar o cartão.
2 Clique com o botão esquerdo do rato no icone de remoçao de hardware na barra de tarefas e interrompa o functimento do cartão.
3 Com cuidado, empurre o cartão para dentro da ranhura e solte, de modo a que o cartão saia. A seguir, puxe o cartão para fora da ranhura.
Instalacao de的记忆
Para instalar的记忆, siga os passos tão como:
1 Desligue o computador, desligue o adaptor d CA da tomada (se estiver ligado) e remove a bateria. Em seguida, vire o computador para poder ter accesso à respectiva base.
2 Remova o parafuso da cobertura da memória; em seguida, levante e remove a cobertura.
3 (a) Introduza o modulo de的记忆 na diagonal na ranhura e, après, (b) exerça uma ligeira pressão até ouvir um poucoeno estalido.

4 Substitua a cobertura da memória e fixe-a com o parafuso.
5 Volte a instalar a bateria e a ligar o adaptor de CA.
6 Ligue o computador.
O computador detecta e configura de novo automaticamente a dimenso total da memória. Consulte um专业技术 qualificado ou entre em contacto com seu revendedor Acer.
Utilítaire BIOS
O'utilárioBIOS é um programa de configuraçao de hardware integrado no Sistema Básico de Input/Output (Basic Input/Output System -BIOS) do computador.
O computador está devidamente configurado e optimizado por isto não é necessário executar este'utilário. Contudo, se surgirem problemas de configuração, possivelmente tera de executar o programa.
Para activar o'utilário BIOS, prima
Sequência de inicialização
Para definir a sequência de inicialização no'utilário BIOS, active-o e depois seleção Boot a partir das categorias listedas na parte superior do écra.
Activar recuperação disco-a-disco
Para activating a recuperação disco-a-disco (recuperação do disco rígido), active outilétrico BIOS e,deois, seleção Main a partir das categorias listadas na parte superior do ecra. Localize D2D Recovery na parte inferior do ecra e use as teclas < F5> e < F6> para definir este valor como Enabled.
Palavra-passe
Para definir umaPALavra-passedeinitialização,activeouutilárioBIOS,e deposis selecioneSecurityapartirdascategoriaslistadasna parte superiordoecra. LocalizePassword on boot:euseas teclas
Utilização do software
Reproducao de filmes em DVD

Nota:Estamericanadesoestadisponivelemalgunsmodelos.
Quando o[móulo da uniónde DVD está instalado no compartmento da uniónde optica, pode ver filmes DVD no seu computador.
1 Ejecte o tabuleiro da unidade de DVD e introduza um disco de这部电影 em DVD; em seguida, feche o tabuleiro do DVD.

Important! Quando o leitor de DVD é iniciado pela primaira vez, o programa Solicita a introdução do)córgido da região. Os discos DVD está divididos em 6 regiões. Quando a unidade DVD estiver definida com um)córgido de região, reproduzirá discos em DVD apenas dessa região. Pode configurar o)córgido da região no maior cinco vezes (incluindo a primaira vez). Depois disso, oultimate)córgido de região ficará permanente. Recuperar o disco rígido não repoê e número de vezes que o)córgido da região foi instalado.Consulta aanela a seguir aparecada para obter informações acerca do)córgido de região para filmes em DVD.
2 Após algunos segundos, o这部电影 en DVD inicia-se automaticamente.
| Código da região | País ou região |
| 1 | E.U.A., Canadá |
| 2 | Europa, Médio Oriente, África do Sul, Japão |
| 3 | Sudeste Asiácico, Taiwan, Coreia do Sul |
| 4 | América Latina, Austrália, Nova Zelândia |
| 5 | PaíSES da antiga U.R.S.S.,agems paíSES africanos,Índia |
| 6 | Republica Popular da China |

Nota: Para alterar o documento da região, introduza um cine m em DVD de uma região diferente na unidade de DVD. Consulta a ajuda online para obter mais informacoes.
Perguntas freqentes
A lista que se segue é relativa a situações que podem ocorro durante a utilização do computador. São fornecidas soluções háceis para cada uma das situações.
Liguei o botão de alimentação, mas o computador não arrancanem inicializa.
Observe o indicator de alimentacao:
-
Se não estiver aceso, o computador está sem alimentação. Verifique o seguido:
-
Se o computations estiver a functionar atraves da bateria, esta poderá estar fracca e não ser capaz de alimentar o computations. Ligue o adaptador de CA para recarregar a bateria.
- Certifique-se de que o adaptorador de CA está devidamente ligado ao computador e à corrente electrica.
- há algouma disquete que não seja de inicialização (não doSYSTEMA) na unidade USB externa? Remova-a ou substitua-a por uma disquete doSYSTEMA e prima <Ctrl> + <Alt> + <Del> para reinicializar oSYSTEMA.
Não aparece nada no ecra.
O Sistema de gestão de energia do computador apaga automaticamente o érá para poupar energia. Prima uma tecla qualquer para ligar novamente o érá.
Se ao premir uma tecla o écran não voltar ao normal,也是如此 dever-se a uma destas tãoças:
- O;nivel de brilho pode estar demasiado baixo. Prima <Fn> + <P> (aumentar) paraaabstur o;niveldebrilho.
- O disposicao de visualizacao podera estar ajustado para um monitor externo. Prima a tecla de atalho de comutatione de visualizacao F_n + F5 para repor a visualizacao para o computador.
- Se o indicator de Suspensorão estiver aceso, o computador está no modo de Suspensorão. Prima e solte o botão de alimentação para retomar.
Não há saída de audio do computador.
Verifique o seguin:
- O volume pode estar desligado. Observe o icone de controlo de volume (altifalante) na barra de tarefas do Windows. Se estiver marcado, clique no icone e anule a selecao da opcao Tudo sem som.
- Observe o icone de controlo de volume (altifalante) na barra de tarefas do Windows. Pode también usar a roda de controlo de volume ou os botões de controlo do volume para regular o volume.
- Se auscultadores, auriculares ou altifalantes externos estiverem ligados à porta de saída do computador, os altifalantes internos são desligados automaticamente.
Pretendo ejectar o tabuleiro da unidade óptica sem ligar a alimentação.
Existe um orificio para ejectao mecancia na unidade optica. Basta introduzir a ponta de una esferografica ou clip no orificio e empurrar para ejectar o tabuleiro.
O teclado não responde.
Experimente ligar um teclado externo a uma porta USB do computador. Se funciona, contacte o seu revendedor ou um centro de assistência técnica autorizzato, uma vez que o cabo do teclado interno pode estar solto.
A impressora não funciona.
Verifique o seguinete:
- Certifique-se de que a impressora está connectada a uma tomada elétrica e que está ligada (On).
- Certifique-se de que o cabo da impressora estáfirmamente ligado na porta paralela do computador ou porta USB e a porta correspondente na impressora.
Quero report as definições originais no meucomputador sem o CD de recuperação.

Nota: Se a versão do seuSYSTEME de diversos idiomas, o systemap operativo e o idioma que selecionar ao ligar oSYSTEMA peloprimeira vez serao as unicas opções para futuras operações derecuperação.
Este processo de recuperacao ajuda-lo-á a recuperar a unidade C: com o conteudo original do software que está instalado quando adquiriu o seu computador portafil. Siga os passos abaix para reconfigurar a unidade C.: (A unidade C: sera reformata e todos os dados seront eliminados.) É importante fazer copias de seguranca de todos os ficheiros de dados antes de utilizescereste opcao.
Antes de executar uma operação de restauro, verifique as definições da BIOS.
1 Verifique se a funcao Acer disk-to-disk recovery está activada ou nao.
2 Certificque-se de que a definição D2D Recovery em Main está Enabled (activada).
3 Saia do utilário BIOS e guarde as alterações. O Sistema sera reinicializzato.

Nota: Para activar o'utilário BIOS, prima
Para iniciar o processo de recuperação:
1 Reinitialize oSYSTEMA.
2 Enquanto estiver a ser exibido o logólico da Acer, prima
3 Consulte as instruções no érá para executar a recuperação doSYSTEMA.

Important!Esta funcionalidade ocupa 15 GB numa particao oculta do seu disco rigo.
Pedir assistência
Garantia Internacional de Viagem (International Travelers Warranty; ITW)
O seucomputador está protegido por una Garantia Internacional de Viagem (ITW) que proportionacsegurarca e tranquilidade ao viajar. A)nossa rede mundial decentros de assistencia的技术icaexistepara o幫助 sempreque necessario.
O computador vem acontecido de um passaporte ITW. Este passaporte contém todas as informações necessarias acerca do programa ITW. Neste guia pratico encontrará uma lista com oscentros de assistência técnica autorizados. Leia atentamente este passaporte.
Tenha sempre à fazer passaporte ITW, especialmente ao viajar, para poder desfrutar dasvantagens dos nossoescentros de assistencia. Coloque a prova de comprado equipamento no bolso localizo na cobertura frontal do passaporte ITW.
Se o País de destino não tiver um centro de assistência Tecnica ITW autorizzato pela Acer, poderá contactar qualquer uma das nosas agencies em todo ou mundo. Para mais informações, visite http://global.acer.com.
Antes de Telefonar
Tenha muito de si as seguintes informações quando Telefonar para o服务于 online da Acer, e tenha o computador a funcional. Como o seu apoio, podemos reduzir a duração da chamada e ajudá-lo a resolver os problemas de uma forma eficaz. Se o seu computador emitir mensagens deerro ou sinais sonoros, anoteos no momento em que surgirem no ecra (ou o número e a sequência no caso dos sinais sonoros).
São-lhe solicitadas as informações seguentes:
Nome:
Endereço:
Número de téléphone:
Máquina e tipo de modelo:
Número de série:
Data da aquisicao:
Resolução de problemas
Este capûtulo oferece instruções sobre como proceder perante a existência de problemas comuns doSYSTEMA. Se surgir um problema, leia o tópico respectivo antes de chamar um técnico. Para SOLUTIONAR problemas mais graves é necessário abrir o fornçador. Não tente abrir o fornçador sem a ajuda de um técnico. Contacte o seu revendedor ou um centro de assistência autorizzato.
Suggestoes para a resolucao de problemas
Este computador portátil incorpora um design avançado que apareça no ecranétrelatorios relativos a mensagens deerro, de forma a ajudá-lo a resolver osproblemas.
Se o Sistema reportar uma mensagem de erro ou se verificar a correção de um sintoma de erro, consulte "Mensagens de erro", adiante. Se não consiguiresolver o problema, contacte o seu revendedor. Ver "Pedir assistência" na págnica 36.
Mensagens deerro
Se receber uma mensagem deerro, tomenota da mensagem eadopte a accao correctiva adequada.A tabela segunte lista as mensagens deerro por ordem alfabettica,juntamente comacao correctiva recomendada.
| Mensagens deerro | Acção correctiva |
| CMOSbattery bad | Contacte o seu revendedor ou um centro de assistência autorizada. |
| CMOS checksum error | Contacte o seu revendedor ou um centro de assistência autorizada. |
| Disk boot failure | Introduza uma disquete doSYSTEMA (de arranque) naança de disquete (A:), e de seguida primarya reinaizalizar. |
| Equipment configuration error | Prima<FO>(durante a operação POST) para aceder aoutilitário BLOSE, de seguida, primarya Exit no'utilário BLOSpara reinaizalizar. |
| Hard disk 0 error | Contacte o seu revendedor ou um centro de assistência autorizada. |
| Hard disk 0 extended type error | Contacte o seu revendedor ou um centro de assistência autorizada. |
| I/O parity error | Contacte o seu revendedor ou um centro de assistência autorizada. |
| Keyboard error or nokeyboard connected | Contacte o seu revendedor ou um centro de assistência autorizada. |
| Keyboard interface error | Contacte o seu revendedor ou um centro de assistência autorizada. |
| Memory size mismatch | Prima<F2>(durante a operação POST) para aceder aoutilitário BIOS e, de seguida, primarya Exit no'utilário BIOSpara reinaizalizar. |
Se Continuing a ter problemas après adoptar as medidas correctivas, contacte o seu revendedor ou um centro de assistencia autorizzato para obter ajuda. Alguns problemas podem ser resolvidos atraves do'utilario BIOS.
Avisos de seguranca e regulamentoacoes
DECLARATION del FCC
Este dispositivo foi testado e cumpre os limites de um dispositivo digital Classe B, de acordo com a Parte 15 das normas FCC. Estes limites foram estipulados para Oferecer proteção razoável contra interferências prejudiciais numa instalação residencial. Este dispositivo gera, usa e pode irradiar energia de radiofrequência e, se não instalado e utilizesde acordo com as instruções, pode provocar interFERências prejudiciais às radiocomunicações.
Entretanto, não há garantia de que a interferência não pode ocorro numa instalação em particular. Se este dispositivo causar interferências prejudicials à receção de rádio ou televisão, o que pode ser determinado desligando e ligando o dispositivo, ou utilizes de tentar corrigir a interferência através de uma ou mais das seguides medidas:
Reorientar ou reposicionar a antenna receptora.
- Aumentar a distência entre o disposicao e o receptor.
- Ligar o dispositorio a uma tomada num circuito diferente daquele utilizado pelo receptor.
- Consultar o revendedor ou um专业技术o de rado/televisione experiente para obter assistencia.
Aviso: Cabos blindados
Todas as ligações a outros dispositivos computaciones devem ser feitas using cabos blindados para manter o cumprimento das normas FCC.
Aviso: Dispositivos periféricos
Apenas periféricos (dispositivos de entrada/saida, terminais, impressoras etc.) certificados no cumprimento dos limites da Classe B podem ser ligados a este equipamento. A operação de periféricos não-certificados resultará provavelmente em interferências à receção de rádio e televisão.
Cuido
Alteracoes ou Mudicasoes não expressamente aprovasao pelo fabricante podem anular a autoridade do usoar em operar este computador, o que é garantido pela Comissao Federal de Comunicações.
Avisos do modem (apenas para determinados modelos)
TBR 21
Este equipamento foi aprovado [Decisão do Conselho 98/482/EC - "TBR 21"] para ligação de terminal umico à Rede Telefonica Pública (PSTN). No entanto, devido a diferências entre as PSTN individuais existentes em cada pais, a aprovação não representa por si soit uma garantia incondicional de bom funciona em todos os pontos de ligação PSTN. Em caso de correência de problemas, deve contactar primeiro o fornecedor do seu equipoamento. Para mais informações sobre paises aplicáveis, consulte "Avisos de segurar e regulamentações" na págnina 38.
Declaração de pixéis do LCD
A unidade de LCD é produzida com tecnicas de fabricação de alta precisão. No entanto, algunos pixiéis podem apagar ou aparecer como pontos pretos ou vermelhos. Isto não tem efeito sobre a imagem registrala e não constitui um defeito.
Aviso regulamente sobre dispositivo de rádio

Nota: As informações reguladoras abaixo referem-se apenas aos modelos com LAN sem fios e/ou Bluetooth.
Geral
Este produit cumpre as directivas de radiofrequency e as normas de segurar das paises e regioes nos quais foi aprovado para'utilização sem fios.
Dependendo da configuração, este produit pode conter dispositivos de rádio sem fios (tais como modulos sem fios LAN e/ou Bluetooth). A informação que se segue é valida para Produtos com tais dispositivos.
DECLARATION de conformidade para paises da UE
A Acer declares que esta série de computadores portáteis está conforme com os requisitos essenciais e outras dispositions relevantes da Directa 1999/5/EC.
Lista de páíses aplicáveis
Os paíSES-membros da UE em Julho de 2009 são: Bélgica, Dinamarca, Alemanha, Grécia, Espanha, Franca, Irlanda, Itália, Luxemburgo, Holanda, Áustria, Portugal, Finlândia, Suécia, Reino Unido, Estónia, Letónia, Lituária, Polónia, Hungria, Républiça Checa, Républiça Eslovaca, Eslovensia, Chipre, Malta, Bulgária e Romência. Uso permitido nos paíSES da União Europeia,/tsais como: Noruega, Suiça, Islândia e Liechtenstein. Este dispositivo deve ser uso em conformidade com as leis e restricções do País de uso. Para mais informações, entre em contacto com o orgão regulator no País de uso.Consulte http://ec.europa.eu/enterprise/rtte/implement.htm para a lista de paíSES mais actual.
O requisito de segurarca de radiofrequency da FCC
A potência emitida pela placu LAN sem fios Mini PCI e pela placu Bluetooth está muito abaix do limites de exposicao a radiofrequencia da FCC. Todavia, esta série de computadores portáei defera ser realizada de forma a minimizar o potencial de contacto humano durante functiimento normal, como segue:
1 Pede-se aos Utilizadores que cumpram as instruções de segurar da disposíticos sem fios.optionais espicificadas no manual do'utilizar de cada dispositivo optional de radiofrequency.

Cuido: De forma a cumpirir os requisitos da FCC relativamente a exposicao a radiofrequencia, é necessaria uma distancia de pelo menos 20 cm (8 polegadas) entre a antenna da placu LAN sem fios Mini PCI integrada no eça e as pessoas.


Note: O adaptor da Wireless Mini-PCI proporciona uma funcao de transmissao diversa. esta funcao nao emite radiofrequencia em simultaneo a partir de ambas as antenas. Uma das antenas é selecionada automatica ou manualmente (pelo Utilizador) para assegurar uma radiocomunicaao de boa qualidade.
2 A utilizesaoeste dispositivo deve limitar-se ao interior de edificios devido a gama de frequencia se situar entre 5,15 e 5,25 GHz.A FCC determina que este produits serautilizado dentro de edificios no caso de a gama de frequencia se situar entre os 5,15 e 5,25 GHz para reduzir as possiveis interferencias prejudicials em sistemas moveris por satelite que utilizem o mesmo canal.
3 Os radares de alta potência são os principais'utilizadores das bandas de 5,25 a 5,35 GHz e 5,65 a 5,85 GHz. Estas estações de radar podem causar interferências e/ou danIFICAR este disposicao.
4 Uma instalacao inadequada ou o uso não autorizo pode causar interferencias prejudiciais as comunicações via rádio. Não qualquer adulteração da antenna interna anulará o certificado da FCC e a sua garantia.
Canadá – Dispositivos de radiocomunicação de baixa potência isentes de licença (RSS-210)
Exposicao de humanos aos Campos de radiofrequencia (RSS-102)
Esta série de computadores portáteis企业提供 antenas integrais de baixo ganho que não emitem Campos de radiofrequency algo dos limites da Health Canada para a popULAÇÃO em geral; consulte o Safety Code 6 (Códio de segurarça 6) no site do Web da Health Canada www.hc-sc.gc.ca/rpb.
ManualFácil