TRAVELMATE 5742G - ノートパソコン ACER - 無料のユーザーマニュアル
デバイスのマニュアルを無料で見つける TRAVELMATE 5742G ACER PDF形式.
デバイスの取扱説明書をダウンロード ノートパソコン 無料でPDF形式で!マニュアルを見つける TRAVELMATE 5742G - ACER 電子デバイスをもとに戻しましょう。このページにはデバイスの使用に必要なすべての書類が掲載されています。 TRAVELMATE 5742G ブランド ACER.
使用説明書 TRAVELMATE 5742G ACER
Remarque à l'intention des utilisateurs canadiens
Cet appeareil numérique de la classe B est conforme a la norme NMB-003 du Canada.
Guide utiliser générique
Droits d'auteur © 2010. Acer Incorporated.
Tous droits réservés.
Ordinateur notebook de la gamme TravelMate
Modèle:
No. de série:
Date d'achat :
Lieud'achat:
Informations pour votre sécurité et votre comforts
Consignes de sécurité
Lisez ces instructions avec attention. Conserve ce document pour des références futures. Conformez-vous aux consignes et averissements indiqués sur cet apparéil.
Mise hors tension de l'appareil avant le nettoyage
Débranche l'alimentation secteur avant tout nettoyage. N'utilise pas de liquide ou d'aérosol de nettoyage. Utilise un chiffon, légèrement humecté d'eau pour le nettoyage.
MISE EN GARDE pour la prise comme moyen de déconnexion
Respectez les instructions suivantes lors de la connexion et la déconnexion de l'alimentation de l'unité d'alimentation :
Installez l'unité d'alimentation avant de connecter le cordon d'alimentation à la prise secteur.
Débranchez le cordon d'alimentation avant desteroler l'unité d'alimentation de l'ordinateur.
Si le système a plusieurs sources d'alimentation, déconnectez l'alimentation du système en débranchant tous les cordons d'alimentation des unités d'alimentation.
MISE EN GARDE pour l'accessibilité
Assurez-vous que la prise secteur à laquelle vous branchez le cordon d'alimentation est facilement accessible et située aussi proche que possible de l'utilisateur de l'équipement. Lorsque vous devez déconnecter l'alimentation de l'équipement, assurez-vous de tousjours débrancher le cordon d'alimentation de la prise secteur.
MISE EN GARDE pour carte(s) factice(s) fournie(s) (seulement pour certains modèles)
Votre ordinateur est livre avec des cartes factices en plastique installées dans les connecteurs de carte. Celles-ci protégent les connecteurs non utilisés de la poussière, des objets métalliques et d'autres particules. Conservez les cartes factices pour utilisation les connecteurs ne contiennent pas de carte.
iv
Avertissement pour l'écoute
Pour protégger votre ouie, respectez ces instructions.
- Augmentez le volume graduelflement jusqu'à ce que vous puissiez entendre clairrement et comfortsablement.
N'augmentez pas le volume après que vous ouïe se soit adaptée. - N'écoutez pas de musique à un fort volume pendant une période prolongée.
- N'augmentez pas le volume pour ne pas entendre les environnements bruyants.
- Diminuez le volume si vous ne pouvez pas entendre lesgens qui parlent pres de vous.
Avertissements
N'utilise pas cet apparéil près d'une source d'eau.
- Ne placez pas cet apparéil sur un chariot, un support ou une table instables. Si le produit tombait, il pourrait être sérieusement endommagé.
- Les fentes et ouvertures sont prévues pour la ventilation, pour assurer le bon fonctionnement de l'appareil et le protégger de la surchauffe. Ces ouvertures ne doivent jamais être obstruées ou bloquées. L'appareil ne doit jamais être place sur un lit, un divan, une couverture ou toute autre surface similaire susceptible d'obstruer les ouvertures. Il ne doit jamais être place à proximate ou au contact d'un radiateur ou d'une source de chaleur. Il ne doit pas être place dans une installation encastrée à moins qu'une ventilation suffisante ne soit assurée.
- N'enforcez jamais d'objets dans les fentes de l'unité centrale car ils pourraient enter en contact avec des points de voltage ou court-circuiter des éléments, d'ou un risque d'incendie ou d'électrocution. Ne renversez jamais de liquide, quel qu'il soit, sur ou dans l'appareil.
Pour éviter d'endommager les composants internes et prévenir la fuite de la batterie, ne placez pas l'appareil sur une surface vibrant.
- Ne l'utilise jamais dans un environnement sportif, d'exercice ou vibrant qui pourrait probabilité causeur un court-circuit inopiné ou endommager les périhériques rotatifs, disque dur, lecteur optique, et même créé un risque d'exposition pour la batterie au lithium.
- La surface inférieure, les zones autour des ouvertures de ventilation et l'adaptateur secteur peuvent开发商 chauds. Pour éviter des blessures, assurez-vous qu'ils n'entrent pas en contact avec votre peau ou votre corps.
- Voiture apparéil et ses améliorations peuvent contérer des petits composants. Éloignez-les des jeunes enfants.
Utilisation de l'alimentation électrique
- L'alimentation électrique de l'appareil doit être conforme aux caractéristiques figurant sur l'étiquette d'identification. En cas de doute, consultez votre revendeur ou la Compagnie d'électricité appropriée.
-
Ne placez aucun objet sur le cordon d'alimentation et installez l'appareil en dehors des zones de passage.
-
Lors de l'utilisation eventuelle d'une rallonge, assurez-vous que l'ampérage total des apparèils reliés par la rallonge reste dans les limites admises. De même, vérifie que l'ampérage de tous les apparèils reliés à une même prise secteur ne dépasse pas la valeur du fusible.
- Ne surchargez pas une prise électrique ou une barrette multiprise en branchant trop d'appareils. La charge globale du système ne doit pas dépasser 80% de la capacité du circuit dérivé. Si des barrettes multiprise sont utilisées, la charge ne doit pas dépasser 80% de la capacité en entrée de la barrette multiprise.
L'adaptateur secteur de cet apparéil est équipé d'une prise mise à la terre à trois fils. La prise ne peut s'insérer que dans une prise secteur mise à la terre. Assurez-vous que la prise secteur est correctement mise à la terre avant d'insérer la prise de l'adaptateur secteur. N'insérez pas la prise dans une prise secteur non mise à la terre. Contactez votreElectricien pour des détails.

Avertissement ! La broche de mise à la terre est une fonctionnalité de sécurité. L'utilisation d'une prise secteur qui n'est pas correctement mise à la terre présente un risque d'électrocution ou de blessure.

Remarque: La broche de mise à la terre fournit également une bonne protection contre les bruits imprévus produits par d'autres apparèils électriques qui peuvent interférer avec les performances de cet apparéil.
Le système peut etre alimentete avec une large plaque de tensions: 100 a 120 ou 220 a 240 V CA. Le cordon d'alimentation fourni avec le système repond aux exigences d'utilisation du pays ou de la région dans lequel le système a ete acheté. Les cordons d'alimentation pour utilisation dans d'autre pays/ régions doivent aux exigences de ces pays/régions. Pour plus d'informations pour les exigences des cordons d'alimentation, contactez un revendeur agreé ou un fournisseur de service.
Maintenance de l'appareil
N'essayez jamais de réparer vous-même cet apparéil : l'ouverture ou la dépose du panneau supérieur vous expose à divers risques, électrocution notamment. L'entretien doit être confié à un spécialiste.
Débranche l'appareil et adressez-vous au service après-vente dans les cas suivants :
Lorsque le cordon d'alimentation est endommagé ou dénudé.
Un liquide a ete renversedans l'appareil.
Le produit a ete exposé à la pluie ou a de l'eau.
L'appareil est tombé ou le chinois a été endommagé.
- Les performances de l'appareil deviennent irrégulières, indiquant la nécessité du recours au S.A.V.
L'appareil ne fonctionne pas correctement bien que les consignes d'installation aient ete respectees.
Remarque : Effectuez uniquement les réglages indiqués dans les consignes d'installation ; d'autres réglages incorrÊcts risquènt de provoquer des dommages nécessitant l'intervention prolongée d'un technicien qualifié.
Régles d'utilisation sure de la batterie
Ce notebook utilise une batterie au lithium-ion. N'utilise pas dans un environnement humide, mouillé ou corrosif. Ne placez pas, ne stockez pas et ne laissez pas votre produit dans ou à proximé d'une source de chaleur, dans un lieu à température élevé, dans la lumière directe du soleil, dans un four micro-ondes ou dans un conteneur pressurisé, et ne l'expose pas à des Températures supérieures à 60^ (140°F). Le non-respect de ces règles peut causeer une fuite d'acide de la batterie, sa surchauffe, son Explosion ou son inflammagement et causer des blessures et/ou des dommages. Ne/percez pas, n'ouvre pas et demontez pas la batterie. Si la batterie fuit et si vous étés en contact avec des liquides de la batterie, rincez abondamment avec de l'eau et consultez un médecin immédiatement. Pour des raisons de sécurité, et pour prolonger l'autonomie de la batterie, la charge ne se produit pas à des Températures audrssous de 0^ (32°F) ou au dessus de 40^ (104°F).
La pleine performance d'une nouvelle batterie est atteinte seulement après deux ou trois cycles complets de charge et de décharge. La batterie peut être chargée et déchargée des centaines des fois, mais évientuèlement elle s'usaera. Lorsque le temps de fonctionnement deviendra nettement plus court qu'à l'habitude, achetez une nouvelle batterie. Utilisez uniquement les batteries approuvées, et rechargez-les uniquement avec les chargeursapprovés concus pour cet apparéil.
N'utilisez cette batterie que pour le but à laquelle elle est destinée. N'utilisez jamais de chargeur ou de batterie qui serait endommagé. Ne court-circuitez pas la batterie. Un court-circuit accidentel peut se produit lorsqu'un objet métallique, tel qu'unepiece de monnaie, un trombone ou un stylo cause une connexion directedes bornes positive (+) etnégative(-)de la batterie.(Ce sont des bandes de métal sur la batterie.) Ceci peut se produit, par exemple, lorsque vous avez une batterie de rechange dans votre poche ou votre sac. Le courtcircuit des bornes peut endommager la batterie ou l'objet connectant.
La capacité et l'autonomie de la batterie sera réduite si la batterie est laissée dans un endroit chaud ou froid, tel qu'une voiture fermée en été ou en hiver. Essayez de toujours conserver la batterie entre 15^ et 25^ (59°F et 77°F). Un apparéil avec une batterie chaude ou froide peut ne pas fonctionner temporairement, même si la batterie est pleinement chargée. La performance de la batterie est particulièrement limitée dans des températures inférieures à 0^ .
Ne jetez pas les batteries dans un feu, car elles peuvent explodeer. Les batteries peuvent également explposer si elles sont endommagées. Mettez les batteries au rebut en respect avec la réglementation locale. Si possible, veuillez les recycler. Ne les jetez pas avec les déchets domestiques.
Les apparèils sans fil peuvent être susceptibles aux interférences de la batterie, ce qui peut affecter leurs performances.
Remplacement de la batterie
L'ordinateur notebook utilise des batteries au lithium. Remplacez la batterie avec le même type que celle qui a été fournie avec votre apparéil. L'utilisation d'une autre batterie peut présenter un risque d'incendie ou d'explosion.

Avertissement ! Une batterie incorporement manipulée risque d'explorer. Vous ne devez jamais la démonter, ni l'exposer au feu. Placez-la hors de portée des enfants. Respectez la réglementation locale pourmettre au rebut les batteries usagées.
Avertissement pour le lecteur optique (seulement pour certains modèles)
Attention: Cet apparéil contient un système à laser et est classé comme « APPAREIL À LASER DE CLASSE 1 ». En cas de problème avec cet apparéil, veuillage contacter le centre de service AGRÉÉ la plus proche. Pour éviter une exposition directe au rayon laser, n'essayez pas d'ouvrir le boîtier.
APPAREIL A LASER DE CLASSE 1
ATTENTION : RADIATION LASER VISIBLE ET INVISIBLE EN CAS D'OUVERTURE. ÉVITER Toute EXPOSITION AUX RAYONS.
APPAREIL A LASER DE CLASSE 1 PRODUIT
LASERATTENTION: RADIATION DU FAISCEAU LASER INVISIBLE EN CAS D'OUVERTURE. EVITTER Toute EXPOSITION AUX RAYONS.
LUOKAN 1 LASERLAITE LASER KLASSE 1
Sécurité de la ligne téléphonique
- Déconnectez toujours toutes les lignes téléphoniques de leurs prises murales avant de maintainir ou de démonter cet apparéil.
- Évitez d'utiliser une ligne téléphonique (autre qu'un téléphone sans fil) pendant un orage. Il peut y avoir un risque minime d'électrocution due à la foudre.
Avertissement! Pour des raisons de sécurité, n'utilise pas des pieces non conformes lors de l'ajout ou du changement de composants. Consultez votre revendeur pour des options d'achat.
Environnement d'utilisation

Avertissement! Pour des raisons de sécurité, éteignez tous les péripériques de transmission sans fil ou radio lorsque vous utilisez votre ordinateur portable dans les conditions suivantes. Ces apparèils peuvent inclure, mais sans limitation: réseau sans fil, Bluetooth et/ou 3G.
Suivez bien toutes les règles spéciales en place dans les différents lieux et éteignez toujours votre apparéil lorsque son utilisation est interdite ou lorsqu'il peut cause des interférence ou un danger. Utilisez l' apparéil uniquement dans ses positions d'utilisation normales. Cet apparéil répond aux recommandations d'exposition RF lorsqu'il est utilisé normalement, et qu'il est positionné ainsi que son antenne à une distance d'au moins 1,5 centimètres (5/8 pouce) du corps (voir la figure ci-dessous). L' apparéil ne doit pas contenir de métal et doit être positionné à la distance de votre corps indiquée ci-dessus. Pour transmettre des fichiers de données ou des messages, cet apparéil nécessite une connexion de bonne qualité au réseau. Dans certains cas, la transmission des fichiers de données ou des messages peut être retardée jusqu'à ce qu'une telle connexion soit disponible. Assurez-vous que les instructions de distance de séparation ci-dessus sont respectées jusqu'à la fin de la transmission. Des composants de l' apparéil sont magnétiques. Des matérielles métalliques peut être attirés par l' apparéil et des personnes avec une aide auditive ne doivent pas tener l' apparéil contre l'oreille équipée de l'aide auditive. Ne placez pas les cartes crédits ou autres Médias de stockage magnétique à côté de l' apparéil, parce que les informations containues pourraient être effacées.
Appareils médicaux
L'utilisation de tout équipement de transmission radio, y compris les téléphones sans fil, peut interférer avec la fonctionnalité d'appareils médicaux incorrectement protégés. Consultez un medecin ou le fabricant de l'appareil Médical pour déterminer s'il est protégé correctement contre l'énergie RF externe ou si vous avez des questions. Éteignez votre apparéil dans lesBATiments de la santé lorsque des règlements postés dans ces lieux vous indiquent de le faire. Les hôpitaux et lesBATiments de la santé peuvent utiliser des équipements sensibles aux transmissions RF externes.
Stimulateurs cardiaques. Les fabricants de stimulateurs cardiaques recommend une distance minimale de 15,3 centimètres (6 pouces) entre cet apparéil sans fil et un stimulator cardiaque pour éviter des interférences possibles avec le stimulator cardiaque. Ces recommendations sont conformes à la recherche indépendante et les recommendations de la recherche technologique sans fil. Les personnes avec un stimulator cardiaque doivent faire ce qui suit :
- Maintenez toujours l'appareil à plus de 15,3 centimètres (6 pouces) du stimulator cardiaque
- Ne portez pas l'appareil à proximé du stimulateur cardiaque lorsqu' l'appareil est allumé. Si vous soupconnnez une interférence, éteignez votre apparéil et éloignez l'appareil.
Aides auditives. Certains appareils sans fils numériques peuvent interférer avec certaines aides auditives. En cas d'interférences, consultez votre fournisseur de service.
Véhicules
Les signaux RF peuvent affecter les systèmeslectroniquement inconvenablement installés ou incorrectement protégés dans les vehicules à moteur, tels que les systèmes d'injectionlectroniques, les systèmes de freinage antiblocage électroniques, les régulateurs de vitesse électroniques et les systèmes d'airbag. Pour plus d'informations, consultez le fabricant, ou son représentant, de votre vehicule ou de tout équipement qui a été ajoute. Seul un technicien qualifié doit réparer l'appareil ou installer l'appareil dans un vehicule. Une mauvaise installation ou réparation pourrait être dangereuse et pourrait annuler la garantie pouvant s'appliquer à l'appareil. Vérifiez régulièrement que tout apparatus sans fil dans votre vehicule est installé et utilisé correctement. Ne stockez pas et ne portez pas de liquides inflammables, de gaz ou de matérielux explosifs dans le même compartment que l'apparilel, ses composants ou améliorations. Pour les vehicules équipés d'airbags, rappelez-vous que les airbags se déploient avec une grande force. Ne place pas d'objets, y compris un équipement sans fil portable ou installé dans la zone au-dessus de l'airbag ou dans la zone de déploiement de l'airbag. Si l'équipment sans fil est incorrectement installé à l'intérieur du vehicule et l'airbag se déploie, il y a un risque de blessures sérieues. L'utilisation de votre apparatus en vol dans un avion est interdite. Éteignez vosse apparemil avant d'embarquer dans un apparatus. L'utilisation d'appareils sans fil dans un avion peut être dangereuse pour le fonctionnement de l'avion, peut perturber le réseau téléphonique sans fil et peut être illégale.
Environnement avec des risques d'explosion
Éteignez votre apparéil dans un environnement avec des risques d'explosion et respectez toutes les instructions ou signalement du site. Des environnements avec des risques d'explosion comprennant les zones où il serait normalement recommandé d'arrêter le moteur de votre vehicule. Des étincelles dans de telles zones pouraient causer une explosion ou un incendie et entraîner des dommages corporels ou un décès. Éteignez le notebook à proximité des pompes à essence dans les stations service. Respectez les restrictions sur l'utilisation des équipements radio dans les zones de dépôt, de stockage ou de distribution d'essence, les usines chimiques, ou dans les endroits ou des explosions sont en cours. Les zones possédant des risques d'explosion sont généralement, mais pas toujours indiquées. Ces zones comprendnent les zones sous le pont des bateaux, les centres de stockage ou de transfert des produits chimiques, les vehicules qui utilisent du gaz de petrole liquéfié ( comme le propane ou le butane) et les zones où l'air peut containir des particules ou des produits chimiques, comme de la poussière, des grains ou de la poudre métallique. N'allumez pas le notebook, lorsque l'utilisation des téléphones sans fil est interdite ou lorsqu'il peut causer des interférences ou un danger.
Appels d'urgence
Avertissement : Vous ne pouvez pas effectuer d'appels d'urgence via cet apparéil. Pour effectuer un appel d'urgence, vous doivent appeler via votre téléphone mobile ou autre système d'appointer téléphonique.
Instructions de mise au rebut
Ne jetez pas cet apparéil électronique à la poubelle lors de sa mise au rebut. Pour minimiser la pollution et assurer une protection maximale de l'environnement global, veuillez la recycler. Pour plus d'information sur les réglementations sur les déchets d'équipements électriques et électroniques (DEEE), visitez http://www.acer-group.com/public/Sustainability/sustainability01.htm.

Recommendation sur le mercure
Pour les projecteurs à ampoule intégrée ou pour les appareils électroniques contenant un moniteur ou un écran LCD/CRT non rétro-éclairé : Les lampes à l'intérieur de ce produit contiennent du mercure et doivent être recyclées ou mises au rebut selon les lois locales, de l'etat ou fédérales. Pour plus d'informations, contactez l'alliance des industries électroniques à www.eiae.org. Pour des informations de mise au rebut spécifique aux lampes, visitez www.lamprecycle.org.

ENERGY STAR

Les produits qualifiés ENERGY STAR d'Acer vous font économiser de l'argent en réduisant les coûts énergétiques et en protégeant l'environnement, sans compromètre les fonctionnalités ou les performances. Acer est fier d'offrir à ses clients des produits pourvus du label ENERGY STAR.
Les produits qualifiés ENERGY STAR utilisent moins d'énergie et empêchant les émissions de gaz à effet de serre en respectant des directives strictes sur l'efficacité énergétique définies par l'agence americaine de protection de l'environnement. Acer s'engage à proposer dans le monde entier des produits et services qui aident les consommateurs à faire des économies, à economiser l'énergie et à améliorer la qualité de l'environnement. Plus nous pouvons économiqueurénergie en étant plus efficaces, plus nous pourrons réduire les gaz à effet de serre et les risques de changement climatique. Vous trouvez plus de renseignements sur le site http://www.energystar.gov ou http://www.energystar.gov/powermanagement.
Les produits qualifiés ENERGY STAR Acer :
- Produisent moins de chaleur et réduisent les charges de refroidissement, ainsi que les ambiances surchauffées.
Passent automatiquement en mode de « veille écran » et « veille ordinateur » respectivement après 10 et 30 minutes d'inactivité. - Sortez l'ordinateur du mode veille en pressant une touche du clavier ou en déplaçant la souris.
En mode « veille», les ordinateurs économisent plus de 80% d'énergie.
ENERGY STAR et le label ENERGY STAR sont des marques déposées aux États-Unis.
Conseils et informations pour une utilisation comfortable
Les utilisateurs d'informatique peuvent se plaindre de fatigue visuelle et de mots de tete après une utilisation prolongée. Les utilisateurs ont également un risque de blessure physique après de longues heures de travail devant un ordinateur. De longues périodes de travail, une mauvaise position, de mauvaises habitudes de travail, des conditions de travail inadaptées, la santé personnelle et d'autres facteurs augmentent fortement le risque de blessure physique.
Une utilisation incorrecte de l'ordinateur peut causeur un syndrome du canal carpien, une tendinite, une ténosynovite ou d'autres problèmes musculaires et osseux. Les symptomes suivants peuvent apparaître dans les mains, les poignets, les bras, les epaules, le cou ou le dos :
- une sensation d'engourdissement, de brûture ou de fourmillement
- un endolorissement, une algie ou une sensibilité
- une douleur, une tumefaction ou une inflammation
XII
- une raideur ou une crampe
un froid ou une faiblesse
Si vous avez ces symptômes ou tout autre géné et/ou douleur récurrentes ou persistantes en rapport avec l'utilisation de l'ordinateur, consultez un docteur immédiatement et informez le service de santé et de sécurité de votre entreprise.
La section suivante donne des conseils pour une utilisation plus comfortable de l'ordinateur.
Trouver votre zone de comport
Trouvez votre zone de comport en ajustant l'angle de vue du moniteur, en utilisant un repose-pied ou en élevant votre position assise pour obtenir un comport maximal. Respectez les conseils suivants:
ne restez pas trop longtemps dans une position fixe
évitez d'être avachi vers l'avant et/ou penché en arrrière
- levez-vous et marchez un peu régulièrement pour réduire la fatigue musculaire de vos jambes
- faites des petites pauses pour reposer votre cou et vos épaules
- évitez de raidir vos muscles ou de hausser vos épaules
- installez l'affichage externe, le clavier et la souris correctement et à distance comfortable
- si vous regardez votre monitreur plus que vos documents, placez l'affichage au centre du bureau pour minimiser les douleurs au cou
Soin à apporter à votre vue
De longues heures de vision, en portant des lunettes ou lentilles incorrectes, avec du reflet, une lumière excessive, des écrans mal régés, des polices très petites et des affichages avec faible contraste pourraient fatiguer vos yeux. Les sections suivantes fournissent des suggestions pour réduire la fatigue visuelle.
Yeux
- Reposez vos yeux féquèment.
- Faites faire des coupures à vos yeux régulièrement en regardant à côté du moniteur et en faisant le point sur un point distant.
- Clignez féquèment les yeux pour leur éviter de sécher.
Affichage
- Maintenez votre affichage propre.
- Gardez vous tete à un niveau plus haut que le bord supérieur de l'affichage pour que vos yeux regardent vers le bas lorsque vous regardez au milieu de l'affichage.
- Ajustez la luminosité et/ou le contraste à un niveau comfortable pour améliorer la lisibilité du texte et la clarté des graphiques.
-
Éliminez l'éclat et les réflexions en :
-
plaçant votre affichage de manière à ce que le côté soit face à la fenêtre ou toute autre source de lumière
-
réduisant la lumière de la pierces en utilisant des ridesaux, des stores ou des volets
- utiliser une lampe articulée
- changeant l'angle de vue de l'affichage
- utiliser un filtré pour réduire le reflet
-
utiliser un viseur d'affichage, comme un morceau de carton débordant du bord supérieur de l'affichage
-
évitant d'ajuster votre affichage à un angle de vue anomal.
- évitant de regarder des sources de lumière brillante, comme une fenêtre ouverte,pendant de longues périodes de temps.
Prendre de bonnes habitudes de travail
Prenez les bonnes habitudes de travail suivantes pour une utilisation plus reposante et productive de l'ordinateur :
- Faites des petites coupures régulièrement et souvent.
- Faites des exercices d'étirement.
- Respírez de l'air extérieur aussi souvent que possible.
- Faites des exercices régulierement et conservez un corps enonne sante.

Avertissement ! Il n'est pas recommandé d'utiliser l'ordinateur sur un canapé ou un lit. Si c'est inévitable, travailliez seulement pour de courtes périodes, faites des coupures régulières et faites des exercices d'étirement.

Remarque : Pour plus d'informations, veuillez-vous reporter à « Avis réglementaires et de sécurité » à la page 38.
xiv
Pour commencer
Nous désirons vous remercier d'avoir fait d'un notebook Acer votre choix pour répondre à vos besoines informatiques mobiles.
Vos guides
Pour vous aider à utiliser votre notebook Acer, nous avons unconc plusieurs guides :
Tout d'abord, le poster Pour partir du bon pied... vous aide à configurer votre ordinateur.
Le Guide utilisateur générique de la gamme TravelMate contient des informations utiles qui s'appliquent à tous les modèles de la gamme des produits TravelMate. Il couvre les sujet de base, telles que Acer eRecovery Management, utiliser le clavier, le son, etc. Il faut comprendre que du fait de sa nature, le Guide utilisateur générique ainsi que le AcerSystem User Guide mentionné ci-dessous fera ↔reference parfois à des fonctions ou des caractéristiques qui ne sont containues que dans certains modèles de la gamme, mais pas nécessaire dans le modele que vous avez acheté. Ces cas sont marqués dans le texte avec des mentions telles que « seulement pour certains modèles »
Le Guide rapide présente les fonctionnalités et fonctions de base de votre ordinateur. Pour plus d'information sur l'aide que peut vous appporter pour être plus productif, veuillez vous reporter à AcerSystem User Guide. Ce guide contient des informations détaillées sur des sujets tels que les utilisaires systèmes, la récapération des données, les options d'extension et le dépannage. De plus, il contient des informations de garantie et les réglementations générales et les avis de sécurité pour votre notebook. Il est disponible au format PDF (Portable Document Format) et est précharge sur votre notebook. Procedez comme suit pour y acceder :
1 Cliquez sur Demarrer, Tous les programmes, puis AcerSystem.
2 Cliques sur AcerSystem User Guide.

Remarque : L'affichage du fichier nécessite Adobe Reader. Si Adobe Reader n'est pas installé dans votre ordinateur, le cliç sur AcerSystem User Guide va exécuter le programme d'installation d'Adobe Reader. Suivez les instructions à l'écran pour terminer l'installation. Pour des instructions sur l'utilisation de Adobe Reader, accédez au menu Aide et Support.
Conseils élémentaires de soin et d'utilisation de votre ordinateur
Mise sous tension et hors tension de l'ordinateur
Pourmettrevoire ordinateur sous tension,appuyezsimplement etrelacheze le bouton d'alimentation au-dessous de I'écran LCD à côté des boutons delancementfacile.VoirGuide rapide consultez pourI'emplacement du bouton d'alimentation.
L'ordinateur peut être mis hors tension de plusieurs manières :
Utilise la commande d'arrêt de Windows Cliquez sur Démarrez, puis cliquez sur Arrêter.
Utilisez le bouton d'alimentation
Vous peuvent également placer l'ordinateur en mode de sommeil en appuyant sur la touche spéciale de sommeil <Fn> + <F4> .

Remarque: Si vous ne pouvez pasmettre l'ordinateur hors tension de maniere normale, appuyez sur le bouton d'alimentation et maintenez-le pendant plus de 4 secondes. Si vous avez mis I'ordinateur hors tension et vous souhaitez le mettre a nouveau sous tension, attendez au moins 2 secondes.
Soin à apporter à votre ordinateur
Votre ordinateur sera un outil efficace si vous en prenez bien soin.
- N'exposez pas l'ordinateur à la lumière directe du soleil. Ne le mettez pas à côté d'une source de chaleur telle qu'un radiateur.
- N'exposez pas l'ordinateur à des températures au-dessous de 0^ ( 32^ ) ou au-dessus de 50^ ( 122^ ).
- Ne soumettez pas l'ordinateur à des champs magnétiques.
N'exposez pas l'ordinateur à la pluie ou à l'humidité. - Ne renversez pas d'eau ou de liquides sur l'ordinateur.
- Ne soumettez pas l'ordinateur à des chocs violents ou à des vibrations.
N'utilisez pas l'ordinateur en milieu empoussieré ou sale. - Ne posez jamais d'objets sur l'ordinateur lorsqu'il est fermé.
- Ne fermez pas l'écran de l'ordinateur brusquement.
- Ne placez jamais l'ordinateur sur une surface instable.
XVI
Soin à apporter à votre adaptateur secteur
Voici quelques conseils pour le soin à apporter à votre adaptateur secteur :
- Ne connectez pas l'adaptateur à d'autres appareils.
- Ne marchez pas sur le cordon d'alimentation et ne placez rien dessus.
Installez le cordon d'alimentation et les autres câbles en dehors des zones de passage.
Lorsque vous débranchez le cordon d'alimentation, ne tirez pas sur le cordon, mais sur la prise.
L'ampérage total des-appareils branchés ne doit pas dépasser la valeur permise de la prise ou de la rallonge (dans le cas de l'utilisation d'une rallonge).De même, l'ampérage de tous les apparciels reliés à une même prise murale ne doit pas dépasser pas la valeur permise pour la prise.
Soin à apporter à votre batterie
Voici quelques conseils pour le soin à apporter à votre batterie :
Utilisez uniquement une batterie du même type en cas de remplacement. Eteignez l'ordinateur avant de retirer ou de replacer la batterie.
- Ne démontez pas les batteries. Éloignez-les des enfants.
- Mettez les batteries usagées au rebut en respect avec la réglementation locale. Si possible, recyclez-les.
Nettoyage et maintenance
Lors du nettoyage de l'ordinateur, procedede comme suit :
1 Éteignez l'ordinateur et retirez la batterie.
2 Déconnectez l'adaptateur secteur.
3 Utilisez un chiffon doux et humide. N'utilisez pas de liquide ou d'aerosol de nettoyage.
Dans les cas suivants :
l'ordinateur est tombé ou le chassin a eté endommagé
- l'ordinaire ne fonctionne pas normalement
Veuillez consulter « Foire aux questions » à la page 33.
Informations pour votre sécurité et votre comport
iii
Consignes de sécurité
iii
Avertissement pour le lecteur optique
vii
(seulement pour certains modèles)
viii
Environnement d'utilisation
viii
Appareils medicaux
ix
Vehicules
X
Environnement avec des risques d'explosion
X
Appels d'urgence
X
Instructions de mise au rebut
X
Recommendation sur le mercure
xi
ENERGY STAR
xi
Conseils et informations pour une utilisation comfortable
xiv
Pour commencer
xiv
Vos guides
XV
Conseils élémentaires de soin et d'utilisation
XV
de votre ordinateur
XV
Mise sous tension et hors tension de I'ordinateur
XVI
Soin à apporter à votre ordinateur
XVI
Soin à apporter à votre adaptateur secteur
XVI
Soin à apporter à votre batterie
1
Nettoyage et maintenance
1
Touchpad
2
Informations de base du touchpad
3
(avec lecteur d'empreinte digitale)
3
Informations de base du touchpad (avec deux boutons)
4
Utilisation du clavier
5
Touches de verrouillage et pavé numérique intégré*
5
Touches Windows
5
Audio
Acer PureZone (seulement pour certains modèle)
5
Vidéo
Affichage 16:9 (seulement pour certains modèles)
Utilisation des utilitaires système
6
Acer Bio-Protection (seulement pour certains modèles)
6
Acer Backup Manager
7
Gestion de l'alimentation
8
Graver le disque de sauvegarde
10
Restaurer
11
Restaurez Windows depuis les disques de sauvegarde 12
Batterie
Caracteristiques de la batterie 14
Maximalisation de la durée de vie de la batterie 14
Installation et retrait de la batterie 16
Charge de la batterie 16
Vérification du niveau de la batterie 17
Optimisation de I'autonomie de la batterie 17
Avertissement de batterie basse 18
Déplacements avec votre ordinateur notebook
Déconnexion du bureau 19
Courts déplacements 19
Preparation de I'ordinateur 19
Choses à emporter pour les réunions 20
Emporter l'ordinateur à la maison 20
Preparation de I'ordinateur 20
Choses à emporter 21
Mise en place d'un bureau à la maison 21
Voyage avec l'ordinateur 22
Preparation de I'ordinateur 22
Choses à emporter 22
Voyage international avec I'ordinateur 22
Preparation de I'ordinateur 22
Choses à emporter 23
Considerations speciales 23
Sécurité de l'ordinateur 24
Utilisation d'un cadenas pour ordinateur 24
Utilisation de mots de passer 24
Entrée d'un mot de passer 25
Définition des mots de passer 25
Extension avec des options 26
Options de connectivité 26
Modem fax/donnees
(seulement pour certains modèles) 26
Fonction réseau intégrée 27
Universal Serial Bus (USB) 27
Port IEEE 1394 (seulement pour certains modèles) 28
Interface multimédia haute définition
(seulement pour certains modèles) 28
ExpressCard (seulement pour certains modèles) 29
Installation de la mémoire 30
Utilitaire du BIOS 31
Sequence d'initialisation 31
Activation de la récapération disque à disque 31
Mot de passer 31
Utilisation de logiciel 32
Lecture de films DVD 32
Foire aux questions 33
Demande de service 36
Garantie internationale des voyageurs
Conseils de dépannage 37
37
Avis réglementaires et de sécurité 38
Déclaration FCC 38
Avis pour le modem (seulement pour certains modèles) 39
Déclaration sur les pixels de l'écran LCD 39
Avis reglementaire du périhérique radio 39
Général 39
L'exigence de sécurité RF de la FCC 40
Canada - Appareils de radiocommunications
de faible puissance, exempts de licence (RSS-210) 41
Exposition des personnes aux champs RF (RSS-102) 41
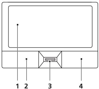
Le touchpad intégré est un périhérique de pointage qui est sensible aux mouvements sur sa surface. Cela peut dire que le curseur répond au mouvement de votre doigt sur la surface du touchpad. Son emplacement central sur le repose mains permet une utilisationcomfortable.
Informations de base du touchpad (avec lecteur d'empreinte digitale)
Les conseils qui suivent vous montréont comment utiliser le touchpad avec le lecteur d'empreinte digitale Acer Bio-Protection.
- Déplacez votre doigt sur le touchpad (1) pour déplacer le curseur.
- Appuyez sur le bouton gauche (2) et le bouton droit (4) situés sur le bord du touchpad pour sélectionner et exécuter. Ces deux boutons sont similaires au bouton gauche et au bouton droit d'une souris. Taper sur le touchpad est équivalent à un clic gauche.

| Fonction | Bouton gauche (2) Bouton droit (4) Touchpad principal (1) Bouton central (3) | |
| Exécution | Cliquezrapidement deux fois. | Tapez deux fois (à la même vitesse qu'un double-clic de la souris). |
| Sélection | Cliquez une fois. | Tapez une fois. |
| Faire glisser | Cliquez etmaintenez, puisutilisez le doigt pour faire glisserle curseur. | Tapez deux fois (à la même vitesse qu'undouble-clic de la souris), laissez le doigt sur le touchpad à ladeuxème fois et faitesglisser le curseur. |
| Menucontextuel | Cliquez une fois. | |
Informations de base du touchpad (avec deux boutons)
Les conseils qui suivent vous montréont comment utiliser le touchpad avec deux boutons.
- Déplacez votre doigt sur le touchpad pour déplacer le curseur.
- Appuyez sur le bouton gauche et le bouton droit situés sur le bord du touchpad pour sélectionner et executer. Ces deux boutons sont similaires au bouton gauche et au bouton droit d'une souris. Taper sur le touchpad est équivalent à un clic gauche.
| Fonction | Bouton gauche | Bouton droit | Touchpad principal |
| Exécution | Cliquez rapidement deux fois. | Tapez deux fois (à la même vitesse qu'un double-clic de la souris). | |
| Sélection | Cliquez une fois. | Tapez une fois. | |
| Faire glisser | Cliquez et maintenez, puis utiliser le doigt pour faire glisser le curseur. | Tapez deux fois (à la même vitesse qu'un double-clic de la souris), faissez le doigt sur le touchpad à la deuxième fois et faites glisser le curseur. | |
| Menu contextual | Cliquez une fois. | ||

Remarque : Les illustrations sont mises uniquement à titre de référence. La configuration exacte de votre ordinateur dépend du modele acheté.

Remarque : Lors de l'utilisation du touchpad, gardez-le — ainsi que vos doigts — secs et propres. Le touchpad est sensible aux mouvements du doigt, la réponse est donc d'autant meilleure que le touché est léger. La réponse ne sera pas meilleure si vous tapotez plus fort.

Remarque: Par défaut, le défilament vertical et horizontal est activé sur votre touchpad. Il peut être désactivé dans le paramètre Souris du Panneau de configuration de Windows.
Utilisation du clavier
Le clavier a des touches de dimension normale qui comprend un pavé numérique intégré*, des touches de direction séparées, de verrouillage, Windows, de fonctions et spéciales.
Touches de verrouillage et pavé numérique intégré*
Le clavier a trois touches de verrouillage qui peuvent etre activées ou déactivées.
| Touche | Description |
| Verr Maj | Quand (Verr Maj) est allumé, tous les caractères alphabetiques sont tapés en majuscules. |
| Verr Num | Quand Verr Num est allumé, le pavé numérique intégré est en mode numérique. Les touches fonctionnent comme une calculatrice (complète avec les opérateurs numériques +, -, * et /). Utiliseze ce mode lorsque vous devez faire de nombreuses entrées de données numériques. Une meilleure solution est de connecter un pavé numérique externe. |
| Arrêt Défil | Quand Arrêt Défil est allumé, l'écran se déplace d'une ligne vers le haut ou le bas quand vous appuyez sur la touche fléchée vers le haut ou le bas respectivement. Cette touche de verrouillage ne fonctionne pas avec certaines applications. |
Le pavé numérique intégré fonctionne comme le pavé numérique d'un ordinateur de bureau. Il est indiqué par des petits caractères situés dans le coin supérieur droit des touches. Pour simplifier la légende du clavier, les symboles des touches de contrôle du curseur ne sont pas imprimés sur les touches.
| Accès désiré | Verr Num allumé | Verr Num éteint |
| Touches numériques du pavé intégré | Tapez les chiffres de manière normale. | |
| Touches de contrôle du curseur sur le pavé numérique intégré | Appuyez sur la touche <↑> en utilisant les touches de contrôle du curseur. | Appuyez sur la touche <Fn> en utilisant les touches de contrôle du curseur. |
| Touches du clavier principal | Appuyez sur la touche <Fn> tout en tapant les lettres sur le pavé intégré. | Tapez les lettres de manière normale. |
- seulement pour certains modèles
Touches Windows
Le clavier a deux touches qui accomplissent les fonctions spécifiques à Windows.
| Touches | Description |
| Touches Windows | Appuyée seule, cette touche a le même effet qu'un click sur le bouton Démarrer de Windows, elle fait apparaitre le menu Démarrer. Elle peut également être utilisée avec d'autres touches pour offrir de nombreuses fonctions. |
| < >: Ouvrir ou fermer le menu Démarrer | |
| < >: + <D>: Afficher le bureau | |
| < >: + <E>: Ouvrir l'Explorateur Windows | |
| < >: + <F>: Rechercher un fichier ou dossier | |
| < >: + <G>: Passer en revue les gadgets de la barre latérale | |
| < >: + <L>: Verrouiller votre ordinateur (si vous étés connecté à un domaine réseau) ou changer d'utilitaire (si vous n'étés pas connecté à un domaine réseau) | |
| < >: + <M>: Réduit toutes les fenêtres. | |
| < >: + <R>: Ouvre la boîte de dialogue Exécuter. | |
| < >: + <T>: Passer en revue les programmes sur la barre des tâches | |
| < >: + <U>: Ouvrir Ease of Access Center | |
| < >: + <X>: Ouvrir Windows Mobility Center | |
| < >: + <Attn>: Afficher la boîte de dialogue Propriétés du système | |
| < >: + <↑+M>: Restaurer les fenêtres réduites sur le bureau | |
| < >: + <←→>: Passer en revue les programmes sur la barre des tâches en utilisant Windows Flip 3-D | |
| < >: + <ESPACE>: Appporter tous les gadgets à l'avant et sélectionner la barre latérale Windows | |
| < Ctrl: + < >: Rechercher des ordinateurs (si vous étés sur un réseau) | |
| < Ctrl: + < >: Utiliser les touches flèches pour passer en revue les programmes sur la barre des tâches en utilisant Windows Flip 3-D | |
| Remarque: Selon votre édition de Windows, certains raccourcis peuvent ne pas fonctionner comme décrit. | |
| Touches d'application | Cette touche a le même effet qu'un click du bouton droit de la souris en ouvrant le menu contextual de l'application. |
Audio
L'ordinateur intègre également l'audio haute définition (HD) 32 bits et un(des) haut-parleur(s).
Acer PureZone (seulement pour certains modèles)
Le système fournit une nouvelle expérience audio enthousiasmante comprenant Acer PureZone avec microphones stéreo intégrés incorporent les technologies de formation du faisceau et d'annulation de l'écho. La technologie Acer PureZone prend en charge l'annulation de l'écho acoustique, la formation du faisceau, et la suppression du bruit pour un enregistrement de son pur. Pour configurer votre microphone, executez Acer HD Audio Manager en double-cliquant sur l'icone Acer HD Audio Manager dans la barre des tâches de votre système Windows. La boîte de dialogue Acer HD Audio Manager apparaitra. Cliquez sur l'onglet Microphone, puis cliquez sur l'onglet Effets du microphone. Sélectionnez Formation du faisceau et Annulation de l'écho acoustique pour régler les effets du microphone.

Remarque: Désactivez la formation du faisceau pour obtenir une entrée de source sonore multiple.
Vidéo
Affichage 16:9 (seulement pour certains modèles)
L'affichage 16:9 rend les films en Full HD à la maison comme jamais avant. La saturation des couleurs hyper élevé garantie une expérience d'affichage HD authenticate. La qualité 16:9 signifie que les images de home cinéma réel sont enfin arrivées pour les entousiastes des divertissements sur notebook.
Utilisation des utilitaires système
Acer Bio-Protection (seulement pour certains modèles)
La Acer Bio-Protection Fingerprint Solution (Solution d'empreinte digitale Acer Bio-Protection) est un logiciel d'empreinte digitale polyvalent intégré au système d'exploitation Microsoft Windows. Utilisant le caractère unique des empreintes digitales, Acer Bio-Protection Fingerprint Solution intégre la protection contre les accès non autorisés à votre ordinateur avec la gestion centrale des mots de passer avec la banque des mots de passer, et le lancement et la connexion rapides aux applications et aux sites Web avec Acer FingerLaunch.
Avec la Acer Bio-Protection Fingerprint Solution (Solution d'empreinte digitale Acer Bio-Protection), vous pouze avoir une couche supplémentaire de protection pour votre ordinateur personnel, ainsi qu'acceder de manière pratique à vos tâches quotidiennes en passant simplement votre doigt sur le lecteur!
Pour plus d'informations, reportez-vous aux fichiers d'aide d'Acer Bio-Protection.

Acer Backup Manager

Remarque: Cette fonction est disponible sur certains modèles seulement.
Acer Backup Manager est un processus simple en trois étapes qui vous permet de creer des copies de sauvegarde de la totalité de votre système ou des fichiers et dossiers sélectionnés, suivant une planification ou votre choix personnel.
Pour démarrer Acer Backup Manager, appuyez sur la touche Acer Backup Manager au-dessus du clavier. Vous pouvez également aller dans Demarrer > Tous les programmes > Acer Backup Manager > Acer Backup Manager.
Ceci ouvre l'écran d'accueil qui vous présente les trois étapes de configuration de sauvégardes planifiées. Cliquez sur Continuer pour passer à l'écran suivant. Cliquez sur le bouton + et suivez les instructions qui s'affichent :
1 Sélectionnez le contenu à sauvégarder. Plus le contenu sélectionné est petit, plus le processus sera rapide, mais plus vous risquez de perdre des données.
2 Sélectionnez l'endetroit où vous souhaitez enregistrer les copies de sauvegarde. Il vous faudra selectionner un lecteur externe ou votre lecteur D: ; Acer Backup Manager ne peut pas enregistrer de sauvegarde sur le disque source.
3 Sélectionnez la fréquence de création des sauvégardes par Acer Backup Manager.
Une fois les trois étapes terminées, les sauvégardes seront créées conformément à la planification. Vous pouze également créé des sauvégardes manuellement en appuyant sur la touche Acer Backup Manager.
Si à un moment vous souhaitez changer vos paramètres, exécutez Acer Backup Manager à partir du menu Démarrer et effectuez les étapes décrites précédemment.

Gestion de l'alimentation
Cet ordinaire a une unité de gestion de l'alimentation intégrée qui supervise l'activité du système. L'activité du système comprend toute activités qui implique un ou plus des périhériques suivants : clavier, souris, disque dur, périhériques connectés à l'odinateur et mémoire video. Si aucune activités n'est détectée pendant une période de temps spécifique (appelee délié d'inactivité), l'ordinateur arrêté certains ou tous ces périhériques pour conserver l'énergie.
Cet ordinateur utilise une méthode de gestion de l'alimentation qui prend en charge l'interface d'alimentation et de configuration avancée (ACPI), ce qui permet une conservation maximale de l'énergie et en même temps une performance maximale. Windows gère toutes les activités d'économie d'énergie pour votre ordinateur.
Touche Acer PowerSmart

Remarque : Cette fonction est disponible sur certains modèles seulement.
La touche Acer PowerSmart utilise les fonctions d'économie d'énergie du sous-système graphique de votre ordinateur pour réduire la consommation électrique globale. Quand vous appuyez la touche Acer PowerSmart, la luminosité de l'écran est réduite et la puce graphie passée à une vitesse plus lente. PCI et réseau sans fil passent en modes d'économie d'énergie. Pour revenir aux paramètres précédents, appuyez de nouveau sur la touche Acer PowerSmart.
Acer eRecovery Management est un outil pour restaurer rapidement le système. Vous pouvez également sauvegarder/restaurer l'image par défaut de l'usine et réinstaller les applications et les pilotes.

Remarque : Tout le contenu qui suit est pour reférence générale seulement. Les spécifications actuelles du produit peuvent varier.
Acer eRecovery Management est composé des fonctions suivantes :
1 Sauvegarder:
- Créer le disque par défaut de l'usine
- Créer le disque des pilotes et des applications
2 Restaurer:
Restaurer complètement le système à la configuration par défaut
- Restaurer le système d'exploitation et conserver les données utilisateurs
Réinstaller les pilotes ou les applications
Ce chapitre va vous guider dans chaque processus.

Remarque : Cette fonction est disponible sur certains modèles seulement. Pour les système qui n'ont pas degraveur de disque optique intégré, branchez ungraveur de disque optique externe avant d'acceder à Acer eRecovery Management pour les tâches utilisant un disque optique.
Pour utiliser la fonction de protection par mot de passer de Acer eRecovery Management pour protégéger vos données, vous doivent définir le mot de passer. Le mot de passer est défini en lançant Acer eRecovery Management et en cliquant sur Paramètres.

Graver le disque de sauvegarde
Depuis la page Backup de Acer eRecovery Management, vous pouvez graver l'image par défaut de l'usine ou sauvegarder les pilotes et les applications.
1 Cliquez sur Demarrer, Tous les programmes, Acer, Acer eRecovery Management.
2 Acer eRecovery Management ouvre la page Backup.

3 Sélectionnez le type de sauvegarde (par défaut de l'usine ou pilotes et applications) que vous souhaitez graver sur disque.
4 Suivez les instructions à l'écran pour terminer le processus.

Remarque: Créez une image par défaut de l'usine lorsque vous souhaitez graver un disque initialisable qui contient le système d'exploitation complet de votre ordinateur comme il a vous été livré depuis l'usine. Si vous souhaitez avoir un disque qui vous permet de parcourir le contenu et d'installer une sélection de pilotes et d'applications, créez une image de sauvégarde des pilotes et des applications – ce disque ne sera pas initiaisable.
Restaurer
La fonction de restauration permet de restaurer ou de récapuerer le système depuis une image par défaut de l'usine ou depuis des sauvégardes préalablement créées sur CD et DVD. Vous pouvez également réinstaller les applications et les pilotes pour votre système Acer.
1 Cliquez sur Demarrer, Tous les programmes, Acer, Acer eRecovery Management.
2 Passez à la page Restaure enclinquant sur Restaurer.

3 Vous pouez désir de récapérer le système depuis une image par défaut de l'usine ou de réinstaller les applications et les pilotes.
4 Suivez les instructions à l'écran pour terminer le processus.
Restaurez Windows depuis les disques de sauvegarde

Remarque: Cette fonction est disponible sur certains modèles seulement.
Pour restaurer Windows depuis les disques de sauvégarde que vous avez préalablement graves, vous devez insérer le premier disque de sauvégarder et activez le Menu de démarrage F12 via l'utilitaire Setup du BIOS.
1 Allumez votre ordinateur et insérez le premier disque de récepération dans le lecteur de disque optique. Redémarrez votre ordinateur.
2 Pendant le démarrage lorsque le logo Acer est affiché, appuyez la touche F2 pour acceder au Setup du BIOS, dans lequel vous pouvez configurer les paramétres du système.
3 Utilisez les touches fléchées gauche et droite pour sélectionner le sousmenu Principal.
4 Utilisez les touches fléchées haut et bas pour sélectionner le Menu de démarrage F12.
5 Utilisez la touche F5 ou F6 pour changer le Menu de démarrage F12 sur Activé.
6 Appuyez la touche ECHAP pour acceder au sous-menu Quitter, appuyez la touche ENTREE pour Quitter en enregistrant les modifications. Appuyez la touche ENTREE à nouveau pour selectionner Oui. Le système se réinitialise.
7Après le redémarrage lorsque le logo Acer est affiché, appuyez la touche F12 pour ouvrir le Menu de démarrage. Ici vous pouvez selectionner le périhérique à partir duquel démarrer.
8 Utilisez les touches fléchées pour selectionner IDE1*, puis appuyez la touche ENTRÉE. Windows sera installé depuis le disque de récapération.
9 Insérez le deuxième disque de récepération lorsque vous y étés invite, puis suivez les invites à l'écran pour terminer la restauration.
10 Retirez le disque de récapération du lecteur optique lorsqu'la restauration est terminée. Faites ici avant de redémarrer votre ordinateur.
Si vous préférez configurer la priorité de démarrage pour une utilisation à long terme, Sélectionnez le sous-menu Démarrage.
1 Allumez votre ordinateur et insérez le premier disque de récepération dans le lecteur de disque optique. Redémarrez votre ordinateur.
2 Pendant le démarrage lorsque le logo Acer est affiché, appuyez la touche F2 pour acceder au Setup du BIOS, dans lequel vous pouvez configurer les paramétres du système.
3 Utilisez les touches fléchées gauche et croite pour sélectionner le sousmenu Demarrage.
4 Utilisez les touches fléchées haut et bas pour selectionner le périphérique IDE1.
5 Utilisez la touche F6 pour déplacer le périphérique IDE1 sur la priorité de démarrage la plus élevé, ou utilisez la touche F5 pour déplacer les autres périphériques sur une priorité de démarrage plus BASSE. Assurez-vous que le périphérique IDE1* sur la priorité de démarrage la plus élevé.
6 Appuyez la touche ECHAP pour acceder au sous-menu Quitter, appuyez la touche ENTREE pour Quitter en enregistrant les modifications. Appuyez la touche ENTREE à nouveau pour selectionner Oui. Le système se réinitialise.
7 Lorsque vous redémarrez, Windows sera installé depuis le disque de récapuration.
8 Insérez le deuxième disque de récepération lorsque vous y étés invite, puis suivez les invites à l'écran pour terminer la restauration.
9 Retirez le disque de récepération du lecteur optique lorsqu'la restauration est terminée. Faites ici avant de redémarrer votre ordinateur.
Batterie
L'ordinateur utilise une batterie qui vous offre de longues durées d'utilisation entre chaque recharge.
Caracteristiques de la batterie
La batterie a les caractéristiques qui suivent :
Utilisation des standards technologiques actuels.
- Émission d'un averissement de batterie basse.
La batterie se recharge à chaque fois que vous connectez l'adaptateur secteur à l'ordinateur. Vote orrinateur a une fonction de charge enutilisation, permettant de recharger la batterie tout en continuant àutiliser l'ordinateur. Cependant, la recharge avec l'ordinateur eteintpermét un temps de charge beaucoup plus rapide.
La batterie est pratique lorsque vous voyageez ou lors de coupures d'électricité. Il est recommendé d'avoir une batterie de rechange chargée, disponible pour un évientuel remplacement. Contactez votre revendeur pour des détails sur la commande d'une batterie supplémentaire.
Maximalisation de la durée de vie de la batterie
Comme toutes les autres batteries, la batterie de votre ordinaire se dégrade à la longue. Cela signifie que les performances de la batterie diminuent avec le temps et l'utilisation. Pour maximaliser l'autonomie de la batterie, il est conseilé de respecter les recommendations ci-dessous.
Conditionnement d'une nouvelle batterie
Avant la première utilisation d'une batterie, un processus de « conditionnement » doit d'abord être suiv :
1 Insérez la nouvelle batterie dans l'ordinateur. Ne mettez pas l'ordinateur sous tension.
2 Connectez l'adaptateur secteur et chargez complètement la batterie.
3 Déconnectez l'adaptateur secteur.
4 Mettez l'ordinateur sous tension et utilisez-le sur l'alimentation de la batterie.
5 Videz entièrement la batterie jusqu'à ce que l'advertissement de batterieasse apparaisse.
6 Connectez de nouveau l'adaptateur secteur et chargez encore complètement la batterie.
Procedez encore ainsi jusqu'à ce que la batterie se charge et se décharge trois fois.
Utilisez ce processus de conditionnement pour toutes les nouvelles batteries ou si une batterie n'a pas ete utilisée depuis longtemps. Lorsque l'ordinateur n'est pas en utilisation pendant plus de deux semaines, il est conseilé de retarder la batterie de I'unité.

Avertissement : N'exposez pas les batteries à des températures inférieures à 0 °C (32 °F) ou supérieures à 45 °C (113 °F). Les températures extrêmes peuvent être néfastes pour la batterie.
En suivant ce processus de conditionnement, vous conditionnez votre batterie pour accepter la charge maximale possible. Le non-respect de cette procEDURE ne permet pas d'avoir la charge maximale de la batterie et raccourcira également la durée de vie effective de votre batterie.
De plus, la durée de vie utile de la batterie est affectée de manière négative par ces types d'utilisation :
- Utilisation constante de l'ordinateur sur l'alimentation du secteur avec la batterie insérée. Si vous souhaitez utiliser l'ordinateur constamment sur l'alimentation secteur, il est conseilé desterolir la batterie de l'ordinateur une fois pleinement chargée.
- Ne pas décharger/recharger la batterie à ses extrêmes comme décrit ci-dessus.
- Fréquence d'utilisation ; la batterie atteindre la fin de sa vie effective d'autant plus vite que vous l'utilisez souvent. Une batterie d'ordinateur standard a une durée de vie d'environ 300 charges.
Installation et retrait de la batterie

Important! Avant de-retirer la batterie de l'unité, connectez l'adaptateur secteur si vous souhaitez continuer à utiliser l'ordinateur. Dans le cas contraire, mettez d'abord l'ordinateur hors tension.
Pour installer une batterie :
1 Alignez la batterie sur la baie de la batterie ouverte. Assurez-vous que l'extrémité avec les contacts entre en premier et que la surface supérieure de la batterie est dirigée vers le haut.
2 Faites glisser la batterie dans sa baie et poussez la batterie doucement jusqu'à ce qu'elle se verrouille en place.
Pour retiree une batterie :
1 Faites glisser le loquet de libération de la batterie pour libreter la batterie.
2 Tirez la batterie de sa baie.
Charge de la batterie
Pour charger la batterie, assurez-vous d'abord qu'elle est correctement installée dans la baie de la batterie. Branchez l'adaptateur secteur à l'ordinateur et connectez à une prise secteur. Vous pouvez continuer à utiliser votre ordinateur sur l'alimentation du secteur pendant la recharge de votre batterie. Cependant, la recharge de la batterie avec l'ordinateur éteint permet un temps de charge beaucoup plus rapide.

Remarque : Il est recommandé de recharger la batterie avant le coucher. Charger la batterie la nuit avant un voyage permet de commencer la journée suivante avec une batterie pleinement chargée.
Vérification du niveau de la batterie
LaJAuge de la batterie de Windows indique le niveau actuel de la batterie. Placez le curseur sur I'icone batterie/alimentation sur la barre des taches pour voir le niveau actuel de la batterie.
Optimisation de l'autonomie de la batterie
L'optimisation de l'autonomie de la batterie vous aide à atteoir le maximum des batteries, prolongant le cycle charge/recharge et améliorant l'efficacité de la recharge. Il est recommendé de suivre les suggestions ci-dessous :
- Achetez une batterie supplémentaire.
- Utilisez l'adaptateur secteur autant que possible, réservant la batterie pour l'utilisation en déplacement.
- Éjectez la Carte PC lorsqu'elle n'est pas utilisé, car elle continue à consommer de l'énergie (our certains modèles).
- Conservez la batterie dans un endroit frais et sec. La température recommendée est 10^ à 30^ . Des Températures conduisent la batterie à s'auto-decharger plus rapidement.
- Trop de recharges réduisent l'autonomie de la batterie.
- Prenez soit de votre adaptateur secteur et de la batterie.
Avertissement de batterie basse
Lors de l'utilisation de l'alimentation de la batterie, surveillez la jauge de la batterie de Windows.

Avertissement : connectez l'adaptateur secteur dés que possible après que l'avertissement de batterieasse apparaît. Les données seront perdues si la batterie se vide complément et l'ordinateur s'éteint.
Lorsque l'advertissement de batterieasse apparait,la liste des actions recommandees dépend de votre situation :
| Condition | Actions Recommendées |
| L'adaptateur secteur et une prise secteur sont disponibles. | 1. Branchez l'adaptateur secteur à l'ordinateur, puis connectez au secteur. |
| 2. Enregistrez tous les fichiers devant l'etre. | |
| 3. Remettez-vous au travail. | |
| Éteignez l'ordinateur si vous souhaitez recharger la batterie rapidement. | |
| Une batterie de rechange chargée est disponible. | 1. Enregistrez tous les fichiers devant l'etre. |
| 2. Fermez toutes les applications. | |
| 3. Arrêtez le système d'exploitation pour éteindre l'ordinateur. | |
| 4. Remplacez la batterie. | |
| 5. Allumez l'ordinateur et remettez-vous au travail. | |
| L'adaptateur secteur ou une prise secteur n'est pas disponible. Vous n'avez pas de batterie secteur. | 1. Enregistrez tous les fichiers devant l'etre. |
| 2. Fermez toutes les applications. | |
| 3. Arrêtez le système d'exploitation pour éteindre l'ordinateur. |
Déplacements avec votre ordinateur notebook
Cette section vous donne des conseils et des suggestions à prendre en considération lors des déplacements, courts ou longs, avec votre ordinateur.
Déconnexion du bureau
Procedez comme suit pour déconnecter votre ordinateur des accessoires externes :
1 Enregistrez les fichiers ouverts.
2 Retirez les medias évventuels, disquettes ou disques compacts, des lecteurs.
3 Arretez l'ordinateur.
4 Fermez l'ecran.
5 Déconnectez le cordon de l'adaptateur secteur.
6 Déconnectez le clavier, le périphérique de pointage, l'imprimante, le moniteur externe et autres périphériques externes.
7 Déconnectez le cadenas Kensington si vous en utilisez un pour verrouiller votre ordinateur.
Courts déplacements
Lorsque vous vous déplacez pour de courtes distances, par exemple, de votre bureau à une salle de réunion.
Préparation de l'ordinateur
Avant de déplacer l'ordinateur, fermez et verrouillez l'écran pour le placer en mode de Sommeil. Vous pouvez maintainant emporter l'ordinateur en toute sécurité n'importe où dans l'immeuble. Pour réveiller l'ordinateur depuis le mode de sommeil, ouvre l'écran; puis appuyez et relâchez le bouton d'alimentation.
Si vous emportez l'ordinaire au bureau d'un client ou dans un autre immeuble, vous pouvez decide d'arrêter l'ordinaire :
CliqueurDemarrez,puiscliquez surArreter.
Ou:
Vous pouvez placer l'ordinateur en mode de Sommeil en appuyant sur <Fn> + <F4> . Puis fermez et verrouillez l'écran.
Lorsque vous étés prét à utiliser l'ordinateur à nouveau, déverrouillez et ouvre l'écran; puis appuyez et relâchéz le bouton d'alimentation.

Remarque: Si l'indicateur de Sommeil est eteint, I'ordinateur est entree en mode d'Hibernation et est eteint. Si I'indicateur d'alimentation est eteint mais I'indicateur de Sommeil est allumé, I'ordinateur est entree en mode de Sommeil. Dans les deux cas, appuyez et relachez le bouton d'alimentation pour rallumer I'ordinateur. Remarque que I'ordinateur peut entrer en mode d'Hibernation après une certaine durée s'il est en mode de Sommeil.
Choses à emporter pour les réunions
Si vous réunion est assez courte, il n'est probablement pas nécessaire d'emporter autre chose que votre ordinateur. Si vous réunion est plus longue ou si vous batterie n'est pas complètement chargée, il peut être utile d'emporter l'adaptateur secteur pour brancher votre ordinateur dans la salle de réunion.
Si la salle de réunion n'a pas de prise secteur, réduisez la consommation de la batterie en mettant l'ordinateur en mode de Sommeil. Appuyez sur <Fn> + <F4> ou fermez l'écran à chaque fois que vous n'utilise pas l'ordinateur de manière active. Pour la reprise, ouvre l'écran (s'il est fermé), puis appuyez et relâchez le bouton d'alimentation.
Emporter l'ordinateur à la maison
Lorsque vous vous déplacez de votre bureau à votre maison ou inversement.
Préparation de l'ordinateur
Après avoir déconnecté votre ordinateur de votre bureau, procédez comme suit pour le préparer pour le trajet vers la maison :
- Vérifiez que vous avez retiret tous les medias et disques compacts des lecteurs. Si cela n'est pas fait, vous pourriez endommager les têtes de lecture.
- Placez l'ordinateur dans une mallette de protection qui peut empêcher à l'ordinateur d'être balloté et le protégger en cas de chute.

Attention: Ne mettez rien contre l'écran de l'ordinateur. La pression exerçée par d'autres objets empilés sur l'écran pourrait l'endommager.
Choses à emporter
À moins que vous n'ayez certaines de ces choses à la maison, emportez-les avec vous :
- Adaptateur secteur et cordon d'alimentation
Le Guide rapide imprimé
Consiérations spéciales
Suivez ces conseils pour protégéur votre ordinaireur pendant le trajet de et vers la maison :
- Minimisez les effets des variations de température en gardant l'ordinateur avec vous.
- En cas d'arrêt prolongé et si vous ne pouvez pas emporter l'ordinateur avec vous, placez-le dans le coffre de la voiture pour lui éviter une surchauffe.
- Les écarts de température et d'humidité peuvent provoquer de la condensation. Avant demettre l'ordinateur en marche, laissez-le revenir à la température ambiente et vérifie l'absence de condensation sur l'affichage. Lorsqu'il a subi un écart de température de plus de 10^ (18^) , laissez-lui le temps de s'acclimatier progressivement. Dans la mesure du possible, laissez-le 30 minutes dans un endroit dont la température se situe à mi-chemin entre la température extérieure et celle de la pierce où il doit fonctionner.
Mise en place d'un bureau à la maison
Si vous travailliez frequentlyment sur votre ordinateur à la maison, il peut être utile d'acheter un second adaptateur secteur pour l'utilisation à la maison. Avec un second adaptateur secteur, vous diminuerez le poids à porter.
Si vous utilisez votre ordinateur à la maison très souvent, vous pouvez aussi ajouter un clavier, un moniteur ou une souris externe.
Voyage avec l'ordinateur
Lorsque vous vous déplacez pour une plus longue distance, par exemple de votre bureau au bureau d'un client ou pour un voyage local.
Préparation de l'ordinateur
Préparez l'ordinateur comme pour l'emporter à la maison. Assurez-vous que la batterie dans l'ordinateur est chargée. Les services de sécurité des aéroports peuvent vous demander de lemettre sous tension.
Choses à emporter
Prenez les choses suivantes avec vous :
Adaptateur secteur
- Batteries de rechange complètement chargées
Fichiers de pilotes imprimantes complémentaires si vous prévoyez d'utiliser une autre imprimante
Consiérations spéciales
En plus des conseils pour le trajet à la maison, suivez ces conseils pour protégérer vos re ordinateur pendant les voyages :
- Gardez toujours l'ordinateur avec vous, en bagage à main.
- Si possible, demandez que l'ordinaire soit inspecté manuellement. Les machines de sécurité à rayons X des aéroports sont sures, mais ne faites pas passer l'ordinaire dans les détecteurs de métaux.
- Évitez d'exposer les disquettes aux détecteurs de métaux à main.
Voyage international avec l'ordinateur
Lorsque yous you deplacez d'un pays a un autre.
Préparation de l'ordinateur
Préparez l'ordinateur comme pour un voyage normal.
Choses à emporter
Emportez les choses suivantes avec vous :
Adaptateur secteur
- Les cordons d'alimentation dont vous aurez besoin pour le ou les pays de destination
- Batteries de rechange complètement chargées
Fichiers de pilotes imprimantes complémentaires si vous prévoyez d'utiliser une autre imprimante
Justificatif d'achat pour les verifications douanieres eventuelles
Passport de garantie internationale des voyageurs
Consiérations spéciales
Suivez les mêmes conseils que pour un voyage normal. De plus, ces conseils sont utiles lors des voyages internationaux :
- En voyage à l'étranger, vérifie que la tension locale et les spécifications du cordon de l'adaptateur secteur sont compatibles. Si ce n'est pas le cas, achetez un cordon d'alimentation compatible avec la tension locale. N'utilise pas de convertisseur de tension vendu pour les apparciels electroménagers pour alimenter l'ordinateur.
- Si vous utilisez le modem, vérifiez si le modem et le connecteur sont compatibles avec le système télécoms du pays dans lequel vous allez.
Sécurité de l'ordinateur
Votre ordinateur est un investissement important dont vous devez prendre soin.
Apprenez à protéger et prendre soin de votre ordinateur.
Les fonctionnalités de sécurité complènment des verrous matériels et logiciels sous la forme d'une encoche de sécurité et de mots de passer.
Utilisation d'un cadenas pour ordinateur
Le notebook intègre une fente de sécurité compatible Kensington pour un verrou de sécurité.
Enroulez le cable du cadenas de sécurité pour ordinateur autour d'une table, de la poignée d'un tiroir verrouillé, ou de tout autre object fixe. Insérez le cadenas dans l'encôche et tournez la clef pour verrouiller le cadenas. Certains modèles ne possèdent pas de clef.
Utilisation de mots de passer
Votre ordinateur est protégé des accès non autorisés par des mots de passer. La création de ces mots de passer creée plusieurs niveaux de protection pour votre ordinateur et vos données :
- Le mot de passer du superviseur (Supervisor Password) prévient l'accès non autorisé à l'utilitaire du BIOS. Lorsqu'il est définir, vous doivent entraîre ce motif de passer pour acceder à l'utilitaire du BIOS. Voir « Utilitaire du BIOS » à la page 31.
- Le mot de passer de l'utilisateur prévient l'utilisation (User Password) non autorisée de votre ordinateur. Combinez l'utilisation de ce mot de passer avec des vérifications du mot de passer à la mise sous tension et à la reprise depuis l'Hibernation pour une sécurité maximale.
- Le mot de passer à l'initialisation (Password on Boot) prévient l'utilisation non autorisé de votre ordinateur. Combinez l'utilisation de ce mot de passer avec des vérifications du mot de passer à la mise sous tension et à la reprise depuis l'Hibernation pour une sécurité maximale.

Important! N'oubliez pas votre mot de passer du superviseur! Si vous oubliez ces mots de passer, veuillez contacter votre revendeur ou un centre de service/agréé.
Entrée d'un mot de passer
Lorsqu'un mot de passer est défini, une invite de mot de passer apparait au centre de l'écran.
- Lorsque le mot de passer du superviseur est défini, une invite apparait lorsque vous appuyez sur
pour acceder à l'utilitaire du BIOS lors de l'initialisation. - Entrez le mot de passer du superviseur et appuyez sur
pour acceder à l'utilitaire du BIOS. Si le mot de passage est incorrect, un message d'advertisement apparait. Essayez de nouveau et appuyez sur . - Lorsque le mot de passer de l'utilisateur est défini et le mot de passer à l'initialisation est activé, une invite apparait lors de l'initialisation.
- Entrez le mot de passer de l'utilisateur et appuyez sur
pour utiliser l'ordinateur. Si le mot de passage est incorrect, un message d'advertissement apparait. Essayez de nouveau et appuyez sur .

Important! Vous avez trois essais pour entrer un mot de passer. Si vous n'avez pas entrez le bon mot de passer après trois essais, le système s'arrête. Appuyez et maintenez le bouton d'alimentation pendant 4 secondes pourmettre l'ordinateur hors tension. Mettez de nouveau l'ordinateur sous tension, et essayez de nouveau.
Définition des mots de passer
Voussupouvézdéfinirlesmotsdepassenutilisantl'utilitaire duBIOS.
Extension avec des options
Votre ordinateur notebook vous offre une experience informatique mobile completé.
Options de connectivité
Les portes vous permettent de connecter des périhériques à l'ordinateur comme vous le fieriez pour un ordinateur de bureau. Pour des instructions sur la connexion des différents périhériques à l'ordinateur, lisez la section suivante.
Modem fax/donnees (seulement pour certains modèles)
Votre ordinateur a un modem fax/données V.92 56 Kbps intégré. (seulément pour certains modèles)

Avertissement! Ce port modem n'est pas compatible avec les lignes de téléphones numériques. Le modem sera endommagé si vous le connectez à une ligne de téléphone numérique.
Pour utiliser le port modem fax/données, connectez un cable téléphonique du port du modem à une prise téléphonique.


Avertissement! Veuillez vous assurer que le cable que vous utilisez est approprié pour le pays dans lequel vous travailliez.
Fonction réseau intégrée
La fonction réseau intégrée vous permet de connecter votre ordinateur à un réseau Ethernet.
Pour utiliser la fonction réseau, connectez un cable Ethernet du port Ethernet (RJ-45) à l'arrière de l'ordinateur à une prise réseau ou à un concentrateur réseau.

Universal Serial Bus (USB)
Le port USB 2.0 est un port série à haute vitesse qui permet de connecter des péripériques USB sans occuper les ressources précieuses du système.

Port IEEE 1394 (seulement pour certains modèles)
Le port IEEE 1394 de l'ordinateur permet de connecter des périhériques compatibles IEEE 1394, tels qu'un caméoscope ou un apparil photo numérique. Reportez-vous à la documentation du caméoscope ou de l' apparil photo numérique pour des détails.

Interface multimédia haute définition (seulément pour certains modèles)
HDMI (interface multimédia haute définition) est une interface audio/vidéo entièrement numérique, non comprimée, largement prise en charge. HDMI fournit une interface entre toute source audio/vidéo numérique compatible, telle qu'un décodeur, un lecteur de DVD et un récepteur A/V, et un audio numérique et/ou moniteur video compatible, tel qu'un téléviseur numérique, sur un seul cable.
Utilisez le port HDMI sur votre ordinateur pour connecter un équipement audio et video haut de gamme. Un seul cable permet une installation propre et une connexion rapide.

ExpressCard (seulement pour certains modèles)
L'ExpressCard est la dernière version de la carte PC. Elle a une interface plus petite et plus rapide qui améliore encore plus l'ergonomie et l'extensibilité de votre ordinateur.
Les ExpressCard prennet en charge un grand nombre d'options d'extension, y compris les adaptateurs de carte mémoire Flash, les tuners TV, la connectivité Bluetooth et les adaptateurs IEEE 1394B. Les ExpressCard prennet en charge les applications USB 2.0 et PCI Express.

Important ! Il y a deux types, ExpressCard/54 et ExpressCard/34 (54 mm et 34 mm), chacun avec différentes fonctions. Touts les emplacements ExpressCard ne prennt pas en charge les deux types. Veuillez vous reporter au le manuel d'utilisation de votre carte pour des détails sur l'installation et l'utilisation de la carte et ses fonctions.
Insertion d'une ExpressCard
Inserez la carte dans l'emplacement et poussez doucement jusqu'à ce qu'elle se positionne avec un cli.

Éjection d'une ExpressCard
Avant d'éjecter une ExpressCard :
1 Quittez l'application qui utilise la carte.
2 Cliquez du bouton gauche sur I'icone de retrait de matériel sur la barre des tâches et arrêtez le fonctionnement de la carte.
3 Poussez la carte doucement dans le connecteur et relâchez pour éjecter la carte. Puis retirez la carte de l'emplacement.
Installation de la mémoire
Procedez comme suit pour installer la mémoire :
1 Mettez le notebook hors tension, débranchez l'adaptateur secteur (s'il est branché), et retirez la batterie. Tournez ensuite le notebook à l'envers pour acceder à la base.
2 Retirez les vis du couvercle de la mémoire, soulevez-le, puis soulevez et retirez le couvercle de la mémoire.
3 (a) Insérez le module mémoire en diagonale dans le connecteur, puis appuyez (b) doucement sur le module jusqu'à ce qu'il se mette en place avec un déclic.

4 Remettez le couvercle de la mémoire en place et fixez-le avec la vis.
5 Réinstallé la batterie et reconnectez l'adaptateur secteur.
6 Mettez l'ordinateur sous tension.
La nouvelle taille totale de la mémoire est détectée et reconfigurée automatiquement par l'ordinateur. Veuillez consulter un technicien qualifié ou contacter votre revendeur Acer.
Utilitaire du BIOS
L'utilitaire du BIOS est un programme de configuration matérielle intégré dans le BIOS de l'ordinateur.
Votre ordinateur est déjà configuré et optimisé de manière appropriée et il n'est pas nécessaire d'exécuter cette utilitaire. Cependant, si vous avez des problèmes de configuration, il est nécessaire de l'exécuter.
Pour activer l'utilitaire du BIOS, appuyez sur
Sequence d'initialisation
Pour définit la série d'initialisation dans l'utilitaire du BIOS, activez l'utilitaire du BIOS, puis selectionnez Boot dans les catégories affichées en haut de l'écran.
Activation de la récapération disque à disque
Pour activer la récapération disque à disque (récapération du disque dur), activez l'utilitaire du BIOS, puis Sélectionnez Main dans les catégories affichées en haut de l'écran. Trouvez D2D Recovery en bas de l'écran et utilisez les touches
Mot de passer
Pour définir un mot de passer à l'initialisation, activez l'utilitaire du BIOS, puis Sélectionné Security dans les catégories affichées en haut de l'écran. Trouvez Password on boot: et utilisez les touches
Utilisation de logiciel
Lecture de films DVD

Remarque: Cette fonction est disponible sur certains modèles seulement.
Lorsque le module lecteur de DVD est installé dans la baie lecteur optique, vous pouvez dire les films DVD sur votre ordinateur.
1 Éjectez le plateau du DVD et insérez un disque film DVD, puis fermez le plateau.

Important! Lorsque vous exécutez DVD Player pour la première fois, le programme vous demande d'entrez le code de zone. Les disquesDVD sont divisés en 6 zones. Lorsque vous ordinateur est régled sur un code de zone, il ne lira que les disques de cette zone. Vous pouvez avoir le code de zone cinq fois au maximum (y compris la première fois), après quoi cette sélection est définitive. Une restauration de votre disque dur ne réinitialise pas le nombre de sélections du code de zone. Consultez le tableau suivant pour les informations des codes de zone des films DVD.
2 La lecture du film DVD commence automatiquement après quelques secondes.
| Code de zone | Pays ou région |
| 1 | États-Unis d'Amérique, Canada |
| 2 | Europe, Moyen-Orient, Afrique du Sud, Japon |
| 3 | Asie du sud-est, Taiwan, Corée du sud |
| 4 | Amérique Latine, Australie, Nouvelle-Zélande |
| 5 | Ex-U.R.S.S., certaines régions d'Afrique, Inde |
| 6 | République Populaire de Chine |

Remarque : Pour modifier le code de zone, insérez un film DVD d'une zone différente dans le lecteur de DVD. Veuillez consulter l'aide en ligne pour plus d'informations.
Foire aux questions
Vous trouverez ici une liste des situations qui peuvent apparaître lors de l'utilisation de l'ordinateur, ainsi que des solutions pour chacune.
J'ai appuyé sur le bouton d'alimentation, mais l'ordinateur ne se met pas sous tension ou ne s'initialise pas.
Vérifiez l'indicateur d'alimentation :
-
Si l'indicateur n'est pas allumé, l'ordinateur n'est pas alimenté. Vérifiez ce qui suit :
-
Si vous utilisez la batterie, son niveau de charge peut etre trop bas et ne pas pouvoir alimenter I'ordinateur. Connectez I'adaptateur secteur pour recharger la batterie.
Assurez-vous que l'adaptateur secteur est correctement branché à l'ordinateur et à la prise secteur.
Si I'indicateur est allumé, vérifiez ce qui suit :
- Le lecteur USB externe contient-il une disquette non-initialisable (non-système)? Retirez-la ou remplacez-la avec une disquette système et appuyez sur
+ + pour redémarrer le système.
Rien n'apparait à l'écran.
Le système de gestion de l'alimentation de l'ordinateur eteint I'écran automatiquement pour économiser I'énergie. Appuyez sur une touche pour rallumer I'écran.
Si I'appui sur une touche ne rallume pas I'ecran, il peut y avoir trois raisons :
- Le niveau de la luminosité est peut-être trop bas. Appuyez sur F_n + (augmenter) pour ajuster le niveau de la luminosité.
- Le périphérique d'affichage est peut-être régle sur un moniteur externe. Appuyez sur la touche spéciale de besoin de l'affichage
+ pour returner l'affichage à l'ordinateur. - Si l'indicateur de Sommeil est allumé, l'ordinateur est en mode de Sommeil. Appuyez et relâchéz le bouton d'alimentation pour la reprise.
Aucun son ne sort de l'ordinateur.
Vérifiez ce qui suit :
Le son est peut-être désactivé. Dans Windows, vérifie l'icone de contrôle du son (un haut-parleur) sur la barre des tâches. Si elle est barrée, cliquez sur l'icone et déslectionnéz l'options Tous muets.
- Le niveau du volume est peut-être trop bas. Dans Windows, vérifie l'icone de contrôle du son sur la barre des tâches. Vous pouvez utiliser les boutons de contrôle du volume pour ajuster le volume.
- Si un casque stéreo, des écouteurs ou des haut-parleurs externes sont connectés au port de sortie audio de l'ordinateur, les haut-parleurs internes sont éteints automatiquement.
Je veux éjecter le plateau du lecteur optique sansmettre l'ordinateur sous tension.
Le lecteur optique a un trou d'éjection mécanique. Insérez tout simplement la pointe d'un stylo ou d'un trombone dans le trou et appuyez pour éjecter le plateau. Le clavier ne répond pas.
Le clavier ne répond pas.
Essayez de connecter un clavier externe au port USB sur l'ordinateur. S'il fonctionne, contactez votre revendeur ou un centre de service agreeé car le cable interne du clavier est peut-être déconnecté.
L'imprimante ne fonctionne pas.
Vérifiez ce qui suit :
Assurez-vous que l'imprimante est branchée à une prise secteur et est sous tension.
Assurez-vous que le cable de l'imprimante est bien branché dans le port parallele ou USB de l'ordinateur et dans le port correspondant de l'imprimante.
Je veux restaurer mon ordinateur à sa configuration d'origine sans les CD de récepération.

Remarque: Si vous système est la version multilingue, le système d'exploitation et la langue que vous désissez lorsqu'elles mettez le système sous tension pour la première fois seront les seules options pour les opérations de récapération futures.
Ce processus de récapération vous aide à restaurer le lecteur C: avec les logiciels d'origine installés lorsque vous avez acheté votre notebook. Suivez les étapes cédssous pour reconstruire votre lecteur C.: (Votre lecteur C: sera reformaté et toutes les données seront effacées.) Il est important de sauvégarder tous les fichiers données avant d'utiliser cette option.
Avant d'effectuer une opération de restauration, veuillez vérifier les paramètres du BIOS.
1 Vérifiéz si la fonction Acer disk-to-disk recovery est activée ou non.
2 Assurez-vous que le paramètre D2D Recovery dans Main est régle sur Enabled.
3 Quittez l'utilitaire du BIOS et enregistrez les modifications. Le système se réinitialise.

Remarque : Pour activer l'utilitaire du BIOS, appuyez sur
Pour commencer le processus de récapération :
1 Redemarrez le système.
2 Lorsque le logo Acer est affché, appuyez sur <Alt> + <F10> en même temps pour acceder au processus de récapération.
3 Reportez-vous aux instructions à l'écran pour effectuer une récapération du système.

Important! Cette fonction occupe 15 Go dans une partition cachée de votre disque dur.
Demande de service
Garantie internationale des voyageurs (International Travelers Warranty; ITW)
Votre ordinateur est couvert par une garantie internationale des voyageurs (ITW) qui vous permit d'avoir l'esprit libre et tranquille lorsque vous voyageez. Notre réseau de centers de maintenance agregées est prêt à vous venir en aide.
Un passoport ITW est fourni avec votre ordinateur. Ce passoport contient tout ce que vous doivent savoir sur le programme ITW. Ce livre contient la liste des centres de maintenance agrés. Lisez le passoport avec soin.
Ayez toujours le passaport ITW avec vous, surtout lorsque vous voyagez, pour pouvoir bénéficier du support de nos centres de maintenance. Placez votre preuve d'achat dans le rabat à l'intérieur de la couverture du passaport ITW.
Si le pays dans lequel vous voyagez n'a pas de centre de maintenance agréé ITW, vous pouvez tout de même contacter nos bureaux internationaux. Veuillez consulter http://global.acer.com.
Avant d'appeler
Veuillez préparer les informations qui suivent avant d'appeler Acer pour un service en ligne, et vuillez être à côté de votre ordinateur lorsque vous appelez. Avec cette aide, nous pouvons réduire la durée de l'appeil et vous aidier à résoudre vos problèmes efficacement. Si votre ordinateur affiche des messages d'erreur ou émet des averissements sonores, notes-les lorsqu'ils apparaissent à l'écran (ou leur nombre et leur séquence pour les averissements sonores).
Il vous est demandé de fournir les informations suivantes :
Nom :
Adresse :
Numéro de téléphone :
Type de système et modele :
No. de série :
Date d'achat :
Dépannage
Ce chapitre présente les solutions aux problèmes relativement courants. Lisez-le avant d'appeler un technicien à l' apparition d'un problème. Les solutions à des problèmes plus sérieux demandent l'ouverture de l'ordinateur. N'essayez pas d'ouvoir l'ordinateur par vous-même. Contactez votre revendeur ou un centre de service/agréé pour assistance.
Conseils de dépannage
Cet ordinateur portable a une conception avancée qui affiche des messages d'erreur à l'écran pour vous aider à résoudre les problèmes.
Si le système affiche un message d'erreur ou un symptôme d'erreur survient, consultez « Messages d'erreur » ci-dessous. Si le problème ne peut pas être résolu, contactez votre revendeur. Voir "Demande de service" à la page 36.
Messages d'erreur
Si vous receivez un message d'erreur, notez-le et prenez les mesures correctrices. Le tableau qui suit donne la liste des messages d'erreur système en ordre alphabétique et les mesures correctrices recommandées.
| Messages d'erreur | Action correctrice |
| CMOS battery bad | Contactez votre revendeur ou un centre de service agréé. |
| CMOS checksum error | Contactez votre revendeur ou un centre de service agréé. |
| Disk boot failure | Insérez une disquette système dans le lecteur A, puis appuyez sur <Entrée> pour réinitialiser. |
| Equipment configuration error | Appuyez sur <F2> (lors du POST) pour accéder à l'utilitaire du BIOS, puis appuyez Exit dans l'utilitaire du BIOS pour réinitialiser. |
| Hard disk 0 error | Contactez votre revendeur ou un centre de service agréé. |
| Hard disk 0 extended type error | Contactez votre revendeur ou un centre de service agréé. |
| I/O parity error | Contactez votre revendeur ou un centre de service agréé. |
| Keyboard error or no keyboard connected | Contactez votre revendeur ou un centre de service agréé. |
| Keyboard interface error | Contactez votre revendeur ou un centre de service agréé. |
| Memory size mismatch | Appuyez sur <F2> (lors du POST) pour accéder à l'utilitaire du BIOS, puis appuyez Exit dans l'utilitaire du BIOS pour réinitialiser. |
Si vous avez toujours des problèmes après avoir passé en revue les mesures correctrices, veuillez contacter votre revendeur ou un centre de service agreeé. Certains problèmes peuvent être résolus en utilisant l'utilitaire du BIOS.
Avis réglementaires et de sécurité
Déclaration FCC
Cet apparéil a été testé et reconnu conforme aux normes applicables au matériel informatique de Classe B, en vertu de l'article 15 des Réglementations de la FCC. Ces normes visent à fournir aux installations résidantes une protection raisonnable contre les interférences. Cet apparéil génére, utilise et peut diffuser des signaux radioélectriques. En outre, s'il n'est pas installé et employé conformément aux instructions, il peut provoquer des interférences nuisibles aux communications radio.
Quoi qu'il en soit, on ne peut pas garantir que des interférences ne se produit dans certaines installations. Si l'appareil est à l'origine de nuisances vis-à-vis de la réception de la radio ou de la télévision, ce que l'on peut déterminer en l'allumant puis en l'éteignant, il est recommendé à l'utilisateur de prendre l'une des mesures suivantes pour tenter de remédier à ces interférences :
Réorientez ou changez l'antenne réceptrice de place.
Eloignez l'appareil du recepteur.
- Branchez l'appareil à une prise appartenant à un circuit différent de celui du récepteur.
- Consultez le fournisseur ou un technician radiotélévision experimenté.
Avis : Câbles blindés
Des cables blindés doivent être utilisés pour la connexion avec d'autres appareils informatiques afin de conserver la conformité aux normes FCC.
Avis : Appareils périphériques
Seuls des péripériques (appareils entrée/sortie, terminaux, imprimantes) certifiés comme étant conformes aux limites de la classe B peuvent être connectés à cet apparéil. Le fonctionnement avec des péripériques non certifiés causera probablement nuisances vis-à-vis de la réception de la radio ou de la télévision.
Attention
Les changements ou modifications qui ne seraient pas expressement approuvés par le fabricant, pourraient faire perdre à l'utilisateur le droit à faire fonctionner l'appareil qui est découvert par la Federal Communications Commission.
Avis : Canadian users
Remarque à l'intention des utilisateurs canadiens
Cet apparéil numérique de la classe B est conforme à la norme NMB-003 du Canada.
Avis pour le modem (seulement pour certains modèles)
TBR 21
Cet apparéil a été approuvé [décision du conseil 98/482/EC - « TBR 21 »] pour une connexion de terminal simple au réseau téléphonique public commuté (RTPC). Cependant, du fait de différences entre les RTPC fournis dans les différents pays, l'approbation, par elle-même, ne garantit pas un bon fonctionnement à chaque point de terminaison du RTPC. En cas de problème, vous doivent contacter en premier le fournisseur de votre apparéil. Pour plus d'information sur les pays applicables, veillez consulter « Avis réglementaires et de sécurité » à la page 38.
Déclaration sur les pixels de l'écran LCD
L'écran LCD est produit avec des techniques de fabrication à haute précision. Néanmoins, certains pixels parfois avoir des ratés ou apparaitre comme étant des points noirs ou rouges. Ceci n'a pas d'impact sur l'image enregistrée et ne constitue pas un dysfonctionnement.
Avis réglementaire du périphérique radio

Remarque : Les informations réglementaires ci-dessous sont pour les modèles avec réseau sans fil et / ou Bluetooth seulement.
Général
Ce produit est conforme aux standards de fréquence radioélectrique et de sécurité des pays et régions dans lesquels il a été approuvéd pour une'utilisation sans fil. Selon les configurations, ce produit peut ou non contenir des péripériques de radio sans fil (p.ex. des modules réseau sans fil et/ou Bluetooth). Les informations ci-dessous sont pour les produits avec de tels péripériques.
Déclaration de conformité pour les pays de l'UE
Acer déclare par la présente que cet ordinateur notebook est conforme aux exigences essentielles et autres dispositions concernées de la Directive 1999/5/EC.
Liste de pays concernés
Les pays membres de l'UE en juillet 2009 sont : Allemagne, Autriche, Belgique, Bulgarie, Chypre, Danemark, Grèce, Espagne, Estonia, France, Finlande, Hongrie, Irlande, Italie, Lettonie, Lituanie, Luxembourg, Malte, Pays Bas, Pologne, Portugal, République Tchéque, Roumanie, Royaume Uni, Slováquie, Slovenie et Suède. L'utilisation est permise dans les pays de l'Union europeenne, ainsi qu'en Norvège, Suisse, Islande et Liechtenstein. Ce périhérique doit être utilisé en stricte conformité les réglementations et les contraintes du pays d'utilisation. Pour des informations complémentaires, veuillez contacter le bureau local du pays d'utilisation. Veuillez visitor http://ec.europa.eu/enterprise/rtte/implem.htm pour la dernière liste des pays.
L'exigence de sécurité RF de la FCC
La puissance radiée en sortie de la carte réseau sans fil Mini PCI et de la carte Bluetooth est bien inférieure aux limites d'exposition de fréquence radioélectrique de la FCC. Néanmoins, l'ordinateur notebook doit être utilisé de manière à ce que le potentiel pour le contact humain pendant l'utilisation normale soit minimisé comme suit :
1 Il est demandé aux utilisateurs de suivre les instructions de sécurité RF sur les apparêils sans fil en option qui sont inclues dans le manuel d'utilisation de chaque apparéil RF en option.

Attention: Pour être conforme aux limites d'exposition RF de la FCC, une distance de séparation d'au moins 20 cm (8 pouces) doit être maintainue entre l'antenne pour la carte mini PC réseau sans fil intégrée à la section de l'écran et toute personne.


Remarque: L'adaptateur Mini PC sans fil utilise la fonction de diversité de transmission. La fonction n'émet pas de fréquences radio simultanément sur les deux antennes. Une des antennes est selectionnée automatiquement ou manuellement (par l'utilisateur) pour assurer une bonne qualité de radiocommunication.
2 Cet apparéil est restreint à l'utilisation à l'intérieur des batiments du fait de son fonctionnement dans la plage de fréquences 5,15 to 5,25 GHz. La FFC exige que ce produit soit utilisé à l'intérieur des batiments pour la plage de fréquence de 5,15 à 5,25 GHz pour réduire l'interférence nuisible potentielles aux systèmes satellite mobile à canal commun.
3 Les radars à haute puissance sont désignés comme utilisateurs principaux des bandes 5,25 à 5,35 GHz et 5,65 à 5,85 GHz. Ces stations radar peuvent cause des interférences avec ou endommager cet apparéil.
4 Une installation inappropriée ou une utilisation non autorisée peut être à l'origine de nuisances vis à vis des communications radio. De même, toute alteration de l'antenna interne annulera la certification FCC et de votre garantie.
Canada - Appareils de radiocommunications de faible puissance, exemptions de licence (RSS-210)
Exposition des personnes aux champs RF (RSS-102)
L'ordinateur notebook utilise des antennes intégrées à gain bas qui n'émette pas de champ RF dépassant les limites de Canada Santé pour les populations générales. Consultez le code de sécurité disponible, qui peut être obtenu sur le site Web de Santé Canada : www.hc-sc.gc.ca/rpb.
Pour définitir un mot de passer à l'initialisation, activez l'utilitaire du BIOS, puis Sélectionnéz Security dans les catégories affichées en haut de l'écran. Trouvez Password on boot: y utilise las teclas
Uso del software
Utilizar energia électrique
Slik tar du ut batteriet:
1 Trykk pa batterilasen for a lose ut batteriet.
2 Dra batteriet ut av batteriskuffen.
Lade opp batteriet
När du skal lade opp batteriet, sjekker du först at det er riktig installiert i batteriskuffen. Plugg batterieliminatoren til maskinen og koble den til stromnettet. Du kan fortsatt bruke datamaskinen mens batteriet lades opp. Men Å lade opp batteriet mens den er slätt av, vil gi en betydelig raskere opplading.

Lose ut et ExpressCard
För du lõser ut et ExpressCard:
Inden du skubber et ExpressCard ud:
ExpressCard (len pré určité modely)
ExpressCard je novsia verzia karty PC Card. Je mensia a je vybavena rychlejsim rozhranim, takze dalej vylepsuje vuizitefrost'a moznosti Rozsirenia vasho poctica.
Remarque l'intention des utilisateurs canadiens
Cet apparéil numérique de la classe B est conforme à la norme NMB-003 du Canada.
Skladno z ruskim regulatornim certifikatom

ME61
Obvestila za modem (le na dolocenih modelih)
Obvestilo za ZDA
Remarque à l'intention des utilisateurs canadiens
Cet appeareil numérique de la classe B est conforme a la norme NMB-003 du Canada.
Ukladeno s ruskom regulatornom certifikacijom

ME61
Mediu de fonctionare

Avertisment! Din motive de siguranta, opriti allae dispositivele de transmisie radio sau wireless atunci cand folosi ti computerul portabil in urmatoarele condi tii. Printrte aceste dispositive se pot numara, fara limitare la: Ian wireless (WLAN), Bluetooth si/sau 3G.
Mediu de fonctionare
viii
Dispositive medicale
ix
Vehiculele
ix
Mediile potential explozive
ix
Apeluri de urgenta
X
Instrueti de depositare a deseurilor
X
Consultanta privind mercurul
X
ENERGY STAR
xi
Sfaturi.si informatii deutilizarecomfortabla
XIII
Inainte de todo
xiii
Remarque à l'intention des utilisateurs canadiens
Cet apparéil numérique de la classe B est conforme à la norme NMB-003 du Canada.
Conform cu certificarea de reglementare rusa

ME61
Remarque à l'intention des utilisateurs canadiens
Cet apparéil numérique de la classe B est conforme à la norme NMB-003 du Canada.
CbOTBeTCTBa IIO pycKaTa peryJaToPHa cepTnΦnKaζη

ME61
YBeIOOMJIeHn3aMOJeMn (cAmO 3a HЯKOn MOJeJI)
YBeDOMJIeHne 3a CAU
ToBa o60pydBaHe e B c6oTBeTcTBn e pa3dEe 68 ot IpaBnIaTa ha FCC. Ha MoDema mHa eTrkET, KoITo Hapei C dpyrata INHOpMauny cbIbPka n PernctpauOnen Homep B FCC n Ringer Equivalence Number (REN) 3a o60pydBaHTo. PIn pONCKBaHe, Tp46Ba da npedocTabTe Ta3n INHOpMauny ha CBOra TeJefOHHa KOMnAnHn.
Ako BaIeTo TeIePOnHObObOpUdBaHe npuYnHraBa 1eTn Ha TeIePOnHHa TpeK, TeIePOnHATA KOMNaHnMoKe BpemHDo pKeBcHcYe cnyrTe, KOITOn nOlyaBaTe. Ako e Bb3MoxHo, 6e Bu yBeDomr TpeDbarntEnHO. Ho B cIyau, Ye npEdBapNTenHOTy vBeDMJIeHne He e npakTNuH pnpJIOxIMo, 6e Bu yBeDMr Tpnp IpbBa Bb3MOXHocT. CbIo TaKa 6bDeTe INHΦopMnpaHn 3a BaIeTO npabo Da nOdaTe OIIaKBAHe B FCC.
Baawata Tepeonha Kompana MoKe Da npomeHa CBOHTe yCTPOIcTBa, oBOpyDbaHe, onepaun nn pOceDpyn, KoTo MOKe Da 3aceHne npabunHata pa60Ta Ha o6OpyDbaHTo Bn. Pn TaBb Cnyaui Se bDeTe N3BeCTeHn PpeDbapntelHo, 3a da IMate Bb3MOXHOCT Da NOdPbPKaTe HENpeKbCHaTO TepeOHnTe Cn YClyrN.
Ako obopydbaheTo He pa6oTn npabuHNO, oTKaueTe ro OT TepeOHHaTa JINHra Da pa36epeTe daHn npobEmbTe B HeJ. Ako npobEmbTe B OobopydBaHeTo, npekpatete N3no3BaHeTo My n Ce CBpbKte TcBc DnCTpObyTop nn npoDaBaU.

BhimaHne: 3a da hamaJIte pncsA OTOxkap, n3noI3BaIte cAmo TeleKOMyHnKaUOnHH KabeJIn No.26 AWG nIN no-rolemn, BkIIOeHN b UL cncsbKa nIN IIbK cepTnOuIpaHn no CSA.
TBR 21
ToBa o6obpydBaHe e oO6bpeHo [PeSeHne Ha CbBcTa 98/482/EC - "TBR 21"] 3a
eHNOTepMnHaJIHa Bp3ka C O6IeCTBeHata KOMyTnpYema TeIePOnHa MpeKa (OKTM). Iopadn pa3IuNraTa Ha OTdeINHte OKTM B pa3IuNHTe DpbKAbN,
oO6bpeHneTO cAmo nO ce6e cn He daba 6eZcIOBHa rapaHnna 3a ycNeiHa pa60Ta
BbB BCsKa TepMnHaJIHa ToUka Ha OKTM. B cIpyaHn pnoBleMn, Tpr6Ba Da ce
CBbpKeTe C DCtABnuHa Ha BaWeTo O6obPyBaHe. 3a nobYe INΦOpMaunr 3a
CbOTBeTHnTe CTpaHn MOJ BnKTe pa3dEe "YBeDOMJeHn 3a peryNaunn H
6e3onacNoCT" Ha cTp. 37.
YBeIDOMJIeHne 3a ABCTpaIIy
Ot cboobpaqehnna 3a 6e30nacHocT, CBbp3BaIte caMo cnyuapKn c eTNKeT 3a cbOTBeTCTBHe nO TeleKOMyHnKaUHOHHTe cTaHApTn. Toba BKJIouvBa notpeBnteNcO obOpudBaHe, KOeTo mMa MapKIpOBka 3a pa3peuHne nn cepTnΦnucPaine.
YBeDomJIeHne 3a HOba 3eJIaHnIa
1 I3daBaHeto Ha Telepermit 3a DaJeHO TepMnHaIHO oBOpyDbaHe O3NaUba cAmO, ye KOMpaHnraTe Telecom e npneJa, ye oBopdyBaHeto CbOTBeTCTBa ha MINHMaHnHTe yCIOBnA 3a Bp3ka C mpeKInTe N.3daBaHaTo Ha Telepermit He O3NaUba, ye Telecom OoOBpRA pOdykTA, HnTO PbK npedCTabIbRA KaKBATO n Da 6bnlo rapaunia. PpeDN BCNUKO, Telepermit He daBA rapaunia, Ye oBopyDbaHeto ige paobTu npaBnIHO BvB BCNUKN acNeKTu C dpYro oBOpyDbaHe c Telepermit OT dpyra MapKa IJIN MoDeJ, HnTO O3NaUba, ye KoITOn I da e npOdyKT e CbBMeCTmC BCNUKN MPeKOBu ycIytn Ha Telecom.
2 Toba obopydBaHe He e cnoocHo, npn BcKaKbnpaBoTHn ycNoBn,Ha npabuHa pa6oTa npn IIO-BVCOKIne CkOPOCTn, 3a KOInTo e npedHa3HaueHo. Telecom He noema OTROBOPHOCT, aKo B TaKbA o6ctOraTeJCTBa Bb3HnKHat npoblemn.
3 Hяко npametpn, n3nckBaHn 3a cbotbctBne c n3nckBaHnra 3a Telepermitt Ha Telecom, 3abncrT OT obopyDbaHeto (PC), cBbp3aHO c Toba ycTroPcTBO. Cbbp3aHTo OobopyDbaHe Tp6Ba Da ce harnacn 3a pa60Ta B pamKnte Ha cnedHnte oRpaHnueHnna 3a cbotbctBne cbc CneuФkaunite Ha Telecom:
a He 6nBa da ce npabT nobuee ot 10 onnTa 3a obaxdahe KbM eDIn H cbH oHomeB pamKnte Ha HnepeKbChat 30-MmHyTeH nepnoI npn KaKBOTo I da e pbuHO h6npaHe Ha Hoomep, n
b TenefoHHata JInnHa Na obOpyDbaHeTo Tpr6Ba Da ce 3aTbapr 3a He noMaJIko OT 30 cekyn Mexdy Kpar Ha eHIN ONIT 3a HabipaHe N Hauanoto Ha CneDbauHia.
4 HЯко npaMeTpni, n3nCKBaHn 3a cbOTbETcBne C n3nCKBaHnra 3a Telepermit Ha Telecom, 3abncrT OT obOpdyBaHeto (PC), cBbP3aHO c Toba yCTpoiCTBO. 3a da MoKe Da paBOTu Cnoepd Kpntepnnte 3a CbOTBeTcBne Cbc CpeunФнkaUnTe Ha Telecom, CBpb3aHTo O bOpdyBaHe Tpr6Ba Da e HarJIaceHo TaKa, Ye ABTomAtuHnTe HabipAHn Ha pa3IuHn Homepa Da ca npe3 TaKbB INTEpBaJ, Ye da Ima IOne 5 cekyHm MekDy Kpar Ha eEIN ONIT 3a Habipane N HauAIOTo Ha dpyr.
5 606pydBaHTo He 6nBa Da ce Harglac Da npabn ABTomTuHn ObaKdaHn KbM CneuHaTcnyk6a Ha Telecom 111.
6 YcTpoiCTBToE o6OpuyBaHO 3a aHaIorOBO Ha6npaHe, a CTaHaprTbT Ha Telecom e cHpOBO Ha6npaHe DTMF. Hma rapaHcHry, ye JInHInTe Ha Telecom ue npoDblKAT da paobotI n cHaIarOBO Ha6npaHe.
7 I3noI3BaHeTo Ha aHaIorOBo Ha6npaHe, KOraTo TOBa oBOpyDBeAe e Cbbp3aHo KbM eHa n CbUa JInHnC dpyro OOBpyDBeAe, MoKe da npoOn 3BbHeHe nIu Shym, a CbToTaka - Da c3daJe rpeuHNo ycNObne 3a otROBop. B clyuai, Ye Bb3NHkHat TakInBa np6Iemn, Notpe6nteJrT HE BIVBa da ce Cbbp3Ba cbc cnYkbata Fault Service Ha Telecom.
8 O6opudBaHTo MoKe I Da He npexBpIn ycneuHO obaKdaHe KbM dpyro yctpoiCTBO, CbP3aHO KbM cbUata JINHn.
9 B cnya, ye ToKbT cnpe, ypeIbT moKe I da He pa6oTu. MoJa yBepTe ce, ye 3a cneuHn cnyaH pa3noIarate C OTdeneH TelefoH, KoTo He 3aBcN O T eJekTpueCTBOTO.
3aЯВленье 3a LCDпнксelen
LCD nncnpeat cce b3daaba qe3 BncoK Opeu3Hn PpOun3BODCTBEHN TexHOLOrnn. Bbnpekn TOBa NOHkORA HJKOINKCEEN 3acNcT INI IN3rJIeXdAT KATO UepHn INI INU cepBeHn ToCk. Toba Hma efeKT Bbpxy 3aIncaHOTo I3O6paXeHne N He npedctablaRa HEn3PpABHOCT.
PerylaTopNo yVeDOMJIeHne 3a paIHOyCTpOiCTBa

Remarque à l'intention des utilisateurs canadiens
Cet apparéil numérique de la classe B est conforme à la norme NMB-003 du Canada.
Kooskolas Venemaa regulatoarse sertifikatsioniga

Rupeesan par akumulatoru
Tirišana un akpopišana
Skarienpanelis
Skarienpanela pamati (ar pirkstu nospiedumu lasitaju)
Skarienpanela pamati (ar divu kliksku pogam)
Remarque à l'intention des utilisateurs canadiens
Cet apparéil numérique de la classe B est conforme à la norme NMB-003 du Canada.
Remarque l'intention des utilisateurs canadiens
Cet apparéil numérique de la classe B est conforme à la norme NMB-003 du Canada.
かんたんマニュアル