TRAVELMATE 5742G - Notebook ACER - Bezplatný návod k obsluze
Najděte návod k zařízení zdarma TRAVELMATE 5742G ACER ve formátu PDF.
Stáhněte si návod pro váš Notebook ve formátu PDF zdarma! Najděte svůj návod TRAVELMATE 5742G - ACER a vezměte svůj elektronický přístroj zpět do rukou. Na této stránce jsou zveřejněny všechny dokumenty potřebné k používání vašeho zařízení. TRAVELMATE 5742G značky ACER.
NÁVOD K OBSLUZE TRAVELMATE 5742G ACER
Obecná uživatelská príručka
Informace pro vaši bezpečnost a pohodlí
Bezpečnostní poukyny
TytoPokyny si pečliviěprečteze. Uložte je pro prípadné budoucí použití. Uchovejte tento dokument pro prípadné budoucí použití. Dodržujte veškerá upozorněni aPokyny uvedené na vyrobku.
Vypnuti vyrobku pred ciistenim
Před Čišěním odpojte výrobek ze zásvuky. Nepoužívejte tekuté nebo aerosolové Čistěče. K Čišění používejte vlhý hadřík.
UPOZORNÉNÍ – odpojování zařízení
Při pripojováni a odpojováni napájení od napájecího zdroje postupujte podle následujícíchPokynú:
Nainstalujte napajeci zdroj prêd pripojením napajecho kabelu do elektrické zásuvky.
Prid vymutim napajeciho zdroje z poctace odpojte napajeci kabel.
Ma-li systém vice zdrojū napájení, odpoje napájení od systému odpojením všech napájecích kabelù od zdrojū napájení.
Elektrická zásuvka, do které pripojujete napajćí kabel, musi byt snadno pristupné a umistěné co nejblíze uživatele zařizení. Pokud potřebujete odojit napajéní zařizení, odojtne napajćí kabel z elektrické zásuvky.
Pocitač byl dodán s plastovou maketou kartyzasunutou v patici karet. Tyto makety chrání nepouživané patice préd prachem, kovovými prědměty a dalşimi Částicemi. Maketu uschovejte a použijte, není-li v patici naintalována Žádná karta.
VYSTRAHA k poslouchání
Dodržujte tytoPokyny,abystechraniilsvujsluch.
Zvyšujte postupne hlasitost, dokud nebude poslech jasný a pohodlný.
- Nezvyšujte uroven hlasitosti poté, co si uši privyknou.
Neposlouchejte hudbu s vysokou hlasitosti po dlouhou dobu.
- Nezvyšujte uroven hlasitosti kvuli potlací hlucného okoli.
- Sniţe hlasitost,Pokud neslyšte,jak lidé v blizkosti mluvi.
iv
Upozornéni
Vyrobek nepouziveje v blizkosti vody.
- Neumíst'ujte výrobek na nestabilní vozíky, stojany nebo stoly. Hroźnebezpećí pádu a vázného poškození výrobru.
Vetraci sterbiny a otvory zajist'uji spolehlivy provoz vyrobku a chrani jej pfrehrtim. Tyto otvory nesmi byt zakryty ani jinak omezeny. Pri umisteni vrobku na postel, pohovku, polstar nebo jin'y mekky povrch nesmi byt vetraci otvory nikdy zablokované. Je zakazano umist'ovat tento vrobek do blizkosti radiatoru, nad radiator nebo clanek topeni nebo do omezeneho prostoru bez dostatecneho vetrani.
- Nikdy nezasunujte Žádné předměty do otvorů v plasti vyrobku, protoze by se mohly dotknout mist pod ysvokým napětím nebo by mohy zpúsobit zkrat a následné požár nebo úraz elektrickým proudem. Zabraťe potřísnění vyrobku jakoukoli tekutinou.
- Abyste zabrani poškození vinitřinich součastí a předešli vytečeni baterie, nepokládeje výrobek na vibrujíči povrch.
- Pocitač nepoužívejte pri sportu, cvičení nebo v prostředí s vibracemi, protoze by mohlo dojít k neočekávanému zkratu nebo poškození rotujících zařizení, pevného disku Či optické"Justly a dokonce ke kontaktu s lithiovou bateríj.
Spodni Čast, oblasti okolo větracích otvorú a sít'ový adaptér se mohou rozpálit. Dbejte na to, aby tyto Častí nepříšly do styku s vaší pokožkou nebo jinou Časti těla, abyste si nepřivodili poraněné.
- Zařizení a jeho príslušenství můze obsahovat malé současti. Uchovávejte je mimo dosah dětí.
Použité elektrické energia
- Tento vyrobek musí byt napájen typem napájení uvedeným na štítku s označením. Pokud si nejste jistí, jaký typ napájení matek dispozici, obrat'te se na prodejce nebo na místního dodavatele elektrické energia.
- Je zakázanoPoklátanapajecíkabeljakékoli prédméty. Umistěte výrobek tak,abynikdo na napajecíkabelnestoupal.
- Používáte-li pri napajení vyroku prodlužovací kabel, nesmí jmenovitá proudová kapacita napajeného vyroku prekračovat jmenovitou proudovou kapacitu prodlužovacího kabel. Celkova jmenovitá kapacita všech vyroku prípojenych k jegne elektrické zásuvce nesmí prekročit kapacitu pojistky.
- Nepřetěžujte elektrickou zásuvku Č prorodužovací kabel zapojením prfliš mnoha zařizení. Celkové zatíženi systému nesmí šrekčit 80% zatížitelnosti prípojky. Pokud používáte prodlužovací kabel, zatíženi nesmí šrekčit 80% zatížitelnosti kabelu.
Adaptér střidavého proudu tohoto vyrobku je vybaven třivodičovou uzemnovaci zástrčkou. Tuto zástrčku je možné zapojit jen do uzemné elektrické zásuvky. Pred pripojením zástrčky adaptéru střidavého proudu se ujistěte, ze zásuvka je rádně uzemnéna. Nezapojujte zástrčku do neuzemné elektrické zásuvky. Dalí informace vám poskytne elektroinstalatér.

Upozorneni! Zemnici kolik je bezpečnostné prvek. Pri použiti elektrické zásuvky, ktera není rádně uzemnéna, muže dojit k zásahu elektrickým proudem nebo ke zraněni.

Poznamka: Zemnici kolik také poskytuje dobrou ochranu před neocěkávaný šumem vytvárený dalími elektrickými zařizeními v blízkosti, ktera mohou ovlivnovat vykon tohoto vyrobku.
- Systém je możné napajet pomoci široké rady napěti; 100 až 120 nebo 220 až 240 V střidavého proudu. Napajeci kabel dodaný se systémem odpovídá požadavkúm pro používaní v zemi Či regionu, KDE byl systém zakoupen. Napajeci kabely pro používaní v jiních zemích Či regionech musí odpovídat požadavkúm pro príslušnou zemi Či region. Více informác o požadavcích na napajeci kabely vám sdělí autorizovaný prodejce nebo poskytovatel slúžeb.
Servis vyrobku
Nepokoušejte se provadět sami opravy tohoto vyrobku. Pří otevřné nebo odejmutí krytů hroží nebezpečí kontaktu se součástmi pod vysokým napětím nebo jiná nebezpečí. S veškerými opravami se obrat'te na kvalifikovaného servisního technika.
V následujících případech odpojté vyrobek ze zásuvky a požádejte kvalifikovaného servisiho technika o obdornou opravu:
- Napajeci kabel je poskozeny nebo polamany.
- Došlo k potřísněné výrobku tekutinou.
Vyrobek byl vystaven desti nebo vode. - Došlo k pádu vyrobku nebo k poskození plastižě.
Vykon vyrobku se znatelnézménil a je tfreba provest opravu. - Pokud vyrobek při dodrženiPokynu pro použivani nefunguje normálne.

Poznámka: Používejte pouze ovláDACÍ prkvy uvedené v uživatelské příručce. Nesprávné používání ostatních ovláDACÍCH prvkú můze zpùsobit poškození takového rozsahu,Že k obnovění normálniho fungování vyrobku je Často zapotřeblý rozsáhlé opravy kvalifikovaným technikem.
Pokyny pro bezpechné používání baterie
Tento prenosny počitač používa lithium-iontovou baterii. Nepoužívejte ji ve vlhkém, mokrém nebo korozívním prostředí. Nepokládejte, neukládejte ani neponechávejte výrobek v blízkosti zdroje vysokte teploty, silného prímeho slunečníno světla, v mikrovlné troubešne boν v tlakové nádobě a nevystavujte jej teplotám présahujćím 60 °C (140 °F). Pokud nebudete dodržovat ytoPokyny, mohlo by to zpúsobit unik kyselyniz baterie, jej výbuch nebo vzplanuti a zraněné osob nebo poskození majetku. Nepropichujte bateri, neotevírejtji ani nedemontujte. Pokud dojde k uniku elektrytu z bateria a dostanete se do prímeho styku s toutkapalinou, dúkladné si omyjte ruce vodou a ihned vyhledejte lékarstkou pomoc. Z bezpečnostnich dūvodu a pro prodloužení zivotnosti baterie nebude tato dobíjena v prípadě, ze teplotaPoklesne pod 0 °C (32 °F) nebo prěsáhné 40 °C (104 °F).
Plného vykonu nové baterie je dosaženo po dvou až třech uplnych cyklech nabiti a vybiti. Bateri Ize nabijet a vybijet rádově ve stovkáché cyklu, ale nakonec se zcela opotbreuju. Když bude provoznída počítace výrazné kratíne zh normalné, kupte si novou baterii. Používejte pouze schvaléné bateria a dobíjefte baterii pouze nabíječkami, které jsou schvaleny pro dané zařizení.
Baterii používejte pouze pro zamýšlený Účel. Nikdy nepoužívejte Žádnou nabíjěčku nebo baterii, ktera by byla poškozená. Baterii nezkratujte. Náhodné zkratování polú můžeNSTAT, kdyzS ke cladny (+) a zápoporny (-) polbaterie budou spojeny kovovymi prěděměty, například mincemi, sponkami, perem atd. (Póly na bateri prípomínají kovové proužky.) K tomu může dojít například v případě, ze náhradní bateri prěnášite v kapse nebo tášce. Zkratování svorek může bateri nebo prípojené zařizení poškodit.
Kapacita aŽivotnost baterie se sníží v prípadě, Že baterie bude ponechána na horkém nebo studeném miste, například v uzavřeném vozidel v lěte nebo v zimě. Vždy sePokoušejte udžovat teplotu baterie mezi 15 °C a 25 °C (59 °F a 77 °F). Zažichení se studenou nebo horkou baterií nemusi dočasně pracovat, i když by baterie byla plné nabita. Vykonnost baterie je obžvlástě omezena pri teplotách pod bodem mrazu.
Nelikvidujte baterie v ohni, protoze by mohly vybouchnout. Baterie mohou vybouchnout také v prípadě poskození. Baterie likvidujte podle mistrichů predpisù. Pokud to je moźné, recyklujte je. Nelikvidujte je jako bézný domáci odpad.
Bezdrátová zařizení mohou být náchylné k ruşení vlivem baterie, což můze ovlivnit jejich vykon.
Vymena baterie
Tento notebook používa lithiovou baterii. Při vyměné baterie používejte typ dodany s výrobkem. Při použít jiné baterie hrozí nebezpećí požáru nebo vybuchu.

Upozorněni! Pri nasprávné manipulaci s bateriemi hroží nebezpečí výbuchu. Je zakázANO baterie demontovat nebo vhazovat do ohné. Uchovávejte baterii mimo dosah děti. Použité baterie zlikvidujte podle mistrich nařizení.
Upozornění pro používání optické Jednotky (pouze u vybraních modelů)
Upozorněni: Tento spotřebič obsahuje laserový systém a je klasifikován jako „LASEROVÉ ZARÍZENI 1. TRÍDY". Budete-li mít s tímt zožízením nějaké potíze, obrat'te se prosím na nejblží AUTORIZOVANOU servísní organizaci. Nepokoušejte se otevřít pouzdro, abyste nebyli prímo vystaveni laserovému paprsku.
LASEROVÉ ZARIZENI 1. TRÍDY
POZOR: PřI OTEVRENI HROZI NEVIDITELNÉ LASEROVÉ OZÁRENÍ.
ZABRAINTE OZARENI LASEROVYM PAPRSKEM.
APPAREIL A LASER DE CLASSE 1 PRODUIT
LASERATTENTION: RADIATION DU FAISCEAU LASER INAVAILABLE EN CAS
D'OUVERTURE. EVITTER TOUTE EXPOSITION AUX RAYONS.
LUOKAN 1 LASERLAITE LASER KLASSE 1
Bezpečnost Telefoní linky
- Předtím, než budete na zařizení provadět jakýkoli servisné zásah nebo je demontovat, vždy odpoje všechny Telefonní kabely ze zásuvky.
- Vyhněte se používání Telefonní linky (jiné než bezdrátové) během bouří. Existuje určité nebezpeci zásahu elektrickým proudem z blesku.

Upozorněni! Z bezpečnostnich duvodú pri pridávání nebo vyměné současti nepoužívejte neschvalné současti. Informace o možnostech nakupu vám poskytne prodejce.
Provozní prostředí

Upozorněni! Pri použivani prěnosného počitace za následujicích podmínek z bezpečnostnich dūvodū vypněte vsechna bezdrátová a radióva zařizení. K těmtto zařizením patri (nikoli však vyhradné): bezdrátová sít' LAN (WLAN), Bluetooth a 3G.
viii
Ridte se vsemi zvlastnimi prdepisy platnymi v dané oblasti a vzdy zaifzeni vypnete, je-li jeho pouzivani zakazano nebo muze-li zpusobit ruşeni ci ohrozeni. Pouzivejte zaifzeni jen v normalnich provoznich polohach. Toto zaifzeni splnju smernice pro vystaveni vysokrefvencnimu zafeni,Pokud je pouzivano normalne a zaifenia jeho antena jsou umistěny minimálne 1,5 cm od tela (viz nasledujíci obrázek).
Nesmi obsahovat kov a zafrizenje tbreba umistit do vyse uvedené vzdalenosti od tela. K 申报斯nemu prenosu datovych souboru a zprav toto zafrizeni vyzaduje pripojeni k siti v dobre kvalite. V nekterych priapadech muze byt prenos datovych souboru a zprav opozdeln, dokud takove pripojeni nebude k dispozici. Dokud nebude prenos dokoncen, dbejte, aby byl zachovan vyse uvedeny odstup. Nekteré (£sti zafrizení jsou magnetické. K zafrizení mohou byt pritahovány kovové materialy a osoby s naslouchátky by zafrizení neměly držet uucha s naslouchátkem.
Neumist'ujte do blízkosti zařízení kreditní karty ani jinja magnetická paměťová média, protože by mohlo DOJIT K vymazání uložených informaci.
Lékařska zařízení
Při používáni jakéhokoli radiosvového zařizení včetné bezdrátovych Telefonů muzě docházet k rušeni funkci nedostatečné chráněnych lékarskych zařizení. Chcete-li zjistit, zda je lékarské zařizení dostatečné stiněno prěd vějěsím vysokofrekvenčním zařením, nebo mate-li jakékoli dotazy, obrat'te se na lékarě nebo vyrobce lékarského zařizení. Ve zdravotních střediscích, kde jsou vyväšeny príslušnéPokyny, zařizení vypněte. V nemocnicích a zdravotních střediscích muzě být používáno zařizení, které je citlivé na vějěsí vysokofrekvenční prenosy.
Kardiostimulatory. Vyrobci kardiostimulatoru doporučují udžrovat mezi bezdrátovymi zařizeními a kardiostimátorem minimálné vzdálenost 15,3 cm, aby nedocházelo k priadnému rušné kardiostimátóru. Tato doporučeni jsou v souladu s nezávislými vyzkumu a doporučeními programu Wireless Technology Research. Osoby s kardiostimátory by měly doržovat následujíčí poukyny:
Vždy udržujte zařizení ve vzdálenosti minimálne 15,3 cm od kardiostimulátoru.
- Je-li zařizení zapnuto, nenoste je v blízkosti kardiostimulátoru. Pokud se domníváte, ze dochází k ruşení, vypněte zařizení a prěsuťe je do větěsí yzdálenosti.
Naslouchatka. Nekterá digitálné bezdrátova zařízení mohou zpùsobovat rušeni některych naslouchátek. Dojde-li k rušeni, obr'te se na poskytovatele slúžeb.
Vozidla
Vysokofrekvenčné signály mohou mit vliv na nesprávně nainstalované nebo nedostatečné stiněné elektronické systémy v motorovych vozidlech, jako například elektronické systémy vstřikovány paliva, elektronické protiskluzové (antiblokovací) brždné systémy, elektronické systémy irzení rychlosti a systémy airbagů. Dalí informace vám poskytne vyrobce vozidla ā pridaného zařizení nebo jeho zastupce. Servis zařizení nebo instalaci zařizení do vozidla byěm provadět Jen kvalifikovaný pracovník. Nesprávná instalace nebo servis mohou být nebezpečné a mohou zpúsobit neplatnost záruky na zařizení. Pravidelně kontrolujte, zda je veškerébezdrátróvě zařizení ve vozidlé rádně namontováno a funkčné. Ve stejném prostoru se zařazením, jeho Častmi nebo doplýky neukládeje tani nepřěnásejte hořlavé
kapaliny, plyny nebo vybusné materialy. V prépadé vozidel vyavenych airbagem pamatujte,Že airbagy se nafukují velkou silou. Do oblasti nad airbagem ani do prostoru expanze airbagu neumist'ujte Žádné prěděmty včetné nainstalovanych Či přenosnych bezdrátovych zařizení. Je-li bezdrátové zařizení ve vozidle nesprávně nainstalováno, můze pri nafouknutí airbagu dojit k váznému zraněné. Použiványa zařizení v letadle je zakáźano. Pred nastupem na palubu letadla zařizení vypněte. Použiványí bezdrátovych zařizení v letadle můze ohrožovat provoz letadla, rusit bezdrátovou Telefonnít a můze být protizákonné.
Potenciánlě vybusná prostředí
Vypněte zařizení v mistěs potenciálné vybusnou atmosséru a dodržujte vsechny symboly aPokyny. Potenciálné vybusné atmosséry zahrnuji oblasti, kde bye sternálně obdrželi poyn vypnout motor vašeho motorového vozidla. Jiskry, které by vznikly v takovych mistech, mohou zpúsobit požár nebo vybuch a zraněné nebo dokonce úmtrl osob. Přenosné počítace vypněte v blízkosti Čerpácich stojanú u benzínovych stanic. Dodržujte omezení pro použítí rádového vyavení v palivovych skladech, skladovacích a distribučníncích centrech, chemických závodech nebo tam, kde probílá otryskávní. Oblasti s potenciálné vybusnou atmosséru jsou Častо označény, není tomu tak vždy. Patří sem například podpalubí na lodích, transferové oblasti pro chemikálie nebo skladovací zařizení, vozidla používajíc zkapalěny plyn (LPG, například propan nebo butan) a mista, kde vzduch obsahuje chemikálie nebo Částice, například obilí, prach nebo kovový prášek. Nezapínejte přenosné počítace v mistech, kde je zakáźano použítí mobilníché telefonů nebo tam, kde by to mohlo zpúsobit ruşení nebo nebezpečí.
Tísnová volání
Upozorněni: Prostřednictvím tohoto zařizení nelze provadět tísnova volání. Tísnová volání je třeba provadět pomoci mobilního Telefonu nebo jiného Telefonního systému.
Pokyny k likvidaci
Při likvidaci neodhazujte toto elektronické zařizení do opadu.
K minimalizaci znečistěné a zajstěné nejvyší možné ochrany globániho
životního prostřédí toto zařizení recyklujte. Dalí informace o předpisech
týkajírch se opadních elektrických a elektronických zařizení (OEEZ)
naleznete na webové adrese http://www.acer-group.com/public/
Sustainability/sustainability01.htm.

Upozornéni na rtut'
Pro projektory se Žárovkou nebo elektronické vyrobky obsahujíci monitor nebo displeje LCD/CRT bezpodsvícení LED: Lampy v tomto vyrobku obsahuji rtut' a musí být recyklovány nebo zlikvidovány podle mistrény, státné nebo federálních zákönú. Dalí informace vám poskytné sdružení Electronic Industries Alliance, www.eiae.org. Informace týkajíci se likvidace konkrétnéch lamp jsou uvedeny na webu www.lamprecycle.org.

ENERGY STAR

Vyrobky společnosti Acer s certifikátem ENERGY STAR šetři vaše peníze, protoze snizují náklady na energia i choránživotní prostředí, aniž by lyto nutné obětovat funkčnost nebo vykon. Společnost Acer je hrdá, ze muže zákazníkūm nabízet vyrobky se značkou ENERGY STAR.
Co to je ENERGY STAR?
Vyrobky s certifikatem ENERGY STAR používaj míné energia a prěchodázeji emisím skleníkovych plynů, protoze opodvizaj přísný směrnícím, které v oblasti energetické účinnosti stanovuje americká agentura pro ochranuŽivotniho prostfédi (Environmental Protection Agency, EPA). Společnost Acer se zavazuje nabízet na celém světě vyrobky a služby, které zákazníkum pomáhaji šetřit peníze, používat usporně energii a zkvalitnovat našeŽivotné prostfédí. Čímůte energia mužeme ušetřit díky vyssí energetické účinnosti, TIMnice omezíme skleníkové plyny a riziko změny klimatu. Dalási informace získáte na webovych adresác http://www.enerqystar.gov nebo http://www.enerqystar.gov/powermanagement.
Vyrobky společnosti Acer s certifikátem ENERGY STAR:
Produkují méně tepla a snizuju zátež pri chlazení a teplejsi prostřédí.
- Po 10 respektive 30 minutách nečinnosti automatický prěcházejí do „režimu spanku displeje“ a „režimu spanku počítace".
- Počitač muzete z režimu spanku probudit stisknutím některé z kláves nebo pohybeb myši.
V režimu „spánku“ počităe ušetři vice než 80% energia.
ENERGY STAR a značka ENERGY STAR jsou značky zaregistrované v USA.
Rady a informace pro pohodné používání
Uživatele počitáču si mohou po delím používaní stežovat na unavu oćá a bolesti hlavy. Uživatelem, kteří tráví radu hodin prací s počitáčem, hroź také fyzické zraněni. Dlouhma pracovné doba, nevhodné držení těla, špatné pracovné návyky, stres, nedostatečné pracovné podminky, osobné zdraví a dalí faktory značné zvyšují riziko fyzického zraněni.
Pří nesprávném používaní počitače muže vzniknout syndrom karpálního tunelu, zánět šlachy, zánět šlachového pouzdra nebo jiné muskuloskeletální poruchy. V rukou, zápestích, pažích, ramenech, krku nebo zádech se mohou projevovat nám疏散júci príznaky:
- necitivost, pocit pálení ābrění
bolestivost, podrázděnost nebo citlivost
bolest, toky nebo pulzovani - napétí nebo strnulost
- chlad nebo slabost
Jestlije pocit'ujete tyto priznaky nebo jiné opakované nebo trvalé potiže ci bolest souvisejici s pouzivanim počitače, obrat'te se ihned na lékăre a informujte odděleni vaši společnosti pro zdraví a bezpečnost.
Následujíci Čast obsahuje rady pro pohodlnějí používání počitače.
Vyhledání zony pohodí
Vyhledejte svou zónu pohodlí nastavení umhlu sledování monitoru, použitím podnožky nebo zvyšením sedáku tak, abyste dosáhlí maximíního pohodlí. Dodržujte následujícíPokyny:
- nezustávejte prífliš dlouho v jediné neměnné poloze
- nehrte se dopředu a nenaklánějte se dozadu
pravidelné vastaene projdete se, abyste odstranili napeti ze svalu nohou - déleje si krâtke přestávy, abyste uvolnili krk a ramena
- nemějte svaly v napěti a nekrčte ramena
- nainstalujte rădné externi monitor, klávesnici a mys, aby byly pohodnene na dosah
- pouk sledujete monitor vice než dokumenty, umistěte obrazovku doprostřed stolu, abyste minimizovali napěti krku
Péce o zrak
Dlouhodobé sledováni počitáce, nošeni nesprávnych brylí nebo kontaktnich coček, odlesky, nadměrné osvětlení mistrnosti, neostrá obrazovka, velmi malé pismo a obrazovka s nízkým kontrastem mohou namáhat oči. V nasledujících cástech naleznete doporučení, jak snížit unavu očí.
Oci
Dopřejte očím Častý odpočinek.
- Pravidelné se delveje mimo obrazovku na vzdálený objekt.
- Casto mrkejte, aby se oci nevysousely.
Monitor
Udrzujte monitor cisty.
- Držte hlavu nad horním okrajem monitoru, abyste pri pohledu doprostřed obrazovky hleděli očima míně dolů.
- Upravte jas a kontrast monitoru na pohodnou uroven tak, aby byl text dobře citelný a grafika zřetelná.
- Odstraţe odlesky a odrazy năsledujicimi zpúsoby:
-
umistete monitor bokem k oknu nebo zdroji svetla
minimalizujte pfiustup svetla do mistnosti pomoci zavesu, rolet nebo zauluzif
pouzivejte pracoví osvětlení
změnte uhel sledování monitoru
používejte filtr snižujíc odlesky
na monitor umistete stinitko, naprifiklad kus kartonu presahujici prs hornipredni okraj monitoru -
Nenastavujte monitor tak, abyste jej museli sledovat z nepohodného uhlu.
Nediveje tse dlouhodobé do zdrojú jasného svétla, například do otevěnych oken.
XII
Vytváření dobrách pracovních návykú
Rozvijením následujících pracovních návykú bude práce s počítačem pohodnéjsí a produktivnéjsí:
- Delejte pravidné a Časté kráté přestávy.
- Provádejte protahovaci cvicení.
Dychejte co nejvice Čerstveho vzduchu.
Pravidelné cvite a udrzujte zdravé telo.

Upozorněni! Nedoporučujeme použivat počitač na pohovce nebo v posteli. Pokud je to nutné, pracujte pouze krátce, delejte pravidné prestávy a provadějte protahovaci cviceni.

Poznamka: Dalí informace naleznete v Časti "Předpisy a bezpečnostní upozorněné" na straně 35.
StručnéPokyny
Děkujeme vám, ze jste si k USpokojení svych potřeb v oblasti prěnosních počítáčů vybrali rádu notebooků Acer.
Uživatelské príručky
Abychom vám při používání notebooku Acer pomohli, vytvorili jsme pro vás sadu príruček:
První leták První kroky... vám pomůže pri úvodním nastavení počitáče.
Obecná príručka pro počitáce TravelMate Obecná uživatelská príručka informace pro věchny modely rady TravelMate. Obsahuje základní temata, např. technologii Acer eRecovery Management, používányklávesnice, zvuk atd. Berte laskavě na vědomí, ze Obecná uživatelská príručka, jak již její název prēdesílá, stejně jako níze zminěna AcerSystem User Guide, muže popisovat funkce nebo vastnosti, kterymi jsou vybaveny pouze určité modely dané rady, a kterymi nemusi byt nutné vybaven vámí zakoupený model. V takovych prípadech je text označen frází „pouze u vybraných modelú".
Struene pouny vás seznámí se základním i schopnostmi a funkcem i nového počitáče. Dalí informace o tom, jak mžěte pomoci počitáče zvyšit svou produktivitu, naleznete v príručce AcerSystem User Guide. Tato príručka obsahuje podrobné informace týkajíci se například systémovych nastrojú, obnovováni dat, možnosti Rozsǐřeni a odstražování potíží. Dále obsahuje záručné informace, informace týkajíci se věseobecných prědpísu a bezpečnostní upozorněné k notebooku. Príručka je k dispozici ve formátu PDF (Portable Document Format) a je již uložena do notebooku. Zobrazíte ji následujícím postupem:
1 Klepněte na tlacítko Start a dále na položky Všechny programy a AcerSystem.
2 Klepněte na položku AcerSystem User Guide.

Poznamka: K zobrazení tohoto souboru je vyžadován program Adobe Reader. Pokud v počitači není program Adobe Reader naintalován, klepnutím na položku AcerSystem User Guidenejprve spustîte instalăčné program. Dokončete instalaci podlePokynú na obrazovce. Pokyny týkajćí se použivány programu Adobe Reader jsouk disposizivi nabídce Nápopěveda a odborná pomoc.
xiv
Základní péče a típy pro používání počitače
Zapnutí a vypnutí počítače
Počitač zapnete Jednoduchým stisknutím tlacítka napájení, které se nacház pod obrazovkou LCD vedle tlacítek pro snadné spušěné. Umistěné tlacítka napájení viz "StruenePokyny".
Počitač múžete vypnout některym z následujících postupú:
- Pomoci prikazu Vypnout v systému Windows
Klepněte na tlačitko Start a poté na možnost Vypnout.
- Pomoci tlačitka napajeni
Počitač také mžěte uvěst do režimu spanku stisknutím klávesové zkratky režimu spanku

Poznamka: Pokud nelze počitač vypnout normánlě, stisknéte a podržte tlačítko napajeni déle než Čtyři sekundy. Pokud vypnete počitač a chcete jej znovu zapnout, počkejte alespón dvě sekundy.
Péçê o poçaţač
Budete-li se o počitač dobře starat, bude vám dobře sloužit.
- Nevystavujte počitač prímému slunečnímu zářeni. Neumist'ujte počitač v blízkosti zdrojú tepla, napřiklad radiatoru.
- Nevystavujte počitáč teplotám pod 0 °C (32 °F) nebo nad 50 °C (122 °F).
- Nevystavujte počitač magnetickým polím.
- Nevystavujte počitač dešti nebo vlhku.
Zabrańte potrśněni poćitaść vodou nebo jinymi tekutinami. - Nevystavujte počitač silným nárazúm nebo vibracím.
- Nevystavujte počitač prachu nebo nečistotám.
- Nestavějte nic na horní stranu počítače.
- Displej počitáče nezavírejte prudce.
Neumist'ujte počitač na nerovný povrch.
Péce o adapté strídavého proudu
NekolikPokunukpeci o adapterrstridaveho proudu:
- Nepripojujte adapté k Žádnému jinému zařizení.
- Na napajeci kabel nestoupejte ani nepokladeje těžké prédměty. Napajeci kabel a jiné kabely umistěte mimo frekventovaná mista.
-
Pri vytahováni napájecího kabelu netahejte za samotné kabel, ale za zástrčku.
-
Používáte-li prodlužovaci kabel, nesmí jmenová proudová kapacita napajeného vyrobku překracovat jmenovitou proudovou kapacitu prodlužovaciho kabelu. Celková jmenová kapacita všech vyrobků pripojenych k jejné elektrické zásuvce dále nesmí překročit kapacitu pojistky.
Péce o baterii
Nekolik zpusobu pecbaterii:
Vyměnová baterie musí byt stejné jako původní. Před vyjmutil nebo výměnou baterie vypnéte napájení.
Zabrań nasiinému poskozovány baterie. Uchovávejte bateri mimo dosah dětí.
- Použité baterie zlikvidujte podle mîstnich nařízení. Pokud možno nechejte baterii recyklovat.
Cisténí a servis
Přičistění počitače doržujte následujíci kroky:
1 Vypnete počitača a vyjměte baterii.
2 Odpojte adaptr stfrdvho proudu.
3 Použijte měkký, lehce navlhčený hadřík. Nepoužívejte tekuté nebo aerosolové Čistice.
Dojde-li k nekterému z následujících prípadú:
- Počitač spadl nebo bylo poškozeno jeho tělo.
- Počitač nepracuje normalné.
Postupujte podlePoknu v casti"Casté otázky"na strane 31.
Informace pro vaši bezpečnost a pohodlí iii
BezpečnostníPokyny iii
Upozornéni pro používání optické Jednotky
(pouze u vybranych modelu) vii
Provozní prostředí vii
Lékařska zařízení viiii
Vozidla viii
Potencialné výbustrá prostředí ix
Tisnovavolani ix
Pokyny k likvidaci ix
Upozornéni na rtut' ix
ENERGY STAR
Rady a informace pro pohodné používání x
StručnéPokyny xili
Zapnutí a vypnutí počítace xiv
Péce o počítač xiv
Péce o adaptér střidavého proudu XIV
Péce o baterii XV
Čistění a servis XV
Zařízení touchpad 1
Základy používání zařizení touchpad
(s Čtečkou otisků prstů) 1
Základy používání zařizení touchpad
(s tlačitky proPoklepáni) 2
Použivání klávesnice 3
Zámky klávesnice a integrovaná numerická klávesnice* 3
Klavesy systému Windows 4
Zvuk 5
Acer PureZone (pouze u vybran'ych model) 5
Video 5
Zobrażení 16:9 (pouze u vybranjych modelu) 5
Použití systémovych nastrojù 6
Acer Bio-Protection (pouze u vybran'ych modelu) 6
Vytrofení založního disku 10
Obnovit 11
Obnova Windows ze založnich disku 12
Upozornéni na vybití baterie 17
Prenošeni notebooku 18
Příprava počítace 18
Co s seabou na schuzky 19
Prenošeni počitače domù 19
Příprava počítače 19
Co vzt s seabou 19
Zvlăstn°F opatřeni 20
Používání počitače v domácí kanceláři 20
Cestování s počitačem 20
Příprava počítače 20
Co vzt s seabou 20
Zvlăstní opatření 21
Cestováns počitačem po světě 21
Příprava počitače 21
Co vzt s seabou 21
Zvlăstn opatřen 21
Zabezpečeni počítače 22
Používání bezpečnostního zámku počítáče 22
Použití hesla 22
Zadání hesel 23
Nastavení hesel 23
Možnosti rozšiřeni 24
Možnosti pripojení 24
Faxovydatovymodem(pouzeuvybranychmodelu) 24
Integrovaná moznost sít'ového pripojení 25
Univerzánlí sériová sběrnice (USB) 25
Port IEEE 1394 (pouze u vybran'ych modelu) 26
(pouze u vybran'ych modelu) 26
Karta ExpressCard (pouze u vybranjch modelu) 27
Instalace pameti 28
Nastroj BIOS 29
PoRADi spousteni 29
Povolení obnovení z disku na disk 29
Heslo 29
Používáni softaru 30
Přehrávání filmu DVD 30
Casté otázky 31
Vyžádání sluzby 33
Mezinárodní záruka pro cestovatele
Odstrańovány potiží 34
Tipy pro odstrańovány potíź 34
Chybové zpravy 34
Předpisy a bezpečnostní upozorněné 35
Prohlášeni FCC 35
Poznámky o modemu (pouze u vybranjch modelú) 36
Prohlásení o bodovém zobrazení panelu LCD 36
Informace o zakonnych ustanovenich tykajcich se rádiovych zařizení 36
Obecné 36
Požadavek bezpečnosti pro radiové frekvence dle FCC 37
Kanada - vvjimka z licence pro radiokomunikační zařizení s nízkým vykonem (RSS-210) 38
Pusobeni vyarneho pole na radios frekvenci na cloveka (RSS-102) 38
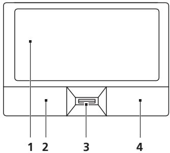
Zabadovaná dotyková podložka touchpad je ukazovací zařizení, jehož povrch je citlivý na pohyb. To znamená, ze pohybeb prstu po zařizení touchpad lze pohybovat kurzorem na obrazovce. Středové umistěné na podložce ruky poskytuje optimálné komfort a podporu.
Základy používání zařizení touchpad (s Čtečkou otisků prstů)
Následujíci informace popisuji použití zařizení touchpad s Čtečkou otisků prstů Acer Bio-Protection.
- Pohybeb prstu po zafrizení touchpad (1) lze pohybovat kurzorem na obrazovce.
- Chcete-li provest vybér nebo použít funkce, stisknéte leve (2) nebo pravé (4) tlacítko pod zařizením touchpad. Tato dvě tlacítka jsou podobná levému a pravému tlacítku myši. Klepnutí na zařizení touchpad je totež jako stisknú tlevoho tlacítka.

| Funkce | Levé tlačitko (2) | Pravé tlačitko (4) | Hlavné zařizení touchpad (1) | Prostřední tlačitko (3) |
| Prověst | Rychle dvakrást stisknéte. | Poklejefte (stejnou rychlostí jako příPoklepáni tlačitkem myši). | ||
| Vybrat | Klepněte. | Klepněte. | ||
| Přetáhnout | Stisknéte a držte, pak táhněte kurzor pohybm prstu po zařizení touchpad. | Poklejefte (stejnou rychlostí jako příPoklepáni tlačitkem myši); pří druhém klepnúť podržte prst na zařizení touchpad a táhněte kurzorem. | ||
| Otevřit kontextovou nabídku | Klepněte. |
Základy používání zařizení touchpad (s tlačítky proPoklepání)
Zařízení touchpad s dvěma tlacitky proPoklepání lze používat následujícím zpùsobem:
- Pohybeb prstu po zafrizeni touchpad lze pohybovat kurzorem na obrazovce.
- Chcete-li provest výber nebo použit funkce, stisknéte levé nebo pravé tlacítko pod zařizením touchpad. Tato dvě tlacítka jsou podobná levému a pravému tlacítku myši. Klepnúti na zařizení touchpad je totéž jako stisknú ti levého tlacítka.
| Funkce | Levé tlačítko | Pravé tlačítko | Hlavné zařizení touchpad |
| Prověst | Rychle dvakrást stisknéte. | Poklepejte (stejnou rychlostí jako příPoklepání tlačitkem myši). | |
| Vybrat | Klepněte. | Klepněte. | |
| Pfetáhnout | Stisknéte a držte, pak táhněte kurzor pohysem prstu po zařizení touchpad. | Poklepejte (stejnou rychlostí jako příPoklepání tlačitkem myši); pří druhém klepnutí podržte prest na zařizení touchpad a táhněte kurzorem. | |
| Otevřit kontextovou nabidku | Klepněte. |

Poznámka: Ilustrace jsou pouze orientačné. Přesné konfigurace počitáče závisí na zakupeném modelu.

Poznamka: Zařizení touchpad se dotýkejte Čistými a suchými prsty a také zařizení udžujte vsuchu a Čistotě. Zařizení touchpad je citlivé na pohyb prstu; Čim jemnéji se plochy dotýkáte, tím lépe reaguje. Silým klepámíd nelze zvyšit citlivost zařizení.

Poznamka: Ve vychozim nastaveni je povoleno svisle i vodorovné posouvány pomoci zařizení touchpad. Tuto funkci lze zakázat v ovladacím panelu Myš systému Windows.
Používání klávesnice
Klavesnice obsahuje klávesy bězné velikosti a integrovanou numerickou klávesnici*, samostatné kurzorové klávesy, zámky, klávesy systému Windows, funkční a speziální klávesy.
Zámky klávesnice a integrovaná numerická klávesnice*
Klavesnice je vybavena třemi zámkovými klávesami, které je moźne přepínat.
| Zámková klávesa | Popis |
| Caps Lock | Je-li funkce Caps Lock zapnutá, budou se všechny abecedníznaky psát velkými písmeny. |
| NumLk <Fn> + <F11>* | Je-li funkce NumLk zapnutá, je možné používat integrovanou numerickou klávesnici. Klávesy funguji podobné jakoa na kalkulačce (aritmetické operace +, -, * a /). Tento režim se používá v prípadě potřeby vlákáráni větěho množstvi Číselnéch dat. Lepsi Žěsení by spočívalo v prípojení externí klávesnice. |
| Scr Lk <Fn> + <F12> | Je-li funkce Scr Lk zapnutá, posune se každým stisknutím ovláDACích tlaciték kurzoru nahoru nebo dolů obrazovka o jeder šádek. Funkce Scr Lk nefunguje ve všech programech. |
Integrovaná numerická klávesnice funguje stejně jako numerická klávesnice stolního počitace. Malé znaky teto klávesnice se nacházeji v pravém horním rohu kláves. Symboly kurzorovych kláves nejsou pro lepsí prehlednost na klávesách vytištěny.
| Požadovaná funkce | Funkce NumLk je zapnutá | Funkce NumLk je vypnutá |
| Číselné klávesy na integrované klávesnici | Zadejte Čísla obvkylým zpúsobem. | |
| Kurzorové klávesy na integrované klávesnici. | Při používání kurzorovych kláves stisknéte a podržte klávesu <↑>. | Při používání kurzorovych kláves stisknéte a podržte klávesu <Fn>. |
| Klávesy hlavní klávesnice | Při psaní písmen na integrované klávesnici stisknéte a podržte klávesu <Fn>. | Napište písmena obvkylým zpúsobem. |
- pouze u vybranjch modelü
Klávesy systému Windows
Klavesnice obsahuje dvě klávesy, které slouží k provaděné specifikych funkci v systému Windows.
| Klávesa | Popis |
| Klávesa Windows | Stisknutím teto klávesy se v systému Windows zobráznabídka Start stejně jako pri klepnúti myśi na tlacítko Start. Společné s dalími klávesami nabízí tato klávesa radu dalích funkác: |
| <◎>: Otevření a zavření nabídky Start | |
| <◎> + <D>: Zobrazení pracovní plochy | |
| <◎> + <E>: Otevření applíkace Pržukumník Windows | |
| <◎> + <F>: Hledání souboru nebo složky | |
| <◎> + <G>: Procházence miniaplifikaci bočniho panelu | |
| <◎> + <L>: Zamknúti počitače (pokud jste prípojení k sít'ové doméně) nebo prěpnúti uživotelů (pokud nejste prípojení k sít'ové doméně) | |
| <◎> + <M>: Sloužíkminimalizaci všech oken. | |
| <◎> + <R>: Sloužík otevření dialogového okna Spustit. | |
| <◎> + <T>: Procházence programů na hlavním panelu | |
| <◎> + <U>: Otevření Ease of Access Center | |
| <◎> + <X>: Otevření Windows Mobility Center | |
| <◎> + <Break>: Zobrazení dialogového okna Vlastnosti systému | |
| <◎> + <+M>: Obnovení minimalizovaného okna na pracovní plochu | |
| <◎> + <+M>: Procházence programů na hlavním panelu pomoci fungkce Windows Flip 3-D | |
| <◎> + <Mezerník>: Přeneseni věsech miniaplifikaci dopředu a vyběr bočniho panelu systému Windows | |
| <Ctrl> + <◎> + <F>: Hledání počitačú (pokud pracujete v sítì) | |
| <Ctrl> + <◎> + <+F>: Klávesy se šipkami sloužík procházence programů na hlavním panelu pomoci funkce Windows Flip 3-D | |
| Poznámka: Podle toto, jakou verzi systému Windows používáte, nemusi některé klávesové zkratky pracovat tak, jak bylo popásANO. | |
| Klávesa applíkace | Stisknutím teto klávesy se otevře místní nabídka v applíkaci stejně jako pri klepnúti na pravě tlacítko myssi. |
Zvuk
Počitáč obsahuje také 32bitový zvukový adapterér High Definition (HD) Audio a reproduktor(y).
Acer PureZone (pouze u vybranjch modelu)
Systém nabízicela novy zážitek pro milovníky zvuku, včetné technologie Acer PureZone se zabudovanými stereofonními mikrofony s funkcemì Formování paprsku a Odstraněni akustické ozvěny. Technologie Acer PureZone podporuje funkce Odstraněni akustické ozvěny, Formování paprsku a Potlačení šumu zajist'ujíci Čistý zvuk pri nahrávání. Chcete-li nastavit mikrofon,Poklepáním na ikonu Acer HD Audio Manager na hlavním panelu systému Windows spust'te aplikaci Acer HD Audio Manager. Zobrázi se dialogové okno Acer HD Audio Manager. Klepnéte na kartu Mikrofon a poté na kartu Efekty mikrofonu. Efekty mikrofonu nastavte v možnostech Formování paprsku a Odstraněni akustické ozvěny.

Poznamka: Chcete-li na vstupu ziskat vicezvukovy zdroj, zakažte funkci Formováni paprsku.
Video
Zobrażení 16:9 (pouze u vybranjych modelú)
Zobrażení 16:9 podáva filmy v plné formátu HD v domácim prostřédí. Blankytné barvy zarucji věrohodný zážitek pri sledování filmu formátu HD. Režim 16:9 znamena konečné skutečné zážitky a obraz kinosálu pro milovníky zábavy na notebooku.
Rešeni Acer Bio-Protection Fingerprint Solution je univerzální softwarevý balík pročěnten otisků prstů integrovaný s operacním systémem Microsoft Windows.
S využitím jedinečnosti lidskych otisku prstú poskytuje šeşeni Acer Bio-Protection Fingerprint Solution ochranu proti neoprávněnému prístupu k počitači s centralizovanou správu hesel pomoci banky hesel Password Bank a rychlé spustěné a prihlášeni do aplkaci nebo webovych stránek pomoci funkce Acer FingerLaunch.
Díky rešení Acer BioProtect Fingerprint Solution mžěte vyuzít dalísho stupné ochrany osobniho počítače a prístupu ke každodenním ulohám pouhým dotykem prstu!
Dal'si informace naleznete v souborech napovedy aplikace Acer Bio-Protection.

Acer Backup Manager

Poznamka: Tato funkce je k dispozici pouze u některych modelu.
Acer Backup Manager je jegnoduchy proces slozeny ze tfr kroku, ktery umoznjue vytvaret zalozní kopie celho vašeho systému nebo vybránych souboru a slozek podle rozvrhu nebo podle toho, jak potfebujete.
Pro spustěné nastroje Acer Backup Manager stisknéte tlacítko Acer Backup Manager nad klávesnici. Nebojděte na položky Start > Vsechny programy > Acer Backup Manager > Acer Backup Manager. Tak se otevře uvitaci obravovka; z těto obravovky budete provedeni třemi kroky pro nastavení plánovaních záloh. Klepnutím na tlacítko Pokracovat prějdéte na dalí stránku. Klepněte na tlacítko + a postupujte podlePokynú na obravovce:
1 Vyberte obsah, ktery chcete zalohovat. Cim mené obsahu vyberete, tim rychlejí proces bude, ale zvyś se tak riziko ztráty dat.
2 Vyberte, kde chcete ukladat zalozní kopie. Je potfěba, abyste vybrali externí Jednotku nebo Jednotku D: nástroj Acer Backup Manager nemúze ukladat zálohu na zdrojovém disku.
3 Vyberte, jak Často ma Acer Backup Manager vytvářet zálohy.
Jakmile tyto tři kroky provedete, začnou se zálohy vytvářet podle rozvrhu. Zálohy muzěte vytvářet i ručné stisknutím tlacítka Acer Backup Manager.
Pokud budetet chtít nastavení kdykoli změnit, spust'te Acer Backup Manager z nabídky Start a projděte kroky popsanými vyše.

Rízení spotřeby
Tento počitač je vybaven jabudovaný systémemřízení spotřeby, který trvale sleduje aktivitu systému. Je sledována veškerá aktività následujících zařizení: klávesnice, mys, pevný disk, periferie prípojené k počitači a obrazová pamět'. Pokud není po určitou dobu (časová prodleva pri nečinnosti) zjištěnažádná aktivita, počitač zastaví některá nebo vsechna zařizení, aby ušetfil energii.
Tento počitač vyuzíva schéma štizení spotřeby, které podporuje rozhrani ACPI (Advanced Configuration and Power Interface). Toto rozhrani umozhůje dosáhnout maximálné uspory energia, aniž by došlo ke snizeni vykonu systému. Systém Windows kompletně fíd spotřebu počitač.
Klávesa Acer PowerSmart

Poznámka: Tato funkce je dostupné pouze u některych modelů.
Klávesa Acer PowerSmart používa úsporné funkce grafického podystemu na vašem počítáci pro snížéní celkové spotřeby energia. Když stiskete klávesu Acer PowerSmart, sníží se jas obrazovky a grafický Čip se přepne na nižěři rychlost.; PCI a WLAN se prepnou do úsporného režimu. Opětovnám stisknutím klávesy Acer PowerSmart obnovíte prechodží nastavení.
Acer eRecovery Management je nastroj určený k rychlému obnovení systému.
Lze rovné zálohovat Či obnovit obraz výchozího nastavení z vyroby a přeinstalovat aplikace a ovladače.

Poznamka: Veskerny následujíci obsah slouží pouze ke všeobecnému použití. Skutečné specifikace produktu se mohou lišit.
Nastroj Acer eRecovery Management poskytuje následujícífunkce:
1 Zalohovat:
Vytvořeni disku s vychozim nastavením z vyroby
Vytvořeni disku s ovladači a aplikacemi
2 Obnovit:
- Üplná obnova systému do výchozího nastavení z výroby
- Obnova operacniho systému a zachování uživatelskych dat
Opetna instalace ovladacu ci aplikaci
V teto kapitole naleznete postupy pouziti vsech uvedenych funkci.

Poznamka: Tato funkce je k disposici pouze u některych modelu. U počitaču, které neobsahuji integrovanou zapisovaci Jednotku optickych disku pripoje pred použitím funkci nastroje Acer eRecovery Management vyžadujících prístup k optickému disku externí zapisovaci Jednotku optickych disku.
Chcete-li chraniit data pomoci funkce hesla nastroje Acer eRecovery Management, je nutne nejprve nastavit heslo technologie. Heslo se zadavá na panelu nastrojü Acer eRecovery Management nebo klepnutim na moznost Nastaveni.

Vytvořeni záložního disku
Na strance Zálohování nástroje Acer eRecovery Management lze zapsat bitovou kopii vychozí konfigurace z vyroby nebo zálohovat ovladače a aplikace.
1 Klepněte na položky Start, Všechny programy, Acer, Acer eRecovery Management.
2 Otevře se stránka Zálohováni nastroje Acer eRecovery Management.

3 Vyberte typ zálohy (výchozí nastavení z výroby nebo ovladače a aplikace), kterou chcete zapsat na disk.
4 Dokončete proces podlePokynu na obrazovce.

Poznamka: Bitová kopie vychozyho nastavení z vyroby se používa,Pokud chcete vytroř spustitelný disk obsahujíć uplný operacní systém počitače tak, jak byl dodán z vyroby. Chcete-li vytroř disk, který bude umožnovat procházeni obsahu a instalaci vybraných ovladaču a aplikác, vytroře zálohu ovladaču a aplikác – tento disk nebude spustitelný.
Obnovit
Funkce obnovení umožnjuje obnovit systém z obrazu vychozho nastavení z vyroby nebo z dříve vytrofěné zálohy na disku CD nebo DVD. V systému Acer lze rovněž préinstalovat aplikace a ovladače.
1 Klepněte na položky Start, Všechny programa, Acer, Acer eRecovery Management.
2 Prepnete na stranku Obnoveni klepnutim na tlacitko Obnovit.

3 System lze obnovit z obrazu vychozho nastaveni z vyroby nebo preeinstalovat aplikace a ovladače.
4 Dokončete proces podlePokynu na obrazovce.
Obnova Windows ze záložnichisku

Poznamka: Tato funkce je k dispozici pouze u některych modelu.
Chcete-li obnovit Windows ze svych driye vypalenych zaloznich disku, musite vlozit první zalozní disk a umožnit Spoustěci nabidku F12 prostřednictvím nastroje BIOS Setup.
1 Zapněte počítač a vložte první disk pro obnovení systému do mechaníky pro optický disk. Restartujte počítač.
2 Když se pri spoustěné obrazí logo Acer, stiskněte tlacítko F2, abyste spustili BIOS Setup, kde muzete nastavit parametry systému.
3 Pomoci tlačítek šipka vlevo a vpravo vyberte podnabídku Hlavni.
4 Pomoci tlačitek šipka nahoru a dolu vyberte Spoustěci nabídku F12.
5 Pomoci tlačitka F5 nebo F6 změnte Spoustéćá nabídku F12 na Povoleno.
6 Stisknutim tlačitka ESC vstupte do podnabídky Ukončit, stisknutim tlačitka ENTER muzete Ukončit s uložením zmen. Opětným stisknutim tlačitka ENTER vyberte Ano. Systém se restartuje.
7 Po restartování, když se zobrází logo Acer, stisknutím tlačíka F12 otevře Spoustěci nabidku. Zde si múžete vybrat, ze kterého zařizení má spušěné proběhnout.
8 Pomoci tlačiték se šipkami vyberte IDE1*, potom stisknéte tlačítko ENTER. Systém Windows se nainstaluje z disku pro obnoví.
9 Po vyze vlozte druhy disk pro obnoveni, potom podlePokynu na obrazovce dokoncete obnoveni.
10 Jakmile je obnovení hotové, vyjměte disk pro obnovení z mechaníky pro optický disk. Provedte to prěd restartováním počítáče.
Pokud chcete nastavit prioritu spousteni pro dlouhodobejsi pouzivani, meli byste vybrat podnabidku Spusteni.
1 Zapněte počítač a vložte první disk pro obnovení systému do mechaníky pro optický disk. Restartujte počítač.
2 Když se pri spoustěné obráz logo Acer, stisknéte tlacítko F2, abyste spustili BIOS Setup, kde muzete nastavit parametry systému.
3 Pomoci tlačtek šipka vlevo a vpravo vyberte podnabídku Spustěné.
4 Pomoci tlačítek šipka nahoru a dolu vyberte IDE1.
5 Pomoci tlačitka F6 presunte zařizení IDE1 do nejvyší priority spoustěné nebo pomoci tlačitka F5 presunte jiné zařizení do nizší priority spoustěné. Zajistěte, aby zařizení IDE1* mělo nejvyší prioritu.
6 Stisknutim tlačitka ESC vstupte do podnabídky Ukončit, stisknutim tlačitka ENTER muzete Ukončit s uložením zmen. Opětným stisknutim tlačitka ENTER vyberte Ano. Systém se restartuje.
7 Po restartováni se systém Windows nainstaluje z disku pro obnovení.
8 Po vyzve vlozte druhy disk pro obnovení, potom podlePokynu na obrazovce dokončete obnovení.
9 Jakmile je obnovení hotové, vyjměte disk pro obnovení z mechaníky pro optický disk. Provedte to před restartováním počitáče.
Počitač vyuzíva baterii zajist'ujíci dlouhou dobu provozu mezi nabijením.
Vlastnosti jednotky bateriovych zdrojù
Je vyrobena podle současnych standardních technologí.
Signalizujevybiti.
Baterie se nabiji vždy, když je počítač pripojen k siti prostřednictvím sít'ového adaptéru. Tento počítač podporuje dobíjení za provozu a umožnuje uživateli dobíjet bateri bez prěrušeni práce s počítačem.
U vypnutého počítace je ovšem dobijeni podstatné rychlejsí.
Baterie je výhodné pří cestováné nebo pří vypadku elektrické energia.
Doporuchjeme mft k dispozici Jednu zcela dobitou Jednotku bateriovych zdroju jako zalohu. Podrobnosti o objednani nahradni Jednotky bateriovych zdroju ziskate u prodejce.
Prodlouženíživotnosti baterie
Jako všechny ostatní baterie se rovněž baterie v tomto počítáci po určité době znehodnotí. Znaměna to,Že vykon baterie se Časem a používáním snižuje. Chcete-li prodloužit Životnost baterie, dopržujte následujíci doporučeni.
Příprava nové Jednotky bateriovych zdrojure
Před prvním použitím nové Jednotky bateriovych zdrojů je třeba provést následujíci postup prípravy:
1 Vlozte do počitače novou baterii. Nezapínejte počitač.
2 Připojté adaptér střidavého proudu a baterii zcela dobijte.
3 Odpojte adapté stfridavého proudu.
4 Zapněte počítac a používejte napájení z baterie.
5 Baterii zcela vybjte, dokud počitač nezačne signalizovat vybití baterie.
6 Znovu pripojte adaptér střidavého proudu a baterii zcela dobijte.
Tínto postupem bateri třikrát vybjte a dobijte.
Tuto pripravu provadje u vsech novych bateri nebo u baterie, ktera nebyla delsi dobu pouzivana. Pred ulozenim poctace na dobu delsi, nez dva tdyne, doporučujeme vyjmout Jednotku bateriovych zdroju z poctace.

Upozorněni: Nevystavujte Jednotku bateriovych zdrojú teplotám pod 0°C (32°F) nebo nad 45°C (113°F). Extrémné teploty mohou mit na Jednotku bateriovych zdrojú negativné vliv.
Při dodrženiPokynu pro prípravu bude možné baterii dobít na maximálné kapacitu. Při nedodrženi těchtoPokynu nebude možné baterii dobít na maximálné kapacitu a rovně se tak zkracuje provozníživotnost baterie.
Provozní Životnost baterie mohou rovněž negativné ovlivnit následujíci zpúsoby používání:
Trvalé napajeni počitace s vlozenou bateri střidavym proudem z elektrické zásuvky. Chcete-li počitac trvale napajet střidavym proudem, doporučujeme po uplném dobití baterii z počitace vyjmout.
Zanedbání uplného opakovaného vybití a dobití baterie (viz výše).
- Casté používán – Čím castěji bateriì používáte, tím se rychleji zkracuje provozní Životnost. Životnost béžné počítácové baterie je přibližné 300 dobíjecích cyklu.
Dulezite! Chcete-li poçaţač používat bez prerušeni, pripoje k poçaţači prěd vyjmutim baterie adaptér střidavého proudu. V ostatních prípadech nejrve vypněte poçaţač.
1 Zorientujte baterii správným směrem pro vložné do otevřné pozice pro baterie. Konec s kontakty se vkládá napřed horní strana baterie musí směřovat nahoru.
2 Zasuñte baterii do pozice a lehce ji zatlačte, aby zaklapla na misto.
1 Přesunutím uvolnovací západky baterii uvolněte.
2 Vyjměte baterii z pozice.
Dobíjení baterie
Před dobíjením zkontrolujte, zda je baterie správně nainstalována v pozici pro baterie. Připojte adaptér střidavého proudu k počitači a k elektrické zásuvce. Během dobíjení baterie je možné používat počitač s napájením střidavým proudem. U vypnutého počitače je ovšem dobíjení podstatné rychlejši.

Poznámka: Na konci pracovního dne doporučujeme bateri dobit.
Před cestováním lze nabíjením prěs noc zajistit plné nabítí baterie.
Kontrola napájení z baterie
Měřic napajení (system Windows) udáva aktuální uroven napajení z baterie. Chcete-li zjistit aktuální uroven dobítí baterie, umístěte kurzor nad ikonu baterie/napajení na hlavním panelu.
Optimalizace Životnosti baterie
Optimalizace zhivotnosti baterie umozhnejmaximalnvyuzit provoznich moznosti baterie, prodlouzit cyklus dobijeni a zvysit učinnost dobijeni. Doporučujeme dodržovat následující zásady:
Zakunte jestjnednu jednotku bateriovych zdroj u navic.
K napajení počitáce používejte co nejčastěji střidavý proud z elektrické zásuvky a šetřete bateri pro mobilné použítí.
Vyjměte nepoužívanou kartu PC, ktera neustále spotřebováva energii.
- Jednotku bateriov'ych zdrojú uložte na chladném suchém miste. Doporučená teplota je 10^ ( 50^ ) až 30^ ( 86^ ). Při vysshích teplotách dochází k rychlejším usmovolnému vybití baterie.
Nadmérné dobíjení zkracujé zivotnost baterie.
- Pečujte o adaptér střidavého napětá o baterii.
Upozornění na vybití baterie
Př napájení z baterie sledujte měřic napájení (systém Windows).

Upozorněni: Jakmile začne počitač upozorůvat na vybiti baterie, prípoje co nejdřove adaptér stridavého proudu. Pokud se po uplném vybiti baterie počitač vypne, hroží ztráta dat.
Když se zobrazí upozorněné na vybití baterie, závisí doporučený postup na aktuální situaci uživatele:
| Situace | Doporučená Akce |
| Je k disposzici adaptér střidavého proudu i elektrická zásuvka. | 1. Připojte adaptér střidavého proudu k počítači a potom k elektrické zásuvce.2. Uložte všechny nezbytné soubory.3. Pokračujte v práci.Chcete-li, aby se baterie dobijela rychleji, vypněte počítač. |
| Je k disposzici zceladobitá Jednotkabateriovych zdrojú. | 1. Uložte všechny nezbytné soubory.2. Ukončete všechny spužtěné aplikace.3. Ukončete operační systém a vypněte počítač.4. Vyměřte Jednotku bateriovych zdrojú.5. Zapněte počítač aPokračujte v práci. |
| Není k disposzici ani adaptér střidavého proudu, ani elektrická zásuvka. Není k disposzicižádná náhradníjednotkabateriovych zdrojú. | 1. Uložte všechny nezbytné soubory.2. Ukončete všechny spužtěné aplikace.3. Ukončete operační systém a vypněte počítač. |
Přenašeni notebooku
Tato Čast obsahuje tipy a rady, o kterych bystande meli uvažovat, jestlize svuj počítač prěnášte nebo s nín cestujete.
Odpojeni od stolního počítače
Přo odpojováni počitače od externích zařizení postupujte následovné:
1 Ulozte vsechny otevrené soubory.
2 Vyjměte z Jednotek všechna media, diskety Či kompaktní disky.
3 Vypněte počitač.
4 Zavfete kryt displeje.
5 Odpojte snuru od adaptru stfridaveho proudu.
6 Odpojte klávesnici, ukazovací zařizení, tiskárnu, externí monitor a dalí externí zařizení.
7 Odpojte zamek Kensington,Pokud jej pouzivate k zabezepeceni pocta.
Přenašeni
Pře nausejí pouze na krátné vzdálenosti, například z pracovniho stolu do konferenční mîstnosti.
Příprava počítače
Před prenášením počítače zavřete a zaklapnéte viko displeje a uved'te tak počítač do režimu spanku. Počítač nyní mžěte bezpečné prěnášet kdekoli po budově. Chcete-li obnovit normální režim počítače z režimu spanku, otevřete displej a potom stisknéte a uvolnéte tlacítko napájení.
Jestlje počitač prěnášite do kanceláře klienta nebo do jiné budovy, můžete počitač vypnout:
Klepněte na tlacítko Start a poté na možnost Vypnout.
nebo
Müzete počitač prepnout do režimu spanku stisknutím kombinace kláves
Jakmile budete chtit počitač znovu použít, uvolněte západku displeje, otevře t de slej a potom stisknéte a uvolněte tlacitko napajení.

Poznamka: Pokud indicator režimu spänku nesvītī, počitač vstoupil do režimu hibernace a vypnul se. jestlje indicator napájení nesvītí, ale indicator režimu spänku svītí, počitač se nachází v režimu spänku. V obou prípadech muzete počitač znovu zapnout stisknutím a uvolnéím tlačítka napájení. Počitač muze vstoupit do režimu hibernace po určité době strávené v režimu spänku.
Co s seabou na schüzky
Pokud se jegnó relativné krátkou schúzku, zřejmě s sebou nebudete muset nosit nic jiného než počítac. Bude-li schúzka trvat déle nebo baterie není plné nabità, měli byste si s sebou vzt adaptér střidavého proudu, abyste jej mohli v konferencnímistrostni použít.
Pokud v konferenčnímistrovúká zásvuča, snižte zatíženi baterie prepnutím počitače do režimu spánku. Kdykoli nebudete počitač aktivné používat, stisknéte klávesy +
Přenášeni počitače domů
Pokud přenášite počitač z kanceláře domů a naopak.
Příprava počítače
Jakmile odpojite počitač od stolniho počitače, pripravte jej na cestu domů pomoci následujících krokú:
- Vyjměte z jegnotek vsechna media a kompaktní disky. jestliže media nebudou vyjmuta, muže dojít k poškození hlavy disku.
Zabalte počitač do ochranného obalu, který zabrání sklouznú t a v pripadě pádu jej ztlumí.

Upozorněni: Nepridávejte do obalu prědměty do blízkosti horního krytu počitace. Tlak na horní kryt muže poskodit obrazovku.
Co vzít s seabou
Vezměte si ssebou následujíć položky,Pokud je již nemáte doma:
- Adapté střidavého proudu a napájecí kabel
Vytistěnou Struene poukyny
Zvlástní opatřeni
Na cestre do prace a z prace dodržujte následujíci bezpečnostníPokyny, které ochráni počítač:
- Mějté počitáč vždy u sebe, abysteminimalizovalićčinkyzměn teploty.
- Pokud se potrebujete zdržet na delsí dobu a nemüzěte si počitač vžít s seabou, uložte jej do kufru auta, aby nebyl vystaven prřilíš vysokte teploš.
Změny teploty a vlhosti mohou zpúsobit kondenzaci. Před zapnutím nechte počitač prizpúsobit pokojové teploša potom zkontrolujte, zda na obrazovce není zkondenzovaná voda. Pokudzměna teploty přesahuje 10 °C (18 °F), prizpúsobujte počitač pokojové teploše pomalu. Je-li to možné, umistěte počitač na 30 minut na rozhraní mezi venkovníva vinitníní teplotou.
Používání počítače v domáci kanceláři
Pokud Často pracujete s počítačem doma, je vchodné zakoupit druhý adaptér střidavého proudu. Máte-li druhý adaptér střidavého proudu, nemusite přěnášet dalí věci domú a nazpátek.
Jestlize doma hodne pracujete s počítačem, mžěte pridat také externí klávesnici, monitor a mys.
Cestování s počitačem
Přesun na větěsí vzdálenosti, například z kanceláře do kanceláře klienta v jiné budově nebo vnitrostátné cestování.
Příprava počítače
Připravte počitač tak, jako bye ste jej brali domú. Přesveděće se, zda je baterie nabitá.
Př bezpečnostní prohlíde na letisti mužete byt vyzání k zapnutí počitače.
Co vzt's sebou
S sebou si gezemte tyto veci:
Adapté stfédévo proudu
Náhradní zélá dobíté baterie
Dal'soubory ovladaču tiskárný (budete-li chtít používat jinou tiskárnú)
Zvlástn opatřeni
Ochrana počitače prí cestováni vyžaduje, abyste kroměPokynů pro prěnášeni počitače domů doržovali i tytoPokyny:
- Počitač mějte vždy u sebe jako príručné zavazadlo.
- Je-li toMZne, nechejte poCtac zkontrolovat ruCnE. Rentgenové detektory pri kontrole na letiSti jsou bezpeCnE, ale vŽadném priPaděnevystavujte poCtac detektorum kovu.
Zajistete,aby diskety nebly vystaveny pusobenir ruchnich detektoru kovu.
Cestováns počitačem po světě
Presun mezi zememi.
Příprava počítáče
Připravte počitac jakoa na běžnou cestu.
Co vzít s seabou
S sebou si gezemete tyo veci:
- Adapté stédavého proudu
- Napajecí kabel, ktery je vchodný pro zemi, do niz cestujete
- Náhradní zcela dobíté baterie
Dal'soubory ovladaču tiskárný (budete-li chtít používat jinou tiskárnú)
Doklad o koupi,Pokud byeste jej museli ukazovat celnikum - Pas ITW (Mezinárodní záruka pro cestovatele)
Zvlástn opatřeni
Dodržujte stejné spezialníPokyny氛 prí cestováni s počitačem. Kromě toho je pri mezinaródním cestováni dobré držet se i dalších doporučeni:
- Pri cestován do jiné země zkontrolujte kompatibilitu střidavého napětá a napětí a napájecího kabelu adaptéru střidavého proudu. Nejsou-li kompatilní, kupte si napájeci kabel, který je kompatilní se zásuvkou pro prívod střidavého proudu v mistě. K napájení počítáće nepoužívejte měniće napětí prodávané pro spotřebiče.
- Používáte-li modem, zkontrolujte kompatibilitu modemu a konektoru s telekomunikačním systémem zěme, do níž cestujete.
Zabzepečeni počítače
Váš počítač je cennou investić, o kterou je třeba se starat. Naučte se, jak jej chránit a jak o něj pečovat.
Bezpečnostními funkciemi jsou hardwarové a softwarové zámky - drážka a hesla.
Používání bezpečnostního zámku počítače
Současti notebookku je otvor pro bezpečnostní záměk kompatibilní se standardem Kensington.
Připevněte bezpečnostníkabel k nehybnému prědětu, například ke stolu nebo rukojeti uzaměné zásvuky. Vložte zámek do dražky a otočením kliče zámek zamkněte. K disposzici jsou rovněž modely bez kliče.
Použití hesla
Hesla chrání počitač před nepovoleným prístupem. Nastavením těchto hesel lze vytvořit několik rúzních urovní ochrany počitače a dat:
- Heslo správce (Supervisor Password) zabrañuje nepovolenému prístupu k nástroji BIOS. Toto heslo je třeba po nastavení zadat vždy, když chcete získat prístupk nástroji BIOS. Viz "Nástroj BIOS" na straně 29.
- Heslo uživatele (User Password) chrání počítáč prěd neoprávněm použitím. Kombinác tohoto hesla a kontrólních bodů hesla pri spustěné i prěpínámí počítáče z režimu hibernace lze zajistit maximálí bezpečnost.
- Heslo pro spustěné (Password on Boot) chráné počitač před neoprávněnám použitím. Kombinací tohoto hesla a kontrólních bodů hesla pri spustěné a přepínámí počitače z režimu hibernace lze zajistit maximální bezpečnost.

Duležité! Nezapomente heslo správce! Pokud heslo zapomenete, obrat'te se na prodejce nebo na autorizované servísn stfedisko.
Zadání hesel
Po nastavení hesla se uprostřed obrazovky zobrazí vžvza k zadání hesla.
- Po nastavení hesla správce se zobráží výzva,Pokud pri spustěné stiskete klávesu < F2 > pro pristup k nastroji BIOS.
- Chcete-li ziskat pristup k nastroji BIOS, zadejte heslo správce a stisknéte klávesu
. jestlje uvedete nesprávné heslo, objeví se upozornění. Zadejte heslo znovu a stisknéte klávesu . - Po nastavení hesla uživatele a povolení parametru Heslo pri spustěné se pri spustěné zobrazí výzva.
- Napište heslo uživatele a stisknéte klávesu
k použití počitače. jestlIZE uvedete nesprávné heslo, objéví se upozorněni. Zadejte heslo znovu a stisknéte klávesu .

Duležite! M ate tri moznosti uvest heslo. Pokud zadate tikrát nesprávné heslo, systém se zastaví. Vypněte počitač stisknutím a podrzením tlacitka napajeni déle než Čtyří sekundy. Znovu zapnéte počitač a opakujte zadání hesla.
Nastavení hesel
Hesla muzete nastavit pomoci nastroje BIOS.
Možnosti rozšiření
Váš notebook nabízí věchny možnosti mobilní práce s počitáčem.
Možnosti pripojení
Pomoci portu muzete k notebooku pripojit periferni zafrizen podobne jako ke stolnimu poctacli. Pokyny tykajici se priopojen ruznych externich zafrizenk poctataci naleznete v nasledujici casti.
Faxový/datový modem (pouze u vybranjích modelú)
Počitač obsahuje zabudovaný faxový/datový modem V.92 56 kb/s. (pouze u vybraných modelú)

Upozorněni! Tento port modemu není kompatbilnís digitálními telefonními linkami. Pokud tento modem prípojité k digitální telefonné lince, dojde k poškození modemu.
Chcete-li použit modem k faxoványí nebo prěnosu dat, prěpiojte Telefonné kabel z portu modemu k zásuvce Telefonné linky.


Upozorněni! Oveřte, zda je použitý kabel vhodné pro zemi, ve které pracujete.
Integrovaná moznost sít'ového pripojeni umožnuje pripojit počitačk siti Ethernet.
Chcete-li použit možnost sítoveho pripojení, pripoje kabel Ethernet z portu Ethernet (RJ-45) na těle počitáće do sítove zásuvky nebo Rozbočovace.

Univerzální sériová sběrnice (USB)
Port USB 2.0 je vysokorychlostni sériová sběrnice, ktera umožnjupe pripojit periférie USB bez obsazení vázćných systémovych prostředku.

Port IEEE 1394 (pouze u vybranjch modelu)
Port IEEE 1394 tohoto počitače umožnju pripojeni k zařizením s podporou rozhraní IEEE 1394, jak je videokamera nebo digitánlní fotaparát. Další informace naleznete v dokumentaci k videokaměře nebo digitánlínu fotoparátu.

High-Definition Multimedia Interface (pouze u vybranjch modelu)
HDMI (High-Definition Multimedia Interface) je vseobecné podporované Rozhrani pro přenos nekomprimovaného, zcela digitánlího zvuku a obazu. Rozhrani HDMI umožnuje propojit jakýkoli kompatibilíní zdroj digitánlího zvuku a obazu, jako například zařizení set-top box, přehrávač DVD āpřijimač A/V, a kompatibilína zařizení pro přehrávní digitánlího zvuku anebo obazu, jako například digitánlí televizor (DTV), pomocí jeginého kabelu.
Pomoci portu HDMI poçaitea muzete pripojit spickové zvuková obrazové zaifzení. Díky pouziti jeginého kabelu lze zaifizení pripojit uhledné a rychle.

Karta ExpressCard (pouze u vybranjch modelu)
Karta ExpressCard je nejnovějsí verzí karty PC. Má mensí a rychlejší rozhraní, které dále zvyůje možnosti používání a rozširitelnost počítace.
Karty ExpressCard podporuć celou šradu možností rozšiféní včetné adaptérů paměťovych karet Flash, televiznich tunerů, pripojení Bluetooth a adaptérů IEEE 1394B. Karty ExpressCard podporuć použití Rozhrani USB 2.0 a PCI Express.

Duležite! Existují dva typy karet – ExpressCard/54 a ExpressCard/34 (54 mm a 34 mm) – s rúznymi funkcem. Ne všechny sloty ExpressCard budou podporovat oba.typy. Podrobné pokyny k instalaci a používání karty a jejich funkć náleznete v námodu k použití karty.
Vlození karty ExpressCard
Vložte kartu do slotu a jemné zatlačte, až zaklapne na mistro.

Vysunuti karty ExpressCard
Prid vysunutm karty ExpressCard:
1 Ukoncteprogram, ktery tuto kartu vyuzivá.
2 Levym tlačitkem mysi klepněte na ikonu Bezpečné odebrat hardware na hlavním panelu a ukoněte provoz karty.
3 Povysuntekartu jemnym zlatcenim do slotu a uvolnenim.
Instalace paměti
Postup pri instalaci pameti:
1 Vypnete počitač, odpojte adapté strídavého proudu (je-li připojen) a vyjměte baterii. Otočte počitač vzhúru nohama.
2 Odstrańte šrouby z krytu paměti, pak kryt paměti zvedněte a dejte stranou.
3 Zasuţe paměťový modul diagonálné do patice (a) a lehce jej zatlačte, aby zaklapnul na mistro (b).

4 Nasadte kryt pameti a zabezpečte jej šroubem.
5 Znovu nainstalujte baterii a prijoje adaptert stfrdavheo proudu.
6 Zapněte počitač.
Počitač automaticy Rozpozná a prekonfigurje celkovou velikost paměti. Oblat'te se na odborného technika nebo na místního prodejce produktu Acer.
Nastroj BIOS
Nastroj BIOS je program pro konfigurovani hardwaru, ktery je zabadovan do systemu BIOS počitače.
Váš počitáč již byl správně nakonfigurován a optimalizován, takze tento nastroj nemusítte spoustět. Múžete jej však spustit, jestliže budete mit problémy s konfiguraci.
Chcete-li aktivovat nastroj BIOS, stisknéte klávesu
Poradí spoustěné
Chcete-li v nastroj BIOS nastavit pořadi spoustěné, aktivujte nastroj BIOS a potom v kategoriich uvedenych v horní Časti obrazovky vyberte položku Boot.
Povolení obnovení z disku na disk
Chcete-li povolit obnoveni z disku na disk (obnovení pevného disku), aktivujte nastroj BIOS a potom v kategoriich uvedenych v horní Časti obrazovky vyberte položku Main. Vyhledejte v dolní Časti obrazovky položku D2D Recovery a pomoci kláves
Heslo
Chcete-li nastavit heslo při spustěné, aktivujte nastroj BIOS a potom v kategorích uvedenych v horní Časti obrazovky vyberte položku Security. Vyhledje tpe položku Password on boot: a pomoci kláves
Používání softwaru
Přehrávání filmu DVD

Poznámka: Tato funkce je k dispozici pouze u některych modelu.
Pokud je v prostoru pro optickou Jednotku nainstalován modul Jednotky DVD, muzete v počitači prehravat filmy DVD.
1 Vysuñte prihrádku DVD a vložte disk s filmem DVD; pak prihrádku DVD zavfete.

Duležite! Pri první spušěné prěhrávače DVD vás program vyzve k zadání kódu regionu. Disky DVD jsou Rozděleny do 6 regionú. Jakmile je u Jednotky DVD nastaven kód regionu, budou se prěhrávat pouze disky z tohoto regionu. Kód regionu můžete nastavit maximálné pětkrat (včetné prvního nastavení), potom zústane trvale nastaven posledné kód regionu. Obnovením pevného disku nebude smazán počet zadaných kódū regionu. Informace o kódech regionu pro filmy DVD naleznete v tabulce dále v títo cásti.
2 Film DVD se začne automaticicky prěhrávat po několika sekundích.
| Kód regionu | Země nebo region |
| 1 | USA, Kanada |
| 2 | Evropa, Střední vychod, Jižní Afrika, Japonsko |
| 3 | Jihovychodní Asie, Tchaj-wan, Jižní Korea |
| 4 | Latinská Amerika, Austrálie, Nový Zéland |
| 5 | Dřívejší státy SSSR, Čast Afriky, Indie |
| 6 | Čínská lidová republica |

Poznámka: Chcete-li změnit kód regionu, vložte do Jednotky DVD film DVD z jiného regionu. Dalí informace najdete v elektronické napovédě.
Časté otázky
V následujíím seznamu jsou uvedeny situace, ke kterym múze dojt pri používání počitáče. Ke kaźdé situaci jsou uvedena snadnářěsení.
Po stisknuti tlačfka napájení se počitač nespustí ani nenastartuje.
Podívejte se na indicator stavu napájen:
-
Pokud indicator nesvití, počítač není prípojen k napájení. Zkontrolujte následujíci možnosti:
-
Pokud používáte jako zdroj napajeni baterii, je baterie pravděpodobné vybitá a nelze pomocićí počítač napájet. Připojté adaptér střidáveho proudu a dobijte baterii.
-
Presvedcte se, zda je adaptér stridaveho proudu rădné zapojen do poțitače a do zásvúky.
-
Pokud indikator svítí, zkontrolujte následujíci možnosti:
-
Je v externi disketové Jednotce s rozhranim USB vložena jina nez spoustěcí (systémová) disketa? Vyjměte ji nebo nahradte systémovou disketou a stisknutím kláves
+ + restartujte počitač.
Na obrazovce nejsou zobrazenyŽadnépoložky.
Systém rízení spotféby počitače automaticicky vypíná obrazovku za účelem úspory energie. Zobrazení obnovité stiskutím libovolné klávesy.
Pokud zobareni nelze obnovit stisknutim libovolné klávesy, mûze to byt zpúsobeno třemi prícinami:
- Pravděpodobné je nastavena prěfliš nízká úroven jasu. Zvyěste úroven jasu stisknutím kláves <Fn> + <D> .
- Jako zobrazovací zařizení je pravděpodobné nastaven externí monitor. Stisknutím klávesové zkratky pro prěpnú tí zobrazení
+ prěpněte zobrazení zpět na počítc. - Pokud svítí indicator režimu spánku, počitač se nachází v režimu spánku. Aktivujte počitač stisknutím a uvolněním tlacitka napajení.
Z počitače není slyšet Žádný zvuk.
Zkontrolujte následujíci možnosti:
- Pravlěpodobné je ztlumená hlasitost. Podívejte se na hlavním panelu systému Windows na ikonu Hlasitost. Pokud je ikona prěskrtnutá, klepněte na ni a zrušte zaškrtnutí polícka Ztlimut věs.
-
Pravděpodobné je nastavena prěliš nízká uroveř hlasitosti. Podívejte se na hlavním panelu systému Windows na ikonu Hlasitost. Hlasitost měžete také nastavit pomoci tlaciték pro nastavení hlasitosti.
-
Pokud jsou k vystupnímu portu na prědnim panelu počítače prípojena sluchátka, náhlavní sluchátka nebo externí reprodukty, interní reproduktry budou automaticicky vypnuty.
Chci vysunout prihradku optické Jednotky bez zapínání napájení.
Optická Jednotka je vybavena otvorem pro Mechanické otevřeni. Stačí vložit hrot pera nebo kancelářskou sponku a zatlačit a prihradka se vysune.
Klavesnice nereaguje.
Zkuste připojit externí klávesnici k portu USB počitače. Pokud funguje, obr'te se na prodejce nebo autorizované servisné středisko, protože může být uvolněn kabel interní klávesnice.
Tiskáma nefunguje.
Zkontrolujte následujíci možnosti:
Zkontrolujte, zda je tiskárma pripojena do elektrické zásuvky a je zapnutá.
- Oveřte, zda je kabel tiskámy pevně prípojen k paralelnímu portu nebo portu USB počitace a príslušnému portu na tiskárne.
Chci obnovit puvodni nastaveni počítače bez disků CD pro obnovení.

Poznámka: jestliže používáte vicejazyčnou verzi systému, bude prí dalšich operácch obnovení k dispozici pouze operačné systém a jazyk, který zvolité při prvním zapnutí systém.
Zotavení systému vám pomůže obnovit disk C: s puvodním softwarem, který byl nainstalován v okamžiku zakoupení notebooku. Disk C: obnovité následujícím postupem. (Disk C: bude preformátován a všechna data smazána.) Před použítím těto možnosti je velmi duležité vytrořit zálohu všech datovych souboru.
Před provedením obnovy systému zkontrolujte nastavení systému BIOS.
1 OvefTe, zda je povolena funkce Acer disk-to-disk recovery.
2 Ovebre, Ze položka D2D Recovery v nabídce Main je nastavena na hodnotu Enabled.
3 Ukoncte nastroj BIOS a uloztpe provedené změny. Systém se restartuje.

Poznamka: Nastroj BIOS aktivujte stisknutím klávesy
Zahájení procesu obnoveni:
1 Restartujte počitač.
2 V okamžiku, kdy je zobrazeno logo Acer, aktivujte proces zotavení současným stisknutím kláves
3 Provedte obnovení systému podlePokynú na obravce.

Dulezite! Tato funkce zabirá 15 GB mista ve skrytém oddílu na pevném disku.
Vyžádání služby
Mezinárodní záruka pro cestovatele (International Travelers Warranty; ITW)
Váš počítač je Pokryt mezinárodní zárukou pro cestovatele (ITW), ktera vám poskytne bezpećí a volnou mysl při cestování. Naše celosvětová sít' servisnich středisek vám podá pomocnou ruku.
Spolu s počitačem je dodávan pas ITW. Tento pas obsahuje vše, co potřebujete vědět o programu ITW. Tato praktická príručka rovněž obsahuje seznam dostupné autorizovaných středisek. Pečíve si:tento pas prěčěte.
Vždy mějte svúj pas ITW po ruce, zejména na cestách, protoze budete získávat výbody od nasich středisek podpory. Do kapsy na prědní straně obalu pasu ITW umístěte doklad o koupi.
V prépade,Že se v zemi vašeho pobytu nenacház autorizované servisin středisko ITW společnosti Acer, muzete se stále obratit na naše střediska po celém světe. Prosím konzultujte adresu http://global.acer.com.
Než zavoláte
Voláte-li sluzbu online společnosti Acer, pripravte si nasledujíci informace a budte u svého počítače. S vaš podporou mžeme zkrátit trvání hovoru a efektivné vyřěsit vaš problém. Pokud se na displeoji počítače zobrazuju chybovy zprávy nebo se ozývá pipání, zapište si zprávy tak, jak se objevúj na displeoji (nebo zapište počet a pořadí pipání).
Musite poskytnout následujicí informace:
Jméno:
Adresa:
Telefonni cIslo:
Přístroj a model:
Seryoce fislo:
Datum nákupu:
Odstrańovani potiží
V teto kapitole jsou uvedeny Pokyny pro rěsení bežných problému systému. Dojde-li k problému, přěctete si tytoPokyny dřive, než se obrátě na servisniho technika. K rěsení závažnéjsích problému bude pravděpodobné třeba počítc otevřít. Nepokoušejte se počitač otevřít sami, požádejte o pomoc prodejce nebo autorizované servisní středisko.
Tipy pro odstrańovány potíź
Tento notebook disponujePokrośilymi fungkemi, které zobrazují chybové zprávy na displeji a pomáhajířěsít pripadné problémy.
Pokud systém zobráz chybovou zaprVu nebo se projevi příznaky chyby, postupujte podlePokynu v cásti Chybové zpravy. Pokud problém nelze vyřěsit, obr'te se na prodejce. Viz "Vyžádání sluzby" na straně 33.
Chybové zprávy
Pokud se zobrází chybová zpréva, zapište si ji a provedte napravné opatřeni. Následující tabulka uvádi chybové zprévy v abecedním pořadí včetné doporučeného napravného opatřeni.
| Chybové zprávy | Nápravné opatření |
| CMOS battery bad | Obrat'te se na projejce nebo na autorizované servisní středisko. |
| CMOS checksum error | Obrat'te se na projejce nebo na autorizované servisní středisko. |
| Disk boot failure | Vložte systémovou (spoustěcí) disketu do diskoté ved jednotky (A:) a stisknutím klávesy <Enter> restartujte počítač. |
| Equipment configuration error | Stisknutím klávesy <F2> (během testu POST) spust'te nastroj BIOS; ten potom stisknutím klávesy Exit ukončete atím počítač restartujte. |
| Hard disk 0 error | Obrat'te se na projejce nebo na autorizované servisní středisko. |
| Hard disk 0 extended type error | Obrat'te se na projejce nebo na autorizované servisní středisko. |
| I/O parity error | Obrat'te se na projejce nebo na autorizované servisní středisko. |
| Keyboard error or no keyboard connected | Obrat'te se na projejce nebo na autorizované servisní středisko. |
| Keyboard interface error | Obrat'te se na projejce nebo na autorizované servisní středisko. |
| Memory size mismatch | Stisknutím klávesy <F2> (během testu POST) spust'te nastroj BIOS; ten potom stisknutím klávesy Exit ukončete atím počítač restartujte. |
Pokud po provedeni napravnych opatfeni dané problémy stále přtrévají, požádejte o asistenci prodejce nebo autorizované servisni středisko. Některé problémy lze vyfešit pomoci nastroje BIOS.
Předpisy a bezpečnostní upozorněné
Prohlášení FCC
Toto zaření bylo testováno a vyhovuje omezením pro digitálné zaření třídy B na záklabě Časti 15 směrnic FCC. Omezení jsou navržena tak, aby zajist'ovala prímeřenou ochranu proti nežadoucímu rušeni pri instalaci v domácnosti. Zaření vytváří, používa a můze vyzařovat energii na rádiových frekvencích aPokud není naintalováno a používáno podlePokynú, můze zpúsobovat nevhodné rušeni radiokomunikaci.
V Žádném prípadě však není možné zaručit, ze v určité konkrétné situaci k rušeni nedojde. Pokud skutečné dojde k rušeni prřijmu rozhlasu nebo televize, což lze zjistit vypnutim a zapnutím tohoto zařizení, měl by se uživotelPokusit rušeni odstranit temito zpúsoby:
Změnte polohu nebo orientaci príjmové antény.
Umistete zařizení dále od prijímače.
- Pripoje zafrizen do jiného zásuvkového okruhu, než ke kterému je pripojen prijímač.
- Pozádeje t o radu prodejce nebo zkuşeného radiotelevizného technika.
Poznámka: Stíněné kabely
Veškera pripojeni k jinému počitácovému vybavení musi být provedena stíněnámikably a musí splñovat prédpisy FCC.
Poznámka: Periferní zařizení
K toto zaifeni lze priopjit pouze periferni zaifeni (vstrupn a vystupn zaifeni, terminaly, tiskarny atd.), ktera jsou certifikovana a vyhovuji omezenim pro zaifeni tidy B. Pri pouzivani necertifikovanych perifernich zaifeni bude pravldepodbné dochazet krusen i prijmu rozhlasoveho a televizniho vysilani.
Upozorněni
Změny nebo upravy na zařizení, které vyrobce vyslovně neschváil, mohou omezit oprávně uživatele zaručene Federální komisí pro komunikace (FCC) používat tento počitač.
Poznámky o modemu (pouze u vybranjych modelú)
TBR 21
Toto zařizení bylo schvaleno v souladu s rozhodnutím rady 98/482/EC [Council Decision 98/482/EC - "TBR 21"] pro celoevropské Jednotné pripojeni k siti PSTN (Public Switched Telephone Network). Vzhledem k rozdilúm mezi Jednotlivými sítěmi v rúzních zemích však není certifikát sám o sobě zárukou úspěšného fungoványí v kaźdem koncovém bodu PSTN. V prípadě problěmu se nejprove obrat'te na dodavatele zařizení. Dalář informace o príslužných zemích majdete v Časti "Přdepisy a bezpečnostní upozorněni" na straně 35.
Prohlášeni o bodovém zobrazení panelu LCD
Panel LCD je vyraběn velmi prěsným vyrobním postupem. Nicméné některé obrazové body mohou prěfěžitostné selhat nebo se mohou zobrazovat jako Černé nebo Červé tečky. Tento jev nemá Žádný vliv na obrázek v počítaci a neznaméná závadu.
Informace o zákonnych ustanovenich tykajćich se rádiovych zařízení

Poznamka: Niže uvedené informace o prédpisech se vztahuji pouze na modely s bezdrátovou sítí LAN nebo Bluetooth.
Obecné
Tento vyrobek je ve shodě se směrniciemi o rušeni rádiovych frekvencí a bezpečnostnímì normami zěmi a regionů, ve kterénych byl schvalen pro bezdrátové použít. V závislosti na konfiguraci můžte tento vyrobek obsahovat bezdrátová rádiová zařizení (například modul bezdrátové sítě LAN nebo Bluetooth). Níže uvedené informace se vztahuť na vyrobky s takovými zařizeními.
Prohlášení o shodě pro země EU
Společnost Acer tímto prohlašuje, ze tento notebook je ve shodě se základními požadavky a dalísmi príslušnými ustanoveními Směrnice 1999/5/EC.
Seznam zemí
Členské země EU v Červenci 2009: Belgie, Dánsko, Německo, Žecko, Španělsko, Francie, Irsko, Itálie, Lucembursko, Nizozemsko, Rakousko, Portugalsko, Finsko, Švédsko, Velká Britária, Estonsko, Lotyško, Litva, Polsko, Mačarsko, Česká republika, Slovenská republika, Slovinsko, Kypr, Malta, Bulharsko a Rumunsko. Použití je povoleno v zemích Evropské unie a také v Norsku, Švýcarsku, na Islandu a v Lichtenstojnsku. Toto zařizení musí být používánov souladu s předpisy a omezeními platnými v zemi, kde je používáno. Dalí informace odbržíté u organu, který fídì použítí těchto zařizení v dané zemi. Aktuální seznam zemí najdete na webové stránce http://ec.europa.eu/enterprise/rtte/imply.htm.
Požadavek bezpečnosti pro rádiové frekvence dle FCC
Vyzářený vystupné výkon karty Mini PCI bezdrátové sítě LAN a karty Bluetooth je výrazně pod stanovenými limity pro púsobeni zářéní na rádiove frekvenci dle FCC. Notebook by však měl být používán takovém zpúsobem, aby byla możnost styku s osobami béhem normálniho provozu následujícím zpúsobemminimalizována.
1 Uživotelé musí dodržovat bezpečnostní pouy pro rádiovou bezpečnost u bezdrátovych zařizení, které jsou uvedeny v uživotelské príručce každého volitelného bezdrátoveho zařizení.

Upozorněni: Aby byly splněny požadavky americké Federánlí komise pro telekomunikace (FCC) na vyzařováni vysoký frekvencí, musí být mezi věmi osobami a anténou integrované karty Mini PCI bezdrátové sítě LAN, vestavěné v sekci obrazovky, udržována vzdálenost alespón 20 cm.


Poznamka: Bezdrátový adaptér Mini PCI implementuju funkci prěnosové diversity. Tato funkce nevyzařůje rádiové frekvence z obou antén současně. Jedna z antén je vybrána automaticky nebo rčné (uzivatelem) k zajištěné dobré kvality rádiové komunikace.
2 Toto zarifenji er urceno pouze k pouziti uvnit bredov kvuli provozu v pasma 5,15 až 5,25 GHz. Americká Federálni komise pro telekomunikace (FCC) požaduje pouziti tohoto vyrobku uvnit bredov pri provozu v pasma 5,15 až 5,25 GHz, aby došlo ke snizeni rizika škodlivého ruşeni ve společnych kanálech s mobilími satelitimi systémy.
3 Jako hlavní uživatelé pásem 5,25 až 5,35 GHz a 5,65 až 5,85 GHz jsou určeny vysoce vykonné radary. Tyto radarové stanice mohou zpúsobit rušení nebo poskozné tohoto zařizení.
4 Nesoprávná instalace nebo neoprávně použítí mohou zpúsobit škodlivé ruşeni rádiove komunikace. Jakékoli neoprávně zásahy do vnitří antény povedou ke zruşeni certifikace FCC a vaší záruky.
Kanada - vyjimka z licence pro radiokomunikačné zařízení s nízkým vykonem (RSS-210)
Púsobení vyzářeného pole na rádiové frekvenci na Člověka (RSS-102)
Notebook je vybaven integrálnimi anténami s nízkým ziskem, které nevyzařují pole na rádové frekvenci, jenž by přeckačovalo limity Ministerstva zdravotnictv Kanady stanovené pro obyvatelstvo; konzultujte bezpečnostní prédpis 6, který lze získat na webovych stránkách Ministerstva zdravotnictv Kanady na adrese www.hc-sc.gc.ca/rpb.
Pokyny k bezpečnosti
Pred Čistením výrobok vypnite
Pred Čisténím odpjte tento výrobok z elektrickej zásvuky. Nepoužívajte tekute Čistace prostriedky a Čistace spreje. Na Čistenie použite navlhčenu tkaninu.
UPOZORNENIE tykajuce sa zastrcky pri odpajaniziariaidenia
Pred pripojením napájacieho kábla k vystupu striédavého napătia nainštalujte napájacićujednotku.
Pred odobratím napájacej Jednotky z počitača odpojte napájací kábel.
Pocitač sa dodáva s plastovými kartami nainstalovanými v zásuvkách na karty. Ochranné plastové karty chránia zásuvku pred prachom, kovovými predmetmi a inými Časticami. Plastové karty uschovajte pre pripad,Že v zásuvkách nebudete mat'žiadne karty.
VAROVANIE tykajuce sa počúvania
Zdovodu ochrany sluchu dopriavajte tietoPokyny.
- Hlasitost' zvyšujte postupne, až kým nebudete počut' zretelne a pohodline.
- Nezvyšujte uroven hlasitosti po tom, co sa vaše uši prispôsobia nastavenej hlasitosti.
Nepocuvaite hudbu dlhodobo nahlas. - Nezvyšujte uroven hlasistosti kvoli prehluseniu hlucného okolia.
Ak nepočujete lúdí hovoriacich okolo vás, znížte hlasitost'.
iv
Upozornenia
Odpojte vyrobok z elektricnej zasuvky a nahlasta opravu kvalifikovanému servisnému personálu v tychto priPADoch:
Nevhadzujte batérié do ohna, mohli by explodovat'. K vybuchu moze dõjst' aj v pripade, ze je batériá poškodená. Použité batérié likvidujte v sulade s miestnymi predpismi. Ak je to mozné, recyklujte ich. Nevhyadzujte batérié spolu s domovym odpadom.
Pozor! Pri nesprávnom zaobchodzani s batériami hrozi ich vybuch. Je zakázané Rozoberat' batière a vhadzovat' ich do ohna. Ukladajte ich mimo dosah deti. Použité batière likvidujte pod'a vašich miestnych predpisov.
Upozornenie pre zariadenia s optickou mechanikou (len pre určité modely)
Bezpečnost' Telefonnej linky
Pokyny na likvidáciu
Po vyradení z prevádžky toto elektronické zariadenie nezahadzujte do odpadu. V záujme minimalizovania dopadov naŽivotné prostredie a jeho ochrany prosím recyklujte. Podrobné informácie oPokynoch na likvidáciu elektrických a elektronických zariadení (Waste from Electrical and Electronics Equipment - WEEE) najdete na http://www.acer-group.com/public/Sustainability/sustainability01.htm.

Informação o ortuti
- vhodnám umiestnením obravokv yzh'adom k oknu alebo inému zdroju svetla
minimalizujte osvetlenie miestnosti pomocou závesov, roliet a Žaluzif
používajte pracovnú lampu
zmeinte uhol pohladu na obrazovku
pouzivajte filter na redukciu odlesku -
používajte tienidlo obrazovky, například kus lepenky predlžujúci vrchný okraj obrazovky
-
Nenastavujte vašu obrazovku do nevhodného uhla pohladu.
Vyhybajte sa dlhsiemu pohladu na jasné svetelné zdroje, napriklad otvorené okna.
XII
Vypestujte si dobré pracovné navyky
Aby bolo použivanie počitača viac upokojuće a produktivnejšie, vypestujte si nasledovné pracovné návyk.
Doprajte si castejsie a pravidelne kratke prestavyk.
Urobte niedko strečingovych cvičeni.
Ak je to mozné, casteje'se sa nadychajte cisteho vzduchu.
Pravidelncvičteaudržiavajte svoje telo zdravé.

Pozor! Neodporúçame vám používat' počitač na pohovke alebo v posteli. Ak to nie je nevyhnutné, pracujte len v krátych casovych intervaloch, praviděne si doprajte prestávku a strečingóvcicenia.

Poznamka: Dalsie informácie najdete v Časti "Predpisy a pozmámky o bezpečnosti" na strane 35.
Hned' na úvod
Radi by sme vám podákovála za Rozvoj prenosných počitačov série Acer - vašej volby pre văsě mobilné počitačov potreby.
Văše príručky
V prvom rade plagat Práve zaćiname..., ktory vám pomоźe zaćat's nastavením vásho počitáča.
- Použite tlačidlo Power
Počitač v režime spánku možno zapnúť aj stlačením klávesovej skratky pre režim spánku

Starostlivost' o počitač
- Nevystavujte počitač priamemu slencnému svetlu. Neumiestnujte ho do blízkosti zdrojov tepla, napriklad radiatórov.
- Nevystavujte počitačteptám nižsím než 0 °C (32 °F) alebo vyším ako 50 °C (122 °F).
Vyvarujte sa põsobeniu magnetickych poli na počitač. - Nevystavujte počitac põsobeniu dažda alebo vlhka.
- Nelejte na počitač vodu alebo inú kvapalinu.
- Chrănte poțitač pred silnám otrasom a vibraciou.
- Nevystavujte počitac pósobeniu prachu a spiny.
Nikdy neumiesthujte ziadne predmety na počitač. - Obrazovku počitača zatvárajte opatrne.
Nikdy neumiestnujte poçaţač na nerovné plochy.
Starostlivost' o AC adaptér
Tu je niekolko rák k starostlivosti o AC adaptér:
- Nezapajaje adapté do ziadneho iného zariadenia.
- Nestúpajte na kábel napájania ani na neho neumiestnjuje ziadne t'ázké predmety. Kábel napájania a ostatné káble umiestnjuje tak, aby nikomu neprekážali.
Pri opájaní napajaceho kábla ho nat'ahajte za kabel, ale za zástrčku. - Ak používate predlžovací kábel, celková prúdová kapacita pripojeného zariadenia by nemala prekročit' prúdovú kapacitu kábla. Taktiež celková kapacita všetkích zariadení zapojenych do elektrickej zásuvky nesmie prekročit' kapacitu poistky.
Starostlivost' o batériu
Zopár rák starostlivosti o bateriu:
- Používajte len batérié rovnáhéo typu. Pred vyberaním alebo výmenou batérié počítáč vypnite.
Batierie nerozoberajte. Ukladajte ich mimo dosah deti. - Použité batarie likvidujte podla vašich miestnych predpisov. Ak je možné, recyklujte ich.
Cistenie a udrzba
Ked' cistite poça, postupujte nasledovne:
1 Vypnite počitač a vyberte bateriu.
2 Odpojte AC adaptor.
3 Používajte mákku navlhčenu tkaninu. Nepoužívajte tekuté ani aerosólove Čistiac prostriedky.
Ak sa prihój造血z tychto veci:
Pokyny k bezpečnosti iii
Upozornenie pre zariadenia s optickou mechanikou
(len pre urcité modely) vi
Pokyny na likvidáciu ix
Starostlivost' o počítač XIV
Starostlivost' o AC adapté r XV
Starostlivost' o batériu XV
Cistenie a udrzba XV
Dotyková plocha 1
(s Čítačkou odtračkov prstov) 1
(s tlačidlami s dvojitým kliknutím) 2
Použivanie klávesnice 3
Lock klávesy a vstavaná Číselné klávesnica* 3
Klavesy Windows 4
Zvuk 5
Acer PureZone (len pre urcité modely) 5
Video 5
Obrazovka 16:9 (len pre urcité modely) 5
Použivanie systémovychutil 6
Acer Bio-Protection (len pre urcité modely) 6
Napálit' zálohu na disk 10
Obnovenie 11
Obnovenie systému Windows zo založnych diskov 12
Batéria 14
Vlastnosti baterie 14
Maximalizovanie zivotnosti baterie 14
Instalacia a cyberanie baterie 15
Nabijanie baterie 16
Kontrola kapacity baterie 16
Co vziat' so sebou 20
Zvlaste opatrenia 21
Používanie bezpečnostného zámku počitača 22
Casto kladené otázky 31
Vyziadanie sluzby 33
Predtym než nám zavoláte 33
Riešenie problemov 34
Predpisy a poznámky o bezpečnosti 35
Prehlasenie FCC 35
Vyhlasenia k modemu (len pre urcité modely) 36
Prehlásenie o LCD pixel 36
Regulaçé prehlasenie k radiovému zariadeniu 36
Vseobecné 36
Kanada - Licencia vybranjch zariadení s nízkym napāṭím (RSS-210) 38
Oziarenie l'di pol'm radiosyche (RSS-102) 38
- Pohybom prsta po dotykovej ploche (1) pohybujete kurzoram.
Stlačte vlavo (2) a vpravo (4) od dotykovej plochy umiestné tlačidlá za učelom vyberu a vykonania funkcić. Tieto dve tlačidá majú rovaků fungcui ak o'lavé a pravě tlačidlo mysi. Klepnutie na dotykovú plochu je rovakě ak o kliknutie'lavým tlačidlom.

| Funkcia | L'avé tlacidlo | Pravé tlacidlo | Dotyková plocha |
| Vykonat' | Kliknite dvakrát rychlo za sebou. | Dvojité klepnutie (rovnakou rychlost'ou aka dvojité kliknutie tlacidlom myši). | |
| Vybrat' | Kliknite raz. | Klepnú't' raz. | |
| Pretiahnut' | Kliknite a držte, potom pomocou prsta na dotykovej ploche pretiahnite kurzor. | Dvojité klepnutie (rovnakou rychlost'ou aka dvojité kliknutie tlacidlom myši); podržte prest pri druhom klepnuť na dotykovej ploche a pretiahnite kurzor. | |
| Prístup do kontextového menu | Kliknite raz. |

Poznámka: Ilustrace jsou pouze orientačné. Presná konfigurácia Častí vášho PC závisí od zakúpeného modelu.

Používanie klávesnice
Klávesnica bežnej ve'lkosti obsahuje vloženú ciselnú klávesnicu*, samostnatné kurzorové klávesy, Lock klávesy, klávesy Windows, funkcné a špecialne klávesy.
Lock klávesy a vstavaná Číselné klávesnica*
Klavesnica obsahuje tri Lock klavesy, ktoré možno zapinat' a vypinat'.
Vlozená ciselná klávesnica funguje podobne ako ciselná klávesnica stolného počitača. V pravom hornom rohu kláves sa nachadzaju malé indikátoy. Kvôli prehladnosti nie su symboly kurzorovych kláves na klávessach vytlacné.
Po dokončeni tychto troch krokov budu v závislosti od naplánovania vytvárané kópie. Zálohy možěte vyvtorit' aj ručne stlačením klávesu Acer Backup Manager.
Ak chcete zmenit' nastavenia, możete kedykol'vek spustit' appláciu Acer Backup Manager pomocou ponuky Štart a prejst' vyšsie vymenované kroky.

Správa napájania
Napálit' zálohu na disk
1 Zapnite počítač a vložte prýv disk obnovy systému do optickej mechaniky. Restartujte počítač.
2 Počas spustenia, ked' sa zobrazije logo Acer, stlačením klávesu F2 otvorte pomocku BIOS Setup, kde možete nastavit' parametre systému.
3 Pomocou klavesov so šípkou dolava a doprava vyberte podponuku Hlavné.
4 Pomocou klavesov so sípkou nahor a nadol vyberte položku F12 Boot Menu.
5 Klávesom F5 alebo F6 zmeñe nastavenie položky F12 Boot Menu na Povolené.
6 Stlačením klávesu ESC otverte podponuku Skoncit' a stlačte kláves ENTER pri vyžve Uložit' zmeny a skoncit'. Opatovným stlačením klávesu ENTER vyberte možnost' An. Systém bude reşartovaný.
7 Po reşartovani stlačte poças zobrazenia logo Acer ponuky kláves F12, Čím otvoríte ponuku Boot Menu Tu možete vybrat', z ktorj Jednotky sa má zaviest' systém.
8 Pomocou klavesov so šípkou vyberte položku IDE1*, potom stlăcte kláves ENTER. Systém Windows sa nainštaluje z disku obnovy.
9 Ked' sa objav vyzva, vlozte druhy disk obnovy a dokoncite obnovenie podlaPokynov na obrazovke.
10 Po dokonéni obnovenia vyberte disk obnovy z optickej mechaniky. Urobte tak eSTE pred restrtovanim počítača.
Ak chcete nastavit' poradie zavadzania pre dlhodobejsie pouzivanie, je potrebné vybrat' podponuku Zavedenie.
1 Zapnite počítač a vložte prvý disk obnovy systému do opticnej mechaniky. Restartujte počítač.
2 Počas spustenia, ked' sa zobrazije logo Acer, stlačením klávesu F2 otvorte pomocku BIOS Setup, kde možete nastavit' parametre systému.
3 Pomocou klávesov so šípkou dolava a doprava vyberte podponuku Zavedenie.
4 Pomocou klavesov so šípkou nahor a nadol vyberte zariadenie IDE1*.
5 Pomocou klavesu F6 presunte zariadenie IDE1* na majvyssiu prioritu zavedenia alebo pomocou klavesu F5 presunte ostatne zariadenia na nizsiu prioritu zavadzania. Uistite sa, ze je zariadenie IDE1* na majvyssej priorite.
6 Stlačením klávesu ESC otverte podponuku Skoncit' a stlačte kláves ENTER pri vyžve Uložit' zmeny a skoncit'. Opatovným stlačením klávesu ENTER vyberte možnost' Ano. Systém bude reşartovaný.
7 Po rešartovani budě systém Windows nainštalovaný z disku obnovy.
8 Ked' sa objaví výzva, vložte druhý disk obnovy a dokončite obnovenie podlaPokynov na obrazovke.
9 Po dokonění obnovenia vyberte disk obnovy z optickej mechaniky. Urobte tak ešte pred restartovaním počítáča.
Batéria
Baturia sa nabija vždy, ked' pripjite počitačk adapturu striedavého napatia. Počitač podporuje nabijanie počas používania, cím umoznjuje nabijat' baturiu počas práce s počitačom. Nabijanie baturie je však s vypnutým počitačom ovela rychlejšie.
Baturia pride vhd, ked' cestujete alebo poças vypadku energia. Je vhodné mat'jidnu dalsiu upln nabitu batereiu akozalozny zdroje energia.
Postupujte podla tychtoPokynov, kym nenabijete a nevybjete batériu trikrát.
Pozor: Nevystavujte batériu teplotám nizsim ako 0^ (32^) ani vyším ako 45^ (113^) . Extremne teploty majú na batériu nepriaznivý vplyv.
Dodržaním procesu formátovania dosiahnete stav, ze sa batériya nabija na maximány vykon. Ak tento postup nie je dodržany, nedosiahne sa maximána kapacita batérié a skráti sa tiež efektírna zhivotnost' batérié.
Neustále používanie počitača napájaného striédavým napātím a so súčasne vlozenou batériou. Ak chcete používat' počitač neustále napájaný striédavým napātím, odporúčame vybrat' po úplnom nabití batériu z počitača.
- Nevybjajte ani nenabijate batériu extrémne, ako bolo opisané vyssie.
- Casté použivanie - Čím viac bateriu používate, tým rychlejšie sa skončí jej efektívnaŽivotnost'. Štandardné počitačová batería máŽivotnost' približne 300 nabijacích cyklov.
Doležite! Ak chcetePokračovat' v použivaní počitača, pred vyberaním batérié pripojte k počitaču adaptér striedavého napátia. V opačnom prípade najprv počitač vypnite.
Ako nainstalovat' bateriu:
1 Zarovnajte batériu podla otvorenej Jednotky batérié. Skontrolujte, Či kontakty smeruju doprodu a vrchná Čast' batérié je otočená licom nahor.
2 Zasuñte batiériu do priestoru na batiériu a opatrne zatlačte, kym batiéria nedosadne na miesto.
Ako vybrat' bateriu:
1 Vysunutim západky batériu uvolnite.
2 Vytyihnite batériu von.
Nabijanie batérié
Ak chcete batériu nabit', skontrolujte njaprvi, ci je v Jednotke správneneinainstalovaná. Pripojte k počitaču adaptér striedavého napatia a zapojteho do elektrickej zásuvky. Počas nabijania batérié možete s počitačomnapajánym striedavém napatím dalej pracovat'. Nabijanie batérié je všaksvypnutým počitačom ove'la rychlejšie.

Poznamka: Odporučame nabíjat' bateriu na konci dna. Nabíjanie batérié počas noci pred cestou umožné začat' na dalí dešn pracovat's počitačom s úplne nabitou batériou.
Kontrola kapacity batérié
Indikator napajania v système Windows signalizuje aktuálnu uroven kapacity batrie. Ak chcete vidiet' aktuálnu uroven kapacity batrie, podržte kurzor mysi nad ikonou batrie alebo napajania.
Pozor: Ked' sa objaví upozornenie na vyčerpanie bataře, co najskòr pripoje adaptér striédavého napátia. Ak sa batériya vybije uplne a počitač sa vypně, neuložené udaje sa stratia.
Vezmite si svoj prenosny počítač so sebou
Ak ste pripravení znova počitač používat', odistite a otvorte obrazovku, potom stlačte a uvolnite tlacidlo Power.

Poznamka: Ak kontrolka Spánok nesviét, počitač vstúpil do režimu Hibernácie a vypol sa. Ak kontrolka napájania nesviét, ale kontrolka Spánok svieti, počitač vstúpil do režimu Spánok. V oboch prípadoch zapnete počitač stlačením a uvolněm tlačidla Power. Počitač moze vstúpit' do režimu Hibernácie až po tom, ako je po určitý ās v režime Spánok.
Čo so seabou na schôdžky
Ak je vaša schödzka relativne krátka, pravdepodobne nebudete potrebovat' nic iné než počítač. Ak bude vaša schödzka trvat'dlhsie alebo ak vaša batériya nie je uplne nabitá, mali by ste si vziat' so sebou AC adaptér, aby ste ho mohli prijoyit' v konferenčnej miestnosti k počítaču.
Ak v miestosti nie je elektrická zásuvka, znižte spotrebu energia batérié prepnutím počitača do režimu spanku. Stlačte
Po odpojen počitača od stolného počitača postupujte podťa nasledovných krokov v priřave počitača:
Ak doma Často pracujete s počitačom, možete taktiež použit' externú klávesnicu, monitor alebo myš.
Prenosny počítač je vybavený Kensington kompatibilnám bezpečnostnám slotom na bezpečnostné zámok.
Heslá chránia vás počitač pred neautorizovaným prístupom. Nastavením tychto hesiel možno vyvtvorit' viacere rozlicné úrovné ochrany vásho počitača dát:
- Heslo správcu (Supervisor Passowrd) zabrañuje neauthorizovanému vstupu do utility BIOS. Po prvom nastavení musité toto heslo zadat' pri každom prístupe do utility BIOS. Pozrite "Utilita BIOS" na strane 29.
- Užívatěske heslo(User Password) chráni váš počítáč pred neautorizovaným použivaním. Kombináciou tohto hesla s kontrlou hesla pri zavázani a prebudení z režimu hibernácie dosiahnete maximálne zabezpečenie.
- Heslo pri zavadzani (Password on Boot) chrani văs poțitač pred neautorizovaným použivaním. Kombináciou tohto hesla s kontrolou hesla pri zavadzani a prebudení z režimu hibernácie dosiahnete maximálne zabezpečenie.

Dóležite! Nezabudnite svoje Heslo správcu! Ak zabadnete svoje heslo, skontaktujte sa prosim s vašim predajcom alebo autorizovaným servisné strediskom.
Zadávanie hesiel
Dóležite! Máte k disposzicii tri pokusy na zadanie hesla. Ak je heslo zadané trikrát nesprávnve, systém sa zastávi. Ak chcete počitač vypnút', stlačte a podržte tlacidlo Power po dobu štyroch sekünd. Potom zapnite počitač znova a skúste opakovane.
Nastavenie hesiel
Heslá možete nastavit' pomocou utility BIOS.
Możnosti rozsírenia
Vás prenosné poćitač ponúka dokonalá zážitok z práce s mobilné poćitačom.
Možnosti pripojenia
Pomocou portov je moźne pripojit' periférne zariadenia, tak ak o k stolnému počitaču. Precitajte si nasledovnú Čast' - nájdete tuPokyny ak o pripojit' k počitaču rozne externé zariadenia.
Fax/data modem (len pre urcité modely)
Počítač má zabudovany V.92 56 Kbps fax/data modem. (len pre určité moderny)

Pozor! Tento port modemu nie je kompatibilny s digitálnymi telefónnymi linkami. Pripojenie tohto modemu k digitánej telefönnej linkemöze modem poskodit'.
Ak chcete použit' port modemu fax/data, spojte telefónnym káblom port modemu s telefónnou zásuvkou.


Pamat'instalujte podla tohto postupu:
1 Vypnite počitač, odpojte AC adaptor (ak je pripojený) a vyberte batériu. Preklopte počitač tak, aby ste mali pristup k spodnej strane.
2 Odskrutkujte kryt pamäte, zdvihnite a vyberte ho.
3 (a) Vložte pamat'ovy modul diagonálne do pătice a (b) zl'ahka ho zatlačte na miesto tak, aby dosadol.

4 Vrátte spāt kryt pamäte zaistete ho skrutkou.
5 Dajte bateriu na svoje miesto a znova pripojte AC adaptor.
6 Zapnite počitač.
Počitač automaticicky zisti a prekonfigurje celkovú ve'lkost' pamăte. Konzultujte prosím s kvalifikovaným technikom alebo kontaktujte vásho predajcu Acer.
Utilita BIOS
Ak chcete spustit'utilitu BIOS, stlačte <F2> počas automatického testu POST, ked' je na obrazovke zobrazené logo prenosného počitača.
Ak je v opticke jednotke nainstalovaná DVD mechanika, možete na vašom počítači prehravat' DVD filmy.
1 Vysuñte DVD mechaniku a vložte DVD disk s filmom; potom DVD mechaniku zatvorte.

Dóležité! Ak spust ate DVD prehrávač prýkrát, program vás vyze na zadanie kódu regionu. DVD disky su Rozdelené do 6和地区. Akonáhle je raz v DVD mechanike nastavený kód regionu, bude prehravat' len DVD disky tohto regionu. Kód和地区 je mozné nestavit' maximálne pát'krát (vrátane prhého zadania), potom ostane posledné nastavenie kódu regionu trvalé. Obnovením pevného disku nebude počet zadani kódu regionu vymazany. Informáce o kódoch regionu DVD filmov najdete v nasledovnej tabl'ke.
2 DVD film sa začne prehrávat' automaticicky o niedkolko sekünd.
- Ak je počitač napájaný z bátérié, može byt' vybitá a nemožno nou počitač napájat'. Pripoje k batérii AC adaptér a nabite ju.
- Skontrolujte, Či je AC adaptér pripojený správné k počítaču a k elektrickej zásuvke.
Skontrolujte nasledovné:
- Hlasitost' moze byt' stlmená. V système Windows skontrolujte ikonu ovládania hlasitosti (reproduktor) na paneli uloh. Ak je preškrtnutá, kliknite na ikonu a zrušte označenie vol'by Stlmit' vsetko.
- Uroven hlasitosti moze byt' prfliš nizka. V système Windows skontrolujte ikonu ovládania hlasitosti na paneli uloh. Hlasitost' mozete nastavit' aj pomocou tlačidiel ovládania hlasitosti.
- Interné reproductory sa automaticaky vypnú, ak pripjite k portu yystupu zvuku na počitači sluchadla alebo externé reproductory.
Skúste pripojit' externu klávesnicu k portu USB na počítáci. Ak funguje, kontaktujte svojho predajcu alebo autorizované servisné stredisko, kabel klávesnicemöze byt' poškodený.
Skontrolujte nasledovné:
S počitačom je dodávaný pas ITW. Tento pas obsahuje všetko, co potrebujete vediet' o programe ITW. V praktickej prirodučke je zožnam dostupnéch autorizovaných servisnéch stredík. Starostlivo si pas prečitajte.
Vždy majte vás pas ITW pri sebe, obzvlást' ak cestujete. Získate tak výhody v nasich strediskách podpory. Do vrecka na prenom obale pasu ITW vložte doklad o zakúpení počitáča.
Predtym než nám zavoláte
| Hlásenia o chybách | Akcia opravy |
| CMOS Battery Bad | Kontaktujte văsho predajcu alebo autorizované servnisné stredisko. |
| CMOS Checksum Error | Kontaktujte văsho predajcu alebo autorizované servnisné stredisko. |
| Disk boot failure | Vložte do disketovej mechniky (A:) systémovú (spúst'aciu) disketu a reşntujte stlačením <Enter>. |
| Equipment configuration error | Stlačte <F2> (poças POST) pre vstrup do utility BIOS a potom reşntujte stlačením Exit v utilite BIOS. |
| Hard disk 0 error | Kontaktujte văsho predajcu alebo autorizované servnisné stredisko. |
| Hard disk 0 extended type error | Kontaktujte văsho predajcu alebo autorizované servnisné stredisko. |
| I/O parity error | Kontaktujte văsho predajcu alebo autorizované servnisné stredisko. |
| Keyboard error or no keyboard connected | Kontaktujte văsho predajcu alebo autorizované servnisné stredisko. |
| Keyboard interface error | Kontaktujte văsho predajcu alebo autorizované servnisné stredisko. |
| Memory size mismatch | Stlačte <F2> (poças POST) pre vstrup do utility BIOS a potom reşntujte stlačením Exit v utilite BIOS. |
Predpisy a poznámky o bezpečnosti
Prehlásenie FCC
Poznámka: Tienené káble
Vsetky prepojenia s inymi počitačovymi zariadeniami musia byt' vykonané pomocou tienenych kablov v sulade so smernicami FCC.
SnadnýManuál