TRAVELMATE 5742G - Laptop ACER - Manual de utilizare gratuit
Găsiți gratuit manualul dispozitivului TRAVELMATE 5742G ACER în format PDF.
Descărcați instrucțiunile pentru Laptop în format PDF gratuit! Găsiți manualul dvs. TRAVELMATE 5742G - ACER și luați din nou în mână dispozitivul dvs. electronic. Pe această pagină sunt publicate toate documentele necesare pentru utilizarea dispozitivului dvs. TRAVELMATE 5742G mărcii ACER.
MANUAL DE UTILIZARE TRAVELMATE 5742G ACER
Finn din komfortsone
Sikre datamaskinen din
Find din komfortzone
Informații pentru sigurantași conformul dumneavoastră
Instruţiuni de siguranta
Citiţu cu atenţie acoste instrucțiuri. Păstrati acest document pentru consultare ulterioară. Respectati toate averismenteleși instrucțiunile marcate pe produs.
Oprirea produsului inainte de curatare
Deconectaì acest produs de la priza de perete inainte de curătare. Nuutilizata lichide de curătare sau aerosoli. Folosiì o cappà umedă pentru curătare.
ATENTIE la connectarea 山 deconectarea dispositivului
Respectaţi următoarele indicatori atunci cánd conectaţi și deconectaţi alimentarea la unitatea de alimentare electrică:
Instalati unitatea de alimentare electrică înante de conectarea cablului de alimentare la priza electrică de c.a.
Deconectaçti cablul de alimentare (^nainte de a scoate unitate de alimentare electrică din computer.
Dacă sistemas are mai multe surse de alimentare, deconnectați alimentarea de la systemd scotânde toate caburile din sursele de alimentare.
Asigurată-vă cà priza electrică la care conectați cablul de alimentare este ușror accesibilarși situata că maiaprope de operatorul echipamentului. Când trebuie să deconnectați alimentarearea de la echipament, asigurată-vă cà deconnectați cablul de alimentare de la priza electrică.
ATENTIE la plácile aparente din cachet (doar pentru anumite modele)
Computerul dvs este livrat cu placi de plastic aparente instalate in sloturile pentru card. Placile aparente protejează sloturile nefolosite contra prafului, obiectelor metalice sau alter incorpuri străine. Păstrați placile aparente pentru a fi folosite că nu există carduri în sloturi.
ATENTIE la ascultare
Pentru a vă proteja azimuth, urmaţi aciste instrutiuni.
- Māriti volumul treptat pānă cánd puteti auzi clar Şicomfortabil.
- Nu mărîti nivalul volumului decât după ce urechile dvs s-au obișnuit.
- Nu ascultati muzica la volum ridicat perioade lungi de temp.
- Nu mārīti nivelul volumului pentru a bloca un mediu zgomotos.
- Reduceti volumul dacă nu-i puteti auzi pe cei care va vorbesc în aproprierea dvs.
iv
Avertimiento
- Nu folositi acest produs in aproprierea apei.
- Nu aşezaşi acest produs pe un podium, suport sau masă instabile. Dacă produsulcade,poate fi grav avariat.
Sloturile si orificiile sunt prevăzute pentru aeresire, în vederea asigurări unei functiònari corespunzătoare a produsului si a protectiei sale la supraíncălzire. Aceste deschideri nu trebuie blocate pau acoperite. Orificiile nu trebuie să fie niciodataă blocate prin așezarea produsului pe un pat, sofa, pâtură pau o alta suprafata similară. Acest produs nu trebuie să fie așezat niciodataă pe un radiator pau un aparat producător de caldură pau intr-o instalăție inclusoră dacă nu se asigură aeresirea adecovătă. - Nu introduci obiecte de niciun fel in acest produs prin sloturile carcasei deoarece pot atinge puncte cu tensiune periculoase Sau把这些 cu pericol de scurtcircuit care ar putea produce un incendiu sau o electrocutare. Nu varsati niciun fel de lichide pe sau in produs.
- Pentru a evita deteriorarea componentelor interne i a preveni scurgerea bateriei, nu puneti produsul pe o suprafata care vibrează.
- Nu-l folositi niciodata intr-un mediu sportiv, de exerciti fizice sau orice mediu cu vibrati care ar putea provoca un scurcircuit neasteptat sau ar putea deteriorora dispositivele rotative, HDD, unitatea optica si ar putea chiar expune la riscuri legate de bateria cu litiu.
Suprafata de dedesubt, zonele din jurul orificilor de ventilare si adaptorul pentru c.a. pot deveni fierbinti. Pourtu a evita ranirea, asiguratii-vă ca acsteea nu intră in contact cu pielea sau cu corporul dvs.
Dispositivul si anexele sale pot contine piese mici. Nu lasati la indemana copiilor mici.
Utilizarea alimentarii electrice
- Acest produs trebuie să fie folosit la tipul de alimentare electrică indicat pe eticheta de marcaj. Dacă nu sunteti siguri de tipul de alimentare disponibil, consulțați dealerul Sau compania de electricitate locală.
- Nu lăsati nimite aşezat peste cablul de alimentare. Nu aşezatl acest produs intr-un loc care ar permite oamenilor să calce pe cablu.
- Dacă se folosește un cablu de prelungire cu incest produs, asigurată-vă că amperajul nominal total al echipamentului conectat în cablul de prelungire nu depăștește amperajul nominal al cablului de prelungire. De asemenea, asigurată-vă că valoarea nominală totală a tuturor produselor conectate la priza electrică de perete nu depăștește valoarea nominală a sigurantei.
- Nu suprasolicitatei przyea electrica, cablul sau przya prelungitorului connectand prea multe dispositive. Sarcina totala a systemului nu trebuie sa depaseasca 80% din valoarea nominală a derivatiei circuitului. Dacă se folosesc prelungitoare, sarcina nu trebuie sa depaseasca 80% din valoarea nominală a prelungitorului.
Adaptorul de c.a. al acestui produs este echipat cu un stecar impamantat cu trei fire. Stecarul se potriveste numai intr-o przyea electrica cu impamantare. Asigurativcza priza elecrica este corect impamantata inainte de a introduce stecarul adaptorului de c.a. Nu introduceti stecarul intr-o przya electrica fara impamantare. Contactati electricianul pentru detailii.

Avertisment! Pinul de impamantare este o caracteristica de siguranta. Folosirea unei prize electrice care nu este impamantata corect se poate solda cu electrocutare si/sau ranirea.

Notă: Pinul de impânntare oferăși o bună proteție impotrivă zgomotului neprevăzut produs de alte dispositivee electrice din apropriere care pot interfera cu funționarea acestui produs.
- Sistemul poate fi alimentat cu current electric intr-un domeniu larg de valori ale tensiunii; 100 - 120 Sau 220 - 240 V c.a. Cablul de alimentare furnizat odataa cu sistemas indeplineste specificaile de'utilize din tara/regiunea unde a fost achizitionat sistemas. Cablurile de alimentare pentru充分利用 area in alte tari/regiuni trebuie sa respecte specificaile pentru acea zona/regiune. Pentru informati suplementare privind specificaile cablului de alimentare, contacta un distribuitor autorizat sau un furnizor de service.
Service pentru produs
Nu incercai s asigurati dvs. service-ul pentru acest produs deoarece desciderea si scoaterea capacelor va poate expune la puncte de tensiune periculoase sau alte riscuri. Contactați personalul calificat pentru orice lucrari de service.
Deconnectaţi acest produs de la priza de perete și contactaţi personalul de service calificat că:
cablul de alimentare sau stecarul este deteriorat, taiat sau uzat
s-a varsat lichid in produs
produsul a fost expus la ploie sau apa
- produsul a fost aruncat sau carcasa a fost deteriorata
- produsul prezintă o modificare vizibilă a performanței, indicând nevoia de service
- produsul nu functionează normal după respectarea instructiunilor de fonctionare

Notă: Reglăi numai acele comenzi care sunt cuprinse în instructțiunile de fonctionare, deoarece reglarea incorcetă a alteror comenzi se poate solda cu deteriorareași va necesita adesea lucrări extinse din partea unui tehnician calificat pentru a readuce produsul la starea normală.
Indicatiàn pentru Utilizarea bateriei în condiţii de siguranta
Acest computer portabil foloseste o baterie litiu-ion. Nu o folosiţi intr-un mediu umed, ud tau coroziv. Nu asezati, deposizati sau lasati produsul pe tau in apropierea unei surse de caldură, intr-un loc cu temperatura ridicată, la lumina directă a soarelui, intr-un cuctor cu microunde tau intr-un container sub presiune si nu-l expuneti la temperaturi peste 60^ (140°F). Nerespectarea acestor indicati poate determinina scurgerea acidului din baterie, incingerea,explozia sau aprinderea si se poate solda cu ranire si/sau deteriorare. Nu perforati, deschideti sau demontati bateria. Dacă bateria prezintă scurgeri si intrati in contact cu lichidele scurce, clati biine cu apă si solicitati imediat ingrijire medicală. Din motive de siguranta si pentru a prelimungi durata de viță a bateriei, incârcarea nu se va desfășura la temperaturi de sub 0^ (32°F) tau peste 40^ (104°F).
Performanta maxima a noii baterii este realizata numai dupa doua sau trei cicluri de incarcare si descarcare complete. Bateria poate fi incarcata si descarcata de sute de ori, dar in cele din urma se va uza. Cand timul de fonctionare devine vizibil la scurt decat cel normal, cumpara o baterie noua. Folosi numai baterii aprobate si reincarcai bateria folosind numai incarcatoarele aprobate, destinate aesstui disposititiv.
Folosiţi bateria numai pentru scopul pentru care a fost concepută. Nu folosiţi niciodata ™incarcătorul pau bateria dacă este deteriorat/ă. Nu scurtcircuită t bacteria. Scurtcircuitarea accidentala ™ poate interveni cănd un obiect metallic, precum o monedă, o agrafă pau un pix determină conectarea directă a bornelor positivă (+) Şi negativă (-) ale bateriei. (Acestea arata ca niste benzi metalice pe baterie). Acest lucru se poate petrece, de exemplu, cănd purate i baterie de rezervă în buzunar pau poşetă. Scurtcircuitarea bornelor poate deteriorora bateria pau obiectul de conectat.
Capacitatea 山 durata de viata a bateriei vor fi reduse daca este lasat in locuri fierbinti tau reci, precum o masina finchisà vara tau iarna. Incercati intotdeauna să păstrati bateria la o temperatură cuprinsă intre 15^ si 25^ (59°F si 77°F). Este posibil ca un dispositiv cu o baterie fierbinte tau rece sa nu functioneze temporar, chiar dacă bateria este complet incarcata. Performața bateriei este in mod special limitata la temperaturi mult sub limita de ingheț.
Nu aruncați bateriile în foc deoarece pot explodes. Bateriile pot explodes și dacă sunt deteriorate. Depozitateți bateriile conform reglementărilor locale. Reciclăți-le atunci cănd este posibil. Nu le aruncați ca deșeuri menajere.
Dispositivile wireless pot fi expuse la interferentă din partea bateriei, ceea ce le poate afecta performanta.
Inlocuirea bateriei
Computerul portabil foloseste baterie cu litiu. Inlocuiti bateria cu acelaşi tip ca cel livrat cu produsul. Folosirea unei alte baterii poate preventa riscul de incendiu sauexplozie.
Attention are privind dispositivul optic (doar pentru anumite modele)
Atentjie: Acest aparat contine un system laser si este clasificat ca "PRODUS LASER CLASA 1". In cazul in care apar probleme la incest dispositiv, contactați cel mai apropriat punct de service AUTORIZAT. Pouru a preveni expunerea directă la raza laser, nu incercati să deschideti incinta.
CLASA 1 PRODUS LASER
ATENTIE: RADIATII LASER INVIZIBLE ATUNCI CAND Este DESCHS. EVITATI EXPUNEREA LA FASCICUL.
APPAREIL A LASER DE CLASSE 1 PRODUIT
LASERATTENTION: RADIATION DU FAISCEAU LASER INVISIBLE EN CAS D'OUVERTURE. EVITTER Toute EXPOSITION AUX RAYONS.
LUOKAN 1 LASERLAITE LASER KLASSE 1
- Deconnectati toate linile Telefonice de la echipament atunci candin nu este folosit si/sau inainte de service.
- Pouru a evita riscul de electrocutare la distanță de la sistemas de iluminat, nu conectăți linia Telefonicaă la acest echipament in timpul tunetelor sau fulgerelor.

Avertisment! Din motive de siguranta, nu folosiiti pieseneconformte atunci candid adaugati sau schimbati componente.Consultati distribuiatorul pentru optiani de cumparare.
Aminti-vä sa respecta orice reglementari speciale in vigoare in orice zona si opii intotdeauna computerul cand folosirea sa este interzis sau candid poate provoca interferentă Sau pericol. Folosi dispositivul numai in positiile de functiorare normale. Acest dispositiv respectă indicaitile de expunere la RF atunci candid este folosit in condiţii normale si antenna sa este poziotionata la cel putin 1,5 centimetri de corpul dvs (consulta figura de mai jos). Nu trebuie sa contină metali si trebuie sa posizioniati dispositivul la distanța de corpul dvs.mentionata mai sus. Pentru a transmite cu succes fișiere de date tau mesaje, incest dispositiv necessities o bună calitate a conexiunii la retea. In unele cazuri, transmisia de fișiere de date tau mesaje poate fi amânata până cand o astfel de conexiune este disponibila.
Asigurat-vá că instructiunile de mai sus privind distanța de separare sunt respectate până când transmisia este dincheiata. Piesele dispositivului sunt magnetice.
Materiaele metalice pot fi atrase la dispositiv si personele cu proteze auditive nu trebuie să tina dispositivul la urechea cu proteză auditiva. Nu asezați cartile de credit sau alte medii de stocare magnetice in apropierea dispositivului deoarece informatțile stocate pe ele pot fi sterse.
Dispositive medicale
Functionarea oricarui echipament de transmisie radio, inclusiv telefoane fara fir, pot interfera cu functionalitatea dispositivelor medicale cu protectie neadecvata.
Consultati un medic sau producatorul dispositivului medical pentru a stabili dacă sunt adevat protejate la energia RF externa sau dacă aveți orice intrebări. Oprți dispositivul in centrele de servicii medicale atunci cand orice reglementări afșate in aceste zone vă cer să facței incest lucru. Spitalele sau centrele de ingrijire medică pot folosi echipamente care ar putea fi sensibile la transmisile de RF externe.
Simulatoarele cardiace. Produçadori de simulatoare cardiace recomanda mentinerea unei distante minime de 15,3 centimetri Între dispositivele wireless.si simulatorul cardiac pourra evita interferența potenciță cu simulatorul cardiac. Aceste recomandãrì sunt conforme cu cercetările independenteși recomandările Wireless Technology Research. Persoanele cu simulatoare cardiace trebuie să facă urmâtoarele:
- Să mentină fintotdeauna disposizitivul la mai mult de 15,3 centimetri de simulator.
- Să nu tă dispositivul în aproprierea stimulatorului căn dispositivul este pornit. Dacă suspectati interferență, opruti dispositivulși mutati-l.
Protezele auditive. Unele dispositive digitale wireless pot interfera cu unele proteze auditive. Dacă interferența se produce, consulțuți furnizorul de servicii.
Vehiculele
Semnalele de RF pot afecta sistemele electronice instalare incorrect sau protejate necorespunzător precum sistemele electronice de injectie a combustibilului, sistemele de frânare anti-patinare (antiblocare), sistemele electronice de control al vitezeiși sistemele air bag. Pentru informatiùs suplementare, consulțațiroduçătorul vehiculului dvs sau reprezentantul acestuia sau al oricărui echipament care a fost adăugat. Numai personalul calificat trebuie să asigure service-ul dispositivului sa să instaleze dispositivul intr-un vehicul. Instalarea sau service-ul defectuoase pot fi periculoaseși pot anula orice guaranție care se aplică dispositivului. Verificatu regulat dacă toate echipamentele din vehiculul dvs. sunt montateși functionează corect. Nu stocăi tau transportați lichide inflamabile, gaze sau materiale explosivo in același compartment cu dispositivul, piesele sau imbunătatirile sale. Pentru vehicule echipate cu air bag, aminti-vă că sacii de aer se umflâ cu forță mare. Nu puneti obiecte, inclusiv echipamente wireless portabile sau instalate in zona de deasupra air bag-ului sau in zona de desfacere a air bag-ului. Dacă echipamentul wireless din vehicul este instalat incorrectși dacă air bag-ul umflâ, se pot produce râniri grave. Utilizarea dispositivului in timpul zborului cu avionul este interzisă. Opriti aparatul inainte de imbarcarea in avion. Folosirea tele-dispositivelor wireless intr-un avion poate fi periculoasă pentru functionarea avionului, poate intrerupe rețeaua Telefonica wirelessși poate fi ilegală.
Mediile potential explosive
Opriţi dispositivul cánd vă aflati intr-o zona cu o atmosferă potențial explozivăși respectateți toate semneleși instructiunile. Printre atmosferele potențial exploziv se numără zonele în care vi se recomandaș normal sa opriti motorul vehiculului.În astfel de medii, scânteile pot provoca explozii pau incendii care duc la vătămări corporale pau chiar decese. Opriţi dispositivul la punctele de alimentare cu combustibil precum în aproprierea pompelor de benzină de la statiile de service. Respectatîs restricțiile privind Utilizarea echipamentelor radio în depositele de combustibil, zonele de stocareși distribuție; uzinele chimice Sau acolo unde sunt în curs de desfășurare operatiuni de detonare. Zonele care au o atmosferă potențial explozivă sunt de cele mai multe ori, Însă nuÎntotdeauna, bine semnalizate. Printre acestoea se numără puntea inferioară a ambarcațiunilor, instalatiile de transfer pau deposizare de produse chimice, vehiculele care folosesc gaz petrolier (precum propanul Sau butanul)și zonele în care aerul contin particule precum granulele, praful Sau pulverile metalice. Nu porniți computerul cánd folosirea unui Telefon wireless este interzisă pau când poate provoca interferentă pau pericol.
Apeluri de urgência
Avertisment: Nu puteti efectua apeluri de urgenta prin acest dispositiv. Pentru a efectua un apel de urgenta trebuie să sunati de la Telefonul mobil sau de la alt system de apelare Telefonica.
X
Instruţiuni de depositare a deşeurilor
Nu aruncaţi acest disposizitiv electronic la coşul de gunoi atunci că i
casătii. Pentru a reduce poluareași a asigura proteția maximă a
mediului global, recicătii-l. Pentru informatii supplementare privind
reglementările pentru deșeurile provenite de la echipamentele
electroniceși electrocasnice (WEEE), vizitatei
http://www.acer-group.com/public/Sustainability/
sustainability01.htm.

Consultanta privind mercurul
Pentru proiectoarele si produsele electronice cu bac interior, care includ un monitor LCD/CRT fara iluminare din spate cu LED sau afasaj: Lampile din interiorul acestui produs contin mercur si trebuie reciclate sau depozitate conform legilor locale, statale sau federale. Pentru informatii suplimentare, contacta Alianta Industriilor Electronice la www.eiae.org. Pentru informatii specifice privind aruncarea lampilor, verificati www.lamprecycle.org.

ENERGY STAR

ENERGY STAR
Produsele Acer certificate ENERGY STAR vă economisesc banii prin reducerea costurilor cu energiași protejează mediu fără a sacrifici din functii sau din performantă. Acer este mandru să ofere clientilor și produse cu sigla ENERGY STAR.
Ce este ENERGY STAR?
Produsele certificate ENERGY STAR folosesc mai putină energiași previn emisiile de gaze cu efect de seră prin respectarea indicatori stricte de eficientță energetică stabilite de Agentia pentru proteția mediuului din S.U.A. (EPA). Acer este hotarăt să offere produșși servicii, pe plan international, care să ajute clientiiș economisteasca bani, energiași să imbunătăteasca calitatea mediuului inconjurăr. Cu căt economism mai multă energia printr-o eficientță energetică sporită, cu atăt reducem gazele cu efect de serăși pericolele de modificare a climei. Pentru informții supplementare, consulțati http://www.energystar.gov sau http://www.energystar.gov/powermanagement.
Produsele Acer avand sigla ENERGY STAR:
- generează mai puțină caldurăși reduc necessitatea de răcire.
- Intra automatīn modurile de „repaus ecran" Şi „repaus computer" dupǎ 10, respectively 30 de minuţe de inactivitate.
Activeaza computerul din modul repaus prin apasarea unei taste Sau prin miscarea mouse-ului. - In modul „repaus", computerele vor economisi mai mult de 80% din energia.
ENERGY STAR Şi sigla ENERGY STAR sunt marchi inregister in S.U.A.
Utilizatori i computerului se pot plange de probleme de vedere s di dureri de cap dupa utilisearea prelungită. Utilizatori sunt expusi s riscului de rânire fizica dupa ore lungi de lucru in fata computerului. Perioadele lungi de lucru, poziţia greşita, obiceurile de lucru incorcête, conditiile de lucru neadecvate, sanătatea personală s alti factori mâresc mult riscul de rânire fizica.
Folosirea incorectă a computerului poate duce la sindromul tunelului carpal, tendonita, tenosinovităși alte afeciuni ale muschilorși scheletului. Simptomele următoare pot apărea la nivalul mainilor, Încheieturilor, umerilor, gâtului sau spatelului.
- senzatie de intepenire, arsuri sau amorteală
durere, tensiune sausensibilitate
durere, umflaturi sau zvacneli - intepenire sau dificultate de miscare
- răceală sau slăbiciune
Dacă aveti aceste simptome sau orice alte dureriși/sau discomfort persistenteși repeats tegate de folosirea computerului, consulțați imedit un medicși informati departamentul de sanătateși de siguranta al firmei.
Capitolul următor vă oferă sfaturi pentru o utilizare că maicomfortabla a computerului.
Gásirea zonei de comport
Gasiti zona de comport regländ unghiul de vedere al monitorului, folosind un spatiu de sprijinire a picoarelor Sau ridicând inăltimea insezut pentru a obtine comportul maxim. Retineti urmatoarele sfaturi:
- nu rămâneti prea mult tamp intr-o poziţie fixă
evitati aplecarea in fata si/sau lasarea pe spate - ridicatu-vä Şi mergeşün jur in mod regulat pentru aindeparta rigiditatea din muschii picioarelor
luati pauze scurte de odihnă pentru a va odihn qatul si umerii
evitati incordarea muschilor sau ridicarea umerilor - instalati bateria externă, tastaturași mausul corectși la o distanțăcomfortabilită de atins
- dacă vedeti monitorul mai mult decât documentele dvs, așezați monitorul din centrul biroului pentru a reduce riscul de întepenire a gâtului
Ingrijirea vederii
Orele lungi de vizualizare, purtarea de ochelari nepotriviti sau a lentilelor de contact, privirea prea concentrata, lumina excessiva din incapere, ecranele prost focalizeate, tipurile de fete foarte mici si afisajele cu contrast redus vao pot obosi ochii.
Urmatoarele capitole offera sugestii despree modul de a reduce oboseala ochlor.
Ochii
- Odihniti-vă ochii des.
- Relaxaţi cu regularitate ochii privind in zare, departe de computer și concentrandrudu-vă pe un punct aflat la distanță.
- Clipiti frecvent pentru a proteja ochiul de uscare.
XII
Ecranul
- Mentineti ecranul curat.
Tinei capul la un nivel mai ridicat decat marginea de sus a afisajului pentru ca ochii sa poata privi inainte cand se uita in mijlocul afisajului. -
Reglati luminozitatea si/sau contrastul la un nivel comfortabil pentru lizibilitate mărăta a textului si claritate a graficelor.
Elimati stralucirea si reflexiie: -
asezarea ecranului in aça fel incat fetele laterale sá fie indreptate spre fereastrà Sau spre orice sursa de lumină
- reducerea luminii din camera folosind draperii, jaluzele sau storuri
- folosirea unei lumini de activitate
- modificarea unghiului de vedere al ecranului
- folosirea unui filtru de reducere a stralucirii
- folosirea unei protectii de ecran, precum o bucată de carton extinsă de la marginea din fata sus a ecranului
Evitarea setari ecranului intr-un unghi de vizualizare nepotrivit.
- Evitàti sà vă uitați la surse de lumină puternice, precum ferestrele beschise, pe perioade lungi de tamp.
Dezvoltarea deprinderilor bune de lucru
Deprindeti urmatoarele obiceiuri de lucru para a face utilizarea computerului mai relaxanta 山 mai productiva:
Luati pauze scurte, regulate si dese.
- Efctuati exerciti di intindere.
- Respirati aer curat CAT mai des.
Faceti regulat exerciti si pastaşi sanătatea.

Avertisment! Nu va recomandam să folositi computerul pe o canapea sau pe un pat. Dacă aceasta nu se poate evita, lucrati numai perioade scurte de temp, faceti pauze regulateși faceticateva exerciti de intindere.

Notă: Pourtu informații supplementare, consulțați "Reglementăriși note de siguranta" la pagina 35.
Înaine de所所长
Dorim să vă multumim că ati ales un computer portabil Acer pentru a răspunde nevoilor dvs de procesare mobilă.
Ghidurile dumneavoastră
Pentru a vă ajuta să folosiț computerul portabil Acer, am conceput un set de ghiduri:
Primul dentre acestea, posterul Doar pentru incepători... vă ajută să porniti cu configurarea computerului.
Ghidul general de utilizes pentru seria TravelMate contine informaticii utile valabile pentru toate modele din gama TravelMate. Acest ghid acoperă subiecte de bază, cum ar fi Acer eRecovery Management, folosirea tastaturi, a sistemasui audio etc. Vă rugămă să retinetiță Ghidul general de utilizescare, precumș Ghidul utilizatorului AcerSystem (AcerSystem User Guide)mentionat mai jos au fost concepute de așnaturală incâtăsè refeare ocazionala la functții sau caractereci care sunt incluse doar in anumite modele ale seriesiși nu neapărata in modelul cumpărat de dumneavoastră. Astfel de cazuri sunt marcate in manuale prin texte cum ar fi „doar pentru anumite modele".
Ghidul rapid va prezinta caractetricile siti functiile de bază ale noului dvs. computer. Pentru mai multe informatiţii privind modul în care computerul va poate ajuta să fiti mai productiv, consulțați Ghidul utilizatorului AcerSystem
(AcerSystem User Guide). Acest ghid contine informații detaliate despree astfel de subiecte, precum utilitatele de system, recuperarea datelor, optiunile de extensieși depanarea. In plus, acesta contine informații despre garanție, reglementari generaleși note de siguranta pentru computerul dvs portabil. Este disponibil in Format de document portabil (PDF)și vine preîncărcat pe computerul dvs. portabil. Pentru a-l accesa, urmati acesti pași:
1 Faceti clic pe

Start, Toate programele, AcerSystem.
2 Faceti clic pe Ghidul utilizatorului AcerSystem (AcerSystem User Guide).

Notă: Vizualizarea fişierului necessitiesă Adobe Reader. Dacă Adobe Reader nu este instalat pe computerul dvs., facței clice pe Ghidul utilizatorului AcerSystem (AcerSystem User Guide)și se va executa mai intăi programul de configurare Adobe Reader. Urmați instructiunile de pe ecran pentru a incheia instalarea. Pentru instructiuni privind modul de utilizesa Adobe Reader, accesați meniu Ajutorși asistentă.
xiv
Ingrijire de bazăși sfaturi pentru folosirea computerului
Pornirea Şi oprirea computerului
Pentru a porni computerul, apasati si eliberati butonul de pornire de sub ecranul LCD, langiă butoanele de lansare rapidă. Pentru locata butonului de alimentare, consulati Ghidul rapid.
Pentru a porni alimentarea, faceti oricare dentre urmatoarele:
- Folositi comanda de oprire din Windows
Faceti clic pe Start, apoi faceti clic pe Oprire.
- Folositi butonul de alimentare
Puteti pune computerul si in modul stare de repaus, apasanding tasta rapida stare de repaus <Fn> + <F4> .

Notă: Dacă nu puteți opri computerul în mod normal, apăsăti și mentinței butonul de pornire tamp de mai mult de patru secunde pentru a opri computerul. Dacă opriti computerul și doriti că-l pornți din nou, așteptăți cel puțin două secunde îniate de a-l alimenta.
Ingrijirea computerului
Computerul dvs va va servi bine dacă aveti grijă de el.
- Nu expuneti computerul la lumina directa a soarelui. Nu-l asezati in apropierea surselor de caldură precum un radiator.
- Nu expuneti computerul la temperaturi sub 0^ (32^) sau peste 50^ (122^) .
- Nu expuneti computerul la campuri magnetice.
- Nu expuneti computerul la ploaie sau umezeală.
- Nu vărsaşi apă sau alte lichide pe computer.
- Nu supuneti computerul la socuri mari sau la vibrati.
- Nu expuneti computerul la praf sau murdarie.
- Nu aşezatl niciodata obiecte pe computer.
- Nu tranti fiisajul computerului cand 1 inchideti.
- Nu puneti niciodata computerul pe suprafete neregulate.
Ingrijirea adaptorului de c.a.
lata câteva moduri de a ingriji adaptorul de c.a.:
- Nu conectati adaptorul la niciun alt dispositiv.
- Nu calcati pe cablul de alimentare 山 nu puneti obiecte grele pe acesta. Rutati cu grijacblul de alimentare 山 orice cabluri, ferit de zonele circulate.
Cand deconecta cablul de alimentare, nu trajei de cablu, ci de stecar. - Amperajele nominale ale echipamentului conectat nu trebuie să depășească amperajul nominal al cablului, dacă folositi un cablu de prelungire. De asemenea, valoarea nominală totală a tuturor echipamentelor conectate la przyza electrică de perete nu trebuie să depășească valoarea nominală a sigurantei.
Ingrijirea bateriei
- Folosi numai baterii de acelaşi fel pentru inlocuire. Opriti alimentarea inainte de a scoate sau inlocui bateria.
- Nu desfaceti bateria. Nu le lasati la indemana copilor.
- Depozitate bateriile folosite conform reglementarilor locale. Reciclate-le atunci cand este posibil.
Curătare Şi service
Cand curata computerul, urmati acesti pa:
1 Opri ti computerul si scoatei bateria.
2 Deconectati adaptorul de c.a.
3 Folosiţ o cârpă uredăși moale. Nu folosiţ agenti de curătare lichizi sau cu aerosoli.
Dacă se produce una+dentre următoarele situatai:
computerulafostaruncat Sau carcasa a fost deteriorata
computerul nu fonctioneazanormal
Consultati "Intrebari freventa" la pagina 31.
Informatii pentru siguranțași conformul dumneavoastră
III
(doar pentru anumite modele)
viii
Ghidurile dumneavoastră
xiv
Ingrijire de bazăși sfaturi pentru folosirea computerului
xiv
Pornirea 山 oprirea computerului
xiv
Ingrijirea computerului
XV
Ingrijirea adaptorului de c.a.
XV
Ingrijirea bateriei
XV
Curata sisi service
1
Zona de atingere
Elementele de bază ale zonei de atingere
1
(cu cititor de amprente)
Elementele de bază ale zonei de atingere
2
(cudoua butoane de clic)
3
Folosirea tastaturii
3
Tastele de blocaj.si tastatura numerica incorporata*
4
Taste Windows
5
Audio
Acer PureZone (doar pentru anumite modele)
5
Video
Ecran 16:9 (doar pentru anumite modele)
5
Folosirea utilitarelor systemdului
6
Acer Bio-Protection (doar pentru anumite modele)
6
Acer Backup Manager
7
Managementul alimentarii
8
Instalarea sicoaterea bateriei 15
Incarcarea bateriei 16
Verificareanivelului bateriei 16
Optimizarea duratei de viata a bateriei 16
Avertisment de nivel scazut de incarcare a bateriei 17
Cánd luati computerul portabil cu dumneavoastră
18
Deconectarea de la desktop 18
Deplasarea 18
Pregătirea computerului 18
Ce trebuie să aduceti la sedinte 19
Cand luati computerul acasa 19
Pregatirea computerului 19
Ce trebuie să luata cu dumneavoastra 19
Configurarea unui birou la domiciliu 20
Călătoria cu computerul 20
Pregatirea computerului 20
Ce trebuie sà luatci cu dumneavoasträ 20
Consideratii speciale 21
Calătoria cu computerul in străinătate 21
Pregatirea computerului 21
Ce trebuie sà luata ci dumneavoasträ 21
Consideratii speciale 21
Asigurarea computerului 22
Folosirea unui blocaj de sécurité al computerului 22
Folosirea parolelor 22
Introducerea parolelor 23
Setarea parolelor 23
Extinderea prin optiuni 24
Optiuni de connectivitate 24
Modem fax/date (doar pentru anumite modele) 24
Characteristica de retea incorpORA 25
Universal Serial Bus (USB) 25
Port IEEE 1394 port (doar pentru anumite modele) 26
Interfata multimedia de inaltă definitie
(doar pentru anumite modele) 26
ExpressCard (doar pentru anumite modele) 27
Instalarea memoriei 28
UtilitarBIOS 29
Folosirea software-ului 30
Redarea filmelordVD30
Intrebări freventa 31
Solicitarea de service 33
Garantie internationala pourcu calatori (ITW) 33
Inainte de a suna 33
34
Sfaturidepepanare 34
Mesaje de eroare 34
Reglementári Şi note de siguranta 35
Declaratia FCC 35
Notificari despre modem (doar pentru anumite modele) 36
Declaratie privind pixelii LCD 38
Notificare de reglementare pentru dispositive radio 38
Generalitat 38
Cerinta de siguranta RF FCC 39
Canada — Licentă pentru putere scăzută-cu exceptia
radio dispositive de comunicaţii (RSS-210) 40
Expunerea oamenilor la campurile de frecventa radio
(RSS-102) 40
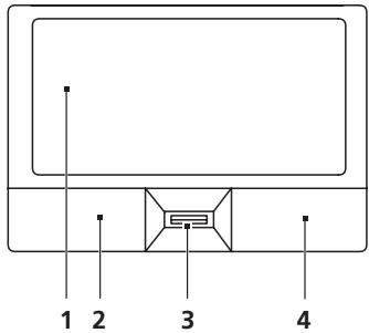
Zona de atingere incorporata este un dispositiv de indicare sensibil la miçcarea pe suprafata sa. Aceasta inseamnă că cursorul raspunde atunci cand miscați degetul peste suprafata zonei de atingere. Pozitia centrală pe placă pentru sprijinirea palmei ofera comfortși suport maxim.
Elementele de bază ale zonei de atingere (cu cititor de amprente)
Urmatoarele elemente va arata modul deutilizar a zonei de atingere cu cititorul de amprente Acer Bio-Protection.
Glisi-va degetele peste zona de atingere (1) pentru a deplasa cursorul.
- Apasati butoanele stanga (2) Şi dreapta (4) situate sub zona de atingere pentru a efectua functiiile de selecțe Şi executie. Aceste două butoane sunt asemânatoare cu butoanele stanga Şi dreapta de pe un maus. Apasarea pe zona de atingere este la fel ca unci cánd faceti cliç pe butonul din stanga.

| Funcție | Buton stângă (2) | Buton dreapta (4) | Zonaă de atingere principală (1) | Buton centru (3) |
| Executare | Faceti clic de două ori rapid. | Apăsăti de două ori (cu aceea și viteză cași clerul dublu cu un buton al mausului). | ||
| Selectare | Faceti clic o data. | Apăsăti o data. | ||
| Glisați | Faceti clic și tineti apăsăt, apoi folosiți degetul pe zona de atingere pentru a glisa cursorul. | Apăsăti de două ori (cu aceea și viteză cași clerul dublu cu un buton al mausului); tineti degetul pe zona de atingere la a două apăsăre și glisați cursorul. | ||
| Acces la meniuł context | Faceti clic o data. |
Elementele de bază ale zonei de atingere (cu două butoane de clic)
Elementele urmatoare vă arata cum să folositi zona de atingere cu butoanele de clic.
Glasati-va degetele peste zona de atingere pentru a deplasa cursorul.
- Apăsăti butoanele stângăși dreapta situate sub zona de atingere pentru a efectua functiile de selecțieși executie. Aceste două butoane sunt asemanătoare cu butoanele stângăși dreapta de pe un maus. Apăsarea pe zona de atingere este la fel ca atunci cand faceti clic pe butonul din stângă.
| Funcție | Buton stângă | Buton dreapta | Zona de atingere principală |
| Executare | Facți clic de două ori rapid. | Apăsăti de două ori (cu aceea și viteță ca și cicul dublu cu un buton al mausului). | |
| Selectare | Facți clic o datață. | Apăsăti o datață. | |
| Glisați | Facți clic și tîneți apăsăt, apoi folosiți degetul pe zona de atingere pentru a glisa cursorul. | Apăsăti de două ori (cu aceea și viteță ca și cicul dublu cu un buton al mausului); tînței degetul pe zona de atingere la a două apăsare și glisați cursorul. | |
| Acces la meniul context | Facți clic o datață. |

Notă: Imaginile sunt doar orientative. Configurația exactă a computerului depinde de modelul achizitionat.

Notă: Când folosiți zona de atingere, mentinetei zona —și degetele — uscateși curate. Zona de atingere este sensibilă la mișcarea degetelor;și prin urmare, cu CAT atingerea este mai ușoară, cu atat reactia este mai bună. Apasân and mai sare nu veti mariisensibilitatea zonei de atingere.

Notă: In mod implicit, defilarea pe orientalăși verticală este activă pe zona de atingere. Aceasta poate fidezactivă de la setările pentru maus din Panoul de control Windows.
Folosirea tastaturii
Tastatura are taste cu dimensionali normale 山 o tastatura numerica inclusa*, cursor separat, taste de blocaj, Windows, de functii si taste speciale.
Tastele de blocaj.si tastatura numerica ^ incorporata\*
Tastatura are trei taste de blocaj pe care le puteti activa 山 dezactiva.
| Tasta de blocaj | Descriere |
| Caps Lock | Când tasta Caps Lock este activă, toate caracterele alfabetice tastate apar ca majuscule. |
| Num Lock <Fn> + <F11>* | Când tasta Num Lock este activă, tastatura în corporata este în mod numeric. Tasta funçionează ca un calculator (complet cu operatori aritmetici+, -, *, Şi/). Folosiți cătrebuie săintruceți multe date numerie. O solutițe mai bună ar fi connectarea la o tastatură externă. |
| Scroll Lock <Fn> + <F12> | Când tasta Scroll Lock este activă, ecranul se deplasează cu un ränd în sus pau în jos atunci cănd apăsăti tastele săgeataș sus pau săgeataș jos. Scroll Lock nu funçionează cu anumite aplicatiți. |
Tastatura numerica inclusa functioneazá ca o tastatură numerica de birou. Aceasta este indică de caracterele mici situate în colțul din dreapta sus al tasteler. Pentru a simplifica explică tastaturi, simbolurile tasteler de control al cursorului nu sunt imprimate pe taste.
| Acces dorit | Num Lock activat | Num Lockdezactivat |
| Tastele numerice de pe tastaturaicensorata | Tasteati numerele în mod normal. | |
| Tastele de control al cursorului de pe tastaturaicensorata | Tinei apăsat <Shift> cănd folosiţite tateste de control al cursorului. | Tinei apăsat <Fn> în timpe folosiţite tateste de control al cursorului. |
| Tastele tastaturii principale | Tinei apăsat <Fn> în timce tatestaşi litere pe tastaturaicensorata. | Tasteati literele în mod normal. |
- doar pentru anumite modele
Taste Windows
Tastatura are două taste care efectuează functii specifice pentru Windows.
| Tastă | Descriere |
| Tastă Windows | Apăsata singură, această tastă are același efect ca atunci cănfaceți clic pe butonul Start Windows; lansează meniul Start. Poate fi folositate și cu alte taste pentru a oferi o varietate de functții: |
| < >: Deschide sau ñinchide meniul Start | |
| < > + <D>: Afșează desktop | |
| < > + <E>: Deschide Windows Explorer | |
| < > + <F>: Caută un fișier sau un folder | |
| < > + <G>: Trece prin elementele Barei laterale | |
| < > + <L>: Blochează computerul (dacă sunteti conectat la un domeniu de rețea) sau comută în適用ilatori (dacă nu sunteti conectat la un domeniu de rețea) | |
| < > + <M>: Micșorează toate ferestrele | |
| < > + <R>: Deschide caseta de dialog Rulare | |
| < > + <T>: Trece prin programele din bara de activitatei | |
| < > + <U>: Deschide Centrul ușor de accesat | |
| < > + <X>: Deschide Centrul de mobilitate Windows | |
| < > + <BREAK>: Afșează caseta de dialog Proprietăți sistemi | |
| < > + <SHIFT+M>: Restaurează ferestrele reduse de pe desktop | |
| < > + <TAB>: Trece prin programele din bara de activitatei folosind Windows Flip 3-D | |
| < > + <BARA DE SPATIU>: Aduce toate elementele în față șiselectează bara lateră Windows | |
| < CTRL> + < > + <F>: Caută computere (dacă sunteti îno rețea) | |
| < CTRL> + < > + <TAB>: Folosiți tastele săgeți pentru a treceprin programele din bara de activitatei folosind Windows Flip 3-D | |
| Notă:În functție de editția de Windows, unelecomenzi rapide pot să nu functioneze și cum suntdescribe. | |
| Tastă de aplicatiții | Această tastă are același efect ca atunci cănfecte cli cie butonuldreapta al mausului; deschide meniul de context al aplicatiței. |
Audio
Computerul este livrat 日 cu systemd audio Intel pe 32 de biti de inalta definitie (HD) si difuzor (difuzoare).
Acer PureZone (doar pentru anumite modele)
Sistemul vă oferă o experientță audio cu totul nouăși entuziasmantă, inclusiv Acer PureZone cu microfoane stereo încorporate cu formare de fasciculși tehnologii de anulare a ecoului. Tehnologia Acer PureZone acceptă Anularea ecoului audio, Formarea fascicululuiși Eliminarea zgomotului pentru inregistrarea pură a sunetului. Pentru a configura microfonul, executăți Acer HD Audio Manager, făcând dublu clipe pictografia Acer HD Audio Manager din tava systemului Windows. Caseta de dialog Acer HD Audio Manager va apărea. Faceti clice pe fila Microfonși apoi faceti clipe pe fila Efecte microfon. Selectăți Formare fasciculși Anulare ecou audio pentru a seta efectul microfonului.

Notă: Dezactivaţi formarea fasciculului pentru a obține o sursă cu sunet multiplu.
Video
Ecran 16:9 (doar pentru anumite modele)
Ecranul 16:9 redă acasa filmele Full HD aça cum nu s-a mai văzut vreodata. Saturarea excelentă a culorilor garanteză o experientă autentică de vizionare. Calitatea 16:9 inseamna ca efectele vizuale home theater au ajuns în sfărşit la pasonatai de mediu oferit de computerele portabile.
Folosirea utilitarelor systemdului
Acer Bio-Protection (doar pentru anumite modele)
Solutia de identificare a amprentelor Acer Bio-Protection este un cachet software pentru amprente cu utilizari multiple, integrat cu sistemas de operare Microsoft Windows. Utilizand unicitatea amprenteiunei persone, Acer Bio-Protection Fingerprint Solution incorporează proteție impotriva accesului neautorizat in computerul dumneavoastră cu cu administrare centralizata a parolei prin Banca de parole;și lansarea rapidă a aplicatiei/site-ului Webși autentificare cu Acer FingerLaunch.
Cu soluţia de identificare a amprentelor Acer Bio-Protection, va puteti bucura de un strat supplementar de proteție pentru computerul personal și de uşurinta în accesarea sarcinilor zilnice cu o simplă glisare a degetului!
Pentru informati suplementare, consultati fiierele de ajutor Acer Bio-Protection.

Acer Backup Manager

Notă: Această caractéristă este disponibă numai la anumite modele.
Acer Backup Manager este un proces simplu, in trei pași, care va permitted sa creți copii de siguranta ale intreguluiSYSTEMSauale fişierelorsifolderelorselectate,in functie de un grafic Sau dupa cum aveti nevoie.
Pentru a lansa Acer Backup Manager, apăsăti tasta Acer Backup Manager de deasupra tastaturii. Sau, puteti accesa Start > Toate programele > Acer Backup Manager > Acer Backup Manager. Acest lucru va lansa ecranul Bun venit; din acest ecran veți fî indrumat CATRE cei trei pași de configurare a copilor de siguranta programate. Datì clic pe Continuare pentrutru a trece la ecranul următor. Datì clic pe tasta + ŞI urmati instruetiunile de pe ecran:
1 Selectaţi continutul pe care doriti să-l copiți pentru sigurantha. Cu căt selectaţi mai putăine date, cu atăt mai rapid va fi procesul, dar va crește riscul de a pierde datele.
2 Selecta locata unde doriti stocarea copilor de siguranță. Va trebui sa selecți o unitate externă a unităti D: Acer Backup Manager nu poate stoca o copie de siguranță pe unitatea-sursă.
3 Selectaţi fecventa cu care să creze Acer Backup Manager copiile de siguranta.
După ce ați finalizat acești treiși, copiiile de siguranta vor fi create conform graficului. De asemenea, puteți crea manual copiiile de siguranta apăsând tasta Acer Backup Manager.
Dacă doritiși modificati setarile făcute, o puteti face in orice moment lansând Acer Backup Manager din meniul de Startși parcurgând pași descriși mai sus.

Managementul alimentării
Acest computer are incorporata o unitate de management al alimentarii care monitorizeazà activitatea sistemului. Activitatea sistemului se refera la orice activitate care implică unul Sau mai multe+dentre dispositivele urmátoare: tastatură, maus, unitate de disc, periferice conectate la computer Şi memorie video. Dacă nu este detectata nicio activitate pentru o periodă de temp (numit interval de inactivitate), computerul oprește unele+dentre acesto dispositive pentru a conserva energia.
Acest computer folosește un program de management al alimentării care acceptă o configurăție avansatași o interfăță de energia (ACPI), pentru a permite conservarea maximă a energiași performanța maximă în același tamp. Windows se ocupă de toate sarcinile de economisire a energia pentru computerul dvs.
Tasta Acer PowerSmart

Notă: Această caracteristica este disponibla numai la anumite modele.
Tasta Acer PowerSmart utilizează functiile de economisire a energiei ale subsistemului grafic al computerului, pentru a reduce consumul general de energia. La apăsarea tastei Acer PowerSmart, luminozitatea ecranului este redusă, placă grafică functionează la viteză scažută, iar modulele PCI și WLAN trenla modul de functiorean Economica. Apăsăti din nou tasta Acer PowerSmart pentru a reveni la setările anterioare.
Acer eRecovery Management este un instrument pentru restaurarea rapidă a systemdului. Puteti de asemenea să faceti o copie de siguranta/să restaurati imaginea implică din fabrăși să reinstalati aplicatiileși driverele.

Notă: Tot continutul următor este numai pentru referinta generală. Specificatiile reale ale produsului pot varia.
Acer eRecovery Management cuprinde urmatoarele functii:
Acest capitol vă va ghida prin fiecare proces.

Notă: Această caracteristica este disponibilită numai la anumite modele. Pentru sistemele care nu au o unitate încorporata de inscriptionare de discuri optice, înte de a intra în Acer eRecovery Management, connectăți o unitate externă de inscriptionare de discuri optice pentru activitate legate de discuri optice.
Pentru a utiliza functia de protectie cu parola Acer eRecovery Management, trebuie mai intai să setați parola. Setarea parolei se face prin lansarea Acer eRecovery Management Şi dänd clic pe Setári.

Inscriptionarea discurilor de siguranță
De pe pagina Copie de siguranta a Acer eRecovery Management, puteti inscriptiona imaginea implicita din fabrica sau face copi de siguranta pentru drivere si aplicaitii.
1 Faceti clic pe Start, Toate programele, Acer, Acer eRecovery Management.
2 La desciderea Acer eRecovery Management, se afisează paginga Copie de siguranta.

3 Selecta tipul de copie de siguranta (implicita din fabrica sau drivere si aplicaiti) pe care doriti s o imprimati pe disc.
4 Urmati instructiunile de pe ecran pentru a fincheia procesul.

Notă: Creți o imagine implică din fabrica atunci că doriti și inscriptionsi un disc initializabil care să contină intregul system de operare al computerul, așa cum v-a fost livrat el de la fabrica. Dacă doriti și aveți un disc care să va permittedă și navigati prin continuturi și și instalati driverele și aplicatiile selectate, creți o copie de sigurantaă d驱erelor și a aplicatiei - dar discul nu va fi initializabil.
Restaurantarea
Categoristiche de restaurare Vãpermit sã restauarãsau sã recuperarãsistemul dintrö imagine implicitaïn fabrica sau din copiile de siguranta create anterior de pe CD Sau DVD. Puteti de asemenea sã reinstalati aplicatiile si driverele pentru systemdul Acer.
1 Faceti clic pe Start, Toate programele, Acer, Acer eRecovery Management.
2 Comutati la pagina Restaurare dand clic pe Restaurare.

3 Putei alege de asemenea sa restauati sistemul dintr-o imagine implicita din fabricca sau sa reinstalati aplicatiile si driverele.
4 Urmati instructiunile de pe ecran pentru a fincheia procesul.
Restauranti Windows de pe discurile de siguranta

Notă: Această caracteristica este disponibla numai la anumite modele.
Pentru a restaura Windows de pe discurile de siguranta pe care le-ata inscriptionat anterior, trebuie sa introduci primul disc de siguranta si sa activati Meniul Initializare F12 prin utilarul Configurare BIOS.
1 Porniti computerul 山 introduci in unitatea de disc optic primul disc de recuperare a systemului. Reporniti computerul.
2 Pe durata pornirii, tand apare logo-ul Acer, apasati tasta F2 pentru a intra in Configurare BIOS, unde puteti seta parametrii de system.
3 Utilizati tastele sageata dreapta 山 stanga pentru a selecta submeniul Principal.
4 Utilizati tastele sageata drepta si stanga pentru a selecta Meniul Initializare F12.
5 Folosi tastele F5 sau F6 pentru a schimba Meniul Initializare F12 in Activat.
6 Apasati tasta ESC pentru a intra in submeniul lesire, apasati tasta ENTER pentru a lesi din Salvare modificari. Apasati din nou tasta ENTER pentru a selecta Da. Sistemul va fi reinitializat.
7 După reinitializare, cand apare logo-ul Acer, apăsăti tasta F12 pentru a deschide meniul Initializare. Selectarea dispositivului de pe care se initializează.
8 Folosi tastele sageata pentru a selecta IDE1*, apoi apasati tasta ENTER. Windows se va instala de pe discul de recuperare.
9 Cánd vi se solicità, introduciţi al doilea disc de recuperare, apoi urmati instructiunile de pe ecran pentru a termina restaurarea.
10 Scoatei discul de recuperare din unitatea optica dupa terminarea restaurarii. Faceti aceasta inante de a reinitializa computerul.
Dacă preferți să setați prioritatea de initializare pe termen lung, trebuie să selecuți submeniul Initializare.
1 Porniti computerul si introduci primul disc de recuperare a systemului in unitatea de disc optic. Reporniti computerul.
2 Pe durata pornirii, tand apare logo-ul Acer, apasati tasta F2 pentru a intra in Configurare BIOS, unde puteti seta parametrii de system.
3 Utilizati tastele sageata dreapta si stanga pentru a selecta submeniul Initializare.
4 Utilizati tastele sageata dreapta 日 stanga para a selecta dispositivul IDE1*.
5 Folosiţi tasta F6 pentru a seta prioritatea de inititializare a dispositivului IDE1 la cea mai mare sau folosiţi tasta F5 pentru a o seta la cea mai mică prioritate. Asiguratii-va că dispositivului IDE1 este setat la cea mai mare prioritate.
6 Apasati tasta ESC pentru a intra in submeniul lesire, apasati tasta ENTER pentru a lesire din Salvare modificari. Apasati din nou tasta ENTER pentru a selecta Da. Sistemul va fi reinitializat.
7 La reinitializare, Windows se va instala de pe discul de recuperare.
8 Cánd vi se solicità, introduciţi al doilea disc de recuperare, apoi urmati instructiunile de pe ecran pentru a termina restaurarea.
9 Scoatei discul de recuperare din unitatea optica dupa terminarea restuararii. Faceti aceasta inainte de a reinitializa computerul.
Bateria
Computerul foloseste o baterie care vă ofera outilizare lungaÎntreÎncarci.
Characteristice bateriei
Bateria are urmatoarele characteristici:
- Foloseste standardele actuale de technologie pentru baterii.
Emite un avertissement de niveau scazut al incarcarii.
Bateria se reincarca de ficare data cand conecta computerul la adaptorul de c.a. Computerul dvs accepta incarcarea in uz, ceea ce va permite sa reincarca biateria in temp ce continuu să lucrati cu computerul. Totusi, reincarcaea cu computerul oprit duce la un tamp de incarcare semnificativ mai scurt.
Bateria va fi utilă atunci cand calătoriți sau in timpul defecțiunilor la rețeaua electrică. Se recomanda să aveți o baterie de rezerva complet fncârcata disponibilă. Contactăți distribuiitorul pentru detaili privind comandarea unei baterii de rezerva.
Maximizarea duratei de viata a bateriei
Ca toate celealte baterii, bateria computerului dvs. se va degrada in tamp. Aceasta inseamnă că performanța bateriei va scădea odataă cu timpul deutilizare. Pentru a prelungi durata de viata a bateriei, vi se recomanda sā respectați instructiunile de mai jos.
Conditionarea unei baterii nei
Inainte de a utilizesa pentru prima data o baterie, exista un proces de "conditionare" pe care trebuie sa-l urmati:
1 Introducei bateria noua fara sa porniti computerul.
2 Conectati adaptorul de c.a. si incarcati complet bateria.
3 Deconnectati adaptorul de c.a.
4 Porniti computerul si operati folosind energia de la baterie.
5 Consumati complet bateria până când apare avertismentul de nivel scăzut de inçarcare.
6 Reconnecta ti adaptorul de c.a. si incarati din nou complet bateria.
Urmatu acesti paşi din nou până când bateria a fost incărcatași descărcata de trei ori.
Folosiţi acest proces de conditionare pentru toate bateriile nei sau dacă bateria nu a fost folosită o perioada lungă de temp. În cazul în care computerul urmează a fi stocat mai mult de două săptamânii, vi se recomandață să scoateți bateria din aparat.

Avertisment: Nu expuneti bateria la temperaturi sub 0^ (32^) sau la peste 45^ (113^) . Temperaturile extreme pot afecta negativ bateria.
Urmänd procesul de conditionare a bateriei, o conditioanti pentru a accepta sarcina maximă posibla. Nerespectarea acesti proceduri va va impiedica sa obtineti sarcina maximă a baterieiși va scurta in felul acesta durata sa de viata efectiva.
In plus, durata de viata efectiva a bateriei este influențata negativ de urmatoarele moduri de folosire:
- Folosirea computerului la o un curent alternative constant cu bateria introdusă. Dacă doriti să folosiți un curent alternative constant, vi se recomanda să scoatei bateria după ce este complet incârcata.
- Nedescărcareași neîncărcarea bateriei la extreme, așa cum se descrie mai sus.
Utilizarea freventa: cu cát folosiţi mai des bateria, cu atat va atinge mai repede sfársitul duratei de viata efective. O baterie de computer standard are o durata de viata de aproximativ 300 de inçarcări.
Instalarea Şi scoaterea bateriei

Important! Inainte de a scoate bateria din unitate, connecta adaptorul de c.a. dacà doriti sà continuati folosirea computerului. In caz contrar, opriti computerul mai intäi.
Pentru a instalaba bateria:
1 Aliniati bateria cu nisa beschisă a bateriei, asigurati-va că intră intăi capătul cu contacteleși că suprafata superioară a bateriei este orientata in sus.
2 Glisati bateria in nisa pentru baterie si impingeti uor pana cand bateria se blochează in positie.
Pentru a scoate bateria:
1 Glisati zavorul de eliberare a bateriei pentru a elibera bateria.
2 Trageti bateria din nisa pentru baterie.
Incarcarea bateriei
Pentru a incarca bateria, mai intai asigurati-va ca este corect instalat in nisa pentru baterie. Conecta adaptorul de c.a. la computer si la priza electrica de retea. Puteti continua sa folosi computerul pe curent alternativ in tamp ce se incarca bateria. Totusi, incarcarea bateriei cu computerul oprit duce la un tamp de incarcare semnificativ mai scurt.

Nota: Vi se recomanda sã incârcai bateria inainte de a cincheia ziua. Incârcarea bateriei peste noapte inainte de a calători va permite sã incepei ziua urmâtoare cu o baterie complet incârcata.
Verificarea nivelului bateriei
Contorul de energia din Windows indica nivalul de curent al bateriei. Lasaqui cursorul de pe pictograma baterie/alimentare din bara de activitatei pentru a vedea nivalul de incarcare actual al bateriei.
Optimizarea duratei de viață a bateriei
Optimizarea duratei de viata a bateriei vă ajută să obtinței rezultate maxime din functiorarea bateriei, prelungind ciculă incârcare/descârcareși imbunătatănte deficienta incârcâri. Vi se recomandaă să urmați sugestiile stabilite în continuare:
Cumpara o baterie supplementar.
- Folosiţ curentul alternativ atunci cánd este posibil, rezervând bateria pentru folosire în timul deplasărilor.
- Eliminati cardul PC dacă nu este folosit deoarece va continua să consume energia (numai pentru anumite modele).
- Stocati bateria infrun loc uscat si racroos. Temperatura recomandata este intre 10^ (50^) si 30^ (86^) . Temperaturile mai ridicate determina autodescarcarea mai rapida a bateriei.
Reincarcarea excessivacade durata de viataabateriei.
- Aveti grijă de adaptorul de c.a.și de baterie.
Avertisment de nivel scazut de incarcare a bateriei
Cánd folosiţi energia din baterie, fiti atent la contourul de energia din Windows.

Avertisment: Conecta adaptorul de c.a. cát mai curand dupa de apare avertismentul de nivel scazut de incarcare a bateriei. Dacă bateria se descarca complet si computerul se oprește, se vor pierde date.
Cánd apare averismentul de nivel scăzut de incărcare, actiunea recomandata depinde de situția dvs:
| Situatie | Actiune recomandată |
| Sunt disponibile adaptorul de c.a. și o przyă electrică. | 1. Conectăți adaptorul de c.a. la computer, apoi conectăți-l la priza electrică de rețea.2. Salvați toate fișierele necesare.3. Reluăți lucrul.Oprși computerul dacă doriti și reîncărcatași rapid bateria. |
| Este disponibilă o baterie de rezervă complet încărcata. | 1. Salvați toate fișierele necesare.2. Închideti toate aplicățile.3. Oprși sistemiul de operare pentru a opri computerul.4.Înlocuiți bateria.5. Porniți computerul și reliuți activitatea. |
| Adaptorul de c.abau o przyăelectrică sunt indisponible. Nu aveți o baterie de rezervă. | 1. Salvați toate fișierele necesare.2. Închideti toate aplicățile.3. Oprși sistemiul de operare pentru a opri computerul. |
Când luata computerul portabil cu dumneavoastră
Acest capitol va ofera sfaturi si individui de care sa tinei seama atunci candid vă deplasati sutau calatoriti cu computerul.
Deconnectarea de la desktop
Urmati acesti paşi pentru a deconecta computerul de la accesoriile externe:
1 Salvati toate fişierele beschise.
2 Indepartati orice suport, discuri floppy sau discuri compacte din unitate (unitati).
3 Opriti computerul.
4 Inchideti capacul afisajului.
5 Deconnecta cablul de la adaptorul de c.a.
6 Deconnectati tastatura, dispositivul de indicare, imprimanta, monitorul extern si alte dispositive externe.
7 Deconnectati blocajul Kensington, dacă folositi unul, pentru a asigura computerul.
Deplasarea
Cànd vă deplasați doar pe distante scurte, de exemplu, de la birou intr-o camera de sedinte.
Pregatirea computerului
Inainte de a deplasa computerul, inchideti si incuaii capacul ecranului pentru a-l pune in mod Repaus. Acum putetilua in condiiti de siguranta computerul oriunde va deplasati n interiorul cladirii. Penta scoate computerul din modul Repaus, descideti afisajul; apoi apasati si eliberati butonul de alimentare.
Dacă mergeti cu computerul la biroul unui client sau intr-o alta clădire, puteti decide să opriti computerul.
Faceti clic pe Start, apoi faceti clic pe Oprire.
Sau:
Pune computerul in modul Repaus apasand <Fn> + <F4> . Apoi inchideti si incuuiati afisajul.
Cánd sunteti gata sā folosi ti computerul din nou, deblocati sī descideti afisajul; apoi apasati sī eliberati butonul de alimentare.

Notă: Dacă indicatorul Repaus este oprit, computerul a intrat înModul Repaus și este oprit. Dacă indicatorul de alimentare este stins, dar Indicatorul Repaus este aprins, computerul a intrat în Modul Repaus.În ambele cazuri, apăsati și eliberati butonul de alimentare pentru a porni din nou computerul. Retineti că computerul poate intra în Modul Repaus după este în Modul Repaus o perioada de temp.
Ce trebuie sa adcuci la sedinte
Dacă sedinta este relativ scurtă, probabilită că nu veți avea nevoie să aduceti nimic cu dvs în afară de computer. Dacă sedinta va fi mai lungă Saud dacă bateria nu este complet și incărcata, este posibil să doriti să luți adaptorul de c.a. cu dvs. pentru a conecta computerul în sala de sedinte.
Dacă sala de sedinte nu are o priză electrică, reduciți descârcarea bateriei punând computerul in modul Repaus. Apăsati < Fn> + < F4> sau inchideti capacul afisajului când nu folositi activ computerul. Pentru a relua, deschideti afisajul (dacă este inchis), apoi apăsatiși eliberati butonul de alimentare.
Când luata computerul acasa
Cánd vă deplasăti de la birou acasa sau invers.
Pregatirea computerului
Dupà deconnectarea computerului de la spatiul de lucru, urmați aceși pentru a pregăti computerul în vederea drumului că:
- Verificazioni dacà ati scosi toate mediile sì discurile compacte din unitate (unitàti). Neindepartarea medilior poate deteriorora capul unitàti.
- Purtaţi computerul intr-o geantă de protectie care să poata impiedica alunecarea computeruluiși să-l poata proteja în cazul în carecade.

Atentie: Nu lasati elementele de ambalaj in apropierea capacului superior al computerului. Apasarea pe capacul superior poate deteriorara ecranul.
Cetrebuie sa luaticu dumneavoastr
Dacă nu aveți lucruri acasă, luatî următoarele articole cu dvs:
Adaptor de c.a. si cablu de alimentare
Ghidul rapid in format tiparit
Urmathi aceste instruuntiqui pentru a proteja computerul atunci canda deplasati la si de la serviciu:
- Reduceti la minim efectele modificarilor de temperatura păstränd computerul cu dvs.
- Dacă trebuie să va opriți o perioada lungă de tempși nu puteti transporte computerul cu dvs, lasați computerul in portbagajul masinii pentru a evita expunerea sa la caldură excesivă.
Schimbările de temperaturași umiditate pot duce la aparția condensului. Lăsați computerul să revină la temperatura camereiși verificăți ecranul pentru a vedea dacă prezintă condens înte de a porni computerul. Dacă schimbarea de temperatura este mai mare de 10^ ( 18^ ), lăsați computerul să revină lent la temperatura camerei. Dacă este posibil, lăsați computerul tamp de 30 de minute intr-un mediu cu o temperatura înțre cea de afarăși temperatura camerei.
Configurarea unui birou la domiciliu
Dacă lucrati frecvent pe computer acasa, este posibil să doriti să cmpărati un al doilea adaptor de c.a pentru Utilizare la domiciliu. Cu un al doilea adaptor de c.a., puteti evita transportarea unei greutăi suplimentare CATRE ŞI de la domiciliu.
Dacă vă folositi computerul la domiciliu perioade lungi de temp, este posibil să doriti să adaugati o tastatură externă, un monitor tau un maus.
Călătoria cu computerul
Cánd vă deplasați pe o distanță mică, de exemplu, de la birou la biroul clientului saul calătoriti local.
Pregătirea computerului
Pregati computerul ca si cum I-atilua acasa. Asigurat-va c bacteria din computer estincarcata.Securitatea aeroportului va poate cere sa opriti computerul cand il transporte in zona portilor.
Ce trebuie să luatî cu dumneavoastră
Luati cu dumneavoastra urmatoarele elemente:
Adaptor c.a.
O baterie de rezerva complet incarcata.
- Fisiere suplementare pentru driverul de imprimantă, dacă intențonati să folosit.ro alta imprimantă.
Pe lángă indicatoriile pentru deplasarea computerului la domiciliul, urmați aceste instrucțiuni pentru a proteja computerul în timul deplasăși:
Luati intotdeauna computerul ca bagaj de mana.
- Dacă este posibil, cereti verificarea manuală a computerului. Aparatele cu raze X ale aeroporturilor sunt figure, dar nu treceți computerul printr-un detector de metale.
Evitati expunerea discurilor floppy la detectoarele de metale de mana.
Călătoria cu computerul în străinătate
Cánd calatoriti dintr-o tarān alta.
Pregatirea computerului
Pregati computerul aça cum l-ata pregāti in mod normal pentru calătorie.
Ce trebuie să luatî cu dumneavoastra
Luata cu dumneavoastr urmatoarele elemente:
Adaptor c.a.
- Cablurile de alimentare care sunt adevate pentru tara in care calătoriti.
Baterii de rezerva complet incarcate.
- Fisiere suplementare pentru driverul de imprimantă, dacă intentionati să folositi o alta imprimantă.
Dovada achizitiei, in cazul in care trebuie sa o aratai autoritatior vamale.
- Paşaport de Garantie internatională pentru calători.
Respectaţi aceleasi considerati specialce ca atunci cand calatoriti cu computerul. In plus, aceste sfaturi sunt utile candid caloriti in strainătate:
- Cánd calătoriți intr-o alta tară, verificati dacă specificăile pentru cabul de alimentare al adaptorului de c.a.și tensiunea c.a. locale sunt compatibile. In caz contrar, cumpărati un cablu de alimentare compatibil cu tensiunea c.a. locală. Nu folosiți convertoare vândute pentru aparate electrocasnice pentru a alimenta computerul.
- Dacă folosiți modemul, verificăti dacă modemulși conectorul sunt compatibile cuSYSTEMUL de telecomunicati al târii in care calătoriti.
Asigurarea computerului
Computerul dvs este o investiţie de valoare de care trebuie să aveți grijă. Invitati cum să protejăși să aveți grijă de computerul dvs.
Printré caractéristicile de securitate se numără blocajele hardware Şi software — un zăvor de securitate Şi parolele.
Folosirea unui blocaj de securitate al computerului
Computerul portabil este livrat cu un slot compatibil Kensington pentru un blocaj de securitate.
Infasurati un cablu al blocajului de securitate al computerului in jurul unui obiect fix, precum o masa sau un maner al unui servar incuiat. Introducei blocajul in zavor si rasauci cheia pentru a fixa blocajul. Sunt disponibile si unele modele fara chei.
Folosirea parolelor
Parolele vă protejează computerul impotrivă accesului neautorizat. Setarea acestor parole creează mai multe niveluri diferite de proteție pentru computerul dvs.și pentru date:
- Parola de supervizor implicada intrarea neauthoritată in utilitarul BIOS. După ce este setata, trebuie să introduciți această parolă pentru a avea acces la utilitarul BIOS. Consultăti "Utilitar BIOS" la pagina 29.
- Parola de utiliser asigură computerul impotrivă'utilizarii neautorizate. Pentru securitate maximă, combinati folosirea acestei parole cu punctele de verificare a parolei la initializareși reluarea după Repaus.
- Parola la initializare asigură computerul impotriva'utilizări neAutorizate. Pentru secreitate maximă, combinati folosirea acesti parole cu punctele de verificare a parolei la initiaizareși reluarea după Repaus.

Important! Nu uitați parola de supervizor! Dacă uitați parola, contactați distribuitorul Sau un centru de service autorizat.
Introducerea parolelor
Cánd se seteaza o parola, apare un mesaj de parolà fñ centrul ecranului de afṣaj.
- Cánd se seteazá parola supervizorului, apare un mesaj atunciánd apasati
pentru a introduce utilitarul BIOS la initializare. - Introduciţi parola de supervizor și apăsăti
pentru a accesa utilitarul BIOS. Dacă introduciți parola incorect, apare un mesaj de averisment. Incercătii din nou și apăsăti . - Cánd se seteazá parola utiliseruluiși este activă parola la parametrul de initializare, apare un mesaj la initializare.
- Tasti parola de utiliser si apasati
pentru a utiliser computerul. Dacă introduci parola incorrect, apare un mesaj de averisment. Incercati din nou si apasati .

Important! Aveci trei incercari de a introduce o parola. Dacau nu reusiti sà introducueti parola corect dupa trei incercari, sistemas se blocheazá. Apasati si mentinei apasat butonul de alimentare temp de patru secunde pentru a opri computerul. Apoi porniti din nou computerul si incercati din nou.
Setarea parolelor
Puteti seta parolele folosind utilitarul BIOS.
Extinderea prin optiuni
Computerul dvs portabil va ofera o experienta informatica mobila completa.
Optiuni de connectivitate
Porturile vã permissible sã conectaãs dispositivetele periferice la calculatorul dvs. aça cum ati face cu un PC de birou. Pourtu instruciuni privind modul de conectare a diverselor dispositive externe la computer, cititi capitolul urmãstor.
Modem fax/date (doar pentru anumite modele)
Computerul dvs are un modem fax/date V.92 56 Kbps incorporat. (doar pentru anumite modele)

Avertisment! Acest port de modem nu este compatibil cu liniile Telefonice digitale. Conectarea acestui modem la o linie Telefonica digitala va deteriorora modemul.
Pentru a folosi portul modemului fax/date, conectaţi un cablu Telefonic de la portul modelului la o przyza Telefonica.


Avertisment! Asigurati-va cai folosi cablul corect pentru tara in care lucrati.
Characteristica de retea incorporata
Characteristica de retea incl corporata va permitted sá conectàti computerul la o retea Ethernet.
Pentru a folosi caracteristica de retea, conecta un cablu Ethernet de la portul Ethernet (RJ-45) de pe cadrul computerului la o przyă de retea sau un distribuitor din reteaua dvs.

Universal Serial Bus (USB)
Portul USB 2.0 este un bus serial de viteză mare care va收费标准i perifericele USB fãră sâ consume resurse pretioase ale systemului.

Port IEEE 1394 port (doar pentru anumite modele)
Portul IEEE 1394 al computerului vă permite să conectăți un dispositiv compatibil IEEE 1394, precum o camerață video sau o camerață digitală. Pentru detalii, consulțați documentatață camerei digitale sau a camerei video.

Interfaţa multimedia de inaltă definiţie (doar pentru anumite modele)
Interfata multimedia de inaltă definite (HDMI) este o interfata sustinută de industry de specialitate, fără compresie, complet digitală audio Şi video. HDMI offre o interfata în orice sursă compatibă digitală audio/video, precum un set-top box, un player DVD Şi receptorul A/V Şi un monitor digital compatibil audio Şi/sau video, precum o televiziene digitală (DTV) pe un singur cablu.
Utilizati portul HDMI de la computerul dvs. pentru a conecta la un echipament audio si video avansat. Folosirea unui singur cablu permite configurarea ordonata si connectarea rapida.

ExpressCard (doar pentru anumite modele)
ExpressCard este cea mai nouă versiune a cardului PC. Este o interfăță mai micăși mai rapidă care imbunățățeșme mai mult utilizabilitateași expandabilitatea computerului.
Cardurile Express accepts un numar mare de optiuni de extindere, inclusiv adaptoare de placam pertu memorie flash, tunere TV, conectivate Bluetooth si adaptoare IEEE 1394B.Cardurile Express accepta aplicaiti USB 2.0 sPCI Express.

Important! Există două tipuri, ExpressCard/54 Şi ExpressCard/34 (54mm Şi 34mm), fiecare cu functii diferite. Nu todo sloturile ExpressCard vor accepta ambele tipuri. Consultatuș manualul cardului pentru detailii privind modul de instalare Şi folosire a cardului Şi functiiile sale.
Introducerea unui ExpressCard
Introduci cardul in slot si impingeti uor pana cand se fixeazain positie cu un clic.

Eliminarea unui ExpressCard
Inainte de a elimina un ExpressCard:
1 lesiti din aplicata care foloseste cardul.
2 Faceti clic stanga pe pictograma de scoatere hardware din bara de activitatei si opriti fonctionarea cardului.
3 impingeti cardul uor in slot si eliberati pentru a scoate cardul afara. Apoi trajei cardul din slot.
Instalarea memoriei
Urmati paasi de mai jos pentru a instalala memoria:
1 Opriţi computerul, deconnectăti adaptorul de c.a. (dacă este conectat) și scaoateți ansamblul bateriei. Apoi înarceți computerul invers pentru a avea acces la baza sa.
2 Scoateş suruburile de la capacul memoriei, apoi ridicati si scoateş capacul memoriei.
3 (a) Introduciți modulul de memorie pe diagonală in slot, apoi (b) apăsati ușor până când se fixează in posizția cu un clic.

4 Puneti la loc capacul memoriei si fixati-l cu suruburi.
5 Reinstalati ansamblul bateriei si conecta di n nou adaptorul de c.a.
6 Porniti computerul.
Computerul detectează automat Şi reconfigurează dimensiunea totală a memoriei. Consultati un tehnician calificat sau contactați distribuiorul Acer local.
Utilitar BIOS
Utilarul BIOS este un program de configurare hardware incorporeat in BIOS-ul computerului dvs.
Computerul dvs. estedea configurat corect si optimizati si nu trebuie sra rula i acest utilitar. Totusi, dacaveti probleme de configurare, este posibil sa trebuiasca sa-l rulai.
Pentru a activa utilitarul de BIOS, apasaţi
Ordinea initjializarii
Pentru a seta ordinea de initializare in utiliser de BIOS, activati utilizingar del BIOS, apoi selectati Initializare din categoriile listate in partea de sus a ecranului.
Activarea recuperări de la disc la disc
Pentru a activa recuperarea de la disc la disc (recuperare pe unitatea de disc), activati utilitarul BIOS, apoi selectati Principal din categoriile listate in partea de sus a ecranului. Gasi Recuperare D2D in partea de jos a ecranului si folosi tastele
Parola
Pentru a seta o parola la initiaizare, activati utilitarul de BIOS, apoi selectati Securitate din categoriile listate in partea de sus a ecranului. Gasi Parolele la initiaizare: si folosi tastele < F5> si < F6> pentru a activa aceastacaracteristica.
Folosirea software-ului
Redarea filmelor DVD

Notă: Această caracteristica este disponibla numai la anumite modele.
Cànd unitatea DVD este instalata旨在 modulul unității optice, puteți reda cine DVD pe computer.
1 Extragetji discul DVD.

Important! Când lansati pentru prima dataă aplicata DVD player, programul va va solicita să introduciți codul regiunii. Discurile DVD sunt impărțte in 6 regiuni. După ce unitatea DVD este setata la un cod de regiune, acosta va reda numai discurile DVD din acea regiune. Puteti seta codul regiunii de maxim cinci ori (inclusiv prima dataă). după care ultimul cod de regiune va rămâne permanent. Recuperarea unității de harddisc nu va reseta numărul de modificări ale codului regiunii care a fost setat. Consultatiș tabelul de mai jos pentru informatici privind codul regiunii pentru filmele de pe DVD.
2 Filmul de pe DVD va fi redat automat dupa cateva secunde.
| Cod regiune | Tara sai regiunea |
| 1 | SUA, Canada |
| 2 | Europa, Oriental Mijlociu, Africa de Sud, Japonia |
| 3 | Asia de Sud-Est, Taiwan, Coreea de Sud |
| 4 | America Latină, Australia, Noua Zeelandă |
| 5 | Fosta URSS, părți din Africa, India |
| 6 | Republica Populară Chineză |

Notă: Pentru a schimba codul regiunii, introduciți in unitatea DVD un film pe DVD dintr-o regiune diferită. Consultatați ajutorul online pentru informatții supplementare.
Intrebări freventa
In continuare este prezentata o lista de situacoes possible care pot aparea in timpul utilizes computerului. Sunt furnizate soluţii usoare pentru fiecare.
Am pornit alimentarea, dar computerul nu pornește sau nu se initializează.
Uitati-va la indicatorul de alimentare:
-
Daca acesta nu este aprins, computerul nu primeste curent. Verificati urmatoarele:
-
Dacă folositi bateria, este posibil ca nivalul acosteia să fie scăzutșiă nu poata alimenta computerul. Conectati adaptorul de c.a. pentru a reîncărca bateria.
- Asigurat-vá că adaptorul de c.a. este bine conectat în computer și la przy electrìca.
Dacă se aprinde, verificati urmátoarele:
- Este un disc neinitializabilit (non-sistem) in unitatea de floppy USB externà? Scoatei-l Sau inlocui-ti-cu un disc de system si apăsati
+ + pentru a reporni systemdul.
Nu aparenimic pe ecran.
Sistemul de management al alimentarii computerului goleste automat ecranul pentru a economisi energia. Apasați orice tastă pentru a activa afisajul.
Dacă prin apăsarea unei taste nu se activează din nou afşajul, pot exista trei cause:
- Este posibil ca nivelul de luminozitate sa fie prea scazut. Apasati < Fn> + < D> (crestere) pentru a regla nivelul de luminozitate.
- Este posibil ca disposzitivul de afișare să fie setat pentru un monitor extern. Apăsăti tasta rapidă de comutare a afișajului
+ pentru a comuta afișajul inapoi pe computer. - Dacă indicatorul Repaus este aprins, computerul este în mod Repaus. Apăsătiș eliberati butonul de pornire pentru a relua.
Nu se aude niciun sunet de la computer.
Verificati umatoarele:
-
Este posibil ca volumul să fie setat la fāră sunet. In Windows, verificazioni pictograma pentru comanda de volum (difuzor) din bara de attività. Dacă este barata, faceti clice pe pictogramăși deselectati optiunea Toate fāră sunet.
-
Este posibil ca nivelul volumului să fie prea scăzut. In Windows, verificati pictograma pentru comanda de volum din bara de activitatei. Puteti de asemenea să folositi butoanele de control al volumului pentru a regla volumul.
- In cazul in care la portul de iesire de pe computer sunt conectate căsti, căsti auriculare sau difuzoare externe, difuzoarele interne se opresc automat.
Doresc sã extrag tava unitãtãi optice fãrã sã pornesc alimentarea.
Există un orificiu pentru extragerea mecanica pe unitatea optica. Introduceți vârful unui creion sau o bucata de hârtie in orificiuși impingeti pentru a extrage tava.
Tastatura nu raspunde.
Incercati sā ataṣṭi o tasaturā externa la un port USB de pe computer. Dacă functionează, contactaşi distribuitorul sau un centru de service autorizat deoarece este posibil sā se fi slăbit cablul tasaturii.
Imprimanta nu fonctioneaza.
Verificati urmatoarele:
- Asigurați-vă că imprimanta este conectata la o przyă electricăși că este pornită.
- Asigurată-vă că este bine conectat cablul imprimantei la portul parallel al computerului Sau la un port USB și portul corespunțător de pe imprimantă.
Vrea sa restaurez setarile initiale ale computerului fara CD-uri de recuperare.

Notă: Dacă systemd dvs este în versionea în mai multe limbi, systemd de operare și limba pe care le-ata ales cand ati pornit prima dataș systemd vor fi singura optiune pentru operatiunile de recuperare viitoare.
Acest proces de recuperare vă ajută să restauți unitatea C: cu continutul software original care este instalat căcumpărati computerul portabil. Urmati pași de mai jos pentru a reconstitui unitatea C.: (Unitatea dvs. C: va fi reformatataș și toate datele vor fi sterse.) Inainte de a folosi această optiune, este importantă să faceti o copie de siguranta tuturor fişierelor de date.
Inainte de a efectua o operatiune de refacere, verificati setarile BIOS.
1 Verificazioni per tra a vedea dacà Recuperare Acer disc de pe disc este disponibilità.
2 Asigurat-vacasetareaRecuperareD2DdinmeniulPrincipalesteActivata.
3 leşiti din utilitarul de BIOS.si salvati schimbarile. Sistemul va fi reinitializat.

Notă: Pentru a activa utilitarul de BIOS, apăsăti
Pentru a incepe procesul de recuperare:
1 Reporniti systemd.
2 In tamp ce apare sigla Acer, apasaţi
3 Consultati instru cunile de pe ecran para a efectua recuperarea systemului.

Important! Această caractéristica ocupa 15 GB intr-o partijie ascunsă de pe unitatea de disc.
Solicitarea de service
Garantie internationala pentru calători (ITW)
Computerul dvs este insojt de o Garantie internatională pentru calători (ITW) care va oferă securitateși liniste pe durata calătorilor. Rețeau noastră de centre de service extinsă în intreaga lume este gata sa că ofere oricánd ajutor.
Un pașaport ITW este livrat impreună cu computerul. Acest pașaport contine tot ce trebuie să sțtiș despree programul ITW. In această broşură utilă veți gâsi o listă de centre de service autorizate disponibile. Citișcu atenție acest pașaport.
Tineti intotdeauna paşaportul ITW la indemână, in special când calatoriti, pentru a putea benefici de serviciile centrelor noastre de asistență. Păstrați dovada achizitiei in buzunarul situat in interiorul coperti iata a paşaportului ITW.
Dacă tără in care calătoriti nu are un centru de service ITW autorizat Acer, puteti contacta birourile noastre din intreaga lume. Consultati http://global.acer.com.
Inainte de a suna
Cánd sunati la Acer pentru service online, vă rugăm să aveți pregătite următoarele informatiiși să fiti lângă computer în momentul efectuări apelului. Cu ajutorul dvs, putem reduc durata unui apelși putem rezolva eficient problemele dvs. Dacă apare un mesaj Sau un sunet deEROARE pe computerul dvs, notati-le atunci cand apar pe ecran (sau numărulși ordinea în cazul sunetelor).
Vi se vor solicita urmatoarele informatii:
Nume:
Adresă:
Numar de telegram:
Tipul computerului si modelul:
Numarul de série:
Data achizitiei:
Depanare
Acest capitol va arata cum sa rezolvate probleme obișnuite ale systemului. Citiți-l inainte de a apela la un tehnician, în cazul aparției unei probleme. Soluțiiile pentru problemele mai serioase necessitate desfacereia computerului. Nu incercati să desfaceti computerul dvs., contactă dealerul sau un centru de service autorizat pentru a primi asistență.
Sfaturidepanare
Acest PC portabil cuprinde un design avansat care offre rapoarte cu mesaje de eroare pe ecran pentru a va ajuta sa rezolvati problemele.
Dacă sistemas raportează un mesaj de eroare sau aparean un sintom de eroare, consultati „Mesajele de eroare" de mai jos. Dacă problema nu poate fi rezolvata, contactati dealerul. Consultati "Solicitarea de service" la pagina 33.
Mesaje de eroare
Dacă primiti un mesaj de eroare, notați mesajulși efectuți actiunea corectivă. Tabelul următor cuprinde mesajele de eroare în ordine alfabetică impreună cu actiunea recomandata.
| Mesaje deEROARE | Actiune corectivă |
| CMOS battery bad | Contactați dealerul sau un centru de service autorizat. |
| CMOS checksum error | Contactați dealerul sau un centru de service autorizat. |
| Disk boot failure | Introduçți un disc system (initializabil) în unitatea floppy (A:), apoia apăsăti<> pentru a reinitializa. |
| Equipment configuration error | Apăsăti<> (în timpul POST) pentru a intra în utilitarul BIOS, apoia apăsăti leșire în utilitarul BIOS pentru a reinitializa. |
| Hard disk 0 error | Contactați dealerul sau un centru de service autorizat. |
| Hard disk 0 extended type error | Contactați dealerul sau un centru de service autorizat. |
| I/O parity error | Contactați dealerul sau un centru de service autorizat. |
| Keyboard error or no keyboard connected | Contactați dealerul sau un centru de service autorizat. |
| Keyboard interface error | Contactați dealerul sau un centru de service autorizat. |
| Memory size mismatch | Apăsăti<> (în timpul POST) pentru a intra în utilitarul BIOS, apoia apăsăti leșire în utilitarul BIOS pentru a reinitializa. |
Dacă inca iintampinati probleme dupa efectuarea másurilor corective, contactati dealerul sau un centru de service autorizat pentru asistentă. Unele probleme pot fi rezolvate folosind utilitarul BIOS.
Reglementăriși note de siguranta
Declarata FCC
Acest dispositiv a fost testat ca respectand limitele pentru Clasa B de dispositive digitale conform Parti a 15-a din Regulamentul FCC. Aceste limite sunt trasate pentru a oferi proteie rezonabilă impotriva interferentei periculoase la instalatiile casnice. Acest dispositiv generează, utilizeazăși poate radia energia de radiofrecventașși, dacă nu este instalatși folosit în conformitate cu instrucțunile poate provoca interferentă periculoasă comunicăilor radio.
Totuşi, nu există garantția că acea interferență nu va apărea într-o anumită instalătie. Dacă incest echipament provoacă interferență periculoasă pentru receptția radio sau de televiziune, care poate fi stabilitate prin pornirea și oprirea echipamentului, utilizatorul este încurajat să înce crese să corecteze interferența prin una tau mai multe din următoarele măsuri:
Reorientati sau repositionati antenna de receptie.
- Māriti distanta dintre dispositiv si receptor.
- Conectați disposizitivul la o przyă dintr-un circuit diferit de cel la care este conectat receptorul.
- Consultati dealerul sau un tehnician de radio sau de televiziune pentru ajutor.
Notificare: Cabluri cu invelis de protectie
Toate conexiunile la alto dispositive informatica trebuie sα se facá folosind cabluri izolate pentru protectie pentru a menține conformitatea cu reglementările FCC.
Notificare: Dispositive periferice
Numai perifericele (dispositive de intrare/iesire, terminale, imprimante etc) certificate ca fiind conforme cu limitele pentru Clasa B pot fi atașate la acest echipament. Functionarea cu periferice necertificate se poate solda cu interferență la receptția radioși TV.
Atentie
Schimbarile Sau modificarile care nu sunt explicit aprobate de producator pot anula autoritatea utilizatorului, care este acordata de catre Comisia Federală de Comunicati, de a opera incest computer.
Notificare: Utilizatori ii canadieni
Acest aparat digital din Clasa B este conform cu standardul canadian ICES-003.
Notificări despree modem (doar pentru anumite modele)
Notă pentru SUA
Acest echipament este compatibil cu prederile din partea a 68-a a regulamentului FCC. Pe modem exista o etichetă care contine, printre alte informaticii, numărul de inregistrare FCCși numărul de echivalentă Ringer (REN) pentru acest echipament. La cerere, trebuie să furnizata aciste informatici companiei Telefonice.
Dacă echipamentul dvs. telefonic aduce atingere rețelei Telefonice,irma de Telefonie poate intrerupe temporar serviciile. Dacă este posibil, vă vor anunța îniate. Totusi, dacă notificarea din timp nu este posibilă,irma vă va notifica cel mai curând posibil. Veți fi de asemenea informat automat despre dreptul dvs. de a depune o plângere la FCC.
Este posibil ca firma de Telefonie sa efectueze modificarie ale instalatiilor, echipamentului, operatiilor Sau procedurilor sale care pot afecta functiOnarea echipamentului dvs. Dacă face acest lucru, firma de Telefonie va va avertiza dinainte pentru a va oferi oportunitatea de a mentine neintrerupt serviciul Telefonic.
Dacă acest echipament nu functionează corect, deconectăti echipamentul de la linia Telefonica pentru a stabili dacă acesta provoacă problema. Dacă problema provine de la echipament, intrerupeti folosireași contactăți dealerul Sau produçătorul.

Atentie: Pour tru a reduce riscul de incendiu, utilizes numai un cablu pentru linii de telecomunicați certificat SCA sau listat UL Nr. 26 AWG sau mai mare.
TBR 21
Acest echipament a fost aprobat [Decizia Consiliului 98/482/CE - "TBR 21"] pentru conectare cu un singur terminal la Rețeaua Telefonica Publică Comutata (PSTN). Totusi, din cauza diferentelor+dentre PSTN-urile individuale furnizate in diverse târi, aprobarea nu oferă, în sine, asigurarea neconditionata a functiorii reusite la ficare punct terminal PSTN. în cazul în care apar probleme, trebuie că contactati în primul ränd furnizorul de echipamente. pentru mai multe informatiș privind târile la care se aplică acestoea, consulțați "Reglementăși note de siguranta" la pagina 35.
Notificare pentru Australia
Din motive de siguranta, conectaţi numai căstile cu o etichetă de conformitate pentru telecomunicații. Printre acestea se numără echipamentul etichetat ca fiind permis sau certificat anterior.
Notificare pentru Noua Zeelandă
1 Acordarea unui Telepermis pentru orice element al unui的操作 terminal indică numai faptulă Telecom a acceptată elementul este conform cu condițiile minime pentru conectarea la rețeaua sa. Acest lucru nu indicatoră o avizare a produsului de catre Telecom si nu oferă niciun fel de garantie. In primul ränd, nu oferă nizio asigurareă că orice element va functiona corect din toate punctele de vedere cu un alt的操作 care deține un Telepermis dintr-o marca sau un model diferită ni ciș nu implică faptulă orice produs este compatibil cu toate serviciile de rețea ale Telecom.
2 Acest echipament nu este capabil, in condiţiile de fonctionare, să functioneze corect la cele mai mari viteze pentru care a fost conceput. Telecom nu işi va asuma răspunderea dacă apar dificultăți in astfel de imprejurări.
3 Unii parametri impusi pentru conformitatea cu cerinteile de Telepermise ale Telecom depind de echipamentul (PC) associat cu acessist dispositiv. Echipamentul associat trebuie sa fie setat pentru a functiona in urmatoarele limite de conformitate cu Specificatiile Telecom:
a Nu trebuie sã fie mai mult de 10 incercãrì de apel la acelaşì numâr intr-un interval de 30 de minute pentru orice initiere de apel Şi
b Echipamentul trebuie să stea in furcă pentru o periodă de cel putin 30 de secunde încheierea unei incercăriși inceperea incercarea urmâtoare.
4 Unii parametri impusi pentru conformitatea cu cerințele de Telepermise ale Telecom depind de echipamentul (PC) associat cu acest dispositiv. Pentru a opera in linitele de conformitate cu specificătiile Telecom, echipamentul associat trebuie să fie setat pentru a se asigura că apelurile automate la diferite numele sunt distanțate astfel înțat să nu existe mai mult de 5 secunde întrhe incheierea unei inccerăriși începerea inccerări următoare.
5 Acest echipament nu trebuie setat pentru a efectua apeluri automate la Serviciul de urgță al Telecom, 111.
6 Acest dispositiv este echipat cu apelare in pulsuri in timpe standardul Telecom este apelarea cu tonuri DTMF. Nu exista garantia ca linile Telecom vor continua intotdeauna sa accepte apelarea cu pulsuri.
7 Utilizarea apelàrii cu pulsuri,ánd acest echipament este conectat la aceeasi linie cu un alt echipament, poate duce la clinchet sa zgomot si poate de asemenea să provoacă o falsă stare de raspuns. În cazul În care apar astfel de probleme, utilizatorul NU trebuie să contacteze Serviciul de defectiuni al Telecom.
8 Acest echipament nu poate furniza efectuarea deficienta unui apel la un alt dispositiv connectat la aceeaesi linie.
9 In conditi di defecantiune a liniei de alimentare, acest aparat nu poate functiona. Asiguratia-va caxistada disponibil un Telefon separat, care sa nu depindadere reteaua electricacalala,pentuutilizarea in situatiudurgenta.
Declaratie privind pixelii LCD
Această unitate LCD este produsă cu tehnici de fabricătie de inaltă precizie. Totusi, unii pixeli pot ocazional să fie defecți, să apară ca puncte negre Sau roșii. Acest lucru nu are efect asupra imaginii inregistrareși nu constituiie o defeciune.
Notificare de reglementare pentru dispositive radio

Notă: Informatătiile de reglementare de mai jos sunt pentru exclusiv pentru modele cu capacitate LAN wireless Şi/sau Bluetooth.
Generalitàti
Acest produs este conform cu standardele de radiofrecventași de siguranta din orice țară pau regiune în care a fost aprobat pentru/utilizare wireless. În functie de configuratie, incest produs poate căContină pau nu dispositive radio wireless (precum module LAN Şi/sau Bluetooth wireless). Informatiile de mai jos sunt pentru produse cu astfel de dispositive.
Déclaratie de conformitate pentru târile UE
Acer, declară prin prezenta că acest computer portabil este conform cu cerintele esentialeși alte dispositiții semnificative ale directivei 1999/5/CE.
Lista tārilor aplicabile
Statele membre UE in iulie 2009 sunt: Belgia, Danemarca, Germania, Grecia, Spania, Franta, Irlanda, Italia, Luxemburg, Olanda, Austria, Portugalia, Finlanda, Suedia, Regatul Unit, Estonia, Letonia, Lithuania, Polonia, Ungaria, Republica Cehă, Republica Slovacă, Slovenia, Cipru, Malta, Bulgaria Şi Romania. Utilizarea permisă in târile Uniunii Europene, ca Şi in Norvegia, Elvetța, Islanda Şi Liechtenstein. Acest dispositiv trebuie să fie folosit in strictă conformitate cu reglementările Şi constr新闻记者 din tara in care este folosit. Pentru informații supplementare, contactă biroul local din tara in care este folosit. Pentru cea mai recentă lista a târilor, vizităi http://ec.europa.eu/enterprise/rtte/implem.htm.
Cerinta de siguranţă RF FCC
Puterea radiata emisa de un card PCI LAN Mini wireless si de un card Bluetooth este mult sub limitele de expunere la radiofrecventa ale FCC. Cu toate acestea, PC-ul portabil va fi utilizes astfel incat contactul potenial cu persona umana sa fie minimizat pe timpul functiaroni normale dupa cum urmeaz:
1 Utilizatorilor li se cere sà urmeze instruetiunile de siguranta privind dispositivele wireless optionale care sunt incluse f in manualul utilizatorului pentru fiecare dispositiv optional de RF.

Atentie: Pourtu a fi conform cu cerintele de conformitate privind expunerea la RF ale FCC, trebuie s à ses mentinà o distanță de separare de cel puțin 20 cm (8 inchi) intétre antenna pentru cardul PCI LAN Mini wireless in sectiunea ecranului si"Toate personale.


Notă: Adaptorul wireless PCI Mini implementează o functie de diversitate a transmisiei. Functia nu emite frecventa radio simulan de la ambele antene. Una+dentre antene este selectata automat sau manual (de utilizatori) pentru a asigura buna calitate a radiocomunicaților.
2 Acest produs trebuie utiliser numai in incaperi, deoarece fonctionază in intervalul de freventa 5,15 - 5,25 GHz. Normele FCC cer ca produsul să fie utilizes in incaperi in intervalul de freventa 5,15 GHz - 5,25 GHz, pentru a reduce pericolul de interferente dăunătoare cu sistemele de sateliţi pentru mobile de pe acelaşi canal.
3 Utilizatori i primari alocati pentru benzile de 5,25 - 5,35 GHz si 5,65 - 5,85 GHz sunt radarele de mare putere. Astfel de statii de radar pot provoca interferente cu acest dispositiv si/sau il pot deteriora.
4 O instalare improprie sau outilizare neautorizata poate provoca interferenta periculoasa pentru comunicațile radio. De asemenea, orice atingere a antenei interne va anula certificarea FCC si garantia dvs.
Canada — Licenţă pentru putere scăzută-cu exceptția radio dispositive de comunicații (RSS-210)
Expunerea oamenilor la campurile de freventa radio (RSS-102)
Seria de computere portabile utilizează antene integrale LGA care nu emit campuri de frecventa radio care să depășească limitele acceptate pentru sanătatea populației de către Autoritatea federală pentru sanătate din Canada; consulțuți Codul de siguranta 6, care se găsește pe site-ul web al Autoritateții federale pentru sanătate din Canada, la adresa www.hc-sc.gc.ca/rpb.
ManualUșor