TRAVELMATE 5742G - Bärbar dator ACER - Gratis bruksanvisning och manual
Hitta enhetens manual gratis TRAVELMATE 5742G ACER i PDF-format.
Ladda ner instruktionerna för din Bärbar dator i PDF-format gratis! Hitta din manual TRAVELMATE 5742G - ACER och ta tillbaka ditt elektroniska enhet i hand. På denna sida publiceras alla dokument som behövs för att använda din enhet. TRAVELMATE 5742G av märket ACER.
BRUKSANVISNING TRAVELMATE 5742G ACER
Betjening av Produktet
Folgende avsnitt gir tips om mer komfortabel datamaskinbruik.
Nár du skal slá av strømmen, gjör du att av følgende:
- Bruk avslutningskommandoen i Windows
Dette avsnittet gir deg tips og råd om ting du må huske på när du skal ut på tur med datamaskinen.
Rejs med computeren 20
Klargoring af computeren 20
Tag computeren med 21
Klargoring af computeren 21
Information für din sakerhet och komfort
Sakerhetsinstruktioner
Läs dessa instruktioner noggrant. Spara dokumentet für fremtida referens. Uppmärksamma alla varninger och instruktioner som markerats på Produkten.
Slå avprodukten före rengöring
Koppla ur nätströmssladden ur vagguttaget innan du rengör den. Använd inte rengöringsmedel i vätske-ller sprayform. Använd en lätt fuktad duk für rengöring.
FÖRSIKTIGHETSANVISNINGAR om att bryta strömmen med vaggkontakten
Observera följande riktlinjer Near du slår på och bryter strömmen till nätaggregatet:
Installera nātaggregatet innan du ansluter nātsladden till elnātuttaget.
Koppla ur natsladden innan du tar ut nataggregatet ur datorn.
Om datorn drivs av fler an en energikälla maste du koppla frän strömmen fransystemet genom att koppla ur alla strömsladdar frän energikällorna.
FÖRSIKTIGHETSANVISINGAR angående tillgangliget
Försakra dig om att du ansluter enchetens natsladd till ett lättillgangligt eluttag som sitter placerat sa nara enchetens användare som möjlicht. Försakra dig om att koppla ur natsladden frän eluttaget nar du vill bryta strömmen till utrustningen.
Datorn levereras med attrapper av plast i kortplatserna. Attrapperna ar avsedda att skydda oanvanda kortplatser fran damm, metallforemål och andra partiklar. Spara kortattrapperna for anvanding när inga kort finns i platserna.
FÖRSIKTIGHET vid lyssning
Följ instruktionerna nedan for att skydda din horsel.
Höj volymen gradvis tills du hör klart och bekvämt.
- Öka inte volymen after det att dina öron har anpassat sig.
Lyssna inte på musik med for hög volym under langre perioder.
- Okainte volymenforatt utestanga oljudi omgivningen.
Sank volymen om du inte hör manniskor som talar nara dig.
iv
Varningar
- Använd inteenna Produkt nara vatten.
- Placera ante denna produkt på en instabil vign, ställ, eller bord. Produktten kan falla med allvarliga skador som följd.
- För attprodukten skafungera ordentlich och inte overhettas har den forsetts med ventilationsöppninger. Dessa öppninger fär ej blockeras erler täckas over. Öppningarna fär inte blockeras genom att ställa encheten på en sang, soffa, matta, eller annat liknande underlag. Denna produit fär inte placeras nara eller overett varmeelement eller värmeregistrare, ellere i en inbyggd installation om detinte finns ordentlich ventilation.
Tryck aldrig in foremål av nagon form in i Produkten genom öppingarna eftersom de kan komma i kontakt med farlga strömforande punkter ull ersaka kortslutning hos vissa delar vilket kan resultera i brand ull elchock. Spill aldrig ut nagon form av vätska overprodukten. - Placerainte Produkten på att vibrerande underlag for att undvika skador på invändiga componenter och forhindra batteriläckage.
- Använd den aldrig när du idrottar, tränar erller i andra vibrerande miljöer eftersom det kan medföra oväntad kortslutning ellr skada rotorenheterna, härddisken, den optiska lassenheten samt risk for att exponeras for litiumjonbatteriet.
- Undersidan, områdena kring ventilationsöppningarna och natadaptern kan bli heta. Låt dem inte komma i kontakt med huden eller kroppen for att undvika skada.
- Enheten och dess tillbehör kan innehälla smädelar. Håll dem utom räckhäll För små barn.
Anvanda ström
- Denna produit skall drivas med samma strömtyp som anges på märkningsetiketten. Om du inte är saker på vilken strömtyp som finns i eluttagenör du konsultera din Återförsäljare eller ditt lokala energiföretag.
- Låt ingenting vila mot nätsladden. Placera inteprodukten sö att manniskon kan gå på kabeln.
- Om en förlängningsladd används, se dã till att den totala strömstyrkan (ampere) som gãr in i sladden inte överstiger den strömstyrka som ær avsedd for förlängningsladden. Se dessutom till att den sammanlagda strömstyrkan for allaprodukter som anslutits till vagguttaget inte överstiger sakringens maximala toleransvärde.
- Überbelasta inte ett eluttag,grenuttag eller kontakter genom att ansluta for mänga enheter. Hela systemet fär inte överskrida 80% avforallgreningssledningens kretsklassning. Omgrenuttag används borbelastningen inte överskrida 80% avgrenuttagets ineffektsklassning.
- Produktens natadapter ar utrustad med en jordad kontakt med tre trådär. Kontakten passar bara i ett jordat eluttag. Se till att eluttaget ar ordentlich jordat innan du sätter i natadapterns kontakt. Sätt inte i kontakten i ett eluttag som inte ar jordat. Kontakta din elektriker om du vill ha information.

Varning! Jordningsstiftet ar en sakerhetsfunktion. Användning av ett eluttag som inte ar ordentlich jordat kan resultedera i elektriska stötar och/eller skador.

Obs: Jordningsstiftet ger även bra skydd mot oväntade störningar frän andra elektriska enheter i narheten som kan störaprodukten prestanda.
- Systemet kan drivas med flera olika spänninger; 100 till 120 volt erer 220 till 240 volt, växelström. Den medfoljande natsladden uppyller tillampliga lokala bestammelser for användning i det land eller den region som systemet köptes. Natsladdar som sca anvandas i andraaland/regioner maste folja tillampliga bestammelser i landet/regionen i fråga. Kontakta en auktorisad Återförsäljare eller tjänsteleverantör for mer information om lokala bestammelser for natsladdar.
Produktservice
Försök inte att lagaprodukten själv- Om du öppnar eller tar bort delar kan du utsatta dig själv for farliga strömforande punkter aller andra risker.
Allt unterhalb bör skötas av kvalificerad servicepersonal.
Koppla ur denna produkt ur vagguttaget och lamna den till kvalificerad servicepersonal i foljande fall:
När vaggkontakten eller natsladden ar skadad erler klämd.
- Om vätska har spilts in iprodukten.
- Omprodukten har utsatts for regn aller vatten.
- Omprodukten har tappats aller holjet har skadats.
- Omprodukten tydligt börjar uppföra sig annorlunda an tidigare tyder det på att den behöver servas.
- Om Produkten inte fungerar normalt även om användningsinstruktionerna följs.

Obs: Justera bara dekontroller som namns i användarinstruktionerna eftersom felaktig justering av andra kontroller kan medfora att skada och ota krava ett större reparationsarbete av en kvalificerad tekniker for att Återföraprodukten till normalskick.
Riktlinjer for saker batterianvändnng
I den har barbara datorn anvands att litiumjonbatteri. Använd den inte i en fuktig, vát eller korrosiv miljö. Ställ, forvara eller lamna aldrig produkten på eller i narheten av en värmekälla, på en plats med hög temperatur, i starkt direkt solljus, i en mikrovågsugn eriler i en trycksatt behällare och utsätt den inte für temperaturer over 60^ (140°F). Om du inte foljer de HAR rikitlinjerna kan batteriet l Lacka syra, bli hett, exploderera erler antandas och orsaka person- och/eller egendomsskador. Du fär inte sticka halp, öppna erller demontera batteriet. Om batteriet lacker och dukommen ikontakt med vätskan bör du skölja noggrant med vatten och söka lakarhjalp omedelbart. Av sakerhetsskal och for att Förlänga batteriets livslängd sker ingen laddning i temperaturer under 0^ (32°F) eller over 40^ (104°F).
Total prestanda hos ett nytt batteri uppnås Först after två eller tre fullständiga laddnings- och urladdningscykler. Det går att ladda och ladda ur batteriet hundratals gänger men det slits ut after lang användning. När driftstiden blir markbart kortare an normalt koper du ett nytt batteri. Använd bara de godkända batterierna och ladda bara batteriet med de godkända laddare som ar avsedda for den har encheten.
Använd bara batteriet für avsedda ändamål. Använd aldrig en skadad laddare allerett skadat batteri. Kortslut inte batteriet. Oavsiktlig kortslutning kan inträffa om ett metallobjekt, t.ex. ett mynt, gem eller penna, orsakar direktanslutting mellan batteriets positiva (+) och negativa (-) pol. (De ser ut som metallband på batteriet.) Det kan hända om du exemplVIS har ett extrabatteri i ficken aller vaskan. Om polerna kortsluts kan det orsaka skador på batteriet aller den anslutnaprodukten.
Batteriets kapacitet och livslängd minskas om batteriet lämnas på varma eller kalla platser, t.ex. en ständg bil under sommar eller vinter. Försök alltid forvara batteriet i temperaturer mellan 15^ och 25^ (59°F och 77°F). En,enhet med att varmt eller kallt batteri kan sluta att fungera temporär, även om batteriet arfulladdat. Batteriets prestanda ar särskilt begränsad i temperaturer som ar en bra bit under fryspunkten.
Kasta inte batterier i öppen eld eftersom de kan explodera. Batterierna kan även explodera om de skadas. Kassera batterier enigt lokala foreskrifter. Återvinn dem om sö ar möjlig. Slang dem inte i hushållssoporna.
Trädlösa enheter kan vara känsliga für störninger frän batteriet, vilket kan paverka prestandan.
Byta batteri
Denna barbara dator i seriien anvander ett litiumbatteri. Ersatt batteriet med sama typ som levererades med Produkten. Om du anvander ett annat batteri kan det finnas risik for brand eller explosion.
Försiktighetsanvising für optiska skivenheter (endast für vissa modeller)
Varning: Denna enchet innehäller laserteknik och klassificeras som en " KCLASS 1 LASERPRODUKT." Kontakta narmaste AUKTORISRADE servicecenter om problem uppSTAR med encheten. Försök inte att öppna höjet och undvik direkt exponering För laserstrålen.
- Koppla alltid ur alla Telefonkablar från vagguttaget före service eller isärtagning av utrustningen.
- Undvik att ansluta datorn till Telefonnet (utom via trådlös anslutning) under öskväder. Risk finns für elchock på grund av blixtnedslag.

Varning! Av sakerhetsskal sku du inte anvanda ej kompatibla delar vid tillagg eller byte avkomponenter. Kontakta din Återförsäljare om inköpsalternativ.
Anslutting till ett kabelforgreningsystem ske goras genom en galvanisk isolator.
Driftmiljö

Varning! Av sakerhetsskal bör du stänga av all utrustning for tradlös och radiokommunikation när du använden din barbara dator i följande situationer. Nagra exempel på sädan utrustning ar: tradlost natverk (WLAN), Bluetooth och/eller 3G.
Kom ihåg att folja alla de särskilda bestämmelser som gäller i varje geografiskt område, och stäng alltid av encheten där användning ár forbjuden eller kan medföra störningar eller fara. Använd bara encheten i normala driftpositioner. Denna enchet uppyller riktlinjerna für RF-exponering vid normal användning samt nar den och dess antenn finns på minst 1,5 cm avständ frän din kropp (se bilden nedan). Antennen fär inte innehälla metall och du sca placera encheten på ovannämnda avständ frän kroppen. Anslutningen till natverket måste vara av Hög kvalitet fort att overförngen av datafiler eller meddelanden ská lyckas. I vissa fall kan overförngen av datafiler eller meddelanden fördröjas till dess att anslutningen ar tillräckligt stark. Var noga med att observera ovannämnda sakerhetsavstand tills over Föringen ár klar. Vissa delar av datorn ár magnetiska. Föremål av metall kan dras till datorn och personer med hörapparat bör inte hälla datornnecta orat nrhörapparaten ár isatt. Placera inte kreditkort ell erandamagnetiska lagringsmedier na ra encheten eftersom informationen på dem kan bli raderad.
Medicinsk utrustning
All utrustning med radiosändare inklusive trådlösa Telefoner kan Förorsaka Funktionstörninger hos otillräcklig skyddade medicinska apparater. Rådfråga en lakare eller den medicinska apparatens tillverkare for att ta reda på om apparaten ar tillräcklig skyddad frän extern RF-energi eller om du har andra frågor. Stäng av encheten när du befinner dig på värdinrättningar med skyltar som uppmanar om detta. På sjukhus och andere värdinrättningar kan det finnas utrustning som ar kānslig for externa RF-oversforingar.
Pacemaker. Pacemakertillverkare rekommender ertt minsta sakerhetsavstandpå 15,3 centimeter mellan apparater for trådlös overforing och en pacemakerfor att motverka risken for störningar av pacemakern. Dessarekommendationer stöds av oberoende forsknig och stämmer medrekommendationerna frän organisationen Wireless Technology Research. Den som har pacemaker bør tänka på foljande:
Häll alltid encheten på minst 15,3 centimeters avständ frän pacemakern.
- För inte encheten i narheten av pacemakern Near datorn År på. Om du misstänker störningar skä du stänga av datorn och flytta på den.
Hörapparater. Vissa digitala trädlösa apparater kan Förorsaka störningar i vissa hörapparater. Kontakta din tjänsteleverantör om störningar uppSTAR.
Fordon
RF-signaler kan påverka felaktigt installerad erller otillräcklig skärmad elektronik i motorfordon, t.ex. elektroniska insprutningsystem, elektroniska antisladdsystem (ABS-bromsr), elektroniska farthällare och luftkuddar. Kontakta fordonets/tilläggusutrustningens tillverkare erlen anfterforsäljare. Endast behörig personal fär utföra service på,enheten erller montera den i en bil.Felaktig montering erler service kan vara farligt och upphäva eventuilla garantier som encheten tacks av.Kontrollera regelbundet att all tradlos utrustning i fordonet ar korrekt monterad och fungerar.Forvara och bär inte antändliga vātskor, gaser erller explosiva material i samma utrymme som encheten, dess delar erller tillbehör.Den som använder ett fordon med krockkuddar bör komma ihåg att krockkuddarna blåses upp hastigt och med stor kraft. Placera inga foremål, inklusive installerad erller bärbar tradlos utrustning i området ovenfor krockkudden erler i krockkuddens utlosningszon. Felaktigt installerad tradlos utrustning i fordonet nar krockkudden loser ut kan fororsaka allvarliga skador.Det ar forbjudet att安娜 encheten under flyngninger.Stäng av encheten innan du gár ombord på ett flygplan. Att安娜 tradlos kommunikationsutrustning vid flyngninger kan innebära fara for flyg planets styrsystem, stora natverket for tradlos telefoni och utgöra ett lagbrott.
Potentielt explosiva miljöer
Stäng av encheten i områden med potentiellt explosiv miljö och följ alla skyltar och instruktioner. Potentiellt explosiva miljöer ompattar områden)dur du i normalfall fär en uppmaning om att stänga av bilmotorn. Gnistor i sādana områden kan orsaka explosion erler brand, vilket kan resultera i kroppsskador och till och med dödsfall. Stäng av den barbara datorn i narheten av bensinpumperpå bensinstationer.Följ restriktioner angäende användning av radioustrustning i bränstedepær, forvarings- och distributionsområden, kemiska anlaggninger erller darr sprängningsarbeten pâbär. Områden med potentiellt explosiv miljö ar ofta men inte alltid markerade.Det kan rora sig om under dack pa batar, anlagninger for transport ell erforvaring av kemikalier, fordon som anvander kondenserad petroleummas (t.ex. propan eller butan) och områden darr luften innehäller kemikalier ell partiklar som fibrer, damm ell ermetallpulver. Starta inte den barbara datorn darr användning av mobiltelefoner ar forbjuden ell darr den kan orsaka störningar ell fara.
Nödsamtal
Varning! Du kan inte ringa nödsamtal medenna enchet. For nödsamtal mäste du använda en mobiltelefon eller annan typ av Telefon.
Instruktioner for kassering
Kasta inte den elektroniska encheten i soporna vid kassering. För att minska fororeningarna och skydda vår gemensamma världsmiljö bö du Återvinna utrustningen. Mer information om elektrisk och elektronisk avfallsutrustning (WEEE) finns på http://www.acer-group.com/public/Sustainability/sustainability01.htm.

Råd angående kvicksilver
For projetorer med glödlampa inuti aller elektroniskaprodukter som innehäller en iced-LED-bakgrundsupplyst LCD/CRT monitor eller bildskärm: Lampan/lamporna i Produkten innehäller kvicksilver och måste Återvinnas eller kasseras i enlighet med lokal, statlig eller federal lagstiftning. Om du vill ha mer information kontaktar du

Electronic Industries Alliance paa www.eiae.org. Besok www.lammprecycle.org for information om hantering av lampavfall.
ENERGY STAR

Acers ENERGY STAR-märktaprodukter hjälper dig att sparapengar genom att minska energikostnaden och skydda miljönutan att for den skull gora avkall på Funktionalitet ellerprestanda. Acer ar stolta over att kunna erbjuda vara kundermärkta med symbolen ENERGY STAR.
Vad ar ENERGY STAR?
Produkter som uppyller kraven for ENERGY STAR-märkning anvander minde energi och forhindrar utslapp av vaxthusgaser genom att uppfylla strangarikrtlinjer for effektiv energianvanding som utarbetats av USA:s miljömyndighet EPA. Acer ar starkt engagerade i att erbjudaprodukter och tjänster over hela världen som hjälper vara kunder spara pengar och energia och i att forbättra vår gemensamma miljö. Ju mer energia vi kan spara genom effektivare energianvanding,esto mer kan vi minsa mangden vaxthusgaser och riskerna med klimatforändring. Mer information finns pa http://www.energystar.gov och http://www.energystar.gov/powermanagement.
Acers ENERGY STAR-märktaprodukter:
- Avger mindre värme och minskar både kylningsbehov och klimatuppärmningen.
Försätts automatiskt i lagena "skärmvila" och "datorvila" after 10 respektive 30 minuters inaktivitet.
Väck datorn frän viloläge genom att trycka på tangentbordet eller röra på musen. - Datorer sparar over 80% energia;när de ar försatta i viloläge.
ENERGY STAR och ENERGY STAR-market ar registrarade marken i USA.
Tips och information För komfortabel användning
Datoranvändare kan drabbas av ansträngda ögon och huvudvärk after langvarig användning. Användare riskerar även fysiska skador after manga timmars arbete framfor en dator. Långa arbetsperioder,DSLig hällning,DSLiga arbetsvanor, stress, olämpliga arbetsforhällanden, personlig hälsa och andra faktorer ökar på att betydande satt risken for fysiska skador.
Felaktig datoranvändning kan leda till karpaltunnelsyndrom, tendonit, tenosynovit aller andra muskuloskelettala rubbningar. Följande symptom kan uppträdi händere, handleder, armar, axlar, nacke eller rygg:
domningar aller en brannande aller stickande kansla
vark ell er omhet
smarta,svullnad ellere n bultande kansla
stelhet ellerspandhet
- köld eller svaghet
Om du har dessa symptom aller andra Återkommande aller ihällande obehag och/eller smärta som hänfor sig till datoranvändning kontaktar du en lakare omedelbart och informerar ditt foretags hälo- och sakerhetsavdelning.
I foljande avsnitt finns tips om mer komfortabel datoranvändning.
Hitta en komfortabel arbetsställning
Hitta en bekvam arbetsställing genom att justera bildskarmens vinkel,** använda ett fotstöd aller höja sitthöjden für att uppnå mesta möjiga komfort. Lagg marke till foljande tips:
avstá frán att ha samma kroppställning under lang tid
undvik att sjunka framåt och/eller luta dig bakåt
- ställ dig upp och gå en sväng regelbundet für att ta bort pafrestningen på benmusklerna
- ta korta pauser För att lata nacken och axlarna slappna av
undvik att spanna musklerna eller rycka på axlarna
- placera en extern bildskärm, tangentbord och mus på rätt satt och inom bekvamträckhäll
- om du tittar på bildskärmen mer øn på dokument placer du den mitt på skrivbordet for att minimera pafrestninger på napken
Skot om din syn
Många timmar framfor skärmen, använding av felaktiga glasögon aller kontaktlinser, reflexer, für stark rumsbelysning, skärmar med dālig skärpa, mycket smä teckensnitt och skärmar med lög kontrast kan vara pafrestande für ögonen. I foljande avsnitt finns förslag om hur man minskar ögonansträngningen.
XII
Ogon
Vila ögonen ofta.
- Ge dina ögon regelbundna pauser genom att titta bort是从 bildskärmen och fokusera på en avlågsen punkt.
- Blinka ofta für att Förhindra att ögonen blir uttorkade.
Bildskärn
Håll bildskärmen ren.
- Håll huvudet på en högre nivaän bildskarmens övre kant sä att ögonen ar nedátriktade nar du tittar på bildskarmens mittpunkt.
- Justera bildskärmens ljusstyrka och/eller kontrast till en komfortabel niva För att texten skagå lättare att lasa och for att fátydligare grafik.
- Eliminera reflexer och reflektering genom att:
- placera bildskärmen på att sändant satt att sidan är vänd mot fönstret aller en ljuskälla
- minimera rummets ljus genom att anvanda gardiner, rullgardiner aller persienner
- - - - - - - - - andra bildskarmens vinkel
- anvanda ett reflexfilter
-
använda ett bländningsskydd, till exemplen en kartongbit som sträcker sig ut over bildskarmens övre, främre kant
-
Undvika att justera bildskärmen på att betraktningsvinkeln inte är behaglig.
- Undvik att titta på ljusa ljuskällor, till exempel öppna fönster, under en langre tidssperiod.
Utveckla goda arbetsvanor
Utevecka foljande arbetsvanor for att gora datoranjndningen mer avslappnad och produktiv:
- Ta korta pauser regelbundet och ohta.
Gör stretchningsövningar.
Andas frisk luft sa ofta som mojligt.
Motionera regelbundet och bibehall en frisk kropp.

Varning! Vi rekommender ar inte att datorn används i en soffa eller sang. Om det inte gär att undvika bör du bara arbeta under korta perioder, ta paus ofta och göra strechningsövningar.

Obs: Se "Notis om sakerhet och overensstammelse med regelverk" på sidan 35 für mer information.
Välkommen!
Vi vill tacka für att du har valt en bärbar Acer-dator som kommt att uppfylla dina krav på bärbar datorbehandling.
Dina handböcker
Vi har tagit fram en uppsätting guider som hjälp vid användning av din bärbara Acer-dator:
Till att börja med finns instruktionsfoldern Börja med att lasa detta... som hjälper dig komma igäng med installationen av datorn.
Den Allmän användarguide für TravelMate-serien innehäller användbar information som gäller alla modeller i TravelMate-produktserien. Den omfattar grundläggande ämnen som Acer eRecovery Management, användning av tangentbordet, ljud, osv. Var medveten om att Allmän användarguide samt AcerSystem User Guide som nämns nedan till földj av sin natur d' och dà hänvisar till Funktioner som bara finns i vissa av seriens modeller men inte nödvändigtvis i den modell som du harköpt. Sādana exempl markeras i texten med fraser som "endast für vissa modeller".
I den Snabbguide presenteras de grundläggande Funktionerna i dinnya dator. Mer information om hur datorn kan hjälpa dig att bli mer produktiv finns i AcerSystem User Guide. Denna handbok innerhäller detaljerad information om ämnen som systemverktyg, dataäterhamtning, expansionsalternativ och felsökning. Dessutom innerhäller den garantiinformation och allmanna regler, damit sakerhetsnoteringar om din barbara dator. Den ar tillganglig i Portable Document Format (PDF) och levereras Förinstallerad i den barbara datorn. Följ dessa steg for att fal tillgang till den:
1 Valj Start, Alla program, AcerSystem.
2 Dubbelklicka pa AcerSystem User Guide.

Obs: Du maste ha Adobe Reader installerat for att kunna visa filen. Om Adobe Reader inte ar installerat på datornkommen det att installeras när du dubbelklickar på AcerSystem User Guide. Utför installationen genom att folja instruktionerna på bildskärmen. Instruktioner für hur du använder Adobe Reader finns på menyn Hjälp och Support.
xiv
Anvisningar for skötsel och användning av datorn
Starta och stänga av datorn
Om du vill slå på datorn trycker du på av/på-knappen under LCD-skärmen bredvid snabbstartknapparna. Se "Snabbguide" om du vill se var Av/på-knappen ar placerad.
Du stänger av datorn på nagot av följande satt:
- Använd kommandot Stäng av i Windows
Klicka på Start och sedan på Stäng av.
Använd av/pa-knappen
Ställ datorn i vänteläge genom att använda snabbtangentkombinationen

Obs: Om det inte går att stänga av datorn på vanligt sätt kan du stänga av den genom att hälla av/på-knappen intryckt i minst fyra sekunder. Om du har stängt av datorn och vill slå på den igen;bör du vänta minst två sekunder innan du startup den.
Datorns skötsel
Om du sköter om datornkommen den att fungera problemfritt under lang tid.
- Utsatt inte datorn für direkt solljus. Placera den inte nara värmekällor, till exempel element.
- Utsatt inte datorn für temperaturer under 0^ (32°F) aller über 50 °C (122°F).
- Utsatt inte datorn für magnetfält.
- Utsatt inte datorn für regn aller fukt.
Spill inte vatten aller annan vatska pada datorn. - Utsatt inte datorn für kraftiga stöter aller vibrationener.
- Utsatt inte datorn für damm och smuts.
- Placera aldrig foremål på datorn.
Slä inteigen locket,utan stäng det fösiktigt.
Placera aldrig datorn pa ett ojemnt underlag.
Skötsel av nätadaptern
Nedan följer nagra tips att tänka på für natadaptern:
Anslut inte adaptern till nàgon annan apparat.
Trampa inte på natsladden och placera aldrig tunga foremål på den. Placera alltid natsladden och andra kablar på undanskymda ställen.
- Dra alltid i kontakten, inte i sladden, nar natsladden ska dras ut.
- Den totala strömforbrukningen für uutrustningen fär inte överstiga den högsta tillatna strömmen für eventuella forlängningskablar. Dessutom fär inte den totala strömforbrukningen hos uutrustning som ansluts till ett eluttag överstiga den effekt som strömkretsen säkrats till.
Nedan följer nagra tips gällande skötseln av batteriet:
- Byt bara batteri till ett av samma typ. Stäng alltid av strommen innan du tar bort eller byter ut batteriet.
- Försök aldrig öppna eller på annat sätt góra äverkan på batteriet. Förvara alltid batteriet utom räckhäll for barn.
Gör dig alltid av med batteriet enligt gällande lokala foreskrifter. Om möjglich börd det ätervinnas.
Rengöring och service
Sà hār rengör du datorn:
1 Stäng av datorn och ta bort batteriet.
2 Koppla bort natadaptern.
3 Använd en mjuk, fuktad duk. Använd inte flytande rengöringsmedel aller sprejer.
Om nagot av foljande intraffar:
du har tappat datorn ellr skadat holjet
- datorn fungerar inte korrekt
Se "Vanliga frägor" på sidan 31.
Information for din sakerhet och komfort iii
Sakerhetsinstruktioner iii
Råd angående kvicksilver
ENERGY STAR
Tips och information for komfortabel användning xi
Välkommen! xiii
Dina handbcker xiii
Anvisningar for skötsel och användning av datorn xiv
Starta och stanga av datorn xiv
Datorns skötsel xiv
Skötsel av nätadaptern XV
Skötsel av batteriet XV
Rengöring och service XV
Pekplatta 1
Grunder for använding av pekplattan
(med fingeravtrycksläsare) 1
Grunder for använding av pekplattan
(med två klickknappar) 2
Anvanda tangentbordet 3
Låstangenter och den inbyggda numerisk
knappsaten* 3
Windows-tangenter 4
Ljud 5
Acer PureZone (ndast for vissa modeller) 5
Video 5
16:9-visning (ndast for vissa modeller) 5
Anvanda systemverktyg 6
Acer Bio-Protection
(endast for vissa modeller) 6
Bränna skiva med sakerhetskopia 10
Aterställning 11
Återställa Windows från skivor med sakerhetskopior 12
Batteripaket
14
Maximera batteriets livslängd 14
Montera in och ur batteriet 15
Ladda batteriet 16
Kontrollerabatterinivå 16
Optimerabatteriets livslängd 16
Koppla bort utrustningen 18
Flytta datorn 18
Forbereda datorn 18
Vad du bör ta med dig till moiten 19
Ta med datorn hem 19
Forbereda datorn 19
Vad du bör ta med dig 19
Installera ett hemmakontor 20
Resamedatorn 20
Forbereda datorn 20
Vad du borb ta med dig 20
Vad du borb ta med dig 21
Inbyggda natverksfunktioner 25
Universellseriebuss(USB) 25
IEEE 1394-port (endast for vissa modeller) 26
High-Definition Multimedia Interface (HDMI)
(endast for vissa modeller) 26
ExpressCard (endast for vissa modeller) 27
Installera minne 28
BIOS-installingarna 29
Bootsekvens 29
Aktivera disk-to-disk recovery 29
Lösenord 29
Anvanda programvara 30
SpelauppDVD-filmer 30
Vanliga frågor 31
Bestalla service 33
Notis om sakerhet och overensstammelse med regelverk 35
Meddelande fran FCC 35
Modemanmärkninger (endast for vissa modeller) 36
LCDpixelanmärkning 36
Foreskrifter for enheter for radiotrafik 36
Allmänt 36
Sakerhetsforeskrifter fran FCC 37
Kanada - licensesfria lageffektsenheter for radiokommunikation (RSS-210) 38
Radiostrålning - exponering av personer (RSS-102) 38
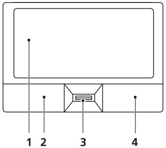
Den inbyggda pekplattan ar en pekenhet som känner av rörelser på ytan. Det betyder att pekaren svarar på fingretsrörelse nar du rör vid pekplattan. Handlovsstödets centrala placering ger optimal komfort och stöd.
Grunder För användning av pekplattan (med fingeravtrycksläsare)
Nedan beskrivs hur du anvander pekplattan med Acer Bio-Protection fingeravtryckslasare.
Flytta pekaren genom att flytta fingret over pekplattan (1).
Du kan markera objekt eller utföra Funktioner genom att trycka på vänster (2) och högerknappen (4) vid nedre kanten av pekplattan. De två knapparna funger som vänster- och högerknapparna på en mus. Att klicka med fingret på pekplattan har sama effekt som att klicka på vänster musknapp.

| Funktion | Vänster knapp (2) Höger knapp (4) Pekplatta (1) | Mitten knapp (3) |
| Utför | Klicka snabbt två gänger. | Tryck två gänger (med SAMMA hastighet som du dubbelklickar med en musknapp). |
| Markera | Klicka en gäng. | Tryck en gäng. |
| Dra | Klicka och häll ned, dra sedan pekaren genom att flytta fingret på pekplattan. | Tryck två gänger (med SAMMA hastighet som du dubbelklickar med en musknapp) och häll sedan kvar fingret på pekplattan after det andra trycket och dra pekaren. |
| Visa snabbmeny | Klicka en gäng. |
Grunder für användning av pekplattan (med två klickknappar)
Nedan beskrivs hur du anvander pekplattan med två klickknappar.
- Flytta pekaren genom att flytta fingret över pekplattan.
Du kan markera objekt eller utföra Funktioner genom att trycka på vänster och högerknappen vid nedre kanten av pekplattan. De två knapparna fungerar som vänster- och högerknapparna på en mus. Att klicka med fingret på pekplattan har samma effekt som att klicka på vänster musknapp.
| Funktion | Vänster knapp | Höger knapp | Pekplatta |
| Utför | Klicka snabbt två gänger. | Tryck två gänger (med sama hastighet som du dubbelklickar med en musknapp). | |
| Markera | Klicka en gäng. | Tryck en gäng. | |
| Dra | Klicka och häll ned, dra sedan pekaren genom att flytta fingret på pekplattan. | Tryck två gänger (med sama hastighet som du dubbelklickar med en musknapp) och höll sedan kvar fingret på pekplattan after det andra trycket och dra pekaren. | |
| Visa snabbmeny | Klicka en gäng. | ||

Obs: Illustrationerna År endast avsedda För referensändamål. Den exakta konfigurationen i din dator beror på vilken modell du harköpt.

Obs: Håll pekplattan ren och torr och använd den bara nar dina fingrar ar rena och torra. Pekplattan ar känslig für fingerrörelser. Det betyder att lättare beröring ger bättre respons. Pekplattan svarar inte bättre for att du trycker hardsare på den.

Obs: Vertical och horisontell bläddring ar aktiverad i pekplattan som standard. Den kan avaktiveras under musinställningarna i Windows kontrollpanel.
Anvanda tangentbordet
Tangentbordet har normalstora tangenter och en inbyggd numerisk knappsats*, separata markortangenter, Windows-tangenter, Funktionstangenter och specialtangenter.
Låstangenter och den inbyggda numerisk knappsatsen*
Tangentbordet har tre lastangenter som du kan sla av och pa.
| Låstangent | Beskrivning |
| Caps Lock | När skiftlåset (Caps Lock) är aktiverat skrivs alla bokstäver med versaler. |
| NumLk <Fn> + <F11>* | När det numeriska låset (NumLk) är aktiverat befinner sig den inbyggda knappsatsen i numeriskt läge. Tangenterna fungerar som en miniränkare (kompletted me dat matematiska symbolerna +,-,* och /). Du kan använda det lögget när du skata mata in en stor mängd sifferdata. Ett bättre alternatively är att ansluta en extern knappsats. |
| Scr Lk <Fn> + <F12> | När rullningslåset (Scr Lk) är aktiverad flyttas skärmbilden en rad uppät eller nedät när du trycker på upp- eller nedpilen. Den här Funktionen fungerar inte med alla program. |
Den inbyggda numeriska knappsatsen fungerar ungefär som den numeriska knappsatsen på ett tangentbord till en skrivbordsdator. Tangenterna utmärks av de små tecknen langst upp till höger. Markörtangenternas symboler ar inte tryckta på tangenterna eftersom det i sö fall skulle blvval-digit svårt att tyda dem.
| Önskad användning | NumLk lås aktiverat | NumLk lås inaktiverat |
| Siffertangenter på den inbyggda knappsatsen | Skriv siffrør på vanligt sätt. | |
| Markörtangenter på den inbyggda knappsatsen. | Häll ned < >)när du trycker på markörtangenterna. | Häll ned <Fn>)när du trycker på markörtangenterna. |
| Huvudtangenter | Häll ned tangenten <Fn>när du skriver bokstäver på den inbyggda knappsatsen. | Skriv bokstäver på vanligt sätt. |
På tangentbordet finns två tangenter som kan användas for att utföra Windows-specifika Funktioner.
| Tangent | Beskrivning |
| Windows-tangent | När den ensam trycks ned, har den här knappenammafunktion som Start-knappen i Windows startmeny.Kombinationer med andra tangenter utforgenvägsfunktioner. Nedan följer nagra exempl: |
| < >: Öppna eller stänga Startmenyn | |
| < >: + <D>: Visa skrivbordet | |
| < >: + <E>: Öppna Utforskaren i Windows | |
| < >: + <F>: Söka after en fil erler mapp | |
| < >: + <G>: Växla mellan hjälpredor i sidofåltet | |
| < >: + <L>: Låsa datorn (om du ar ansluten till ennätverksdomän) eller växla användare (om du inte ar anslutentilen nätverksdomän) | |
| < >: + <M>: Minimera alla fönster | |
| < >: + <R>: Visa dialogrutan Kör | |
| < >: + <T>: Växla mellan programmen i aktivitetsfältet | |
| < >: + <U>: Öppna Ease of Access Center | |
| < >: + <X>: Öppna Windows Mobility Center | |
| < >: + <Break>: Visa dialogrutan Systemegenskaper | |
| < >: + < ↑+M>: Återställa minimerade fönster tillskrivbordet | |
| < >: + <K->: Växla genom programi aktivitetsfältet medhjalp av Windows Flip 3-D | |
| < >: + <BLANKSTEG>: Visa alla hjälpredor länger fram ochvälja Windows Sidebar | |
| <Ctrl> + < >: Söka after datorer (om datorn finns iett nätverk) | |
| <Ctrl> + < >: Använd piltangenterna für att växlemellan programmen i aktivitetsfältet med hjälp av WindowsFlip 3-D | |
| Obs: Beroende på din version av Windowskanske vissa genvägar inte fungerar enigtbeskrivningen. | |
| Programtangent | Den här tangenten gört somma sak som att klick på högermusknapp,{nameligen öppnar programmets snabbmeny. |
Ljud
Datorn levereras även med 32-bitars High-Definition-ljud (HD) ljud- och högtalar.
Acer PureZone (ndast für vissa modeller)
Systemet ger dig en helt ny, entusiastisk ljudupplevse tack vare Acer PureZone med inbyggda stereomikrofoner och teknik for lobformning och ekoeliminering. Acer PureZone-teknik har stod for eliminering av akustiska ekon, lobformning och brusreducing for inspelning av rent ljud. Om du vill stalla in mikrofonen kör du Acer HD Audio Manager genom att dubbelklicka på ikonen Acer HD Audio Manager i systemfältek i ditt Windows-system.
Dialogrutan Acer HD Audio Manager visas. Klicka på fliken mikrofon och sedan på fliken mikrofoneffekter. Markera lobformnng och eliminering av akustiska ekon for att stalla in mikrofoneffekten.

Obs: Avaktivera lobformning om du vill anvanda inmatning fran flera ljudkallor.
Video
16:9-visning (ndast for vissa modeller)
16:9-visning ger filmvisning med fullständig HD i hemmet som aldrig forr. Skyhög färgmättnad garanterar en autentisk HD-visningsupplevelse. 16:9-kvalitet innebär att verklig hemmabiotänsla äntligen har blivit verklighet for entusiaster inom bärbar datorunderhällning.
Använda systemverktyg
Acer Bio-Protection
(endast För vissa modeller)
Acer Bio-Protection Fingerprint Solution (Acer Bio-Protection
fingeravtryckslösning) ar étting fingeravtrycksprogrampaket for allroundbruk som har integrerats i operativsystemet Microsoft Windows. Genom att utnyttja att alla fingeravtryck ar unika har Acer Bio-Protection Fingerprint Solution införlivat skydd mot obehörig ötkomst till din dator med centraliserad lösenordshantering via Password Bank, damit snabb start av och inloggning i program/på webbplatser med Acer FingerLaunch.
Med Acer Bio-Protection Fingerprint Solution (Acer Bio-Protection
fingeravtryckslösning) kan du nu glädja dig Åt extra skydd für din persondator, savál som bekvämligeheten med att få tillgang till dina daglia uppgifter genom ett enkelt drag med fingret!
Mer information finns i hjälpifilerna till Acer Bio-Protection.

Acer Backup Manager

Obs! Denna Funktion finns endast tillganglig for vissa modeller.
Acer Backup Manager utgor en enkel trestegslösning som ger dig mölighet att skapa sakerhetskopior av hela din dator erer utvalda filer och mapperpar enligt ett schema, eller enligt dina personlga onskemål.
Starta Acer Backup Manager genom att trycka på Acer Backup Manager-tangenten ovanfor tangentbordet. Alternativt kan du gå till Start > Alla program > Acer Backup Manager > Acer Backup Manager. Våkkommenskärmen öppnas; HARIFRAN guidas du genom de tre stegen som krävs for att ställa in schemalagda sakerhetskopior. Klicka på Fortsätt for att fortssatta till följande skärm. Klicka på knappen + och följ instruktionerna på skärmen:
1 Välj det innehäll du vill sakerhetskopiera. Ju mindre innehäll du valjer,除去fortare gär processen, men risken forfust av data ökar.
2 Välj var du vill spara sakerhetskopierna. Du måste välja en extern enchet ell er ent H: i datorn. Acer Backup Manager kan inte lagra en sakerhetskopia på källenheten.
3 Välj hur ofta du vill att Acer Backup Manager ska skapa sakerhetskopior.
När du har slutfort dessa tre steg skapas sakerhetskopior enigt schemat. Du kan även skapa sakerhetskopior manuellt genom att trycka på Acer Backup Manager-tangenten.
Om du nàgon gāng vill äandra inställningarna kör du bara Acer Backup Manager fran Start-menyn och utfor de steg som beskrivs oven.

Strömsparfunktioner
Datorn har inbyggda Funktioner for strömhantering som övervakar systemaktiviteten. Systemaktiviteten avser all aktivitet som omfattar en erler flera av foljande encheter: tangentbord, mus, härddisk, kringutrustning som anslutits till datorn, samt videominne. tangentbord, mus, härddisk, kringutrustning som anslutits till datorn, samt videominne. Om ingen aktivitet kan kännas av under en viss tidssperiod (tidsgränsen for inaktivitet överskrids) avbryter datorn vissa av aller alla de här systemaktiviteterna für att spara energia.
Datorn anvanderett strömsparscHEMA som stoder Advanced Configuration and Power Interface (ACPI),viket ar den mest effektiva kombinationen av ekonomi och prestanda. Windows hanterar alla strömsparatgärder for datorn.
Acer PowerSmart-tangent

Obs: Denna Funktion finns endast tillganglig for vissa modeller.
Acer PowerSmart-tangenten utnytjar energiasparfunktionerna i datorns grafiksubsystem for att minska den totala strömforbrukningen. När du trycker på knappen Acer PowerSmart minskas skärmens lusstyrka och grafikkortets hastighet medan PCI och WLAN växlar till sina energiasparlägen. Tryck på Acer PowerSmart-tangenten igen für att ätergå till de tidigare installngarna.
Acer eRecovery Management ar ett verktyg som snabbit Återställer operativsystemet. Det går även att sakerhetskopiera/Återställa systemet med en imagefil på skiva av operativsystemet i ursprungligt skick, och ominstallera program och drivrutiner.

Obs: Allt innehåll som foljer År endast avsett som allmän referens. De verkligaproduktspecifikationerna kan variera.
Acer eRecovery Management har dessa functiorer:
1 Sakerhetskopiering:
Skapa skiva med fabrikinställningarna
Skapa skiva med drivrutiner och program
2 Aterställning:
Fullständig systematerställning till fabrikinstallingarna
Aterställ operativsystemet men spara användardata
- Ominstallera drivrutiner eller program
I detta kapitel hittar du en stegvis beskrivning av varje process.

Obs: Denna Funktion finns endast tillganglig for vissa modeller. Om din dator saknar inbyggd CD/DVD-brannare ansluter du en extern CD/DVD-brannare innan du startar Acer eRecovery Management for att utfora Åtgårder relaterade till optiska skivor.
Du maste ange lösenerdet om du vill använda Funktionen für lösenerordsskydd i Acer eRecovery Management für att skydda dina data. Lösenerdet anges genom att starta Acer eRecovery Management och klicka på Inställningar.

Bränna skiva med sakerhetskopia
Frän sidan für sakerhetskopiering i Acer eRecovery Management kan du bränna fabrikssstandardbilden eller sakerhetskopiera drivrutiner och program.
1 Välj Start, Alla program, Acer, Acer eRecovery Management.
2 Acer eRecovery Management öppnas med sidan Säkerhetskopiering.

3 Välj den typ av sakerhetskopia (fabriksiiställninger erller drivrutiner och program) som du vill bränna på en skiva.
4 Folj anvisingarna på skärmen for att slutföra processen.

Obs: Välj alternatively Factory Default Image om du vill bränna en startskiva som innehäller datorns hela operativsystem i det skick det befann sig när det levererades frän fabriken. Om du vill ha en skiva som ger dig möjlicht att se innehället och installerera vissa drivrutiner och program skapar du en sakerhetskopia av drivrutiner och program istället - den här skivan ar ingen startskiva.
Återställning
Funktionen for Återställning läter dig Återställa systemet frän en imagefil med fabrikinstallingar frän en imagefil skapad av en användare, eller frän tidigare sakerhetskopior på CD eller DVD. Du kan även installerera om program och drivrutiner for din Acer-dator.
1 Välj Start, Alla program, Acer, Acer eRecovery Management.
2 Växla till sidan Återställ genom att klicka på Återställ.

3 Du kan välja att Återställa systemet från en imagefil med fabriksiiställningarna eller installera om program och drivrutiner.
4 Folj anvisingarna på skärmen for att slutföra processen.
Återställa Windows från skivor med sakerhetskopior

Obs: Denna Funktion finns endast tillganglig for vissa modeller.
Om du vill Återställa Windows från skivor med sakerhetskopior söter du i den Första skivan och aktiverar F12 Bootmeny via BIOS-inställingarna.
1 Starta datorn och satt i den forsta skivan for systematerställning i den optiska diskenheten. Starta om datorn.
2 När datorn startar och Acer-logotypen visas trycker du på knappen F2 och anger BIOS-inställningar)där du kan ange systemparametrar.
3 Använd knapparna med vänster- och högerpil För att välja untermenyn Huvudsida.
4 Använd knapparna med upp- och nedpil for att valja F12 Bootmeny.
5 Använd knappen F5 aller F6 für att äandra F12 Bootmeny till Aktiverad.
6 Tryck på knappen ESC for att gå til untermenyn Avsluta och tryck på knappen ENTER om du vill Avsluta och sparaändringar. Tryck på knappen ENTER igen for att välja Ja. Systemet startup om.
7 När systemet startas om och Acer-logotypen visas trycker du på knappen F12 for att öppna Bootmenyn. Här valjer du vilken,enhet starten sca ske från.
8 Använd pilknapparna für att välja IDE1* och tryck sedan på knappen ENTER. Windows installeras是从 Återställningssskivan.
9 Satt i den andra Återställningsskivan när du fär en uppmaning om det och följ sedan anvisingarna på skärmen for att slutföra Återställningen.
10 Ta bort Återställningsskivan frän den optiska encheten nar Återställningen ar klar. Gör det innan du startup om datorn.
Om du foredrar att stalla in startprioriteten for langsiktig användning bör du valja untermenyn Boot.
1 Starta datorn och satt i den forsta skivan for systematerställning i den optiska diskenheten. Starta om datorn.
2 När datorn startar och Acer-logotypen visas trycker du på knappen F2 och anger BIOS-inställningar)där du kan ange systemparametrar.
3 Använd knapparna med vänster- och högerpil für att valja untermenyn Boot.
4 Använd knapparna med upp- och nedpil for att välja encheten IDE1.
5 Använd knappen F6 für att flytta encheten IDE1 till högsta startprioritet aller knappen F5 für att flytta andra encheter till en lagre startprioritet. Se till att encheten IDE1* har högsta prioritet.
6 Tryck på knappen ESC for att gå til untermenyn Avsluta och tryck på knappen ENTER om du vill Avsluta och sparaändringar. Tryck på knappen ENTER igen for att välja Ja. Systemet startup om.
7 Windows installers fran Återställningssskivan när du startar om.
8 Satt i den andra Återställningsskivan när du fär en uppmaning om det och följ sedan anvisingarna på skärmen for att slutföra Återställningen.
9 Ta bort Återställningsskivan från den optiska encheten nar Återställningen ar klar. Gör det innan du startup om datorn.
Batteripaket
Datorn drivs av ett batteri som ger lang användningsid mellan laddningarna.
- Anvander modern battteritekologi och standarder.
- Varnar om dā batterinivān ār lāg.
Varje gäng du ansluter datorn till elnätet med natadaptern laddas batteriet. Datorn stöder laddning vid användning, sä att du kan arbeta med datorn även dä den laddar. Det gär dock betydligt fortare att ladda batteriet dä datorn ar avständg.
Batteriet ar bra att ha dà du reser, eller vid strömavbrott. Vi rekommenderar att du har att fulladdat batteri tillgangligt i reserv. Kontakta din Återförsäljare För information om beställning av extra batteripaket.
Maximera batteriets livslängd
I likhet med alla batterierkommen din dators batteri att forsamras med tiden. Detta innebär att batteriets prestandakommen att minska med tid och användning. Rekommendationerna nedan ar till for att Förlänga batteriets livslängd.
Forbereda ett nytt batteripaket
Innan du anvanderett batteripaket forforsta gangen ske du lata det genomgavissa forberedelser:
1 Satt i batteriet i datorn. Sla inte pà datorn.
2 Anclesut nätadaptern och ladda upp batteriet till max.
3 Koppla frän nätadaptern.
4 Slå på datorn och använd den under batteridrift.
5 Ladda ur batteriet fullstandift tills du fär en varning om låg batterinivå.
6 Återanslut nätadaptern och ladda upp batteriet till max igen.
Genomga denna procedur tills batteriet laddats upp och ur fullständigt tre ganger.
Använd den har proceduren med alla nya batterier, eller for batterier som inte har anvånts på进展情况. Om datorn ska stå oanvänd i mer øn vå veckor skall du avlågsna batteriet frän,enheten.

Varning: Utsatt aldrig batterier for temperaturer under 0^ (32°F) aller over 45^ (113°F). Extrema temperaturförhällanden kan orsaka allvarlig skada på batteripaketet.
Dà du genomför forberedelseproceduren fürett batteri forbereds det att kunna laddas upp till maximal niva. Om du inte foljer denna procedurkommen du inte att kunna ladda upp batteriet maximlt, ochkommen ocksà att førkorta batteriets effektiva livslängd.
Dessutom pavrkas batteriets livslängd negativt av foljande användningsmönster:
- Att alltid driva datorn med nätström på batteriet är insatt. Om du vill använda nätström konstant rekommenderar vi dig att avlågsna batteripaketet after att det är helt uppladdat.
Att inte ladda upp och ur batteriet till max, som beskrivs oven. - Flitig användning - ju oftare du använder batteriet,arto fortarekommen dess effektiva livslängd att ta slut. Ett vanligt datorbatteri har en kapacitet pa ungefär 300 laddninger.
Montera in och ur batteriet

Viktigt! Innan du tar ur batteriet ur datorn maste du ansluta nătadaptern om du vill fortşatta anvanda datorn. Annars ska du stanga av datorn Först.
Gör sá har För att montera i ett batteripaket:
1 Placera batteriet ovanfor batterifacket, och kontrollera att den kontaktforseddaänden gär i Först, och att batteriets ovensida pekar uppát.
2 För in batteriet i batterifacet och tryck försiktigt till dess batteriet lasser sig på plats.
Gör sā har for att montera urett batteripaket:
1 For batterisparren at sidan for att losgora batteriet.
2 Tag ut batteriet fran batterifacket.
Ladda batteriet
Se till att batteriet ar korrekt installerat i batterifacet innan du pabörjar laddning. Anslut natadaptern till datorn, och anslut den andra ändan till natuttag. Du kan fortsätta kora datorn på natström medan batteriet laddar. Det gär dock betydligt fortare att ladda batteriet;när datorn ár avständg.

Obs: Vi rekommederar att du laddar batteriet innan du avslutar dagens arbete. Ladda alltid batteriet over nattenRARY du sca ge dig ut pa en resa, sa att det ar fulladdat nasta dag.
Kontrollera batterinivå
Energimätaren i Windows anger aktuell batterinivå. Vila markören ovanfor batteriikonen i aktivitetsfältet for att visa batteriets aktuella niva.
Optimera batteriets livslängd
Genom att optimera batteriets livslängd utnyttjar du batteridriften till fullo, forlänger laddnings/urladdningscykeln, och forbättrar laddningseffektiviteten. Vi rekommenderar att du foljer nedanstående anvisningar:
Kopett batteripaket att ha i reserv.
- Använd natström narrhelst på är möjligt, och reservera batteriet für användning "on the road".
- Ta ut PC-kortet om det inte används, eftersom det annars kommt att fortösätta dra energia (endast für vissa modeller).
- Forvara batteripaketet torrt och svalt. Rekommenderad temperatur ar 10^ (50°F) till 30^ (86°F). Högre temperaturer gör att batteriet självurladdar snabbare.
- Alltför flitig äteruppladdning minskar batteriets livslängd.
- Ta vãl hand om din nãtadapter och ditt batteri.
Varning om låg batterinivå
Var uppmärksam på energimätaren i Windows dà du använder batteridrift.

Varning: Anslut nătadaptern sà snart som möjlgit after varning om låg batterinivă. Dukommen att förlora information om batteriet laddas ur fullständigt sà att datorn stängs av.
Vid varning om langt batteri rekommenderar vi foljande tillvagagangssatt:
| Situation | Rekommenderad Åtgård |
| Nätadaptern och ett nätuttag finns tillgängliga. | 1 Anslut nätadaptern till datorn ochärefter till nättaget für strömförsörjning. |
| 2 Spara alla nödvändiga filer. | |
| 3 Återuppta arbetet. | |
| Stäng av datorn om du snabb vill ladda upp batteriet. | |
| Ett fulladdat batteripaket finns tillgängligt som reserv. | 1 Spara alla nödvändiga filer. |
| 2 Stäng alla program. | |
| 3 Avsleta operativsystemet För att stänga av datorn. | |
| 4 Byt batteripaket. | |
| 5 Slå på datorn och fortsätt ditt arbete. | |
| Nätadaptern eller nätuttag saknas. | 1 Spara alla nödvändiga filer. |
| 2 Avsleta alla program. | |
| 3 Avsleta operativsystemet För att stänga av datorn. | |
| 4 Avsleta operativsystemet För att stänga av datorn. | |
| 5 Slå på datorn och fortsätt ditt arbete. |
I det hare avsnittet fär du tips om saker som du bör tänka på;när du reser med eller flyttar datorn.
Koppla bort utrustningen
Sá här kopplar du bort externa tillbehör:
1 Spara alla öppna filer.
2 Ta ur alla typ er av media, disketter eller CD/DVD-skivor fran enheten/ encheterna.
3 Stang av datorn.
4 Stang bildskärmslocket.
5 Koppla bort sladden fran natadaptern.
6 Koppla bort tangentbordet, pekenheten, skrivaren, den externabildskärmen och andra externa encheter.
7 Om du har låst fast datorn med ett Kensington-lås kopplar du bort det ochså.
Flytta datorn
Om du flyttar datorn korta avständ, t.ex. mellan olica rum.
Förbereda datorn
Färe flytt av datorn stänger du och laser bildskärmsloket for att stalla datorn i vänteläge. Nu kan du på ett saktert satt ta med dig datorn nar du rör dig i byggnaden. Om du vill avbryta datorns vänteläge öppnar du bildskärmsloket och tryck därefter in av/pa-knappen och slapp upp den.
Om du sca flytta datorn till en kunds kontor eller till en annan byggnad kan du valja att stanga av datorn:
Klicka på Start och sedan på Stäng av.
Eller:
Ställ datorn i vänteläge genom att trycka på
När du vill använda datornigen lasser du upp och öppnar skärmen och trycker sedan på av/pa-knappen.

Obs: Om indikeringslampan for vanteläge inte lyser har datorn försatts i viloläge och därfor stängts av. Om ström indikeringslampan inte lyser men indikeringslampan for vanteläge lyser har datorn försatts i vanteläge. I báda fallen startup du upp datorn genom att trycka på och sedan släppa upp av/pa-knappen. Lagg marke till att datorn kan övergå i viloläge after en viss tid i vanteläge.
Vad du bör ta med dig tillmöten
Till relativt kortvariga moiten behover du formodligen bara ta med sjalva datorn. Till langre moiten, ellr纳税 Batteriet inte ar fulladdat, kan det vara klokt att ta med natadaptern sa att du kan ansluta datorn till ett eluttag i moteslokalen.
Om det inte finns nagra eluttag i rummet kan du minska strömforbrukningen genom att placera datorn i vänteläge. Tryck på
Ta med datorn hem
När du rör dig mellan kontoret och hemmet och vice versa.
Förbereda datorn
När du kopplat bort datorn från alla tillbehör gör du på foljande sätt:
- Kontrollera att du har tagit ut alla skivor och disketter frän lassenheterna. I annat fall kan encheternas läs- och skrivhuvuden skadas.
- Packa datorn i en skyddande vaska som forhindrar att den glider omkring och som dampar stoten om du skulle raka tappa den.

Varning: Packa inte foremål bredvid eller ovenpå datorn. Tryck på bildskärmsloket kan skada bildskärmen.
Vad du bör ta med dig
Om du inte redan har följande foremål hemma bör du ta med dem:
Nätadapter och natsladd
Den utskrivna Snabbguide
Specialanvisningar
Skydda datorn genom att följa nedanstående riktlinjerRARY du flyttar den mellan hemmet och arabetet:
- Minimera effekterna av temperaturskillnader genom att ha datorn hos diq.
- Om du maste stanna nagonstans ett langre tag och inte kan ta datorn med dig, bör du lamna den i bilens bagageutrymme sä att den inte utsäts for kraftig värme.
- Ändringar i temperatur och luftfuktigkeit kan ge upphov till kondens. Låt alltid datorn Återfå rumstemperatur och kontrollera att bildskärmen inte ar fuktig innan du slår på datorn igen. Om temperaturskillnaden ar störreän 10^ (18°F) bør du låta datorn sakcta Återfå rumstemperatur. Om det ar möjlg brd du lamna datorn i 30 minut er en miljö där temperaturen ligger mellan utomhustemperatur och rumstemperatur.
Installera ett hemmakontor
Om du ofta arbetar med datorn hemma kan det vara en bra idé att skaffa ytterligare en nätadapter. Om du skaffar en till nätadapter slipper du ta med nätadaptern varje gäng du flyttar datorn mellan hemmet och arbetet.
Om du anvander datorn hemma under en langre tid kan du även skaffa externt tangentbord, bildskärm eller mus.
Resa med datorn
När du flyttar datorn länge avständ, t.ex. frän arbetet till en kunds kontor eller vid lokala resor.
Förbereda datorn
Forbered datorn på samma satt som om du skulle ta med den hem. Kontrollera att batteriet ar laddat. Om du sca ta med datorn genom en sakerhetskontroll på en flygplats kan det blinodvändigt att satta på den.
Vad du bör ta med dig
Natatapter
Fulladdade reservbatterier
- Skrivardrivrutiner om du tänker använda en annan skrivare
Specialanvisningar
Forutom att folja riktlinjerna for transport av dator till hemmet bör du även tänka på foljande:
Ta alltid med datorn som handbagage.
- Om möjigt ber du sakerhetspersonal att undersöka datorn für hand. Rontgenapparaterna på flygplatser ar sökra, men for aldrig datorn genom en metalldetektor.
Undvik att utsatta disketter for handhällna metalldetektorer.
Resa utomlands med datorn
När du tar med datorn till andraalander.
Förbereda datorn
Vad du bör ta med dig
- Om du reser till att annat land kontrollerar du att spänningen i landets elnät och natadaptersladdens markspänning ar kompatibla. I annat fall skaffar du en kompatibel natsladd. Använd aldrig omvandlingsadaptrar.
- Om du ska använda modemet kontrollerar du att modemet och modemsladdenskontaktär kompatibla med Telefonatet i det land du reser till.
Säkra datorn
Datorn ar en kostsam investering som du maste sköta om. Lär dig hur du skyddar och sköter om datorn.
Sakerhetsfunktionerna omfattar hardsaru- och mjukvarulas - ett sakerhetslaks och losenord.
Anvanda ettdatorlås
Den barbara datorn levereras med en Kensington-kompatibel sakerhetsskara forett sakerhetslas.
Lagg en lásvajer runt ett fast foremål, t.ex. ett bord aller handtaget till en LAST skrivbordsláda. Sätt in laset i uttaget och lás det sedan genom att vrida om nyckeln. Vissa modeller ar dock nyckellosa.
Anvanda losenord
Du kan skydda datorn fran otillbörlig använding med tre losenord. Genom att skapa losenord kan du skydda datorn och data i den på olica nivaer.
- Übervakarlsenordet (Supervisor Password) fürhindrar obehörig användning av BIOS-installingarna. När det ställts in kan du inte använda BIOS-installingarnautan att Först ange losendet. Se "BIOS-installingarna" på sidan 29.
- Användarlösenordet (User Password) säkrar datorn mot obehörig användning. Om du kombinerar det hare lösenordet med lösenord for systemstart och ätergang frän viloläge fär du maximal säkerhet.
- Lösenord vid start (Password on Boot) säkrar datorn mot obehörig användning. Om du kombinerar det hare lösenordet med lösenord for systemstart och ätergang frän viloläge fär du maximal säkerhet.

Viktigt! Glöm inte övervakarlösenordet! Om du glömmer bort ett losenord måste du kontakta Återförsäljaren ell erett auktoriserat servicecenter.
Angelosenord
När ett losenord ar inställt visas en losenordsruta i mitten av skärmen.
- När övervakarlösenordet ar INSTALLVISAS en lösenordsruta dà du trycker
for att gā in i BIOS-installningar vid starten. - Ange übervakarlösenord och tryck
für att gå in i BIOSinställingarna. Om du skriver in sönenordet felaktigt, visas ett varningsmeddelande. Försök igen och tryck sedan på .
När användarlösenordet ar INSTALL och alternatively Lösenord vid start ar aktiverat visas en lösenordsruta dā datorn STARTS. - Ange användarlösenord och tryck
für att använda datorn. Om du skriver in lösenordet felaktigt, visas ett varningsmeddelande. Försök igen och tryck sedan på .

Viktigt! Du har bara tre försök på dig att ange rätt lösenord. Om du inte har angett rätt lösenord på tre försök stannar datorn. Stäng av datorn genom att trycka ned av/pa-knappen i fyra sekunder. Slå sedan på datorn och försök igen.
Stalla in losenord
Du kan ange/byta losenord i BIOS-installingarna.
Expanderam ed tillval
Din barba PC-dator ger möjlighthet till en komplett mobil datoranvändning.
Anslutningsalternativ
Till portarna på datorn kan du ansluta externa encheter precis som med en vanlig skrivbordsdator. I följande avsnitt finns mer information om hur du ansluter olica externa encheter till datorn.
Det finns ett inbyggt fax/data-modem av typen V.92 56 Kbps i datorn. (endast for vissa modeller)

Varning! Den har modemporten ar inte kompatibel med digitala Telefonlinjer. Om du ansluter modemet till en digital Telefonlinje kan du skada modemet.
Om du vill använda fax-/datamodemporten ansluter du en Telefonkabel från modemporten till att Telefonuttag.


Varning! Se till att kabeln du anvander ar av ratt typ for det land du anvander datorn i.
Inbyggda natverksfunktioner
Med de inbyggda nätverksfunktionerna kan du ansluta din dator till att Ethernet-baserat nätverk.
Om du vill använda natverksfunktionen ansluter du en Ethernetkabel i natverksuttaget på datorn till en Ethernet (RJ-45)-port eller en hubb i ditt natverk.

Universell sériebuss (USB)
USB 2.0-porten are en snabb sériebuss som du kan ansluta USB-enheter tillutan att belasta systemresurserna.

HDMI (High-Definition Multimedia Interface) ar ett okomprimerat, helt digitalt ljud/videoogränssnitt med branschstöd. HDMI ar ett gräsnitt mellan alla kompatibla digitala ljud-/videokällor, till exemplen en digitalbox, DVD-spelare och A/V-mottagare och en kompatibel digital ljud- och/eller videomottagare, till exemplen en digital TV (DTV) via en enda kabel.
Använd datorns HDMI-port für att ansluta till avancerad ljud- och videoutrustning. Implementering med en enda kabel möjiggör prydleig installation och snabb anslutning.

ExpressCard ar den nyaste versionen av PC-kortet. Det ar mindre och snabbare, och innebär smidigare användning och nya expansionsmöljigheter für din dator.
Det finns mängder av expansionsalternativ tillgangliga som ExpressCard, inklusive TV-mottagare och adaptrar for flashminneskort, Bluetooth och IEEE 1394B. ExpressCard stoder USB 2.0 och PCI Express-applikationer.

Viktigt! Det finns två typé, ExpressCard/54 och ExpressCard/34 (54 mm respektive 34 mm), som har olika Funktioner. Alla ExpressCard-fack stöder inte båda dessa typé. I braksanvisningen till ditt kort hittar du ytterligare information om kortets Funktioner, installation och användning.
Satta i ett ExpressCard
For in kortet i facet och tryck det forsiktigt inat tills du hör ett klick.

Mata ut ett ExpressCard
Innan du matar ut ett ExpressCard:
1 Avsluta eventuella program som anvander kortet.
2 Vänsterklicka på ikonnen ta bort maskinvara i aktivitetsfältet och stoppa kortet.
3 Tryck forsiktigt in kortet i facket sa att det losnar och matas ut. Dra sedan ut kortet fran facket.
Installera minne
Sá har installerar du minne:
1 Stäng av datorn, ta bort natadaptern (om den är ansluten) och ta sedan ut batteriet. Vänd sedan datorn upp och ned.
2 Skruva bort skruven fran minneslocket och lyft sedan upp och ta bort minneslocket.
3 Satt in minnesmodulen diagonalt i kortplatsen (a) och tryck den forsiktigt nedat tills du hör ett klick (b).

4 Satt tillbaka minneslocket och skruva fast det.
5 Satt tillbaka batteriet och Återanslut växelströmsadaptern.
6 Startadatorn.
Datorn känner automatiskt av det nya minnet ochändrar därefter minneskonfigurationen. Anlita en behörig servicetekniker eller kontakta Acers lokala Återförsäljare.
BIOS-installingarna
BIOS-installingarna ar att program for maskinvarukfigurering som ar inbyggt i datorns Basic Input/Output System (BIOS).
Datorn ar redan ratt konfigurerad och optimizerad, sä i vanliga fall behöver du inte använda det har verktyget. Det kan däremot bli aktuellt att använda det om det uppstár problem.
Du startup BIOS-installingarna genom att trycka på
Bootsekvens
Så har ställer du in bootsekvensen i BIOS-installninger: Aktivera BIOS-installninger och välj)därefter Boot frän kategorierna högst upp i fönstret.
For att aktivera disk-to-disk recovery (hårdiskåterställning) aktiverar du BIOS-inställninger ochwäljer direfter Main frän kategorierna högst upp i fönstret. Leta reda på D2D Recovery langst ned i fönstret och använd knapparna
Lösenord
For att ställa in ett losenord vid start aktiverar du BIOS-inställningar och valjer)darefter Security frän kategorierna högst upp i fönstret. Leta reda på Password on boot: och använd knapparna < F5> och < F6> for att aktivera Funktionen.
Anvanda programvara
Spela upp DVD-filmer

Obs: Denna Funktion finns endast tillganglig for vissa modeller.
Om en DVD-spelare ar installerad i det optiska enchetsfacket kan du spela upp DVD-filmer på datorn.
1 Mata ut DVD-luckan, satt in en DVD-film och stang sedan DVD-luckan.

Viktigt! När du startar DVD-spelaren für Första gängen mäste du ange en regionskod. DVD-skivor ar indelade i sex regioner. När DVD-enheten har ställts in på en regionskodkommen den bara att spelà DVD-skivorfordenregionen.Du kanändra regionskod högst fem gänger (inklusive den Första gängen).Därefter forblir den sista regionskoden fast.Du kan inte nollstalla antelet andringar genom att Återställa härddisken.Mer information om DVD-regioner finns i tabellen langre fram i det här avsnittet.
DVD-filmen spelas upp automatiskt after nagra sekunder.
| Regionskod | Land eller region |
| 1 | USA, Kanada |
| 2 | Europa, Mellan östern, Sydafrika, Japan |
| 3 | Sydostasien, Taiwan, Sydkorea |
| 4 | Latinamerika, Australien, Nya Zeeland |
| 5 | F.d. Sovjetunionen, delar av Afrika, Indien |
| 6 | Folkrepubliken Kina |

Obs: Om du vill äandra regionskoden sätter du in en DVD-film für en annan region i DVD-enheten. Onlinehjalpen innehäller mer information.
Vanliga frågor
Nedanstäende lista beskriver situationer som kan uppst'nar du anvander datorn. For varje problem anges enkla svar och losningar.
Jag har tryckt på av/på-knappen men datorn startar inte.
Titta pa strömindikatorn:
-
Om den inte ar tänd ar datorn stromlös. Kontrollera foljande:
-
Om du använder batteriström kan den vara svag eller otillräcklig. Anslut natadaptern och ladda batteriet.
-
Kontrollera att natadaptern ar ratt ansluten till datorn och eluttaget.
-
Om den ar tänd kontrollerar du foljande:
-
Finns det en icode-systemdiskett i den externa USB-diskettenheten? Ta ut den ell er byt ut den mot en systemdiskett och starta om datorn genom att trycka pa <Ctrl> + Alt + Del .
Varforvisinas ingentingpabildskarmen?
När datorns automatiska strömspark Funktion aktiveras släcks skärmen für att minska strömforbrukningen. Tryck på en tangent sä aktiveras bildskärmen pa nytt.
Om bildskärmen inte tändsärn du trycker på en tangent kan det bero på två saker:
- Ljusstyrkeniván kan vara für lågt installd. Tryck på
+ > für att öka ljusstyrkan.
- Bildskärmskortet kan vara INSTALL på en extern bildskärm. Tryck på snabbtangenten for bildskärmsbyte <Fn> + <F5> .
- Om indikeringslampan for vandelage lyser betyder det att datorn befinner sig i vandelage. Tryck in och slapp av/pa-knappen for att Återgå.
Inget ljud hors fran datorn.
Kontrollera följande:
- Volymen kan vara avständ. Kontrollera ikonen (högtalare) für volymkontroll i systemfältet. Om den är overkryssad, klicka på ikonen och avmarkera alternatively Allt ljud av.
- Ljudvolymen kan vara for lågt installd. Kontrollera ikonen for volymkontroll i aktivitetsfältet.
- Om hörllur, örronsackor eller externa högtalare ansluts till utgangsporten på datorns främre panel, stängs de interna högtalarna av automatiskt.
Jag vill mata ut den optiska enchetens lucka atan att slå på strömmen.
Det finns en mekanisk utmatningsknapp på den optiska encheten. Stoppa in spetsen på ett gem aller en penna och tryck inat tills luckan skjuts ut.
Tangentbordet reagerar inte.
Försök att ansluta ett externt tangentbord till USB-porten på datorn. Om det fungerar kontaktar du äterförsäljaren eller att auktoriserat servicecenter eftersom problemet kan bero på att kabeln till det interna tangentbordet har lossnat.
Skrivaren fungerar inte.
Kontrollera följande:
- Se till att skrivaren ar ansluten till ett eluttag och att den har startats.
- Se till att skrivarkabeln sitter ordentlich på plats i datorns parallellport eller en USB-port och i motsvarande ingång på skrivaren.
Jag vill Återställa datorn till originalinstallingarnautan CD-skivorfor Återställning.

Obs: Om systemversionen har stöd für flera språkkommen det operativsystem och språk du valjer nár du startup systemet forsta gängen att vara enda alternativelyfor framtida Återställningar.
Denna Återställningsprocess hjälper dig att Återställa disken C: med det ursprungliga mjukvaruinnehäll som installerades nar du köpte din barbara pc. Gör sä har for att Återställa disken C.: (Disken C:kommen att formateras och all data på denkommen att raderas.) Det ar viktigt att du sakerhetskopierar alla filer innan du använderenna Funktion.
Kontrollera BIOS-installngarna innan du utfor en Återställning.
1 Kontrollera om Funktionen Acer disk-to-disk recovery ar aktiverad.
2 Se till att installingen D2D Recovery i Main ar aktiverad (Enabled).
3 Gå ur BIOS-installIngarna och sparaändringarna. Systemet startar om.

Obs: Tryck på
Så har startar du äterställningsprocessen:
1 Starta om datorn.
2 När Acer-logotypen visas, tryck samtidigt på
3 Läs instruktionerna på skärmen om du vill genomföra en systemäterställning.

Viktigt! Denna Funktion använder 15 GB på en dold partition på hårdisken.
Beställa service
Datorn skyddas av en internationell resegaranti (ITW) som gör att du kan kännà dig lúnn Near du befinner dig på resa. Vårt varldsomspännande nät av servicecenter finns till hands for att hjälpa dig.
Ett ITW-pass foljer med datorn. Passet innehäller allt du behöver veta om ITW-garantin. En lista über tillgangliga, auktoriserade servicecenter.
Läs informationen noggrant.
Ha alltid ITW-passet till hands, speieltn nar du reser, sa att du kan utnyttja vara servicecentra. Placera ditt inkopsbevis innanfor fliken pa insidan av ITW-passet.
Om det land du besöker inte har námog Acer-auktöriserat ITW-servicecenter kan du kontakta námog av vāra filialkontor. Läs i http://global.acer.com.
Innan du ringer
Ha datorn till hands och följande information tillganglig nar du ringer Acer for onlineservice. På sässät kan vi minska smtalstiden och hjälpa dig lösaproblemen snabbt och effektivt. Om datorn har visat felmeddelanden eller avgett Ijudsignaler, skriver du ned meddelandena som de visas på skärmen eller Ijudsignalernas antal och ordning.
Följande information ar obligatorisk:
Namn:
Adress:
Telefonnummer:
Maskin- och modelltyp:
Seriennummer:
Inkopsdatum:
Felsöka datorn
I det hare kapitlet beskrivs hur du handskas med vanliga problem. Om ett fel inträffar bör du lasa det hare kapitlet innan du kontaktar en servicetekniker. Allvarligare problem kan inte Lösas utan att datorns holje öppnas. Försök aldrig öppna datorn själv. Kontakta Återförsäljaren eller att auktoriserat servicecenter for hjälp.
Felsökningstips
Denna barbara PC-dator har att avancerat system som avger felrapporter på skärmen for att hjälpa dig sösa problem.
Om systemet rapporter eratt felmeddelande aller om ett felsymptom uppstar, se "Felmeddelanden". Om problemet inte kan losas skall du kontakta din aterforsäljare. Se "Beställa service" på sidan 33.
Felmeddelanden
Dà ett felmeddelande visas skriver du ner det och vidtar sedan rätt atgård for att losa det. Foljande tabell innehäller felmeddelanden i alfabetisk ordning tillsammans med deras rekommenderade losningar.
| Felmeddelanden | Lösningsåtgård |
| CMOS battery bad | Kontakra din øterförsäljare eller att auktoriserad servicecenter. |
| CMOS checksum error | Kontakra din øterförsäljare eller att auktoriserad servicecenter. |
| Disk boot failure | Sätt in en startdiskett (systemdiskett) i diskettenheden (A:) och tryck sedan <Enter> für att starta om. |
| Equipment configuration error | Tryck <F2> (medan POST pags/) für att gå in i BIOS-installingarna, och tryck sedan på Exit i BIOS-installingarna für att starta om. |
| Hard disk 0 error | Kontakra din øterförsäljare eller att auktoriserad servicecenter. |
| Hard disk 0 extended type error | Kontakra din øterförsäljare eller att auktoriserad servicecenter. |
| I/O parity error | Kontakra din øterförsäljare eller att auktoriserad servicecenter. |
| Keyboard error or no keyboard connected | Kontakra din øterförsäljare eller att auktoriserad servicecenter. |
| Keyboard interface error | Kontakra din øterförsäljare eller att auktoriserad servicecenter. |
| Memory size mismatch | Tryck <F2> (medan POST pags/) für att gå in i BIOS-installingarna, och tryck sedan på Exit i BIOS-installingarna für att starta om. |
Om du fortfarande stöter på problem dà du viditag Åtgärder for att lösä felet sca du kontakta din Återförsäljare eller att auktoriserat servicecenter for hjälp. Vissa problem kan lösas genom att använda BIOS-installlingarna.
Notis om sakerhet och overensstammelse med regelverk
Meddelande fran FCC
Denna enchet har testats och befunnits uppylla de gransvarden som ar satta for en Class B digital enchet,enigt del 15 av FCC reglerna.Dessa gransvarden syfart till att ge ett rimlig skydd mot skadlig interferens vid installation i bostad. Datorn alstrar, anvander, och kan utstrala radiofrekvensenergi och kan, om den inte installerats enigt instruktionerna, orsaka skadlig interferens pa radiokommunikation.
Det finns dock ingen garanti for att inte interferens kan uppsta vid en viss installation. Om datorn orsakar skadlig interferens på radio- och TV-mottagning, vilket kan kontrolleras genom att satta på och direfter stanga av encheten, uppmanas användaren att forsoka ratta till störningarna genom en eller flera av följande Åtgärder:
Rikta om aller flytta på mottagarantennen.
- Oka avsändet mellan datorn och mottagaren.
- Koppla datorn till atttag på en annan strömkrets an den som mottagaren ar ansluten till.
Rädfraga aterförsäljaren aller en erfaren radio/TV-tekniker.
OBS: Skärmade kablar
Alla kopplingar till andra dataenheter maste vara med skarmade kablar for att tillmotesgå FCCs regler.
OBS: Kringutrustning
Endast kringutrusting (in/ut-enheter, terminaler, skrivare, etc.) som certificarats och uppyller Class B gransvardena farr anslutas tillenna utrustning. Anvandning av icedeertierad kringutrusting kommer sannolikt att resultera i störning på radio och TV-mottagning.
Varning
Förändringar eller modifikationer som inte uttryckligen har godkänts av tillverkaren kan orsaka Återkallande av användarens rättigheter att använda denna dator, vilka ar givna av Federal Communications Commission.
Modemanmärkningar (endast für vissa modeller)
TBR 21
Denna utrustning har godkänts av [Council Decision 98/482/EC - "TBR 21"] für upppokpling av enkel terminal till det allmanna telenätet. På grund av olikheter mellan de individuella allmanna telenät som finns i olikalander, utgör detta godkännande i sig inte en villkorlös garanti for problemfri användning på alla terminalpunkter i det allmanna telenätet. Om problem upppkommen bör du Först ta kontakt med utrustningsleverantören. För mer information om tillampligaaland, se "Notis om sakerhet och överensstammelse med regelverk" på sidan 35.
LCD pixelanmärkning
LCD-enheten har tillverkats med högprecisionsteknik. Dock kan vissa bildpunkter frän gäng till annan missa eller uppträda som svarta eller röda prickar. Detta har ingen inverkan på den inspelade bilden och utgör inget fel.
Denna produit übernstämmer med tillämpliga riktlinjer für radiofrekvenser och sakerhetsnormer i de länder och områden som den har godkänts for trådlös användning. Vissa konfigurationer av denna produit innehäller enheter for trådlös radiokommunikation (t.ex. modulier for trådlösät natverk (WLAN) och/eller Bluetooth). Nedanstäende information gällerprodukter med sādana enheter.
Härmed intygar Acer attenna barbara PC-dator i seriien uppfyller de väsentliga egenskapskrav och övriga relevanta bestämmelser i direktiv 1999/5/EC.
Lisa over tillampliga lander
EU:s medlemstater ar foljande (Juli 2009): Belgien, Danmark, Tyskland, Grekland, Spanien, Frankrike, Irland, Italien, Luxemburg, Holland, Österrike, Portugal, Finland, Sverige, Storbritannien, Estland, Lettland, Litauen, Polen, Ungern, Tjeckien, Slovakien, Slovenien, Cypern, Malta, Bulgarien och Rumänien. Produktken fär användas i alla EU-länder, samt även i Norge, Schweiz, Island och Liechtenstein. Produktken måste användas i enlighem med de bestämmelser och begränsninger som gäller i aktuellt land. Kontakta ansvarig myndighet i användningslandet forytterligare information. Besök http://ec.europa.eu/ enterprise/rtte/implem.htm for den senaste fördeckungen overalander.
Sakerhetsföreskrifter från FCC
Den utstrålade effekten från Mini-PCI kortet for trådlös nestverk (WLAN) och Bluetooth kortet ar väsentlig tägre an de exponeringsgränsvarden som fastställts av FCC. Trots detta skall den bärbara PC-datorn i seriien användas på att sändant sätt att exponeringen på människor minimeras enlicht foljande:
1 Användare upppmanas att folja de sakerhetsföreskrifter for tradlösa enheter som finns i användarhandboken for varje tradlós enchet.

Varning: För att uppfylla FCC:s regler for radiofrekvent strålning måste ett avständ på minst 20 cm (8 tum) upprätthällas mellan antennen for det inbyggda Mini-PCI kortet for trådlöst natverk (WLAN) som finns inbyggt i skärmen och samtliga personer.


Obs: Trådlös Mini PCI adapter använder en fonction für überföringsspridning. Denna Funktion sänder inte radiofrekvenser samtidigt frän báda antenner. En av antennerna väljs automatiskt eller manuellt (av användare) für att tillse radiokommunikation av hög kvalitet.
2 Denna utrustning ar begränsad till använding inomhus eftersom den opererar på frekvensområdet 5,15 GHz till 5,25 GHz. FCC kraver attenna produit skull användas inomhus i frekvensområdet 5,15 GHz till 5,25 GHz für att minska risiken für skadliga störninger på mobilsatellitsystem som drives på samma kanal.
3 Radar med hög kapacitet ar primäranvändare av frekvensbanden mellan 5,25 GHz och 5,35 GHz samt mellan 5,65 GHz och 5,85 GHz. Dessa radarstationer kan orsaka störningar på och/eller skada encheten.
4 Olamplig aller otilaten anvandning kan orsaka störningar på radiotrafik. Änderingar av den interna antennen gör FCC-certifieringen och din garanti ogiltiga.
Kanada -LICENSEfria lageffektsenheter for radiokommunikation (RSS-210)
Radiostrålning - exponering av personer (RSS-102)
Denna barba PC-dator i seriien anvander inbyggda antenner med lag forstarkning som inte avger radiostrånlning over de gransvarden for den allmanna befolkningen som angivits av Health Canada. Se även Safety Code 6 som du kan hamta på Health Canadas webbplats www.hc-SC.gc.ca/rpb.
EnkelManual