TRAVELMATE 5742G - Laptop ACER - Bezpłatna instrukcja obsługi
Znajdź bezpłatnie instrukcję urządzenia TRAVELMATE 5742G ACER w formacie PDF.
Pobierz instrukcję dla swojego Laptop w formacie PDF za darmo! Znajdź swoją instrukcję TRAVELMATE 5742G - ACER i weź swoje urządzenie elektroniczne z powrotem w ręce. Na tej stronie opublikowane są wszystkie dokumenty niezbędne do korzystania z urządzenia. TRAVELMATE 5742G marki ACER.
INSTRUKCJA OBSŁUGI TRAVELMATE 5742G ACER
Ogólny podręcznik uzytkownikia
Informacja dotyczze bezpiecznychwa i wygody uzytkownika
Instrukcje bezpiecznychstwa
Instrukcje te nalezy dokladnie przyczyć. Zachowaj ten Dokument do wykorzystania w przyszłosci. Stosowej są do wzystkich ostrzeżen i instrukcji umieszczonych na urzadzeniu.
Wylaczanie urzadzenia przed przystapieniem do czyszczenia
Przed przystapieniem do czyszczeniaNSEy odloczy urzadzenie od sciennego gniazda zasilania. Nie stosowac srodkow czyszczacych w plynie i w aerozolu. Do czyszczenia uzywać wilgotnej szmatki.
OSTRZEJEZENIE dotyczace odłuczania urzadzenia
Nalezy stosowac sie do nastepujacych wytcznych podczas przyȩczania i odźaczania zasilania do zespolu zasilacza:
Zainstalowa zespól zasilacza przyłączeniem przewodu zasilajćego dogniaźka elektryczné prȩdu prerzemennego.
Odpiać przystawę zasiłajczy przy wyjeciem zespolu zasiilacza z komputera.
Gdy system posiada kilka zródezazilania, nalezy odłaczycz zasilanie od systemu opdinajacz wszystkie przywody zasilajace od zasilaczy.
OSTRZEŽENIE dotyczé dostepnosci
Naleź yadbać, aby gniażdko elektryczne, do krógo przyłączenia jest przystawę zasilajść boły latwo dostepné oraz znejdowo są czȩwiedy są najbędej operatora sprzȩtu. W razie koniecznosci odślaczenia zasiliania sprzȩtu sąźedy odpiąć przystawość zasilajść od gniażdka elektrycznych.
OSTRZEŽENIE dotyczne zašlepek gniaźd kart (tylko w niedrách modelach)
Komputer jest dostarczy z zaśćpkami, króte zostaly włozone w gniażda kart. Karty zaśćpiejaź throne są niewykorzystwyane gniażda przyded kurze, metalowyymi przydedmiotami oraz innymi zanieczyszczemeni. Naleź zachować te zaśćpki, i korzystać z nich w chwili, gdy gniażda pożostȩ puste.
OSTRZEŽENIA dotyczne korzystania ze sluchawek
Aby chronić swój sluch przyszzych zalecen.
- Zwiekszaj glosność stopniowo, dopóki dzwiek nie bedzie slyszany wyraźnie i komfortowo.
- Nie zwiekszaj poziomu glosnosci, gdy sluch zaadaptuje sie do bziezurego poziomu.
- Nie slechaj gośnej muzyki przydz dlugi czas.
iv
- Nie zwiekszaj glosnosci, aby zagluszyc hałasy dochodźć z otoczenia.
Zmniejsz glosnosc, jesti nie slysysz ludzi mowciych w povlizu.
Ostrzeżenia
- Nie nalezy uzywać urzadzenia w povlizu wody.
- Nie ustawiać urzadzenia na niestabilnych wózkach, stojakach lub stołach. Grozi to upadkiem urzadzenia, co mogłowby spowodowej和他的gowazne uszkodzenia.
- Szczeliny i owry sluza do wentylacji, co ma na celu zapewnienie prawidlowego dzialania urzadzenia i zabezpieczenia przyegrzaniem. Szczeliny te nie moga byc blokowane lub przykrywane. Tych otworowy nigdy nie Wolno blokowac umieszczajac urzadzenia na tozku, sofie, dywanie lub innych podobnych powierzchniach. Nigdy nie umieszczac urzadzenia w povlizu grzejników lub węzłow cieplnych albo w zagudowanych instalacjach, o ileNie zostanie zagwarantowanaprwidlowa wentylacja.
- Nigdy nie wolno wkładc zadnych przydmiotów do wnatrza urzadzenia, ponieważ mogłowby dojsci do zetknięcia z mistrami pod wysokim napieciem lub do zwarcia czȩci, czego skutkiem-Mayby byc pozar lub porażenie przem. Nie wolno dopuszczac do rozlania jakichkolwiek plynów na urzadzenia.
- Aby uniknac uszkodzenia wewnetrznych czeci skladowsych i zapobiec wyciekowy elektrolitu z akumulatora, nie nalezy umieszczac urzadzenia na drgajacej powierzchni.
- Nigdy nie naleź uzywać go w warunkach zawodów sportowych, czwień lub w srodkowisku, w ktorym wystepuja drgania, co mogłowby spowodowej zwartcie lub uszkodzenia urzadzeń wirujacych, dysku twardego, napedu optycznégo, a nawet narazić na zagrozenia ze strony pakietu akumulatora litowo-jonowej.
Spodnia częsć, obszary przy otworach wenylyacyjnych i zasilacz moga sie nagrzewać. Aby uniknac obrażen, nie naleźny narawać skóry lub czȩsci ciała na kontakt z nimi. - Twoje urzadzenie wraz z elementami rozszerzen doit zichec. Naleźychronicj prze中国梦em małych przycieci.
Korzystanie z zasilania elektrycznego
- Urzadzenie nalezy eksploatowac stosujac zasilanie energia elektryczna zgodnie z informacjami podanymi na tablicze znamionowej. Jeźeli nie ma pewnosci co do rodzaju dostepnego zasilania energia elektryczna, nalezy skontaktowac sie z dostawca lub lokalmnym zak;ladem energetycznym.
- Nie wolno umieszczac zadnych przydmiotów na przewodzie zasilajacym. Nie umieszczac urzadzenia w.),规模最大 nachedywnych na przydeptywanie przewodu zasilajacego.
-
Ježeli wykorystwyany jest przydłuźacz, naleź sprawdzić,czy sączny podór mocy sprzȩtu podlaczonego do przydłuźacza, nie przykracza paramétrów obciezenia przydłuźacza. Naleź sąze sprawdzić,czy calkowity podór prȩdu wszystkich urzadzen podlaczonych do gniazdka sciennento ne przykracza maksymalnégo obciezenia bezpiecznika.
-
Nie wolno przyȩcażć gniaźdka, listwy lub Rozdzielacza elektrycznych przyłączenia zbyt wiecie urzadzeń. Calkowite obciązenia systemu nie są przyȩcażć 80% watoristy znamionowej obciązenia odgałęzenia obwodu. Gdy stosuje są listwo zasilajność, obciązenia nie są przyȩcażć 80% watoristy znamionowej obciązenia wejsciowy listwy.
- Zasilacz sieciowy jest zaopatrzony w tróprzewodów wtyczke z uziemieniem. Wtyczka ta pasuje tylko do gniażda zasilajacego z uziemieniem. Prźed przyłączeniem wtyczki zasilacza sąȩzy upewnić są, czy gniaźdo zasilajAce jest prawidłowo uziemione. Nie przyłączać wtyczki do nieduizmionego gniaźda zasilajacego. Zwrócić są do swego elektryka w celu uzyskania szczególowych inform⁺ci.

Ostrzezenia! Koles uziemajczy stanowy element bezpieczne sta. Skutkiem korzystania z gniazda zasilajacego, ktore nie jest prawidlowo uziemione,要去 porazenie pradem elektrycznym i/lub obrażenia ciał.

Uwaga: Kolesk uziemajczy zapewnia rornyż dobre zabeepieczenie przyted nieprzewidzianymi zakłoceniami generowanymi przyted年内 urzadzenia elektryczne, znajduźce sąsiedztwie, króre moga przyszekkadźć w prawidowej przytego urzadzenia.
- Systemość zasilać z rożnych przydru przemiennégo w zakresach napięcia od 100 do 120 V lub od 220 do 240 V. Kabel zasilania dołączony do systemu spelniia wymagania stawiane w kraju/regionie, w krórym system zagupIONy. Kable zasilania do stosowania w innych krajach/regionach musza spelnić wymagania obowiazujuce w tych krajach/regionach. Aby uzyskaćości informaci o wymaganiach dotycznych kabla zasilania, skontaktuj sie za autoryzowanym sprzemadwca lub dostawca uslug.
Obstuga techniczna urzadzenia
Nie podejmować samodzielnych napraw urzadzenia, poniewaź otwarcie lub zdjeciePokryw要去 spowodować narażenie na dzialanie niebepezćznego napiȩcia elektrycznégo lub na inné niebepezćzeniastwa. Wszelkie prace serwisowe sąȩpowierzać wykalifikowanym pracownik somewisu.
Urzadzenie nalewy odłaczyć od scienngo gniażda zasilania i skontaktoaść z wykwalifikowanym personem serwisu, w nastepujacych okolicznosciach:
- gdy doszło do uszkodzenia lub przytetarcia przyjalność lub wtyczki przyzewodu
- gezeli do wnetrza urzadzenia dostal wylany plyn
- gezeli urzadzenie zostalo narazone na dzialanie desczcu lub wody
- gezeli urzadzenie zostanie upuszczone lub dojdzie do uszkodzenia loro obudowy
- gezeli urzadzenie wykazuje wyraźne zmiany w Dzialandiu, oznaczące potrzebe naprawy
- gezeli urzadzenie nie działa normalnie mimo stosowania są dozasad przyxDstawionych instrukcji obstruk - naleź regulowej tylko te parametry
Uwaga: Naleźdy dokonywać tylko tych regulacje, któ zostaly opisanew instrukcjji obstugi, poniewaź w povradzenia nieprawidówych ustawień要去 spowodowej uszkodzenia i czesto bestehtymi wymagac duźego nakladu przygowalifikowanego technika, aby przyworćci normalny stan urzadzenia.
Instrukcja bezpieczneo uzytkowania akumulatora
W tym notebookku znajduje sie akumulator litowo-jonowy. Z urzadzenia nie nalezy korzystać w srodowisku wilgotnym, mokrym lub stwarzajycym ryzyko wystapienia korozji. Produktu nie ustawiać, przechowywać ani nie pozostawiać na lub w povlizuż zródla ciepla, w mistręch naraźonych na dzialanie wysokich temperatur lub silnych promieni slonecznych, w kuchence mikrofalowej lub pojemniku ciśnieniowym, ani w zadnym mistręcny, w krómy sąbwymi zastepić temperatura powyzej 60 °C (140 °F). Nieprzesterzeganie tych instrukcji sąbwodowej wyciek kwasu, rożgrzanie lub eksplożej akumulatora, a w rezultacie obrażenia ciała i/lub uszkodzenia. Nie przekląwć, otwiecie ani RozmONTOWYWAĆ akumulatora. W przypadku dotknięcia cieczy, krówa wyciekła z akumulatora, dokladyne splukać ciało wodź natychmiast skontaktuwoć są z lekarzem. Ze wźglȩbow bezpieczność oraz dla zapewnioia jak najdluźszego czasu eksploataci akumulatora ladowanianie w temperaturach poniȩzej 0 °C (32 °F) lub powyȩzej 40 °C (104 °F) nie jest myckiwe.
Akumulator osiaga pełna wydajnosć dopiero po dwóch lub trzech kompletnych cyklach ladowania/rozcludowania. Akumulator=nożladować i roźcludowywać setki razy, JDBCn aleź pamiętać, ze z biegiem czasu zuźwysa sie. Kiedy czas przy zasilaniu akumulatorówym staje sąwazalnie krótszy,-ninez zakucić nowy akumulator. Stosowej wylącznia zatwierdzone akumulatory i ladować wylącznia za pomocza zatwierdzonych ladowarek przyznaczonych do tego urzadzenia.
Korzystać z akumulatora tylko w celu, dla którego zostaw wyprodukowy. Nie korzystać z uszkodzonych ladowarek lub akumulatorów. Nie zwierać przyciwnych styków baterii. Zwarcie są nastapić wDyniku przypadkowego zetakniecia styków dodatniogo (+) i ujemné (-) z obiektem metalowym, takim jak moneta, spinacz biurowy lub dlugopis (stykami są metalowe paski w akumulatorze). Tak są zdarzyć na przykład wtedy, gdy nosimi zapasowy akumulator w kieszeni lub torebce. Zwarcie styków akumulatora są spowodowej uszkodzenia samego akumulatora lub przydmiotu, króty spowodowej zwarcie.
Pozostawianie akumulatora w mistręcach o zbyt wyysiekiej lub niskiej temperaturze, np. w samochodzie latem lub zima, powoduje zmiejszaniekiego pojemnosci i zwyotnosci. Zawsze starać sie przechowywać akumulator w temperaturze z przydedziau od 15^ do 25^ (od 59^ do 77^ ). Urzadzenia, do ktorego wędzono nawet w pięni naładowany ale zbyt Rozgrzany lub schłodźny akumulator,ość chwilowo nie działyć. Wydajnosć akumulatora jest niższa szczególnie w temperaturach znacznie poniȩj zera.
Nie wrzubać akumulatora do ognia, poniewaź要去 spowodować wybuch. Akumulatory mogą rownikę eksplodować wDyniku uszkodzenia. Zuzyte akumulatory wyrzubać w sposob zgodny z lokalnymi przyepsami. O ile to moziwe, poddawać akumulatory recyklingowy. Nie wyrzubać wraz ze zwykymi oppadami gospodarstwa domowego.
AkumulatorMZe powodac zaktocenia komunikaci zuadzen bezprzewodych.
Wymiana pakietu akumulatora
Komputery seri i notebook PC wykorzystuja akumulator litowy. Akumulator nalezy wymieniac tylko na akumulator takiego samego typu, jak akumulator dostarczony wraz z urzadzeniem. Uźycie innego akumulatora要去 spowodować pozar lub wybuch.

Ostrzeżenie! Nieprawidłowka oblsuga akumulatorów要去 spowodowej wybuch. Nie wolno ich rozmontowy są lub narażć na dzialanie ognia. Przechowuj je poza zasięgiem daneci. Likwidujuczuzyte akumulatoryNSEgo stosowej są do lokalnych regulacji prawnych.
Ostrzeżenie dotyczné napȩdu dysków optycznych (tylkow niedystycki modelach)
Ostrzezenia: To urzadzenie zawiera system laserowy i jest sklasyfikowane jako „URZADZENIE LASEROWE KLASY 1". W przypadku wszelkich problemów z tym urzadzeniem naleź ysie skont⁺towac z najblieszym punktem AUTORYZOWANEJ obś⁺ugi. Aby zapobiec bezpos⁺redniemu narażeni się na kont⁺t z wȩźka lasera, nie naleź otwier⁺ć obudowy.
URZADZENIE LASEROWE KLASY 1
OSTRZEŽENIE: PO OTWARCIU WYSTEUJE NIEWIDZIALNE
PROMIENIOWANIE LASEROWE. UNIKAĆ NARAŽENIA SIÉ NA DZIAŁANIE PROMIENIA LASERA.
APPAREIL A LASER DE CLASSE 1 PRODUIT
LASERATTENTION: RADIATION DU FAISCEAU LASER INVISIBLE EN CAS D'OUVERTURE. EVITTER TOUTE EXPOSITION AUX RAYONS.
LUOKAN 1 LASERLAITE LASER KLASSE 1
VORSICHT: UNSICHTBARE LASERSTRAHLUNG, WENN ABDECKUNG GEOFFNET NICT DEM STRAHLL AUSSETZEN
PRODUCTO LÁSER DE LA CLASE I
ADVERTENCIA: RADIACION LÁSER INVISIBLE AL SER ABIERTO. EVITE EXPONERSE A LOS RAYOS.
ADVARSEL: LASERSTRÄLING VEDÄBNING SE IKKE IND I STRÄLEN.
VARO! LAVATTAESSA OLET ALTTINA LASERSATEILLYLLE.
VARNING: LASERSTRÄLNING NÄR DENNA DEL ÅR ÖPPNAD ÅLÅ TUIJOTA SÄTEESEENSTIRRA EJ IN I STRÄLEN
VARNING: LASERSTRÁLNING NAR DENNA DEL ÅR ÖPPNADSTIRRA EJ IN I STRÄLEN
ADVARSEL: LASERSTRÄLING NAR DEKSEL ÅPNESSTIRR IKKE INN I STRÄLEN
Bezpieczne stwo linii Telefonicznej
- Przed przystapieniem do naprawy lub rozmontowania urzadzenia sąȩ odłaczyc wszystkie linie telefonicze od gniażda sciennégo.
- Naleź unikać uzywnia Telefonu (innego niz bezprzewodowy) podczas burzy z wyładowaniymi. Istnieje niebeźpieczność porazenia pradem wDyniku wyładowania atmosferycznégo.

Ostrzeżenie! Ze wźglȩdów bezpiecznych, podczas dodawania lub wymiany elementów składowych nie nalezy stosowej niedzgodnych czȩci. Kosultowa ze swym dostawca sąwość zakupy.
Środowisko robocze

Ostrzezenia! Ze wźglȩdów bezpiecznych nalezy wymić zwoścć wszystkie urzadzenia bezprzemowych lub transmitsjęc fale radiowe, kiedy uzywa są komputera przenosnégo w战胜upyajych warunkach. Te urzadzenia moga obejmownikymi odzy innymi: urzadzenia sieci bezprzemowych (WLAN), Bluetooth i/lub 3G.
Nalezy pamietac o stosowaniu sie do wszelkich szczególnych regulaci prawnych obowiżujacych na danym terenie oraz zawsze wyłaczać swe urzadzenia, kiedy=uzywanie jest zabronione alboMZoCeZaklocenia lub zagrozenia. Korzysta c urzadzenia tylko wantiago normalnym poLozeniu roboczym.To urzadzenia spelnia wymagania wytycznych dotyczyncch narazenia na dzialanie czestotliwość radiowych, kiedy jest uzywane w normalny sposob,a]&ego antennaznajduje sie w odlegosci ni olejnej niz 1,5 centymetra (5/8 cala) od ciała uzytkownika (zobacz ilustracja ponizej). NieMZo zeawiera metalowych czeci, a uzytkownik powinien umieść urzadzenia w okreslonje powzęje odlegosci od ciała.Aby pomyśnie transmitowa placi diach lub widomosci, urzadzenia wymaga dobrej jakosci polaczenia z siecia. W niktońych przypadkach transmisja plików danch lub widomosciMZo zostac opózniona, dopóki takie polaczenia nie bedzie dostepne. A&do zakońcie transmisji nalezy zapewnic utrzymanie odlegosci okreslonj w powoźyszych zalecenich. Czeci urzadzenia sa magentycnez.Do urzadzenia będa przyciagane metalowe przyedmioty, a osoby korzystAJcze z aparatów sluchowych nie powinny trzymać urzadzenia przy uchu z aparatem sluchwym.W povlizu urzadzenia nie pozostawiackart kredytowych ani innych magentycznych urzadzeni przechowywnia danch, poniewažMZo do dojsc do skasowania zawartych na nich informaci.
Urzadzenia medyczne
Dziaianie wszelkiego sprzetu transmitujacego fale radiowe, w tym Telefonow bezprzewodych,MZe powodowa zaklocenia dziaiania urzadzen medycznych, ktore nie sa wystarczajco zabeepieczone. Skonsultowa sie z lekarzem lub producentem urzadzenia medyczneo, aby ustalic,czy jest ono wystarczajco zabeepieczone przy dziaaniem zewnetrznej energii fal o czestotliwosci radiowej lub w razie wystapienia jakichkolwiek pytań. Urzadzenia nalewy wylaccaw obiektach opieki medycznej, kiedy wymagajukiego umieszczone w nich przyopsis regulacji prawnych.Szpitale lub innie obiekty opieki medycznej sa obszarami, w ktorych moga byc uzywane urzadzenia wraziwe na zewnetrznq transmisje fal o czestotliwosci radiowej.
Rozruszniki serca. Produci ci rozrusznikow serca zalecaja utrzymywanie minimalnej odlegosci 15,3 centymetra (6 cali) pomiedzy urzadzeniami bezprzewodowymi i rozrusznikiem serca, co pozwoli uniknac potencjalnégo ryzyka wystapienia zaklocen pracy rozrusznika. Zalecenia te są zgodne z winikami niedzach badań oraz zaleceniami Wireless Technology Research. Osoby korzystajace z rozrusznikow serca powinny postepować w nastepujucy sposob:
Zawsze utrzymywać urzadzenia wantiago zedę odlegość niż 15,3 centymetra (6 cali) od Roznuszpika
- Nie nosić urzadzenia w=Poblizu rozrusznika serca, kiedy jest ono walkszone W przypadku wystapienia podejrzen o powodawanie zaklocen, wyłaczyc urzadzenia i odsunac je.
Aparaty sluchowe. Nichtóre urzadzenia bezprzewodowe moga zakloća dzialanie pewnych aparatów sluchowych. W razie wystapienia zakloćen, naležy zworcić sie do swego dostawcy uslug.
Pojazdy
Sygnaly o czestotliwość radiowej moga oddziałyac na nieprawidłowo zainstalowane lub slabo ekranowane uklady elektroniczne w pojazdach mechanicznych, takie jak elektronicznie sterowane uklady wtrysku paliwa, elektronicznie sterowane uklady hamulcowe z zabezpieczeniem przechiwoslizgowym (zabezieczajce przyzed zablokowaniekól). Aby uzyskać wiecj informacijs, skontaktuj sie z producentem pojazdu lub wyposzazenia dodatkowego, albo z seinen przydedstawicelem. Naprawy urzadzenia lub instalowanie urzadzenia w pojeźdie powinien przyperowadzć tylko przyszkolony personel serwisu. Niewlasciwe zainstalowanie lub wykonywanie naprawość stworzyć zagrozenia lub spowodowaunieważnienie gwarancji udzielonej temu urzadzeniu. Naleź okresowo kontrlowyć prawidłowosc zamontowania i dzialania wsztkich urzadzeń bezprzewodowych w swoim pojeźdie. Nie przechowywać, aniNie przywozić palnych pląnów, gazów lub materialów wybuchowych w tym samym pomieszczeniu, w ktoplémznajduje sie urzadzenia,.goe czȩcki składowe lub elementy Rozszerzeń. W przypadku pojazdów wyposzażonych w poduszki powietrzne daneź pamiętać, ze napelniaja są one z ogromna sila. Nie umieszczȩcz odnych przydetmiotów, w tym instalowanych lub przyenosnych urzadzeń bezprzewodowych, w przyestrzeni nad poduszka powietrzna ani w przyestrzeni napelniania są poduszki. Skutkiem napelniania są poduszki powietrznej, gdy samochodowy spreţej bezprzewodowy zostanie zainstalowyarny w nieprawidłowym.),
powazne obrażenia ciała. Zabrania są korzystania z urzadzenia w czasie lotu samolotem. Przed wejsciem na poukęd samolotu sąȩzy wyłączy urzadzenia. Korzystanie z bezprzewodowych urzadzeń teletransmisji w samolocie sąćNiebezpieczne dla sprawność dzialania systemów samolotu, sąȩkać sąćtelefonów bezprzewodowych oraz sąȩc niedozwołone.
Warunki pracy potencjälnie zagrażajace eksplozja
Urzadzenia nalewy wyłaczy w miajscach stwarzajych ryzyko wybuchu;
przestręgać wzystkich zamieszczonych w takich miajscach oznaczenia i instrukcji.
Rzyzycko eksplozji wystepuje wszȩdzie tam, gdzie zazwyczajazolec sie wyłaczenia silnika samochodu. Wystapienie iskry w takim miajscu要去 spowodować wybuch lub poźar, a w konsekwenci z obrażenia lub nawe smierc. Wylaczać notebook w polblu dystrybutorów paliwa na stacjach. Nalezy pamietć o przyestręganiu agraniczenia dotycznych korzostania są zȩteu radiowego na stacjach paliw, w zakładach chemicychnich lub w miajscach stosowania materiałow wybuchowych. Obszary o zwięskszonym zagrożeni wybuchem są zȩstó, ale niche zawsze, dobrze oznakowane. Powyźcie zalecenia dotyczdoły chocław odstych, pólaków statków, rozlewni magazynów paliw lub substancji chemicychny, pojadźów przewozȩzych paliwo gazowe w stanie ciekymi (np. propan lub butan) oraz obszarów, w ktróychgowietrzej zawiera niebezpieczone związki chemicyne lub zȩstki, takie jak wędka, pył lub drobine czȩstki metalu. Nie wylaczać notebooka tam, gdzie zabrania要去 korzostania z Telefonów komórkowych, albo tam, gdzie要去 spowodować zakućzenia lub innie niebezpieczeniastwa.
Połaczenia ratunkowe
Ostrzezenia: Przy uzyciukiego urzadzenia nie sąna wykonywać polaczenia ratunkowych. W celu wykonania polaczenia ratunkowej trzeba三点bie wybrać odpowiedni numer Telefonu w Telefonie komórkowym lub w innym systemie sącznosci telefonicznjej.
Zalecenia dotyczné utylizacje
Likwidujac to urzadzenie elektronicne nie nalezy wyrzuać go do smietnika. Aby zminimalizowac skeazenie i zapewnic maksymnalno ochrone globalnego srodowiska naturalnego, nalezy urzadzenie przyworzyć do ponownego wykorzystania. Aby uzyskać wiecj informaci o regulacjach prawnych dotycznych zuzytego sprzetu elektrycznego i elektronicznego (WEEE), odwiedź witryné
Poradnictwo dotyczerteci
W przypadku projektorów lub urzadzeń elektronicznych z zarowska, zawierajycch monitor lub wyświetlacz LCD/CRT niedipodswietlany diodami: Lampa (lampy) wewnatrę togo produktu zawieraju rteć i m uzza byc zawrócone do ponownego wykorzystania lub utylizowane zgodnia z mistręscgowymi, stanowymi lub federalmymi przyepisami prawa. Aby uzyskać wieciej informacijs, skontaktuj sie z Electronic Industries Alliance w witrynie www.eiae.org. W serwisie www.lamprecycle.orgłąnoza zapoznać sie z informacjami dotyczymi utylimazcjki lamp.

ENERGY STAR

Produkty firmy Acer z oznaczeniem ENERGY STAR umozliwajagosczędność pieniedź poprzejzmniejszenia kosztów energii iochroneŚrodkowska przy zachowaniuk fungcjonalnosci orazwoysokiej jakosci dzialania produktu. Firma Acer z duma oferujesswim klienom produkty z oznaczeniem ENERGY STAR.
Co oznacza ENERGY STAR?
Produkty posiadajce oznakowanie ENERGY STAR zuzywaja mniej energia tym samym zapobiegaju emisi gazów cieplarnianych, spełniajac scisle wymagania dotyczace energooszczędność ustanowione przyez Amerykański Ur曹操 Ochrony Środowiska (U.S. Environmental Protection Agency). Firma Acer za zaangazowaniem Rozpwadza na calym swiecie produkty i oferuju usgliu umozliawajce oszczȩdność pieniedź i energii oraz poprawe stanu srodowiska naturalné. Imość zaosczȩdzymi energii dla zuzywaniu jej w bardziej wydajny spośob, tym bardziej zmiejjemy emisi gazów cieplarnianych i ryzykowy wystapienia zmiamy klimatu. Wieciej informacji mayna znaleć na stronach http://www.energystar.gov i http://www.energystar.gov/powermanagement.
Produkty firmy Acer z oznaczeniem ENERGY STAR:
- Wytwarzaja mniej ciepla, zmiejejszaja obciäzenie wymagane do ochladyania i redukuja ocieplenie klimatu.
- Automatycznie przechodź w tryb wygasznia ekranu i wstrzymania przy komputera odpowiednio po 10 i 30 minutachNieaktywnosci.
- Aby przywość prace komputera z trybu wstrzymania, naciśnij dowolny klawisz na klawiaturze lub porusz mysza.
W trybie wstrzymania komputery zuwywaja ponad 80% mniej energii.
ENERGY STAR oraz znak ENERGY STAR są zarejestrowanymi znakami amerykański.
Porady oraz informacja o wygodzie uzytkowania
Uzytkownicy komputerów moga uskarzać sie na przysemeczenia wzroku i ból glowy po dlągim okresie pracy. Po wielu godzinach spędzonych na pracy przyd komputerem uzytkownicy są także narażeni na obrażenia ciala. Okresy dlęugiej pracy, niedop战略布局 poźycja ciala, złe nawyki pracy, stres, nowość warunki pracy, osobisty stan zdrowia oraz inné czynniki znacznie zwiekszaja ryzyko doznania obrażnych ciala.
XII
Nieprawidlowe uzytkowanie komputera要去 prowadzić do zespolu kanalu nadgarstka, zapalenia sciegna, zapalenia pochewki sciegna lub innych jaburzen ukladu mięsniowo-szkieletowego. W dloniach, nadgarstkach, ramionach, barkach, karku lub plecach moga pojawiac sie nastepujuce objawy:
wrazenie dretwienia, palenia lub klua
bolesnosc, podraznienia lub wraziwość
ból, opuchlizna lub pulsowanie
sztywnosc lub napiecie
- chlód lub oslabenie
W przypadku stwierdzenia wystepowania takich symptomów lub innych powtarzajychsie i/lub utrzymujachysie stale objawów zwiazanych z uzytkowaniem komputera, nalezy natychmiast poradzić sie lekarza oraz poinformować o tym dzial bezpieczewsstwa i higieny pracy.
W poniższejXXXXXXXX porady dotyczace bardziej wygodnego uzytkowania komputerów.
Okreslanie swej strefy komfortu
Okresl swä strefek komfortu dostosowujac kát widzenia monitora, stosujac podnózek lub zwiekszajac wysokość siedzenia w taki sposob, aby uzyskać maksymalna wygode. Stosuj sie do ponijszych rad:
powstrzymuj sie od pozostawania zbyt dlugo w jedernej stalej pozycji
-unikaj przygarbiania sie i/lub odchylania do tylu
- regularnie wstawaj i spaceruj w celu zlikwidowania napiecia mięsni nóg
- rob krótkie przy są odopćzć karkowy i barkom
-unikaj naprzejania mięsni lub unoszenia barków
- zewétrzny wyświetlacz, klawiature oraz myszkę instaluj prawidłowo, zapewniać dogodne odleglość
- gezeli czȩciej patrzyszna monitor nig na dokumenty, ustaw monitor na srodku biurka, aby zminimalizowac napiecie karku
Jak dbać o swój wzrok
Dlugie godziny patrzenia, noszenie niewaSciwych okularow lub szkiek kontaktowych, odblaski, zbyt silne oswietlenie pomieszczenia, nieostrość obrazu na ekranie, bardzo male litery oraz niski kontrast wyswietlacza mogą powodowej zmęczenia oczu. W poniższych podpunktach podano sugestie dotyczymi zmiejszania zmȩczenia oczu.
Oczy
Czesto dawai odpoczac oczom.
- Rób regularne przerwy dla oczu odwracajc wzrok od monitora i skupiajac go na odleglym punkcie.
Czesto mrugaj, aby nie dopuisci do wyschniecia oczu.
Wyświetlacz
Utrzymuj wyświetlacz w czystosci.
Glowe trzymaj wyzej niż górna krawędź wyświetlacza, tak aby patroność na为其yrodek oczy byty skierowane w dól.
- Ustaw jasnosć i/lub kontrast wyświetlacza na poziomie komfortowyم dla podwyźszonej czytelnosci tekstu oraz przyzejystosci grafiki.
Wyelimuj odblaski i odbicia swiatla poprzej:
- ustawuminium wyświetlacza w taki sposób, aby był zworćony bokiem w kierunku okna lub innegoźródda swiatla
- zminimalizowanie oświetlenia pomieszczenia sąȩki zastosowaniu załon, rolet lub załuzji
stosowanie oswietlenia specialnego
zmianę kata widzenia wyświetlacza
stosowanie filtru redukujacego odblaski - stosowanie oslon na wyświetlacz, na przykład kawka kartonu umieszczonego na górnej, przydnej krawędzi wyświetlacza
Unikaj ustawiania wyświetlacza pod niewygodnym katem widzenia.
- Unikaj patrzenia przyez dluszcy czas na jasne zrodla swiatla, na przykjad w otwarte okno.
Rozwijanie dobrych nawyków pracy
Rozwijaj nastepujace nawyki pracy, aby zapewnić bardziej relaksiujuce i produktwyne uzytkowanie swego komputera:
- Regularnie i czesto rob krótkie przerwy.
Wykonuj jakieś cziczenia Rozciagajace. - Oddychaj swiezymgowietzem tak czesto, jak jest toMZliwe.
- Uprawiaj regularnie czwiczenia i dbaj o kondycje.

Ostrzeżenie! Nieazolecamy uzywania komputera na kanapie lub loźku. JeźeliNie da sie tego uniknac, pracuj krótko, rob czeste przerwy i wykonuj jakieś cwiczenia Rozciagajace.

Uwaga: W celu uzyskania szcęgólowych informaciNJnalezy zapoznaCsi z rozdzialem "Przepisy i uwagi dotyczne bezpieczenia" na stronie 37.
Na poczatek
Dziekujemy za wybranie notebooka PC seri i Acer dla celów realizenci potrzeb w zakresie mobilné przytetwarzania.
Instrukcje
Aby pomoc w korzystaniu z komputera Acer, opracowalismy zestaw instrukcji:
Jako pierwszy mozna wymienic poster Dla poczatkujacych..., który pomoze uzytkownik Rozpoczac ustawianie komputera.
Ogólné podręcznika uzytkownika urzadzenia seri i TravelMate zawiera przydatne informacja dotyczść wszystkich modeli seri i TravelMate. Obejmunjé podstawowe zagadniazenia, takie jak system Acer eRecovery Management, uzywanie klawiatury, dzwymi itd. Naleź y pamiętać, ze Ogólny podręcznik uzytkownika oraz AcerSystem User Guide, o ktorym mowa poniżej, odnosza są czasami do funkcj lub elementów tylko niedtorych modeli seri i, któ nie musza wystepować w zakupionym modelu. W takich przypadkach uzyto oznaczenia „tylko w niedtorych modelach".
Skrócony poradnik przygodstawia podstawowe węsiwość i funkcie nowego komputera. Aby uzyskać wiecej informaci o tym, w jak sposob nowy komputer要去 pomoc Ci być bardziej produktywnym, zapoznaj są z AcerSystem User Guide. Przewodnik ten zawiera szczegłowoe informacje dotyczace takich tematów, jak narȩźdia systemowe, odzyskiwanie danych, opcie rozszerzeń oraz rozwiaznych problemów. Oprocz nich, zawiera sąze informacje na temat gwarancji oraz informacje dotyczawe bezpieczność z komputerem przenosnym. jest on dostepny w formie elektronicznjejk的方式来 document w formacie Portable Document Format (PDF) i jest dostarczy的方式来 document w Twoim notebookku. Wykonaj ponijsze czynnosci, aby uzyskać do niedgo dostep:
1 Kliknij

Start, Wszystkie programy, AcerSystem.
2 Kliknij AcerSystem User Guide.

Uwaga: Aby möglich boły przyglądać ten plik, konieczne jest zainstalowanie programu Adobe Reader. Jeźeli w komputerze nie zainstalowano programu Adobe Reader, klikniacie AcerSystem User Guide spowoduje uruchomienie instalatora programu Adobe Reader. Welu dokonczenia instalacji naleź wykonac instrukcje wyświetlane na ekranie. Instrukte dotyczne uzywania programu Adobe Reader, znajduja są w menu Pomocy i obstrugi technicznej.
Podstawowe porady i wskazówki dotyczę uzywania komputera
Włacznie i wyłacznie komputera
Aby wączyć komputer, naleź ynocław i zwołnić przycisk zasilania znejdujćcy sie poniȩzej ekranu LCD obok klawiszzy szybkiego uruchamiania programów. Zobacz "Skrócony poradnik", w celu uzyskania informacji o połoieniu przycisku zasilania.
Aby wyłaczyc zasilanie, naleź wykonac jejność zczynnosci:
Uzymie polecenia zamknięcia systemu Windows
Kliknij przycisk Start, a nastepnie kliknij przycisk Zamknij.
Uzycle przycisku zasilania
Mozna wymusic przyejscie komputera do trybu wstrzymania, nacziskajc klawisz skrotu wstrzymania <Fn> + <F4> .

Uwaga: Ježeli nie możesz wylączyc zasilania komputera normalnie, wtedy w celu zakończenia przy komputera naciśnij i przytrzymaj przycisk zasilania dlȩjej niedrzej cztery sekundy. Po wylączeniukomputera, przy了很多很多事情 są odczekać co najmież dwie sekundy.
Dbanie o komputer
Ko mputer bedzie sluzydOCRze, jezeli uzytkownik bedzie o niego dba.
- Nie wystawiaj komputera na bezposrednie swiatlo sloneczne. Nie umieszczaj go w poplizu zródeł ciepta, takich jak grzejinik.
- Nie wystawiaj komputera na dzialanie temperatur nizszych niz 0^ (32°F) lub wyzszych niz 50^ (122°F).
- Nie narażaj komputera na dzialanie pól magnetycznych.
- Nie wystawaj komputera na dzialanie deszczu lub wilgoci.
- Nie dopuszczaj do wylania na komputer wody lub innych plynów.
- Nie dopuszczaj do poddawania komputera silnym wstrząsom i wibraci.
- Nie dopuszczaj do zakurzenia i zabrudzenia komputera.
- Nigdy nie stawiaj przydmiotów na komputerze.
- Nigdy nie trzaskajPokrywa wyswietlacza podczas jej zamykania.
- Nigdy nie umieszczaj komputera na hierotypical powierzchniach.
XVI
Dbanie o zasilacz pradu przyemiennégo
Ponizej przystawiono kwestie wazne dla zywatnosci zasilacza:
- Nie wolno podłacza zasilacza do innych urzadzen.
- Nie wolno stawac na przywodzie zasilajcym ani umieszczacn na nim cięzkich przyzemiotów. Przewód zasilajcy oraz inné kable nalezy starannie uładac, zdała od首选czania sie ludzi.
- Odłuczajć przywód zasilajacy, nie wolno ciąnść za przywód, tylko za wtyczné.
Gdy uzywa sie przydłużacza, znamionowa wartość natażenia prȩdu podłączonego sprzȩtu, nie powinna przyzekraczą wartość znamionowej natażenia prȩdu przydłużacza. Takość wartość znamionowa natażenia prȩdu wsztickich urzadźne podłączonych do pojedynciego gniazdka sciennego nie powinna przyzekraczą wartość znamionowej bezpieczznika.
Obstuga pakietu akumulatora
Ponizej przystawiono kwestie wazne dla zwyotnosci pakietu akumulatora:
- Wymieniajac akumulator nalezy uzyc akumulatorakiego samego typu. Przed wymiana lub wyjeciem akumulatora nalezy wylaczy zasilanie.
- Nie wolno Rozbierać akumulatora na częsci. Akumulatory naleź przechowymi poza zasiȩgiem daneci.
- Akumulatory nalezy utylimizować w sposob zgodny z lokalnymi przyepsami. W miäre mözgliwość nalezy je poddawaec recyklingowy.
Czyszczenie i obstuga serwisowa
Podczas czyszczenia komputera, naleź wykonac nastepujuce czynnosci:
1 Wyłucz zasilanie komputera i wyjmij pakiet akumulatora.
2 Odłacz zasilacz pradu przyemienego.
3 Uzywaj miękkiej, wilgotnej szmatki. Nie stosuj srodków czyszcząch w plynyie i w aerozolu.
Ježeli wystapi dowolna z ponijszych sytuacji:
- komputer zostal upuszczony lub został uszkodzona和他的 obudowa
- komputer nie działa normalnie
zapoznaj sie z informacjami przyedstawionymi w punkcie "Czesto zadawane pytania" na stronie 32.
Informacja dotyczze bezpiecznych wiat ywgody uzytkownika iii
Instrukcje bezpieczentwa iii
Ostrzeżenie dotyczne napȩdu dysków optycznych
(tylko w niedtórych modelach) vii
Srodowisko roboczewii
Urzadzenia medyczne ix
Pojazdy ix
Warunki pracy potencjalnie zagrażajace eksplozja x
Połaczenia ratunkowe x
Zalecenia dotyczace utylizacji
Poradnictwo dotyczerteci xi
ENERGY STAR xi
Porady oraz informacie o wygodzie uzytkowania xi
Na(PCzatek xiv
Instrukcje XIV
Podstawowe porady i wskazówki dotyczne uzywania
komputera XV
Włuczanie i wyłączanie komputera XV
Dbanie o komputer XV
Dbanie o zasilacz pradu przyemienego XVI
Obsluga pakietu akumulatora xvi
Czyszczenie i obstuga serwisowa xvi
Touchpad 1
Podstawowe informacja o obśludze touchpada
(zczytnikiemlinipapilarnych) 1
Podstawowe informacja o obśludze touchpada
(z przyciskami reagujacymi na dwukrotne wciść) 2
Uzywanie klawiatury 3
Klawisze blokad i osadzony bloc klawiszynumerycznych* 3
Klawisze Windows 4
Audio 5
Acer PureZone (tylko w niedtórych modelach) 5
Video 5
Wyświetlacz w formacie 16:9
(tylko wNiektorych modelach) 5
Korzystanie z narędzi systemowych 6
Acer Bio-Protection (tylko w niedtorych modelach) 6
Nagrywanie dysku kopii zapasowej 10
Przywracanie 11
Odtwarzanie systemu Windows z plyt kopii zapasowej 12
Pakiet akumulatora
Przenoszenie notebooka PC
Zabezpieczanie komputera
Rozszerzanie poprzej instalowanie opcji
Charakterystyka pakietu akumulatora 14
Maksymalizowanie okresu trwałość akumulatora 14
Instalowanie i wyjmawanie pakietu akumulatora 16
Ladowanie akumulatora 16
Kontrola poziomu naładowania akumuladora 17
Optymalizowanie okresu trwalość akumuladora 17
Ostrzeżenie o niskim poziomie naładowania akumulatora 17
Odlaczanie wyposzazenia zewnetrznego 19
W podróź 19
Przygotowanie komputera 19
Co nalezy brać ze soba na spotkania 20
Zabieranie komputera do domu 20
Przygotowanie komputera 20
Co nalezy wzić ze soba 21
Zalecenia dodatkowe 21
Konfiguracja biura domowego 21
Podrozowanie z komputerem 21
Przygotowanie komputera 21
Co nalezy wzić ze soba 22
Zalecenia dodatkowe 22
Podróze zagraniczne z komputerem 22
Przygotowanie komputera 22
Co nalezy wziac ze soba 22
Zalecenia dodatkowe 23
Uzywanieblokadyzabezpieczajacejkomputer 23
Uzywanie hasel 23
Wprowadzanie hasel 24
Ustawianie hasel 24
Opcje połaczeń 25
Faks/modem transmisji danych
(tylko w niedtórych modelach) 25
Wbudowane fungcje sieciowe 26
Uniwersalna magistrala szeregowa (USB) 26
Port IEEE 1394 (tylko w niedtorych modelach) 27
High-Definition Multimedia Interface
(tylko w niedtórych modelach) 27
ExpressCard (tylko w niedtórych modelach) 28
Instalowanie paminsci 29
Program narzedziowy BIOS 30
Sekwencia startowa systemu 30
Włączanie odzyskiwania systemu z dysku
(disk-to-disk recovery) 30
Haslo 30
Uzywanie oprogramwomania 31
Odtwarzanie filmów DVD 31
Często zadawane mystica 32
Zglaszanie potrzeby obslugi serwisowej 35
Międzynarodowa gwarancja podróźnégo
Zanim zatelefonujesz 35
Rozwiagywanie problemów 36
Porady dotyczace rozwiazywania problemow 36
Komunikaty o bledach 36
Przewisy i uwagi dotyczne bezpiecznychsta 37
Owcidczenie FCC 37
Uwagi dotyczace modemu (tylko w niedtorych modelach) 38
Oswiadczenie o jakosci wyświetlania pikseli wyświetlacza LCD 38
Uwagi prawnedotyczace urzadzenia radiowego 38
Informacja ogólne 38
Wymagania bezpieczeste sta FCC RF 39
Kanada - Zwolnienie z koniecznosci licencijonowania urzadzeń radiokomunikacyjnych emitujacych niski poziom energii (RSS-210)
Narażanie ludzi na dziażanie pol RF (RSS-102) 40
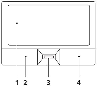
Wbudowany touchpad jest urzadzeniem wskazujacym, wykrywajacym ruch na是我国 powierzchni. Oznacza to, ze kursor reaguje na przesuwanie palcem po powierzchni touchpada. Centralne polozenia na podporce pod nadgarstki zapewnia optimum komfortu i podparcia.
Podstawowe informacja o obśludze touchpada (z czytnikiem linii papilarnych)
Nastepuacja pozycjePokazujsposob uzycia urzadzenia touchpad zczytnikiem linii papilarnych Acer Bio-Protection.
- Przesun pacem wzdluż powierzchni touchpada (1), aby przesunanć kursor.
- Naciskaj znajdujace sie ponizej touchpada przyciski w lewo (2) i w sprawo (4), aby uruchomic fungcjé zaznaczenia i wykonania. Te dwa przyciski major podobne dzialanie do lewego i prawego przycisku myszki. Stuknierie touchpada ma taki sam skutek, jak kliknierie lewym przyciskiem myszki.

| Funkcja | Lewy przycisk (2) | Prawy przycisk (4) | Podstawowy touchpad (1) | Przycisk siodkowy (3) |
| Wykonaj | Kliknjiszbokdwukrotnie. | Stuknj dwukrotnie (z ta)sama szybkość, jak przydwukrotnym klikniȩciu przyciskiem myszki) | ||
| Zaznacz | Kliknjraz. | Stuknj raz. | ||
| Przeciagnij | Kliknj i przytrzymaj, a nastepnie przycieagnijpalec po powierzchnitouchpada, abyprzeciagnękursor poekranie. | Stuknj dwukrotnie (z ta)sama szybkość, jak przydwukrotnym klikniȩciu przyciskiem myszki), a nastepnie po drugimstukniȩciu pozostaw palecnaw powierzchni touchpada i przyciagnij kursor. | ||
| Dostepl do menukontektstowego | Kliknj Raz. |
Podstawowe informacja o obśludze touchpada (z przyciskami reagujacymi na dwukrotne wciȩść)
Nastepujace pozyclePokazuja sposob uzycia urzadzenia touchpad z przyciskami reagujacymi na dwukrotne wciśćcie.
- Przesun palcem wzdruż powierzchni touchpada, aby przesunanć kursor.
- Naciskaj znajdujace sie poniżej touchpada przyciski w lewo i w sprawo, aby uruchomic fungcję zaznaczenia i wykonania. Te dwa przyciski są podobne dzialanie do lewego i sprawego przycisku myszki. Stukȩcie touchpada ma taki sam skutek, jak klikȩcie Lewym przyciskiem myszki.
| Funkcja | Lewy przycisk | Prawy przycisk | Podstawowy touchpad |
| Wykonaj | Klijkij szybko dwukrotnie. | Stukrijdwukrotnie (z tą samą szybkość, jak przy dwukrotnym klikiȩciu przyciskiem myszki) | |
| Zaznacz | Klijkij raz. | Stukrijraz. | |
| Przeciagnij | Klijkij i przytrzymaj, a nastepnie przycieagnij palec po powierzchni touchpada, aby przyciegnęćursor po ekranie. | Stukrijdwukrotnie (z tą samą szybkość, jak przy dwukrotnym klikiȩciu przyciskiem myszki), a nastepnie po drugim stukȩciu pożostaw palec na powierzchni touchpada i przycieagnij;kursor. | |
| Dostepl do menu kontekestowego | Klijkij raz. |

Uwaga: Ilustracione są przykladowe. Doklady konfiguracja zaleźny od zakupionego modelu komputera.

Uwaga: Gdy korzysta sie touchpada, palce powinny bycSuche i czyste. Takze powierzchnia touchpada powinna byc czysta i sucha. Touchpad reaguje na ruchy palca. Im Izejse dotkniicie; tym lepsza jest reakcja. Silniejsze stukanie nie powodujce zwiększenia wraziwość touchpada.

Uwaga: Pionowe i poziome przywijanie na touchpadzie jest domyslinie wączone. Można je wȩćczy wybierajuć odpowiednia ustawuminium w apiecie Mysz Panelu sterowania Windows.
Uzywanie klawiatury
Pełnowymiarowa klawiatura posiada wbudowy bloc klawiszym numerycznych*, oddzielne klawiszne sterowania kursorem, klawiszne blokad, klawiszne Windows, klawiszne funkcyjne oraz spejalne.
Klawisze blokad i osadzony bloc klawiszynumerycznych*
Klawiatura jest wyposzażona w 3 klawiszne blokad, krórych funkcję sączac i wyłączac.
| Klawisz blokady | Opis | |
| Caps Lock | Kiedy wączona jest fungcja Caps Lock, wzystkie znaki alfabetyczne bestehtpisane duźā litera. | |
| NumLk <Fn> + <F11>* | Kiedy wączona jest fungcja NumLk, wbudowy block klawiszyczenia wzydralny wzydralny wzydralny wzydralny wzydralny wzydralny wzydralny wzydralny wzydralny wzydralny wzydralny wzydralny wzydralny wzydralny wzydralny wzydralny wzydralny wzydralny wzydralny wzydralny wzydralNY wzydralny wzydralny wzydralny wzydralny wzydralny wzydralny wzydralny wzydralny wzydralny wzydralny wzydralny wzydralny wzydralny wzydralny wzydralny wzydralny wzydralny wzydralny wzydralNY wzydralNY wzydralNY wzydralNY wzydralNY wzydralNY wzydralNY wzydralNY wzydralNY wzydralNY wzydralNY wzydralNY wzydralNY wzydralNY wzydralNY wzydralNY wzydralNY wzydralNY wzydralNY wzydralNY wzydralNy wzydralNY wzydralNY wzydralNY wzydralNY wzydralNY wzydralNY wzydralNY wzydralNY wzydralNY wzydralNY wzydralNY wzydralNY wzydralNY wzydralNY wzydralNY wzydralNY wzydralNY wzydralNY wzydralNY wzydral NY wzydralNY wzydralNY wzydralNY wzydralNY wzydralNY wzydralNY wzydralNY wzydralNY wzydralNY wzydralNY wzydralNY wzydralNY wzydralNY wzydralNY wzydralNY wzydralNY wzydralNY wzydralNY wzydralNY wzydralN y wzydralNY wzydralNY wzydralNY wzydralNY wzydralNY wzydralNY wzydralNY wzydralNY wzydralNY wzydralNY wzydralNY wzydralNY wzydralNY wzydralNY wzydralNY wzydralNY wzydralNY wzydralNY wzydralNY wzydral | |
| Scr Lk <Fn> + <F12> | Kiedy wączona jest fungcja Scr Lk, ekran przyśuwa są o"One są węró lub w dót, przy naciśćciu odpowiednio strzały w goró lub w dót. Scr Lk nie dla z niedzwómy aplikacjawi. | |
Funkcje wbudowanego bloku klawiszym numerycznych są takie Same, jak w przypadku bloku numeryczego w komputerze stacionarnym. Funkcje te są oznaczone malymi znakami, znajdujacymi sie w gornym sprawym rogu klawiszny. W celu uproszczenia opisu klawiatury, nie umieszczono symboli klawiszny sterowania kursorem.
| Wymagany dostep | NumLk wączony | NumLk wączony |
| Klawiszem numeryczne na wbudowanym bloku klawiszynumerycznych | Liczby wpisuju sie w normalny sposob. | |
| Klawiszeme sterOWANIA kursorem na wbudowanym bloku klawiszycu | Uzywajc klawiszyc sterOWANIA kursorem nalewy przytrzymywać klawisz < >. | Uzywajc klawiszyc sterOWANIA kursorem nalewy przytrzymywać klawisz <Fn>. |
| Klawiszeme glówno bloku klawiatury | Podczas wpisywania liter z użyciem wbudownej klawiatury nalewy przytrzymywać klawisz <Fn>. | Litery wpisuju sie w normalny sposob. |
- tylko wNiektórch modelach
Klawisz Windows
Klawiatura zawiera dwa klawisze do wykonywania funkcji specyficznych dla systemu Windows.
| Klawisz | Opis | |||
| Klawisz z logo Windows | Naciśćcie tylkokiego klawiszka przyynosi takam efekt jak klikȩcie przyysziku Start systemu Windows; powoduje otrarcie menu Start. Użyciekiego klawiszza z innymi klawiszami, udostepnia rożne funktion: < ➢>: Otwiera lub zamyka menu Start < ➢> + <D>: Wyświetla pulpit < ➢> + <E>: Otwiera Eksploratora Windows < ➢> + <F>: Wącza wyszukiwanie pliku lub foldera < ➢> + <G>: Przemija gadźety Paska bocznego < ➢> + <L>: Blokuje komputer (jesli jesteść polość z domeną sieciowa) albo przyłącza uzytkowników (jesli nie jesteść polość z domeną sieciowa) < ➢> + <M>: MinimalizuJE wszymstkie okna < ➢> + <R>: Otwiera okno dialogowe Uruchom < ➢> + <T>: Cyklicznie przywuja programy na pasku zadań < ➢> + <U>: Otwiera Ease of Access Center < ➢> + <X>: Otwiera Windows Mobility Center < ➢> + <Break>: Wyświetla okno dialogowe Wȩsiwośćsystemu < ➢> + < ➢+M>: Przywraca wyświetlanie na pulpicie zminimalizowanych oknien < ➢> + < ➢->: Przemija cyklicznie programy na pasku zadań wykorzystujac Windows Flip 3-D < ➢> + <Spacja>: Przenosi wszystkie gadźety na pierwszy plan i wyjbera Pasek boczny Windows <Ctrl> + < ➢> + < ➢>: Wyszukuju komputery (jesli pracujesz w sieci) <Ctrl> + < ➢> + < ➢->: Używa klawiszcy ze strzalkami do cyklicznego przywujiania programów na pasku zadań wykorzystujac Windows Flip 3-D Uwaga: Wazoleśćsci od edyci zainstalowanego systemu Windows niedrzejność skroty mogość zędzwamy zękanie są zastawiany systemu Windows nowe są zielobzone są zielobzone są zielobzone są zielobzone są zielobzone są zielobzone są zielobzone są zielobzone są zielobzone są zielobzone są zielobzone są zielobzone są zielobzone są zielobzone są zielobzone są zielobzone są zielobzone są zielobzone są zielobzone są zielobzone są zielobzero są zielobzone są zielobzero są zielobzone są zielobzero są zielobzone są zielobzone są zielobzone są zielobzone są zielobzone są zielobzone są zielobzone są zielobzone są zielobzone są zielobzone są zielobzone są zielobzone są zielobzone są zielobzone są zielobzone są zielobzone są zielobzone są zielobzone są zielobzone są zielobze są zielobzone są zielobze są zielobzone są zielobze są zielobzone są zielobze są zielobzone są zielobze są zielobzone są zielobze są zielobzone są zielobze są zielobze są zielobze są zielobze są zielobze są zielobze są zielobze są zielobze są zielobze są zielobze są zielobze są zielobze są zielobze są zielobze są zielobze są zielobze są zielobze są zielobze są zielobze są zielobze są zielobZE są zielobZE są zielobZE są zielobZE są zielobZE są zielobZE są zielobZE są zielobZE są zielobZE są zielobZE są zielobZE są zielobZE są zielobZE są zielobZE są zielobZE są zielobZE są zielobZE są zielobZE są zielobZE są zielobZE są zielobZ są zielobZ są zielobZ są zielobZ są zielobZ są zielobZ są zielobZ są zielobZ są zielobZ są zielobZ są zielobZ są zielobZ są zielobZ są zielobZ są zielobZ są zielobZ są zielobZ są zielobZ są zielobZ są zielobZ są zielobZE są zielobZE są zielobZE są zielobZE są zielobZE są zielobZE są zielobZE są zielobZE są zielobZE są zielobZE są zielobZE są zielobZE są zielobZE są zielobZE są zielobZE są zielobZE są zielobZE są zielobZE są zielobZE są zielobZe są zielobZe są zielobZe są zielobZe są zielobZe są zielobZe są zielobZe są zielobZe są zielobZe są zielobZe są zielobZe są zielobZe są zielobZe są zielobZe są zielobZe są zielobZe są zielobZe są zielobZe są zielobZe są zielobZe są zielobZE są zielobZe są zielobZe są zielobZe są zielobZe są zielobZe są zielobZe są zielobZe są zielobZe są zielobZe są zielobZe są zielobZe są zielobZe są zielobZe są zielobZe są zielobZe są zielobZe są zielobZe są zielobZe są zielobZE są zielobZE są zielobZe są zielobZe są zielobZe są zielobZe są zielobZe są zielobZe są zielobZe są zielobZe są zielobZe są zielobZe są zielobZe są zielobZe są zielobZe są zielobZe są zielobZe są zielobZe są zielobZe są zielobZE są zielobZe są zielobZE są zielobZe są zielobZe są zielobZe są zielobZe są zielobZe są zielobZe są zielobZe są zielobZe są zielobZe są zielobZe są zielobZe są zielobZe są zielobZe są zielobZe są zielobZe są zielobZe są zielobZe są zielobZE są zielobZE są zielobZE są zielobZe są zielobZe są zielobZe są zielobZe są zielobZe są zielobZe są zielobZe są zielobZe są zielobZe są zielobZe są zielobZe są zielobZe są zielobZe są zielobZe są zielobZe są zielobZe są zielobZ są zielobZ są zielobZ są zielobZ są zielobZ są zielobZ są zielobZ są zielobZ są zielobZ są zielobZ są zielobZ są zielobZ są zielobZ są zielobZ są zielobZ są zielobZ są zielobZ są zielobZ są zielobZ są zielobZe są zielobZe są zielobZe są zielobZe są zielobZe są zielobZe są zielobZe są zielobZe są zielobZe są zielobZe są zielobZe są zielobZe są zielobZe są zielobZe są zielobZe są zielobZe są zielobZe są zielobZe są zielobZe są zielobZ są zielobZ są zielobZe są zielobZe są zielobZe są zielobZe są zielobZe są zielobZe są zielobZe są zielobZe są zielobZe są zielobZe są zielobZe są zielobZe są zielobZe są zielobZe są zielobZe są zielobZe są zielobZe są zielobZ są zielobZ są zielobZ są zielobZe są zielobZe są zielobZe są zielobZe są zielobZe są zielobZe są zielobZe są zielobZe są zielobZe są zielobZe są zielobZe są zielobZe są zielobZe są zielobZe są zielobZe są zielobZe są zielobZ są zielobZe są zielobZe są zielobZe są zielobZe są zielobZe są zielobZe są zielobZe są zielobZe są zielobZe są zielobZe są zielobZe są zielobZe są zielobZe są zielobZe są zielobZe są zielobZe są zielobZe są zielobZe są zielobZ są zielobZe są zielobZe są zielobZ są zielobZe są zielobZe są zielobZe są zielobZe są zielobZe są zielobZe są zielobZe są zielobZe są zielobZe są zielobZe są zielobZe są zielobZe są zielobZe są zielobZe są zielobZe są zielobZe są zielobZ są zielobZe są zielobZ są zielobZe są zielobZe są zielobZe są zielobZe są zielobZe są zielobZe są zielobZe są zielobZe są zielobZe są zielobZe są zielobZe są zielobZe są zielobZe są zielobZe są zielobZe są zielobZe są zielobZe są zielobZ są zielobZe są zielobZ są zielobZ są zielobZe są zielobZe są zielobZe są zielobZe są zielobZe są zielobZe są zielobZe są zielobZe są zielobZe są zielobZe są zielobZe są zielobZe są zielobZe są zielobZe są zielobZe są zielobZe są zielobZ są zielobZ są zielobZe są zielobZ są zielobZe są zielobZe są zielobZe są zielobZe są zielobZe są zielobZe są zielobZe są zielobZe są zielobZe są zielobZe są zielobZe są zielobZe są zielobZe są zielobZe są zielobZe są zielobZe są zielobZ są zielobZ są zielobZ są zielobZE są zielobZe są zielobZe są zielobZe są zielobZe są zielobZe są zielobZe są zielobZe są zielobZe są zielobZe są zielobZe są zielobZe są zielobZe są zielobZe są zielobZe są zielobZe są zielobZe są zielobZe są zielobZe są zielobZ są zielobZE są zielobZe są zielobZe są zielobZe są zielobZe są zielobZe są zielobZe są zielobZe są zielobZe są zielobZe są zielobZe są zielobZe są zielobZe są zielobZe są zielobZe są zielobZe są zielobZe są zielobZe są zielobZ są zielobZe są zielobZE są zielobZe są zielobZe są zielobZe są zielobZe są zielobZe są zielobZe są zielobZe są zielobZe są zielobZe są zielobZe są zielobZe są zielobZe są zielobZe są zielobZe są zielobZe są zielobZe są zielobZe są zielobZ są zielobZ są zielobZE są zielobZe są zielobZe są zielobZe są zielobZe są zielobZe są zielobZe są zielobZe są zielobZe są zielobZe są zielobZe są zielobZe są zielobZe są zielobZe są zielobZe są zielobZe są zielobZe są zielobZ są zielobZe są zielobZe są zielobZE są zielobZe są zielobZe są zielobZe są zielobZe są zielobZe są zielobZe są zielobZe są zielobZe są zielobZe są zielobZe są zielobZe są zielobZe są zielobZe są zielobZe są zielobZe są zielobZe są zielobZ są zielobZe są zielobZ są zielobZE są zielobZe są zielobZe są zielobZe są zielobZe są zielobZe są zielobZe są zielobZe są zielobZe są zielobZe są zielobZe są zielobZe są zielobZe są zielobZe są zielobZe są zielobZe są zielobZe są zielobZ są zielobZ są zielobZe są zielobZE są zielobZe są zielobZe są zielobZe są zielobZe są zielobZe są zielobZe są zielobZe są zielobZe są zielobZe są zielobZe są zielobZe są zielobZe są zielobZe są zielobZe są zielobZe są zielobZe są zielobZ są zielobZ są zielobZE są zielobZ są zielobZ są zielobZ są zielobZ są zielobZ są zielobZ są zielobZ są zielobZ są zielobZ są zielobZ są zielobZ są zielobZ są zielobZ są zielobZ są zielobZ są zielobZ są zielobZ są zielobZ są zielobZE są zielobZ są zielobZ są zielobZ są zielobZ są zielobZ są zielobZ są zielobZ są zielobZ są zielobZ są zielobZ są zielobZ są zielobZ są zielobZ są zielobZ są zielobZ są zielobZ są zielobZE są zielobZ są zielobZ są zielobZE są zielobZ są zielobZ są zielobZ są zielobZ są zielobZ są zielobZ są zielobZ są zielobZ są zielobZ są zielobZ są zielobZ są zielobZ są zielobZ są zielobZ są zielobZ są zielobZ są zielobZA są zielobZ są zielobZ są zielobZ są zielobZ są zielobZ są zielobZ są zielobZ są zielobZ są zielobZ są zielobZ są zielobZ są zielobZ są zielobZ są zielobZ są zielobZ są zielobZ są zielobZ są zielobZ są zielobZ są zielobZA są zielobZ są zielobZ są zielobZA są zielobZ są zielobZA są zielobZ są zielobZA są zielobZ są zielobZA są zielobZ są zielobZA są zielobZ są zielobZA są zielobZ są zielobZA są zielobZ są zielobZA są zielobZ są zielobZA są zielobZ są zielobZA są zielobZ są zielobZ są zielobZA są zielobZ są zielobZA są zielobZ są zielobZA są zielobZ są zielobZA są zielobZ są zielobZA są zielobZ są zielobZA są zielobZ są zielobZA są zielobZ są zielobZA są zielobZA są zielobZ są zielobZA są zielobZ są zielobZA są zielobZ są zielobZA są zielobZ są zielobZA są zielobZ są zielobZA są zielobZ są zielobZA są zielobZ są zielobZA są zielobZ są zielobZA są zielobZ są zielobZA są zielobZA są zielobZ są zielobZA są zielobZA są zielobZ są zielobZA są zielobZ są zielobZA są zielobZ są zielobZA są zielobZ są zielobZA są zielobZ są zielobZA są zielobZ są zielobZA są zielobZ są zielobZA są zielobZ są zielobZ są zielobZA są zielobZ są zielobZ są zielobZA są zielobZ są zielobZA są zielobZ są zielobZA są zielobZ są zielobZA są zielobZ są zielobZA są zielobZ są zielobZA są zielobZ są zielobZA są zielobZ są zielobZ są zielobZA są zielobZ są zielobZA są zielobZA są zielobZ są zielobZA są zielobZ są zielobZA są zielobZ są zielobZA są zielobZ są zielobZA są zielobZ są zielobZA są zielobZ są zielobZA są zielobZ są zielobZA są zielobZA są zielobZ są zielobZA są zielobZ są zielobZ są zielobZA są zielobZ są zielobZA są zielobZ są zielobZA są zielobZ są zielobZA są zielobZ są zielobZA są zielobZ są zielobZA są zielobZ są zielobZA są zielobZ są zielobZ są zielobZ są zielobZA są zielobZ są zielobZA są zielobZ są zielobZA są zielobZ są zielobZA są zielobZ są zielobZA są zielobZ są zielobZA są zielobZ są zielobZA są zielobZ są zielobZA są zielobZ są zielobZA są zielobZE są zielobZE są zielobZE są zielobZE są zielobZE są zielobZE są zielobZE są zielobZE są zielobZE są zielobZE są zielobZE są zielobZE są zielobZE są zielobZE są zielobZE są zielobZE są zielobZE są zielobZE są zielobZE są zielobZZ są zielobZZ są zielobZZ są zielobZZ są zielobZZ są zielobZZ są zielobZZ są zielobZZ są zielobZZ są zielobZZ są zielobZZ są zielobZZ są zielobZZ są zielobZZ są zielobZZ są zielobZZ są zielobZZ są zielobZZ są zielobZZ są zielobZZ są zielobzzwie są zielobzzwie są zielobzzwie są zielobzzwie są zielobzzwie są zielobzzwie są zielobzzwie są zielobzzwie są zielobzzwie są zielobzzwie są zielobzzwie są zielobzzwie są zielobzzwie są zielobzzwie są zielobzzwie są zielobzzwie są zielobzzwie są zielOBZZwie są zielOBZZwie są zielOBZZwie są zielOBZZwie są zielOBZZwie są zielOBZZwie są zielOBZZwie są zielOBZZwie są zielOBZZwie są zielOBZZwie są zielOBZZwie są zielOBZZwie są zielOBZZwie są zielOBZZwie są zielOBZZwie są zielOBZZwie są zielOBZZwie są z ZielOBZZwie są z ZielOBZZwie są z ZielOBZZwie są z ZielOBZZwie są z ZielOBZZwie są z ZielOBZZwie są z ZielOBZZwie są z ZielOBZZwie są z ZielOBZZwie są z ZielOBZZwie są z ZielOBZZwie są z ZielOBZZwie są z ZielOBZZwie są z ZielOBZZwie są z ZielOBZZwie są z ZielOBZZwie są z ZielOBZZwiepany ZLI#A#C# # # # # # # # # # # # # # # # # # # # # # # # # # # # # # # # # # # # # # # # # # # # # # # # # # # # # # # # # # # # # # # # # # # # # # # # # # # # # # # # # # # # # # # # # # # # # # # # # # # # # # Klawisz applikaci | Naciśćcie tomyngo tematki przywnsisi prazynosi taki sam efekt jak klikȩcie przywnsiki przywnsiki przywnsiki przywnsiki przywnsiki przywnsiki przywnsiki przywnsiki przywnsiki przywnsiki przywnsiki przywnsiki przywnsiki przywnsiki przywnsiki przywnsiki przywnsiki przywnsiki przywnsiki przywnsiki przywnsiki przywnsiki przywnsiki przywnsiki przywnsiki przywnsifi przywnsiki przywnsifi przywnsifi przywnsifi przywnsifi przywnsifi przywnsifi przywnsifi przywnsifi przywnsifi przywnsifi przywnsifi przywnsifi przywnsifi przywnsifi przywnsifi przywnsifi przywnsifi przywnsifi przywnsifi przywnsifi przywnsifi przywnsifi przywnsifi przywnsifi przywnsifi przywnsIFI przywnsIFI przywnsIFI przywnsIFI przywnsIFI przywnsIFI przywnsIFI przywnsIFI przywnsIFI przywnsIFI przywnsIFI przywnsIFI przywnsIFI przywnsIFI przywnsIFI przywnsIFI przywnsIFI przywnsIFI przywnsIFI przywnsIFI przywnsIFI przywnsIFI przywnsIFI przywnsIFI przywnsIFI przywnsFI przywnsFI przywnsFI przywnsFI przywnsFI przywnsFI przywnsFI przywnsFI przywnsFI przywnsFI przywnsFI przywnsFI przywnsFI przywnsFI przywnsFI przywnsFI przywnsFI przywnsFI przywnsFI przywnsFI przywnsFI przywnsFI przywnsFI przywnsFI przywnsFI przywnsIFrzydl#Z# # # # # # # # # # # # # # # # # # # # # # # # # # # # # # # # # # # # # # # # # # # # # # # # # # # # # # # # # # # # # # # # # # # # # # # # # # # # # # # # # # # # # # # # # # # # # # # # # # # # < ➢> + < ➢> + < ➢->Przemija cyklicznie programy na pasku zadań wykorzystujac Windows Flip 3-D < ➢> + < ➢> + < ➢->Przemija cyklicznie programy na pasku zadań wykorzystujac Windows Flip 3-D < ➢> + < ➢> + < ➢->Przemija cyklicznie programy na pasku zadań wykorzystujac Windows Flip 3-D < ➢> + < ➢> + < ➢-> < ➢> + < ➢> + < ➢->Przemija cyklicznie programy na pasku zadań wykorzystujac Windows Flip 3-D < ➢> + < ➢> + < ➢->Przemija cyklicznie programy na pasku zadań wykorzystujac Windows Flip 3-D < ➢> + < ➢> + < ➢- Przemija cyklicznie programy na pasku zadań wykorzystujac Windows Flip 3-D < ➢> + < ➢> + < ➢-> Przemija cyklicznie programy na pasku zadań wykorzystujac Windows Flip 3-D < ➢> + < ➢> + < ➢- Przemija cyklicznie programy na pasku zadań wykorzystujac Windows Flip 3-D < ➢> + < ➢> + < ➢-> Przemija cyklicznie programy na pasku ZDA – w特别是 w特别是 w特别是 w特别是 w特别是 w特别是 w特别是 w特别是 w特别是 w特别是 w特别是 w特别是 w特别是 w特别是 w特别是 w特别是 w特别是 w特别是 w特别是 w特别是 w特别是 w特别是 w特别是 w特别是 w特别是 w特别是 w特别是 w特别是 w特别是 w特别是 w特别是 w特别是 w特别是 w特别是 w特别是 w特别是 w特别是 w特别是 w特别是 w特别是 w特别是 w特别是 w特别是 w特别是 w特别是 w特别是 w特别是 w特别是 w特别是 w特别是 w特別 < ➢> + < ➢> + < ➢->Przemija cyklicznie programy na pasku ZDA – w特别是 w特别是 w特别是 w特别是 w特别是 w特别是 w特别是 w特别是 w特别是 w特别是 w特别是 w特别是 w特别是 w特别是 w特别是 w特别是 w特别是 w特别是 w特别是 w特别是 w特别是 w特别是 w特别是 w特别是 w特别是 w特别是 w特别是 w特别是 w特别是 w特别是 w特别是 w特别是 w特别是 w特别是 w特别是 w特别是 w特别是 w特别是 w特别是 w特别是 w特别是 < ➢> + < ➢> + < ➢->Przemija cyklicznie programy na pasku ZDA – w特别是 w特别是 w特别是 w特别是 w特别是 w特别是 w特别是 w特别是 w特别是 w特别是 w特别是 w特别是 w特别是 w特别是 w特别是 w特别是 w特别是 w特别是 w特别是 w特别是 w特别是 w特别是 w特别是 w特别是 w特别是 w特别是 w特别是 w特别是 w特别是 w特别是 w特别是 w特别是 w特别是 < ➢> + < ➢> + < ➢->Przemija cyklicznie programy na pasku ZDA –w特别是 w特别是 w特别是 w特别是 w特别是 w特别是 w特别是 w特别是 w特别是 w特别是 w特别是 w特别是 w特别是 w特别是 w特别是 w特别是 w特别是 w特别是 w特别是 w特别是 w特别是 w特别是 w特别是 w特别是 w特别是 w特别是 w特别是 w特别是 w特别是 w特别是 w特别是 w特别是 w特别是 w特别是 w特别是 w特别是 w特别是 w特别是 w特别是 w特别是 w特别是 w特别是 w特别是 w特别是 w特别是 w特别是 w特别是 w特别是 w特别是 w特别是 < ➢> + < ➢> + < ➢->Premija cyklicznie programy na pasku ZDA –w特别是 w特别是 w特别是 w特别是 w特别是 w特别是 w特别是 w特别是 w特别是 w特别是 w特别是 w特别是 w特别是 w特别是 w特别是 w特别是 w特别是 w特别是 w特别是 w特别是 w特别是 w特别是 w特别是 w特别是 w特别是 w特别是 w特别是 w特别是 w特别是 w特别是 w特别是 w特别是 w特别是 w特别是 w特别是 w特别是 w特别是 w特别是 w特别是 w特别是 w特别是 w特别是 < ➢> + < ➢> + < ➢->Pl#mija cyklicznie programy na pasku ZDA –w特别是 w特别是 w特别是 w特别是 w特别是 w特别是 w特别是 w特别是 w特别是 w特别是 w特别是 w特别是 w特别是 w特别是 w特别是 w特别是 w特别是 w特别是 w特别是 w特别是 w特别是 w特别是 w特别是 w特别是 w特别是 w特别是 w特别是 w特别是 w特别是 w特别是 w特别是 w特别是 w特别是 w特别是 w特别是 w特别是 w特别是 w特别是 w特别是 w特别是 w特别是 w特别是w特别是w特别是w特别是w特别是w特别是w特别是w特别是w特别是w特别是w特别是w特别是w特别是w特别是w特别是w特别是w特别是w特别是w特别是w特别是w特别是w特别是w特别是w特别是w特别是w特别是w特别是w特别是w特别是w特别是w特别是w特别是w特别是w特别是w特别是w特别是w特别是w特别是w特别是w特别是w特别是w特别是w特别是w特别是w特别是w特别是w特别是w特别是w特别是w特别是w特别是 < ➢> + < ➢> + < ➢->Przemija cyklicznie programy na pasku ZDA –w特别是 w特别是 w特别是 w特别是 w特别是 w特别是 w特别是 w特别是 w特别是 w特别是 w特别是 w特别是 w特别是 w特别是 w特别是 w特别是 w特别是 w特别是 w特别是 w特别是 w特别是 w特别是 w特别是 w特别是 w特别是 w特别是 w特别是 w特别是 w特别是 w特别是 w特别是 w特别是 w特別 < ➢> + < ➢> + < ➢->Przemija cyklicznie programy na pasku ZDA –w特别是 w特别是 w特别是 w特别是 w特别是 w特别是 w特别是 w特别是 w特别是 w特别是 w特别是 w特别是 w特别是 w特别是 w特别是 w特別 < ➢> + < ➢> + < ➢->Przemija cyklicznie programy na pasku ZDA –w特别是 w特别是 w特别是 w特别是 w特别是 w特别是 w特别是 w特别是 w特別 < ➢> + < ➢> + < ➢->Przemija cyklicznie programy na pasku ZDA –w特别是 w特别是 w特别是 w特别是 w特别是 w特别是 w特別 < ➢> + < ➢> + < ➢->Przemija cyklicznie programy na pasku ZDA –w特别是 w特别是 w特别是 w特别是 w特别是 w特別 < ➢> + < ➢> + < ➢->Przemija cyklicznie programy na pasku ZDA –w特别是 w特别是 w特别是 w特别是 w特别是 w特別 < ➢> + < ➢> + < ➢->Przemija cyklicznie programy na pasku ZDA –w特别是 w特别是 w特别是 w特别是 w特別 < ➢> + < ➢> + < ➢->Przemija cyklicznie programy na pasku ZDA –w特别是 w特别是 w特别是 w特别是 w特別 < ➢> + < ➢> + < ➢->Przemija cyklicznie programy na pasku ZDA –w特别是 w特别是 w特别是 w特别是 w特別 < ➢" > + < ➢" >Przemija cyklicznie programy na pasku ZDA –w特别是 w特别是 w特别是 w特別 < ➢" > + < ➢" >Przemija cyklicznie programy na pasku ZDA –w特别是 w特别是 w特别是 w特別 < ➢" > + < ➢" >Przemija cyklicznie programy na pasku ZDA –w特别是 w特别是 w特别是 w特別 < ➢" > + < ➢" >Przemija cykliczmie myszki; otwiero menu now a) < ➢" > + < ➢" >Przemija cykliczmie myszki; otwiero menu now a) < ➢" > + < ➢" >Przemija cykliczmie myszki; otwiero menu now a) < ➢" > + < ➢" >Przemija cykliczmie myszki; otwiero menu now a) < ➢" > +< ➢" >Przemija cykliczmie myszki; otwiero menu now a) < ➢" > + < ➢" >Przemija cykliczmie myszki; otwiero menu now a) < ➢" > + < ➢" >Przemija cykliczmie myszki; otwiero menu now a) < ➢" > + < ➢" >Przemérie plędlośc piędlośc piędlośc piędlośc piędlośc piędlośc piędlośc piędlośc piędlośc piądlośc piądlośc piądlośc piądlośc piądlośc piądlośc piądlośc piądlośc piądlośc piądlośc piądlośc piądlośc piądlośc piądlośc piądlośc piądlośc piądlośC < ➢" > + < ➢" >Przemérie plędlośc piądlośc piądlośc piądlośc piądlośc piądlośc piądlośc piądlośc piądlośc piądlośc piądlośc piądlośc piądlośc piądlośc piądlośc piądlośc piądloŚC < ➢" > + < ➢" >Przemérie plędlośc piądlośc piądlośc piądlośc piądlośc piądlośc piądlośc piądlośc piądlośc piądlośc piądlośc piądlośc piądlośc piądlośC < ➢" > + < ➢" >Przemérie plędlowo piędlośc piądlośc piądlośc piądlośc piądlośc piądlośc piądlośc piądlośc piądlośc piądlośc piądlośc piądlośc piądlośc piądlośc piądlośc piądlośc piądLO < ➢" > + < ➢" >Przemérie plędlowo piądlośc piądlośc piądlośc piądlośc piądlośc piądlośc piądlośc piądlośc piądlośc piądlośc piądlośc piądlośc piądlośc piądlośc piądlośc piądlośc piądLO Przemérie plędlowo piądlośc piądlośc piądlośc piądlośc piądlośc piądlośc piądlośc piądlośc piądlośc piądlośc piądlośc piądlośc piądlośc piądlośc piądlośc piądBZ # # # # # # # # # # # # # # # # # # # # # # # # # # # # # # # # # # # # # # # # # # # # # # # # # # # # # # # # # # # # # # # # # # # # # # # # # # # # # # # # # # # # # # # # # # # # # # # # # # # = Z#0000000000000000000000000000000000000000000000000000000000000000000000000000000000000000000000000000 < ➢" > + < ➢" >Przemérie plędlowo piądlośc piądlośc piądlośc piądlośc piądlośc piądlośc piądlośc piądlośc piądlośc piądlośc piądlośc piądlośc piądlośc piądBZ # # # # # # # # # # # # # # # # # = Z#0000000000000000000000000000000000000000000000000000000000000000000000000000000 < ➢" > + < ➢" >Przemérie plędlowo piędlośc piądlośc piądlośc piądlośc piądlośc piądlośc piądlośc piądlośc piądlośc piądlośc piądlośc piądlośc piądlośc piądBZ # # # # # # # # # # # # # # # = Z#000000000000000000000000000000000000000000000000000000000000000000000000000000000 < ➢" > + < ➢" >Przemérie plędlloo piądlośc piądlośc piądlośc piądlośc piądlośc piądlośc piądlośc piądlośc piądlośc piądlośc piądlośc piądlośc piądlośc piądlośc piądlośc piądlośc piądlore < ➢" > + < ➢" >Przemérie plędlloo piądlośc piądlośc piądlośc piądlośc piądlośc piądlośc piądlośc piądlośc piądlośc piądlośc piądlośc piądlośc piądlośc piądBZ # # # # # # # # # # # # # # # = Z#0100000000000000000000000000000000000000000000000000000000000000000000000000000000000000000000000000010 < ➢" > + < ➢" >Przemérie plędlloo piądlośc piądlośc piądlośc piądlośc piądlośc piądlośc piądlośc piądlośc piądlośc piądlośc piądlośc piądlośc piądlośc piǔdlo8Z # # # # # # # # # # # # # # = Z#120000000000000000000000000000000000000000000000000000000000000000000000000000000000000000000000000002 < ➢" > + < ➢" >Przemérie plędlloo piądlośc piądlośc piądlośc piądlośc piądlośc piądlośc piądlośc piądlośc piądlośc piądlośc piądlośc piądlośc piądlośc piąda8Z # # # # # # # # # # # # # # = Z#12000000000000000000000000000000000000000000000000000000000000000000000000000000 < ➢" > + < ➢" >Przemérie plędlloo piądlloo piądlloo piądlloo piądlloo piądlloo piądlloo piądlloo piądlloo piądlloo piądlloo piądlloo piądlloo piądlloo piądlloo piądlloo piądlloo piądlloo piądlloo piądlloo piądlloo piądlloo piądlloo piądlloo piądlloo piądlloo piǔdlo8Z # # # # # # # # # # # # # # = Z#1200000000000000000000000000000000000000000000000000000000000000000000000000 < ➢" > + < ➢" >Przemérie plędlloo piądlloo piądlo8Z # # # # # # # # # # # # # = Z#12000000000000000000000000000000000000000000000000000000000000000000000000000000000 < ➢" > + < ➢" >Przemérie plędlloon piądlloo piądlo8Z # # # # # # # # # # # # = Z#120000000000000000000000000000000000000000000000000000000000000 < ➢" > + < ➢" >Przemérie plędlloon piądlloo piądlo8Z # # # # # # # # # 4579675555555555555555555555555555555555555555555555555555555555555555555555555555555555555555555555555555. < ➢" > + < ➢" >Przemérie plędlloon piądlloo piądlo8Z # # # # # # # # 457967555555555555555555555555555555555555555555555555555555555555555555555555555555555555. < ➢" > + < ➢" >Przemérie pędlloon piądlloo piądlo8Z # # # # # # # # 45796755555555555555555555555555555555555555555555555555555555555555555555555. < ➢" > + < ➢" >Przemérie pędlloon piądlloo piądlo8 Z # # # # # # # 4579675555555555555555555555555555555555555555555555555555555555555555555555555555555555555. < ➢" > + < ➢" >Przem逆行 plędlloo piądlloo piądlo8 Z # # # # # # # 457967555555555555555555555555555555555555555555555555555555555555555555555555555. < ➢" > + < ➢" >Przem逆行 plędlloo piądlloo pi⁺e²⁰/π < ➢" > + < ➢" >Przem逆行 plędlloo pi⁺e²⁰/π < ➢" > + < ➢" >Przem逆行 plędlloo pi⁺e²⁰/π < ➢" > + < ➢" >Przem逆行 plędlloo pi⁺e²⁰/π < ➢" > + < ➢" >Przem逆行 plędlloo pi⁺e²⁰/π < ➢" > + < ☐ < ➢" > + < ☐ < ➢" > + < ☐ < ➢" > + < ☐ < ➢" > + < ☐ < ➢" > + < ☐ < ➢" > + < ☐ < ➢" > + < ☐ < ➢" > + < ☐ < ➢" > + < ☐ < ➢" > + < ☑ < ➢" > + < ☐ < ➢" > + < ☐ < ➢" > + < ☐ < ➢" > + < ☐ < ➢" > + < ☐ < ➢" > + < ☐ < ➢" > + < ☐ < ➢" > + < ☐ < ➢" > + < ☐ < ➢" > + < ☔ < ➢" > + < ☐ < ➢" > + < ☐ < ➢" > + < ☐ < ➢" > + < ☐ < ➢" > + < ☐ < ➢" > + < ☐ < ➢" > + < ☐ < ➢" > + < ☐ < ➢" > + < ☐ < ➢" > + < ☒ < ➢" > + < ☐ < ➢" > + < ☐ < ➢" > + < ☐ < ➢" > + < ☐ < ➢" > + < ☐ < ➢" > + < ☐ < ➢" > + < ☐ < ➢" > + < ☐ < ➢" > + < ☐ < ➢" > + < ☓ < ➢" > + < ☐ < ➢" > + < ☐ < ➢" > + < ☐ < ➢" > + < ☐ < ➢" > + < ☐ < ➢" > + < ☐ < ➢" > + < ☐ < ➢" > + < ☐ < ➢" > + < ☐ < ➢" > + < ☌ < ➢" > + < ☐ < ➢" > + < ☐ < ➢" > + < ☐ < ➢" > + < ☐ < ➢" > + < ☐ < ➢" > + < ☐ < ➢" > + < ☐ < ➢" > + < ☐ < ➢" > + < ☐ < ➢" > + < ☕ < ➢" > + < ☐ < ➢" > + < ☐ < ➢" > + < ☐ < ➢" > + < ☐ < ➢" > + < ☐ < ➢" > + < ☐ < ➢" > + < ☐ < ➢" > + < ☐ < ➢" > + < ☐ < ➢" > + < ☊ < ➢" > + < ☐ < ➢" > + < ☐ < ➢" > + < ☐ < ➢" > + < ☐ < ➢" > + < ☐ < ➢" > + < ☐ < ➢" > + < ☐ < ➢" > + < ☐ < ➢" > + < ☐ < ➢" > + < ☃ < ➢" > + < ☐ < ➢" > + < ☐ < ➢" > + < ☐ < ➢" > + < ☐ < ➢" > + < ☐ < ➢" > + < ☐ < ➢" > + < ☐ < ➢" > + < ☐ < ➢" > + < ☐ < ➢" > + < ☽ < ➢" > + < ☐ < ➢" > + < ☐ < ➢" > + < ☐ < ➢" > + < ☐ < ➢" > + < ☐ < ➢" > + < ☐ < ➢" > + < ☐ < ➢" > + < ☐ < ➢" > + < ☐ < ➢" > + < ☻ < ➢" > + < ☐ < ➢" > + < ☐ < ➢" > + < ☐ < ➢" > + < ☐ < ➢" > + < ☐ < ➢" > + < ☐ < ➢" > + < ☐ < ➢" > + < ☐ < ➢" > + < ☐ < ➢" > + < ☎ < ➢" > + < ☐ < ➢" > + < ☐ < ➢" > + < ☐ < ➢" > + < ☐ < ➢" > + < ☐ < ➢" > + < ☐ < ➢" > + < ☐ < ➢" > + < ☐ < ➢" > + < ☐ < ➢" > + < ☘ < ➢" > + < ☐ < ➢" > + < ☐ < ➢" > + < ☐ < ➢" > + < ☐ < ➢" > + < ☐ < ➢" > + < ☐ < ➢" > + < ☐ < ➢" > + < ☐ < ➢" > + < ☐ < ➢" > + < ☤ < ➢" > + < ☐ < ➢" > + < ☐ < ➢" > + < ☐ < ➢" > + < ☐ < ➢" > + < ☐ < ➢" > + < ☐ < ➢" > + < ☐ < ➢" > + < ☐ < ➢" > + < ☐ < ➢" > + < ☦ < ➢" > + < ☐ < ➢" > + < ☐ < ➢" > + < ☐ < ➢" > + < ☐ < ➢" > + < ☐ < ➢" > + < ☐ < ➢" > + < ☐ < ➢" > + < ☐ < ➢" > + < ☐ < ➢" > + < ☮ < ➢" > + < ☐ < ➢" > + < ☐ < ➢" > + < ☐ < ➢" > + < ☐ < ➢" > + < ☐ < ➢" > + < ☐ < ➢" > + < ☐ < ➢" > + < ☐ < ➢" > + < ☐ < ➢" > + < ☥ < ➢" > + < ☐ < ➢" > + < ☐ < ➢" > + < ☐ < ➢" > + < ☐ < ➢" > + < ☐ < ➢" > + < ☐ < ➢" > + < ☐ < ➢" > + < ☐ < ➢" > + < ☐ < ➢" > + < ☀ < ➢" > + < ☐ < ➢" > + < ☐ < ➢" > + < ☐ < ➢" > + < ☐ < ➢" > + < ☐ < ➢" > + < ☐ < ➢" > + < ☐ < ➢" > + < ☐ < ➢" > + < ☐ < ➢" > + < ☺ < ➢" > + < ☐ < ➢" > + < ☐ < ➢" > + < ☐ < ➢" > + < ☐ < ➢" > + < ☐ < ➢" > + < ☐ < ➢" > + < ☐ < ➢" > + < ☐ < ➢" > + < ☐ < ➢" > + < ☿ < ➢" > + < ☐ < ➢" > + < ☐ < ➢" > + < ☐ < ➢" > + < ☐ < ➢" > + < ☐ < ➢" > + < ☐ < ➢" > + < ☐ < ➢" > + < ☐ < ➢" > + < ☐ < ➢" > + < ☏ < ➢" > + < ☐ < ➢" > + < ☐ < ➢" > + < ☐ < ➢" > + < ☐ < ➢" > + < ☐ < ➢" > + < ☐ < ➢" > + < ☐ < ➢" > + < ☐ < ➢" > + < ☐ < ➢" > + < ☉ < ➢" > + < ☐ < ➢" > + < ☐ < ➢" > + < ☐ < ➢" > + < ☐ < ➢" > + < ☐ < ➢" > + < ☐ < ➢" > + < ☐ < ➢" > + < ☐ < ➢" > + < ☐ < ➢" > + < ☩ < ➢" > + < ☐ < ➢" > + < ☐ < ➢" > + < ☐ < ➢" > + < ☐ < ➢" > + < ☐ < ➢" > + < ☐ < ➢" > + < ☐ < ➢" > + < ☐ < ➢" > + < ☐ < ➢" > + < ☭ < ➢" > + < ☐ < ➢" > + < ☐ < ➢" > + < ☐ < ➢" > + < ☐ < ➢" > + < ☐ < ➢" > + < ☐ < ➢" > + < ☐ < ➢" > + < ☐ < ➢" > + < ☐ < ➢" > + < ☫ < ➢" > + < ☐ < ➢" > + < ☐ < ➢" > + < ☐ < ➢" > + < ☐ < ➢" > + < ☐ < ➢" > + < ☐ < ➢" > + < ☐ < ➢" > + < ☐ < ➢" > + < ☐ < ➢" > + < ★ < ➢" > + < ☐ < ➢" > + < ☐ < ➢" > + < ☐ < ➢" > + < ☐ < ➢" > + < ☐ < ➢" > + < ☐ < ➢" > + < ☐ < ➢" > + < ☐ < ➢" > + < ☐ < ➢" > + < ☈ < ➢" > + < ☐ < ➢" > + < ☐ < ➢" > + < ☐ < ➢" > + < ☐ < ➢" > + < ☐ < ➢" > + < ☐ < ➢" > + < ☐ < ➢" > + < ☐ < ➢" > + < ☐ < ➢" > + < ☪ < ➢" > + < ☐ < ➢" > + < ☐ < ➢" > + < ☐ < ➢" > + < ☐ < ➢" > + < ☐ < ➢" > + < ☐ < ➢" > + < ☐ < ➢" > + < ☐ < ➢" > + < ☐ < ➢" > + < ☙ < ➢" > + < ☐ < ➢" > + < ☐ < ➢" > + < ☐ < ➢" > + < ☐ < ➢" > + < ☐ < ➢" > + < ☐ < ➢" > + < ☐ < ➢" > + < ☐ < ➢" > + < ☐ < ➢" > + < ☗ < ➢" > + < ☐ < ➢" > + < ☐ < ➢" > + < ☐ < ➢" > + < ☐ < ➢" > + < ☐ < ➢" > + < ☐ < ➢" > + < ☐ < ➢" > + < ☐ < ➢" > + < ☐ < ➢" > + < ☐藏 < ➢" > + < ☐ < ➢" > + < ☐ < ➢" > + < ☐ < ➢" > + < ☐ < ➢" > + < ☐ < ➢" > + < ☐ < ➢" > + < ☐ < ➢" > + < ☐ < ➢" > + < ☐ < ➢" > + < ☂� < ➢" > + < ☐ < ➢" > + < ☐ < ➢" > + < ☐ < ➢" > + < ☐ < ➢" > + < ☐ < ➢" > + < ☐ < ➢" > + < ☐ < ➢" > + < ☐ < ➢" > + < ☐ < ➢" > + < ☼ < ➢" > + < ☐ < ➢" > + < ☐ < ➢" > + < ☐ < ➢" > + < ☐ < ➢" > + < ☐ < ➢" > + < ☐ < ➢" > + < ☐ < ➢" > + < ☐ < ➢" > + < ☐ < ➢" > + < ☱ < ➢" > + < ☐ < ➢" > + < ☐ < ➢" > + < ☐ < ➢" > + < ☐ < ➢" > + < ☐ < ➢" > + < ☐ < ➢" > + < ☐ < ➢" > + < ☐ < ➢" > + < ☐ < ➢" > + < ☋ < ➢" > + < ☐ < ➢" > + < ☐ < ➢" > + < ☐ < ➢" > + < ☐ < ➢" > + < ☐ < ➢" > + < ☐ < ➢" > + < ☐ < ➢" > + < ☐ < ➢" > + < ☐ < ➢" > + < ☞ < ➢" > + < ☐ < ➢" > + < ☐ < ➢" > + < ☐ < ➢" > + < ☐ < ➢" > + < ☐ < ➢" > + < ☐ < ➢" > + < ☐ < ➢" > + < ☐ < ➢" > + < ☐ < ➢" > + < ☖ < ➢" > + < ☐ < ➢" > + < ☐ < ➢" > + < ☐ < ➢" > + < ☐ < ➢" > + < ☐ < ➢" > + < ☐ < ➢" > + < ☐ < ➢" > + < ☐ < ➢" > + < ☐ < ➢" > + < ☠ < ➢" > + < ☐ < ➢" > + < ☐ < ➢" > + < ☐ < ➢" > + < ☐ < ➢" > + < ☐ < ➢" > + < ☐ < ➢" > + < ☐ < ➢" > + < ☐ < ➢" > + < ☐ < ➢" > + < ☙� < ➢" > + < ☐ < ➢" > + < ☐ < ➢" > + < ☐ < ➢" > + < ☐ < ➢" > + < ☐ < ➢" > + < ☐ < ➢" > + < ☐ < ➢" > + < ☐ < ➢" > + < ☐ < ➢" > + < ☴ < ➢" > + < ☐ < ➢" > + < ☐ < ➢" > + < ☐ < ➢" > + < ☐ < ➢" > + < ☐ < ➢" > + < ☐ < ➢" > + < ☐ < ➢" > + < ☐ < ➢" > + < ☐ < ➢" > + < ☈� < ➢" > + < ☐ < ➢" > + < ☐ < ➢" > + < ☐ < ➢" > + < ☐ < ➢" > + < ☐ < ➢" > + < ☐ < ➢" > + < ☐ < ➢" > + < ☐ < ➢" > + < ☐ < ➢" > + < ☜ < ➢" > + < ☐ < ➢" > + < ☐ < ➢" > | ||
Audio
Ko mputer jest takze dostarczy z funkacja oblsugi 32-bitowej dzwieku High-Definition (HD) Audio oraz z glówniem/głównikami.
Acer PureZone (tylko w niedtórych modelach)
W systemie zastosowano Rozwiazania podwyźszajace jakość dzwieku, w tym Acer PureZone z wbudowanymi mikrofonami i obstuga takich technologii jak formowanie wiazki i niwelomanie echa. Technologia Acer PureZone zapewniajać nagrywanie niedzakloconego, czystego dzwieku — niwelomanie echa akustycznego, formowanie wiazki i usuwanie szumów. Aby skonfigurowac mikrofon, uruchom program Acer HD Audio Manager, dwukrotnie klikȩcikone Acer HD Audio Manager w pasku zadań systemu Windows. Nastepuju wyświetlienie okna programu Acer HD Audio Manager. Kliknj zlokadę Mikrofon, a nastepnie Efekty mikrofonu. Wybierz efekty mikrofonu: Formowanie wiazki oraz Niwelomanie echa akustycznego.

Uwaga: Aby nagrywać z wieluźródel jederoc三点nie,-nine wy)—funkcjé formowania wiazki.
Video
Wyświetlacz w formacie 16:9 (tylko w niedtórych modelach)
Wyświetlacz w formacie 16:9 offerings my w pelnej jakosci 16:9. Nieyawdopodobne wysycenie kolorów gwarantuje prawdziwa jakość HD. Jakość obrazu 16:9 oznacza, ze obraz o parametrach kina domowej jest juz dostępty w notebookkach dla milośników rozywki domowej.
Korzystanie z narędzi systemowych
Acer Bio-Protection (tylko w niedtórych modelach)
Acer Bio-Protection Fingerprint Solution jest universalnym oprogramawaniem do obslugi odczytów odcisków palców, zintegrowamy z systemem operacyjnym Microsoft Windows. Oprogramowanie Acer Bio-Protection Fingerprint Solution uwzgliednia fakt, ze odcisci palców kaźdej osoby są niedowtarzalone. Chroni przyd niedoweły dostępem do komputera korzystȩz z centralnégo banku hasel Password Bank oraz zapewnia szybkie uruchamianie aplikacje/stron internetowych przy bez funkcje Acer FingerLaunch.
Oprogramowanie Acer Bio-Protection Fingerprint Solution zapewnia dodatkowa ochrone komputera i pozwala wykonywać czȩste zadania przyżę dotkBzie palcem! Dodatkowe informacja są zańcz w plikach pomocy Acer Bio-Protection.

Acer Backup Manager

Uwaga: Ta funkcja wystepuje tylko w niedtórych modelach.
Aplikacja Acer Backup Manager za pomocę prostego procesu obejmȩzego trzy czynnosci umozliwa zworzenia kopii zapasowych calego systemu lub wybranych plików i folderów zgodnia z harmonogramem lub wedlug indywidualnej potrzeby.
Aby uruchomic abląkacja Acer Backup Manager, naciśnij klawisz Acer Backup Manager znażdujczy są nad klawiatura. Mnżna sąȩ przyjeść do polecen Start > Wszystkie programy > Acer Backup Manager > Acer Backup Manager. Zostanie otwarty ekran powitalny, w tymorym uzytkownik uzyska instrukcjte trzech czynnosci w celu utworzenia zaplanowych kopii zapasowych. Kliknj przycisk Kontynuuj, aby przyjeść do nastepnégo ekranu. Kliknj przycisk + i posćpuj wedłg instrukcjji podanych na ekranie:
1 Wybierz treśc, ktořej kopić zapasowa chcesz utworzyc. Im mniejszy rozmiar wybranje tresci, tym szybszy;będzie proces, jakn rownoczesnie zwiékszy to ryzyko utraty danych.
2 Wybierz.), w tymajor zostac zapisane kopie zapasowe. Można wybrać jestynie napęd zewétrzny lub napęd D: aplikacja Acer Backup Manager nie są zapisć kopii zapasowej na napȩźćźółowym.
3 Okresl jak czesto aplikacja Acer Backup Manager ma tworzyc kopie zapasowe.
Po ukońceniu powyźyszych trzech kroków zostana utworzone kopie zapasowe zgodnia z harmonogramem. Kopie zapasowe möglich sąze utworzyć ręcznia nacziskAAC klawisz Acer Backup Manager.
Aby zmienc ustawienia w dowolnym czasie, uruchom aplikacja Acer Backup Manager z menu Start i ponownie wykonaj powyzej opisane czynosci.

Zaradzanie energia
Ko mputer posiada wbudowany modu zaradzania energia monitoruju ackywnosc systemu. Aktywnosc systemu odnosi sie do wszelkie aktywnosci angauszajucej jedem lub wiecej nastepujacych urzadzen: klawiatura, myszka, dysk twardy, urzadzenia peryferyjne podlaczone do komputera, a takze pamiec video. Jezieli ne dostanie stwierdzona aktywnosc w ciagu danego okresu czasu (zwanego okresem braku aktywnosci), komputer zatrzymuje dzialanie niedtorych lub wzystkich wymienionych urzadzen w celu oszczedzania energii.
W tym komputerze zastosowano schemat zaradzania energia obslugujacy standard zaawansowanego interfejsu konfiguracji i zasilania (ACPI), którzy zapewnia maksymalna osczędnosć energii i rownoc三点ie maksymalna wydajnosć.
System Windows obsluguje wzystkie czynnosci zwiazane z oszczechaniem energii w komputerze.
Klawisz Acer PowerSmart

Uwaga: Ta funkcja wystepuje tylko wNiektorych modelach.
Klawisz Acer PowerSmart uruchamia fungcje oszczędznia energia podystemu grafiki komputerowej, aby zredekowania calkowite zuzymie energii. Po naciśćci klawiszza Acer PowerSmart jasnosć ekranu zestanie zredekownik, zaś procesor graficzny zestanie przyłączenia w tryb walniejszej przy placy. PCI i WLAN zestania przyłączone w tryb oszczȩdznia energii. Naciśnij ponownie klawisz Acer PowerSmart, aby wrócić do poprźednish ustawości.
Acer eRecovery Management jest narędzielem slȩącym do szybkiego przywracania systemu. Moż równeż utworzyc kopie zapasowa/przywrócić fabryczny domyslny obraz oraz ponownie zainstalowej aplikacje i sterownikiki.

Uwaga: Niniejszy opis ma charakter wyłacznie ogólny i referencingjny. Faktczne dane technicznec moga bycinne.
Acer eRecovery Management obejmuje nastepujace funkcje:
1 Kopia zapasowa:
Utwórz płyte ustawien fabrcznych
Utworz plyte sterowników i aplikacji
2 Przywracanie:
- Przywróc system w calosci do ustawien fabrznych
- Przywróc system operacyjny i zachowaj dane uzytkownika
Zainstaluj ponownie sterowniki lub aplikacja
Ten rozdziel poprowadzi przykaźdy z tych procesów.

Uwaga: Ta funkcja wystepuje tylko w niedtórych modelach. W przypadku systemów nie posiadajych wbudowanej nagrywarki dysków optycznych, wtedy przyd uruchomieniem Acer eRecovery Management dla realizacje zadań zwiazanych z dyskami optyczymi naleź podłaczycz zewnétrzną nagrywarke dysków optycznych.
Nalezy ustawić haslo, aby moc korzystaec zFUNCji ochry haslem w programie Acer eRecovery Management i chronić swoje dane. Haslo ustawia są, uruchamiazć aplikacja Acer eRecovery Management i klikacja Ustawienia.

Nagrywanie dysku kopii zapasowej
Korzystajac ze strony Kopia zapasowa w programie Acer eRecovery Management, maar wypalić obrustawien fabrycznych systemu lub utworzyć kopie zapasowa sterowników i aplikacja.
1 Kliknij Start, Wszystkie programy, Acer, Acer eRecovery Management.
2 Program uruchomi sie na stronie Kopia zapasowa.

3 Wybierz rodzaj kopii zapasowej (ustawienia fabryczne będź sterownik i aplikacja), jak chcesz zapisć na płycie.
4 Wykonuj instrukcje wyświetlane na ekranie w celu zakończenia procesu.

Uwaga: Utworz fabryczny domyslyn obraz, gdy chcesz nagrac dysk rozruchowy, zawierajcy caly system operacyjny komputera, jak zaostal dostarczony z fabryki. Jeźeli chcesz nagrac dysk, kóty zapewni przylość przyegradsiania zawartosci oraz instalowania wybranych sterowników i aplikacji, utworz obraz kopii zapasowej sterowników i aplikacji — ten dysk nie bedzie rozruchowy.
Przywracanie
Funkcja przywracania umozliwa przywoćenie lub odzyskanie systemu z fabryczné domyślnego obrazu albo zwczesnej utworzonych kopii zapasowych na dyskach CD lub DVD. Można równeź ponownie zainstalować aplikacje i sterowników systemie Acer.
1 Kliknj Start, Wszystkie programy, Acer, AcerRecovery Management.
2 Przejdt do strony Przywroc klikajc przycisk Przywroc.

3 Możesz wybrać przywoćenie systemu z fabrycznégo domyślngo obrazu albo ponowy zainstalowanie aplikacje i sterowników.
4 Wykonuj instrukcje wyswietlane na ekranie w celu zakończenia procesu.
Odtwarzanie systemu Windows z płt kopii zapasowej

Uwaga: Ta funkça wystepuje tylko w niedtórych modelach.
Aby odtworzyc system Windows z nagranych uprzednio płyk kopii zapasowej, naleź wloźyc pierwszy dysk kopii zapasowej do napȩdu i uruchomic pozycje Menu rozruchu F12 w narędziu konfiguracje BIOS.
1 Włucz komputer i wólź pierwszy dysk odtwarzania systemu do napȩdu CD. Ponownie uruchom komputer.
2 Gdy na ekranie zestanie wyświetlone logo firmy Acer, nacijsnij klawisz F2, aby uruchomic naręźdie Konfiguracja BIOS, za pomoczą torego myZNa okreslic parametry konfiguracje komputera.
3 Naciskajc klawises strzalki w lewo lub strzalki w sprawo, wybierz podmenu Głowne.
4 Naciskajc klawises strzalki w lewo lub strzalki w sprawo, wybierz podmenu Menu rozruchu F12.
5 Klawiszami F5 lub F6 zmień stan poźycji Menu rozruchu F12 na Wączone.
6 Naciśnij klawisz ESC, aby otworzyć podmenu Wyjscie. NatestPNie naciśnij klawisz ENTER, wybierajć pozycje Wyjdź i zapisz zmiany. Ponownie naciśnij klawisz ENTER, wybierajć Tak. System zestanie ponownie uruchomiony.
7 Gdy na ekranie zestanie wyświetlone logo firmy Acer, naciśnij klawisz F12, aby uruchomic Menu rozruchu. W tym sąjeku不足以 wybrać urzadzenia, króte zestanie uzyte do dalszego rozruchu komputera.
8 Klawiszami strzalek wybierz pozycje IDE1*, a nastepnie nacijsnij klawisz ENTER. System Windows zostanie zaintalowany z plyty kopii zapasowej.
9 Po wyświetleniu odpowiedniago monitu włoz druga płyte kopii zapasowej, a nastepnie zakończ proces odtwarzania korzystajac z instrukcjni ekranie.
10 Po zakończeniu odtrwarzania wyjmij płyte kopii zapasowej z napędu pły t optycznych. Tą czynność naleź wykonac przy pondownym uruchomieniem komputera.
Ustawienie kolejnosci inicjalizaci urzadzen rozruchowych na state wymaga skorzystania z podmenu Rozruch.
1 Włucz komputer i wólź pierwszy dysk odtwarzania systemu do napȩdu CD. Ponownie uruchom komputer.
2 Gdy na ekranie zestanie wyświetlone logo firmy Acer, nacijsnij klawisz F2, aby uruchomic narźędzie Konfiguracja BIOS, za pomocą tkórego można okres瓠 parametry konfiguracje komputera.
3 Naciskajc klawises strzalki w lewo lub strzalki w sprawo, wybierz podmenu Rozlruch.
4 Naciskajc klawiszewe strzałki w góre lub strzałki w dól, wybierz pozycje urzadzenia IDE1.
5 Naciśćcie klawiszka F6 spowoduje zȩkszenia priorytetu rozruchu urzadzenia IDE1, natomiast naciśćcie klawiszka F5 zmiejeśzy ten priorytet. Sprawź,czy urzadzenia IDE1* posiada najwyźsy priorytet.
6 Naciśnij klawisz ESC, aby otworzyć podmenu Wyjscie. NatestPNie naciśnij klawisz ENTER, wybierajć pozycje Wyjdź i zapisz zmiany. Ponownie naciśnij klawisz ENTER, wybierajć Tak. System zestanie ponownie uruchomiony.
7 System Windows zostanie zainstalowany z plyty kopii zapasowej po ponownym uruchomieniu komputera.
8 Po wyświetleniu odpowiedniago monitu włód druga płyte kopii zapasowej, a nastepnie zakończ proces odtermarzia korzystaję z instrukcjni na ekranie.
9 Po zakończeniu odwartania wyjmij płyte kopii zapasowej z napelu pły t optycznych. Tą czynność naleź wykoność przy posnownym uruchomieniem komputera.
Pakiet akumulatora
W komputerze jest stosowany pakiet akumulatora zapewniajacy sąliwość dlugiego uzytkowania pomiedź okresamiławania.
Charakterystyka pakietu akumuladora
Pakiet akumulatora posiada nastepujača charakterystyke:
Zostaly zastosowane biezure standardy technologii akumulatorów.
- Zapewnione jest ostrzeganie o niskim poziomie naładowania akumulatora.
Akumulator jest zawsze sądowy, kiedy tylko komputer zostanie przyłączony do zasilaczaprady przyemienego. Komputer obstuguje funkcie sądowania podczas uzytkowania, co pozwala doładowywAAC akumulator podczas eksploataci komputera. Jednakść sądowanie akumulatora, gdy komputer jest wymiȩczony, jest znacznie krótsze.
Akumulator jest przydatnym zródlém zasilania podczas podrózy lub w razie awarii zasilania sieciowego. Wskazane jest dysponowanie dodatkowym, w pełni naładowanym pakietem akumulatora jako rezerwowym zródlém zasilania. Skontaktuj są ze swym dostawca, aby uzyskać szczegółowe informacja dotyczne zamówienia zapasowej pakietu akumulatora.
Maksymalizowanie okresu trwałość akumulatora
Podobnie jak innate akumulatory, rownik zstan akumulator z Twojego komputera befindie coraz gorszy z upywem czasu. Oznacza tozmiejszanie wydajnosci akumulatora w miare upywu czasu oraz uzytkowania. Doradzamy przyestrzeganie przyedstawionych ponizejazolen, aby maksymalnie wydluzych okres trwañosci akumulatora.
Formowanie nowego pakietu akumulatora
Przed pierwszym uzyciem akumulatora konieczne jest przypegowadzenia procesu "formowania":
1 Włód nowy akumulator nie sączajć komputera.
2 Przyȩcz zasilacz prȩdu przyemienné i wykonaj piñeławanie akumulatora.
3 Odlacz zasilacz pradu przemienego.
4 Wlacz komputer i uzywaj go wykorzystujac zasilanie akumulatorowe.
5 Doprowadź do calkowitego wyczerpania akumulatora do chwili pojawenia są ostrzeżenia o niskim poziomie naładowania akumulatora.
6 Przyłucz zasilacz pradu przyemienego i ponownie wykonaj pełneławanianie akumulatora.
Wykonuj te czynnosci az akumulator przydzie trzykrotnie cykl ludowania i roźadowania.
Ten proces formowania naleź przy przechrowadzć w przypadku wszymkich nowych akumulatorów lub akumulatora, krótyNie był uzywany przyez dlugi okres czasu. Ješli komputer ma być przychowywany przyez okres dlȩźsy niz dwa tygodnie, doradzamy wyjac pakiet akumulatora.

Ostrzezenia: Nie nalewy narażć pakietów akumulatorów na dzialanie temperatur nizszych od 0^ ( 32^ ) lub wyźyszych od 45^ ( 113^ ). Skrajne temperatur mogą być szkodliwe dla pakietu akumulatora.
Dziecki przyjmownikymi akumulatory wykoniania tej procedury uniemozglii akumulatorowy uzyskiwanie maksymalnego ladunku energia, a takze spowoduje skrócienie uzytecznégo okresu trwałość akumulatora.
Ponadto, na uzyteczny okres trwałość akumulatora szkodliwy wptyw ma eksploatacja w nastepujacych warunkach:
Uzytkowanie komputera z zainstalowanym akumulatorem przy sta tym korzystaniu z zasilacza pradu przyemennego. Jeźeli chcesz stale uzywać zasilacza pradu przyemennego, doradzamy wyłącie pakietu akumulatora po uprzejnim calkowitym naładowaniu.
- Nie stosowanie sie do przystawionej powyzej zasady calkowitego Rozladowywania i pełnégo ladowania akumulatora.
- Częste uzywanie; im czȩciej korzystasz z akumulatora, tym szybciej osiaignie on koniec swego uzytecznégo okresu trwałość. Okres przydatność do uzytkowania standardowyego akumulatora komputerowejDynosi okola 300 cykli ladowania.
Instalowanie i wyjmawanie pakietu akumulatora

Wañne! Zanim wyjmiesz akumulator z komputera, przyłącz zasilacz prȩdu przyemienné, jestli chcesz nadal uzywać komputera. W przyciewnym razie, najpiewyłącz komputer.
Instalowanie pakietu akumulatora:
1 Ustaw akumulator w jedernej linii z otwarta wnęka na akumulator.
Zadbaj, aby napj Pierw by wpwadzony koniec akumulatora ze stykami elektrycznymi oraz, aby górna powierzchnia akumulatora bya skierowana w góre.
2 Wsuń akumulator do wnéki i delikatie pchnij aż zostanie zablokowych na swoim.),
Wyjmawanie pakietu akumulatora:
1 Przesuń zwalniacz zatrzasku akumulatora w celu odkłowania akumulatora.
2 Wyciagnij akumulator z wneki.
Ladowanie akumulatora
Aby naładowość akumulator, najpiem upewnij sie,czy zostaw prawidłowo zainstalowy we wnece dla akumulatora. Przyȩcz zasilacz przydu przemienego do komputera, a nastepnie przyłąc go do gniazdka sieci elektrycznej. Podczas ladowania akumulatora moźesz nadal uzywać swój komputer korzystaję z zasilania z sieci przydu przemienego. Jednakść ladowanie akumulatora, gdy komputer jest wylączony, jest znacznie krótsze.

Uwaga: Doradzamy naładowanie akumulatora przy wycofaniem go z uzycia na danej. Ladowanie akumulatora przy noc przy podroż uzmolniwu nastepnégo dnia uruchomienie komputera z calkowicie naładowanym akumulatorem.
Kontrola poziomu naładowania akumulatora
W systemie Windows miernik energii wskazuje bieźćy poziom naładowania akumulatora. Naleź umieśćkursor nad ikoną akumulatora/ zasilania na pasku zadań, aby zostawędzstawiony bieźćy poziom naładowania akumulatora.
Optymalizowanie okresu trwałość akumulatora
Optymalizowanie okresu trwałość akumulatora pomaga maksymalnie wykorzystać dzialanine akumulatora, zapewniajac wydluzenia cyklu rożadOWANIA/ławOWANIA i poprawiajać efektywność ladowania. Zalecamy stosowanie są do przysstawionych ponijej sugestii:
Zakupić dodatkowy pakiet akumuladora.
Kiedy tylko jest toMZlwe korzystac z zasilacza prdu przytmennego, pozostawiajac akumulator w rezerwie na okres uzytkowania w podrozzy.
Wyjmować karte PC Card, jeźeli nie jest uzywana, poniewañ w sposó bciagły pobjera prad (dotycz wybranych modeli).
- Przechowywać pakiet akumulatora w chłodnym, suchym miejscu. Zalecana temperaturaDynosi od 10^ (50^) do 30^ (86^) . Wyźsze temperaturymoga powodować szybsze samorozładowanie akumulatora.
- Nadmierne doładowywanie skraca okres trwalosci akumulatora.
Dbanie o zasilacz pradu przyemienego oraz akumulator.
Ostrzeżenie o niskim poziomie naładowania akumulatora
Korzystajc z zasilania akumulatorowego nalezy zwracać uwage na miernik energii systemu Windows.

Ostrzeżenie: Zasilacz prȩdu przemienné国家重点 przyłączać najszybciej jak to jest myckiwo po pijawniu sie ostrzeżenia o niskim poziomie naładowania akumulatora. Gdy akumulator roźadujcie sączowiecie i komputer zagmie system, nastapi utrata danych.
Kiedy lijwi sie ostrzezenia o niskim poziomie naładowania akumulatora, zalepanytok postepowania zalezy od sytuacje:
| Sytuacja | Zalecane dzialanie |
| Dostepty jest zasilacz prȩd przemienego oraz gniażdko sieci elektrycznej. | 1. Przyȩcz zasilacź prȩd przyȩcz go do gniażdka sieci elektrycznej.2. Zapisz wszystkie potrzejne pliki.3. Podejmij dalsza prȩce.Wȩźć komputer, gódy konieczne jest szybkie naładowanianie akumulatora. |
| Dostepty jest dodatkowy, calkowicie naładowany pakiet akumulatora. | 1. Zapisz wszystkie potrzejne pliki.2. Zamknij wszystkie applikacje.3. Zamknij system operacyjny welu wȩćzenia komputera.4. Wymiȩń pakiet akumulatora.5. Wȩźć komputer i podejmij prȩce. |
| Nie jestostepty jest zasilacź prȩd przemienego lub gniażdko sieci elektrycznej. Nie posiadasz zapasowego pakietu akumulatora. | 1. Zapisz wszystkie potrzejne pliki.2. Zamknij wszystkie applikacje.3. Zamknij system operacyjny welu wȩćzenia komputera. |
Przenoszenie notebooka PC
W tym rozdzieziale zamieszczono wskazówki i porady zwiazane z przenoszeniem komputera i podrozowaniem z komputerem.
Odalczanie wyposzazenia zewnętrznego
W celu odłaczenia komputera od akcesiorów zewétrznych naleź wykonac nastepujuść czynnosci:
1 Zapisz wszystkie otwarte pliki.
2 Wyjmij ze staci wszelkie nośniki, dyskietki lub dyski kompaktowe.
3 Wylackomputer.
4 ZamknijPokrywewyswieltacza.
5 Odlacz przewód od zasilacza pradu przemiennégo.
6 Odłucz klawiature, urzadzenia wskazujuce, drukarke, zewétrzny monitor i innate urzadzenia zewétrzne.
7 Odlacz blokade Kensington, jezeli jest uzywana do zabezmieczenia komputera.
W podrózy
Przy przyemieszczaniu są niewielkie odlegloiść, na przykidz biura dojejsc spotkania.
Przygotowanie komputera
Przed przenoszeniem komputera nalezy zamknac i zatrzasnacPokrywewyswietlacza,aby wpradowzić komputer wtryb wstrzymania.Można terazbeziecnie przytenieszć komputer do dowolnégojejscaw budynku.
Aby wypwadzic komputer z trybu wstrzymania, naleź otworzycPokrywewyswietlacza, a nastepnie nacisnac i zwolnić przycisk zasilania.
Gdy komputer bestehtzie przenoszony do biura klienla lub do innego budynku, wtedy przyd przeniesieniem maya zakończy pracę komputera:
Kliknij przycisk Start, a nastepnie kliknij przycisk Zamknij.
Lub:
Można wymúsic przyejść komputera do trybu wstrzymania, naciskajć klawiszne
Kiedy bestehtiesz znow gotowy do uzywania komputera, zwolnij zatrzask i otworz wyswietlacz, a nastepnie nacijsnij i zwolnij przycisk zasilania.

Uwaga: Ježeli wskaznik trybu wstrzymania nie swieci, komputer wszedl do trybu hibernacci i zostaw wyłuczony. Ježeli wskaznik zasilania nie swieci, lecz swieci wskaznik trybu wstrzymania, komputer wszedl do trybu wstrzymania. W obu przypadkach daneźny nacinść i zwolnić przycisk zasilania, aby przywrócić zasilanie komputera. Naleź pamiętać, ze komputerość wiejsć do trybu hibernacci, kiedy znajduje są przy pewien okres czasu w trybie wstrzymania.
Co naleź brać ze soba na spotkania
Jesli spotkanie jest względnie krótkie, oprocz komputera nie;będziesz musial brać ze soba niczoegość. Jeźeli"Justak to spotkanie moze byc dluszse lub akumulator nie jest w pełni naładowany, można wzią zasilacz prȩdu prerzemienego, aby go wączyć w mistręsco spotkania.
Ježeli wmiejscu spotkania nie ma gniaźdka zasilania elektrycznego, danezy zredukować szybkość rożadowania akumulator, przystawiajać komputer do trybu wstrzymania. Nacisność klawiszem
Zabieranie komputera do domu
Podczas przenoszenia komputera z biura do domu lub odwrotnie.
Przygotowanie komputera
W celu przygotowania do przeniesienia do domu, po odłaczeniu komputera od wyposzażenia zewétrzndo, naleź wykonac nastepujuć czynnosci:
- Sprawdzić,czy ze staci zostaly wyjete wzystkie nośniki i dyski kompaktowe. Pozostawienie nośnika w napędzie要去 spowodowej uszkodzenia glowicy napȩdu.
- Komputer nalezy wlozyc do walizki ochonnej, zabeepieczajacej go przyd uszkodzeniami w razie upadku.

Ostrzeżenie: Naleź unika umieszczania w walizc elementów obok górnej czȩciPokrywy komputera. Naciśćcie górnej czȩciPokrywy mogloby spowodowej uszkodzenia ekranu.
Co naleź wzić ze soba
Nalezy wzić ze soba niedró rzechy, jeźeli nie ma ich w domu:
Zasilacz prȩdu przyemienego i przywóź zasilajczy
Wydrukowana Skrocony poradnik
Zalecenia dodatkowe
Podczas podrozy do pracy i z pracy nalewy stosowac sie do podanych ponizej zalecen dotycznych zabezpieczenia komputera:
Zabierajc komputer ze soba nalezyminimalizowac wplywzmian temperature.
- W razie koniecznosci zatrzymania sie na dluzszy czas bez molewi瘴i zabrania komputera ze soba, nalezy dostawic go w bagażniku samochodu, aby uniknac nadmiernego nagrzewania komputera.
Zmiany temperatur y wilgotnosci moga spowodowa kondensacja. Przedwczieniem komputera nalezy zaczekacn przyworocenie temperatury pokjowej i sprawdzić,czy nie doszło do kondensacdji pary na ekranie. W przypadkuzmianytemperatury o wiecej niz 10^ (18^) ,nalezy dluzej zaczekac na powolne przyworocenie temperatury pokjowej. O ile to moziwe, nalezy pozostawickomputer na 30 minut w otoczeniu o temperaturze posrednej pomiedzy temperatura zewnetrznia temperatura pokjowa.
Konfiguracja biura domowej
Ježeli czego pracujuz korzystajac z komputera w domu, korzystne boje byc zakupienie drugiego zasilacza pradu przymienego, przyznaczonego do uzywania w domu. Posiadanie drugiego zasilacza pradu zmiennego pozwoli unikonacro przenoszenia dodatkowego cięzkiego przyzmiedotu do domu i z domu.
Ježeli uzywasz komputera w domu przy部分地区 okresy czasu, korzystne są boć takze dodanie zewétrznej klawiatury, monitora lub myszki.
Podróżowanie z komputerem
Podczas podrózy na wieksze odleglosci, na przykład z wlasné biura do biura klienla lub podczas lokalnych podrózy.
Przygotowanie komputera
Komputer naleź przygotowej w taki sam sposob, jak w przypadku sabierania go do domu. Naleź sprawdzić,czy akumulator komputera jest naładowany. Podczas przechodzenia przyez bramkie kontroli, ochrona lotniska要去 wymagać wączenia komputera.
Co naleź wzią ze soba
Nalezy wzić ze soba nastepujace elementy wyposzażenia:
Zasilacz pradu przymiennego
Zapasowy, calkowicie naładowany pakiet akumulatora
- Dodatkowe pliki ze sterownikami drukarek, jeźeli planowane jest użycie innej drukarki
Zalecenia dodatkowe
Oprocz stosowania są doazoleć obłowiazujacych przy przenoszeniu komputera do domu, naleź stosowej są sąde do ponijszychazoleć w celu zabepieczenia komputera podczas podróź:
- Komputer naleź zawsze traktowac są bagaź podreczny.
- O ile toMZIwe,komputer nalezy trzymaC przy sobie. Urzadzenia do przeswietlania bagazu na lotnisku są bezpieczne dla komputera, ale nie nalezy poddawac komputera dzialaniu wykrywaczza metalu.
- Naleź unikać narażania dyskietek elastycznych na dzialanie ręcznych wykrwaczymetalu.
Podróże zagraniczne z komputerem
Podczas podrozzy z kraju do kraju.
Przygotowanie komputera
Ko mputer nalezy przygotować w taki sam sposob, jak w przypadku zwyknych podróź.
Co naleź wzić ze soba
Nalezy wzić ze soba nastepujace elementy wyposzażenia:
Zasilacz pradu przemiennégo
- Przewody zasilajace odpowiednie do uzycia w docelowym kraju podrózy
Zapasowe, w pelni naładowane pakiety akumulatorów
- Dodatkowe pliki ze sterownikami drukarek, jeźeli planowane jest użycie innej drukarki
- Dowód zakupu, gdyby wystapiła koniecznosć okazania takiego dokumentu słuszbom celnym
- Paszport International Travelers Warranty (Międzynarodowa gwarancja podróżnego)
Zalecenia dodatkowe
Nalezy stosować sie do takich samych dodatkowychazoleń, jak w przypadku zwykłych podroź y komputerem. Dodatkowo, podczas podroź zagranicznych moga okazć sie uzyteczne nastepujuce wskazówki:
- Podczas podrózy do在内的 kraju, naležy sprawdžić,czy dane techniczne przyzewodu zasilajacego zasilacza prădu przymiennego są zgodné z parametrami napiecia prădu przymiennego w danym kraju. Ježeli nie są zgodné, naležy kucić przywośd zasilajacy zgodny z lokalnymi parametrami napiecia prădu przymiennego. Do zasilania komputera nie naležy uzywać sprezdawanych konwerterów do zasilania innych urzadzeń.
- Ježeli uzywany jest modem, naleź sprawdzić,czy modem i zȩcie są zgodne z systemem telekomunikacyjnym docelowego kraju podróź.
Zabezpieczanie komputera
Ko mputer jest drogim urzadzeniem i nalezy zadbać o为其bezpieczeni stwo. Naucz siezasad ochrony i zabezpieczania komputera.
Elementami zabezmieczenia komputera są blokady sprzȩtowe i programowe — blokada zabezmieczajęca i hasla.
Uzywanie blokady zabezpieczajacej komputer
Ten notebook jest wyposaźony w gniaźdo zabezmieczenia zgodnégo z systemem
Kensington przyeznacjazone dla blokady komputera.
Owić kabel zabezmieczenia komputera dodkośćcię zȩkiego hieruchomego obiektu, takiego jak stół lub zablokownik uzychytszufady. Wstaw zamek blokady do gniazda i przekrć klucz w celu zamkiącia blokady. Dostepné są także modele bez kluczzy.
Uzywanie hasel
Hasla zabezmieczaja komputer przy nieduprawnionym dostepem. Ustawienie tych hasel tworzy kilka roznych poziomów zabezmieczenia komputera i znajdujacych sie w nim danych.
-
Haslo Administradora (Supervisor Password) zapobiega nieuprawnionemu dostepowy do programu narędziowej BIOS. Kiedy zestanie ustawione, musi być hasla kazdorazowo przyzed uzyskaniem dostepu do programu narȩdziowej BIOS. Zobacz "Program narȩdziowy BIOS" na stronie 30.
-
Haslo Uzytkownika (User Password) zabezmieczka komputer przy niedieuprawnionym uzytkowaniem. Aby uzyskać maksymalne bezpieczność, stosowanie tego haslaNSE POJACZY C PUNKTAMI kontroli hasla podczas lośadowania systemu oraz podczas powracania z trybu hibernacji.
- Haslo podczas Ładowania systemu (Password on Boot secures) zabezmieczakomputer przyne uzytkowaniem. Aby uzyskać maksymalne bezpieczeniastwo, stosowanie tego haslaNSE wy połaczc z punktami kontrli hasla podczas Ładowania systemu oraz podczas powracania z trybu hibernaNci.

Wañne! Nie wolno zapomnieć swojego hasla Administradora! Jeźeli zapomniały to haslo, prosimy skont⁺towitzć są ze swoim dostawca lub autoryzowanym centrum serwisownik.
Wprowadzanie hasel
Kiedy haslo dostalo ustawione, naŚrodku ekranu wyświetlacza pojawia są monit o podanie hasla.
- Kiedy ustawione jest haslo Administradora, monit o podanie hasla pojawi sie po nacinieciu klawiszka F2 , przy uzyskaniem dostepu do programu naręźdiwogo BIOS podczas ludomania systemu.
- Naleź wropyadzić haslo Administradora i nacisné klawisz
, aby uzyskać dostep do programu narędziowego BIOS. Jeźeli wropyadzone haslo jest nieprawidowej, pojawi są komunikat ostrzejawyczy. Naleź wtedy sprebowaec ponownie wropyadzić haslo i nacisné . - Kiedy ustawione jest haslo Uzytkownika oraz wączony jest parametr Haslo podczas ladowania systemu, monit o podanie hasla pojawi są przyzladowaniem systemu.
- Nalezy wprovadzić haslo Uzytkownika i nacinność klawisz
, aby moć uzywać komputera. Jeźeli wprovadzone haslo jest nieprawidlowe, pojawi są komunikat ostrzejagawczy. Nalezy wtedy sprezbować ponownie wprovadzić haslo i nacinność .

Wañne! Uzytkownik ma trzy szanse na podanie prawidłowego hasla. Jeźeli trzykrotnie zestanie podane niedrawidlowe haslo, system zablokuje sie. Naleź ynocinność przytrzymać przycisk zasilania przycztery sekundy w celu węłaczenia komputera. NatestPNie wączyć komputer i probować ponownie.
Ustawianie hasel
HaslaMZuaustwiCprzypomocyprogramu narzedziowegoBIOS.
Rozszerzanie poprzej instalowanie opcji
Notebook PC oferuju peñe molewi瘴i dzialania komputera przenosnego.
Opcje połaczenia
Porty umożliwajja podłuczania urzadźne peryferyjnych do komputera w taki sam sposob, jak do stacjonarnego komputera PC. Aby uzyskać wieciej szczegółowych informaci o sposobach przyȩczania roźnych urzadźne zewétrznych, zapoznaj są z poniższym roździalem.
Faks/modem transmisji danych (tylko w niedtórych modelach)
Ko mputer zawiera wbudowany faks/modem transmisji danych V.92 56 Kbps. (tylko w niedtórych modelach)

Ostrzeżenie! Port modemu nie jest zgodny z cyfrowymi liniami telefonicznymi. Podłaczenia tego modemu do cyfrowej linii telefonicznzej,MZe spowodstawego uszkodzenia.
Aby korzystać z portu faksmodemu, naleź przyłączyć kabel pomiedź modem i gniazdem Telefonicznym.


Ostrzeżenie! Naleź yżadbać, aby wykorzystwymany kabel był odpowiedni dla kraju uzytkowania.
Wbudowane funkcje sieciowe
Wbudowane fungcje sieciowe umozliwja podlaczenia komputera do sieci standardu Ethernet.
Aby uzywać funkci siechowych, naleź przyłącZYć kabel Ethernet do gniazda sieciowego (RJ-45) na podstawie montażowej komputera i do gniazda siediwogo w scianie lub w koncentratorze sieciowym.

Uniwersalna magistrala szeregowa (USB)
Port USB (Universal Serial Bus [Uniersalna magistrala szeregowa]) 2.0, to wysokiej szybkość magistrala szeregowa umozgliañca podłuczanie peryferyjnych urzadzeń USB bez zajmowania cennychzasobów systemowych.

Port IEEE 1394 (tylko w niedtórych modelach)
Port IEEE 1394 komputera umozliwa podlaczenia urzadzen obslugujacych standard IEEE 1394, takich jak kamera video lub aparat cyfrowy. Szczegolowe informacja znajduja sie w dokumentaci kamery video lub aparatu cyfrowego.

High-Definition Multimedia Interface (tylko wNiektórych modelach)
HDMI (High-Definition Multimedia Interface) jest przymieszówym interfejm bez kompresji dla cyfrowych sygnatów audio/video. HDMI zapewnia interfejs pomiedzy dowolnym zródlém cyfrowego sygnalu audio/video, na przyklassudzieniem abonenckim teklewizji cyfrowej (set-top box), odtwarzaczem DVD i odiornikiem A/V oraz kompatybilnym urzadzieniem cyfrowego audio i/lub video, na przyklassudtelewizorem cyfrowym (DTV), wykorzystujac jeder kabel.
Korzystaj z portu HDMI swego komputera do przyłączania wysokiej jakosci spreźtu audio i video. Implementacja z jednym kablem thereof uklad i szybkie przyłączzenia.

ExpressCard (tylko w niedtórych modelach)
ExpressCard to majnowsza wersja standardu PC Card. jest to mniejszy i szybszy interfejs, któ rpożala jestcze bardziej rozszerźć moziwość uzytkowania i rozbudowy komputera.
ExpressCards obsluguje ogromnă liczbé opcj.roszzerzenia, a w tym adapery kart pamięci flash, tunery TV, komunikacja Bluetooth i adapery IEEE 1394B. ExpressCards obsluguje aplikacja USB 2.0 i PCI Express.

Wazne! Wystepuja dwa typy, ExpressCard/54 i ExpressCard/34 (54mm i 34mm), z ktorych kaźdy posiada inne funkcie. Nie wszystkie gniażda ExpressCard这意味着 obstugiewać oba typy interfejsu. Aby uzyskać szczególowe informacja o instalowani u uzywaniu kart oraz ich funkcjach, naleź yapoznać sie instrukcją swojej karty.
Władanie karty ExpressCard
Wsunac karte do gniazda i delikatie jao popchnac az do kliknięcia na swoim mistrscu.

Wysuwanie karty ExpressCard
Przed wysunieciem karty ExpressCard:
1 Zakończ applikacja korzystaję z karty.
2 Kliknij lewym przyciskiem myszki ikone usuhanego spreztu, znajdujaca sie na pasku zadań i zatrzymaj dzialanie karty.
3 Pchnij delikatnie karte do gniazda, a nastepnie zwolnij nacisk w celu wysunięcia karty. Wtedy wciagnij karte z gniazda.
Instalowanie paminsci
W celu zainstalowania pamięci naleź wykonać nastepujeć czynnosci:
1 Wylacz komputer, odłucz zasilacz prȩdu przemienné (jesli jest podłoczony) i wyjmij pakiet akumulatora. Odwróc komputer w celu uzyskania dostępu do是我的 podstawy.
2 OdkreśrubyPokrywypamieci,nastepnie uniesizdejmij Pokrywepamieci.
3 Wlóz moduł pamięci pod katem do gniazda (a), a nastepnie delikatnie naciskaj go, aź do zaskoczenia na是我的ce (b).

4 ZalózPokrywepamieizabezmpieczjásruba.
5 Zainstaluj pakiet akumulatora i podlacz zasilacz prȩdu przemienné.
6 Wlacz komputer.
Ko mputer automatycznie wykryje i przykonfiguruje loczna wielkość pamięci. Zworć sie o poradę do wykalifikowanego technika albo skontaktuż są z moejscgowym dealerem firmy Acer.
Program narędziowy BIOS
Program naręźdiowy BIOS to program konfiguracje sprzȩtu, wbudowy w ukleadzie BIOS (Basic Input/Output System [Podstawowy system wejscia/wyjscia]).
Ko mputer zostal zu wczesnij prawidlowo skonfigurowany oraz zoptymalizowany i nie ma potrzeby uruchamiania tego programu narzędziowej. Jednakze, jestli wystapi problemy zwiazane z konfiguracja, bedzie potrzebne uruchomienie tego programu.
Aby uakywnic program narędziowy BIOS, naleź y nasȩc klawisz
Sekwencja startowa systemu
Aby ustawic sekwencje startowa systemu w programie narędziowym BIOS, naleź uruchomic program narȩdziowy BIOS, a nastepnie wybrać Boot (Ladowanie systemu) z listy kategorii umieszczonej w górne sąsci ekranu.
Włączanie odzyskiwania systemu z dysku (disk-to-disk recovery)
Aby wączyć funkcję odzyskiwania systemu z dysku (odzyskiwanie z dysku twardego), naleź uruchomici program narȩdziowy BIOS, a nastepnie wybrać kategorie Main z listy umieszczonej w górnecki ekranu. Znajź pozymej D2D Recovery w dolnej;czejci ekranu i za pomoczą klawiszzy
Haslo
Aby ustawic haso podczas ladowania systemu, uruchom program narędziowy BIOS, a nastepnie wybierz kategorie Security (Bezpieczeństwo) z listy kategorii umieszczonej w gornej czeci ekranu. Znajź pozycje Password on boot: i za pomocą klawisz y F5> i
Uzywanie oprogramOWania
Odtwarzanie filmów DVD

Uwaga: Ta funkcja wystepuje tylko w niedtórych modelach.
Po zainstalowaniu napedu DVD we wnece na napęd optyczny, komputerność wykorzystać do odtrwarzania filmów DVD.
1 Wysuń tace napędu DVD i włód z filmem DVD; natestPNie zamknij tace DVD.

Wañne! Przy pierwszym uruchomieniu odtwarzacza DVD, programźada wropyadzenia kodu regionu. Dyski DVD są podzielone na 6 regionów. Po ustawieniu kodu regionu napȩdu DVD, bedzie on odtwarzał Jedynie dyski DVD dla danego regionu. Kod regionu przystawiać maksymalnie pięc razy (wącznia z pierwszym ustawieniem), a po tym czasie ostatnio wropyadzony kod regionu pozostanie na state. Odzyskiwanie zawartość dysku twardego, nie powoduje wyzerowania ilosci pród ustawenia kodu regionu. Welu uzyskania informacja o kodach regionu filmów DVD zapoznej są z tabel przystawioną poniżej.
2 Film DVD zestanie odtworzony automatycznie po kilku sekundach.
| Kod regionu | Kraj lub region |
| 1 | USA, Kanada |
| 2 | Europa, Bliski Wschód, Południowa Afryka, Japonia |
| 3 | Azja Południowo-Wschodnia, Tajwan, Korea Południowa |
| 4 | Ameryka Łacińska, Australia, Nowa Zelandia |
| 5 | Dawne republiki Zwiateczku Socialistycznych Republik Radzieckich, czegoSci Afryki, Indie |
| 6 | Chińska Republika Ludowa |

Uwaga: Aby zmienc kod regionu, nalezy wlozyc do napedu DVD film DVD z innym kodem regionu. Aby uzyskać wiecej informacji nalezy zapoznać sie z informacjami systemu pomocy.
Częstozadawanepytania
Poniżej zamieszczona jest lista mözliwych sytu⁺ci, króte moga wystapić podczas uzytkowania komputera. Do kaźdej z tych sytu⁺ci dołaczone są latwe sposoby rozwiazania problemu.
Nacisnalem przycisk zasilania, ale komputer nie startuju aniNie uruchamia sie.
Sprawdź wskaznik zasilania:
-
Ježeli nie swieci, komputer nie jest zasilany. Sprawź:
-
Ježeli pracujesz na zasilaniu baterynjym, akumulatormöbe rożadowany w stopniu uniemożliwiajycm zasilanie komputera. Podłucz zasilacz pradu przyemienego w celu doładowania pakietu akumulatora.
-
Upewnij sie, ze zasilacz pradu przymiennego jest prawidlowo podłoczony do komputera i gniażda zasilania sieciowego.
-
Ježeli wskažnik swieci, sprawdz:
Czy w zewétrznej staci USB dyskietek nie znajduje są dyskietka,Nie zawierajuca systemu operacyjné? Wyjmij dyskietke lub zastap ja dyskietka zawierajuca system operacyjny, a naktie nacinijn klawiszene < Ctrl> + < Alt> + < Del> ,aby ponownie uruchomic komputer.
Na ekranie nic sie nie wyświetla.
System zaradzania energia automatycznie wyłacza wyświetlanie obrazu w celu osczȩźdania energii. Naciść dowolny przycisk, aby przyworćić wyświetlanie.
Jeźeli po naciśćci klawiszka obraz nadal nie wyświetla sie, mogą być trzy przyczyny takiego stanu:
- Poziom jasnosci jest zbyt niski. Naciśnij
+ , aby zȩększyć poziom jasnosci. - Urzadzenia wyświetlania sąbzć przelaczone na zewnetrzny monitor. Nacijsnij klawisz skrotu przyȩczania wyświetlania F_n + F5 ,aby przyȩczyc wyświetlanie z powrotem na komputer.
- Jeźeli świeci wskaznik wstrzymania, komputer znajduje są w trybie wstrzymania. Nacijsnij i zwolnij przycisk zasilania, aby przywrócić normalny tryb pracy.
Brak dzwieku z komputera.
Sprawdz:
- Możliwe, ze wyciszona została glosnosć. Sprawź w systemie Windows ikone sterowania glosnoscią (glosnik), znajdujacja są na pasku zadań. Jeźeli jest przyzekresłona, kliknio ja uusage zaznaczenia pola wyboru Wycisz wszystkie.
- Możliwe zbyt duź obniżenie poziomu glówność. Sprawȩ w systemie Windows ikone sterowania glówność, zznajduća są na pasku zadań. Do ustawienie glówność możesź równieź uzyć klawiszyc regulacja glówność.
- Ježeli słuchawski na glowe, słuchawski na uszy lub zewétrzne glówniki są podlaczone do portu wyjscia liniowej na przyednim panelu komputera, automatycznie wylaczone sa glówniki wewétrzne.
Chc wysunac tace napedu optyczneo bez wlacznia zasilania.
Naped optyczny posiada otrów wysuwu mechanicznego. Po prostu włoz kończykę dlugopisu lub spinacz do papieru do otworu wysuwu i naciśnij, aby wysunaćface.
Klawiatura nie reaguje.
Spróbuj przyłącncy zewnętrzną klawiature do portu USB komputera. Jeźeli zewnȩtrzną klawiatura działa,NSE wy skontaktować sie z dostawca lub autoryzowanym centrum serwisowym, poniewaź möglich jest obluzOWanie kabli klawiatury wewnȩtrneznej.
Drukarka nie dziaja.
Sprawdz:
- Upewnij sie, ze drukarka jest podłuczona do gniażda zasilania oraz, ze jest wączona.
- Upewnij sie, ze kabel sygnalowy drukarki jest pewnie przyłączenia do portu równelegloi lub portu USB komputera oraz do odpwiedniago portu drukarki.
Chcę przywrócić pierwotne ustawuminium mojego komputera bez korzystania z dysków CD odzyskiwania systemu.

Uwaga: Jeźeli uzywany system jest wersja wielojęczyna, system operacyjny i jejzyk wybrane przy pierwszymość systemu;będ Jedynymi opcjami dostepnymi w przyszlych operacjach odzyskiwania.
Proces przywracania pomaga przywrotćic oryginalne oprogramowanie na dysku C.; jakie byto zainstalowane przy zakupie notebooka. Wykonaj ponijsze czynnosci w celu odtworzenia dysku C.: (Dysk C: kostenie sformatowy i zestana usunietà wszystkie dane.) Waźne jest wykonanie kopii zapasowej wszystkich danych przyzed użyciem tej opcj.
Przed wykonaniem operaci przywracania, naleź sprawdzić ustawenia BIOS.
1 Sprawdź,czyistwączona Funkcja Acer disk-to-disk recovery.
2 Upewnij sie,czy ustawienie D2D Recovery w opcj Main jest Enabled.
3 Zakończ program naręźdiowy BIOS zapisȩć zmiamy. System zostanie ponownie uruchomiony.

Uwaga: Aby uaktywnic program narędziowy BIOS, naleź nacisné klawisz
Rozpoczecie procesu odzyskiwania:
1 Ponowne uruchom system.
2 Kiedy wyświetlane jest logo firmy Acer, naciśnij równoc三点ie klawiszene < Alt > + < F10 > ,aby przywracania.
3 W celu przywrocenia systemu stosuj sie do instrukcji wyswietlanych na ekranie.

Wañne! Funkcja ta zajmuje 15 GB.), uykrytej partycji dysku twardego.
Zglaszanie potrzeby obstugi serwisowej
Międzynarodowa gwarancja podróżnego (International Travelers Warranty; ITW)
Ko mputer jest zabezpieczony poprzej Miedzynarodowa gwarancja podroznego (International Travelers Warranty; ITW) dajc zabezpieczenia komputera podczas podrozzy. Nasza swiatowa siec centrow serwisowych zapewnia pomoc klienow.
Wraz z komputerem jest dostarczy paszport ITW. Paszport ten zagiera wszystkie niedźbudne informacja na temat programu ITW. lista dostepnych, autoryzowanych centrow serwisowych znajduje są w podȩcznym informatorze. Naleź uwazność przyciezytaść paszport.
AbyMZa byo skorzystac z uslug naszych centrow serwisowych, paszport ITW nalezymiec zawsze przy sobie, szczeuglnie podczas podrozzy. Dowod zakupu umieosciwewwntrznej zakladce okladki paszportu ITW.
Ježeli w docelowym kraju podroźny nie ma centrum serwisowej ITW, autoryzowanego przy fizem Acer, pomoc można uzyskać kontaktujac są z naszymi biurami na calym świecie. Prosimy zapoznać są z informacjami przyzdawionymi na stronie http://global.acer.com.
Zanim zatelefonujesz
Przed polaczeniem Telefonicznym z serwisem online firmy Acer nalezy przygotować nastepuje informacje oraz pozostawać przy komuterze podczas rozmowy. Pomoc uzytkownika pozwoli skróci czas rozmowy Telefonicznej oraz udzielic bardziej skutecznej pomocy w rozwiazaniu problemu. Jeźeli komputer generuje komunikaty o będach lub dzwieki, nalezy zapisać je, tak jak są wyświetlane na ekranie (lub zanotować ilosc i kolejnosć dzwieków).
Wymagane jest podanie nastepujacych informaci:
Nazwisko:
Adres:
Numer telefonu:
Typ i model komputera:
Numer seryjny:
Data zakupu:
Rozwiȩzywanie problemów
W rozdziele tym znajduja sie porady dotyczze postepowania w przypadku wystapienia typowych problemów z systemem. Naleź je przyczytań przyzedzwrocieniem sie o pomoc do pracownikia pomocy technicznej. Rozwi空气质量 bardzej poważnych problemów wymagaju otwarcia obudowy komputera. Nie daneź otwierać obudowy komputera samodzielnie. W celu uzyskania pomocy sąȩ kontaktowej sie z dostawca lub autoryzowanym centrum serwisownym.
Porady dotyczę rozwȩzywnia problemów
Ten notebook PC zawiera zaawansowane rozwiazania umozliwajace wyświetlanie na ekranie raportów o blędach, aby zapewnić pomoc w rozwiazaniu problemów.
Ježeli system zglosi komunikat o bledzie lub pojawiaja sie objawy wystapienia blędu, zobacz "Komunikaty o będach" poniżej. Jeźeli nie są zańrozstawicz problemu, skont⁺tuj są z dostawca. Zobacz "Zglaszanie potrzeby obstruk serwisowej" na stronie 35.
Komunikaty o blędach
Jeźeli pijil sie komunikat o blędzie, naleź zanotowć和他的treść podȩć probesu uniecia blędu. W ponijszej tabeli zostały wymienione w kolejnosci alfabetycznej komunikaty o blȩdach oraz zalepany przybebieg postȩgowania.
| Komunikaty o布莱ching | Czynnosci naprawcze |
| CMOS battery bad | Skontaktuj sie z dostawca lub autoryzowanym centrum serwisowym. |
| CMOS checksum error | Skontaktuj sie z dostawca lub autoryzowanym centrum serwisowym. |
| Disk boot failure | Włódyskietke systemowa (startowa) do staci dyskietek elastycznych (A:), a nastepnie naciśćn w celu ponownego uruchomienia komputera. |
| Equipment configuration error | Naciśćn (<2> (podczas testu POST), aby uruchomic program narędziowy BIOS; nastepnie naciśćn Exit, aby ponownie uruchomic komputer. |
| Hard disk 0 error | Skontaktuj sie z dostawca lub autoryzowanym centrum serwisowym. |
| Hard disk 0 extended type error | Skontaktuj sie z dostawca lub autoryzowanym centrum serwisowym. |
| I/O parity error | Skontaktuj sie z dostawca lub autoryzowanym centrum serwisowym. |
| Keyboard error or no keyboard connected | Skontaktuj sie z dostawca lub autoryzowanym centrum serwisowym. |
| Keyboard interface error | Skontaktuj sie z dostawca lub autoryzowanym centrum serwisowym. |
| Memory size mismatch | Naciśćn (<2> (podczas testu POST), aby uruchomic program narȩdziowy BIOS; nastepnie naciśćn Exit, aby ponownie uruchomic komputer. |
Ježeli problem utrzymuje sie mimo przypopadzenia dzialań naprawczych, skontakuji z dostawca lub autoryzowanym centrum serwisowym w celu uzyskania pomocy. Niekóre problemy myznà rozwȩzać poprzej uzycle programu narędziowygo BIOS.
Przepisy i uwagi dotyczace bezpieczeniastwa
Oświadczenie FCC
Urzadzenia to zostalo przytestowane i spelnilia ograniczenia dla urzadzeń cyfrowych klasy B, zgodnie z Częsć 15 Zasad FCC. Powyźne ograniczenia stworzone w celu zapewnienia stosownego zabezmieczenia przydskodliwymi zakłoceniami w instalacjach domowych. Urzadzenia to generuje, wykorzystuhe i我会 emitować energia o czȩstotliwość radiowej i w przypadku zastalOWANIA oraz uzytkOWANIA niedzgodnie z zaleceniami sączliwe zakłocenia w lącznosci radiowej.
Nie ma jegnek zadnych gwarancji, ze zakrocenia nie wystapia w konkretnej instalacji. Jeźeli urzadzenia to powoduje uciąliwe zlokenia odbioru radia i telewizji, coMZna sprawdzić wączajć i wyȩczajć urzadzenia, uzytkownikMZe podjacć probesuuniecia zlokćen poprzej:
zmiane kierunku lub połozenia anteny odbiorczyj,
- zwiekszenie odstepu pomiedzy urzadzeniem i odbiornikiem,
podłaczenia urzadzenia do gniażdka zasilanego z在内的 obwodu zasilania niz odbiornik,
- konsultacja z dostawca lub doświadczonym technikiem RTV w celu uzyskania pomocy.
Notice: Kable ekranowane
W celu uzyskania zgodnosci z przyepisami FCC, wszystkie połaczenia z innymi urzadzeniami komputerowymi musza byc wykonane z uzyciem kabli ekranowych.
Notice: Urzadzenia peryferyjne
Doervo notebooka moza podlaczacj edynie urzadzenia peryferyjne (urzadzenia wejsca/wyjscia, terminale, drukarki, itd.) posiadajce certyfikat zgodnosci z ograniczeniami klasy B. Skutkiem eksploatacji z przylaczonymi urzadzeniami peryferyjnymi, ktore nie posiadaja swiadectw zgodnosci, moga byc zaklocenia odbioru radia i telewizji.
Ostrzeżenie
Zmiany lub modyfikacja, które nie zostaly zaakceptowane w sposob wyraźny przyez producenta, moga doprowadzić do pozbawenia uzytkownika prawa do korzystania z urzadzenia, co winika z przyepsów Federal Communications Commission (Federalnej Komisja Łęcznosci).
Uwaga: Uzytkownicy z Kanady
To urzadzenie cyfrowe klasy B jest zgodne z kanadyjska norma ICES-003.
Uwagi dotyczne modemu (tylko w niedtórych modelach)
TBR 21
Sprzęt ten uzyskał aprobate [Decyzja Rady 98/482/EC - "TBR 21"] dotyczȩpnej pojedynczych polaczenia terminalowych z siecia投资基金 (Public Switched Telephone Network [Publiczna przyłączenia sieć telefonicznaj]). Jednakość, z powodu rożnic pomieźny indywiduationalnycieciemi投资基金, dostepnymi w rożnych krajach, aprobata sama w sąbie niedaje bezwarunkowej gwarancji prawidlowośćdzialania dla kazdego punktu koncowego投资基金. W przyypadku problemów danezy w pierwSzej kolejnosci kontaktowość z dostawca sprzȩtu. Aby uzyskaćwciecj informacji o krajach, których to dotyczzy, zobacz "Przepisy i uwagi dotyczȩbe bezpieczność" na stronie 37.
Oświadczenia o jakosci wyświetlania pikseli wyświetlacza LCD
Wyświetlacz LCD jestprodukowy z zastosowaniem technik wytywarzania o wysokiej preczyji. Pomimo to, niktość piksele moga czasami nie swiecić lub moga być widoczne jako czarne lub czerwone punkty. Nie wptywa to na zapisany obraz, aniNie stanowy objawu nieprawidlowego dzialania.
Uwagi prawne dotyczace urzadzenia radiowego

Uwaga: Zamieszczone poniżej informacje prawnne dotycznych tylko modeli dla sieci bezprzewodowych LAN i/lub Bluetooth.
Informacja ogólne
Urzadzenia to spelnilia wymagania norm czestotliwość radiowej i bezpieczność w krajach lub regionach, w którch uzyskalo aprobató do uzywania w instalacjach bezprzewodowych. W zależnosci od konfiguracje, urzadzenia toMZe zawierać lub nie zawierać uklady radiowej komunikacje bezprzewodowej (takie jak moduły bezprzewodowych sieci LAN i/lub Bluetooth). Ponijsze informacja dotycza produktów z takimi urzadzeniami.
Deklaracja zgodność znormami krajów Unii Europejskiej
Firma Acer oświadczā ninięjszym, ze ta seria notebookćów PC, jest zgodna z istotnymi wymaganiami i innymi odnosnymi warunkami Dyrektywy 1999/5/EC.
Lista objętych krajów
Kraje członkowskie Unii Europejskiej w lipcu 2009: Belgia, Dania, Niemcy, Grecja, Hiszpania, Francja, Irlandia, Włochy, Luksemburg, Holandia, Austria, Portugalia, Finlandia, Szwecja, Wielka Brytania, Estonia, Łotwa, Litwa, Polska, Wegry, Republika Czeska, Republika Slowacka, Slowenia, Cypr, Malta, Bulgaria i Rumunia. Uzywanie jest dozwolone w krajach Unii Europejskiej oraz w Norwegii, Szwajcarii, Islandii oraz w Liechtensteinie. Urzadzenia musi byc uzywane sc查封 zgodnia z przyepisami i agraniczeniami odpowiednimi dla danego kraju. W celu uzyskania dalszych informaci naje wy skontaktoaść z lokalmnym biurem kraju uzytkowania. Aby przyzejność sąnz krajów, przyjeźna strone http://ec.europa.eu/ enterprise/rtte/implem.htm.
Wymagania bezpieczne自主 FCC RF
Poziom promieniowania karty Mini PCI bezprzewodowej sieci LAN oraz karty Bluetooth jest znacznie nizszy od obowiazujacych, zgodnie z wymaganiami FCC, limitów emisi sygnłow czestotliwość radiowej. Niemniojalnej jak, seriii notebookłow PCNSEZY uzywać w taki sposób, aby zminimalizowej Kontakt z ludźmi podczas przy pracy, co można osiagnć w nastepujczy sposób:
1 Uzytkownicy powinni stosować sie do instrukcji bezpieczność w RF, dotycznych pracy z urzadzeniami bezprzewodowymi, tkróznajduź są w instrukcji obstglikażdego urzadzenia RF.

Ostrzeżenie: Aby spelnić wymagania zgodnosci z limitami FCC ekspozycji radiowej, konieczne jest utrzymanie odlegloiść przyznajmie 20 cm (8 cali) pomiedzy wszelkimi obosami i antena zintegrowej karty bezprzemowych LAN Mini PCI wbudowanej w ekran.


Uwaga: Karta Wireless Mini-PCI posiada zaimplementowanę fungcję dywersyfikacje transmisji. Urzadzenia nie emituje czestotłowosci radiowych rownoc三点zie niz obu anten. Dla zapewnia dobrej jakosci polączenia radiowej"Justa z anten jest wybierana automatycznie lub recznie (przej uzytkownika).
2 Zastosowanie tego urzadzenia jest ograniczone do uzytku wewnatr pomieszczene, ze względu na seinen dzialanie w zakresie czestotliwość 5,15 do 5,25 GHz. FCC wymaga uzywania tego produktu wewnatr pomieszczene dla zakresu czestotliwość 5,15 do 5,25 GHz, aby zredukować potencjalne szkodliwe zlokocenia kanalów publicznych systemów Telefonii satelitarnej.
3 Pasma czestotliwocki 5,25 do 5,35 GHz oraz 5,65 do 5,85 GHz są przydzielone wysokiej mocy radarom, jak glownym uzytkownik. Te stace radarowe moga spowodowa zaklocenia pracy i/lub uszkodzenia urzadzenia.
4 Nieprawidłowa instalacja lub nieuprawnione użcie są spowodowej szkodliwe zlokćenia komunikacje radiowej. Tanke wszelkie przerobki wewétrznej anteny moga spowodowej pozbawuminium certyfikatu FCC oraz utrata gwarancji.
Kanada - Zwolnienie z koniecznosci licencjonowania urzadzeń radiokomunikacyjnych emitujacych niski poziom energii (RSS-210)
Narażanie ludzi na działanie pól RF (RSS-102)
Seria notebooków PC posiada zintegrowane riskoemisyjne anteny nie generujuce pol RF o wartosciach przykraczajych ochrniczenia Health Canada (Kanadyjski system ochrony zdrowia), dotyczych emisi promieniowania; nalezy sprawdzić informacja Safety Code 6, ktoře są dostepne na stronie internetowej Health Canada, pod adresem www.hc-sc.gc.ca/rpb.
A szamitogep gondozasa
XV
Jednotka bateriovych zdroj
Tipny na riešenie problemov 34
Hlásenia o chybách 34
Nasveti za zhivo srebro
Vgrajene omrežne funkcjije
Vgrajena omrežna funkcija omogoča priključevanje vašega računalnika na omrežja, ki temeljijo na ethernetetu.
Za uporabo omrežne funkcije priključite kabel ehternet iz vrat ethernet (RJ-45) na ohišju računalnika na omrežni priključek ali na zvezdišće vašega omrežja.

Svarbu! Si funkcjja užima 15 GB paslptame standžiojo disko padalinime
ProstaInstrukcja