TRAVELMATE 5742G - Laptop ACER - Gratis gebruiksaanwijzing en handleiding
Vind de handleiding van het apparaat gratis TRAVELMATE 5742G ACER in PDF-formaat.
Download de handleiding voor uw Laptop in PDF-formaat gratis! Vind uw handleiding TRAVELMATE 5742G - ACER en neem uw elektronisch apparaat weer in handen. Op deze pagina staan alle documenten die nodig zijn voor het gebruik van uw apparaat. TRAVELMATE 5742G van het merk ACER.
GEBRUIKSAANWIJZING TRAVELMATE 5742G ACER
Algemene gebruikershandleiding
Informatie voor uw verilgheid en gemak
Veiligheidsinstructies
Lees deze instructies aandachtig door. Bewaar dit document voor toekomstige naslag. Volg alle waarschuwingen en instructies die aangegeven zijn op het product zelf.
Het product uitschakelen voordat het worden schoongemaakt
Haal de stekker van dit apparaat uit het stopcontact voordat u het apparaat reinigt. Gebruik geen vloeibare schoonmaakmiddelen of schoonmaakmiddelen uit spuitbussen. Reinig alleen met een vochtige doeck.
VOORZICHTIG loskoppelen van de stekker
Let op de volgende richtlijnen als de stroomkabel op de stroombron worden aangesloten of losgekoppeld:
Installer de stroombron voordat u de stroomkabel in het stopcontact steckt.
Koppel de stroomkabel eerst los voordat de stroombron van de computer worden losgekoppeld.
Als het systeem meerdere stroombronnen heeft, koppel dan alle stroomkabelsuit alle stroombronnen los.
VOORZICHTIG bij Toegankelijkheid
Zorg dat het gebruikte stopcontact makkelijk toegankelijk is en zo zich mogelijk bij de gebruikte apparatuur is. Als u de stroom van het apparaat wilt afhalen, zorg dan dat u de stroomkabeluit het stopcontact trekt.
LET OP de bijgesloten_dummykaart(en) (alleen voor bepaalde modellen)
De computer worden geleverd met plastic dummies, nepkaarten, in de kaartsleuven. Dummies beschermen ongebruikte sleuven gegen stof, metalen objecten en andere deeltjes. Bewaar de dummies en gebruik deze als in de sleuven geen kaarten worden gebruikt.
WAARSCHUWING bij het luisteren
Om uw gezhoort te beschermen volgt u deze instructies.
Verhoog het volume geleidelijk tot u duidelijk en comfortable kunt horen.
- Verhoog het volume niet nadat uworen zich hebben aangepast.
- Luister Niet gedurende langearendaar muziek bij luid volume.
- Verhoog het volume Niet om een luidruchtige omgeving uit te schakelen.
Verlaag het volume als u de mensen in uw buurt Niet hoort spreken.
iv
Waarschuwingen
Geruik het apparaat Niet in de buurt van water.
- Plaats het product Niet op een instabil wagentje, onderstel of tafel. Het apparaat kan dan vallen, waar bij dit ernstig beschadigt.
- Sleuven en openingsen zijn voor ventilatie; deze verzekeren het betrouwbaar functioneren en beschermen gegen oververhitting. Deze openingsenogeniet geblokkeerd oftoegedekt worden.Deze openingsenogenooit geblokkeerd worden door het apparaat teplaatsen op een bed, bank, kleed of een soortgelijk oppervlak. Het apparaat mag nooit in de buurt of op een verwarming worden geplaatst. Het mag nicht worden ingebouwd, tenzij er genoog ventilatie is.
- Steek nooit voorwerpen door de openingsen van dit apparaat. Deze konnen contact makes met onderdelen waarop een gevaarlijk hoge spanning staat, of kortsluiting veroorzaken wat kan resulteren in brand of een electrische schok. Mors geen vloeistof op het apparaat.
- Plaats het product Niet op een trillend oppervlak om beschadiging van interne componenten en lekkage van de accu te voorkomen.
- Gebruik het nooitijdens het sport of lichaamsbeweging, of een trillingsrijke omgeving waarin het wellicht onverwachte kortsluiting kanveroorzaken of bewegende delen, zoals harde schijf, optische stations kan beschadiging en zelfs openscheuren van de lithiumaccu kanverozaken.
- De onderkant, de gebieden rond de ventilatieopingen en de adapter kuren erg warm worden. Zorg dat u deze plekken Niet aanraakt om letsel te voorkomen
- Het toestel en uitbreidingen kankleine onderdelen bevatten. Houddezebuiten het bereik vankleine kinderen.
Elektriciteit gebruiken
- Dit apparaat要去en strooombron worden aangesloten, zoals aangegeven op het markingslabel. Wanner u Niet zeker weet welk type stroom aanwezig is, raadpleeg dan uw dealer ofplaatselijk energiebedrijf.
- Plaats geen objekten op de netsnoer. Plaats het apparaat Niet in het looppad van anderen.
- Indien een verlengsnoer worden gebrukt, zorg dat de totale ampèrebelasting op de stekkerdoos nicht meer is dan de belastingscapaciteit van de stroomkabel. Let er op dat de totale ampèrebelasting van de apparaten in het stopcontact Niet de capacité van de zekering overschrijdt.
- Zorg dat een stopcontact, verdelsetekker of verlengsnoer nicht worden overbelast door het aansluiten van te veel apparaten. De totale belasting van het systeme mag Niet groter�n dan 80% van de capaciteit van het vertakte circuit. Als verdelsetekkers worden gezruikt, mag de totale belasting Niet groter�n dan 80% van de ingangcapaciteit van de verdelsetekker.
- De adapter van het product is uitgerust met een geaarde stekker. De stekker past alleen in een geaard stopcontact. Zorg dat het stopcontact correct geaard is voordat u de stekker van de adapter insteekt. Plaats de stekker Niet in een stopcontact zonder aarde. Neem contact op met uw elektricien voor details.

Waarschuwing! De aardingspin is een veiligheidsmiddel. Het gebruik van een stopcontact zonder correct aarding kan resulteren in elektrische schok en/of verwonding.

Opmerking: De aardingspin is ook een goede bescherming gegen onverwachte ruis van andere naburige elektrische apparaten die de prestaties van dit product konnen storen.
- Het systeme kan worden aangesloten op diverse voltages; 100 tot 120 of 220 tot 240V wisselspanning. De stroomkabel die bij het systeme is geleverd, voldoet aan de gebruiksvereisten in het land/regio waar het systeme is gekocht. Stroomkabels voor andere landen/regio's要去en voldoen aan de vereisten voor het betreffende land/regio. Voor meer informatie over de vereisten voor stroomkabels, neemt u contact op met een geauthoriseerde verkopener of leverancier.
Reparatie van het product
Probeer het apparaat Niet zich te repareren. Het apparaat openen of het verwijderen van de behuizing kan ublootstellen aan gevaarlijke stroomspanningen of andere risico's. Laat elke reparatie over aan gekwalificeerd onderhoudspersoneel.
Verwijder de kabel uit het stopcontact en LAST gekwalificeerd onderhoudspersoneel het apparaat repareren in de volgende geallen:
- Wanner de netsnoer- of stekker beschadigd of versleten is.
- Wanner vloeistof in het apparaat is gemorst.
- Wanner het product heeft blootgestaan aan regen of water.
- Het apparaat is geallen of de behuizing is beschadigd.
- Het apparaat vertoont duidelijke verandering in de prestaties. Dit geeft aan dat het apparaat aan een onderhoudsbeurt toe is.
- Wonneer het product Niet normal waerk terwijl de bedieningsinstrumenties gevolgd+zijn.

Opmerking: Stel alleen die zaken bij die worden behandeld in de gebruiksaanwijzing. Onjuist bijstellen van andere zaken kan schadeveroorzaken en kan tot gevolg hebben dat uigebreide werkzaamheden door een gekwalificierde technicus nodig+zijn om het producteer in de normale toestand te brengen.
Richtlijnen voor veilig gebruik van de accu
Deze laptop gebruikt een lithium-ionaccu. Gebruik het nicht in een vochtige, nature of bijtende omgeving. Plaats het product nooit in of bij een warmtebron, op een plek met een hoge temperatuur, in direct sterk zonlicht, in een magnetron of in een opslagruimte die onder druk staat, en stel het nicht bloot aan temperaturen boven 60^ (140°F). Als deze richtlijnen nicht worden opgevolgd, kan de accu zour lekken, heet worden, exploderen of ontbranden en letsel en/of schade veroorzaken. Doorboor, open of ontmantel de accu nooit. Als de accu lekt en u in contact komt met de gelekte vloeistof, spoel dan zorgvuldig af met water en ga onmiddelijk maar een arts. Wegens veiligheidsredenen en om de levensduur van de accu te optimaliseren, dient het opladen nooit te geschieden bij temperaturen onder 0^ (32°F) of boven 40^ (104°F).
De volledige prestaties van een nieuwe accu worden pas behaald na tweet- of driemaal volledig opladen en ontladen. De accu kan honderden malen worden opgeladen en ontladen, maar za uiteindelijk verbruikt zich. Als de gebruikstijd merkbaar korter worden dan normalaal, koop dan eenzigecu. Gebruik alleen de goedgekeurde accu, en laad de accu alleen op met een goedgekeurde oplader.
Gebruik de accu alleen voor de bedoelde functie. Gebruik nooit een beschadigde oplader of accu. Veroorzaak nooit kortsluiting op de accu.
Kortsluiting kan optreden als een metalen object, zoals een munt, paperclip of pen de positieve (+) en negatieve (-) polen van de accu verbindt. (Deze zich uit als metalen stroken op de accu.) Dit kan optreden als u bijvoorbeeld een reserveaccu in uw zak of tas draagt. Kortsluiten van de contactpunter kan de accu of het verbindingssobject beschadigen.
De capacititeit en levensduur van de accu worden verminderd als de accu op koude of hete plekken worden actergelaten, zoals een gesloten auto in zomer of winter. Probeer de accu altoijtussen 15^ en 25^ (59°F en 77°F) te houden. Een toestel met een hete of koude accu werkt wellicht tijdelijk Niet, zichs als de accu volledig is opgeladen. De prestaties van de accu worden met name beperkt op temperaturen onder het vriespunt.
Stel accu's Niet bloot aan vuur odomat ze dan kunnen ontploffen. Accu's kunnen ook ontploffen als ze beschadigd zijn. Verwijder accu's overeenkomstig deplaatselijkke milieuvoorschriften. Recycle indien möglichk. Gooi ze Niet weg bij het huisvuil.
Draadloze toestellen können gevoelig zijn voor storing van de accu, wat de prestaties kan beinvloeden.
De accu verrangen
De notebook PC gebruikt een lithium accu. Vervang de accu met eentje van hetzelfde type als die bij het product is geleverd. Het gebruik van een andere accu kan resulteren in brand of explosie.

Waarschuwing! Bij onjuiste behandeling{kunnen accu's exploderen. Maak accu's Niet open enwerp ze Niet in vuur. Houd deze buiten het bereik van kinderen. Volg deplaatselijke reguleringen bij het weglooien van gebruekte accu's.
Waarschuwing m.b.t. het optisch station (alleen voor bepaalde modellen)
Waarschuwing: Dit apparaat bevat een laser en is geclassificeerd als een "LASERPRODUCT VAN KLASSE 1". Mocht een probleem optreden met het apparaat, neem dan contact op met een GEAUTORISEERD servicestation bij u in de buurt. Probeer nooit zich de behuizing te openen, om directe blootstelling aan de laserstraal te voorkomen.
Veiligheid met betrekking tot de telefoonlijn
- Koppel.altijd alle telefoonlijnen los van de wandcontactdoos voordat het apparaat gerepareerd of gedemonteerd worden.
- Gebruik geen telefoonlijn (anders dan draadloos type)ijdens onweer. Er bestaat een Klein risico op electrische schok door blikkseminslag.

Waarschuwing! Uit veiligheidsredenen dient u geen Niet-overeenkomstige onderdelen te gebruiken als u componenten toevoegt of verwijdert. Neem contact op met uw verkoper voor de mogelijkheden.
Gebruiksomgeving

Waarschuwing! Schakel wegveiligheidsoverwegingen alle draadloze toestellen of toestellen die radiosignalen verzenden uit als u de laptop gebrukt in de volgende omstandigheden. Deze toestellen omvatten, noch nicht beperkt tot: draadloos-lan (WLAN), Bluetooth en/of 3G.
Denk eraan speciale regels die van toepassing+zijn in uw land op te volgen, en denk eraan het toestel uit te schaken als het gebruik verboden is of als dit storing of gevaar kan veroorzaken. Gebruik het toestel alleen in de normale houdingen. Dit toestel voldoet bij normala gebruik aan de richtlijnen voor RF-straling, wat betekent dat het toestel en antennene en afstand van minstens 1,5 centimeter (5/8 inch) tot uw lichaam hebben (zie onderstaande afbeelding). Het mag geen metaal bevatten en u dient het toestel op de hierboven genoemde afstand van uw lichaam honden. Om databestanden of berichten te kunnen overdragen, heeft het toestel een kwalitatief goede verbinding met het netwerk nodig. In sommige geallen kan de overdracht van databestanden of berachten worden vertraagd totdat zo'n verbinding beschikbaar is. Zorg dat de bovenstaande scheidingsafstand in acht worden genomen totdat de overdracht voltooid is. Onderdelen van het toestel zichn magnetisch. Metalen onderdelen kunnen worden aangetrokken tot het toestel, en mensen met hoorthulpmiddelen mogen het toestel Niet bij het oor met hoorthulpmiddel honden. Plaatss geen creditcards of andere magnetische opslagmedia in de buurt van het toestel, omdat de informatie die ze bevatten kan worden gewist.
Medische apparatuur
Gebruik van apparatuur die radiosignalen uitzendt, waaronder mobiele telefoons, kan storing veroorzaken op de functionaliteit van onvoldoende beschermde medische apparatuur. Raadpleeg een arts of fabrikant van het medische apparaat om te bepalen of deze adequatezem afgeschermd gegen RF-energie of voor eventuele andere vragen. Schakel het toestel uit in zorginstelleningen als borden in deze instelleningen u opdragen dit te doeen. Ziekenhuizen of zorginstelleningen konnen apparatuur gebruiken die gevoelig is voor externe RF-signalen.
Pacemakers. Fabrikanten van pacemakers geven de aanbeveling algijd een afstand van minstens 15,3 centimeter (6 inch) inRCT te nemen tussen draadloze toestellen en een pacemaker om storing op de pacemaker te vermijden. Deze aanbevelingen zich consistent met onafhankelijk onderzoek door en aanbevelingen van Wireless Technology Research. Menschen met pacemakers dienen het volgende inRCT te nemen:
- Houd het toestel.altijd minstens 15,3 centimeter (6 inch) van de pacemaker verwijderd.
- Draag het toestel nooit ingeschakeld bij de pacemaker. Als u storing vermoed, schakel het toestel dan uit een draag het op een andere plek.
Hoorhulpmiddelen. Bepaalde digitale draadloze toestellen{kunnen storing veroorzaken op bepaalde hoorhulpmiddelen. Als storing opttreedt, neem dan contact op met uw serviceprovider.
Voertuigen
RF-signalen können onjuist geinstalle de onvoldoende afgeschermde elektronische systemen in motorvoertuigen beinvloeden, Zoals elektronische brandstofinjectiesystemen, elektronische antiblokkeersysteme, elektronische cruise controlsystemen en airbagsystemen. Voor meer informatie neemt u contact op met de fabrikant of dealer van uw voertuig of van geinstalle apparatuur. Alleen gekwalificierd personeel mag het toestel repareren of het toestel in een voertuig installeren. Het onjuist installeren of repareren kan gevaarlijk zijn en kan de garantie op het toestel Nietig makeen. Controller regelmatig of alle draadloze apparatuur in uw voertuig correct is gemonteerd en juist functioneert. Bewaar of vervoer geen ontvlambare vloeistoffen, gassen of explosieve materialen indezelfde ruimte als het toestel, onderdelen ofuitbreidingen. Denk bij voertuigen met een airbag eraan dat airbags met groote kracht worden opgeblazen. Plaats geen objecten, zoals geinstalle de draagbare draadloze apparatuur boven de airbag of in het gebied waar de airbag worden opgeblazen. Als draadloze apparatuur in het voertuig onjuist is geinstalleerd, en als de airbag worden opgeblazen, kan het resultaat ernstige verwonding�n. Het gebruik van het toestel aan board van een vliegtuig is verboden. Schakel het toestel uit voordat u aan board van een vliegtuig要去. Het gebruik van draadloze tele-apparaten aan board van een vliegtuig kan gevaar opleveren voor het gebruik van het vliegtuig, het draadloze telefoonnetwork verstored en wellicht illegaal�n.
Potentieel explosieve omgevingen
Schakel het toestel uit in een gebied met een potentieel explosieve atmosefer en volg alle borden en instructies op. Potentieel explosieve atmosferen treft u aan in gebieden waar u normal gesproken geadviseerd worden de motor van uw voertuig af te zetten. Vonken in zulke gebieden konnen een explosie of brand veroorzaken met letsel of zichs de dood als gevolg. Schakel de laptop uit in de buurt van tankzuilen bij garages. Let op voorschriften betreffende het gebruik van radioapparatuur in brandstofdepots, opslag- en distributieplaatsen, chemische fabrieken of plekken waar explosies worden uitgevoerd. Gebieden met een potentieel explosieve atmosefer worden vaak, maar Niet altijd, gemarkeerd. Hieronder vallen chemische overslag- of opslagfaciliteiten, onderdeks op schepen, voertuigen die vloeibaar gemaakt petroleumgas (zoals propaan of butaan) gebruiken, en plekken waar de lucht chemicalien of deeltjes als korrels, stof of metaalpoeder bevatten. Schakel de laptop Niet in als het gebruik van mobiele telefoons is verboden of als het storing of gevaar kan opleveren.
Alarmnummers bellen
Waarschuwing: Via dit toestel(Int)kunt u geen alarmnummers bellen. Wilt u een alarmnummer bellen, gebruik dan een mobiele telefoon of ander telefoonsysteme.
Instructies voor weggooien
Gooi dit elektronisch apparatusaat nicht zomaar in de prullenbak. Om verruiling te voorkomen en het milieu zo veel möglichk te beschermen,ields u het apparatusaat aan voor recycling.Voor meer informatatie over de WEEE (Waste from Electrical and Electronics Equipment, afval van elektronische en elektrotechnische apparaten), bezoekt u http://www.acer-group.com/public/Sustainability/ sustainability01.htm.

Advies over kwik
Voor projectoren met een gloeilamp of electronische producten met een non-led-verlichtedc/crt-monitor of beeldscherm: Lamp (en) in dit product bevatten kwik en dwellen gerecycled of aangeboden te worden volgens de lokale of nationale wetten. Voor meer informatatie, neemt u contact op met de Electronic Industries Alliance op www.eiae.org. Voormeer informatatie over het wegdoen van de lamp, zie www.lamprecycle.org.

ENERGY STAR

ENERGY STAR
De met ENERGY STAR gemarkeerde producten van Acer besparen geld doordat worden bespaard op energiekosten en sparen het milieu zonder functies of prestaties in te boeten. Acer presenteert haar klanten trots producten met de ENERGY STAR-markering.
Wat is ENERGY STAR?
Producten met de marketing ENERGY STAR gebruiken minder energia en voorkomen de uitstoot van broeikasgassen, doordat ze voldoen aan de strikte richtlijnen voor energia-efficientre van de U.S. Environmental Protection Agency. Acer is er op gericht wereldwijd producten en Diensten te leveren die klanten helpen geld en energia te sparen en de kwaliteit van het milieu te verbeteren. Hoe更是nergie we kuren besparen door hogere energie-efficientre, hoe更是 we broeikasgassen kuren verminderen en daarmee het risico op klimaatverandering. Voor meer informatie, zie http://www.energystar.gov of http://www.energystar.gov/powermanagement.
Met ENERGY STAR gemarkeerde producten van Acer:
- Produceren hinter warmte en reduceren deoodzaak van koeling, en een warmer klimaat.
- Automatisch de "slapstand beeldscherm" en "slapstand computer" activieren na 10 en 30 minutes van geen aktiviteit.
- Wek de computer uit de slaapstand door op het toetsbord te drukken of de muis te bewegen.
Computers bespareeer dan 80% energie in de"slapstand".
ENERGY STAR en de ENERGIE STAR-markering�n in de V.S. gedeponeerde merken.
Tips en informatatie voor gebruiksgemak
Gebruikers van computers können na lang gebruik oogklachten of hoofdpijn krijgen. Gebruikers lopen ook het risico op andere fysieme klachten door ruim tijd (urenlang)ijken een beeldscherm te zitten. Lange werkperiodes, slechte houding, slechte werkgewoonten, spanning, ongeschichte werkconditions, persoonlijke gezondheid en andere factoren beinvloeden het risico op fysieme klachten.
Onjuist gebruik van de computer kan leiden tot carpal tunnel syndroom, peesontsteking, peesschedeontsteking of andere spier/gewrichtstoringen. De volgende symptomen können optreden in handen, polsen, armen, schoulders, nef of rug:
- ongevoeligkeit, of een brandend of tintelend gevoel
- pijnlijk, ruw of week gevoel
- pijn, opzwelling of kloppen
- stijfheid of spanning
koudheid of zwakte
Als u deze symptomen heeft, of ander terugkeren of aanhonden ongemak en/ of bijn die te makes heeft met het gebruik van de computer, neem dan onmiddelijk contact op met een arts en informeer de arbodienst van uw bedrijf.
De volgende onderdelen bevatten tips voor een comfortabeler computergebruik.
Zoek de houding waarin u zich prettig voelt
Deze houding vindt u door de kijkhoek van de monitor te veranderen, een voetrust te gebruiken, of de zithoogte te vergroten; probeer de prettigste houding te vinden. Let op de volgende aanwijzingen:
- blij Niet te lang in=eén vast houting zitten
ga Niet waar voren en/of achefteren hangen - sta regelmatig op en loop wat om de spanning op uw beenspieren te verlichten
neem korte rustmomenten in acht om uw nek en schoulders te ontspannen
let op dat u uw schoulders nicht aanspant of ophault - plaats de monitor, toetsenbord en muis zodanig dat ze goed binnen bereik liggen
- als u meer maar de monitor dan� documenten kijk,plaats dan de monitor in het midden van uw bureau om het aanspannen van de neekspireren te minimaliseren
Let op uw zicht
Lang maar het beeldscherm kijken, onjuiste bril of contactlenzen, Lichtweerspiegelingen, uittbundige of te weinig verlichting, slecht afgestelde beeldschermen, tekleine lettertypes en beeldschermen met weinig contrast+zijn factoren die spanning op uw ogen vergroten. Het volgende deel biedt aanwijzingen om spanning op de ogen te verminderen.
XII
Ogen
Gun uw ogen regelmatig rust.
- Geef uw ogen af en toe een pauze door even van het beeldschemw weg te kijken en op een punt veraf te focussen.
Knipper regelmatig zodat uw ogen Niet uitdrogen.
Weergave
Houd het beeldscherm schoon.
- Houd uw hoofd een stukje hoger dan de bovenrand van het beeldschemm, zodat uw ogen maar beneden kijken als uaar het midden van het beeldschemm kijkt.
Stel de holderheid en/of contrast van het beeldscherm in op een comfortabel niveau zodate tekst goed leesbaar en afbeeldingen goed zichtaar�.
Voorkom schitteringen en reflecties door:
- plaats het beeldscherm zodenig dat deijkenktaar venster of lichtbron is gekeerd
- minimaliseer het Licht in de kamer met gordijnen, lamellen of luxaflex
- gebruik een taaklicht
verander de kijkhoed van het beeldschemr - gebruik een schittering-reductiefilter
- gebruik een klep rond het beeldscherm, zoals een stuk karton dat aan de bovenkant van het beeldscherm is geplakt
Zorg dat het beeldscherm Niet in een onprettige kijkhoek staat.
Zorg dat u Niet gedurende langearend in een heldere lichtbron, zoals een open raam, hoeft te kijken.
Goede werkgewoonten ontwikkelen
Ontwikkel de volgende werkgewoonten om het omgaan met de computereer ontspannen en productiever te make:
- Neem regelmatig en vaak korte pauzes.
- Doe een aantal rekoefingen.
Adem zo vaak möglich frisse lucht in.
Sport regelmatig en zorg dat u gezond blijft.

Waarschuwing! We raden u Niet aan de computer op een sofa of in bed te gebruiken. Als dit onvermijdelijk is, werk dan slechts gedurende korteperiodes, neem vaak pauzes en doe rekoefingen.

Opmerking: Voor meer informatie, zie "Voorschriften- en veiligheidsmededeling" op pagina 36.
Voordatu aan de slag gaat
Bedankt dat u hebt gekozen voor een notebook van Acer als oplossing voor uw mobiele computereisen.
Uw gidsen
Om u te helpen met het werk den op het Acer notebook hebben we een aantal gidsen ontworpen:
Allereerst helpt de kaart Aan de slag... u bij het instellen van uw computer.
De Algemene gebruikershandleiding van de TravelMate Series bevat handige informatatie die van toepassing�n op alle modellen uit de TravelMate producteeks. De handleiding behandelt basale onderwerpen, Zoals Acer eRecovery Management, het gebruik van het toetsenbord, geluid, enz. Vandaar dat zowel de Algemene gebruikershandleiding als de hieronder genoemde AcerSystem User Guide af en toe waar functies of kenmerken verwijzen die slechts voor enkele modellen in de reeks gelden, en dus Nietoodzakelijk voor het model dat u heeft aangeschaft. Dit worden in de tekst aangegeven met opmerkingen in detrand van "alleen voor bepaalde modellen".
Met de Snelgids krijgt u een introductie in de basiseigenschappen en functies van uw nieuwe computer. Als u meer wilt weten over hoe uw computer u kan helpen productiever te werkken, raadpleeg dan de AcerSystem User Guide. Deze Gebruikershandleiding bevat gedetailleerde informatatie over onderwerpen zoals systememfuncties, gevevensherstel, uitbreidingsopties en probleem oplossen. Daarnaast bevat het informatatie over garantie en de algemene voorwaarden en verilgheid voor uw notebook. Het is als Portable Document Format (PDF) beschikbaar en is al van te voren op uw notebook gezet. Volg deze stappen voor toeingang tot dit document:
1 Klik op

Start, Alle Programma's, AcerSystem.
2 Klik verzolgens op AcerSystem User Guide.

Opmerking: Als u het bestand wilt inzien, dient Adobe Reader te zich geinstalleerd. Als Adobe Reader nog Niet op uw computer is geinstalleerd, worden, als u op AcerSystem User Guide klikt, eerst het installmentieprogramma van Adobe Reader gestart. Volg de instructies op het scherm om het programme te installereren. Gebruiksaanwijzingen bij Adobe Reader vindt u in het menu Help en Ondersteuning.
xiv
Onderhoud en tips voor het gebruik van de computer
De computer in- en uitschakelen
U schakelt de computer in door op de aan/uit knop, onder het LCD-schem naast de easy-launch toetsen, te drukken. Zie Snelgids voor deplaats van de aan/uit knop op de computer.
U=knt de computer uitschakelen op een van de volgende manieren:
- Gebruik de opdracht Afsluiten van Windows
Klik op Start en klik verzolgens op Afluiten.
- Gebruik de aan/uit knop
Plaats de computer ook in de slaapstand schakelen door op Fn + F4 te drukken.

Opmerking: Als u de computer Niet op de normale wijze kurz uitschakelen, houd dan de aan/uit knop langer dan vier seconden ingedrukt om de computer uit te schakelen. Als u de computer hebt uitgeschakeld en meteen weeer wilt inschakelen, moet u minstens twee seconden wachteten voordat u de computer weein inschakelt.
De computer met zorg behandelen
Uw computer zal u jarenlanguitstekende Diensten bewijzen, mits u deze met zorg behandelt.
Stel de computer Niet bloat aan direct zonlicht. Plaats de computer Niet in de buurt van een warmtebron, zoals een radiator.
Stel de computer Niet bloat aan temperaturen onder 0^ (32^) of boven 50^ (122 F).
Stel de computer Niet bloot aan magnetische velden.
Stel de computer Niet bloot aan regen of vocht.
Mors geen water of andere vloeistoffen op de computer.
Stel de computer Niet bloat aan zware schokken of trillingen.
Stel de computer Niet bloot aan stof en vuil.
- Plaats geen objecten boven op de computer.
- Gebruik geen overdadige kracht om de schermklep te sluiten.
- Plaats de computer nooit op een oneffen oppervlak.
De adapter met zorg behandelen
Houd bij het gebruik van de adapter rekening met het volgende:
- Sluit de adapter nicht aan op een ander apparaat.
- Ga Niet op het netsnoor staan enplaats er geen zware voorwerpen op. Zorg dat het netsnoor en andere snoeren nicht in het looppad liggen.
Wilt u de stekker van het netsnoer uit het stopcontact halen, trek dan nicht aan het snoer, maar aan de stekker.
Bij gebruik van een verlengsnoer mag het totale aantal ampères van de aangesloten apparatuur, het aantal toegestane ampères van het verlengsnoer Niet overschrijden. Tevens mag de totale belasting van alle apparatuur die op een stopcontact is aangesloten, de belasting van de zekering Niet overschrijden.
De accu met zorg behandelen
Houd bij het gebruik van de accu rekening met het volgende:
- Gebruik uitsluitend accu's van hetzelfde type als dat van de bijgeleverde accu. Schakel de stroom uit voordat u de accu verwijdert of verrangt.
Knoei niet met de accu. Houd de accu buiten het bereik van kinderen. - Verwijder gebruikte accu's overeenkomstig deplaatsijekte milieuvoorschriften. Breng ze weg voor recycling indien dit möglich is.
De computer reinigen en onderhoden
Ga als volgt te werk om de computer te reinigen:
1 Schakel de computer uit en verwijder de accu.
2 Koppel de adapter los.
3 Gebruik een zachte,vochtigedoek.Gebruik geen vloeibare reinigingsmiddelen of reinigingsmiddelen in spuitbussen.
Als zich een van de volgende situaties Voordoet:
Raadpleeg het hoofdstuk "Veelgestelde vragen" op pagina 31.
Informatie voor uwveiligheid en gemak iii
Veiligheidsinstructies iii
Waarschuwing m.b.t. het optisch station
(alleen voor bepaalde modellen) vii
Gebruiksomgeving viii
Medische apparatuur viii
Voertuigen ix
Potentieel explosieve omgevingen ix
Alarmnummers bellen ix
Instructies voor weggooien
x
ENERGY STAR
Tips en informatatie voor gebruiksgemak xi
Voordat u aan de slag gaat xiii
Uw gidsen xiii
Onderhoud en tips voor het gebruik van de computer xiv
De computer in- en uitschakelen xiv
De computer met zorg behandelen xiv
Deadapter met zorg behandelen XV
De accu met zorg behandelen XV
De computer reinigen en onderhoden XV
Touchpad 1
Werken met het touchpad (met vingerafdruklezer) 1
Werken met het touchpad (met twee-kliktoetsen) 2
Werken met het toetsenbord 3
Vergrendeltoetsen en ingebouwd numeriek toetsenblok* 3
Windows-toetsen 4
Audio 5
Acer PureZone (alleen voor bepaalde modellen) 5
Video 5
16:9-beeldscherm (alleen voor bepaalde modellen) 5
Systeemhulpprogramma's gebruiken 6
Acer Bio-Protection (alleen voor bepaalde modellen) 6
Windows herstellen met back-updisks 12
Batterij 14
Batterij eigenschappen 14
De levensduur van de batterij maximaliseren 14
De batterij installeren en verwijderen 15
De batterij opladen 16
De capacititeit van de batterij controeren 16
De levensduur van de batterij optimaliseren 16
Waarschuwing batterij-leeg 17
De notebook PC meenemen 18
De computer loskoppelen van de bureaubladapparatuur 18
Verplaatsingen over korte aufstand 18
De computer voorbereiden 18
Wat u moet meenemenaar vergaderingen 19
De computer meenemen maar lui 19
De computer voorbereiden 19
Wat u moet meenemen 20
Speciale voorzorgsmaatregelen 20
Een thuiskantoor opzetten 20
Reizen met de computer 20
De computer voorbereiden 20
Wat u moet meenemen 21
Speciale voorzorgsmaatregelen 21
Internationala reizen met de computer 21
De computer voorbereiden 21
Wat u moet meenemen 21
Speciale voorzorgsmaatregelen 22
De computerbeveiligen 22
De computer vergrendelen 22
Wachtwoorden gebruiken 22
Wachtwoorden invoeren 23
Wachtwoorden instellen 23
De computer uitbreiden met extra voorzieningen 24
Connectiviteitsopties 24
Fax/data-modem (alleen voor bepaalde modellen) 24
Ingebouwde netwerkvoorziening 25
Universelle Seriele Bus (USB) 25
IEEE 1394 poort (alleen voor bepaalde modellen) 26
(alleen voor bepaalde modellen) 26
ExpressCard (alleen voor bepaalde modellen) 27
Geheugen installeren 28
BIOS utility 29
Opstarttrees 29
Diskaariskherstilenschakelen 29
Wachtwoord 29
Software gebruiken 30
DVD-films afspelen 30
Veelgesteldevragen 31
Informatie over serviceverlening 34
Tips voor het oplossen van problemen 35
Foutmeldingen 35
Voorschriften- en veiligheidsmededeling 36
FCC-verklaring 36
Modemverklaringen (alleen voor bepaalde modellen) 37
Verklaring LCD-pixel 37
Radio-apparaat Reguleringsbericht 37
Algemeen 37
De FCC RF veiligheidseis 38
Canada - Licentievrijstelling voor
radiocommunicatieapparaten met een laag vermogen
(RSS-210) 39
Bootstelling van mensen aan RF velden (RSS-102) 39
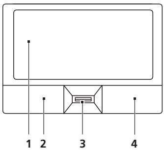
Het ingebouwde touchpad is een aanwijsapparaat dat bewegingen op het bijbehorende oppervlak registreert. De cursor reageert als u uw vinger over het oppervlak van het touchpad verplaatst. De centrale locatie op de Polssteun biedt comfort en optimale ondersteuning.
Werken met het touchpad (met vingerafdruklezer)
De volgende items tonen u hoe u het touchpad met de Acer Bio-Protection vingerafdruklezer=kunt gebruiken.
- Verplaats uw vinger over het touchpad (1) om de cursor te verplaatsen.
- Druk op de knoppen links (2) en rechts (4) op het touchpad om items te selecteren en functies uit te voeren. Deze twee knoppen komen overeen met de linker- en rechtermuisknop van deUIS. Tikkken op het touchpad is hetzelfde als het klikken met de linker muisknop.

| Functie | Linkerknop (2) | Rechterknop (4) | Touchpad (1) | Middelste knop (3) |
| Uitvoeren | Tweemaal snel klikken. | Tweemaal tikken (met verzelfde snugheid als bij het dubbelklikken met de muis). | ||
| Selecteren | Eenmaal klikken. | Eenmaal tikken. | ||
| Slepen | Klikken en ingedrukt houden en verzolgens met de vinger slepen om de cursor te verplaatsen. | Tweemaal tikken (met verzelfde snugheid als bij het dubbelklikken met de muis), de vinger na de tweede tik op het touchpad lately en de cursor slepen. | ||
| Contextmenu openen | Eenmaal klikken. | |||
Werken met het touchpad (met twee-kliktoetsen)
De volgende items tonen u hoe u het touchpad met twee-kliktoetsen=kunt gebruiken.
- Verplaats uw vinger over het touchpad om de cursor te verplaatsen.
- Druk op de knoppen links en rechts op het touchpad om items te selecteren en functies uit te voeren. Deze twee knoppen komen overeen met de linker- enrechttermuisknop van deUIS. Tikken op het touchpad is hetzelfde als het klikken met de linker muisknop.
| Functie | Linkerknop | Rechterknop | Touchpad |
| Uitvoeren | Tweemaal snel klikken. | Tweemaal tikken (met verzelfde snugheid als bij het dubbelklikken met de muis). | |
| Selecteren | Eenmaal klikken. | Eenmaal tikken. | |
| Slepen | Klikken en ingedrukt houden enervoigens met de vinger slepen om de cursor te verplaatsen. | Tweemaal tikken (met verzelfde snugheid als bij het dubbelklikken met de muis), de vinger na de tweede tik op het touchpad lately en de cursor slepen. | |
| Contextmenu openen | Eenmaal klikken. | ||

Opmerking: Illustraties zijn alleen ter verwijzing. De exacte configuratie van de PC is afhankelijk van het aangeschafte model.

Opmerking: Zorg ervoor dat uw vingers droog en schoon+zijn wanneer u met het touchpad werk. Zo houdt u het touchpad zich ook droog en schoon. Het touchpad is gevoelig voor vingerbewegingen; Hoeichter de druk, hoe beter de respons. Het touchpad functioneert nicht better als u harder drukt.

Opmerking: Vertical en horizontal verschuiven is standard ingeschakeld op het touchpad. Het kan worden uitgeschakeld bij de instellenen voor Muis in het Configuratieschem van Windows.
Werken met het toetsbord
Het volwaardige toetsenbord besteht uit een ingebouwd numeriek toetsenblok*, afzonderlijke cursortoetsen, vergendeling, Windows-toetsen en speciale toetsen.
Vergrendeltoetsen en ingebouwd numeriek toetsenblok*
Het toetsnbord heeft 3 Vergrendeltoetsen die u aan ofuit kunt zetten.
| Vergrendeltoets | Beschrijving |
| Caps Lock | Als Caps Lock is ingeschakeld, worden alle letters van het alfabet weergegeven als hoofdletters. |
| NumLk <Fn> + <F11>* | Als NumLk is ingeschakeld,kest u cijfers intikken via het ingebouwde numerieke toetsenblok.De toetsen functioneren als een rekenmachine (met inebrip van de wiskundige operatoren +,-,*en/).Activeer deze modus als u veel numerieke gevevens moet invoeren. Een betere oplossing isECHTER een extern toetsenblok aan te sluiten. |
| Scr Lk <Fn> + <F12> | Als Scr Lk is ingeschakeld, schuift het scherm eén regel omhoog of omlaag als u de toets pijl-omhoog of pijl-omlaag indrukt. Scr Lk werkstiet in alle toepassingen. |
Het ingebouwde numerieke toetsenblok werkst op bezelfde manier als het numerieke toetsenblok van een desktop-pc. Het opschrift in de rechterbovenhoek van de toetsen geeft telkens de onderliggende tekens aan. Om het toetsenbord Niet onnodig verwarrend te maken werden de symbolen voor de cursortoetsen wegelaten.
| Gewenste toegang | Num Lock ingeschakeld | Num Lock uitgeschakeld |
| Numerieke toetsen van het ingebouwde toetsenblok | Typ getallen op de gebruikelijkijke wijze. | |
| Cursortoetsen van het ingebouwde toetsenblok | Houd de < ➔>toets ingedrukt verwijl u de cursortoetsen indrukt. | Houd <Fn> ingedrukt verwijl u de cursortoetsen indrukt. |
| Toetsen van het centrale toetsenbord | Houd <Fn> ingedrukt verwijl u letters typt op het ingebouwde toetsenblok. | Typ de letters op de gebruikelijkijke wijze. |
- alleen voor bepaalde modellen
Windows-toetsen
Het toetsenbord heeft twee toetsen waarmee specifieke Windows-functions worden uitgevoerd.
| Toets | Beschrijving | |
| Toets met het Windows | Start-knop. In combinatie met deze toets worden specifieke functies uitgevoerd. Hieronder volgende enkele voorbeelden: | |
| < >: Het Startmenu openen of sluiten | ||
| < > + <D>: Het büruklad weergeven | ||
| < > + <E>: Windows Verkenner openen | ||
| < > + <F>: Een bestand of map zoeken | ||
| < > + <G>: Door de hulpmiddelen van de Sidebar bladeren | ||
| < > + <L>: Vergrendelt de computer (als u verbonden bent met een netwerkdomain), of schakelt maar een andere gebruiker (als u Niet bent verbonden met een netwerkdomain) | ||
| < > + <M>: Hiermee minimalseert u alle vensters. | ||
| < > + <R>: Hiermee opent u het dialoogvenster Uitvoeren. | ||
| < > + <T>: Bladenen door programma's op de taakk Balk | ||
| < > + <U>: Ease of Access Center openen | ||
| < > + <X>: Windows Mobility Center openen | ||
| < > + <Break>: Het dialoogvenster Systeemeigenschappen weergeven | ||
| < > + <↑ +M>: Geminaliseerde venstersaar het büruklad terughalen | ||
| < > + <K- D>: Bladenen door programma's op de taakk Balk via Windows Flip 3-D | ||
| < > + <SPACEBAR>: Alle hulpmiddelenaar voren halen en Windows Sidebar selecteren | ||
| < Ctrl> + < > + <F>: Computers Zoeken (als u verbonden bent met een netwerk) | ||
| < Ctrl> + < > + <K- D>: Gebruik de pijltoetsen om door de programma's op de taakk Balk te bladenen met Windows Flip 3-D | ||
| Opmerking: Afhankelijk van uw editie van Windows, kunnen enkele snelfuncties wellicht nicht zo functioneren als hier beschreiben. | ||
| Toepassingstoets | Deze toets heeft hetzelfde effect als het klikken met de rechtster muisknop; het opent het contextmenu van de toepassing. | |
Audio
De computer beschikt ook over 32-bit High Definition (HD)-geluid en stereoluidspreker(s).
Acer PureZone (alleen voor bepaalde modellen)
Het systeme布局u neue enthousiaste geluidservaringen waaronder Acer PureZone met twee geintegreerde stereomicrofoons met straalvorming en echoeductie. Acer PureZone-technologie ondersteunt Acoustische Echoreductie, Straalvorming en Ruisonderdrukking voor pure geluidsopnames. U kunt de microfoon instellen door de Acer HD Audio Manager te openen door op het pictogram Acer HD Audio Manager in het systemvak van Windows te dubbelklikken. Het Acer HD Audio Manager dialoogscherm verschijnt. Klik op het tabblad Microfoon en verzolgens op het tabblad Microfooneffecten. Kies Straalvorming en Acoustische Echoreductie om het microfooneffect in te stellen.

Opmerking: Schakel de straalvorming uit voor meerdere geluidsingangen.
Video
16:9-beeldscherm (alleen voor bepaalde modellen)
16:9-beeldschembrengt zgn. full-hd-films maar uw huiskamer zoals nooit tevoren. Bijzonder hoge kleurintensiteit garandeert een authentieke hd-kijkervaring. 16:9-kwaliteit betekent dat waar home-theaterbeeld eindhoven beschikbaar is voor liefhebbers van entertainment op de laptop.
Systeemhulpprogramma's gebruiken
Acer Bio-Protection (alleen voor bepaalde modellen)
Acer Bio-Protection Fingerprint Solution is multifunctionele vingerafdruksoftware die geintegreerd is in het Microsoft Windows besturingsystem. Door gebruik te makes van de unicityit van iemands vingerafdruk, beveiligt Acer Bio-Protection Fingerprint Solution de computer gegen ongeoorloofd gebruik met gecentraliseerd wachtwoordbeheer van Password Bank, en+kunnen toepassingen/websites snel worden gestart met Acer FingerLaunch.
Met Acer Bio-Protection Fingerprint Solution kunt u nu genieten van een extra beveiligingslaag op uw computer, en daarnaast genieten van het gemak waarkee u met een vingerbeweging uw dagelijkse taaktoepasseningen kunt openen.
Zie de helpbestanden van Acer Bio-Protection voor meer informatiek.

Acer Backup Manager

Opmerking: Deze functie is alleen beschikbaar op bepaalde modellen.
Acer Backup Manager is een eenvoudige methode van drie stappen, waarmee u back-ups kurz makes van het complete system of van geselecteerde mappings en bestanden. U kurz back-ups inroosteren of waar wensuitvoeren.
U kunt Acer Backup Manager starten door op de Acer Backup Manager-toets boven het toetsbord te drukken. U kunt ook� Start >Alle programma's > Acer Backup Manager > Acer Backup Manager gaan. Hierdoor worden het Welkomstscherm geopend; vanuit dit venster worden u meegenomen door de drie stappen om ingeroosterde back-ups in te stellen. Klik op Doorgaan om verder te.gaan hier volgende venster. Klik op de+-toets en volg de instructies op het scherm:
1 Kies de gevevens die u wilt back-uppen. Hoe minder geveens u kiest, hoe sneller het proces verloopt, maar hoe groter het risico op geveensverlies is.
2 Kies waar de back-ups要去en worden opgeslagen. U要去 een extern station kiezen of het D:-station; Acer Backup Manager kan geen gegevens opslaan op het bronstation.
3 Kies hoe vaak Acer Backup Manager back-ups moet make.
Zodra u deze drie stappen heegtuitgevoerd, worden back-ups volgens het rooster uitgevoerd. U kunt ook handmatig back-ups makeen door op de Acer Backup Manager-toets te drukken.
U kunt op elk moment deinstallingen aanpassen, door Acer Backup Manager te starten via het Startmenu en de bovenstaande stappen te doorlopen.

Energiebeheer
Deze computer heeft een ingebouwde energiabeheerenheid die de systeemactiviteit contrôleert. Onder systeemactiviteit valt activiteit van een ofeer van de volgende apparaten: toetsenbord, mais, harde schijf,randapparatuur aangesloten op de computer en videogeheugen. Wanner ergen activiteit gedetecteerd worden gedurende een bepaaldeperiode (genoemd een inactivity timeout), schakelt de computer een aantal van deze apparatenuit om energia te besparen.
Op deze computer worden een energiaheerschema gehanteerd dat Advanced Configuration and Power Interface (ACPI) ondersteunt. Daardoor worden een maximale energiabesparing bereikt, verwijl de computer toen topprestaties blijft leveren. Alle taken voor het besparen van energia worden door Windows geregeld.
Acer PowerSmart-toets

Opmerking: Deze functie is alleen beschikbaar op bepaalde modellen.
De Acer PowerSmart-toets gebruikt de energiabesparende functies van het grafisch systeme van de computer om het algemeen stroomgebruik te verminderen. Als u op de Acer PowerSmart-toets drukt, worden de helderheid van het beeld verminderd en worden de grafische chip op een lagere snelheid geschakeld; pci en wlan schakenaar energiabesparende stand. Druk nogmaals op de Acer PowerSmart-toets om terug te keren maar de vorige instelleningen.
Acer eRecovery Management is een hulpmiddel om het systeme snel te herstellen. U(Int)kunt ook een standard fabrieksimage backuppen/herstellen, en toepassingen en stuurprogramma's opniew installeren.

Opmerking: De volgende gegevens dieren slechts ter algemene informatie. Daadwerkelijkke productspecificaties können verschillen.
Acer eRecovery Management bevat de volgende functies:
1 Backup:
- Disk met fabriekswaarden make
- Disk met stuurprogramma's en toepassingen make
2 Herstellen:
- Systeem volledig herstellenaar fabriekswaarden
- Besturingsystem herstellen en gebruikersgeveens behouden
Stuurprogramma's of toepassingen opniewu installeren
Dit hoofdstuk leidt u door elk proces.

Opmerking: Deze functie is alleen beschikbaar op bepaalde modellen. Op systemen die geen ingebouwde brander bevatten, sluit u een externe brander aan voordat u Acer eRecovery Management gelebruikt om taken met optische disks uit te voeren.
Als u de wachtwoordbeveiliging van Acer eRecovery Management wilt gebruiken om uw geevens te beveiligen, moet u eerst het wachtwoord van instellen. Het wachtwoord worden ingesteld door Acer eRecovery Management te starten en op Instellingen te klikken.

3 Kies het type backup (fabrieksstandaard of stuurprogramma's en toepassingen) dat u op schijf wilt branden.
4 Volg de instructies op het scherm om het proces te voltooien.

Opmerking: Maak een standard fabrieksimage als u een opstartdisk wilt make n die het hele besturingsystem van de computer bevat zoals het was toen u de computer aanschafte. Als u een disk wilt die u zich Aunt verkennen en zich Aunt bepalen welke stuurprogramma's en toepassingen worden geinstalleerd, maak dan inplaats waarvan een backup met stuurprogramma's en toepassingen — vanaf zo'n disk kutn u Niet opstarten.
Herstellen
Met de herstelfunctiekest u het systeem herstellen of repareren via een standardaard fabrieksimage,of via eerder gemaaakte back-ups op cd ofDVD.
U kurz ook toepassingen en stuurprogramma's van het Acer-system opnieuw installeren.
1 Klik op Start, Alle Programma's, Acer, Acer eRecovery Management.
2 Schakel maar de Herstelpagina door te klikken op Herstellen.

3 U kurz het systeem herstellen via een standard fabrieksimage of toepassingen en stuurprogramma's opnieuw installereren.
4 Volg de instructies op het scherm om het proces te voltooien.
Windows herstellen met back-updisks

Opmerking: Deze functie is alleen beschikbaar op bepaalde modellen.
U kunt Windows herstellen van eerder gebrande back-updisks, door de eerste back-updisk teplaatsen en F12 Boot-menu via de BIOS Setup Utility in te schakelen.
1 Schakel de computer in en plaats de eerste systemdhersteldisk in het optisch station. Start de computer opnieuw op.
2 Druktijdens het opstarten, als u het logo van Acer ziet, op de F2-toets om BIOS Setup te openen waarin u systeemparameters(Int) instellen.
3 Gebruik de linker- en rechterpijltoetsen om het Hoofd-submenu te openen.
4 Gebruik de pijltoetsen omhoog en omlaag om F12 Boot-menu te selecteren.
5 Gebruik de F5 of F6-toets om F12 Boot-menu in te schakelen op Ingeschakeld.
6 Druk op de ESC-toets om het submenu Afsluiten te openen, of druk op de ENTER-toets voor Afsluiten en veranderingen opslaan. Druk nogmaals op de ENTER-toets om Ja te selecteren. Het system wordt opnieuw opgestart.
7 Na opstarten, als het logo van Acer verschijnt, drukt u op F12 om het Bootmenu te openen. Hier=kunt u kiezen welk apparaat primair gebruikt worden om van op te starten.
8 Gebruik de pijltoetsen en selecteer IDE1*, druk verwolgens op de ENTER-toets. Windows worden geinstalleerd vanaf de herstel-cd.
9 Plaats de tweeede hersteldisk als dit bevgraagd worden, volg de instructies op het scherm om de herstelpoging te voltooien.
10 Verwijder de hersteldisk uit het optisch station als het herstellen voltooid is. Doe dit voordat de computer opnieuw worden opgestart.
Als u de opstartprioriteit wilt instellen voor gebruik op langere termijn, kies dan hetsubmenu Boot.
1 Schakel de computer in en plaats de eerste systemdhersteldisk in het optisch station. Start de computer opnieuw op.
2 Druktijdens het opstarten, als u het logo van Acer ziet, op de F2-toets om BIOS Setup te openen waarin u systeemparameters(Int) instellen.
3 Gebruik de linker- en rechterpijltoetsen om het Boot-submenu te openen.
4 Gebruik de pijltoetsen omhoog en omlaag om het apparaat IDE1 te kiezen.
5 Gebruik de F6-toets om het apparaat IDE1 maar de hoogste opstartprioriteit te verplaatsen, of gebruik de F5-toets om andere apparaten een lagere opstartprioriteit te geben. Zorg dat het IDE1*-apparaat de hoogste prioriteit heeft.
6 Druk op de ESC-toets om het submenu Afsluiten te openen, of druk op de ENTER-toets voor Afsluiten en veranderingen opslaan. Druk nogmaals op de ENTER-toets om Ja te selecteren. Het system wordt opnieuw opgestart.
7 Als u op新模式 opstart worden Windows geinstalleerd vanaf de herstel-cd.
8 Plaats de tweede hersteldisk als dit gekvaagd worden, volg de instructies op het scherm om de herstelpoging te voltooien.
9 Verwijder de hersteldisk uit het optisch station als het herstellen voltooid is. Doe dit voordat de computer opnieuw worden opgestart.
Batterij
De computer gebruikt een accu die lang zonder opladen gebruikt kan worden.
Batterij eigenschappen
De batterij heeft de volgende eigenschappen:
- Gebruikt huidige standaarden van batterij technologie.
Geeft een waarschuwing bij lage capaciteit van de batterij.
De accu worden opgeladen zodia u de computer aansluit op de adapter. Uw computer ondersteunt charge-in-use, waardoor u de batterij kurz opladen terwijl u werkt op de computer. Indien u de batterij echter oplaadt wanner de computer is uitgeschakeld, worden de batterij sneller opgeladen.
De batterij is erg handig wanner u reist of tijdens een stroomstoring. U worden geadviseerd om een extra (volledig opgeladen) batterij mee te nemen als backup. Contacteer uw dealer voor details over het bestellen van een reservebatterij.
De levensduur van de batterij maximaliseren
Zoals alle batterijen is ook deze batterij na eenijd versleten. Dit betekent dat na verloop vanijd de prestaties van de batterij minder worden. Om de levensduur van de batterij te maximaliseren worden u aangeraden om de onderstaande tips op te volgen.
Een neue batterij in goede staat brengen
Voordat u een neue batterij gaat gebruiken, dient u het volgende "conditioneringsproces"uit te voeren:
1 Stop de nouvelle batterij in de computer. Schakel de computer nicht in.
2 Verbind de adapter en laad de batterij volledig op.
3 Verwijder de adapter.
4 Schakel de computer in en werk met behulp van de batterij.
5 Verbruik de batterij compleet, totdat de waarschuwing batterij-leeg verschijnt.
6 Verbind de adapter en laad de batterij opniew volledig op.
Voer dit proces uit totdat de batterij drie maal opgeladen en uitgeput is.
Gebruik dit conditioneringsproces voor elke nieuwe batterij; gelebruik het ook als een batterij lang Niet gebruikt is. Indien u de computer langer dan twee weken Niet gebruikt, is het verstandig de batterij uit de computer te verwijderen.

Waarschuwing: Stel de batterij Niet bloot aan temperaturen onder de 0^ (32 F) of boven 45^ (113 F). Extreme temperatenr kunnen een nadelig efect hebben op de batterij.
Wanner u het conditioneringsproces toepast, maakt u de batterij klaar om de maximaal möglichke capaciteit te gebruiken. Wanner deze procedure niet gevolgd worden, za de batterij nooit maximaal opgeladen worden en dit zal ook resulteren in een kortere levensduur van de batterij.
Daarnaast hebden de volgende gebruikspatronen een nadelig effect op de levensduur van de batterij:
- De computer constant gebruiken op netstroom met de batterij in de computer. Indien u voortdurend netstroom gebruikt, worden u aangeraden de batterij te verwijderen wonneer deze volledig is opgeladen.
- Het Niet volledig verbruiken en opladen van de batterij, zoals hierboven beschreiben.
- Regelmatig gebruik; hoe meer u de batterij gebruikt, hoe erder们都 versleten is. Een standard computerbatterij heeft een levensduur van ongeveer 300maal opladen.
De batterij installeren en verwijderen

Belangrijk! Indien u de computer wilt blijven gebruiken wanner u de batterij verwijdert, dient u de adapter aan te sluiten. Schakel anders de computer eerst UIT.
Het installeren van de batterij:
1 Plaats de batterijrecht boven de geopende batterijopening. Zorg dat de zichde met de contacten eerst worden geplaatst, en daarnaast dat de bovenkant van de batterijaar boven wijst.
2 Schuif de batterij in de opening en zet zachtjes druk totdat de batterij op+zijnplaats klikt.
Het verwijderen van de batterij:
1 Verschuift het batterijslot om de batterij los te make.
2 Trek de batterijuit de batterijopening.
De batterij opladen
Wanner u de batterij oplaadt, contrôle u eerst of de batterij correct in de batterijopening zit. Steek de adapter in de computer en sluit deze aan op het Lichtnet. U kurz gewoon verder gaan met het gebruiken van de computerijdens het opladen van de batterij. Indien u de batterij oplaadt wanner de computer is uitgeschakeld, worden de batterij sneller opgeladen.

Opmerking: Het worden aangeraden om de batterij's nachts op te laden. Door de accu de達到 voordat u op pad gaat op te laden, kurz u de volgende dag beginnen met een volledig opgeladen accu.
De capacititeit van de batterij controlleden
De Windows power meter geeft de huidige stroomcapaciteit van de batterij aan. Laat de cursor over het battery/power pictogram op de taakkalk rusten om de huidige capaciteit van de batterij te zich.
De levensduur van de batterij optimaliseren
Door het optimaliseren van de levensduur van de batterij haalt u het meeste uit de batterij. De batterij hoeft minder snel opgeladen te worden en het opladen worden efficienter. U worden aangeraden onderstaande tips op te volgen:
- Koop een extra batterij.
-
Gebruik zo veel möglichk het Lichtnet, sprear de batterij voor gebruik buiten.
-
Verwijder de PC Card wonneer deze nicht worden gebruikt. Deze blijft anders stroom verbruiken (alleen bepaalde modellen).
- Bewaar de batterij op een droge en koele plaats. De aanbevolen temperatuur is 10^ ( 50^ ) tot 30^ ( 86^ ). Hogere temperaturen latente de batterij sneller leeglopen.
- Te veel opladen verkort te levensduur van de batterij.
Wees zuinig op de adapter en batterij.
Waarschuwing batterij-leeg
Let op de Windows power meter wanner u de batterij gelebruikt.

Waarschuwing: Wanner de waarschuwing batterij-leeg verzischijnt, moet u zo snel möglichk de adapter aansluiten. Wanner de batterij leeg is, schakelt de computer zichzelf uit en gaan gegevens verloren.
Wanner de waarschuwing batterij-leeg verschijnt, is de aanbevolen aanpak afhankelijk van de situatie:
| Situatie | Aanbevolen handeling |
| Adapter enlichtnetলchikbaar. | 1 Steek de adapter in de computer en sluit deze aan op hetlichtnet. |
| 2 Sla alleoodzakelijkbestanden op. | |
| 3 Hervat hetwerk.Schakel de computer uittwonneer u de batterij snel wilt opladen. | |
| Extra volledigopgeladenbatterijisbeschikbaar. | 1 Sla alleoodzakelijkbestanden op. |
| 2 Sluit alletoepassingen. | |
| 3 Schakel de computer uit. | |
| 4 Vervang de batterij. | |
| 5 Schakel de computer in en hervat hetwerk. | |
| Adapter oflichtnet is nichtbeschikbaar. Uheeft genereservebatterij. | 1 Sla alleoodzakelijkbestanden op. |
| 2 Sluit alle toepassingen. | |
| 3 Schakel de computer uit. |
De notebook PC meenemen
In deze sectie vindt u tips en hints die nuttig zijn als u de computer verplaatst of meeneemt op reis.
De computer loskoppelen van de bureaubladapparatuur
Neem de volgende stappen als u de computer wilt loskoppelen van randapparatuur:
1 Alle geopende bestanden opslaan.
2 Verwijder alle media, diskettes of compact disksuit stations.
3 Zet de computeruit.
4 Klap het beeldscherm dicht.
5 Koppel het snoer van de adapter los.
6 Koppel het toetsenbord, het aanwijssapparaat, de printer, de externe monitor en de overige externe apparaten los.
7 Maak het Kensington-veiligheidsslot los als uw computer hiermee is beveiligd.
Verplaatsingen over korte afstand
Wanneer u de computer verplaatst over korte afstanden, bijvoorbeeld van uw kantoor maar een vergaderruimte.
De computer voorbereiden
Voordat u de computer verplaatst, sluit en vergrendelt u het scherm om het in de Standby-stand teplaaten. U kurz de computer nu veilig binnen het gebouw verplaatsen. Om de Standby-stand uit te schaken, klapt u het beeldschem omhoog, verschuift u de stroomschakelaar en drukt uervolgens op de aan/uitknop.
Als u de computer wilt meenemenaar het kantoor van een klant ofaar een anders gebouw, kun t u overwegen de computer uit te schakelen:
Klik op Start en klik cervolgens op Afsluiten.
Of:
Plaats de computer in de Standby-stand door op Fn + F4 te drukken. Sluit en vergrendel daarna het scherm.
Als u de computer wij wilt gebruiken, ontgrendelt en opent u het scherm en drukt u snel op de aan/uit knop.

Opmerking: Als het lampje van de Standby-stand Niet brandt, is de Slaapstand geactiveerd en is de computer uitgeschakeld. Als het stroomlampje Niet brandt, maar wel het lampje van de Standby-stand, dan is de Standby-stand ingeschakeld. In beiden geallen drukt u kort op de aan/uit knop om de computer waar aan tezetten. De Slaapstand kan worden geactiveerd nadat de computer een bepaaldeperiode in de Standby-stand heeft gestaan.
Wat u要去enemenaar vergaderingen
Als de vergadering relatief kort is, hoeft u waarschijnlijk niets anders mee te nemen dan uw computer. Als de vergadering langer duurt, of als de accu Niet volledig is opgeladen,kest u de adapter meenemen om de computer in de vergaderruimte van stroom te voorzien.
Als in de vergaderruimte geen stopcontact aanwezig is, bespaart u energia door de computer in de Standby-stand teplaatsen. Druk op <Fn> + <F4> of sluit het beeldscherm wonneer u de computer Niet actief gebruikt. Om opnieuw op te starten klapt u het scherm omhoog (indien/DDHT), verschuift u de stroomschakelaar en druk verwolgens op de aan/uitknop.
De computer meenemen maar waar huis
Wanner u de computer meeneemt van uw kantooor waaruis en vice versa.
De computer voorbereiden
Nadat u de computer hebts losgekoppeld, doet u het volgende voordat u de computer meeneemt maarUIS:
- Verwijder alle media en CD'suit de stations. Als u dat Niet doet, kan de lees-/schrijfkop beschadigd raken.
- Plaats de computer in een koffer die voorkomt dat de computer gaat schuiven, en pak de computer in met schokdempend materiaal voor het geval de computer valt.

Pas op: Leg niets boven op de computer. Druk op de bovenkant kan het beeldschemt beschadigen.
Wat u moet meenemen
Neem de volgende onderdelen mee hieruis als u die thus nog Niet hebt:
- Adapter en netsnoer
Snelgids
Speciale voorzorgsmaatregelen
Beschem de computer door de volgende richtlijnen in acht te nemen wanneer u van enaar uw werk reist:
- Houd de computer bij u om het effect van temperatuurwijzigingen te minimaliseren.
- Als u langereijd要去 stoppen en de computer Niet=kunt meenemen, planta st u de computer in de kofferruimte van de auto om bloatstelling aan maar grote Hitte te voorkomen.
- Door veranderingen in de temperatuur of vochtigheid kan er condensvorming optreden. Laat de computer op kamertemperatureur komen en controllerer het beeldscherm op condens voordat u de computer inschakelt. Is de temperatuurschommeling groter dan 10^ ( 18^ ), maar de computer dan langzaam op kamertemperatureur komen. Plaats de computer indien möglich gedurende 30 minutes in een omgeving met een temperatuur die ligtCUSden de buitentemperatuur en kamertemperatureur.
Een thuiskantoor opzetten
Als u vaak.THuis werkt met de computer, kan het handig+zijn een tweede adapter aan te schaffen. U hoeft de adapter dan Niet voortdurend mee te nemen.
Als u de computer vaak.THuis gebruikt, wilt u wellicht ook een extern toetsenbord,een externe monitor of een externe muis aansluten.
Reizen met de computer
Als u zich verplaatst over een grotere afstand, bijvoorbeeld van uw kantoorn maar het kantoorn van een klant of�en andere binnenlandse bestemming.
De computer voorbereiden
Bereid de computer voor alsof u deze meeneemt maar vrij. Zorg ervoor dat de accu in de computer is opgeladen. Op het vliegveld kan om veiligheidsredenen worden gezraagd de computer in te schaken.
Wat u moet meenemen
Zorg ervoor dat u de volgende onderdelen bij de hand hebt:
- Adapter
Volledig opgeladen reserveaccu('s) - Extra printerstuurprogramma's als u van plan bent een andere printer te gebruiken
Speciale voorzorgsmaatregelen
Behalve de voorzorgsmaatregelen die u要去 nemen wanner u de computer meeneemt hieruis, moet u de computerijdens de reis als volgt extra beveiligen:
- Neem de computer altijd mee als handbagage.
- Laat de computer indien möglich handmatig controleren. De rontgenapparatuur op vluchthavens is veilig, maarplaats de computer nicht in een metaaldetector.
- Voorkom de blootstelling van diskettes aan handmatig bediende metaaldetectoren.
International reizen met de computer
Als u door verschillende landen reist.
De computer voorbereiden
Bereid de computer op de normale wijze voor op een reis.
Wat u moet meenemen
Zorg ervoor dat u de volgende onderdelen bij de hand hebt:
- Adapter
- Netsnoeren die geschikt zijn voor het land waar u naartoe reist
Volledig opgeladen reserveaccu('s) - Extra printerstuurprogramma's als u van plan bent een andere printer te gebruiken
Aankoopbewijs, voor het geval hierom worden gezvraagd door de douane
International Travelers Warranty-paspoort
Speciale voorzorgsmaatregelen
Neemdezelfdevoorzorgsmaatregelenals bijandere reizen.Houd bij internationale reizen bovendien rekening met het volgende:
- Reist u waar een ander land, controlleren dan of het plaatselijke voltage en het snoer van de adapter geschikt zich. Als dat Niet het geval is, koopt u een netsnoor dat geschikt is voor aansluiting op het lokale voltage. Gebruik geen convertorkits voor elektronische apparatuur om de computer van stroom te voorzien.
- Als u werkkt met een modem, controlleren dan of de modem en de connector compatible het het telecommunicatiesystem van het land waar u naartoe reist.
De computerbeveiligigen
Uw computer is een kostbare investering waarvoor u uiteraard goed zorg moet dragen. In dit gedeelte tonen we u hoe u zorg draagt voor uw computer en hoe u deze beveiligt gegen misbruik door derden.
Onder beveiligingsfuncties vallen hardware en software beveiligingen – een visigheidsslot en wachtwoorden.
De computer vergrendelen
Het notebook bevat een Kensington-compatible beveiligingsleuf voor een veiligheidsslot.
Wikkel een beveiligingskabel rond een vast, onwrikbaar object, zoals een tafel of een handgreep van een lade. Plaats het slot in de uitsparing en draai de sleutel om zodate het slot is vergrendeld. Er zijn ook modellen beschikbaar zonder Kensington-slot.
Wachtwoorden gebruiken
U kunt drie typen wachtwoorden instellen om ongeoorloofd gebruik van uw computer te voorkomen. Deze wachtwoorden bveiligien uw computer en uw geevens op verschillende niveaus:
-
Met een beheerderswachtwoord (Supervisor Password) voorkomt u ongeoorloofde toeingang tot de BIOS utility. Als u een Supervisor-wachtwoord instelt,要去 u dit wachtwoord typen om toeingang te verkrijgen tot de BIOS utility. Zie "BIOS utility" op pagina 29.
-
Met een gebruikerswachtwoord (User Password) voorkomt u ongeoorloofd gebruik van uw computer. Combineer het gebruik van dit wachtwoord met wachtwoordbeveiligingijdens het opstarten en bij het activeren vanuit de Slaapstand voor een maximale beveiliging.
- Door een wachtwoord bij opstarten (Password on Boot) in te stellen om de computer te starten vermijdt u dat derden zich een toegang verschaffen tot uw gevevens. Combineer het gebruik van dit wachtwoord met wachtwoordbeveiligingijdens het opstarten en bij het activeren vanuit de Slaapstand voor een maximale beveiliging.

Belangrijk! Vergeet uw beheerderswachtwoord Niet! Als u het wachtwoord vergeet, moet u contact opnemen met uw leverancier of een erkend servicecentrum.
Wachtwoorden invoeren
Als er een wachtwoord is ingesteld, worden middenin het scherm een wachtwoordvenster weergegeven.
- Als er een beheerderswachtwoord is ingesteld, worden dit gezvaagd als u tijdens het opstarten op <F2> drukt voor het BIOS utility.
Voer het beheerderswachtwoord in en druk opals u het BIOS utility wilt gebruiken. Als u een onjuist wachtwoord invoert, verschijnt er een waarschuwing. Probeer het opnieuw en druk op . - Als het gebruikerswachtwoord is ingesteld en het wachtwoord bij opstarten is ingeschakeld, wordenijdens het opstarten het wachtwoord bevgraagd.
Voer het gebruikerswachtwoord in en druk opals u de computer wilt gebruiken. Als u een onjuist wachtwoord invoert, verschijnt er een waarschuwing. Probeer het opnieuw en druk op .

Belangrijk! U krijgt drie kansen om het correcte wachtwoord in te voeren. Als u driemaal een onjuist wachtwoord invoert, worden het systeme geblokkeerd. Verschuif de stroomschakelaar en houd de aan/uit knop vier seconden ingedrukt om de computer uit te schakelen. Schakel de computer weer in en probeer het opnieuw.
Wachtwoorden instellen
U aunt wachtwoorden instellen in het BIOS utility.
De computer uitbreiden met extra voorzieningen
Uw mobiele notebook PC kan volledig op uw wensen worden afgestemd.
Connectiviteitsopties
Via poorten kurz u randapparatuur aansluten op uw computer, opdezelfde wijze als op een desktop-pc. Voor instructies over hoe u verschillende externe apparaten op de computer kurz aansluten, leest u de volgende paragraaf voor meer details.
Fax/data-modem (alleen voor bepalde modellen)
Uw computer heeft een ingebouwde V.92 56 Kbps fax/data-modem. (alleen voor bepaalde modellen)

Waarschuwing! Deze modempoort kan nicht worden gebrukt in combinatie met digitale telefoonlijnen. Als u deze modem aansluit op een digitale telefoonlijn, beschadigt u de modem.
Om de fax/data-modempoort te gebruiker, sluit u een telefoonkabel vanaf de modempoort aan op een telefoonaansluiting.


Waarschuwing! Zorg dat de gebruikte kabel geschikt is in het land waarin u zich bevindt.
Ingebouwde netwerkvoorziening
Dankzij de ingebouwde netwerkvoorzieningkestuuw computer aansluiten op een Ethernet-netwerk.
Om de netwerkfunctie te gebruiken, sluit u een ethernetkabel aan op de Ethernet (RJ-45) poort op de computer en op de aansluiting van het netwerk of netwerkhub.

Universele Seriele Bus (USB)
De Universal Serial Bus (USB) 2.0-poort is een snelle série bus waarop u USB kurz aansluiten en in serie kurz koppelen zonder overbelasting van de systeembronnen.

IEEE 1394 poort (alleen voor bepaalde modellen)
De computer's IEEE 1394 poort maakt het möglichk u te verbinden met IEEE 1394 ondersteunde apparatuur Zoals een videocamera of digitale camera. Voor meer informatie, zie de documentatie van uw video of digitale camera.

High-Definition Multimedia Interface (alleen voor bepaalde modellen)
HDMI (High-Definition Multimedia Interface) is een door de industrié ondersteunde, ongecomprimeerde, volledig digitale audio/video-interface. HDMI levert een interface:tussen enerzijds compatibile digitale audio/ videobronnen, zoals een set-top box, DVD-speler en A/V ontvanger, en anderzijds een compatibile digitale audio en/of videomonitor, zoals een digitale televisie (DTV), via slechts eén kabel.
Gebruik de HDMI-poort van de computer voor het aansluiten van high-end audio- en videoapparatuur. Door slechts een kabel te gebruiken is de installmentie overzichtelijk en snel.

ExpressCard (alleen voor bepaalde modellen)
De ExpressCard is de{niewste versie van de PC Card.Doordat dezekleiner en sneller is betekent dit een verdere verbetering qua gebruiksgemak enuitbreidingsmogelijkheden van de computer.
ExpressCards ondersteunen diverse uitbreidingsmogelijkheden, waaronder flash geheugenadapters, TV-tuners, Bluetooth connectiviteit en IEEE 1394B adapters. ExpressCards ondersteunt USB 2.0 en PCI Express toepassingen.

Belangrijk! Er zijn twee types, ExpressCard/54 en ExpressCard/34 (54mm en 34mm), elk met andere functies. Net alle ExpressCard sleuven ondersteunen beiden types. Raadpleeg de handleiding van de kaart voor informatie over de installmenten en het gebruik van de kaart en de kaartfuncties.
Een ExpressCard plaatsen
Plaats de kaart in de sleuf en duw zachtjes totdat deze vastklikt op z'n plaats.

Een ExpressCard uitwerpen
Voordat u een ExpressCard UITwerpt:
1 Sluit de toepassing af die gebruik maakt van de kaart.
2 Klik met de linker muisknop op het pictogram hardware verwijdersen op de taakkbalk en deactiveer de kaart.
3 Duw de kaart zachtjes in de sleuf en LAST deze los om de kaart er uit te laten springen. Trek verwolgens de kaart zachtjes uit de sleuf.
Geheugen installeren
Ga als volgt te werk als u een geheugenmodule wilt installeren:
1 Zet de computer uit, koppel de adapter los (indien aangesloten) en verwijder de accu. Draai de computer om, zodat de onderkant boven ligt.
2 Verwijder de schroef van het kapje van de geheugenruimte en til het kapje omhoog om het te verwijdersen.
3 Plaats de geheugenmodule onder een hoek in het slot (a) en druk deze voorzichtig aan beneden totdat de module op+zijn plaats (b) klikt.

4 Plaats het kapje terug en zet het weer vast met de schroef.
5 Plaats de accu terug en sluit de adapter opnieuw aan.
6 Zet de computer aan.
De computer stelt automatisch het totale geheugen vast en configureert het geheugen opnieuw. Neem contact op met een gekwalificierde reparateur of met uwplaatselijke Acer dealer.
BIOS utility
Het BIOS utility is een configuratieprogramma voor de hardware dat in het Basic Input/Output System (BIOS) van uw computer is ingebouwd.
Omdat uw computer al is geconfigureerd en geoptimaliseerd, is het Niet nodig dit utility UIT te voeren. Als u城县 configuratieproblemen ondvindt, moet u het programma wel UITvoeren.
Als u het BIOS utility wilt activeren, drukt uijdens de zelftest op <F2> op het moment dat het notebook pc-logo worden weergegeven.
Opstartreeks
Om de opstartreeks in te stellen in de BIOS utility, activeert u de BIOS utility en verwolgens kiest u Boot in de categorieën aan de bovenkant van het scherm.
Disk maar disk herstel inschakelen
Om disk waar disk herstel (herstellen van harde schijf) in te schakelen, activeert u de BIOS utility, en selecteer verwolgens Main in de categorieën aan de bovenkant van het scherm. Zoek D2D Recovery aan de onderkant van het scherm en gebruik de toetsen
Wachtwoord
Om een wachtwoord bij opstarten in te stellen, activeert u de BIOS utility. Selecteer verwolgens Security in de categorieën aan de bovenkant van het scherm. Zoek Password on boot: en gebruik de toetsen
Software gebruiken
DVD-films afspelen

Opmerking: Deze functie is alleen beschikbaar op bepaalde modellen.
Als een DVD station in het AcerMedia-compartment is geinstalleerd,(IntactDVD-films afspelen op uw computer.
1 Werp de DVD-lade uit het station enplaats een DVD-filmdisk; sluit verzolgens de DVD-lade.

Belangrijk! Als u de DVD-speler de eerste keer start, worden u gevraagd de regiocode in te voeren. DVD-disks+zijn in zes regio's ingedeeld. Zodra het DVD-station op een bepaalde regiocode is ingesteld, worden alleen DVD-disks voor de ingestelde regio afgespeeld. U(Intknt de regiocode maximaal vijf maal instellen (met inbegrip van de eerste keer). Daarna wordt de laatste regiocode ingesteld als permanente code. Het terugzetten van de harde schijf in zich oorspronkelijktoestand hebft geen invloed op het aantal malen dat de regiocode is ingesteld. Raadpleeg de tabel verdoper op在这ze sectie voor informatie over regiocodes voor DVD-films.
2 De DVD-film wird na enkele seconden automatisch afgespeeld.
| Regiocode | Land of regio |
| 1 | VS, Canada |
| 2 | Europa, Midden-Oosten, Zuid-Afrika, Japan |
| 3 | Zuidoost-Azië, Taiwan, Zuid-Korea |
| 4 | Latijns-Amerika, Australië, Nieuw-Zeeland |
| 5 | Voormalige U.S.S.R, delen van Afrika, India |
| 6 | Volksp republiciek China |

Opmerking: Als u de regiocode wilt wijzigen, staat u een DVD-film met een andere regiocode in het DVD-station. Raadpleeg de on-line Help voor meer informatie.
Veelgesteldevragen
Hieronder volgt een overzicht van situatuies die zich kuren voordoenijdens het gebruik van de computer. Bij elke situatie worden eenvoudige antewoorden en oplossingen voorgesteld.
Ik heb op de aan/uit knop gedrukt, maar de computer start nicht op.
Kijk of het stroomlampje brandt:
-
Als dit nicht brandt, krijgt de computer geen stroom. Controller het volgende:
-
Als u de accu gebruikt, is deze weltlicht bijna leeg en krijgt de computer geen stroomeer. Sluit de adapter aan om de accu opnieuw op te laden.
-
Controller of de adapter correct is aangesloten op de computer en op het stopcontact.
-
Als het lampje wel brandt, contrôleert u het volgende:
-
Zit er een diskette in het externe usb -diskettesstation, waarmeiet kan worden opgestart (geen systemdiskette)? Verwijder de diskette of verrang deze door een systemdiskette en druk op <Ctrl> + <Alt> + <Del> om het systemd te herstarten.
Er worden niets weergegeven op het scherm.
De energiebesparingsfunctie van de computer schakelt het scherm automatischuit om energia te besparen. Druk op een toets om het scherm wee ter activeren.
Als u het scherm Niet=kunt activeren door op een toets te drukken, kan dit twee oorzaken hebben:
- Het holderheitsniveau is te laag. Druk op Fn + P om de holderheid te verhogen.
- De weergave kan zich ingesteld op een externe monitor. Druk op de schakeltoets voor het beeldscherm <Fn> + <F5> om de weergave terug te schakelen maar het LCD-schem.
- Als het lampje van de Standby-stand brandt, is de standby-stand ingeschakeld. Druk kort op de aan/uit knop om verder te gaan.
De computer geeft geen geluid wee.
Controleer het volgende:
- Het volume kan zijn uitgeschakeld. Kijk waar het pictogram (luidsprekert) op de taakk Balk van Windows voor de volumeregeling. Als er op het pictogram een rondje met een rode streep zit, klikt u op het pictogram en schakelt u het selectievak Alles dampen UIT.
- Het volume is möglich te laag. Open de volumeregeling van Windows via het pictogram voor de volumeregeling op de taakk Balk. U(Int) ook de knappen voor het onbeperkte volumewiel gebruiken om het volume aan te passen.
- Indien hoofdtelefoon, oortelefoon of externe luidsprekers op de lijn-uit poort van het voorpaneel van de computer zichn aangesloten, worden de interne luidsprekers automatisch uitgeschakeld.
Ik wil de lade van de optisch station uitwerpen zonder de stroom in te schakelen.
Er bevindt zich een mechanische uitwerpknop op de station. Steek een pen of paperclip in de opening en duw om de lade van de drive te openen.
Het toetsenbord reageert nicht.
Sluit een extern toetsenbord aan op een USB poort van de computer. Als dit toetsenbord wel werkt, raadpleeg dan uw leverancier of een erkend servicecentrum komt de kabel van het interne toetsenbord möglichk los zit.
Controleer het volgende:
- Controller of de printer op een stopcontact is aangesloten en is ingeschakeld.
- Zorg dat de printerkabel stevig is aangesloten op de parallelle of usb-poort van de computer en de correspondende poort op de printer.
Ik wil mijn computer herstellen maar de originele instellungen zonder herstel-CD's.

Opmerking: Indien op uw systemd meerdere talen gebruikt worden, is het besturingsysteme en taal die worden gekozen wonneer het systemd voor het eerst worden ingeschakeld, de enige optie voor toekomstige herstelwerkzaamheden.
Met het herstelproces kut u de originele software terugzetten die op het C: station geinstalleerd was op het moment dat u het notebook kocht. Volg onderstaande stappen om het C: station opnieuw op te bouwen. (Het C: station worden opnieuw geformatteerd en alle gevevens worden gewist.) Het is van belang dat u reservekopieën maakt van alle bestanden voordat u deze optie gebruikt.
Controller deinstallingen van de BIOSvoordat u een herstellhandelinguitvoert.
1 Controller of de functie Acer disk-to-disk recovery is ingeschakeld of Niet.
2 Zorg dat deinstelling D2D Recovery in Main op Enabled (ingeschakeld) staat.
3 Verlaat de BIOS utility enbewaar de wijzigingen. Het systemd worden opnieuw opgestart.

Opmerking: Om de BIOS utility te activeren, drukt u op
Het herstellen starten:
1 Start het systemd opnieuw op.
2 Terwijl het Acer logo in beeld is, druk op hetzelfde moment op
3 Zie de instructies op het scherm om systeemherstel uit te voeren.

Belangrijk! Deze functie gebruikt 15 GB in een verborgen partitie op de harde schijf.
Informatie over serviceverlening
Voor uw computer geldt een ITW (International Travelers Warranty), zodate u veilig en gerust met uw computer op reis kurz. U kurz een beroep doeon op ons wereldwijde netwerk van servicecentra voor een helpende hand.
Bij aankoop van de computer ontvangt u een ITW-paspoort. In dit paspoort vindt u alles wat u moet weten over het ITW-programma. Het boekje bevat een lijst met beschikbare, erkende servicecentra. Lees dit paspoort zorgvuldig door.
Zorg dat u het ITW-paspoort algtd bij de hand hebt wanner u onderweg bent, zodate u een beroep=kunt doen op de Diensten van onsze ondersteunende centra. Bewaar uw aankoopbewijs in de flap vooraan op het ITW-paspoort.
Als u zich bevindt in een land waar geen erkende Acer ITW-service beschikbaar is,=kunt u contact opnemen met een kantoor in een naburig land. Raadpleeg het http://global.acer.com.
Voordat u belt
Zorg dat u bij de computer zit en de volgende informatatie bij de hand hebt voordat u Acer belt voor on-line service. Met uw medewerking+kennen we uw problemen sneller en efficienter oplossen. Als er foutberachten of geluidssignalen door de computer zijn weergegeven, schrijf deze dan op of noteer het+aantal en de volgorde van de pieptonen.
Zorg dat u de volgende informatatie bij de hand hebt:
Naam:
Adres:
Telefoonnummer:
Type computer en model:
Seriennummer:
Aankoopdatum:
Problemen oplossen
In dit hoofdstuk worden oplossingen aangereikt voor het verhelpen van algemene systeemproblemen. Doet zich een probleem voor, lees dan eerst dit hoofdstuk voordat u een monteur raadpleegt. Voor ernstige problemen要去 de computer worden opengemaakt. Probeer dit Niet zich te去做. Neem contact op met uw leverancier of de geauthoriseerde servicecentra voor hulp.
Tips voor het oplossen van problemen
Deze notebook PC heeft een geavanceerd ontwerp dat onscreen fouitmeldingen geeft die u helpen de problemen op te losesn.
Wanner het systeme een foulmelding weergeeft of een fout zich voordoet, zie dan "Foutmeldingen". Wanner het probleem Niet kan worden opgelost, neem dan contact op met de leverancier. Zie "Informatie over serviceverlening" op pagina 34.
Foutmeldingen
Wonneer u een foulmelding krijgt, noteer dan het bericht en corrigeer de fouit. De volgende tabellijsten vermelden foulmeldingen in alfabetische volgorde samen met de aanbevolen actie.
| Foutmeldingen | Mogelijk oplossing |
| CMOS battery bad | Neem contact op met uw leverancier of een bevoegt servicecentrum. |
| CMOS checksum error | Neem contact op met uw leverancier of een bevoegt servicecentrum. |
| Disk boot failure | Plaats een systemd (opstart)diskette in het disktestation (A:), druk daarna op <Enter> om opnieuw op te starten. |
| Equipment configuration error | Druk op <F2> (tijdens POST) om de BIOS utility te starten en klik in de utility op Exit om opnieuw op te starten. |
| Hard disk 0 error | Neem contact op met uw leverancier of een bevoegt servicecentrum. |
| Hard disk 0 extended type error | Neem contact op met uw leverancier of een bevoegt servicecentrum. |
| I/O parity error | Neem contact op met uw leverancier of een bevoegt servicecentrum. |
| Keyboard error or no keyboard connected | Neem contact op met uw leverancier of een bevoegt servicecentrum. |
| Keyboard interface error | Neem contact op met uw leverancier of een bevoegt servicecentrum. |
| Memory size mismatch | Druk op <F2> (tijdens POST) om de BIOS utility te starten en klik in de utility op Exit om opnieuw op te starten. |
Wonneer u nog steeds problemen gegenkommen nadat u de correcties uitgevoerd hebt, neem dan contact op met uw leverancier of een bevoegt servicacentrum. Sommige problemen konnen opgelost worden met behulp van de BIOS utility.
Voorschriften- enveiligheidsmededeling
FCC-verklaring
Dit apparaat is getest en voldoet aan de voorschriften voor een digitaal apparaat van klasse B conform Deel 15 van de FCC-regels. Deze voorschriften zijn opgesteld om een redelijkke bescherming te bieden gegen schadelijke interferentie bij gebruik binnenshuis. Deze apparatuur genereert en gebruikt radiogolven en kan deze uitstralen. Als de apparatuur Niet overeenkomstig de instructies worden geinstalleerd, kan dit storingen verroorzaken in de ontvangst van radio of television.
Er kan darüber geen garantie worden gegeven dat bepaalde installaties storingsvrij zullen functioneren. U kunt controleren of de apparatuur storing veroorzaakt door deze uit te schakelen. Als de storing stopt, worden.Deze waarschijnlijk veroorzaakt door de apparatuur. Veroorzaakt de apparatuur storingen in radio- of televisionontvangst, dan kan de gebruiker de storing proberen te verhelpen door een of meer van de volgende maatregelen te nemen:
Draai de televisie- of radioantenna totdat de storing stopt.
- Vergroot de afstand:tussen de apparatuur en de radio of tevisie.
- Sluit de apparatuur aan op een ander circuit dan dat waarop de radio en television zijn aangesloten.
- Neem contact op met uw dealer of een ervaren radio/televisione reparateur voor hulp.
Verklaring: Afgeschermde kabels
Om te voldoen aan de FCC-richtlijnen, moeten alle verbindingen met andere computerapparaten tot stand worden gebracht met afgeschermde kabels.
Verklaring: Randapparatuur
Alleen randapparaten (invoer/uitvoer apparaten, terminals, printers, enz.) die voldoen aan de Klasse B voorschriften mogen op dit apparaat worden aangesloten. Het gebruik van apparaten die nicht voldoen aan de voorschriften resulteert waarschijnlijk in storing van radio- en televisionontvangst.
Pas op
Wijzigingen aan de apparatuur zonder schriftelijke toestemming van de fabrikant kennen de bevoegdheid van de gebruiker voor het bedieren van de computer, welke is verleend door de Federal Communications Commission, teniet doein.
Modemverklaringen (alleen voor bepaalde modellen)
TBR 21
Dit apparaat is goedgekeurd [Council Decision 98/482/EC- "TBR 21"] voor aansluiting op het Public Switched Telephone Network (PSTN) via een enkele terminal. Door de verschillen:tussen de afzonderlijke PSTNs in verschillende landen, vormt deze goedkeuring alleen geen onvoorwaardelijkarie garantie voor succesvol functioneren op elk PSTN eindpunt. Indien u problemen ervaart, kunt u in eerste instantie contact opnemen met uw leverancier. Voor meer informatatie over de van toepassing zijnde landen, zie "Voorschriften-en veiligheidsmededeling" op pagina 36.
Verklaring LCD-pixel
Het LCD-product is gemaatk met fabricagetechnieken van hoge precisie. Toch kuren sommige pixels soms verkeerd "vallen" of verschijnen als zwarte of rode punten. Dit heeft geen effect op de opgenomen afbeelding en is geen defect.
Radio-apparaat Reguleringsbericht

Opmerking: Onderstaande informatie over regelgeving is alleen voor modellen met wireless LAN en/of Bluetooth.
Algemeen
Dit product voldoet aan de radiofrequentierichtlijnen en veiligheidsnormen van landen en regio's waarin het is goedgekeurd voor wireless gebruik. Afhankelijk van de configuratie, kan dit product wireless radioapparaten bevatten (zoals wireless LAN en/of Bluetooth modules). Onderstaande informatatie is voor producten met zulke apparaten.
Verklaring van overeenstemming voor EU landen
Hierbij verklaart Acer dat deze notebook PC in overeenstemming is met de essentièle eisen en de andere relevante bepalingen van richtig 1999/5/EC.
Lijst van landen waarop dit van toepassing is
EU-lidstaten in juli 2009 zich: Belgie, Denemarken, Duitsland, Griekenland, Spanje, Frankrijk, Ierland, Italié, Luxemburg, Nederland, Oostenrijk, Portugal, Finland, Zweden, Verenigd Koninkrijk, Estland, Letland, Litouwen, Polen, Hongarije, Tsjechie, Slovakije, Slovenie, Cyprus, Malta, Bulgarije en Roemenie. Gebruik is toegestaan in landen van de Europese Unie, en ook in Noorwegen, Zwitserland, Ijsland en Liechtenstein. Dit apparaat mag alleen gebruikt worden volgens de reguleringen en beperkingen die gelden in het land van gebruik. Voor meer informatatie neemt u contact op met hetplaatstelijkke kantoor van het
land van gebruik. Zie http://ec.europa.eu/enterprise/rtte/implem.htm voor de nieuwe ste landenlijst.
De FCC RF veiligheidseis
De uit gezonden straling van de Wireless LAN Mini-PCI kaart en Bluetooth kaart ligt ver onder de radiofrequentie stralingslimiet van de FCC. Desalniettemin dient de Wireless module notebook PC series zodanig gebruikt te worden dat de möglichkeheid op menselijk contactijdens normale operatie geminaliseerd worden.
1 Gebruikers worden verzocht de RF verilgheidsinstrumentes over wireless-optie apparaten die zich bijgevoegd bij de gebruikershandleiding van elk RF-optie apparaat op te volgen.

Pas op: Een afstand van minstens 20 cm (8 inch) dient in achtgenomen tusssen de antennne voor de geinteggreerde wireless LAN Mini-PCI kaart in het schermgeddeelte ingebouwd en gebruikers of andere Personen conform de FCC RF normen.


Opmerking: Wireless Mini-PCI Adapter gebruikt een transmissiediversiteitsfunctie. De functie zendt geen radiofrequencies tegelijkkertijd van beiden antennes uit. Eén van de Antenne's worden automatisch of handmatig (door de gebruiker) geseleeteerd om de goede kwaliteit van radiocomunicatie te verzekeren.
2 Dit apparaat mag alleen binnenshuis gebruikt worden door+zijn werkinq in het 5,15 tot 5,25 GHz freiuentiebereik. FCC vereist dat dit product binnenshuis gebruikt worden bij een freiuentiebereik van 5,15 tot 5,25 GHz om möglich schadelijke interferentie op de kanaalverdeling van Mobiele Satellietsystemen te verminderen.
3 Krachtige radarstations zijn aangewezen als de primaire gebruikers van de 5,25 tot 5,35 GHz en 5,65 tot 5,85 GHz freiagentiebanden. Deze radarstations können storing veroorzaken en/of het apparatus beschadigen.
4 Onjuiste installment of ongeoorloofd gebruik kan schadelijke storing op radiocommunicatie veroorzaken. Knoeien aan de interne antennereulteert in het verliezen van de FCC certificatie en uw garantie.
Canada - Licentievrijstelling voor radiocommunicatieapparaten met een laag vermogen (RSS-210)
Bootstelling van mensen aan RF velden (RSS-102)
Notebook PC série gebruikt low gain integral antennes die kein RF velduitstralen dat nicht voldoet aan de eisen van Health Canada ter bescherming van de bevolking; raadpleeg Safety Code 6, te verkrijgen van de website van Health Canada: www.hc-sc.gc.ca/rpb.
Het n3o6paXeHnHa 3KpaHe.
CnCTema ynpabIeHnIyIITaHnEM KOMbIOpTepa ABtOMaTneCKN OTKJIIOHaET DcNIIeI dIy3KOHOmMn 3NeKTPo3Heprn. HaxMnte IIO6yIO KlaBnUy, YTO6bl BKJIIOHTb DcNIIeI.
Ecnna Haukatae KnaBnH He Bo3Bpaaet Dncnle B pa6oun peKm, BO3MOxHbI DBe npuHbI:
- YpOBeHb JRPKoCTn MoKET 6bIb CInuKOM Hn3Ok. HaxMnte
+ , YTo6bl NobbICHTb YpOBeHb JRPKoCTn.
B KaueCTBe yctpoCTBa OTo6paKeHnMa MoTb BbIb BbIbpaH BHeuHm MOHTOp. HaxMnte "Topyne KlaBnSh"pepeKJIoueHn Daicnpea Fn> +F5>, YTO6bl PndKJIouHTb o6pato DInCnpei KOMbIbTepe. - Ecπn ropnt nHdkaTop pexkma cHa (Sleep),TO 3TO 3NaHT,TO KOMNbIOTep HaxoDntcB pexkme cHa.ДЯ BO3O6HOBNeHЯ paObTb I OoblyHOM pexkme HaxMNTe N OTNCTIne KHOKNy PINTAHn.
KoMnIbIOpTe He BocnpOn3BODInT 3ByK.
PpOBeBpTe cIeDyUoUee:
- Гомковъ можетьтв оклоча.В Windows,B3гянITE ha 3haok peулаятора гомковси (Динhamи) habanheлзадч.EcIn OH nepeuepeKHyT, HaxmITE ha 3haoyки OTmeHITe onlno BbIKn.Bce.
- YpOBeHb rPOMKoCTn MoKet 6bIb cJIIMKOM Hn3OK. IpOBeBpTe nIoXeHne IOn3yHka 3HaCha perynToppa rPOMKoCTn Ha naHeN 3aJaW Windows.ДЯpeRyIINPOBKN rPOMKoCTn MOKHO TaKKe IcNoIb3OBAbTK OJEnCko IpOKpyTK, He NMeUoee OrpaHnUHTeJr, INI KNOpIKn peRyIINPOBKn rPOMKoCTn.
EcnI roJIOBhIe TeNefoHbI, HayuHNKn IIN BHeUHne DInHaMKNI NOkJIIOUChEBI K
pa3bemyIINHeHORO BbIXOda nepeDHei KOMNbIOTepa,TO BHyTpeHHne DInHAMIKN aBTOMaTNueCKN OTKJIQUHaOTcR.
Kak OTkpbl T IOTOK npBODa ONTnuecknx DnCKOB, He BKJIIOUaI NTaHHe KOMNbIoTepa.
Ha npBbOe ONTnuecknx DnCKOB NMeETcra OTBepCTne dIy MEXaHnueckoro n3BNeueHnna. YTo6bl BbIDBHyTb IOTOK, BCTaBbTe B 3TO OTBepCTne KOHnK cTePKHn 7apNKOBpyKn INN KaHcJIePcKyU CKePNky n HaxMNTE.
Nemiet Itdzi Śadus prieksmetus:
Mainstrāvas adapteru
Lidz galam uzladetu(s) rezerves akumulatoru
Ja planojat izmantot citu printeri, ari papildu printera draivera failus
Tpaši apsvērumi
Nemiet lidzi sādus priekšmetus:
- Mainstrāvas adapteru
Stravas vadus, kas ir derigi valsti, uz kuru celojat
Lidz galam uzladetus rezerves akumulatorus
Ja planojat izmantot citu printeri, ar papildu printera draivera failus - Pirkuma apliecinajumu gadjumam, ja tas jauzrdamauitas darbiniekiem
Starptautiska celotaja garantijas pasi
Ipaši apsvērumi
OoynieC Tepi aopaaiae i
IpoqulaqyiaTnouakeun OTTIKOU dikou
(opiouéva oovTreλa ovo) vii
Ppoeiooic Kavoviov & aopaa 38
△nλωση FCC 38
Avakoivwoeic yia muvtεμ (opioeva movtela muvo) 39
SimpelGids