LHF 2800 - Hagekvern ATIKA - Gratis bruksanvisning og manual
Finn enhetens veiledning gratis LHF 2800 ATIKA i PDF-format.
Brukerspørsmål om LHF 2800 ATIKA
0 spørsmål om dette apparatet. Svar på dem du kjenner, eller still ditt eget.
Still et nytt spørsmål om dette apparatet
Last ned instruksjonene for din Hagekvern i PDF-format gratis! Finn veiledningen din LHF 2800 - ATIKA og ta den elektroniske enheten tilbake i hendene. På denne siden er alle dokumenter som er nødvendige for bruken av enheten din publisert. LHF 2800 av merket ATIKA.
BRUKSANVISNING LHF 2800 ATIKA
Brugsanvisning - Sikkerhetsinformasjoner
Reservedeler
Skal oppvevares for senere bruk.
Innhold
| EF- konformitetserklæring | 74 |
| Samlet leveranse | 74 |
| Beskrivelse av apparatet | 74 |
| Driftstider | 75 |
| Apparats symboler | 75 |
| Bruksanvisnings symboler | 75 |
| Hensiktsmessig anvendelse | 75 |
| Restrisikoer | 75 |
| Arbeide under trygge forhold | 76 |
| Montasje | 77 / 137 |
| Ibruktaking | 77 |
| Arbeide med hakkelsmaskinen | 78 |
| Innstilling av mellomtappskiven | 79 |
| Vedlikehold og pleie | 79 |
| Mulige driftsforstyrrelser | 79 |
| Tekniske data | 80 |
| Garantibetingelser | 80 |
| Reservdeler | 131 |
EF- konformitetserklæring
tilsvarer EF-directiv 98/37/EF
ATIKA GmbH & Co. KG
som denen erklæring gjelder for, oppfyller de relevante grunneleggende sikkerhets- og helsekrav i EF-direktiv 98/37/EF, sävel som kravene i ovrige relevante EF-direktiv
er esken komplett
har det oppstatt ev. transportskader
Reklamer omgående til forhandleren, leverandøren hhv. produsenten. Senere reklamasjoner godkjennes ikke.
1 formontert apparatdel
1 stativ
2 hjul
2 hjulkapsler
2fotter
1skruepose
1 oppsmlingskurv
1 bruksanvisning
Beskrivelse av apparatet

A. Traktapning for hakkelsmaterial
B. Pã-/Avknapp
C. Tilbakestilingsknapp / Motorens beskyttelsesanordning
D. Handtak
E. Nettpluggen
F. Kurvlas
G. Dreieretningsomkopler
H. Husoverdel
I. Innstillingsknappen til skjaerevalsen
J. Oppsamlingskurv
K. Stativ med hjul og føtter
Driftstider
Vær oppmerksom på forskriftene som gjelder i ditt omrade.
Apparatets symboler
| Les nôve gjennom bruks- anvisningen og vær oppmerksom på sikkerhetsan- visningene før apparatet tas i drift. | Slå av motoren og trekk ut stopselet før du foretar reparasjons-, vedlikeholds- og rengjørings- arbeider. | ||
| Fare pga. deler som aktelererer videre+när motoren er i gang - personer uten deltagelse, hus- og nyttedyr | Vær oppmerksom på de roterende knivene. Ikke hold hender eller føtter i apninger+när maskinen er i gang. | ||
| må holds borte fra fareområdet. | |||
| Bruk øye- og hørselsvern. | Bruk vernehansker. | Må beskytres mot fuktighet. | |
| Hakkelsmaterialiet skjæreres | Hakkelsmaterialiet skjæreres ikke | ||
| Kurven er{låst} Kurven er løsnet | |||
| Elektriske apparater@må ikke kastesammen med husholdningsavfallet. Apparat, tilbehør og emballasje mæinnleveres for miljøvennlig gjenbruk. | |||
Bruksanvisingens symboler

Overhengende fare aller farlig situasjon. Dersom du ignorerer disse anvisingene, kan det.fore til personskader og materielle skader.

Viktige anvisninger for korrekt handtering. Forstyrrelser kan oppsta som folge av at du ignorerer disse anvisingene.

Brukeranvisninger. Disse anvisingene hjelper deg Å utnytte alle funksjonene optimalt.

Montasje, betjening og vedlikehold. Her forklares noyaktig hva du ma gore.
Hensiktsmessig anvendelse
Riktig bruk omfatter hakling av
Hakling av glass, metall, kunststoffdeler, platikkposer, steiner, materialavfall, røtter med jord, avfall uten fast konsistens (f. eks. matavfall) er utrykkelig forbudt.
Denne hakkelsmaskinen er kun egnet til privat bruk i hagen din.
Hakkelsmaskiner som er ment brukt i private husholdninger og hageområder, er slike som ikke benyttes på offentlige anlegg, parker, idrettsanlegg og innen landbruks og skogsdrift og ikke benyttes i kommersielt øyemed.
Til riktig bruk hører ogss at man mø overholde produsentens drifts-, vedlikeholds- og reparasjonsbetingelser og overholdelse av sikkerhetsinformasjonene i anvisningen.
All bruk utover dette gjelder som uriktig bruk. Produsenten er/DDKE ansvarlig for skader som oppstar pa grunn av dette. Brukeren bærer selv risikoen.
Hvis du selv foretar endringer på hakkelsmaskinen, er vi ikke ansvarlige for de skadene som oppstår på grunn av dette.
Apparatet mA kun klargjores, benyttes og vedlikeholds av personer som kjenner disse oppgavene og som er kjenner farene de utsettes for. Reparasjonsarbeid mA kun gjennomfres av oss aller av kundesservicesteder som er anbefalt av oss.
Restrisikoer

Til tross for at alle sikkerhetsbestemmelse overholds ved hensiktsmessige anvendelsen, kan det allikevel gjenstå sikoer som følge av apparatets konstrujsjon.
Restrisikoer kan reduseres, dersom du er oppmerksom på "Sikkerhetsanvisingene" og "Hensiktsmessig anvendelse" og leser nøye gjennomBruksanvisingen.
Hvis man tar hensyn og er forsiktig minsker risikoen for personog materialskader.
- Fare for skader på fingre og hender, dersom du putter handen inn i en Åpning ogkommen borti knivverket.
- Fare for skader på fingre og hender ved monterings- og rengjøringsarbeider på knivverket.
- Skader på grunn av hakkelsmaterialer som slynges ut rundt trakten.
- Fare ved strøm ved bruk av elektriske stikkledninger som ikke er.intakt.
- Beröring av spenningsförende deler ved öpne elektriske bestanddeler.
Horselen svekkes ved vedvarende arbeider uten horselsvern.
Til tross for alle forholdsregler som tas, kan det fremdeles gjensta en restrisiko.
Arbeide under trygge forhold
Les nuye gjennom følgende anvisninger og forskrifter til forebygging av ulykker hhv. de gjeldende sikkerhetsbestemmelsene i de forskjellige landene. Slik kan du beskyte deg selv og andre mot skader.
①
Formidle sikkerhetsanvisingene til alle som arbeider med maskinen.
i
Ta godt vare påppe sikkerhetsanvisningene.

Reparasjoner på maskinen munch utføres av produsenten hhv. av firmaer som produsenten henviser til.
Gjør deg kjent med apparatet ved hjelp av braupsanvisningen for du tar det iBruk.
- Ikke bruk apparatet til formål som det ikke konstrukt for (se "Hensiktsmessig anvendelse" og "Arbeide med hakkelsmaskinen").
- Sørg for at du stå stabilt og hold likevekten hele tiden. Du arbeider bedre og tryggere i det angitte kapasitetsområdet. Ved kasting av hakkelsgodset på du stå på samme niva mit som maskinen.
Vær oppmerksom. Pass på hva du gjør. Gå fram med fornuft. Ikke benyttr apparatet när du er sliten eller er pavirket av narkotiske stoffer, alkohol eller medikamenter. Et øyeblikskuoppmerksomhet kan medføre alvorlige skader.
- Bruk vernebriller, arbeidshansker og hørsvern nár du arbeider.
- Bruk egnet arbeidstoy:
- Ikke bruk trimmeren i fuktige og våte omgivelser.
- Ikke la apparatet sta ute i regnvaer.
-
Arbeid kun under tilstrekkelige sikkerhetsforhold, sorg for god belysning.
-
Bruk vernehansker for Å unngå fare for skader på fingre ved monterings- og rengjøringsarbeider.
Slá av maskinen og trekk stopselet ut av stikkontakten ved: -
vedlikeholds- og rengjoringsarbeider
- oppretting av feil
- kontroll av tilkoplingsledningene om disse er omslynet aller skadet.
- transport
reparasjonsarbeider - nár du forlater apparatet (også ved kortere avbrudd).

- Ved tilstopping i maskinens inntak eller utløp på du.slå av motoren og trekke ut støpselet fra stikkontakten, før du fjerner materialrester i inntaket eller utløpet.
-
Kontroller om maskinen ev. er skadet:
-
kontROLLER omhyggelig om beskyttesesanordningene fungerer feilfritt og hensiktsmessig før du fortsetter driften av apparatet.
- kontroller om de bevegelige delene fungerer som de skal og ikke er klemt fast aller om deler er skadet. Samtlige deler på vår correkt montert og oppfylle alle betingelser forå sikre en feilfrid drift.
- Skadete verneinnretninger og deler på repareres eller byttes ut på godkjent verksted (eller hos produsenten), hvis ikke annet er nevnt i braksanvisningen.
-
Skadede eller uleselige sikkerhetsklistremaker skalerstattes.
-
Oppbevar apparatet kun på et tört sted utenfor barnsrekkevidde.

Elektrisk sikkerhet
- Stikkledningens utførelse iht. IEC 60245 (H 07 RN-F) med et Åretversnitt på minimum:
1,5 mm² ved en kabellengde på inntil 25 m
2,5 mm² ved en kabellengde på over 25 m
- Lange og tynne tilkoplingsledninger gir et spenningsfall. Motoren oppnár ikke longer sin maksimale effekt, apparatets funksjon reduseres.
- Stöpslene og kopingsboksene på tilkoplingsledningene på vindare produsert i gumm, myk PVC eller annet termoplastisk material med lik mekanisk fasthet eller vindare trukket over med et slikt material.
- Pluggen til tilkoplingsledningen mä vår beskyttet mot sprutevann.
- Pase at stikkledningen ikkekommen i klemme eller boyes og at pluggforbindelsen ikke blir+våt+när du installerer ledningen.
- Ved bruk av kabeltrommel, mA kabelen vikles helt inn.
- Ikke bruk ledningen til noe den ikke er konstrukt til. Beskytting ledningen mot varme, olje og skarpe kanter. Ikke bruk ledningen til á trekke stöpselet ut av stikkontakten.
- Kontroller skjoteledningen jevnlig og skift den ut.nr den er ødelagt.
- Ikke bruk defekte stikkledninger.
- Bruk kun skjeteledninger som er godkjent og kjennetegnet for utendørs bruk.
- Ikke monter provisoriske elektriske tilkoplinger.
Du mä aldri brokople eller slå av beskyttelsens-anordningen.
Kople til trimmeren via en feilstrømsvernebryter (30 mA).
Den elektriske tilkoplingen hhv. reparasjoner på maskinenes elektriske deler违法犯罪 av en faglært elektriker ullav vär kundeservice. Vær oppmerksom på lokale forskritter, saerlig med hensyn til sikkerhetstiltak.
Reparasjoner på maskinenes andre deler på kun utføres av produsenten hhv. av hans kundeservice.
Benyt kun originale reservedeler. Hvis man benytter andre reservedeler kan det oppsta ulykker for brukeren. Produsenten er ikke ansvarlig for skader som oppstær som følege av dette.
Montasje
sieheSeite137

Ibruktaking
Forsikre deg om at hele apparatet er montert pa en forskriftsmessig mæte.
- Plasser hakkelsmaskinen på et vannrett og hardt underlag for du tar den i bruk (fare for at den velter).
- Ikke plasser apparatet på et gulv som er brostein- aller singlebelagt.
- Bruk apparatet kun ute. Hold avstand (minst 2m ) fra vegger erler andre stive gjenstander.
- Kontroller før haver bruk:
Ilke bruk defekte ledninger.
er apparatet ev. skadet (se "Arbeide under trygge forhold")
er alle skruene skrudd hardt fast
Nettilkopling
- Sammenlign den angitte spenningen på apparatets typeskilt med nettspenningen. Kople apparatet til den tilsvarende og forskriftsmessige stikkontakten.
- Bruk skjoteledning med tilsvarende tverrsnitt.
Nettsikring
| Sveits | UK | ||
| 2300 W | 16 A treg | 10 A treg | 13 A treg |
| 2500 W | 16 A treg | 13 A treg | |
| 2800 W | 16 A treg | 13 A treg | |
| 3000 W | 16 A treg | 13 A treg | |
Nettimpedans
Dersom betingelsene for nettspenningen不解 er optimale, kan det oppstå korte spenningsfall nár apparatet slås på. Dette kan ha negativ innvirkning på andere arrarater (f. eks. lampe som blafrer).
Det oppstär ingen forstyrelser, dersom den maksimale nettspenningen som angis i tabellen nedenfor icke overskrides.
| Inngangseffekt P1(W) | Nettimpedans Zmaks (Ω) |
| 2300 | 0,22 |
| 2500 | 0,22 |
| 2800 | 0,22 |
| 3000 | 0,22 |
Av/på-bryter
Ilke benytt trimmere hvor man/DD ke kan sla bryteren pa ell er av. Skadete brytere ma straks repareres ell er byttes ut av kundeservice.

Slå på apparatet
Trykk inn den gronne knappen (1).
Slà av apparatet
Apparatet slås automatisk av ved strombrudd (nullspenningsrelé). Trykk inn den gronne knappen for Å slå på apparatet igjen.
Motoren er utstyrt med en sikkerhetsbryter som slås automatisk av ved overbelastning. Motoren kan slås på igjen etter en kjøletid på ca. fem minutter.
- Tilbakerstillingsknapp (motorvern)
- den grønne knappen ① for a slå den pa.
Dreieretningsomkopler
Dreieretningsomkopleren mx kun aktiveres narrhakkelsmaskinen er slatt av.
Stilling
Materialet trekkes inn og kuttes av skjaerevalsen.
Stilling
Kniven arbeider i omvendt rekkefolge og inneklemt material frigjores.
Etter at du har bragt dreieretningsomkopleren i stillingen ↑, hold den gronne knappen til på-/avbryteren innate. Skjærevalsen stilles i omvendt retning. Når du slipper på/av-bryteren, stanser hakkels-maskinen automatisk.
Tips
- Store gjenstander eller trestykker fjernes fetter flere gangers aktivering bade i skjær-e- og i frigjøringsretningen.
- Bruk en stamper eller en krok for Å fjerne blokkerte gjenstander fra pracken eller utkasterspalten.
Vent alltid til hakkelsmaskinen har stanset welt, for du slar den på igjen.
Oppsamlingskurv
Den integrerte oppsmilingskurven er utstyrt med et lasegrep og en sikkerhetsfrakobling.

Oppsamlingskurven er lately og fast forbundet med maskinen.
Kurven er lately opp og lösnet fra maskinen. Maskinen kan/DDE slAs pa.
- Innta arbeidsstilling ved sider av erler bak apparatet. Stå aldri iærheten av utkasteråpningen.
Lengere material, som stikker ut av apparatet, kan slynestilbake nár det trekkes inn av knivene! Hold sikkerhetsavsten-den!
Grip aldri inn i pafyllings-ller utkasterapningen. - Snu ansiktet og kroppen bort fra pafyllingsapningen.
- Ikke få hender, andre kroppsdeler og klær inn i påyllingsrøret, utkastingskanalen eller iærhen av andre bevegelige deler.
- Kontroller apparatet før motoren slås på
- slick at det ikke er noen rester i pafyllingsstrakten.
- slick at oppsmilngskurven er LAST.
- Ikke vipp apparatet nár motoren er i gang.
- Når du fyller på fylletrakten, må du pase at det ikkekommen metallgjenstander, steiner, flasker eller andre gjenstander i apparatet som det ikke kan bearbeide.
- Det oppstår ingen forstyrelser, dersom den maksimale nettspenningen som angis i tabellen nedenfor ikke overskrides. Slå av apparatet straks og la detkommen til
stillstand, dersom fremmede gjenstanderkommen i fylletrakten. Det samme gjelder, dersom apparatet beginner a vibrere eller lage unaturlige lyder.
- inspiser skaden
- skift ut ellre reparer odelagte deler
- kontroller apparatet og stram fast lõse deler
Hva kan jeg kutte opp?
Ja:
- alle typer kvister med et maks. tverrsnitt (alt fetter treate og hvor friskt det er)
- vissent, faktig, flere dager gommelt hageavfall blandet med kvister
vekselvist med grener
Nei:
glass, metalldeler, kunststoffer, plastposer, steiner, stoffrester, røtter med jord
- avfall uten fast konsistens f. eks. kjokkenavfall
Spesielle anvisninger vedrørende oppkutting: Innfyllingsside
Fyll alltid det materialet som skal inn i hakkelsmaskinen fra hoyre side i traktens innfallingsapning.
Kutt opp grener, kvister og ved straks de er kappet av:
- dette hakkelsmaterialiet blir meget hardt Near det torker, den maksimale kvisttykkelsen som kan bearides blir derfor mindre.
Fjern sideskuddene på grener med mange kvister.
Bearbeid hageavfall som bade er meget vannholdig og somlett klistrer seg sammen.
- Bearbeid hage- og kjokkenavfall som bade er meget vannholdig og somlett klistrer seg sammen.
Ikke la det hakkslete materialet bli for hoyt i omraret til utkastningskanalen. Dette kan fore til at hakkslet material forstopper utkastningskanalen. Dermed kan det komme til tilbakeslag av materialet gjennom pafyllingsapningen. Tøm opposamlingskurven regelmessig.
Rengjør pafyllingsapningen og utkastningskanalen nr apparatet er forstoppet. Slå Först av motoren, og trekk ut nettpluggen.
Pase at greens maksimale diameter som skal bearbeides, tilsvarende diameteren på apparatet ditt, ikke overskrides (se "Tekniske data"). Alt etter tretype og friskhet, kan den maksimale kvistykkelsen som kan bearbeides blir forringes.
Kvernen trekker automatisk inn det som skal kvernes uten rykk pga. den sakte bevegelsen.
Automatisk omkoping av dreieretningen: derson maskinen plutselig blokkeres, kan skjaerevalsen skifte omdreiningsretning og i dette tilfelle skyve materialet tilbake
slà av maskinen.
- vent til skjaerevalsen er kommet til stilstand.
- start maskinen igjen og bruk materiale som er lettere Å behave.

Bryteren som er utstyrt med motorens sikkerhetsbryter, slas automatisk av nár apparatet overbelastes:
slā pá hakkelsmaskinen igjen etter ca. fem minutter
- les avsnitt "Mulige driftsforstyrrelser", dersom apparatet ikke kan slås på igjen etter davon ventetiden
- Skjarevalsen og etterskjæringsplaten er bruksdeler, men har likevel en levetid på flereår ved normal bruk
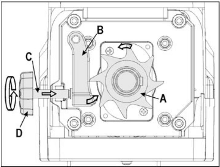
Innstilling av mellomtappskiven
Mellomtappskiven (B) kan settes inn i skjarevalsen (A)uten klaring. Minst mulig avstand bør holds for a sikre effektiv drift.
Myke materialer aller våte grener kan rives i stykker i stedet for Å kuttes. Et motstål som har vært iBruk lenge og er slitt kan ha samme virkning.
Avstandsjustering.
Koble inn apparatet. For innstilling av avstanden, vrir du innstellingsknappen (D) mot høyre, sik at skruen (C) beveger seg til skjæevalsen. Drei helt til det kommes fint metallspon ut av utkasteråpningen.

Vedlikehold og pleie
För vedlikeholdsarbeidet kan begynne:
- stans motoren og trekk ut nettstikket.
bruk vernehansker for a unnga skader.
Skjæverktøyet stanser ikke med en gangær man slær av apparatet. Vent med á foreta reparasjoner eller vedlikehold til alle delene har stanset helt.
Pass på ä fjerne verktøy og skrutrekkere etter at du har gjen-nomfør vedlikehold eller raparasjoner.
- Hakkelsmaskinen er i stor grad vedlikeholdsfri. Følg punktene under for verdibevaring og lang levetid:
Luftespor skal holds fri og rene.
- Kontroller festeskruene (evt. trekk til).
- Rengjør apparatet inn- og utvendig nár du har brukt hakkelsmaskinen.
Benyttd aldri rengjørings- ell er Isningsmidler. Det kan pafore apparatet skader som ilke kan repareres.
Kunststoffdeler kan angripes av kjemikaliene.

- Kvernen skal ikke rengjores med rennende vann eller høytrykkspyler.
- Behandle blanke metalldeler med en miljøvennlig, biologisk nedbrytbar sprøyteolje etter hvert bruk for a beskytte apparatet mot korrosjon.
- Skjaerevalsen og etterskjæringsplaten er bruksdeler, men har likevel en levetid på flereår ved normal bruk.
Før haver retting av feil
-Slaavapparatet
- Vent til apparatet stär helt stille
Trekk ut nettpluggen
| Forstyrrelser | Mulig ørsak | Tiltak |
| Motoren starter ikke | Ikke koblet til nettet | Kontroller sikringen. |
| Tilkoblingsledning er defekt | Kontroleres av fagmann (elektriker). | |
| Maskinen er overbelastet (motorvernet ble utløst) | La apparatet avkjøles.Trykk på1. tilbaskestillingsknappen (motorvern)2. den grønne knappen ➀ for Å slå det på igjen. | |
| Oppsamlingskurven er løst (sikkerhetsfrakoblingen ble utløst) | Lås oppssamlingskurven | |
| Motoren durer, men starter ikke | Skjærevalsen er blokkert | Slå av apparatet.Kople dreieretningsomkopleren i stillingen ↑. Slå på apparatet intil blokkeringen er opphevet. Slå av apparatet igjen. Kople dreieretnings-omkopleren tilbake i stillingen ↓. |
| Kondensator defekt | Ta maskinen til et autorisert serviceverksted for reparasjon. | |
| Det som skal kvernes blir ikke trukket inn | Skjærevalsen går bakover. Bryterstillingen er/DDi kritig | Slå av apparatet og omstill dreieretnings-omkopleren. |
| Hakkelsmaterialet er fastklemt i trakten (materialko) | Slå av apparatet. Kople dreieretningsomkopleren i stillingen ↑. Slå på apparatet, slick at hakkelsmaterialet kan frigjøres,evt. fjerne urenheter.Slå av apparatet igjen. Kople dreieretnings-omkopleren tilbake i stillingen ↓. | |
| Det som skal kvernes er for mykt eller for vätt | Skyv inn med en gren og la det kvernes. | |
| Slitasje på skjærevalsen | Still mellomtappskiven som beskrevet under "Innstilling av mellomtappskiven". Skift ut skjærevalsen his den er nedslitt. | |
| Hakkelsmaterialet skjæres ikke godt nok over | Motkniven er/DDi kritig innstilt | Innstill motkniven som beskrevet i "Innstilling av motkniven" |
| Maskinen starter, men den lages ved liters belastnin o slås av via motorbeskyttelsensbryteren. | Skjøteledningen er for lang eller har for lite tverssnitt. Stikkontakten for langt unna hovedtilkoblingen, for lite tversnitt på tilkoblingsledningen. | Sjøteledning minst 1,5 mm2, maks. 25 m lang. Ved lengre ledning tverrnitt m inst 2,5 mm2. |
Tekniske data
| Modell | 2300 | 2500 | 2800 | 3000 |
| Type | AH 623 | AH 620 | AH 621 | AH 622 |
| Motor | vekSELstrømsmotor 230 V, 50 Hz, 2800 / 40 min-1 | |||
| Motorytelse P1 S6 - 40 % | 2200 W | 2500 W | 2800 W | 3000 W |
| På-/Avknapp med | overbelastningsbeskyttelse, skjær- og reservefunksjon, nullspenningsutløser | |||
| Vekt | 29 kg | 29,5 kg | 30 kg | 30,5 kg |
| Lydtrykknivå LPA(målt i henhold til direktivet 2000/14/EF) | 70,3 dB (A) | 70,3 dB (A) | 70,3 dB (A) | 70,3 dB (A) |
| Målt lydeffektnivå LWA(målt i henhold til dirktivet 2000/14/EF) | 90,3 dB (A) | 90,3 dB (A) | 90,3 dB (A) | 90,3 dB (A) |
| Garantert lydeffektnivå LWA(målt i henhold til direktivet 2000/14/EF) | 93 dB (A) | 93 dB (A) | 93 dB (A) | 93 dB (A) |
| Maks. fremdiameter som kan bearbeides(gjelder kun for nyskåret tre) | Ø max. 40 mm | Ø max. 40 mm | Ø max. 42 mm | Ø max. 42 mm |
| Beskyttelsesklasse | ||||
| Beskyttelsesart | IP X4 | |||
| NettsikringSveitsUK | 16 A treg 10 A treg 13 A treg 13 A treg 13 A treg 13 A treg 13 A treg 13 A treg 13 A treg 13 A treg 13 A treg 13 A treg 13 A treg 13 A treg 13 A treg 13 A treg 13 A treg 13 A treg 13 A treg | 16 A treg 13 A treg 13 A treg 13 A treg 13 A treg 13 A treg 13 A treg 13 A treg 13 A treg 13 A treg 13 A treg 13 A treg 13 A treg 13 A treg 13 A treg 13 A treg 13 A treg | ||
EnkelManual