LHF 2800 - Tuinversnipperaar ATIKA - Gratis gebruiksaanwijzing en handleiding
Vind de handleiding van het apparaat gratis LHF 2800 ATIKA in PDF-formaat.
Gebruikersvragen over LHF 2800 ATIKA
0 vraag over dit apparaat. Beantwoord die u kent of stel uw eigen vraag.
Stel een nieuwe vraag over dit apparaat
Download de handleiding voor uw Tuinversnipperaar in PDF-formaat gratis! Vind uw handleiding LHF 2800 - ATIKA en neem uw elektronisch apparaat weer in handen. Op deze pagina staan alle documenten die nodig zijn voor het gebruik van uw apparaat. LHF 2800 van het merk ATIKA.
GEBRUIKSAANWIJZING LHF 2800 ATIKA
Geluidsarme walshakselaar
Bedieningshandleiding - Veiligheidsinstructies
Reserveonderdelen
U mag de machine Niet gebruiken voordat u deze
gebruiksaanwijzing heeft gelezen, alle voorschriften—heft opgevolgd en de machine als voorgeschreveen—heft gemonteerd.
Bewaar deze bedieningsaanwijzing voor alle toekomstige toepassingen.
Inhoud
| EG-verklaring van overeenstemming | 81 |
| Leveringsomvang | 81 |
| Beschrijving van het apparaat | 81 |
| Bedrijfstijden | 82 |
| Symbolen apparaat | 82 |
| Symbolen in de gebruiksaanwijzing | 82 |
| Reglementaire toepassing | 82 |
| Restrisico's | 82 |
| Veiligheidsinstructies | 83 |
| Montage | 84 / 137 |
| Ingebruikname | 84 |
| Werken met de tuinhakselaar | 85 |
| Instellen van het tegenmes | 86 |
| Onderhoud en verzorging | 86 |
| Storingen | 87 |
| Technische gegevens | 88 |
| Garantie | 88 |
| Reserveonderdelen | 131 |
EG-verklaring van overeenstemming
volgens de richtlijn van de raad 98/37 EG
ATIKA GmbH & Co.
verklaren,uitsluitende verantwoordelijkheid, dat het product
haarop deze verklaring betrekking heeft, voldoet aan de desbetreffende veiligheids- en gezondheidseisen van de richtlijn 98/37/EG, alsmede aan de eisen van de andere desbetreffende richtlijnen
Conformiteit-beoordeling-procedures: 2000/14/EG - Aanhangsel V
Gemeten geluidsniveauu LwA 90,3 dB (A)
gegarandeerd geluidsniveau LwA 93 dB (A)

Ahlen, 26.06.2008
A. Pollmeier, bedrijfsleiding
Leveringsomvang
Controller na het uiltpakken de inhoud van de verpakking op:
Aanwezigheid van alle onderdelen
Eventuele transportschade
Meld möglich onvolkomenheden direct aan uw leverancier. Latere reclamations worden nicht in behandeling genomen.
1 voorgemonteerd apparatus
1nderstel
2WIelen
2 wielafdekkingen
2standvoetjes
1 verpakking moeren
1 opvangbak
1 gebruiksaanwijzing
Beschrijving van het apparatus

A. Trechteropening voor hakselmateriaal
B. In-/uitschakelaar
C. Terugzetknop / Motorveiligheid
D. Handgreep
E. Netstekker
F. Opvangbakvergrendeling
G. Draairichtingsomschakelaar
H. Bovenkant van de behuizing
I. Instelknop voor snijwals
J. Opvangbak
K. Onderstel met wielen en standvoetjes
Bedrijfstijden
Houdt alstublieft voor ingebruikname van het toestel rekening met de landelijkke (regionale) voorschriften omtrent de lawaaibescherming.
Symbolen apparatus

Lees voor de inbedrijfstelling de bedieningshandleiding en veiligheidsvoerschriften en neem deze in acht.

Schakel de motoruit voor reparatie-,onderhouds-enreinigingswerkzaamheden en haalde netstekker uithetcontactdoos.

Gevaar door
wegslingerende
delen bij lopende
motor - Niet
betrokken
personen, alsook
huis- en nuttige

Let op voor roterende messen. Handen en voeten Niet in de openingen honden terwijl de machine draait.
dieren uit de gevaarszone verwijderd houden.

Oog- en geluidsbescheming dragen.

Veiligheidshandschoenen dragen.

Hakselgoed wordt gesneden

Hakselgoed wordt
niet gesneden

Opvangbak vergrendeld
Opvangbak ontgrendeld

Elektrische toestellen behoren nicht in de huisafval. Toestellen, toebehoren en verpakking maar een milieuvriendelijk recycling brengen.
Symbolen in de gebruiksaanwijzing

Dreigend gevaar of gevaarlijke situatie. Het nicht opvolgen van deze aanwijzingen kan schade of verwondingen tot gevolg hebben.

Belangrijke aanwijzing voor het vakkundig gebruik. Het Niet opvolgen van deze aanwijzingen kan storingen aan de machine veroorzaken.

Gebruikersaanwijzingen. Deze aanwijzingen helpen u de machine optimaal te benutten.

Montage, gebruik en onderhoud. Hier worden precies uitgelegd wat u moet去做.
Reglementaire toepassing
Bij het gebruik conform de voorschriften hoort het hakselen van
- allerhande takken tot max. diameter (naargelang het houtsoort en de versheid)
- verwelkte, vochtige, reeds meertere Damen opgeslagen tuinafval awisselend met de takken.
Het hakselen van glas, metaal, kunststofdelen, plastic zakken, stenen, textielafval, wortelen met aarde, afval zonder vaste consistentie (bijv. keukenafval) wordenuitdrukkelijk uitgesloten.
De tuinhakselaar is geschikt voor privé gebruik in huis- en hobbytuin.
Als hakselmachine voor de/private huis- of hobbytuin worden zulke toestellen aangezien die Niet in openbare plantsoenen, parks, recreatieplaatsen alsook in het landbouwbedrijf en de bosbouw worden ingezet.
Tot de reglementaire toepassing behoort ook het opvolgen van de gebruiks-, onderhouds- en reparatievoorschriften en het opvolgen van de veiligheidsvoorschriften van de fabrikant.
Alle verdere toepassingen gelden als onreglementair. Voor de hieruit voortvloeieende schade is de fabrikant nicht aansprakelijk - de aansprakelijkheid is alleen voor de gebruiker.
Eigenmachtige verbouwingen aan de machine sluiten een aansprakelijkheid van de fabrikant voor hieruit voortvloeijeende schade van eenieder soort UIT.
Deze machine mag alleen voorbereidt, gezrukt en onderhoven worden door Personen die met de machine vertrouwd zijn en goed ingelicht�n over de risico's. Reparations mogen alleen door de fabrikant of geauthoriseerde werkplaatsen uitgevoerd worden.
Restrisico's
Ook bij het gebruik volgens de voorschriften zijn er op grond van de constructie voor de toepassing van deze machine nog een,aantal restricties.
De restrictions können geminalisierung worden wanner de veiligheids-, gebruiks-, gezondheid- en onderhoudsvoorschriften nauwkeurig in acht genomen worden.
Consideratie en voorzichtigheid verminderen het risico van personenetgetsels en beschadigingen.
- Gevaar voor letsels aan vingers en handen, wanner u met de hand door een opening grijpt en in aanraking komt met de roterende messen.
- Gevaar voor letsels aan vingers en handen, bij montage- en reinigingswerkzaamheden aan de messen.
- Verwonding door wegslingerend hakselgoed in het bereik van de trechter.
- Gevaar door stroom door het nicht juist aansluiten van de aansluitdraten.
- Het aanraken van onder spanning staande delen bij geopende elektrische delen.
- Verminding van het gehoor bij langdurig werkken zonder gehoorbescherming.
Verder kann er ondanks alle genomen maatregelen nicht zichtbare restrictions bestaan.
Veiligheidsinstructies
Lees en volg de onderstaande aanwijzingen, de voorschriften ter voorkoming van ongevallen en de algemene veiligheidsvoorschriften op, om u zich en anderen gegen verwondingen te beschermen.
①
Geef de veiligheidsvoorschriften aan alle personen, die met deze machine werken, door.
i
Bewaar deze veiligheidsvoorschriften goed.

Reparaties aan elektrische onderdelen van de machine要去en door de fabrikant of een door hem aangewezen persoon worden uitgevoerd.
Maak u voor gebruik met het apparaat vertrouwd, met behulp van de bedieningshandleiding.
- Gebruik de machine alleen waar hij voor gemaakt is (zie "Reglementaire toepassing" en "Werken met de tuinhakselaar").
- Zorg voor een stabiele en uitgebalanceerde houding. Strek u niet vooruit. Ga bij het inwerpen van het hakselmateriaal op bezelfde hoogte met het toestel staan.
- Wees oplettend. Let op dat, wat u doet. Ga met verstand te werk. Gebruik het toestel Niet, wanner u moe bent of onder de invloed van drugs, alcohol of medicamenten staat. Een moment van onoplettendheid bij het gebruik van het toestel kan tot ernstige verwondingen leiden.
- Tijdens het werkken met deze machine dieren veiligheidsbril, werkhand Schoenen en gehoorbeveiliging te worden gedragen.
Draag de juiste werkkleding.
Nauw sluitende kleding dragen.
Geen schoenen met gladde zolen dragen.
- De bedienende persoon is binnen het arbeitsbereik van de machine verantwoordelijk ten opzichte van derden.
- Kinderen enjongeren van minder dan 16aar mogen het toestel Niet bedieren.
- Kinderen dieren uit de buurt van het apparaat te worden gehonden.
- Zet het toestel nooit aan, verwijl Niet betrokken personen in de buurt zich.
Laat de machine nooit zonder toezicht. - Zorg dat uw werkomgeving in orde is. Rommel kan ongevallen veroorzaken.
- Neem een werkpositie in, zijdelings ofTyler het apparaat. Ga nooit in het bereik van de uitwerpopening staan.
- Nooit uw hand in de vul- of uitworpopening steken.
- Blijf met uw gezicht en uw lichaam UIT de buurt van develulopening.
- Overbelast de machine nicht. U werkt better en zeker met de juiste belasting van de machine.
- Werk alleen met alle veiligheidsvoorzieningen op de juiste wijze aangebracht.
- Verander het toerental van de motor Niet, want de regelaar regelt de veilige maximum werkslelheid en beschermt de motor en alle draaiende delen gegen schade door te hoge slelheid.
- Het apparatus mag Niet zonder de vultrechter geleukt worden.
- Het toestel resp. delen van het toestel zich veranderen.
- Het toestel nicht met water afspatten. (Gevarenbron elektrische stroom).
Let op de omgevingsinvloeden.
- Gebruik de machine nicht in een vochtige of native omgeving.
- Machine nicht in de regen latent staan of in de regen werkken.
-
Werk alleen bij toereikend zich, zorg voor een goede verlichting.
-
Om letsel aan vingers te vermijden, bij montage en/of reini-ging werkhandschoenen dragen.
Schakel de machine uit en neem de steker uit het stopcontact
bij:
- onderhouds- en reinigingswerkzaamheden
- bij storingen
- controle van de aansluitleidingen, of dezeverstrengeld of beschadigd zijn
- transport
- reparatiewerkzaamheden
-
het verlaten van de machine (ook voor een korteijd)
-
Bij verstoppingen in de ingooi en uitwerp van de machine schakel de motor uit en neem de netsteker uit het stopcontact, alvorens u materiaalresten in de ingooi of uitwerp verwijdert.
-
Onderzoek de machine op eventuele beschadigingen.
-
Voordat de machine verder worden gebrukt,要去 zorgvuldig worden onderzoucht of de beschermingsvoorzieningen enlicht beschadigde onderdelen fouloos en volgens de voorschriften functioneren.
- Controller of alle bewegende delen van de machine goed functioneren en nicht klemmen of beschadigd zijn. Alle delen要去en juist gemonteerd zijn en goed functioneren om de machine correct te latent werden.
- Beschadigde bescherminrichtingen en -delen moeten, indien noodzakelijk, door een erkende reparatiewerkplaats gerepareerd of verwisseld worden.
-
Beschadigde of onleesbare veiligheidsstickers dienen te worden verrangen.
-
Bewaar de machine in een droge en afgesloten ruimte, buiten het bereik van kinderen.

Elektrische veiligheid
- De aansluitkabel要去 volgens IEC 60245 (H 07 RN-F) zijn, met een draad doorsnede van minstens:
1,5 mm² bij een lenghte tot 25 m.
2.5 mm² bij een lenghte vanaf 25 m.
- Lange en dunne aansluitkabels zorgen voor een spanningsverlies. De motor bereikt zijn maximaal vermogen Niet meer, de werking van het toestel worden gereduceerd.
- Stekker en aansluitdozen aan aansluitleidingen要去en uit rubber, zacht pvc of een ander thermoplastisch materiaal van bezelfde Mechanische vastheid zijn of met dit materiaal zich gecoat.
- De stekkervoorziening van de aansluitleiding要去 gegen spatwater beveiligdijken.
- Let er bij het leggen van de aansluitkabel op dat deze nicht stoort,bekneld raakt, geknikt worden en de steekverbinding Niet nat worden.
- Wikkel bij gebruik van een kabeltrommel de kabel geheel af.
-
Gebruik de kabel Niet voor doeleinden waarvoor hij nicht geschikt is. Bescherm de kabel gegen但它, olie of scherper Randen. De steker Niet met de kabel uit het stopcontact trekken.
-
Controller de verlngkabel regelmatig op beschadigungen en verrang hem als hij beschadigd is.
- Gebruik geen defecte kabels.
- Gebruik alleen toegestane en gemerkte verlengkabels.
Maak geen geknutselde elektrische aansluitingen.
Veiligheidsvoorzieningen nooit overbruggen of buitenwerking stellen. - Het apparatus via een veiligheidsschakelaar (30 mA) aansluten.



Elektrische aansluitingen of reparaties mogen alleen dooreen erkend bedrijf of een erkende reparatiewerkplaatsuitgevoerd worden. Deplaatselijke voorschriften要去npogevolgd worden.
Reparaties aan andere delen van de machine mogen alleen door de fabrikant of een door hem erkende werkplaatsuitgevoerd worden.
Alleen de originele toebehoren en onderdelen gebruiken. Bij het gebruik van nicht originele onderdelen konnen risico's voor de gebruiker ontstaan. De fabrikant kan Niet aansprakelijk gesteld worden voor ongevalten hierdoor ontstaan.
Montage
zie blz. 137

Ingebruikname
- Overtuigt u zich er van, dat het apparaat compleet en volgens voorschrift is gemonteerd.
- Plaats de hakselmachine voor het gebruik op een horizontale en stevige ondergrond (kiepgevaar).
- Plaats het apparaat zich op een geplaveide of steengruisondergrond.
- Gebruik het toestel alleen in open lucht. Houd afstand (minimum 2 m) van een muur of een ander onbuigzaam voorwerp.
-
Controller voor elk gebruik:
-
de aansluitkabels op beschadiging
gebruiq geen beschadigde aansluitkabels. - de machine op eventuele beschadigingen (zie veiligheidsinstructies)
of alle schroeven goed zichn vastgedraaid
Aansluting op het net
- Vergelijk de op het typeplaatje van de machine vermelde spanning, bv 230V met de netspanning en sluit de machine aan het desbeteffend en reglementair stopcontact aan.
- Gebruik een verlengkabel met voldoende diameter
Beveiling
| Zwitserland | UK | ||
| 2300 W | 16 A traag | 10 A traag | 13 A traag |
| 2500 W | 16 A traag | 13 A traag | |
| 2800 W | 16 A traag | 13 A traag | |
| 3000 W | 16 A traag | 13 A traag |
Netimpedantie
Bij ongunstige netconditions kan het gedurende het inschakelproces van het toestel tot korte spanningsdalingen komen die andere toestellen können belemmeren (bv knipperen van een lamp).
Er zijn geen storingen te verwachten, wanneer de maximale netimpedanties worden opgevolgd.
| Vermogensopname P1 (W) | Netimpedantie Zmax (Ω) |
| 2300 | 0,22 |
| 2500 | 0,22 |
| 2800 | 0,22 |
| 3000 | 0,22 |
In-/uitschakelaar
Gebruik geen toestel, waar bij zich de schakelaar Niet LAST inn uitschakelen. Beschadigde schakelaars要去en onmiddelijk door de klantenservice worden gerepareerd of worden verrangen.


Inschakelen
Druk op de groene knop ①.
Beveiling gegen opniew aanlo- in bij stroomuitval
Bij stroomuitval schakelt het toestel automatischuit (overbelastingsschakelaar).
Motorveiligigkeit
De motor is uitgerust met een veiligheidsschakelaar en schakelt bij overbelasting zichstandig UIT. Druk
- terugzetknop (motorveiligheid)
- groene knop () om opniew in te schakelen.
Draairichtingsomschakelaar
Activeer de draairichtingsomschakelaar alleen bijuitgeschakelde hakselaar.
Positie
Het materiaal wordt door de snijwals ingetrokken en gehakseld.
Positie
Het mes werkst in omgekeerde richting en ingeklemd materiaal komt vrij.
Nadat u de draairichtingsomschakelaar in de positie T heeft gebracht, houdt u de groene knop van de in-/uitschakelaar ingedrukt. De snijwals worden op de omgeekerde richting geschakeld. Wanner u de in-/uitschakelaar loslaat, blijft de hakselaar automatisch staan.
Tips
Grote voorwerpen of stukken hout worden na meermalige activering zowel in de snij- alsook in de vrijgaverichting verwijderd.
- Gebruik een stopper of een haak voor het verwijderen van geblokkeerde voorwerpen uit de trechter of deuitworpopening.

Wacht steeds tot de hakselaar stilstaat, voor u deze vieuw inschakelt.
Opvangbak
De geintegreerde opvangbak is uitgerust met een vergrendelingsgreep en een veiligheidsuitschakeling.

De opvangbak is vergrendeld en vast verbonden met het apparaat.

De opvangbak is ontgrendeld en van het apparaat losgemaaakt. Het apparaat kan nicht worden ingeschakeld.
1 Als de opvangbak bij ingeschakeld apparaat worden ontgrendeld, worden het apparaat automatisch uitgeschakeld.
Werken met de tuinhakselaar
- Neem een werkpositie in, zijdelings ofchter het apparaat. Ga nooit in het bereik van de uitwerpopening staan.
Langer material, dat uit het toestel uitsteekt, zou terug kuren springen, wanner het door de messen worden ingetrokken! Veiligheidsafstand aanhonden! - Nooit uw hand in de vul- of uitworpopening steken.
- Blijf met uw gezicht en uw lichaam uit de buurt van develulopening.
- Breng uw handen, andere lichaamsdelen en kleding Niet in de vulbuis, het uitwerpkanaal of in de buurt van andere beweegbare delen.
-
Controller voor inschakenen van het apparatus
-
of er geen hakselresten in de vulopening aanwezigহn.
of de opvangbak is vergrendeld.
Kantel het toestel Niet met lopende motor.
- Let op bij het vullen, dat er geen metaal, stenen, flessen of andere Niet verwerkbare voorwerpen in de vultrechterkommen.
-
Wanner er vreeimde voorwerpen in de vultrechter komen of het apparaat buitengewone geluiden of trillingen vertoont, schakel het apparaat dan onmiddelijk uit en LAST het tot stilstand komen. Haal de stekker uit de contactdoos en voer de volgende punten uit:
-
controller de schade
- verwang of reparateer beschadigde delen
- controller het apparaat, schroef losese delen vast.
U mag het apparaat nicht repareren wonneer u daartoe nicht bevoegd bent.

Wat kan ik hakselen?
Ja:
- allerhande takken tot max. diameter, naargelang de houtsoort en de versheid
- verlepte, vochtige, reeds meerdere dagen oude tuinafval.
Alleen aufwisseld met takken verwerken.
Nee:
- glas, metaaldelen, kunststoffen, plastic zaken, stenen, stofaval, wortelen met aarde
- afval zonder vaste consistentie, b.v. keukenafval

Speciale aanwijzingen voor het hakselen:
Vul het te hakselen materiaal steeds vanop de rechterzijde in de vulopening van de trechter.
Maak takken, twijgen en hout vlak na het snijden Klein
- dit hakselgoed worden tijdens het uitdrogen zeer hard, de

maximum te verwerken takdiameter worden hierdoor kleiner.
Verwijder zijtakken bij takken met veel twijgen.
Verwerken van zeer waterhoudende, aan elkaar plakkend tuinafval
- dit afwisselend met houten hakselgoed Klein make on om een verstopping van het apparaat te vermijden.
Laat het gehakselde materiaal in de zone van de uitwerpopening Niet te zeer ophopen. Dit kan tot gevolg hebben, dat reeds gehakseld materiaal het uitwerpkanaal verstopt. Dit kan leiden tot een terugslag van het materiaal door de vulopening. Maak de opvangbak regelmatig leeg.
Reinig de vulopening en het uitwerpkanaal wonneer het toestel verstopt is. Schakel hiervoor eerst de motor uit en haal de stekker uit de contactdoos.
Let u er op dat bij uw apparaat alleen de max te verwerkende takmiddelijn bijgehonden wordt (zie "Technische gegevens"). Alaar soort en frisheid van het hout kan zich de maximaal te verwaren takdoorsnede reduceren
Het snijssystem trekt het materiaal zichstandig en dankzij de langzame beweging van de wals gelijkmatig�n binnen.
Automatische omschakeling van de draairichting: Bij plotseling blokkeren van het apparaat kann de draairichting van de snijwals worden veranderd en kann het te hakselen materiaal teruugschuiven.
- apparaat uitschakelen
- wachtent tot de snijwals stilstaat
- apparaat opniew inschakelen en eenvoudiger te verwerken materiaal gebruiken.
Bij overbelasting van het apparaat schakelt de schakelaar die met een motorbeveiliging is uitgerust vanzelfui
schakel de hakselmachine na ca. 5 minuten opniew aan
- wonneer het apparaat na deze wachtijd Niet kan worden ingeschakeld, dient u onder het punt „Mogelijkke storingen" na te kijken.
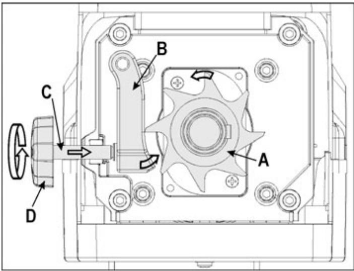
Instellen van het gegenmes
Het tegenmes (B) kan aan de snijwals (A) zicher spelimg worden ingesteld. Een zo Klein möglichke afstand dient voor een efectieve werkig te worden aangehouden.
Zacht materiaal of native takken konnen splijten inplaats van te worden gesneden. Ook een meervoudige activering van een versleten tegenmes kan tot dit probleem leiden.
Instellen van de afstand.
Schakel het toestel in.
Op de rechtzerzijde van de behuizing bevindt zich een instelinrichting. Draai de instelknop (D) maar rechts om de afstand in te stellen. Door deze handeling beweegt de schroef (C) in derichting van de snijwals. Schroef zolang, tot er fijn aluminiumspaandersuit de uitworpopening vallen.

Onderhoud en verzorging
Voor iedere onderhoud:
- moet de motor uitgezet worden en de stekker UIT het stopcontact verwijderd worden
- om een terugloop en verwondingen te voorkomen is het dragen van veiligheidshandschoenen aan te bevelen.
Het snijwerktuig staat na het uitschakelen nicht meteen stil.
Wacht alvorens u met de reparatie of het onderhoud begint
tot alle delen tot stilstand zich gekomen.
Let erop, werktuig en schroefsleutels na onderhouds- of reparatiewerkzaamheden wee ter verwijderen.
- De tuinhakselaar is over het algemeen onderhoudsvrij. In het belang van het behoud van de waarde en een lange levensduur dient met het volgende rekening te worden gezchoolden:
ventilatiegleuven open en schoon houden.
- bevestigingschroeven controlleren (indien nodig vastdraaien)
- na ieder gebruik, het apparaat van binnen en van buiten goed te reinigen.
Gebruik voor de reiniging van uw toestel slechts een warmer, vochtige doek en een zachte borstel.
Gebruik nooit reinigings- of oplosmiddelen. Zij zonden onherstelbare schade aan het toestel kunden veroorzaken. De kunststoffdelen können door chemische producten worden aangetast.

- de hakselmachine nicht met stromend water of met hogedrukreinigers reinigen.
- blanke metalen delen na ieder gebruik ter bescherming gegen corrosie met een milieuvriendelijkke, biologisch af te breken spreoiie behandelen.
- snijwals en nasnjplaat় aan slijtage onderhevige onderdelen. Bij normala gebruik en bijstelling volgens voorschrift gaan zich echter meerere jaren mee.

Voor het verhelpen van iedere storing
toestel uitschakelen
Wachten tot het apparaat stilstaat
- stroomtoevoer onderbreken
| Storing | Mogelijk oorzaak | Oplossing |
| Motor doet het Niet | Geen netspanning | Zekering controleren |
| Aansluitkabel defect | Laten controleren (elektromonteur) | |
| Toestel overbelast (motorveiligheid werk geactiveerd) | Toestel latent afkoelen.Druk op de1. terugzetknop (motorveiligheid)2. groene knop①om opnieuw in te schaken. | |
| Opvangbak ontgrendeld(veiligheidsuitschakeling opvangbak werk geactiveerd) | Vergrendel de opvangbak② | |
| Motor bromt, maar doet het Niet | Snijwals geblokkeerd | Toestel uitschaken.Schakel de draairichtingsschakelaar in de positie↑Toestel inschaken tot de blokkering is verwijderd.Toestel waar uitschaken.Zet dedraairichtingsschakelaar terug in de positie↓. |
| Condensator defect | Apparaat ter reparatie�de fabrikant of de door hem genoemde firma sturen. | |
| Hakselmateriaal worden nicht�binnen getrokken | De snijwals looptchroneruit.Schakelaarpositie Niet correct. | Toestel uitschaken en draairichtingsomschakelaaromschaken. |
| Material zit klem in de trechter(materiaalopstuwing) | Toestel uitschaken.Schakel de draairich-tingsomschakelaar in de positie↑Toestelinschaken, zDat het hakselmateriaaal worden vrijgeven,evt. verontreinigingen verwijderen.Toestel waar uitschaken. Om verder te werken schakelt u de draairichtingsomschakelaar meer in de positie↓terug. | |
| Te zacht of te nat materiaal | Met een tak doorschuiven en hakselen | |
| Snijwals versleten | Tegenplaat zoals bij „Instellen van de gegenplaat" is beschreiben instellen, bij sterke slijtage snijwalservangen. | |
| Material worden nicht doorgesneden. | Tegenmes Niet voldoende ingesteld. | Tegenplaat zoals bij „Instellen van de gegenplaat" is beschreiben instellen. |
| Apparaat begint wel te lopen,meerblokkeert bij geringeblasting en schakelt via delmotorveiligheidsschakelaar uit. | Verlengingskabel te lang of te dun止contact te ver van de hoofdaan-sluiting verwijderd en te dunne aan-slutileidling. | Verlengingskabel minstens 1,5 mm², max. 25 meterlang. Bij langere kabels doorsnede minstens 2,5mm². |
Technische gegevens
| Model | 2300 | 2500 | 2800 | 3000 |
| Type | AH 623 | AH 620 | AH 621 | AH 622 |
| Motor | Wisselstroommotor 230 V, 50 Hz, 2800 min-1 | |||
| Vermogen P1 S6 - 40 % | 2300 W | 2500 W | 2800 W | 3000 W |
| Toerental snijwals | 40 min-1 | |||
| Aan-/uitschakelaar met | beveiliging gegen overbelasting; snij- en weiteruitfunctie; nulspanninginitiator | |||
| Gewicht | 29 kg | 29,5 kg | 30 kg | 30,5 kg |
| Geluidsdrukpegel LPA(volgens richtig 2000/14/EG) | 70,3 dB (A) | 70,3 dB (A) | 70,3 dB (A) | 70,3 dB (A) |
| gemeten geluidsniveau LWA(volgens richtig 2000/14/EG) | 90,3 dB (A) | 90,3 dB (A) | 90,3 dB (A) | 90,3 dB (A) |
| gegarandeerd geluidsniveau LWA(volgens richtig 2000/14/EG) | 93 dB (A) | 93 dB (A) | 93 dB (A) | 93 dB (A) |
| max. te verwerkende takmiddellij (geldt alleen voor het snijden van vers hout) | Ø max. 40 mm | Ø max. 40 mm | Ø max. 42 mm | Ø max. 42 mm |
| Veiligheidsklasse | I | |||
| Veiligheidssoor | IP X4 | |||
| Netzekering | 16 A traag | 16 A traag | 16 A traag | 16 A traag |
| Zwitserland | 10 A traag | -- | -- | -- |
| UK | 13 A traag | 13 A traag | 13 A traag | 13 A traag |
Garantie
Houdt u alstublieft rekening met de ingesloten garantieverklaring.
Purtati manusi de protectie.

SimpelGids