LHF 2800 - Gartenhäcksler ATIKA - Kostenlose Bedienungsanleitung
Finden Sie kostenlos die Bedienungsanleitung des Geräts LHF 2800 ATIKA als PDF.
Benutzerfragen zu LHF 2800 ATIKA
0 Frage zu diesem Gerät. Beantworten Sie die, die Sie kennen, oder stellen Sie Ihre eigene.
Eine neue Frage zu diesem Gerät stellen
Laden Sie die Anleitung für Ihr Gartenhäcksler kostenlos im PDF-Format! Finden Sie Ihr Handbuch LHF 2800 - ATIKA und nehmen Sie Ihr elektronisches Gerät wieder in die Hand. Auf dieser Seite sind alle Dokumente veröffentlicht, die für die Verwendung Ihres Geräts notwendig sind. LHF 2800 von der Marke ATIKA.
BEDIENUNGSANLEITUNG LHF 2800 ATIKA
Leise-Walzenhäcksler
Bedienungsanleitung - Sicherheitshinweise - Ersatzteile
Silent Shredder
Sie)durfen das Gerät nicht in Betriebnehmen, be-diese Bedienungsanleitung gelesen, alle angegebe-vereise beachtet und das Gerät wie beschrieben monen.
Anleitung für künftige Verwendungen aufbewahren.
Inhalt
| EG-Konformitätserklärung | 1 |
| Lieferumfang | 1 |
| Beschreibung des Gerätes | 2 |
| Symbole Gerät | 2 |
| Symbole Bedienungsanleitung | 2 |
| Betriebszeiten | 2 |
| Bestimmungsgemäß Verwendung | 2 |
| Restrisiken | 2 |
| Sicherheitshinweise | 3 |
| Zusammenbau | 4 / 137 |
| Inbetriebnahme | 5 |
| Arbeiten mit dem Gartenhängsler | 6 |
| Einstellen des Gegenmessers | 7 |
| Wartung und Pflege | 7 |
| Störungen | 8 |
| Technische Daten | 9 |
| Garantie | 9 |
| Ersatzteile | 130 |
EG-Konformitätserklärung
entspruchend der Richtlinie 98/37 EG
ATIKA GmbH & Co. KG
Schinkelstraße 97, 59227 Ahlen - Germany
erklär in alleiniger Verantwortung, dass das Produkt
Gartenhacksler Typ AH 620, AH 621, AH 622, AH 623
auf das sich diese Erklärung bezieht, den einschädigigen grundlegenden Sicherheits- und Gesundheitsanforderungen der Richtlinien 98/37/EG, sowie den Anforderungen der anderen einschädigigen Richtlinien
Konformitätsbewertungsverfahren: 2000/14/EG - Anhang V
Gemessener Schalleistungspegel L_WA 90,3 dB (A)
Garantierer Schalleistungspegel LwA 93 dB (A)

Ahlen, 26.06.2008
A. Pollmeier, Geschäftsführung
Lieferumfang
Überprüfen Sie nach dem Auspacken den Inhalt des Kartons auf
Vollständigkeit
evtl. Transportschäden
Teilen Sie Beanstandungen umgehend dem Handler, oder Hersteller mit. Spätere Reklamationen werden nicht anerkannt.
1 vormontierte Geräteinheit
1 Untergestell
2 Rader
2 Radabdeckungen
2 StandfuBe
1 Schraubenbeutel
1 Fangkorb
Bedienungsanleitung
Beschreibung des Gerät

A. Trichteröffnung für Häckselgut
B. Ein-/Aus-Schalter
C. Rückstellknopf / Motorschutz
D. Handgriff
E. Netzstecker
F. Fangkorbverriegelung
G. Drehrichtungsumschalter
H. Gehäuseoberteil
I. Einstellknopf für Schneidwalze
J. Fangkorb
K. Untergestell mit Räder und Standfuße
Betriebszeiten
Gemäß der Maschinenlärmschutzverordnung vom September 2002 darüber Gartenhacksler in reinen, allgemeinen und besonderen Wohngebieten, Kleinsiedlungsgebieten, Sondergebieten, die der Erholung dienen, Kur- und Klinikgebieten und Gebieten für die Fremdenbeherbergung sowie auf dem Gelände von Krankenhausern und Pflegeanstalten an Sonn- und Feiertagen sowie an Werktagen von 20.00 bis 7.00 Uhr nicht in Betrieb genommen werden.
Bitte beachten Sie auch die regionalen Vorschriften zum Lärmschutz.
Symbole Gerät

Vor Inbetriebnahme die Bedienungsanleitung und Sicherheitshinweise lessen und beachten.

Vor Reparatur, Wartungs- und Reinigungsrarbeiten Motor abstellen und Netzsteckerziehen.

Gefahr durch fortschleudernde Teile bei laufendem Motor - unbeteiligte Personen, sowie Haus- und Nutztiere aus dem Gefahrenbereich fernhalten.

Achtung vor rotierenden Messern.
Hände und Fußen nicht in Öffnungen halten, wenn die Maschine lauft.

Augen- und Gehorschutz/TRagen.

Schutzhandschuhe tragen.

Vor Feuchtigkeit schützen.
Häckselgut wird geschnitten

Häckselgut wird nicht geschritten

Fangkorb verriegelt
Fangkorb entriegelt

Elektrische Geräte gehören nicht in den Hausmull. Geräte, Zubehör und Verpackung einer umweltfreundlichen Wiederverwertung zuführen.
Symbole Bedienungsanleitung

Drohende Gefahr oder gefährliche Situation. Das Nichtbeachten dieser Hinweise kann Verletzungen zur Folge haben oder zu Sachbeschädigung führen.

Wichtige Hinweise zum sachgerechten Umgang. Das Nichtbeachten dieser Hinweise kann zu Störungen führen.

Benutzerhinweise. Diese Hinweise herself Ihnen, alle Funktionen optimal zu nutzen.

Montage, Bedienung und Wartung. Hier wird Ihnengenau erklart, was Sie tun müssen.
Bestimmungsgemäß Verwendung
Zur bestimmungsgemäßen Verwendung besteht das Häckseln von
- Åsten aller Art bis max. Durchmesser (je nach Holzart und Frische)
- welken, feuchten, bereits mehrere Tage gelagerten Gartenab-fallen im Wechsel mit Åsten
Das Häckseln von Glas, Metall, Kunststoffeilen, Plastiktüten, Steinen, Stoffabflällen, Wurzeln mit Erdreich, Abflällen ohne feste Konsistence (z. B. Kuchenabflällen) wird ausdrücklich ausgeschlossen.
Der Gartenhäcksler ist nur für die private Nutzung im Haus- und Hobbygarten geeignet.
Als Häcksler für den privaten Haus- und Hobbygarten werden solche Geräte angesehen, die nicht in öffentlichen Anlagen, Parks, Sportstätten, in der Land- und Forstwirtschaft und nicht gewerblich eingesetzt werden.
Zur bestimmungsgemäBen Verwendung besteht auch die Einhaltung der vom Hersteller vorgeschreibenben Betriebs-, Wartungs- und Instandsetzungsbedingungen und die Befolgung der in der Anleitung enthaltenen Sicherheitshinweise.
Jeder weiter darüber hinausgehende Gebrauch gilt als nicht bestimmungsgemäß. Für hieraus resultierende Schäden jeder Art haftet der Hersteller nicht: Das Risikoträgt allein der Benutzer.
Eigenmächtige Veränderungen an dem Gartenhacksler schlieben eine Haftung des Herstellers für darauf entstehende Schäden jeder Art aus.
Das Gerätarf nur von Personen gerüstet, genutzt und gewartet werden, die damit vertraut und über die Gefahren unterrichtet sind. Instandsetzungsarbeiten dürfen nur durch uns bzw. durch von uns benannte Kundendienststellen durchgeführt werden.
Restrisiken
Auch bei bestimmungsgemäßer Verwendung könnenriotz Einhaltung aller einschlagigen Sicherheitsbestimmungen aufgrund der durch den Verwendungszeck bestimmen Konstruktion noch Restrisiken bestehen.
Restrisiken können minimiert werden, wenn die „Sicherheitshinweise" und die „Bestimmungsgemäße Verwendung", sowie die Gebrauchsanweisung insgesamt beachtet werden.
Rücksichtnahme und Vorsicht verringern das Risiko von Personenverletzungen und Beschädigungen.
- Verletzungsgefahr der Finger und Hande, wenn Sie mit der Hand durch eine Öffnung greifen und an das Messerwerk gelangen.
- Verletzungsgefahr der Finger und Höhe bei Montage- und Reinigungsarbeiten am Messerwerk.
- Verletzung durch weggeschleudertes Häckselgut im Bereich des Trichters.
Gefährung durch Strom, bei Verwendung nicht ordnungsgemäß Elektro-Anschlussleitungen. - Berührung spannungsfuhrender Teile bei geöffneten elektrischen Bauteilen.
- Beeinträchtigung des Gehörs bei länger andauernden Arbeiten ohne Gehorschutz.
Des Weiteren können beträz aller getroffener Vorkehrungen nicht offensichtliche Restrisiken bestehen.
Sicherheitshinweise
Lesen und beachten Sie vor Inbetriebnahme diesen Erzeugnisses die folgenden Hinweise und die im jeweiligen Land gultigen Sicherheitsbestimmungen, um sich selbst und andere vor möglichen Verletzungen zu schützen.
①
Geben Sie die Sicherheitshinweise an alle Personen weiter, die mit der Maschine arbeiten.
i
Bewahren Sie diese Sicherheitshinweise gut auf.

Reparaturen am Gerät haben durch den Hersteller bzw. von ihm benannte Firmen zu erfolgen.
- Machen Sie sich vor Gebrauch mit Hilfe der Gebrauchsanausung mit dem Gerät vertraut.
- Benützen Sie das Gerät nicht für Zwecke, für das es nicht bestimmt ist (siehe Bestimmungsgemäß Verwendung und Arbeiten mit dem Gartenhäcksler).
- Sorgen Sie für sicheren Stand und halten Sie jederzeit das Gleichgewicht. Strecken Sie sich nicht vor. Stehen Sie beim Einwerfen des Häckselgutes auf gleicher Ebene mit dem Gerät.
- Seien Sie aufmerksam. Achten Sie darauf, was Sie tun. Gehen Sie mit Vernunft an die Arbeit. Verwenden Sie das Gerät nicht, wenn Sie müde sind oder unter dem Einfluss von Drogen, Alkohol oder Medikamenten stehen. Ein Moment der Unachtsamkeit beim Gebrauch des Gerätes kann zu ernsthaften Verletzungen führen.
- Tragen Sie beim Arbeitsen Schutzbrille, Arbeitshandschuhe und Gehorschutz.
Tragen Sie geeignete Arbeitskleidung:
-keineweiteKleidung
-
rutschfestes Schuhwerk
-
Der Bedienende ist im Arbeitsbereich der Maschine gegenüber Dritten verantwortlich.
- Kinder und Jugendliche unter 16 Jahren dürfen das Gerät nicht bedieten.
- Kinder vom Gerät fernhalten.
- Setzen Sie das Gerät niemals ein, während unbeteiligte Personen in der Nähe sind.
-
Lassen Sie das Gerät nie unbeaufsichtigt.
-
Halten Sie ihren Arbeitsbereich in Ordnung! Unordnung kann Unfälle zur Folge haben.
- Nehmen Sie eine Arbeitsstellung ein, die sich seitlich oder hinter dem Gerät befindet. Niemals im Bereich der Auswurföffnung stehen.
- Niemals in die Einfüll- oder Auswurföffnung greifen.
- Halten Sie Gesicht und Körper von der Einfüllöffnung fern.
- Überlasten Sie das Gerät nicht! Sie arbeiten better und sicherer im angegebenen Leistungsbereich.
- Betreiben Sie das Gerät nur mit kompletten und korrekt angebrachten Schutzeinrichtungen undändern Sie an der Maschine nichts, was die Sicherheit beeinträchtigen kann.
- Andern Sie nicht die Drehzahl des Motors, Denn diese regelt die sichere maximale Arbeitsgeschwindigkeit und schützt den Motor und alle sich drehenden Teile vor Schaden durch übermaßige Geschwindigkeit.
Das Gerät nicht ohne Einfülltrichter betreiben.
Das Gerät bzw. Teile des Gerätes nicht verändern. - Das Gerät nicht mit Wasser abspritzen. (Gefahrenquelle elektrischer Strom).
-
Berücksichtigten Sie Umgebungseinflüsse:
-
Benutzen Sie das Gerät nicht in feuchter oder nasser Umgebung.
Gerat nicht im Regen stehen während bei Regen arbeiten. - Arbeitsen Sie nur bei ausreichenden Sichtverhältnissen, Sorgen Sie für gute Beleuchting.
Um Verletzungsgefahr für die Finger auszuschreiben, bei Montage- und Reinigungsrarbeiten Schutzhandschuhe(TRagen.
Schalten Sie die Maschine ab undziehen Sie den Netzste
cker aus der Steckdose bei:
Wartungs- und Reinigungsrarbeiten
Beseitigung von Störungen
- Überprüfungen der Anschlussleitungen, ob diese verschlungen oder beschädigt sind
Transport
- Reparaturarbeiten
- Verlassen (auch bei kurzzeitigen Unterbrechungen)
- Bei Verstopfungen im Ein- und Auswurf der Maschine schalten Sie den Motor aus undziehen Sie den Netzstecker, bevorsie Materialreiste im Ein- oder Auswurf beseitigen.
-
Überprüfen Sie die Maschine auf eventuelle Beschädigungen:
-
Vor weiterem Gebrauch des Gerätes mussen Schutzvortrichtungen sorgfältig auf ihre einwandfrei und bestimmungsgemäß Funktion untersucht werden.
- Überprüfen Sie, ob die beweglichen Teile einwandfrei Funktionieren und nicht klemmen oder ob Teile beschädigt sind. Sümmtliche Teile müssen richtig montiert sein und alle Bedingungen erfüllen, um einwandfrei Betrieb des Gerätes sicherzustellen.
- Beschädigte Schutzvorrichtungen und Teile mösen sachgemäß durch eine anerkannte Fachwerkstatt repariert oder ausgewechselt werden, soweit nichts anderes in der Gebrauchsanweisung angegeben ist.
-
Beschädigte oder unleserliche Sicherheitsaufkleber sind zu ersetzen.
-
Bewahren Sie unbenutzte Geräte an einem trockenen, verschlossenen Ort außerhalb der Reichweite von Kindern auf.

Elektrische Sicherheit
Ausführung der Anschlussleitung nach IEC 60245 (H 07 RN-F) mit einem Aderquerschnitt von mindestens
1,5 mm² bei Kabellänge bis 25 m
2,5 mm² bei Kabellänge über 25 m
- Lange und)dünne Anschlussleitungen erzeugen einen Spannungsabfall. Der Motor erreicht nicht mehr seine maximale Leistung, die Funktion des Gerätes wird reduziert.
- Stecker und Kupplungsdosen an Anschlussleitungen müssen aus Gummi, Weich-PVC oder anderen thermoplastischen Material der gleichen mechanischen Festigkeit sein oder mit thisem Material überzogen sein.
Die Steckvorrichtung der Anschlussleitung muss spritzwassergeschützt sein.
- Beim Verlegen der Anschlussleitung darauf auf achten, dass sie nicht gequetscht, geknicht und die Steckverbindung nicht Nass wird.
- Wickeln Sie bei Verwendung einer Kabeltrommel das Kabel vollständig ab.
- Verwenden Sie das Kabel nicht für Zwecke, für die es nicht bestimmt ist. Schützen Sie das Kabel vor Hitze, Öl und scharfen Kanten. Verwenden Sie das Kabel nicht, um den Stecker aus der Steckdose zuziehen.
- Kontrollieren Sie Verlängerungskabel regelmäßig und ersetzen Sie sie, wenn sie beschädigt sind.
- Verwenden Sie keine defekten Anschlussleitungen.
- Verwenden Sie im Freien nur dazu zugelassene und entsprechend gekennzeichnete Verlängerungskabel.
Keine provisieren Elektroanschlusse einsetzen.
Schutzeinrichtungen niemals überbrücken oder außer Betrieb setzen.
Schlieben Sie das Gerät über Fehlerstromschutzschalter (30 mA) an.
! Der Elektroanschluss bzw. Reparaturen an elektrischen Teilen der Maschine haben durch eine konzessionierte Elektrofachkraft oder eine unserer Kundendienststellen zu erfolgen. Ortliche Vorschriften insbesondere hinsichtlich der Schutzmaßnahmen sind zu beachten.
Reparaturen an anderen Teilen der Maschine haben durch den Hersteller bzw. einer seiner Kundendienststellen zu erfolgen.
Nur Originalersatzteile verwenden. Durch den Gebrauch anderer Ersatzteile konnen Unfälle für den Benutzer entstehen. Für hieraus resultierende Schäden haftet der Hersteller nicht.
Zusammenbau
sieheSeite137

Inbetriebnahme
- Vergewissern Sie sich, dass das Gerät komplett und vorschrifsmäßig montiert ist.
- Stellen Sie den Häcksler zum Gebrauch auf waagerechten und festen Untergrund (Kippgefahr).
- Das Gerät nicht auf geplasterten oder geschotterten Boden stellen.
- Benutzen Sie das Gerät nur im Freien. Halten Sie Abstand (mindestens 2 m) von einer Wand oder einem anderen starren Gegenstand.
-
Überprüfen Sie vor jedem Gebrauch:
-
die Anschlussleitungen auf defekte Stellen (Risse, Schnitte o. dgl.)
! verwenden Sie keine defekten Leitungen
das Gerät auf eventuelle Beschädigungen (siehe Sicherheitshinweise)
ob alle Schrauben fest angezogen sind
Netzanschluss
- Vergleichen Sie die auf dem Geräteypenschild angegebene Spannung mit der Netzspannung und schlieben Sie das Gerät an die entsprechende und vorschrifsmäßige Steckdose an.
- Verwenden Sie Verlängerungskabel mit ausreichendem Querschnitt
Netzabsicherung
| Schweiz | UK | ||
| 2300 W | 16 A träge | 10 A träge | 13 A träge |
| 2800 W | 16 A träge | 13 A träge | |
| 2800 W | 16 A träge | 13 A träge | |
| 3000 W | 16 A träge | 13 A träge | |
Netzimpedanz
Bei ungünstigen Netzbedingungen kann es während des Einschaltvorganges des Gerätes zu kurzzeitigen Spannungsabsenkungen kommt, die andere Geräte beeinträchtigen können (z. B. Flackern einer Lampe).
Es sind keine Störungen zu erwarten, wenn die in der Tabelle angegebene maximale Netzimpedanz eingehalten wird.
| Leistungsaufnahme P1 (W) | Netzimpedanz Zmax(Ω) |
| 2300 | 0,22 |
| 2500 | 0,22 |
| 2800 | 0,22 |
| 3000 | 0,22 |
Ein-/Ausschalter
Benutzen Sie kein Gerät, bei dem sich der Schalter nicht ein und ausschalten lasst. Beschädigte Schalter müssen unverzüglich vom Kundendienst repariert oder ersetzt werden.


Einschalten
Drucken Sie den grünen Knopf (1)

Ausschalten
Drucken Sie den roten Knopf ①

Wiederanlaufsicherung bei Strom-fall
Bei Stromausfall schaltet das Gerät automatisch ab (Nullspannungsausloser). Zum Wiedereinschalten erneut den grünen Knopf drücken.

Motorschutz
Der Motor ist mit einem Schutzschalter ausgerüstet und schaltet bei Überlastung selbstätig ab. Der Motor kann nach einer Abkuhlpause (ca. 5 min.) wieder eingeschaltet werden. Drücken Sie
- Rückstellknopf (Motorschutz)
- grünen Knopf ① zum Wiedereinschalten.
Drehrichtungsumschalter
Den Drehrichtungsumschalter nur bei abgeschalteten Häcksler betätigten.
Stellung Das Material wird von der Schneidwalze eingezogen und gehock-selt.
Stellung Das Messer arbeitet in umgekehrter Richtung, und eingeklemmtes Material wird frei.
Nachdem Sie den Drehrichtigungsumschafter in die Stellung gebracht haben, halten Sie den grünen Knopf des Ein-/Aus-Schalters gedrückt. Die Schneidwalze wird auf umgekehrte Richtung gestellt. Wenn Sie den Ein-/Aus-Schalter loslassen, bleibt der Häcksler automatisch stehen.
Tipps
- Große Gegenstände oder Holzstücke werden nach mehrmaliger Betätigung sowohl in Schneide- als auch in Freigaberichtigung halten.
- Benutzen Sie einen Stopfer oder Haken zum Entfernen von blockierten Gegenständen aus dem Trichter oder Auswurf-schlitz.
Warten Sie stets, bis der Häcksler stillsteht, bevor Sieihn wieder einschalten.
Fangkorb
Der integrierte Fangkorb ist mit einem Verriegelungsgriff und einer Sicherheitsabschaltung ausgestellt.


Der Fangkorb ist verriegelt und fest mit dem Gerät verbunden.
Der Fangkort ist entriegelt und vom Gerät gelöst. Das Gerät lasst sich nicht einschalten.
Wird der Fangkorb bei eingeschalteten Gerät entriegelt, schaltet sich das Gerät automatisch ab.
Arbeiten mit dem Gartenhäcksler
- Nehmen Sie eine Arbeitsstellung ein, die sich seitlich oder hinter dem Gerät befindet. Niemals im Bereich der Auswurföffnung stehen.
- Längeres Material, das aus dem Gerät hervorsteht, konnte zurückschnellen, wenn es von den Messern eingezogen wird! Sicherheitsabstand einhalten!
- Niemals in die Einfüll- oder Auswurföffnung greifen.
- Halten Sie Gesicht und Körper von der Einfūlöffnung fern.
-
Bringen Sie Höhe, andere Körperteile und Kleidung nicht in das Einfūlrohr, Auswurfkanal oder in die Höhe von anderen beweglichen Teilen.
Vor Einsatz den Gerätes überprüfen -
ob keine Häckselreste im Einfulltrichter sind.
-
ob der Fangkorb verriegelt ist.
-
Kippen Sie das Gerät nicht bei laufendem Motor.
- Beim Füllen darauf auf achten, dass keine Metallstücke, Steine, Flaschen oder andere nicht zu verarbeitende Gegenstände in den Einfulltrichter gelangen.
-
Gelangen fremde Gegenstände in den Einfülltrichter oder das Gerät fängt an außergewöhnliche Gerausche oder Vibrationen zu machen, das Gerät sofort ausschalten und zum Stillstand kommt lessen. Netzsteckerziehen und folgende Punkte durchführren:
-
Inspizieren Sie den Schaden
- ersetzen oder reparieren Sie beschädigte Teile
- überprüfen Sie das Gerät undziehen Sie lockere Teile fest
Sie dürfen das Gerät nicht reparieren, wenn Sie dazu nicht berechtigt sind (siehe Sicherheitschinweise)
Was kann ich häckseln?
Ja:
- Åste aller Art bis max. Durchmesser, je nach Holzart und -frische
welke, feuchte, bereits mehrere Tage gelagerte Gartenabfälle nur im Wechsel mit Asten häckseln
Nein:
- Glas, Metallteile, Kunststoffe, Plastiktüten, Steine, Stoffabfälle, Wurzeln mit Erdreich
- Abfälle ohne feste Konsistenz z.B. Kuchenabfälle
Besondere Hinweise zum Häckseln:
Füllen Sie das zu häckselnde Material immer von der rechten Seite in die Einfūlöffnung des Trichters.
Häckseln Sie die Äste, Zweige und Holzer kurz nach dem Schneiden

-这意味着 Häckselgut wird bei Austrocknung sehr hart, der maximal zu verarbeitende Astdurchmesser wird hierdurch geringer.
Entfernen Sie Seitentriebe bei stärker verzweigten Åsten.
Verarbeiten von stark Wasserhaltigen, zum Verkleben neigenden Gartenabfallen
-These abwechselnd mit holzigem Häckselgut zerkleinern, um eine Verstopfung im Gerät zu vermeiden.
Das gehäckselte Gut im Bereich der Auswurföffnung nicht zu hoch anwachsen setzen. Dies kann zur Folge haben, dass bereits Gehäckseltes den Auswurfkanal verstopft. Dadurch kann es zu einem Rückschlag des Materials durch die Einfūlföhnung kommt. Entleeren Sie den Fangkorb regelmäßig.
Reinigen Sie die Einfüllöffnung und den Auswurfkanal, wenn das Gerät verstopt ist. Schalten Sie hierfür zuerst den Motor aus undziehen Sie den Netzstecker.
Beachten Sie, dass der Ihrm Gerät entsprechende maximal zu verarbeitende Astdurchmesser eingehalten wird (s. Seite 8). Je nach Art und Frische des Holzes kann sich der maximal zu verarbeitende Astdurchmesser verringern.
Das Schneidwerkzieht das Häckselgut selbständig und durch das langsame Laufen der Schneidwalzestoßfrei ein.
Selfstätiges Umschalten der Drehrichtigung: Bei plottlichem Blockieren des Gerätes kann die Drehrichtigung der Schneidwalze umschalten und in thism Fall das Häckselgut zurückschieben.
Gerat ausschalten
- Stillstand der Schneidwalze abwarten
Gerat erneut einschalten und leichter zu verarbeitendes Häckselgut verwenden.
Beim Überlasten des Gerätes schaltet der mit einem Motorschutzschalter ausgestattete Schalter selbständig ab
- schalten Sie den Häcksler nach ca. 5 min. erneut ein
- lásst sich das Gerät nach dieser Wartezeit nicht einschalten, sehen Sie unter Punkt „Mögliche Störungen" nach.
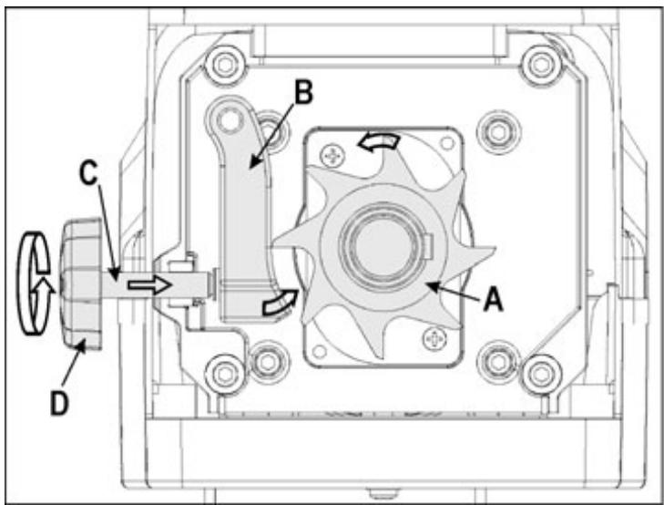
Einstellen des Gegenmessers
Das Gegenmesser B kann an der Schneidwalze A spielfrei eingestellt werden. Ein möglichst kleiner Abstand sollte für einen effektiven Betrieb eingehalten werden.
Weiches Material oder nasse Zweige können reibenstatt geschritten werden. Auch ein nach mehrfacher Betätigung verschlissenes Gegenmesser kann zu dieser Problem führen.
Einstellen des Abstandes.
Schalten Sie das Gerät ein.
Auf der rechten Seite des Kunststoffgehauses befindet sich eine Einstellvorrichtung. Zum Einstellen des Abstands drehen Sie den Einstellknopf D nach rechts, so dass sich die Schraube C zur Schneidwalze hin bewegt. Drehen Sie so lange, bis feine Aluspane aus dem Auswurfschlitz fallen.

Wartung und Pflege
-
Vor Beginn jeder Wartungsarbeit
-
Motor abschalten und Netzsteckerziehen
- Schutzhandschuhe zur Vermeidung von Verletzungen anziehen.
Das Schneidwerkzeug steht nach dem Ausschalten nicht那么简单 still. Warten Sie, bevor Sie mit der Reparatur oder Wartung beginnen, bis alle Teile zum Stillstand gekommen sind.
Achten Sie darauf, Werkzeug und Schraubenschlüssel nach der Wartung oder Reparatur wieder zu entfernen.
-
Der Gartenhächskler ist weltgehend wartungsfrei. Zur Welterhaltung und einer langen Lebensdauer Nachstehendes beachten:
-
Luftungsschlitze frei und sauber halten.
- überprüfen der Befestigungsschrauben (ggf. nachziehen).
- nach dem Häckseln das Gerätinnen und außen reinigen. Benutzen Sie zum Reinigen Ihres Geräts nur ein warmes feuchtes Tuch und eine weiche Bürste.
Verwenden Sie niemals Reinigungsd oder Lösungsmittel. Sie konnten dem Gerat irreparable Schäden zufugen. Die Kunststoffe können von Chemikalien angegriffen werden.
- den Häcksler nicht mit fließendem Wasser oder Hochdruckreinigern reinigen.
- blanke Metallteile nach jedem Gebrauch zum Schutz gegen Korrosion mit einem umweltschonenden, biologisch abbaubaren Sprühöl behandeln.
Schneidwalze und Nachscheindeplatte sind Verschleibeile, haben jeder bei normaler Nutzung und vorschrifsmäßigem Nachstellten eine Lebensdauer von mehreren Jahren.
Störungen

Vor jeder Störungsbeseitigung
- Gerä ausschalten
- Stillstand des Gerätes abwarten
-Netzsteckerziehen
| Störung | mögliche Ursache | Beseitigung |
| Motor lauft nicht an | Netzspannung fehl | Absicherung überprüfen |
| Anschlusskabel defekt | überprüfen setzen (Elektrofachmann) | |
| Gerät überlastet (Motorschutz wurde ausgelöst) | Gerät abkühlen setzen. Drücken Sie 1. Rückstellknopf (Motorschutz) 2. grünen Knopf ① zum Wiedereinschalten. | |
| Fangkorb entriegelt (Sicherheitsabschaltung Fangkorb wurde ausgelöst) | verriegeln Sie den Fangkorb ⑥ | |
| Motor brumm, lauft aber nicht an | Schneidwalze blockiert | Gerät aussalten Schalten Sie den Drehrichtungsumschafter in die Stellung ↑. Gerät einschalten bis die Blockierung behoben ist. Gerät wieder aussalten. Stellen Sie den Drehrichtungsumschafter in die Stellung ↓ zu-rück. |
| Kondensator defekt | Gerät zur Reparatur an Hersteller bzw. an von ihm benannte Firma. | |
| Häckselgut wird nicht eingezogen | Schneidwalze lauft rückwärts (Schalter-Stellung nicht richtig) | Gerät aussalten und Drehrichtungsumschafter umstellen. |
| Häckselgut klemmt im Trichter (Materialstau) | Gerät aussalten. Schalten Sie den Drehrichtungsumschalter in die Stellung ↑. Gerät einschalten, damit das Häckselgut freiigegeben wird, evtl. Verunreinigungen entfernen. Gerät wieder aussalten. Zum Weiterarbeiten stellen Sie den Drehrichtungsumschafter in die Stellung ↓ zurück. | |
| zu weiches oder nasses Häckselgut | mit einem Ast nachschieben und durchhäckseln | |
| Verschleiß an der Schneidwalze | Gegenmesser wie bei „Einstellen des Gegenmessers" beschrieben einstellen, bei starker Abnutzung Schneidwalze ersetzen. | |
| Häckselgut wird nicht sauber durchtrennt | Gegenmesser nicht ausreichend eingestellt | Gegenmesser wie bei „Einstellen des Gegenmessers" beschrieben einstellen |
| Gerät lauft an, blockiert jedoch bei geringer Belastung und schaltet über Motorschutzschalter ab. | Verländerungskabel zu lang oder zu kleiner Querschnitt. Steckdose zuweit vom Hauptanschluss entwickert und zu kleiner Querschnitt der Anschlussleitung. | Verländerungskabel mindestens 1,5 mm², maximal 25 m lang. Bei längerem Kabel Querschnitt mindestens 2,5 mm². |
Technische Daten
| Modell | 2300 | 2500 | 2800 | 3000 |
| Typ-Bezeichnung | AH 623 | AH 620 | AH 621 | AH 622 |
| Motor | Wechselstrommotor 230 V~, 50 Hz, 2800 min-1 | |||
| Motorleistung P1 S6 - 40 % | 2300 W | 2500 W | 2800 W | 3000 W |
| Drehzahl Schneidwalze | 40 min-1 | |||
| Ein-Aus-Schalter mit | Überlastschutz, Schneid- und Rücklaufkunft, Nullspannungsauslöser | |||
| Gewicht | 29 kg | 29,5 kg | 30 kg | 30,5 kg |
| Schalldruckpegel LPA(gemessen nach 2000/14/EG) | 70,3 dB (A) | 70,3 dB (A) | 70,3 dB (A) | 70,3 dB (A) |
| gemessener Schalleistungspegel LwA(gemessen nach 2000/14/EG) | 90,3 dB (A) | 90,3 dB (A) | 90,3 dB (A) | 90,3 dB (A) |
| garantieter Schalleistungspegel LwA(gemessen nach 2000/14/EG) | 93 dB (A) | 93 dB (A) | 93 dB (A) | 93 dB (A) |
| max. zu verarbeitender Astdurchmesser(je nach Holzart und -frische) | Ø max. 40 mm | Ø max. 40 mm | Ø max. 42 mm | Ø max. 42 mm |
| Schutzklasse | I | |||
| Schutzart | IP X4 | |||
| Netzabsicherung | 16 A träge | 16 A träge | 16 A träge | 16 A träge |
| Schweiz | 10 A träge | -- | -- | -- |
| UK | 13 A träge | 13 A träge | 13 A träge | 13 A träge |
Garantie
Bitte beachten Sie die beiliegende Garantieerklärung.
Contents
Schinkelstraße 97, 59227 Ahlen - Germany
Schinkelstraße 97, 59227 Ahlen - Germany
Ahlen, le 26.06.2008
Schinkelstraße 97, 59227 Ahlen - Germany

A. Pollmeier, Jednatei
Rozsah dodávky

Schinkelstraße 97, 59227 Ahlen - Germany
Schinkelstraße 97, 59227 Ahlen - Germany
Schinkelstraße 97, 59227 Ahlen - Germany

A. Pollmeier, direktor
Opseg isporuke

Schinkelstraße 97, 59227 Ahlen - Germany
Schinkelstraße 97, 59227 Ahlen - Germany
er fullt ut og eneansvarlig for ar produit
Schinkelstraße 97, 59227 Ahlen - Germany
Tegen vochtigkeit beschermen.
Schinkelstraße 97, 59227 Ahlen - Germany
Schinkelstraße 97, D-59227 Ahlen
Schinkelstraße 97, 59227 Ahlen - Germany
3aBJIaET IOEiHOnIuHyIO OTBeTCTBENHOCTb, YTO IpoDyKTbI
caDObBie N3MeIbYuTeJI,
- ob keine Häckselreste im Einfulltrichter sind.
He 3a6JIOKIpObaHa JI JIOBnJIbHa KOp3Ha.
He haknohnye MaunHy npn pa6oTaOuem DbrarTeJe.
IpoBoJ3arpy3ky, cIeIInTe 3a TeM, UTo6bl B 3arpy3OHyOBPOHKy He IOnJaJI KycKm MetaJIla, KamHn, 6bTyJIkn NJIINdpyIne npEIMTebl, He IOnJIexaUne nepepa6OTke.
EcnB 3aqrpy3ooyu BOpOHky nonaJIN NOCTOPOHHne ppeMeTbI Nn EcN yCTPOJCTBO HauHaet N3daBaTb HnnpNBbIyHbIe 3ByKn Nn BN6pnpOBaTb, HEmeJNeHHO OTKJIOnHTe YCTPOJCTBO n DaIte Emy OCTaHOBTbcr. BItaHTe BNkCy coeHNITeNbHoro npOBDa n BblONHtE CNeDuOuJe onepaun:
OCMOTpeTb IOBpeKdHnIa;
3aMeHnTb NII OTpeMOHTnpOBaTb IOBpeKdEHHbIe DetajN;
I npOBepntb ycTpoNCTBO n IOdTHyTb ocJa6eBwne coeHnHeHnA DeTaNJIe.
Bam 3a npeuaetcpeMOHTnpoBaTb yCTpoIcTBO,ecn BbI He pacnojaraete COOTBeTCTByOuSei ABTOpN3aUnei.

Schinkelstraße 97, 59227 Ahlen - Germany
Schinkelstraße 97, 59227 Ahlen - Germany
izjavla na lastno odgovornost, da izdelek
| D Ersatzteile | GB Spare parts | F Pièces de rechange |
| Entnahmen Sie die Ersatzteile der Ersatzteillist oder Zeichnung. | Please refer to the drawing and list for spare. | Pour les pièces de rechange, veuillez vous reporter au schèma. |
| Ersatzteile bestellen: - Bezugsquelle ist der Hersteller oder Händler - erforderliche Angaben bei der Bestellung: - Farbe des Gerätes - Ersatzteil - Nr. / Bezeichnung - gewünschte Stückzahl - Gartenhängsler-Modell - Gartenhängsler-Typ | Ordering spare parts: - Available from the manufacturer - Orders must quote the following information: • Colour of appliance • Spare parts no. / Designation • Quantity required • Garden shredder model • Garden shredder type | Commande de pieces de rechange: - la source d'approvisionnement est le constructeur - indications nécessaires pour la commande: • couleur de l'appareil • n° de piece de rechange / description • nombre d'unités souhaité • modulo de hacheuse de jardin • type de hacheuse de jardin |
| Beispiel: orange, 380307/ Gehäuseoberteil, 1, LHF 2800, AH 621 | Example: orange, 380307/ upper enclosure part, 1, LHF 2800, AH 621 | Example: orange, 380307/ partie supérieure du carter, 1, LHF 2800, AH 621 |
| ВБ Pezeрвни части | БZ Náhradní díly | FIN Varaosat |
| ДаннITE за pezeрвни части вземete OT списьka на pezeрвни части пли OT черTEXа. | Náhradní díly zjistěte z vykresu a seznamu. | Katso varaosia varaosapiirustuksesta. |
| Заяваце на pezeрвни части: - ИЗточник на доставкеате яproиз Bodителя пли ТьровецьТ - НебхODIMп данни по заевке: - СBVТ на уреда; - Homeр на pezeрвни част; - обозсанения на pezeрвни част; - Леган бpoи; - МODEЛ - радинска pezeачka | Objednévacka náhradních dílu: ➢ náhradní díly a servis zajistů prodejce ➢ potřebrné udaje prě objednévace: ➢ barva prístroje ➢ cislo náhradiho dílu / popis ➢ požadovany počet kusu ➢ model zahradiho dtrìče ➢ typ zahradiho dtrìče | Varaosien tilaaminen: - Varaosat tilataan valmistajalta. - Tilaufsessa tarvittavat tiedot: • laitteen väri • varasa-nro / nimitys • tilauksen kappalemäärä • silppurimalli • silppurityppi |
| Пrimер: opanжев, 380307/ горна част на кожуха, 1, LHF 2800, AH 621 | Příklad: oranžový, 380307/ horní cást plástě, 1, LHF 2800, AH 621 | Esimerkki orangssi, 380307/ Kotelon yläosa, 1, LHF 2800, AH 621 |
| Pótalkatrészek | HR Rezervni dijelovi | I Pezzi di ricambio |
| A pÓtalkatrészeket a rajzon és a jegyzéken találhatja. | Rezervne dijelove vidite u nacrtu. | Per i pezzi di ricambio si prega di consultare il disegno. |
| Pótalkatrészek megrendelése: - Beszerzési forrás a gyáró - a megrendelésnél szükséges adatok: - a készülék színe - pÓtalkatrész-szám / megnevész - kívánt darabszám - kéri aprítógép modellje - typ | Naručiti rezervne dijelove: - izvor nabave je proizvodač - potrebni navodi prilikom narudžbe: · boja urežája · broj rezervnog dizela / oznaka · Željeni broj komada · model vrtne sječkalice · naznaka vrtne sječkalice | Ordinazione dei pezzi di ricambio: - fonte d'acquisto è il produttore -indicazioni richieste per l'ordinazione: · colore dell'apparecchio ·n° dei pezzo di ricambio / denominazione ·quantità dei pezzi ·modello della sminuzzatrice ·tipologia della sminuzzatrice |
| Példa: narancs, 380307/ a motorház felső része, 1, LHF 2800, AH 621 | Na primjer: narančasti, 380307/ gornji dio kućistă, 1, LHF 2800, AH 621 | Esembio: arancione, 380307/ parte superiore contentitore, 1, LHF 2800, AH 621 |
| N Reservdeler | NL Reservdeler | PL Częsizamienne |
| Sereservedelene påreservedsskissen.Reservedelsbestilling:Bestilling på produsentenNødvendige opplysninger vedbestilling:Farve på maskinenReservedensnr / BetegnelseNødvendige antallType av kompostkvernModel av kompostkvernF. eks.:oransje, 380307/ husoverdel, 1,LHF 2800, AH 621 | Voor de reserveonderdelen zie dereserveonderdelen tekening.Reserveonderdelen bestellen:- bij de fabrikant-oodzakelijk gegevens bij debestelling:kleur van de het apparaatreservedeel-nr. / benaminggewenste aantalmodel tuinhakselaartypuinhakselaarVoorbeeld:orange, 380307/ bovenkant van debehuizing, 1, LHF 2800, AH 621 | Częsci zamienne znajduja są w listachczȩci zamiennych lub na rysunkach.Zamawianie czȩsci zamiennych:- czȩci zamienne dostarcza producentlub dystrybutor-do niedzwedych informaciNJależ przyskladaniu zamówienia:color urzadzenianr czȩci zamiennej / oznaczeniażadana ilośćmodel rozdrabniacza ogrodowegoNazwa rozdrabniacza ogrodowegoprzyklad:pomarańczowy, 380307/ górna czȩcobudowy, 1, LHF 2800, AH 621 |
| RO Piese de schimb | RUS 3апасные части | SK Náhradné diely |
| GăsitiPiesele de schimb in lista cu piese de schimb sau în desen. | Выбравь заимны части согласно чер-[Teу]. | Náhradné diely zistîte z výkresu. |
| Comandarea pieselor de schimb: - sursa de aprovisionare o constituie produçătorul sau distribuitorul - informațile necesare la transmiterea comenzii: · Culoarea aparatului · Nr. piesei de schimb · Denumirea piesei de schimb · Numărul dorit · Model de tocător de grădină | Заказ заимны частей: - Источник моставки яваюнзrotobутел. - Ри офорлени заказа необховимо указа:[следуюше данные: - расцета устрийства - № заимου части / обознauthец - требуеме колчесъв вшитукax - м odeь садового помельчителя - обознauthец садового помельчителя | Objednat' náhradné diely: - prameñom dodania je vyrobca - potrebné udaje pri objednévke: · farba prístroja (iba časti telesa) · náhradné dielcheck. / označenie ·Želany počet kusov · model · typ |
| Exemplu: portocaliu, 380307/ partea de sus a carcasei, 1, LHF 2800, AH 621 | Празимер: opangsевий, 380307/ вэрхая часть корпuya, 1, LHF 2800, AH 621 |
Schinkelstraße 97, 59227 Ahlen • Postfach 21 64, 59209 Ahlen Germany
Tel.: +49 (0) 23 82 / 8 92-0 • Fax: +49 (0) 23 82 / 8 18 12
E-mail: info@atika.de • Internet: www.atika.de
EinfachAnleitung