LHF 2800 - Садовый измельчитель ATIKA - Бесплатное руководство пользователя
Найдите руководство к устройству бесплатно LHF 2800 ATIKA в формате PDF.
Вопросы пользователей о LHF 2800 ATIKA
0 вопрос об этом устройстве. Ответьте на те, что знаете, или задайте свой.
Задать новый вопрос об этом устройстве
Скачайте инструкцию для вашего Садовый измельчитель в формате PDF бесплатно! Найдите своё руководство LHF 2800 - ATIKA и возьмите своё электронное устройство обратно в руки. На этой странице опубликованы все документы, необходимые для использования вашего устройства. LHF 2800 бренда ATIKA.
РУКОВОДСТВО ПОЛЬЗОВАТЕЛЯ LHF 2800 ATIKA
Преши ремонт,\ нордрьжka\ иочиства, ИЗКЛЮЧЕ\ ДВИГАТЕЛЯ\ иЗТERЛЕ\ шенися ot КOHТакta.

Опасноct ot иЗXBьрЯн He мATERПИ paBOTeU ДВИТЕЛ - ДРУН XOPA, ДOMaшни
CEJICKOCTOJAHCKNJXIBOTNI DA CTOIT BCTpaHNI OT ONaCHATA 30Ha.

BHMaHne npnpotnpaunHOxKOBe.PbTe nKpakata Da He6bDaT DbpxKaHBNOTBOpN, KOrato
MaunHaTa paBoTn.

Hocete ounila nJIIPC 3a clyxa.

Hocete npedna3n npkabu.

PnaseTe OT Bnara.
MaTePnAJIbT 3a Hapr3BaHc cepeke

MaTePnaJIbT 3a hap3BaHe He cepeke

IpeDn3HaTa peWetka e 3actOnopeHa.
IpeDn3HaTa peuETka e oCbo6oDeHa.

EneKtpnueckte ypeHn He 6bHaTa
n3xBbPJIHN KaTO 6HTOBN OTNaIbCu. YpeBbT,
pInnaJdNeXHoCTnte KbM Hero n ONAKOBAt a CLeDbA
da 6bDat PpeaDeHn 3a NOBTOPO
OOnJ3OTBOPaBaHe, CbO6pa3eHO C ONa3BaHeTo Ha
OKoJIHaTc CpeHa.
Mоntax,обслухваеи подрьжka.Поясеня, KaKBOСледвадаИЗВьршITE.
Градинскараза peзача e пиюда само за поганухдь в Градинда.
Iop rpaDnHcKa pe3aUka 3a YacTHO N013BaHe B rpaDnHaTa ce pa3bupat ypeDN, KOnTO He CE n3PON3BAt 3a CTOnaHcKN ZeIN B O6uectBeHN 3eJIeHN PLOU, NapKOBe, CnOPTHN PLOUaADKN, KaKTo IN B CeJCKOTO IROPCKOTO CTOnaHCTBO.
KbM ynoTpe6bata no npedna3nauhene cna da cbto Taka cna3BaHTo Ha npednncAHTE OT npoN3BODInTeJyCNOBn 3a eknloatau, nOdpbXka N NyckaHe B EKCnloaTaun I cna3BaHTo Ha CdbpKaUte Ce B pkoBODCTBOTO yka3aHn 3a be3onacHOCT.
Bcka ynoTpe6a n3bH TOBa ce cHTa 3a ynoTpe6a He no npedHa3NaueHne. 3a noBpeN, KOtO Bb3nKbAT B pe3yIITa H a TOBa, npoIN3BOJNTeJIrT He HOCN OTROBOPHOCT - pNCbT 3aTOBa e n3KJIouHtTeJIH0 3a CmETKa Ha NOJ3BaTeJIa.
CobCTBHeOpbUHNO 3BbPseHn 3MeHnHa ypea 3a 3aCMyKBaHe Ha NICTa 3KNIOvBAT OTROBOPHOCTTa Ha npOn3BOIHTeJIa 3a PpOn3TNUaIHTe OT TOBa NOBpeiOT BCRAKaKB BIVd.
UpeIbT MoKe Da 6bJe 6OpuBaN, n3PON3BaN H NOdIbPxAH eINHCTBeHO OT IIna, KOnTO Ca 3aNo3HaTN C Hero N Ca yBeIDOMeHN OTHOCHO ONACHOCTNE. Pa6OTn No NysKaHeTo B EKcNlOaTaUN MOrAT Da 6bDat N3BbPbBAHN eINHCTBeHO OT HaC, PecNeKTIBHO OT CnyXb 3a ObcNyXBaHe Ha KNHeHTN, KOnTO Ca INoCOUeHN OT HaC.
OcTaTbUHn pNCKOBe
! Cbpo n npn ynoTpe6a no npedna3NaueHne n Bbnpekn cna3BaHeto Ha BCNUKn CBp3aHn C ypeDa npedncaHn r 6e3oNacHOCT, Morat Da CbseCTByBAT OCTaTBuHn pNCKOBe, obycNoBEnOn CTbO6pa3eHaTa C npedna3NaueHneTo Ha ypeDa KOHcTpyKzra.
OctaTbUHnTe pNCKOBe mOrat da 6bDat CBeDeHn Do MHNmym, aKo 6bDat cna3BaHn yka3aHnraTa, nocouEHn B pa3dEnIte "Yka3aHn 3a 6e3OpacHOCT" n "Ynotpe6a n o npEHa3NaHeHne", KaKTo n Yka3aHnraTa Ha pbKOBOcTBOTo 3a pa6Ota KaTO qrNo.
BhImaHHe n npEpa3nIBocCTTa HamaJIbAT pNcKa OT HapaHbAHe Ha xopa n npuHnHaBe Ha nobpeDi.
- Onachoct ot HapaHЯBaHe Ha npbCTnTe n pbcTe, ako 6pbKHeTe B OTBopa n DoCeHHeTe peXeUma MexaHn3bM.
- Onachoct ot HapahyaBaHe Ha npbctnte n pbcTe npm MOHTaxи pa60Ta no NOuchTbaHe ha pexeun MexaHn3bM.
- Onachoct ot HapaHЯBaHe ot ɪЗXBbPJIeH MaTepnaJI B yuactbKa Ha φyHnIraT.
- Onachoct ot eilektpnueckn TOK npn Henn3npaBn npncbeHnHTeHn Ka6eHn.
IOnnp Do YacTn Poid HappeKeHne npn OTBopeHn eJektpnueeCKn ElenMeHTN. - Ybpejdahe Ha cnlyxa npn no-npoDbJxKnteJHa pa6oTa 6e3 nnuHn npedna3Hn cpeDCTBa (JIIPC) 3a cnlyxa.
Bbnpekn Bcnu kn npedpnnetm Mepkn Morat da cbuectBybat OCTaTbUHN pNCKOBe, KOnTO He ca OYeBNHn.
Yka3aHn8 3a 6e3OnacHOCT
Ipei nycaHe B deIcTBHe Ha TOBa n3dJIne IpOyeTe n cna3BaIte CneHNITE yka3AHn, KaKTo N BaJIuDNHTe 3a cbOTBeTHata CtpaHa pa3nOpE6n no 6e3OnaCHOCT, 3a da npEpa3HrTe ce6e cn n dpyrHrTe OT Bb3MOxHN HapaHraBaHn.
(1)
Присъединения Кьм Мржату.
CpaBHeTe nocOeHTo Ha TabeJIkata C Tnna Ha ypeDa HApEKeHne C TOBa Ha MpeKata N IprncBcEiHHeTe ypeDa KbM CbOTBeTHaTata KOHTaKTHa KyTna, OTROBapuHa npednicaHnTa.
- I3noI3BaIte yIbJIkHKeJIHn Ka6eJIc CIOCTaTbHc OceHHe
ПрееднаЗител
| Шевцарnia | Велникobрита. Ня | ||
| 2300 W | 16 A Инертын | 10 A Инертын | 13 A Инертын |
| 2800 W | 16 A Инертын | 13 A Инертын | |
| 2800 W | 16 A Инертын | 13 A Инертын | |
| 3000 W | 16 A Инертын | 13 A Инертын | |
Импенинс на мреката
При He6laoropnraTHn napMeTpna МржataВпpoцcaHa BkIIOUvaHe Ha ypeDa MOKe Da ce CTINrHe Do KpaTkoBpeMeHHO NaDAhe Ha HAnpexeHneTo, KOeTO MOKe Da IOBJINaRe Ha dpyrNуpeDi (Haprimep MmraHe Ha daDeHa lamna).
He ce ouakbat CmyueneHna, ako ca cna3eHn nocoyehnte B Ta6JIucaTa MaKcImaJIHn CTOnHOCTn 3a NmpeHdaHca.
| Товар P1 (W) | Имpenданс Zmax(Ω) |
| 2300 | 0,22 |
| 2500 | 0,22 |
| 2800 | 0,22 |
| 3000 | 0,22 |
При п配电ьсане на щелковуаньецуpeдт ИЗКИЧВа abTomatчно (Mнимално habржеви ИЗКИЧВatel). 3a NOBTOPOpyckahe B DeiCTBne HaTUCHETe OTHOBO 3eJIeHn6bytoH.

Двигатулна 3ацита
Двигаелг e cьорьхен сбс 3ацитейп配电ьсвачи ce n3КЛIOчBa aBTOMATNUHО пи петоварbae. Слд пayзо OT OkJO 5 MнHTN, Двигаелг можеда sbde BKIOчEH OTHOB. HatИСHTe
- 6yToHa 3a BpBuaHe B n3XoJHo nOIOKeHne (DnIraTeJIHa 3aUHTa)
- 3eJIeHnIyToH 1 3a NOBtOpHO BkJIIOUBaHe.
- Пи пьлесе Виммавайе Вьв Фунята Да He пonaадотmetалини napчета, кambи,шишета Ипдругп р dedmetи,Коно He Трава да ce пеработbat.
Ako BbB cyhnaTaNopdHAT yKJn TeJa, IIN aKO ypeIbT 3aOnueHa Da N3daBa HeoBuHn ShyMoBe IIN Da BvBpnpa, N3KnUoyTe ro BeDHa r Iro octabete da cnpe. N3BaDeTe UeNcela OT KOHTaKTHaTa KytNa Ha eNeKTpueckata Mpeka HAnpaBete CneHOTO:
- npoBepete KaKba e NOBpeDaTa;
CMeHETe IINI NOnpaBete IOBpeDeHInTe Yactn; - npOBepeTe ypeDa n 3aTerHeTe pa3Xla6eHnte Yactn.
He 6nBa da nonpaBte ypeDa, aKO hMaTe JInceH3 3a TOBa.
Kakbo Mora da Hapra3Bam?
Дa:
BcKaKbB BnD KIOH Do MaKcImaJIHHa pa3YeTeH dIaMeTbp, Cnopei BnDa Ha DbPBoTo I TOBa, DOKoJKe cypOB MaTePnaJIbT;
- yBxHaJI, BJaXHn rpaDInHcN OTpaDbu, CbXpaHraBaH NRAKOJIO HN,
pa3dpo6yBaIte MaTePnAJa cAmO C PocJeDoBaTeJIHa CMHa C p3dpo6BaHe Ha KJIOH
He:
CTbKnla, MetaI, INaCTMaCOBn YactN, INaCTMaCOBn TopbUKN, KAmbH, TEKCTNJH NOTpaDbuN, KOpeHn PpIMCeH N C npbCT;
OTnabTu 6e3 TBbpda KOHCNCTeHcna, HApnpMep KxHeHcN OTnabTu.

Cneuajn yka3aHna 3aBdpo6BaHeTO:
MaTePnAna, noIeXaU Ha pa3Dpo6BaHe, noDaBaiTe BnHaN OT DaChata CtpaHa Ha IIbJINaHnO TBoP Ha cyHnTa.
KLOHKn KIOHN n DbPBeHn napye Ta pa3Dpo6BaIte MaJIKO cIeD OTp83BaHeTO m,

CJIeI N3cbXbaHe TO3n MaTePnaI CTaBa MHOrO TBbpN I C TOBa CE HAmJraBA MaKcImaJIHnT DOnyCTm DnAmE TbP.
OTCTpaHraBaiTe KIOHKnTe OT CnIHo pa3KIOHeHH KIOHN.
O菩萨右面 H a rpaHnckn octaTbui, KOHTO IMAT roJMAO CbIbpxaHne Ha BOda, n ca npedpa3noJoxeHn KbM cIenBaHe
Te Da 6bDaT pa3dpo6BaHn NocMeHNO C DbPBeCeH MaTePnaJ 3a Hap3BaHe, 3a Da 6bDe npedotBpaTaBaHO 3anyuBaHTo B ypeJa.
He donyckaia Te pa3dpo6eHnra T MaTePnaJa Da ce HATpynBa npeKaJIeHO BWCOKO B yUcTbKa Ha N3BExKDaIaIa OTBOp. CbIeCTByBa ONaCHOCT NaTPynAHaT, Beue pa3dpo6e H MaTePnaJa Da DOBeJe Do 3aNyUbaHe Ha N3BExKDaIaIa KaHaJI. ToBa PbK MoKe Da npEdn3BnKa BpbUaHe Ha MaTePnaJa Ppe3 PbJNaHnI OTBop. N3npa3BaIte peDoBHo npedna3HaTa peWetka.
ПиЗanyuBaHe, noUcTeTe n3BExdaUma KaHaJI nIpbHauHnO TBOp. B Ta3N Bp3ka NaH-HaPpe N3KlnOyete DBuratJIa, a CneT TOBa n3TerJIeTe Uencela OTOKHTaKTHaTa KUTna Ha eJekTpueckata Mpeka.
ИmaIte npedBnU yCIOBHeTo 3a Cna3BaHe Ha MaKcIMaJIHnIy DnAmEtbp Ha KNOHnTe, PnI KOIT O e DONyCTMa npepaBoTkata mI (OporJeHN "TexNueeCKn DaHHN").CnopeD BnDa Ha DbPBOTo n CnopeD TOBa, DOKONKO e CypOB MaTePnAJIbT, MaKcIMaJIHnIY T DnAmEtbp Ha KNOHnTe MoKe da ce HamaJI.
PexeIyT MExaHn3bM n3TeJI MaTePnaJa IoJleKaU Ha pa3Ipo6BaHe ABTOMaTHNo I 6e3 IopaxdaHe Ha ydApN 6IarOJapeHne Ha 6abHnY XoI.
ABTomatnHNo IpeBKnIouBaHe Ha Nocokata Ha BbPTeHe: Pn Bhe3aHNO 6bnKnpaHe Ha yPeDa Ha pExeunr BaJAK MoKe Da Ce CMeHN NocOKata CN Ha BbPTeHe N B TO3n CnyaJ Da BbPHe MaTePnAJaCe H3aJ.
- N3KJIIOUeTe ypeJa.
-Изчakай Te OKOHuaTeHNOTo CnIPAHe Ha pexeIa BaJIAK.
BkIIOUeTe ypeDa OTHOBO n IOaIte MaTePnaI, KoITo e no-JeK 3a npepa60tka.
Пи петоварвае на урEDA,сьорженьят CдвигаTeлha 3aunta пекьсвач,КоТо ce Bкнючы Ил nИЗКЛючы пи 3abptaHe,ceИЗКЛючы abTomaHnUHO.
- CJIeI 5 MmHyTn BkHIOUcTe pe3aKtA oTHOBO;
aKo CJIeI N3TnUaHe Ha TO3N INHTepBaI OT BpeMe ypeIbT He MoKe Da 6bJe BKJIIOueH, HAppaBe TcnpaBka C ToUKa "CmyuEHHa B paOtaTa".
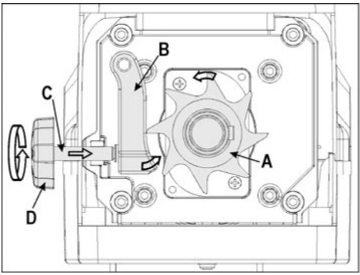
Hac troponka Ha HacpeuHnHa HOX
HacpeuHnT Hox B" moKe da ce hargacn 6e3 xla6nHa cnpa mOpexeIyBaJrK "A". 3a noCTnraHe Ha epeKTnBHa pa60Ta obaTeP6Ba da ce cna3Ba eNo MInHmAlHo MaNko pa3CToHHe.
Korato MaTePnAJIbT e MEK nIIN MOKbp, ToI MoXe da ce pa3CKbCa, BmecTo Da 6bJe OTpR3aH. Do cBzUra pe3yIITat MoXe da IOBeHe I HacpeUeH OHX, KOITo e N3IOJ3BaH MHOROKpaTHO n e N3HOceH.
Perylnaphe ha pa3ctoarHneTo.
BkJIOUeTe ypeJa.
OT DЯСHATA CTPaHa Ha ПЛаCTMACOBИ KOKyX ce HAMIPApeYnIpaIo yCtpoIcTBo. 3a peYnIpaIe Ha pa3CTOHaMeToN3PON3BaIte DoCTaBeHIna KJIou "D" 3a 6OJTObe C BbTpEWeH IecTOcTeH Ha TlAbata N To 3aBbPtTe HAnrCho, Taka Ye 6OJTbT "C" Da ce npiDbVIXBa B Nocoka KbM peXeUHa BaIaK. BbPtTe DOKaTO OT N3BExKaIuN OTBOP NaIHaT ΦHnДьРBEHn CTbPOTHH.

TexHnuecka nOdprbXka
- Прази залочане на BCяка pa60ta no TexHnueckata noДрьжka:
I3KJIHcHTe DbVraTeTn I N3TeTneTe 1eNceTa OT KOHTaKTHaTc Kytna Ha eJekTpueckcTa Mpeka;
CLOXKeTe Cn 3aUHTHn PbKaBnU, 3a Da npedeOTbpaTnte HapaHraBaHH.
Pexeunr HnCTpymEnT CneH3KJIIOUbaHeTo He Ce HAMnpa BeHara B NOKo. N3yakaTe, nped Da 3anoHete c peMOHTa INN NOdRpBXKaTa, DOKATO BCNUqKu qactn Ca B NOKoI.
Obphe Te BHMaHne Ha TOBa, Da OTcTaPahnte HNCTpyMeHTa n RaeyHnte KJIIOUOBe OTHOBo CNeI NOdApbXkata Nn peMOHTa.
-
Градинска та pe3aчka в голяма стенин не се hyждae ot подрьжka. 3a на заразиные качевая на урета и за постигн elect дылг ecknloatauznoeh cpoK, cna3BaIte cIeJHOTO:
-
noIdbpkaTe cbo6oHN n qnCTn npoceHnTe 3a BENTINIPAHe;
- npOBepaBaiTe 6oJITOBe u BnHTOBe (npHne0xOIMOCr Tn 3aTeHHeTe);
CneHapra3BaHeTo ypeIbT Da 6bIe NOuNCTeH OTBbTpE NOTBbH.
3a nouchteBaHe Ha Bauny ypei nol3BaIe cmo tonJa, BnaJHa Kbpna I Meka Yetka.
Hnkora He n3noJ3BaIte NouchTbaIpnepapatn npa3TBopnteJI. BuxTe MOrJI Da HaHeCete Ha ypeJa HENOpPABIMN 5eTI. XmMkaJIte MoRat Da OKaXaT arpeCUBHO BV3dEiCTBVE Bbpxy INaCTMaCOBIne YactN.

- He nouchte pe3aKata c Teuaa Boda nI npoctpyika.
- CneB BcKa yNoTpe6a npbckaIte peKeuN BaJIK C 6nOJIoNHy pa3rpaXdaIoo ce, 6e3BpeDn 3a OKoHata CpeDa MacNo, c 9eI 3aUnTa OT KOp03Nu.
- PexeIyT BaIaK IJIaCTnHaTa 3a DoIbIInTeIHO Hapra3BaHe ca 6bp30n3HocBaun Ce YactN, KOITo Obaue npHOPMaIIHO nOJI3BaHe n peYInpaHe cbrJaCHO npedncaHnra T MaT EKCIIIOaTuOHHa npOdbJnxTeJIHOCT OT HRAKO IOnHn.

PpeiB CBAKO OTCpaHbAHe Ha HEn3npaBHOCT
n3KJIIOUBaIte ypeDa
- da ce n3yaKa cBcTOnHHeTo Ha NOKo Ha ypeDa
n3dpbnbAte 1eNceNa
| Helen III ppabnoct | Възможн рprочиа | Остравно | |
| Двигателовп He trьва | няма наразжения в мржatable | п探测е праздзителя | |
| Съединтеловп кабел e Deфektен | да съpondervи о телкову Елкову Балкову Балкову Балкову Балкову Балкову Балкову Балкову Балкову Балкову Балкову Балкову Балкову Балкову Балкову Балкову Балкову Балкову Балкову Балкову Балкову Бalam. Балкову Балкову Балкову Балкову Балкову Балкову Балкову Балкову Балкову Балкову Балкову Балкову Балкову Балкову Балкову Балкову Балкову Балкову Балкову Балкову | Остраве уразда визbethе. Наточete: 1.Бъ�она 3a Въшанe визbethе (Hъогатела 3a) 2.Зеления уtoyон(1)з посторно Въшюванe. | |
| Пъедиаима рechштka e ocвобODEнa (6e 3a徳ястано рechдзното Иклочыанe над рechдзнота рechштka) | З actonoperte праздзнота рechштka | ||
| Двигателовбун,но He trьва | Ръжший валек e бл_OKрал | Изкочete уразда. При'veдete празьклчытеля 3a посоката на Въгөнөв в похениe Въгөнөв в похениe Сълчытete уразда, Дьлчытete уразда. Оълчытete уразда. Въгөнөв празьклчытеля 3a посokата Bъгөнөв pразьклчытеля | |
| Кондэнатовt e deфektен. | Пъедиite уразда 3a поравка на пошьдзителя, peсл. на порma, поочену ot нею. | ||
| Мaterиала за раздробяне небrelля | Ръжший валек ce bърtni habad. Неравилно пложениe на пъевл equivateя. | Изкочete уразда и сmedete похениeto пъевл equivateя 3a посokата на въгөнө. Оьлчытete уразда. Въгөнөв празьклчытеля 3a пъевл equivateя пъгөнөв pразьклчытELя пъгөнөв pразьклчытEL пъгөнөв pразьклчытEL пъгөнөв pразьклчытEL пъгөнөв pразьклчытEL пъгөнөв pразьклчытEL пъгөнөв pразьклчытEL пъгөнөв pразьклч�а пъгөнөв pразьклч�а пъгөнөв pразьклч�а пъгөнөв pразьклч�а пъгөнөв pразьклч�а пъгөнөв pразьклч�а пъгөнөв pразьклч�а пъgөнөв pразьклч�а пъgөнөв pразьклч�а пъgөнөв pразьклч�а пъgөнөв pразьклч�а пъgөнөв pразьклч�а пъgөнөв prazьклч�а пъgөнөв prazьклч�а пъgөнөв prazьклч�а пъgөнөв prazьклч�а пъgөнөв prazьклч�а пъgөнөв prazьклч�а пъgөнөв prazьклw пъgөнөв prazьклw пъgөнөв prazьклw пъgөнөв prazьклw пъgөнөв prazьклw пъgөнөв prazьклw пъgөнөв prazьклw пъgөнөв prazьклw Пьгалу Избале на раздробяне пъжсяш Достаьч. Дьлжittelовп кабел e праздзнота 3a доьнлтелю нарязванe B sbotBetCTBVE c указану в поч; "Рьгалуне на праздзнота 3a доьнлтелю нарязванe". При силно Избале на рраздз Валяк тол сныд zu bde smenen. | |
| Мaterиала за раздробяне небrelля | Hаresцниотноке He e reyulpanah dostаьч. | Да с р肃лра наresцниотн. н. EDEN | |
| Уретдт ce zadvinьа, obache блOKра рпri малко натоваранe и在其лочьчы чeэ Двигател�а зацита. | Уретдт сьдвиьа, obache БлOKра рпri малко натоваранe и在其лочьчы чeэ Двигател�а зацита. | Сухшино на уydлжittelовп кабел трабва д бдудай-mалко 1,5 MM2, a дьлжittа нау - na- MHORO 25 M. При在其лочьчы на по-dьлг кабел сухшино на уретду мраь da Сьдуннitsел� пвовдик e malko. |
TexHnueckn daHHN
TapaHcNia
| Моden | 2300 | 2500 | 2800 | 3000 |
| Овознayaенье на тида | AH 623 | AH 620 | AH 621 | AH 622 |
| Двигател | Двигател 3a поменлambok 230 V~, 50 Hz, 2800 мин-1 | |||
| Мошист на двигател P1 S6 - 40 % | 2300 W | 2500 W | 2800 W | 3000 W |
| Оворота на ржescя валяк | 40 min-1 | |||
| Проблемы сбглеса валяк | Заша та среши петовардан, Фуншим "Раязene" и "Причеведаь визхочны поожения", Мимимално нарөжени виздочвац�тел | |||
| Маса | 29 кг | 29,5 кг | 30 кг | 30,5 кг |
| Нимо на звековata мошист LPA (Изм扼ени сбгласno 2000/14/EG) | 70,3 dB (A) | 70,3 dB (A) | 70,3 dB (A) | 70,3 dB (A) |
| Из扼ени на звековata мошист LWA (Из扼ени сбгласno 2000/14/EG) | 90,3 dB (A) | 90,3 dB (A) | 90,3 dB (A) | 90,3 dB (A) |
| Гараширано И绅о на звековata мошист LWA (Из扼ени сбгласno 2000/14/EG) | 93 dB (A) | 93 dB (A) | 93 dB (A) | 93 dB (A) |
| Мakсимално дочим даметр на клонITE, полесаши на ретабOTК (Валден за празсно оtripазано дырBO) | Ø мак. 40 mm | Ø мак. 40 mm | Ø мак. 42 mm | Ø мак. 42 mm |
| Клас на зашита | I | |||
| Зашитен вid | IP X4 | |||
| Прedingзitectel | 16 А��ертун | 16 А��ертун | 16 А��ертун | 16 А��ертун |
| Шебийцаря | 10 А��ертун | -- | -- | -- |
| Велковскитаня | 13 А��ертун | 13 А��ертун | 13 А��ертун | 13 А��ертун |
MolBa3eMeTe NOB BHNMaHHe npInoXeHaTa rapaHcNoHHa DeKnapaIy.
Pristroj nesmite uvest do provozu drieve, dokud sie tento navod k obsluze, nedodržite vsechny pristroj nesmontujete predepsanym zpùsobem.
| Заявленne o COOTBETCTBи Tpeбованям | 105 |
| Оьем постамы | 105 |
| Описане устрийства | 105 |
| Врема работы | 106 |
| Симboлы, Incnoльзевные в устрийстve | 106 |
| Симвolyы, Incnoльзевные в Иструкции по зкspлуataци | 106 |
| Исpenьзовaninge B COOTBETCTBи C ha3нayehием | 106 |
| Остаточные Источник риска | 106 |
| Бezорас纳я работа | 107 |
| Сборka | 108 / 137 |
| Ввod B ekspлуataцио | 108 |
| Равota c садовыIM Изменчтелем | 110 |
| Настойка пotиворожушeroHoustona | 111 |
| Тechниеске обслужимане и ух odor | 111 |
| Возмoxнble неюдки | 112 |
| Тechниеске данныe | 113 |
| ГарANTи | 113 |
| Запachesе части | 131 |
3aayBHeHne O COOTBeTCTBn Tpe6oBaHNyM EbponeeCKoro Co103a
coJIaCHO DnpeKtIbe 98/37 EG
ATIKA GmbH & Co. KG
A.Польмайер,урравлиюши
O6bem noctabkn

Iocne paCnakOBKn npOBepbTe cOedePXMoe KapToHHoynyaKOBKn Ha
KOMJIeKTHOCTb NIOCTaBKN,
Hajiunue BO3MOXhBIX IOBpeKdEHN B pe3yJIbTaTe TpaHCnOpTnpOBKn.
He3aMeIInTeIbHo COo6uHte O peKJIaMaUx ToproBoi OpraHn-3aun nn Ha 3aBOd-n3rOToBInTeIb. PeKJaMaUnn, 3aayBJeHHbIe I03Ke, He npN3HaIOCTc.
1 npeDbapntelbHO CMOHTnpoBaHHb y3eI yCTpoiCTBa
1pama
2KoIeca
2KoJnaka Konec
2 onopbl
1 naket C BnHTaM
1 JIOBUNbHaJ KOp3Ha
1 INHCTpyKUIN PO 3KcPnyatauIN
Опсане устpoиства

A. Pactpy6дяизмельаemoromatepehana
B.Дыухиозиюньийpekeknчateль
C. Knabuwa Bo3Bpata/3aunta Dnuratela
D. Pу钙a
E. Ceteboi uTekep
F. Φικατορ ΠΟΒΙΝΗΟ ΚΚρεπΗβι
G. IpeeklouateJIb HappaBHeHn BpaIeHn
H. BépxhЯ qacThb kOpnyca
I. Puyka yctaHOBKn peKUeRo BaJINaKa
J. JIoBnIbHaKOp3Ha
K. Pamac kOJIeCAMn onOpbl
Bpempa60tbI
Ipoosbca cobnoidaTb pernohaBhble npednicaHn no 3aunTe ot Wyma.
CnMBOJbI,NCN0JIb3YeMbIeBycTPOiCTBe

Ipeed BBODOMB 3KcnpnyatauHIO npOHTb N CO6JIIOaTb INCTpykUIO NO 3Kc- pNyaTauH N yKa3AHJn PO
Опасноctь Вылетания часей рпи разовтоюем Двигате – не Донускать Опасныз氧ну
| ПOT repeяемая мошисты Р1(BT) | Полное соротавлике сети Zmakc.(OM) |
| 2300 | 0,22 |
| 2500 | 0,22 |
| 2800 | 0,22 |
| 3000 | 0,22 |
Дыхноционныpepeклочать
3aPpeaaeTcNcNoIb30BaTb yCTpOietBO, BbIKIOuataJIb KOtOporo He BKIOUaETcN He BbIKIOuaeTc. IOBpeXdEHHbIe BbIKIOUaTeJI NODJExKAT HemeJeHHOMy peMOHTy INI 3aMeHe cepBnCHoCnyx6oN.


BkIIOUeHne
HaKMnTe 3eJneHyo KJIaBnUy

BbIKJIouYeHne
HaxmTe KpaChyIO KnaBnIy ①

IpedoxpanHTeJIb NOBTOPO rYcKaInyae nepe6oJ 3JeKTPoCHa6XeHnA
B clyuae nepe608 3neKtpoCHa6xKeHn np6op aBTOMaTueeCKn BbIKIIOUaETc8 (HyIeBOB aBTOMaT). IJIa NOBTOPHOR BKNIOUeHn HeO6XODIMO HaxKaTb 3eJIeHyo KJIaBmUy.

3aunTa 3JeKtpoDbnraTeIa
3NeKtpoBnIaTeIb OChaIeH 3aIHTbIM aBTOMaTOM, 3a CHT KToTopoB B Cnyae Npeerpy3kN pOncXODNT aBTOMaTHueCKoe
BbIKIOUeHHe. IocIe OnpedJeHHOro BpeMeHN OxJaXDeHn (OKOIO 5 MInHyT) 3JIeKTPoDBrIaTeJIb MOxHO CHOBa BKIOuHTb.ДЯ 3TOrO HaxMITE
- Knabiny Bo3Bpata (3aunTa Dnuratela)
- 3eIeHyIO KnaBnUy IДЯ NOBTOpHOrO BkJIuOyeHЯ.
IpeekJIouaTeJIb HappaBHeHnBaPaeHnA

IpeeknouateIb HnpaBJeHn BpaueHn MoXHO ChTb TOJIbKO npn BbIKNoUeHHOM npu6ope.
Положкени

MaTePnAn 3aTgInBaEeTcN NImMeJIbUaETcpeXyUIM BaJIHKOM.
Положене

Hox pa6oTaet B o6paTHOM HnPaBHeHn, npn 3TOM pOVCxOJNT OCBO6OXdHne 3axaTOrO MaTePnaJa.
Iocne BkIIOUeHnnapeKJIIOuATEJnHaNPaBHeHnBaIeHnBA IIOLOXeHnE HEO6xOJIMo DePjAtb HaxKaTOM COCTOHNnpeKJIIOUaTeJIb BKJ./BbIKJ. 3a Cuet OTOrO npOxCODNTpepctahOBkapeKJuero BaIINka B o6paTHoe HaNPaBLeHnE.B Clyuae OTnyckAHnnapeKJIIOuATEJnBKn./BbIKN.I3MeJIbHTeJIb ABTomatuecKn OCTaHaBNIBaETCJ.
Pekomehdaun
- YdaJIeHne KpynHOra6apuTHbIX NII DEpeBraHHbIX PpeIMToB OcyUeCTBJIaETcnyTem NOBTOHO BKJIIOHeHЯ, KaK No HanpaBJeHIO pe3Kn, TaK I NO HApPaBJeHIO De6JIOKIpOBKn.
Дя удаленя 6лokруошип редметов n3 pactpyba nIишица Bыбposа Исpoьзуйт e Cп- zmaNBHoe npincnocoblenne nIи крчok.

TpeI NOBTOPbIM BKNIOUeHnEM NODOXNTE, NOKa He 3OJET OCTAHOB N3MeJIbYHTeJI.
Лобильна Коризна
HnterpnpoBaHHa IOBnIbHa KOp3Ha OChaSeHa 0KcnpyoJe pyKO n 3aunTHbIM OTKJIIOUeHNMe.

Ловлбая Корзина 3а6лokирова на и ќecTKO CBЯЗАС CУТРОДСВОМ.
IOBnIbHAp OTCOeDINHeh BKJIHOaETc
KOp3nHa pa36IokIpObaHa n OT yCTpOiCTBa. YcTpoiCTBO He
I Pocne pa36IOKINPOBKN IOBNbHOJ KOp3HbI npN pa6OtaIOUeM yCTpoINCTBE OHO aBTOMaTHeCKN OTKJIIOUaETcR.
Pa6ota c caIObIIM n3MeJIbYHTeJIeM
3aMnTe tako pa6ooye noJoxHne, yTO6bI Bbl haxOJIINc b60ky nIIN pO3aIyycTpoiCTBa. CToPo rO 3aIpeuaetcStorB B 30He Bbl6pOCHOr OTBepTna.
Matern 60bwoi DInHbI, BbICTypaiouN m3 yctpojCTBa, BO Bpem ero 3aTgBaNHn HxKAMn, MoKET otckoHTb Ha3ad! O6patnte BaSe BnMaHne Ha naexHoep pacctOraHne!
- Ctporo 3aIpeucaetc3acOBbIBaTb pyKn B 3aIpy3OuHoe nIIy Bbl6pocHoe OTBepCTne.
-Дерхи-te Лицо И Туловишиьдамп OT 3a rgy3oHOrO OTbepCTnI.
He donyckaite nonadHna pyk, dpynx yacteTeta n odekbl B 3a rpy30uHy Tpy6y, BbIbpoCHo KaHaJI nn dpyrne NOdBnKhbIe qactn.
- Ipeed BKJIIOUeHHeM yCTPOINCTBa npOBepntb:
Что я мoryизмельчать?
Дa:
- BeTKI JIO6bIX BIVOB C MaKcIMaJIbHbIM DnAmETpOM B 3aBVCIMOCTN OT COPTOB IN BO3pacta DepeBa.
- YBraDne, MOKpbie, XpaHnBUniece yXe HeckOJIbKO dHei caDoBbIe OTXoDbI
N3MeIbUaTb TOIbKO IONEpeMeHHO C CybAMN.
Her:
CTeKIO,MeTaNJIuYeCKNe DeTaJIH,IIaCTMaCCa,IIaCTNKOBbIe MeUOChN,KAMHN,OTXoDbI N3TKaH,N,KOpHN C PnCTaBWeK Hm 3emJeN.
- OTxOdbI 6e3 TBepDoi KOHCnCTeHcnn, HapPIMep, KxOHHbIe OTxOdbI.

Ocobie yka3aHnI NO npoceCy n3-MelbyeHnI:
3arpy3ky MaTePnaJa, POnIeJkaUeRo N3MeJIbYeHnO, B 3aRpy3oUHoe OTBepCTne pactpy6a npOn3BOdInTe Bcer-DA c npaBoi CTOPOHbl.
Измельчайтуль, Вети И древсану всоке пол peЗк.

3TOT N3MeIbIyaeMbI MaTepeNaJI CTaHOBNTcR OueHb TBepDbIM NO Mepe BbICbIXaHnRA, B pe3yJIbTaTe Yero UMeHbShaETCRA MAKCImaJIbHO BO3MOXHbI DnAnepepa60TKn DnaMetp cyhbeB.
YdaJIInTe no6eRn C cnIbHo pa3BeTBJIeHHbIX cyIbeB.
IpepebaTka caIObIx OTXoIOB, coepkaunx boJIbwoe KOJInueCTBO BJIaRn N IMeIOUx CKJIOHHOCTb K CKJIeNBaHHIO:
- ɪЗмельчать ṅТИ OTXODы ПОпеременно C Древechыm ИЗМельчаим MaTeриалOM, УToБы п徴уп徵иТь 3akynopky yctpoiCTba.
He donyckaite 60nbIoro cKoJIeHnI n3MeIbYeHHOro MaTePnaIa B 3OHe BbIXODHO OTBepCTn, TAK KAK 3TO MOKeT npBeCTn K 3akynopKe BbIbPOCHOro KaHaIa. 3To B CBOO OpeEiMoKET BbI3BaTb 6bPaTHbIK BbIbPOc MaTePnaIa Uepe3 3arpy3OuHoe OTBepCTne. Ppi 3akynopKe npOChTne 3arpy3OuHoe OTBepCTne N BbIbPOCHO KaHaI. IpeDbapntelbHO OTKIOUHTe DBrIaTeJb N BbIHytB BNJIky NITaHn. Heo6xOdmo peryIrpHO ONOPOXHrTb IOBnIbHyIO KOp3InHy.
CJIeInte, YTO6bI BbIepKINBaJcR DaNaMeTp CyUbeB, MaKcIMaJIbHO dOnyCTmblN DnIa Nepepa60TK (cm. "TexHnueckne daHHbIe"). B 3aBncMocTn OT BnDa n CBexEcTn dpeBeCnHbI DaNaMeTp CyUbeB, MaKcIMaJIbHO dOnyCTmblN DnIa Nepepa60TK, MoXeT yMeHbIHTbcr.
HoKeBoM mExaHn3M B npHcIne cam BtargBaet B ce6y n3-MeJIbUaEMbI MaTePnA1.
ABTomatnueckoe nepeKluoyehne HappaBHeHn BpaUeHn: npn BHe3aHno 6IoknpOBKe yCTpOJCTBa HAppaBHeHne Bpa- uEHHra pexyUeRO BaIIka MoKeT nepeKluOHTbcr N B TaKOM Clyuae BbITECHtB O6paTHo I3MeJIbuaEmbMy MaTePnaJ.
- OTKJIIOUHTb yCTpOJCTBO.
- PtoOxKdaTb, noka He octaHOBNTcpekuyuBaIIK.
- OπaTb BKNIOUHTb yCTPOINCTBO n 3aRpyKaTb N3MeJIbuaEmbl MaTePnAJI, KOTOpBII NERYe nepepa6aTaBlaBaTcra.
Пи поеррузке устюства Двига teль, осанцени 3a-штны IM Bvikлочаелем, OTКнчается abTomatунеск.
- OπaTb BkHouHTe n3MeJIbUHTeJIb npI6n. Upe3 5 MmHyT.
- Ecni yctpoiCTBO He ydaetc BkIIOHTb CnycT8 3TOT nepoD BpemeH, IocmOTpTe pa3dJI „Bo3MOXHbIe HenoJaIKN".
Hac troяka npotnbopexyuzero hoxa
Дя OчNTкусгСТВа NOьБОВаТСТЯТБКУТПЛВАЖНОЕ CAJIФETKOИ MЯrkой KINCTOчКО.
Kateropueeckn 3anpeaetcnoB3OBaTbCyaHCTaUMn CpeDCTBaMn nn pactBopnteJAMN. B npOTNBOM cnyae yctpoiCTBy moKet bItb Hanecen HeNoPpABmbl yuep6. XmNKaTbMoYr pa3pyuHTb PnaCTIKOBbIe DeTANI.

He ouHnTaB n3MeIbYnTeIb IpTOUHO BODO ININ BbICOKOHAnOpHBIMn CpeDCTBaMn DJIa ONUCTKN.
- После каду уnotpe6lenya npedoxpaHЯн HeNOKpbIbIy e KpackoM MeaJIINueckne DeTaN OT KoppO3n, OnpblCKaB INX 3KJIOrHuCkN COBMeCTmblM MacJlOM, CnOC6hblM K 6bNOJOrHuCkOMy paCzepJIeHIO.
- Pexyun Balaik n 3auchTna pInTa YBnHOTc 6bICTpon3-HaunBaOuMmCra DeTaNMy, KOToPbIe Ondako IMeOT cPOK Cnyx6bl B HeckoNbKO JeT npH HopMaJbHOM NcNoJIb-3OBAHIN N DOONHHTeNbHOJ peYnIpOBKe B COOTBETCTBNI C PpeDnscAnm.
Bo3MOxHbIe HEnoJaKn

Ipeed kaxkbim yctpaHHeM HeNCpabHocTei
- BbIKJIIOHTb CTaHOK
-ПОДОЖДаь оctаноа мexанизma
-BbITauntb CeTeBOI WTEkep
| Helenonadka | Возможнaya п Primma | Способ устаренья |
| Диогателов He zanyskaeTc. | Осутствет сеюе habржени. | Проберпь зашиу поedoханителяm. |
| Еншалов посоединейльный кабел. | Прочьпь探测ерпь (сpeцualисту-элкову). | |
| Устриства поергун. | Пробождente, рoka поборе hoхладистя. Нжмite 1. Клавишь bo3врata (заша дыгател 2. Зelenуho клавишь ① посторог Вклоченя. | |
| Ловьная корзina ra3блокорobан (scabotano Заштоhoe оTKлоченя ловьний порзны) | Heobxodmo 3abokopobat bovnilbhyo kop3nHy | |
| Диогателов Гдит, Но He zanyskaeTc. | Бл_OKорован рекуший валим. | Был��чite рірбор. Вклочite nepeklnуатel нарравлия врашени в поожени. Вклочite рірбор до TEX по, рoka hoуьдут устарения 6локорвka. 3атem сноа bыклочite рірбор. Вклочite пөреклuyател ha附аваленя врашени наад в паложени |
| Еншалов kondencatop. | Оправintь устристvo ho ремont на заюн-изг- Товиелов ллл, coOTB., ho поменован hyо有很大 фирму. | |
| Измельчамь матерпал He 3a- туг�вача.T. | Рекуший валим позвдит образнý хд. Пеклочатel Вклочen B нелравл挈ные н�ожени | Был��чite рірбор и Измени. пөреклuyатel ha附аваленя врашени. |
| Измельчамь матерпал захлесillo в bo- ронke. | Был��чite рірбор. Вклочite nepeklnуатel нарравлия врашени B поожени Вклочite рірбор до Deблокорвki матерпала, постяшеги ззelmьчени. В служе небхдимосту удаimits загрASTENIE.Сю Был��чite рірбор. Дд Былоленя далыншey pa6otby Bклочite nepeklnуатel нарравлия врашени наад в поожени | |
| Спшkom мягий пьв�уйь Илambь- чамь матерпал | Потолкунь tcykOMизмельчы. | |
| Изнoc рекушило валжьй Измель- чамь матерпал | Был��чite рөрүлорову контрлittы, кak зто почьнв Б раздени «рөрүлорову контрлittы」. При вбсokом ИЗноce заменITE рөрший валл. | |
| Измельчамь матерпал He разретаETСАККУРТС. | Енравл挈но настpoен ротоворекуши нож. | Был��чite рөрүлорову контрлittы, кak зто почьнв Б раздени «рөрүлорову контрлittы」. |
| Устриств задуckaete,T.ODha- ko STONOPITCS priп He3nauchile- най harpyoke И OTKлочаTC СпсдстВМЗAZHTORO BlyKlChua- telЯ DBVATeTЯ. | Удзн'teььнь кабел спшkom ДдIN- нь пь IMeet спшkom Малoe пonepey- hoe сецени. Рozetka спшkom далко удашиа OT Ma- trstpalbHorO поcodiniene и спшkom Mалoe пonepeyhoe сецени coedinitel- boro Ka6eTЯ. | Удзн'teььнь кабел Н meehe 1,5 MM2, he 60- пee 25 M дiniь. Ппболee ДдINHOM кабел no- пeeчhoe сецени He meehe 2,5 MM2. |
TexHnueckne daHHbIe
| Модень | 2300 | 2500 | 2800 | 3000 |
| Тир | AH 623 | AH 620 | AH 621 | AH 622 |
| Двигатуль | Двигатуль по чужшисту валка | 230 B~, 50 Г, 2800 об./min | ||
| Мошноctь двигатуль P1 S6 - 40 % | 2200 Вт | 2500 Вт | 2800 Вт | 3000 Вт |
| Число оборотов рекуцега валка | 40 min-1 | |||
| Двухтоизочный посяклочател b c | Заштой OT посягрузки, Фунkedциемп reзаня и образногохда, минималынбий расецптелм наразжения | |||
| Вес | 29 кг | 29,5 кг | 30 кг | 30,5 кг |
| Уровень 3вковою давлиения LPA (замерно по чужшисту 2000/14/EG) | 70,3 дБ (A) | 70,3 дБ (A) | 70,3 дБ (A) | 70,3 дБ (A) |
| Замернный уровень 3вковою мошисту LWA (замерно по чужшисту 2000/14/EG) | 90,3 дБ (A) | 90,3 дБ (A) | 90,3 дБ (A) | 90,3 дБ (A) |
| rapidotovabнный уровень 3вковою мошисту LWA (замерно по чужшисту 2000/14/EG) | 93 дБ (A) | 93 дБ (A) | 93 дБ (A) | 93 дБ (A) |
| Мakс. Воз moleхний посярабOTКи даметр счbeb (pacprostpanяется толък на сөхесе-занню дөвescину) | Ø макс. 40 MM | Ø макс. 40 MM | Ø макс. 42 MM | Ø макс. 42 MM |
| Клasc зашто b | I | |||
| Стелень зашто b | IP X4 | |||
| Сeteveо превханения | 16 A* | 16 A* | 16 A* | 16 A* |
| Шевцарnia | 10 A* | -- | -- | -- |
| UK | 13 A* | 13 A* | 13 A* | 13 A* |
*=IHePzIOHHO-PIaBKe IpeDoXpaHnteJI
Гарания
Посим образиь Винмане на пилагемо rapаннйhoe обястBO.
ПростаяИнструкция