TOPTRONIC - Elektrische zaag ATIKA - Gratis gebruiksaanwijzing en handleiding
Vind de handleiding van het apparaat gratis TOPTRONIC ATIKA in PDF-formaat.
Gebruikersvragen over TOPTRONIC ATIKA
0 vraag over dit apparaat. Beantwoord die u kent of stel uw eigen vraag.
Stel een nieuwe vraag over dit apparaat
Download de handleiding voor uw Elektrische zaag in PDF-formaat gratis! Vind uw handleiding TOPTRONIC - ATIKA en neem uw elektronisch apparaat weer in handen. Op deze pagina staan alle documenten die nodig zijn voor het gebruik van uw apparaat. TOPTRONIC van het merk ATIKA.
GEBRUIKSAANWIJZING TOPTRONIC ATIKA
Rediaal-zaagtafel TOPTRONIC
Veiligheidsvoorschriften
Gebruiksaanwijzing
Onderdelenlijst

CE
ATIKA GmbH & Co. KG
| Type | AZS |
| Vermogen P1 | 1900 W S 6-40% |
| Vermogen P2 | 1350 W S 6-40% |
| Spanning | 230 V~ |
| Frequentie | 50 Hz |
| Stroom (NEN) | 9,5 A |
| Toerental van het zaagblad | 1800 tot 4200 t.p.m. -elektronisch regelbaar |
| Zekering van het net | 10 A traag |
| Diameter zaagblad max. | 250 mm |
| Diameter zaagblad min. | 245 mm |
| Asdiameter zaagblad | 30 mm |
| Zaagsnelheid | 23,5 tot 55 m/s |
| Zaaghoogte bij 90° | ca. 0 – 83 mm traploos |
| Zaaghoogte bij 45° | ca. 59 mm |
| Verstekinstelleningen | -2° tot 47° |
| Afm. Werkblad | 765 x 580 mm |
| Hoogte werkblad | 360 mm |
| Maximale zaaglengte bij 10 mm. materiaal | 321 mm |
| 262 mm | |
| 234 mm | |
| Gewicht | ca. 35 kg |
| Diam. Afzuiigaansluiting beschemkap | 30 mm |
| Diam. Spananafzuiging | 30 mm |
Als afziging kurz u een stofzuiger of een industriiezuiger gebruiken

U mag dit apparaat Niet in gebruik nemen voordat u deze gebruiksaanwijzing gelezen heeft. U alle aanheeft opgevolgd en het apparaat volgens de voorschriften heeft gemonteerd.
Bewaar deze gebruiksaanwijzing voor alle toekomstige toepassingen.

Klap u bij het lezen van deze gebruiksaanwijzing de bladen aan het begin en aan het eindeuit.

De motor is voorzien van een elektronische regeling, deze zorgt ervoor dat de zaagsnelheid, ook belast, constant blijft. Hierdoor kan er, als de machine onbelast draait (vooral bij lagetoerentallen), een vrreeemde ruis hoorbaar zich. Dit geluuid kan u als gebruiker wat ongewoon lijken, maar heeft absolutiert geen invloed op het goed functioneren van de machine.
Een bijkomend voordeel van deze regeling is de beveiliging van de motor. De motor zal bij overbelasting of bij het blokkeren van de zaagas, direkt uitschakelen om schade te voorkomen. Als dit het geval is, dan knippert de rechtter diode op het bedieningspaneel (B.) aflb. 4.
Druk op de rode knop en verwolgens op de groene knop (afb. 4).
- De motor loopt weer.
Inhoud
| Technische gegevens | 29 | Werkvoorschriften | 34 |
| Symbolen in de gezruiksaanwijzing | 30 | Onderhoud en verzorging | 35 |
| Lever hoeveelheid | 30 | Transport | 36 |
| Geluidskenmerken | 30 | Opslag | 36 |
| Reglementaire toepassing | 30 | Garantie | 36 |
| Restrisico's | 30 | Storingen | 36 |
| Veilig werken | 31 | Elektrischschema | 37 |
| Voorbereidingen voor ingebruikname | 32 | Lijst met reserveonderdelen | 38 |
| Ingebruikname | 33 | ||
| Afstelling van de zaag | 33 |
Symbolen in de gebruiksaanwijzing

Dreigend gevaar of gevaarlijke situatie. Het Niet op volgen van deze aanwijzingen kan schade of verwondenen tot gevolg hebben.

Belangrijke aanwijzing voor het vakkundig gebruik van de machine. Het Niet opvolgen van deze aanwijzingen kan storing aan de machine veroorzaken.

Gebruikersaanwijzingen. Deze aanwijzingen helpen u de machine optimaal te benutten.

Montage, gebruik en onderhoud van de machine. Hier wordt precies uitgelegd wat u moet去做.
Lever hoeveelheid
- Radiaal-tafelzaag TOPTRONIC met kabel en steker, HM-Zaagblad 250x30x2,6/1,6 mm. 34 wisseltanden en een spouwmes 2,2 mm.
- Beschermkap met afzuigaansluiting.
Duwstok - Universeaanslag.
- Ringsleutel en steeksleutel.
- Gebruiksaanwijzing.
Controleer na het uitpakken de inhoud van de verpakking op:
Aanwezigheid van alle onderdelen
Eventuele transportschade
In het geval van onvolkomenheden dit direct aan uw leverancier melden. Latere reclamations worden nicht in behandeling genomen.
Geluidskenmerken
DIN EN ISO 3746 / DIN EN ISO 11202 / ISO 7960 Anhang A
Gebruik van de machine als zaagmachine met standardaard zaagblad.
| geluidsniveau | Geluidsniveau op de werkplek | |
| Onbelast | LWA=95 dB(A) | LpA=84 dB(A) |
| Belast | LWA=102,4 dB(A) | LpA=89,4 dB(A) |
Meetonzekerheitsfaktor: 4 dB
Voor het gebruik als afkortzaag konnen bezelfde waarden genomen worden.
De opgegeven waarden zijn emissiewaarden en kuren nicht als veilige werkplekwaarden genomen worden. Hoewel er samenhang:tussen emissie- en immisiewaarden is, kan men deze waarden Niet gebruiken voor het vaststellen van veiligheidsvoorzieningen tijdens het werk. Deze waarden kunnen sterk beinvloed worden door verschillende factoren zoals, de tijsduur, de eigenschappen van de ruimte, andere geluidsbronnen, het aantal machines, andere werkzaamheden in de directe omgeving, enz. De toegelaten waarden kuren van land tot land verschillen. Deze gevevens zar de gebruikerECHTER in staat stellen een betere inschatting van de van de gevaren en risico's te maken.
Reglementaire toepassing
- Deze radiaal-zaagtafel isuitsluitend voor het zagen en afkorten van massief hout,plaatmaterial zoals; spaanplaat en Mdf-platen, aluminiumprofielen en harde kunststoffen met gebruik van het juiste HM-zaagblad. Er mogen alleen zaagbladen gebruikt worden die voldoen aan de EN 847-1 norm.
- Het toepassen van HSS zaagbladen is Niet toegestaan. Deze bladen zijn zeer hard en bros. Hierdoor ontstaat geleaar voor verwonding door breuk en weg geslingerde delen.
- Het zagen van Ronde materialen zicher gebruik van de voorgeschreven hulpmiddelen is Niet toegestaan.
- De diameter van het zaagblad moetussen 245 en 250~mm liggen.
U mag alleen werkstukken verwerken die wichtig ondersteund of geleid können worden. - Tot het toepassen volgens de voorschriften behoren ook het opvolgen van de gebruiks-, onderhouds- en reparatievoorschriften en na leven van de verilgheidsvoorschriften van de fabrikant.
- Men要去 zich tevens honden aan de algemeen geldende veiligheid- en gezondheids- voorschriften en die aanvullende voorschriften van het bedrijf.
- Alle verdere toepassingen gelden als nicht volgens de voorschriften. Voor de hieruit voortvloeije schade is de fabrikant Niet aansprakelijk – de aansprakelijkheid is alleen voor de gebruiker.
- Eigen gemaakte wijzigingen aan de machine ontslaan de fabrikant van alle aansprakelijkheid.
- Deze machine mag alleen voorbereidt, gezruikt en onderhonden worden door personen die met de machine vertrouwd zijn en goed ingelicht zich over de risico's. Reparaties mogen alleen door de fabrikant of geAutoriseerde werkplaatsen uitgevoerd worden.
- Metalen delen (spijkers, nieten, enz.)要去en uith het hout verwijderd worden voordat het gezaagd worden.
Restrisico's
Ook bij het gebruik volgens de voorschriften zich er op grond van de constructie voor de toepassing van deze machine nog een,aantal restrictions.
De restrictions können geminalisierung worden wanner de veiligheids-, gebruiks-, gezondheids- en onderhoudsvoorschriften nauwkeurig in acht genomen worden.
- Risico's voor verwonding van de vingers of de hand door het werkstuk of het zaagblad, bijv. bij het wisselen van het zaagblad.
- Verwondingen door hetwegslingeren van delen van het werkstuk.
- Terugslag van het werkstuk of delen hiervan.
- Breuk en wegslingeren van het zaagblad.
- Gevaar door stroom door het nicht juist aansluiten van de aansluitdraten.
-
Het aanraken van onder spanning staande delen bij een geopende elektrische delen.
-
Verminding van het gezoor bij langdurig werkken zonder gezoorbescherming.
- Emissie van zaagstof door het werkken zonder voldoende stofafzuiig.
Bij oneskundig gebruik konnen houtbewerkingsmachines gevaarlijk zijn. Als een machine gebruikt worden要去en de standard voorzorgsmaatregelen genommen worden om het risico van brand, elektrische sluiting en het verwonden van Personen uit te sluiten.
Lees en volg de onderstaande aanwijzingen, de voorschriften te voorkoming van ongevallen en de algemene veiligheidsvoorschriften op, om u zich en anderen gegen verwondeningen te beschermen.
Geef de veiligheidsvoorschriften aan alle personen, die met deze machine werken, door.
Bewaar deze veriligeidsvoorschriften goed.
- Zorg voor een goede werkhouding. Zorg voor een stabiele en uitgebalanceerde houding.
Wees attent. Let op wat u doet. Blij茧ur uw werk kijken. Gebruik uw gezond verstand. Werk Niet met de machine als u moe bent.
Draag de juiste werkkleding.
Nauw sluitende kleding en geen sieraden dragen.
- Geen schoenen met gladde zolen dragen.
- Bij lang haar een haarnet dragen.
-
Draag persoonlijke beschermingsmiddelen.
-
Gehoorbeschermer dragen (het geluidsnivo in de werkplaats komt over het algemeen boven de 85dB(A).
- Veiligheidsbril (bij het zagen van aluminium).
Stofmaker.
- Gebruik de machine alleen op een
stevige
-vlakke
slipvaste
trillingvrije ondergrond
Zorg dat uw werkomgeving op orde is. Rommel kan oncevallen veroorzaken.
- Let op de omgevingsinvloeden.
- Zet de machine Niet in de regen buiten.
- Gebruik de machine nicht in een vochtige of native omgeving.
Zorg voor voldoende omgevingslicht. - Gebruik de machine nicht in de buurt van brandbare stoffen of gassen.
- De stof die ontstaat bij het zagen verslechtert het zich en is deels gevaarlijk voor de gezondheid. Wanner de machine Niet buiten staat,要去 hij aangesloten worden op een afzuigunit.
Laat de machine nicht zonder toezicht ache ter
- Personen onder de 18JAar mogen Niet met deze machine werken. Uit gezonderd zijn personen boven de 16JAar in oppleiding onder toezicht.
- Hou andere Personen op afstand.
Laat andere Personen, in het bijzonder kinderen, het gereedschap of de kabel Niet aanraken. Houdt ze ver van uw werkplek weg - Neem altijd een positie in zijdelings van het zaagblad, buiten het zaagvlak.
- Begin pas met zagen als het zaagblad op toeren is.
- Overbelast de machine nicht. U werkt beter en zeker met de juiste belasting van de machine.
- Werk alleen met alle veriligeidsvoorzieningen op de juiste wijze aangebracht. Verander niets aan de machine wat de veriligeid in gevaar kan brengen.
- Werk nicht met geschuurde of verrormde zaagbladen.
- Gebruik alleen scherpe zaagbladen. Stompe zaagbladen verhogen het gevaar van terugslag van het werkstuk en belasten de machine enorm.
- Het toepassen van HSS zaagbladen is Niet toegestaan. Deze bladen zijn zeer hard en bros. Hierdoor ontstaat geleaar voor verwonding door breuk en weg geslingerde delen.
Het gebruik van gereedschappen en toebehoren van een ander fabrikaat kan risico's met zich meebrengen. - Werk met het gemonteerde spouwmes. Het is op de fabriek zo gemonteerd dat de afstand tot de zaagtanden min. 3 en max. 5 mm. is.
- Gebruik de machine alleen waar hij voor gemaakt is (zie het betreffende hoofdstuk)
- Gebruik bij het zagen van smalle werkstukken (tot 120 mm. tussen het zaagblad en de aanslag) de bijgeleverde duwstok.
- Gebruik bij het aandrukken vankleine werkstukken eenduwhout. Deze zijn in de handel verkrijgbaar.
- Gebruik geen kapotte duwstok of duwhout.
- De beschermkap voor de zaag,uit gezonderd bij verdekte zaagsneden, alsijd gebruiken. Deze is zo in te stellen dat hij de tanden van het zaagblad die boven het werkstuk uitsteken, afdekt.
Zorg ervoor dat de losse delen van het werkstuk Niet door het zaagblad geraakt en weg geslingerd+kennen worden - Verwijder de spannen, splinters en het afval in de buurt van het zaagblad Niet met de handen.
- Het gebruik van freesschijven en slingerzagen is nicht toegestaan.
- Bij het zagen van rond hout要去 een hulpstuk gezruikt worden die het werkstuk gegen draaienijd den het zagen beveiligt.
- Schakel de machine uit en neem de steker uit het stopcontact bij:
- Reparatiewerkzaamheden
Onderhouds- en reinigingswerkzaamheden
Transport van de machine -
Het wisselen van het zaagblad
-
Het verlaten van de machine (ook voor een korteijd).
-
Onderhoud de machine zorgvuldig.
-
Zorg ervoor dat het zaagblad allijd schoon en scherp is. U werkst sneller en beter en het is het behoud van uw machine.
- Volg de voorschriften en aanwijzingen op bij het wisselen van het zaagblad
-
Hou de handgrepen vrij van vet en olie.
-
Onderzoek de machine op eventuele beschadigingen.
-
Voor het verdere gebruik van de machine要去en alle veiligheidsvoorzieningen gecontroleerd worden op de juiste montage en het goed functioneren.
- Controller of alle bewegende delen van de machine goed functioneren en Niet klemmen of beschadigd�. Alle delen要去en juist gemonteerd� en goed functioneren om de machine correct te latent werken.
-
Beschadigde bescherminrichtingen en - delen要去en, indienoodzakelijk,door een erkende reparatiewerkplaats gerepareerd of verwisseld worden.Met uitzondering indien in de gebruiksaanwijzing anders aangegeven.
-
Vergeet Niet uw steeksleutel voor het wisselen van het zaagblad te verwijderen.
- Als u de machine Niet gebruikt要去 hem op een droge plaats, buiten het bereik van kinderen opslaan.
Elektrische veiligheid.
- De aansluitkabel要去 volgens IEC 60245 (H07 RN-F)়, met een draad doorsnede van minstens:
1,5 mm2 bij een lenghte tot 25m.
2,5 mm2 bij een lenghte vanaf 25m.
-
Bescherm u gegen een elektrische schok. Raak geen geaarde delen aan.
-
Gebruik de kabel Niet voor doeleinden warvoor hij Niet geschikt is. Bescherm de kabel gegen但它, olie of scherpe randen. De steker Niet met de kabel uit het stopcontact trekken.
- Controller de aansluitkabel van de machine regelmatig en LAST hem indien nodig verrangen door een vakman.
- Controller de verlng kabel regelmatig op beschadigungen en verrang hem als hij beschadigd is.
- Gebruik geen defecte kabels.
- Gebruik alleen toegestane en gemerkte verlangkabels.
Maak geen geknutselde elektrische aansluitingen. - Veiligheidsvoorzieningen nooit overbruggen of buitenwerking stellen.
Elektrische aansluitingen of reparations mogen alleen door een erkend bedrijf of een erkende reparatiewerkplaats uitgevoerd worden. Deplaatselijke voorschriften要去en opgevolgd worden.
Reparations aan andere delen van de machine mogen alleen door de fabrikant of een door hem erkende werkplaats uitgevoerd worden.
Alleen de originele toebehoren en onderdelen gebruiken. Bij het gebruik van nicht originele onderdelen konnen risico's voor de gebruiker ontstaan. De fabrikant kan Niet aansprakelijk gesteld worden voor ongevalten hierdoor ontstaan.
Voorbereiding voor ingebruikname
Om de machine correct te latent functioneren要去 de volgende aanwijzingen opvolgen.
Tijdens het transport staat het zaagblad onder en hoek van 30^
zet het zaagbladrecht (zie blad 34).
U moet de volgende delen aanbrengen:
Handgreep
- Beschermkap (39)
- Universeaanslag
U heeft het volgende gereedschap nodig:

Schroef de handgreep aan het wie! Draai de schroef iets terug en draai de moer vast.
i De handgreep moet soepel kennen draaien.
- draai met behulp van het handwie (21) het zaagblad (36) in zijn hoogste stand.

- Monteer de beschermkap (39)
Het spouwmes要去 volledig naar boven getrokken worden voordat de beschermkap (39) gemonteerd wordt, anders kan er schade aan de machine ontstaan. Afb. 13
Ingebruikname
- Plaats de zaag onder de volgende omstandigheden:
Slipvrij
Trillingsvrij
Vlak
Vrij van struikel gevaar
- Met goedelichtomstandigheden
-
Controller voor elk gebruik:
-
de aansluitkabels op beschadiging
gebruik geen beschadigde aansluitkabels. - De juiste montage van de beschermkap.
- De positie van het spouwmes (zie spouwmes instelleningen)
- De goede toestand van het zaagblad.
-
De duwstok binnen handbereik is.
-
Gebruik geen geschuurde of beschadigde zaagbladen.
- Gebruik geen HSS-Zaagbladen.
-
Ga bij het zagen naast de gezavenzone van de zaag (het zaagblad) staan.
Laat de beschermkap: -
bij het zagen op het werkstuk rusten.
- Als u de machine nicht gebruikt, op het werkblad rusten.
De draairichting van het zaagblad.

Let er op dat het zaagblad de juiste richting draaait. De richting要去 met de op de beschemkap (39) aangegeven richting over een komen.
Aansluiting op het net.
Vergelijk de netspanning met de spanning (bijv. 230 V.) die op het type plaatje is aangegeven. Sluit de machine volgens de voorschriften en op een geaard stopcontact aan.

Wisselstroommotor:
Schuko contactdoos gebruiken met een netspanning van 230V, een aardlekschakelaar en 10 A traag afgezekerd.
De aansluitkabel要去 volgens IEC 60 245 (H 07 RN-F) maar, met een draad doorsnede van minstens:
1,5 mm2 bij een lenght to 25m.
2,5 mm2 bij een lenghte vanaf 25m.
Inschakelen.

U schakelt de machine in door op de groene, de bovenste knop van de schakelaar te drukken (25)

Bij stroom uitval schakelt de machine automatisch UIT. Om de machine waar in te schakelen drukt u eerst op de rode en cervolgens op de groene knop.
Uitschakelen.

U kunt de machine op de volgende wijze uitschakelen:

Op de rode knop van de schakelaar drukken.
Motorbeveiliging.

De motor is uitgevoerd met een beveiliging gegen overbelasting. Deze schakelt zichstandiguit. Dit is herkenbaar aan het knipperen van de rechtter diode op het bedièningspaneel (B, afb. 4) Als de motor is afgekoeld kut u de machine wee inschaken door eerst op de rode en verwolgens op de groene knop te drukken (afb. 4).
Zaagblad keuze.

Let erop dat u geen stompe of beschadigde zaagbladenRCT en dat de boring van het zaagblad 30mm is. Het zaagdat standard wordt bijgeleverd is geschikt voor hout en de te kunststoffen.

Voor andere materialen zijn er speciale zaagbladen verkrijgbaar. Vraag hiernaar bij de vakhandel.
Afstelling van de zaag.
Het wisselen van het zaagblad. (s 2 afb. 2, s. 1 afb. 6 - 11)

Voordat u het zaagblad wisselt eerst de steker uithet stopcontact halen.
- Gebruik geen HSS-Zaagbladen.
- Gebruik geen geschuurde, beschadigde of cervormde zaagbladen.
- Gebruik alleen scherpe zaagbladen.

Ga op de volgende wijze te werk:
Draag werkhandsschoenen.
Draai de vergrendelschroef (A) met het bijgevoegde gereed-schap los (afb. 2)
- Til het blad deel (7) aan de linkerzijde van het zaagblad omhoog en trek het eruit (afb. 6).
Draai de imbusschroef (80, afb. 7 + 8) met de steeksleutel (88) in de zaagbladflens (37) los.
De bout heeft links draad.
- Verwijder de zaagbladflens (37) (afb. 9).
- Nu sunt u het zaagblad (36) aflnemen en maar buiten trekken (afb. 10).
- Het monteren van een新产品 zaagblad gaat in de omgekeerde volgorde.
Let op de draai richting van het zaagblad!
- Plaats het zaagblad (36), steek verwolgens met de sleutel (88) de zaagbladflens (37) op de naaf van de motoras en houd hem vast (afb. 11).
- Schroef de imbusschroef (80, afb. 11) in en draai deze stevig aan.

Aandraaimoment min. 20 Nm
De bout—heeft links draad!
- Controller door het zaagblad met de hand te draaien of het blad soepel draait.
Spouwmes instellen.

Het spouwmes (32) is fabrieksmatig op de juiste hoogte ingesteld.
Het spouwmes is een belangrijke veiligheidsvoorziening; het voorkomt het afklemmen van het zaagblad en het terug slaan van het werkstuk.
Om het spouwmes goed te latent functioneren moet de afstand tussen de onderzijde van de voorste punt t.o.v. de zaagtanden min. 3 en max. 5 mm.়.

Om schade te voorkomen要去h spouwmes volledig naar boven getrokken worden,voordat u de beschemkap monteert
Zaaghoogte instellen.

De zaaghoogte is met behulp van de knop (21) traploos van 0 tot 83 mm. in hoogte verstelbaar.

Stel de zaaghoogte.altijd 5mm .hoger dan de dikte van het werkstuk.
Zaagblad in verstekplaatsen.

Als het zaagblad draait bij het verstekplaatsen要去 de universele aanslag en het werkstuk buiten het bereik van het zaagblad zich. - Zie afb. 3

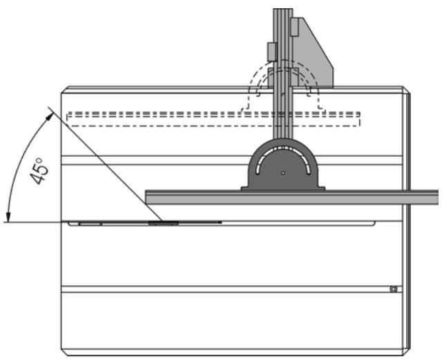
Instellen van 0^ tot 45^
- Hendel (58)iets los draaien.
- Draai de grande knop (18), tot u op het gradenaanduiding (D) de gewenste hoek afleest.
- Draai de hendel (58) weir vast om de ingestelde hoek vast te zetten.

Instellen van -2° tot 47°

Het zaagblad kan 2^ extraaarbeide zijdenversteld worden.Hiervoorgaatualsvolgtweerk:
- Draai dekleine knop (87) los, schuif hem naar boven en draai hem wee vast.
- Hendel (58)iets los draaien.
- Draai de grande knop (18), tot u op het gradenaanduiding (D) de gewenste hoek afleest.
- Draai de hendel (58) waar vast om de ingestelde hoek vast te zetten.

Om het zaagblad weeer tussen 0^ en 45^ in te stellen, moet u dekleine knop weer naar beneden schuiven. Het zaagblad moet dan wel tussen 0^ en 45^ staan.
Toerental van de motor instellen.

Om altiijd van een goede zaag kwaliteit verzekert te zichn,\ kunt u het toerental van het zaagblad traploos:tussen\ 1800 en 4200 t.p.m. installlen.

Door op de toetsen of van het toetsenbord (B) te drukken=kunt het toerental aanpassen. Als u een toerental heeft bereikt zal de bijbehorende diode oplichten, bijv. nr. 2 bij 2400 t.p.m.

Bij elke korte druk op toets 7 of 8 gaat het toerental 100 toeren maar boven of beneden.

Als u toets 7 of 8 langer indrukt dan za het toerental automatisch maar boven of�beneden gaan.
Universe aanslag instellen

De meegeleverde universele aanslag kan voor alle zaag-werkzaamheden als dwars- en als lengteaanslag gezruikt worden.

Let op de juiste instelling van de universele aanslag. (zie "werkvoorschriften")

Bevestiging op de zaagrafel
Schuif de aanslagplaat (45) op de omlopende kliemlijst (E). Trek de vleugelschroef (63A) vast aan. (afb. 1)

De aanslag (50) verschuiven over het aanslagplaat Draai de vleugelschroef los en verschuif het aanslag. Trek de vleugelschroef (63B) vast aan. (afb. 5)

De aanslagliniaal (41) versus
Draai de vleugelmoer (62) los en verschuif het aanslagliniaal. Trek de vleugelmoer vast aan.

Herinstelling van het verstek
Draai de vleugelschroef (63C) en=kantel het aanslagliniaal. De gebruikelijke hoekinstellingeen zijn te vergrendelen.

Als u zeer dunne of smalle werkstukken heeft, dan moet u het lage profiel van de aluminium liniaal (41) van de universele aanslag gebruiken.
Werkvoorschriften.

Conteleer het volgende voordat u gaat werken:
- Beschermkap, spouwmes en zaagblad in orde?
- Zaagblad scherp?
- Universe aanslag aanwezig en de duwstok binnen handbereik?
Werkplek opgeruimd?
U mag de machine Niet gebruiken voordat u deze gebruiks-aanwijzing heeft gelezen, alle voorschriften heeft opgevolgd en de machine als voorgeschreveen heeft gemonteerd.

De volgende punten zijn belangrijk:
- Blijbuitende gevarenzone.
- Leg uw handen vlak en met gesloten vingers op het werkstuk. Het werkstuk waar bij handmatig Niet verder dan tot aan de voorkant van de beschermkap brengen.
- Verwijder losese delen, spanen en splinters nicht met de hand.

Volg in ieder geval de veiligheidsvoorschriften van pag. 31 en verder op.

De machine kan als zaagtafel en als afkortzaag gebrukt worden.
Gebruik als zaagtafel.
afb. 17,19

voort het zagen van grotere werkstukken.

Hiervoor vergrendelt u met de hendel (52) het zaagblad in het midden van het werkblad.
Trek het handwiel (21)licht omhoog.
- Trek met het handwiel de stang (20) langzaam maar buiten. Ongeveer halverwege de stang ziet u een inkeping in de stang. Door op de hendel (52) te drukken vergrendelt u de positie van de stang en het zaagblad.
- De gewenste zaagbreedte met de universe aanslag instellen.
- Het zaagblad ca. 5 mm. hoger instellen, dan de dikte van het werkstuk.
- Breng de beschermkap (39) ca. 8 mm. boven het werkstuk.
- De universe aanslag in de gewenste positie (hou voldoende ruimte:tussen het zaagblad en het werkstuk) en zaaghoek brengen.
Gebruik als afkortzaag. (radialzaag)
afb. 15,16,18,20

voort het nauwkeurig zagen van vastliggende werkstukken.
Zorg ervoor dat het zaagblad in dechterste stand staat.
- De universe aanslag in de gewenste positie (hou voldoende ruimte:tussen het zaagblad en het werkstuk) en zaaghoek brengen.
- Het werkstuk gegen de universe aanslagplaatsen.
Trek het handwiel (21) Licht omhoog.
- Trek met het handwiel de stang (20) maar buiten, tot u het werkstuk heeft doorgezaagd.
- Laat het zaagblad langzaam maar de achefterste stand teruglopen. (afb. 16)
Het zagen van brede werkstukken.

Gebruik als zaagtafel.

Stel de aluminium liniaal van de universele aanslag op de gewenste maat in. Dit is af te lezen op de maatverdeling aan de voorzijde van het werkblad. Voor een nauwkeurige maatvoering is het gewenst de maatvoering met een duimstok of rolband maat na te meten. Zorg ervoor dat dechterzijde van de aluminium liniaal net voor bij het spouwmes steekt.
- Als het werkstukCUSSEN de liniaal en het zaagblad of spouwmes klemt, dan kunt u de liniaal iets maar u toe schuiven.
Vuistregel: de achterkant van de aanslag stoot gegen een imaginaire lui die onceveer bij het midden van het zaagblad begint en onder een hoek van 45^ waar afterwards verloopt.

Het zagen van smalle werkstukken.
(kleiner dan 120mm

Gebruik als tafelzaag.


Het werkstuk met beiden handen verschuiven en als u in de buurt van het zaagblad komt de duwstok (42) gebruiken.

Als u zeer dunne of smalle werkstukken (breedte 30 mm of minder) heeft, dan moet u het lage profiel van de aluminium liniaal (41) van de universele aanslag gebruiken. (afb. 19)
Verdekt zagen.

Verwijder de beschermkap van het spouwmes en druk het spouwmes (32) maar beneden (afb. 12).

Als u met deze werkzaamheden maar bent, moet u het spouwmes weeer omhoog trekken en de beschemkap monteren.

Om schade te voorkomen要去 het spouwmes volledig maar boven getrokken worden, voordat u de beschemkap monteert
Wees er zeker van dat het werkstuk goed geleid worden.
- Druk het werkstuk stevig op het werkblad.
Haaks/verstekzagen. (Afb. 15/18)
- Bevestig de universe aanslag aan het profiel aan de voorzijde van het werkblad.
Stel de liniaal (42) op de gewenste hoek in. Zorg ervoor dat het werkstuk tot zich in de buurt van het zaagblad ondersteund worden. - Zorg ervoor dat de ondersteuning (50) van de liniaal goed geplaatst is, zodate het werkstuk goed ondersteund worden.
- Hou het werkstuk goed vast en trek het zaagblad waar voren tot u het werkstuk hebts doorgezaagd.
Onderhoud en verzorging.

Voor alle onderhoudswerkzaamheden de steker uit het stopcontact nemen.
Voor de optimale werkung van de machine zijn de volgende punten van belang:
- Alle bewegende delen regelmatig reinigen en oliën (afb. 21)
Laat het zaagblad dalen
Zet het zaagaggregaat 45^ schuin
- Leg de zaag voorzichtig op de linker zijde
- Reinig de beweegbare delen en olie de punten 1 - 4 in

Nooit vet gebruiken!
Gebruik bijv. naaimachineoleie, dunvloeribare hydraulische olie of milieuvriendelijk sproei-olie.
Zorg ervoor dat het zaagblad vrij van roest en hors blijft.
- Verwijder hars resten van het zaagblad.
- Het zaagblad zal bij intensief of langdurig gebruik stomp worden.
verrang het zaagblad of laat het slijpen.
Transport.


Voor het transport de stekeruit het stopcontact nemen.
Transporteer de machine als en het Zoogsta in de?」
achterste stand staat, in de laagste stand staat en de beschemkap waar beneden staat. Hierdoor voorkomt u schade tijdens het transport.
Om de machine eenvoudig te{kunnen Transporteren zijn er uitsparingen (C) in de behuizing aangebracht.
Opslag.


Neem de steker uithet stopcontact
Bewaar de machine in een droge en afgesloten ruimte, buiten het bereik van kinderen.
- Om de levensduur van de machine te verlengen en de machine optimaal te latent functioneren is het gewenst voor op-slag de volgende punten in uit te voeren:
- De machine grondig reinigen.
- Alle bewegende delen met milieuvriendelijk ochie behandelen.
i De delen van de zaag mogen nicht worden ingevet
Garantie.
Wij verlenen 2 jaare garantie vanaf de levering van het apparaat van het magazijn van de fabrikant en wel voor gebreken die door materiaal- c.q. Produktiefouten optreden.
Voor schade die ontstaat door onvakkundige behandeling of onvoloende verpakking bij het terugzenden van de apparaten c.q. het Niet-inachtnemen van de bedieningshandleiding, zich aanspraken op garantie ookijdens de garantieperiode uitgesloten.
Foutieve delen können vrachtvrij en portvrij waar onsze fabriek worden gestuurd. De beslissing over gratis levering van reserveonder-delen ligt bij ons.
Garantiewerkzaamheden worden door ons of door een door ons geauthoriseerde serviceplaats uitgevoerd. Voor het verhelpen van garantieschade door een andere firma is ons uneuitrukkelijke toestemmingoodzakelijk.
Onder de garantie vallen nicht de onderdelen die aan normale slijtage onderhevig zich; dit zich: zaagblad, beschemkap, schuifstok, tafelbekleding / tafelprofiel, reminstallatie
Alleen bij het gebruik van originele reserveonderdelen verlenen wij garantie. Wijzigingen, die de technische ontwikkeling dieren, voorbehonden.
Storingen.
| Storing | Mogelijk oorzaak | Oplossing |
| De machine schakelt nicht in of schakelt onbelast waar UIT. | Stroomuitval. Verlengkabel defect. De motorveiligheidsschakelaar is geactiveerd - de rechtter lichtdiode op het bedieningspaneel knippert Motor of schakelaar defect. | Zekering verrangen. Kabel testen, defecte kabel Niet meer gebruiken. Na de afkoelperiode de motor waar inschaken. Motorbeveiliging, blad 33 Motor of schakelaar door een service-werkplaats lately repareren of met originele onderdelen lately verrangen. |
| • Zaagblad klemt. | • Deel van werkblad en de deksel van de spaan-opvangkast verwijderen. Het afval verwijderen. | |
| De motor blijftijdens het zagen stilstaan. | • Het zaagblad is stomp. • Werkstuk worden te snel aangevoerd. | • Zaagblad verwangen. • Motor af lately koelen. |
| Het werkstuk klemtijdens het zagen. | • Zaagblad is stomp. • De linial van de universele aanslag staat nicht parallel aan het zaagblad. | • Het werkstuk stevig vasthouden en de motor uitschakelen. Het zaagblad verwangen of laden slijpen. • De linial opnieuw afstellen. |
| Brandvlekken op het zaagvlak. | • Het zaagblad is stomp of ongeschikt voor het materiaal. | • Het zaagblad verwangen of laden slijpen. |
| Spanauitworp verstocht. | • Geen afzuiger aangesloten. • Afzuiger te zwak. | • Machine uitschakelen en de spanen verwijderen. • Zie “veilig werken” |
| Hoopte verstelling zwaar. | • Draadspindel, geleidingsplaat verwuift. | • Onderdelen reinigen en oliën.(p. 46, afb. 21) Nooit vet gebruiken! |

De motor is voorzien van een elektronische regeling, deze zorgt ervoor dat de zaagsnelheid, ook belast, constant blijft. Hierdoor kan er, als de machine onbelast draait (vooral bij lagetoerentallen), een vrreeemde ruis humorbaarijken. Dit geluuid kan u als gebruiker wat ontgewoon lijken, maar hebts absoluut geen invloed op het goed functioneren van de machine.
Onderdelen bestellen volgens deze lijst:
machinetype
machinenummer
bestelnummer
- omschrijving
aantal
kleur
Voorbeeld: Toptronic, serienummer xxxx, 363112, huis zijkant, 1 st., blauwgroen.
Op de wijze bent u er zeker van dat u het juiste onderdeel ontvangt




363040



Abb. 12

32
Abb. 13



Abb. 16

Abb.17
Abb. 18-22



Abb. 20

Abb. 21
D EG-Konformitätserklung entsprechend der Richtlinie 98/37/EG
EC Declaration of Conformity in conformity with the guideline 98/37/EC
F Déclaration de conformité de la CE conformément à la disposition 98/37/CE
NL B EG-Verklaring van overeenstemming overeenkomstig de richtlijn van de raad 98/37/EG
NL verklaren, iutsluitende verantwoordelijkheid, dat het produit Radiaal-zaagtafel Type AZS
B waarop deze verklaring betrekking heeft, voldoet aan de desbetreffende veiligheids- en gezonheidseisen van de richtlij 98/37/EG, alsmede aan de eisen van de andere desbetreffende richlijnen
SimpelGids