Bravia KDL50WG665 - Televizorius SONY - Nemokama naudojimo instrukcija
Raskite įrenginio instrukciją nemokamai Bravia KDL50WG665 SONY PDF formatu.
Naudotojų klausimai apie Bravia KDL50WG665 SONY
0 klausimas apie šį prietaisą. Atsakykite į tas, kurias žinote, arba užduokite savo.
Užduokite naują klausimą apie šį prietaisą
Atsisiųskite instrukciją savo Televizorius PDF formatu nemokamai! Raskite savo instrukciją Bravia KDL50WG665 - SONY ir vėl perimkite savo elektroninį įrenginį. Šiame puslapyje skelbiami visi dokumentai, reikalingi jūsų įrenginio naudojimui. Bravia KDL50WG665 prekės ženklo SONY.
NAUDOJIMO INSTRUKCIJA Bravia KDL50WG665 SONY
Televizora montažai pie sienas izmantojiet sienas montažas kronsteinu SU-WL450.
Piezime
Ja galda stativs ir piestiprinats televizoram, vispirms atvienojiet galda stativu. Skatiet uzsaksanas celvedi un atvienojiet galda stativu, apgrietzara secibaba izpildot darhibas.
Lai nesabojatu skidro kristalu displeja (LCD) virsmu, nostiprinot sienes montaazas kronsteina stiprinajuma elementus vai nonemot galda stativu no televizora, novietojiet televizoru ar lejupverstu ekranu uz lidzenas un stabilas virmasa, kas parklata ar biezu un mikstu dranu.
Noteikti novietojiet izskruvetas skruves drosa,berniem nesasniedzamavieta.
Skatiet televizora komplektacija ieklauto atsaues rokasgramatu.
Piezime
Kabelu iestrada sanu siena uztiect licencetam ligumstradniekam.
- Pirms stiprinat televizoru pie sienas, satiniet visus savienojuma kabelus, lai neuzkaptu uz tiem.
Televizora piestiprinăšana pie sienas
1 Uzstadiet televizoru uz pamatnes vai pamatnes adaptera.
Lai izvietotupiekarsanai uz pamatnes vai pamatnes adaptera paredzetos trisus 8, skatiet sadalias "Uzstadisanas vietas izvele"3.darbiba mineto tabulu 7.lpp.
Uzmanigi slidini televizoru uz leju un ievietojiet televizora aizmugure piestiprinatos trisus ⑧ pamatne vai pamatnes adapteri, lai tie atbilstu atveru formali.
- Pec televizora uzstadisanas pie sienes paarbaudiet, vai trisi ir ciesi piestiprinati pamatnei vai pamatnes adapterim.
- Lenam atlaidiet rokas, lai parliecinatos, yai televizors nekrit.

Parastamontaza (2-a)
- Izmantojiet 5 mm diametra skruvi vai lidzvertigu (nav ieklauta komplekta).
Piezime
- Faktiniu modeliu pavadinimuose „☐☐" rodo konkrečiai kiekvienam modelui priskiriamus numerius ir (arba)Ženklus.
Pirkéjams
Siekiant apsaugoti gaminj ir uztikrinti sauguma, "Sony" grižtai rekomenduoja, kad televizoriu pritvirtintu „Sony" prekybos atstovai arba licencijuoti tiekëjai. Nemëginkite jj tvirtinti patys.
"Sony" prekybos atstovams ir tiekëjams
Tvirtindami šj gaminj, atlikdami jo reguliaria priežiura ir patikrinimaj, visa demesj skirkite saugumui.
Norint pritvirtinti šj gaminji, reikia tureti pakankamai kompetencijos, ypač nustatant, ar siena gales išlaikyti televizoriaus svorj. Pasirupinkite, kad „Sony" prekybos atstovai ar licencijuoti tiekëjai pritvirtintu šj gaminj prie sienos. Tvirtinant pakankamas demesys turi buti skirtas saugumui. „Sony" néra atsakinga už jokižalā ar sužalojimus, kilusius del netinkamo pernesimo ar montavimo.
Kad saugiai ir tinkamai sumontuotumete, vadovaukites prie sienos tvirtinamo laikiklio instrukcijomis, televizijos nustatymo vadovu ir šio vadovo nurodymais.
Sauga
Norint sumontuoti sigi gaminji, reikia tureti pankankamai kompetencijos. Del montavimo kreipkites j.Sony prekybos atstovus ar licencijuotus tiekjeus, o montavimo metu ypatinga demesi skirkite saugai.Sony" nera atsakingua už jokia zaar suzaoljimus, kilusiudel neteisingo pernesimo ar montavimo arba montuojan kitus, nei nurodyti, gaminius.Jus teisems pagal jstatyma (jei tokiu yra) tai itakos neturi.
"Sony" prekybos atstovams
Norint sumontuoti sj gaminj, reikia tureti
pakankamai kompetencijos. Atidziai
perskaityike sia naudojimo instrukcija,
kad montavimo darbus atliktumete
saugiai. "Sony" nera atsakinga u' jokia
zala ar suzaolijmus, kilusius del
neteisingo pernesimo ar montavimo.
Baige montavimo darbus atiduokite sj
vadova pirkejui.
Sioje naudojimo instrukcijode rodoma, kaip teisingai elgtis su gaminiir pateikiamos svarbios atsargumo priemones, kurij reikia laikytis, kad butu isvengta nelaimungu atsitikimu. Atidzai perskaitykite sj vadova ir teisingai nudokite gaminj. Pasilikite sj vadova, kad galetumete jj perziureti ateitye.
"Sony" gaminial sukurti galvojant apie saug. Jei gaminial naudojami neteisingai, gali kilti gaisras, galima patirti elektrros smugl. gaminys gali nuvirsti ar uzkristi ir taip rimtai suzaloti. Laikykites atsargumo priemoniu del saugos, kad isvengtumete tokiu nelaimingu atsitikimu.
Pagaminta Kinijoje
DÉMESIO
Tinkami gaminiali
Sis prie sienos tvirtinamas laikiklis skirtas tam tikriems TV. Noredami patikrinti, su kuriais televizoriais galima naudoti prie sienos tvirtinama laikikli, zr .Nuorodinj vadova.
Pirkéjams
JSPÉJIMAS
Nesilaikant toliau pateiktuy atsargumo
priemoniu, gali kitti gaisras, galima patirti
eletkros smugi arba gaminys gali nukristi
- del to galima rimtai susizaloti ar net
zuti.
Pasirupinkite, kad montavimo darbus atliktu licencijuoti tiekëjai, o montavimo metu neleiskite arti buti maziems vaikams.
Jei prie sienos tvirtinamas laikiklis arba TV sumontuoti netinkamai, gali jyvkti toliau nurodyti nelaimingi atsitikimai. Jsitikinkite, kad montavimo darbus attieka licencijuoti tiekëjai.
TV gali nukristi ir rimitai suzaloti galite patirti sumusirmu arba luziu.
- Jeigu siena, ant kurios montuojamas prie sienos tvirtinamas laikiklis yra nestabili, nelygi ar nestatmena grindims, jrenginys gali nukristi ir suzaloti arba sugadinti turta. Siena turetu buti pakankamai tvira, kad i'slaikytu bent keturis kactus didesnj svori nei TV. (Noredami suzinoti televizoriaus svorj, zr. jo Nuorodjin vadova.)
- Jeigu prie sienos tvirtinamas laikiklis bus sumontuotas nepakankamai tvirtai, jrenginys gali nukristi ir suzaloti arba sugadinti turta.
TV pernesimo ar isemimo darbus patikekite licencijuotiems tiekjams.
Jei TV transportavimo ar išemimo darbus atlkitu ne licencijuoti tiekëjai, TV gali nukristi ir suzaloti arba sugadinti turt. Užtikrinkite, kad televizoriŋ nestu ar ismontuotu ne maziau nei du asmenys (trys ar daugiau asmenu, jié TV komplektas yra 75 coliu ar didesnis).
Sumontave TV, neissukite sraigtu ar kt. daliu.
Jei tai padarysite, TV gali nukristi ir suzaloti arba sugadinti turt.
Nekeiskite prie sienostvirtinamo laikiklio daliu.
Jei tai padarysite, prie sienos tvirtinamas laikiklis gali nukristi ir suzaloti arba sugadinti turt.
Nemontuokite kitos jrangos, išskyrus nurodyta gaminj.
Sis prie sienos tvirtinamas laikiklis skirtas naudoti tik su nurodytu gaminiu. Jeigu montuosite kita, nei nurodyta, jranga, ji gali nukristi arba luztti, todel suzaloti arba sugadinti turt.
Prie sienos tvirtinamo laikiklio neapkraukite didesne, nei TV apkrova.
Nekratykite TV kairen / desinen arba aukstyn / zenyn.
Jei tai padarysite, TV gali nukristi ir suzaleti arba sugadinti turt.
Nesilenkite ir nesikabinkite ant TV.
Nesilenkite ir nesikabinkite ant TV, nesjis gali ant jusu uzkristi ir rimtai suzaloti.
DÉMESIO
Nesilaikant toliau nurodytu atsargumo
priemoniu, galima susizaloti arba
sugadinti turt.
Valydami gaminj ar atlikdami jo technine prižiūrā, neveikite jo per didele jęga.
Nespauskite TV is virsaus per stipriai. Jei tai padarysite, TV gali nukristi ir suzaloti arba sugadinti turta.
Atsargumo priemonés
- Jei TV, sumontuota ant prie sienos tvirtinamo laikklio naudosite ilga laika, siena už TV ar virš jo gali nublukti arba tapetai gali atsiklijuoti, prikrusomai nuo to, iš kokiu medziagu pastatyia siena.
- Nuemus prisukta prie sienos tvirtinama laikiklj, sienoje liks sraigtu padarytos skyles.
Nenaudokite prie sienos tvirtinamo laikiklio tokiose vietose, kur jj veiktu mechanine vibracija.
Prie sienostvirtinamo laikikliomontavimas
"Sony" prekybos atstovams
JSPÉJIMAS
Toliau nurodyto instrukcijos skirttos tik "Sony"tiekjams.Perskaitykite pirmiau pateiktas atsargumo priemones ir montuodami, eksploatuodami bei tikrindamisi gaminj ypatinga demesi skirkite saugai.
Nemontuokite priesenos tvirtinamo laikiklioant sienos tokioje vietoje,kur TV kampai arba sonaiissikištu už sienospaviršiaus.
Nemontuokite prie sienos tvirtinamo laikiklio ant kolony ar panasiuy pavirsiuy, kur TV kampai arba sonai issikiustuyuz sienos pavirsiaus. Jei asmuo ar objektas uzkliudytu issikiusuj TV kampaarsona, sis gali suzaletoi arba sugadinti turt.

Nemontuokite TV virš oro kondictionieriaus arba po juo.
Jei ant TV la sa vanduo arba jj ilga laika veikia oro srautas i s oro kondcionieriaus, gali kilti gaisras, galima patirti elektros smugj arba TV gali sugesti.
Pasirupinkite, kad priesienos tvirtinamas laikiklis buty patikimai pritvirtantas prie sienos, laikantis siame vadove pateiktuy instrukciju.
Jei kuris nors sraigtas atsilaisvintu ar iskristuy, prie sienos tvirtinamas laikiklis gali nukristi ir suzaloti arba sugadinti turt. jsitikinkite, kad naudojate sienos medziagai tinkamus sraigtus ir patikimai prritvirtinkite jrangaketurias ar daugiau 8 mm skersmens (arba atitinkamais) sraigtais.

Tiekiamus sraigtus ir priedu dalis naudokite tinkamai, laikydamiesi siame vadove pateiktu instrukcjju. Jeinaudojame pakaitalus, TV gali nukristi ir kq nors suzaleti arba sugesti.
Pasirupinkite, kad
laikiklis butu surinktas
tinkamai, vadovaujantis
siame vadove
pateiktomis
proceduromis.
Jei kuris nors sraigtas atsilaivintu ar i skristu, TV gali nukristi ir sugesti arba ka nors suzaaloti.
Pasirupinkite, kad sraigtai buty patikimai jsukti reikiamose vietose.
Jei to nepadarysite, TV gali nukristi ir sugesti arba kā nors sužaloti.
Bükite atsargus, kad montavimo metu TV nebūtuy sutrenktas.
Sutrenkus TV, jis gali nukristi arba perluzti. Taip galima susizaloti.
Jsitikinkite, kad TV montuosite ant statmenos ir ploksios sienos.
Jei to nepadarysite, TV gali nukristi ir suzaloti.
Teisingai sumontave TV, tinkamai pritvirtinkite laidus.
Jei zmones ar objektai jsipainios tarp kabeliu, gali buti suzaloti zmones arba sugadintas TV.
Saugokite, kad KS maitinimo laidas arba jungiamasis kabelis nebutu suspausti.
Jei KS maitinimo laidas arba jungiamasis
kabelis buty prispaustas tarp irenginio ir
sienos arba per jega sulenktas ar suspaustas,
gali islsti vidiniai laidininkai, todel gali ivykti
trumpasis jungimas arba nutrukti elektros
tiekimas. Del to gali kilti gaisras arba galima
patirti elektros smugj.

Sraigtai, kuriq reikia priesienos tvirtinamlaikikliui montuoti priesienos,neprideti.
Montuodami prie sienos tvirtinama laikikli, naudokite sienos medziagai tinkancius sraigtus.
TV montavimas prie sienos
Montavimo procedura skiriasi priklausomai nuo TV.
Noredami pritvirtinti televizoriu prie sienos, naudokite prie sienos tvirtinamlaikikli SU-WL450.
Pastaba
- Jei ant stalo pastatomas stovas pritvirtintas prie televizoriaus, pirmiausia atjunkite ant stalo pastatoma stova. Perziurekite nustatymo vadova ir ant stalo pastatomo stvo atjungimo veiksmus atlikite atvirkstine tvarka.
- Padékite televizoriug ekranu Žemyn ant lygaus ir stabilaus pavirsiaus, uzdengto storu ir minkstu audiniu, kai norésite apsaugoti prie sienos tvirtinamo laikiklio tvirtinimo dalis arba kai nuiminésite ant stalo pastatoma stavá nuo televizoriaus - tai pades apsaugoti SKE ekrano pavirsiu.
- Issuktus sraigtus butinai laikykite saugioje, vaikams nepasiekiamoje vietoje.
Pasiruosimas montuoti
Pries montuodami pasidekite po ranka televizijos nuorodinj vadovar nustatymo vadova.
Pries montuodami jsitikinkite, kad turite sraigtams tinkama kryzminj atsuktuva.
- Patikrinkite TV montavimo vieta.
- Pasiruoskite keturis ar daugiau 8 mm skersmens sraigtus ir viena 5 mm skersmens arba atitinkamā sraigta (nepridéti).
Pasirinkite sienos medziagai tinkamus sraigtus.
Daliç patikrinimas
Tiekiana kartu su SU-WL450
- Isitikinkite, kad yra visos dalys.
| A Pagrindas (20) (1) B | Skriemulys (2) |
| ◎ Sraigtai PSW 6x20 (4) | ◎ Sraigtas PSW 4x20 su ivore (2) |
| ◎ Tarpiklis (20) (2) F | Diržas (1) |
| ◎ Ivore (20) (M4) (2) | ◎ Sraigtai PSW 4x20 (2) |
| ①Pagrindo adapteris (2) | ◎ Sraigtai PSW 4x10 (8) |
| ◎ Tarpiklis (60) (2) L | Sraigtai PSW 6x50 (2) |
| ◎ Ivore (M4) (2) | ◎ Sraigtai PSW 4x50 (2) |
Montavimo vietos pasirinkimas
1 Nuspreskite, kurioje vietoje montuosite.
Isitikinkite, ar ant sienos pakanka vietos televizoruii ir ar ji galès atlaikyti svorj, bent keturis kartus didesnj už televizoriaus.
Zr. toliau pateiktä lentele, kur rasite informacijos apie televizoriaus tvirtinima prie sienos.
Noredami sužinoti televizoriaus svorj, Žr. jo Nuorodinj vadova.

Ekrano centrinis taskas
Vienetai: mm
| Modelio pavadinimas | Rodyti matmenys | Ekrano išmatavimas iki centro | Tvirtinimo ilgis | |||
| a | b | c | d | e | ||
| Standartinis tvirtinimas | Kompaktiškas tvirtinimas | |||||
| KDL-50WG6□□ | 1130 | 660 | 21 | 358 | 130 | 88 |
| KDL-43WG6□□ | 974 | 572 | 54 | 346 | 130 | 88 |
Pastaba
- Atsižvelgiant j montaža, lenteleje nurodyti skaiči ai gali šiek tiek skirtis.
- Televizitoriu pritvirtinus prie sienos, viršutinioji jo dalis šiek tink pasvyra j priekj.
Palikite tinkama tarpa tarp TV ir lubu bei išsikišusić sienos daliu, kaip parodyta apacioje.
Vienetai: mm

-
Siekdami uztikrinti tinkama ventiliacija ir neleistikauptis nešvarumams arba dulkëms:
-
nedekite televizoriaus ant plokstumos, netvirtinkite apversto, atbulai arba jkypai;
-
nedekite televizoriaus ant lentynos, kilimélio, lovos arba j spinta;
-
neuždenkite televizoriaus audiniu, pvz., užuolaidomis, daiktais, tokiais kaip laikrašciai ir t. t.;
-
nemontuokite televizoriaus kaip parodyta apacioje.
Oro cirkuliacija uzblokuota.

Pastaba
- Jei norite kabelius nutiesti sienoje, padarykite sienoje anga ir pries montuodami kabelius jkiiskite ja. Kad kabeliai nebutu suspausti, anga padarykite uz pagrindo (20) A, pagrindo adapteris 1ir tarpiklio (20) E, tarpiklio (60) K perimetro ribu.
2 Pasirinkite tvirtinimo prie sienos buda. Atstumartp TV galines puses ir sienos reikia pasirinkti, kaip nurodyta toliau.
2-a Standartinis tvirtinimas 2-b Kompaktiškas tvirtinimas
Zr. j 1 veiksmo lentele.
JSPÉJIMAS
Kai pasirenkamas 2-b variantas, prieiga prie gale esanciu isvady tampa ribota.

3 Noredami sužinoti apie
pagrindo adapterio tvirtinimo
vieta, Žr. lentele toliau. Jeigu
pasirinkote 2-b bud, šj veiksma
praleiskite.
| Modelio pavadinimas | Kabliuko vieta |
| KDL-50WG6□□ | C |
| KDL-43WG6□□ |

Pagrindo adapteri ①, naudodami sraigta (PSW 4x10) ② pritvirtinkite prie pagrindo (20) ④, jeigu pasirinkote 2-a montavimo buda.

4 Nustatykite sraigtu vietas, kur montuosite pagrinda (20) A. Zr. 12 psl. pateiktus techninius duomenis. Jei pasirinkote 2-a buda, naudokites skyliu, esanciu pagrindo adapteryje 1, vietomis.
JSPÉJIMAS
Siena, ant kurios bus kabinamas TV, turetu buti pakankamai tvirta, kad išlaikytu bent keturis kartus didesnj svorji nei TV (noredami sužinoti televizoriaus svorj, zr. jo Nuorodjin vadova.). Nustatykite sienos, ant kurios bus kabinamas TV, tvirtuma. Jei reikia, pakankamai sutvirtinkite siena.
Pagrindo montavimas priesenos
-
Naudokite keturis ar daugiau 8 mm skersmens arba atitinkamus sraigtus (neprideti).
-
Keturis sraigtus prakiškite per pagrindo adapteryje ① esancias angas ir sujunkite su pagrindu (20) A (tik 2-a).
-
Sumontuokite pagrinda (20) ④ horizontaliai ant sienos.


Kompaktiškas tvirtinimas (2-b)
Pasiruosimas tvirtinti TV
Nustatymo vadove perziurekite, kaip montuoti stova.
1 Atjunkite ant stalo pastatomstovana nuo televizoriaus.

Pastaba
- Kad nesugadintumete ekrano pavirsius, pavekite televizoriu vieta, uždengta minkstu audiniu.
Tvirtindami prie sienos tvirtinama laikiklj, nenaudokite sraigtu, issuktu is ant stalo pastatomo stvo.
Nuimta ant stalo pastatoma stova ir jo sraigtus padekite saugia vieta, nepasiekiama vaikams.Ju priereiks, jei ateityje noresite naudoti televizoriy ant stalo. Nebus galimybès atskirai jsigyti ant stalo pastatoma stova.
ISPEJIMAS
Pries jungdami televizoriu jsitikinkite, arjis yra vertikaijope padetye. Siekiant isvengti netolygaus vaizdo, draudziama jjungti televizoriu, kai SKE skydelis nukreiptas zenyn.
- Jei televizoriaus pavirsius bus spaudziamas arba sutrenktas, jis gali suluzti arba jj galima sugadinti.
- Paguldykite televizoriu priekine puse zenyn ant lygaus pavirsiaus, ant stalo pastatomas stovas turi kabeti virspavirsius krasto. Televizoriaus priekine puse ir ant stalo pastatoma stova padejus ant to paties lygaus pavirsiaus, gaunama nestabili darbiné padetis, todél galima sugadinti televizoriu.
- Atjungdami ant stalo pastatoma stova nuo televizoriaus, tvirtai laikykite už ant stalo pastatomostvo.
2 Pritvirtinkite prie sienostvirtinamo laikiklio tvirtinimodalis.Perziurekite skyriu Daliupatikrinimas" -Tiekiama kartusu SU-WL450"5 psl. irpatikrinkite tvirtinimo dalis.
Pastaba
Sraigtais gerai pritvirtinkite papildomas dalis.
Kai naudojate elektrinj atsuktuva, sukimo momenta nustatykite iki 1,5 N-m {15 kgf-cm}.
- Panaudotas ar nepanaudotas dalis laikykite saugioje vietoje, jei ju prireiktu ateityje. Kad galetumete pasiziureti ateityje, issaugokite sj vadova.

Standartinis tvirtinimas (2-a)
Kompaktiškas tvirtinimas (2-b)
Pastaba
- Jei naudojate šj montavimo budā, negalésite naudoti tam tikru televizoriaus gale esanciu jungciu.


3 Prijunkite prie TV reikiama (-us) kabeli (-ius).
Kabelius prijunkite pries tvirtindami TV priesienos. Kai TV bus pritvirtintas, kabeliuj prijungti nebegalésite.
Zr. kartu su televizoriumi tiekiama. Nuorodinj vadova.
Pastaba
Kabelius nuvesti sienoje patikekite licencijuotam tiekju.
Pries montuodami, jungiamuosius kabelius suriskite, kad ant ju neuziiptumete.
TV tvirtinimas prie sienos
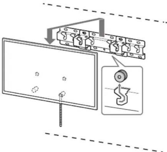
1 Televizoriaus montavimas ant pagrindo ar pagrindo adapterio.
- Del skriemuliu ⑧ , ant kuriu kabinamas pagrindas arba pagrindo adapteris, vietos zr . 3 etapo lentele skyriije "Montavimo vietos pasirinkimas" (7 psl.).
- Atsargiai leiskite televizoriu ir prie televizoriaus nugaroles pritvirtintus skriemulius (pakabinkite ant pagrindo arba pagrindo adapterio. Kabindami jsitikinkite, kad tinkama angu forma.
- Sumontave TV ant sienos, jsitikinkite, kad skriemuliai (B) tvirtai užfiksuoti pagrinde arba ant pagrindo adapterio.
- Létai atleiskite abi rankas jsitikindami, kad televizorius nekrenta.

Standartinis tvirtinimas (2-a)
Kompaktiškas tvirtinimas (2-b)

JSPÉJIMAS
Uztikrinkite, kad nešamā televizoriú laikytu ne maziau nei du asmenys (trys ar daugiu asmenu, jei TV komplektas yra 75 coliu ar didesnis).

2 TV apacios apsauga nuopakrypimo.
- Paimkite dirzas (F) ir tvirtai pritvirtinkite prie sienos.


- Naudokite 5 mm skersmens arba atitinkama sraigta (nepridétas).
Pastaba
Pabandykite nestipriai patraukti TV apacia tiesiaj save, kad jsitikintumete, jogjis nejuda. Jei TV nors kiek juda,jis nera teisingai prritvirtintas ir dirzas F reikia gerai prritvirtinti is naujo.
Montavimo darbu užbaigimopatvirtinimas
Patikrinkite toliau nurodytus dalykus.
- Skriemulaii (B) tvirtai kabo ant pagarindo arba pagarindo adaptorio.
- Ar laidai ir kabeliai nera susisuke ar suspausti.
- Ar dirzas F yra sandari, be plysiu.
JSPÉJIMAS
- Neteisingai nutiesus KS maitinimo laida ar kitus kabelius, galima patirti elektros smugj, jvykus trumpajam jungimui. Del saugumo patvirtinkite, kad montavimo darbai baigti.
Kita informacija
Nuimdami TV, anksciau aprasytaj procedura atlikite atvirskcia tvarka.

JSPÉJIMAS
- Uztikrinkite, kad nuimama televizorii lakytu ne maziau nei du asmenys (trys ar daugiau asmenu, jei TV komplektas yra 75 coliu ar didesnis).
Techninai duomenys

Matmenys: (apytiksl.) [mm]
a : 400
b : 300
c:200
d : 100
e:80
f:480
g : 100
h1:20(2-batvejis)
h2:60(2-a atvejis)
Svoris (tik pagrindo): (aytiksl.) [kg]
0,8
Dizainas ir techninai duomenys gali buti keiciami be jspejimo.
Navodila za uporabo nosilca za stensko montažo Sony (SU-WL450)
Podprti modeli: KDL-50WG6 ^ / 43WG6 ^
LengvasVadovas