Bravia KDL50WG665 - Телевизор SONY - Безплатно ръководство за потребителя
Намерете безплатно ръководството на устройството Bravia KDL50WG665 SONY в PDF формат.
Questions des utilisateurs sur Bravia KDL50WG665 SONY
0 question sur cet appareil. Repondez a celles que vous connaissez ou posez la votre.
Poser une nouvelle question sur cet appareil
Изтеглете инструкциите за вашия Телевизор в PDF формат безплатно! Намерете ръководството си Bravia KDL50WG665 - SONY и вземете отново електронното си устройство в ръце. На тази страница са публикувани всички документи, необходими за използването на вашето устройство. Bravia KDL50WG665 на марката SONY.
РЪКОВОДСТВО ЗА ПОТРЕБИТЕЛЯ Bravia KDL50WG665 SONY
2празован празова <|im_start|>assistant 2празова празова празова празова празова празова празова празова празова празова празова празова празова празова празова празова празова празова празова празова празова
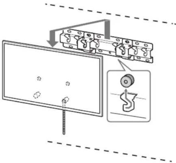
- ɪЗдþрай Te pa3хлабehata уacт Ha Kɔлан F I N I ᵋзakayete ПьтHo Kьм CTehata.


- ⅠЗПОЛЗВаЙТЕ ВИNT C ДИАМЕТБР 5mm
- ИДЕКВИВАЛЕНTEH (He e BКЛЮЧЕН B
- KOMПЛЕКТA).
3a6eJexkka
-OnnTaIe IeKo Da n3DbpNaTe KbM ce6e cndoHaTa
aact Ha TeleBn3opa, 3a Da CE yBepnte, Ye He Ce
npemecTba Hanpei. Ako Ce DnKn, Toi He e
3akpenen PpaBnHIO KOnaH F Tp8Ba OTHOBO Da ce
3akpen 3dpaBO.
Поберка на
ПриключванTo Ha MOHTаЖа
PpOBepTe cIeHNHTe TOnKn.
- MakapuTe ⑥ ca 3aKaueHn 3dpaBO 3a OCHOBaTa NIn aDanTepa Ha OCHOBaTa.
- KaβeJInte He ca yCyKaHN nI npNTnCHaTI.
- Konan F e 3aTeHaTa n Hma Xna6nHa.
PNEyIPEKDEHNE
- HenpaHIOHO NOCTaBHe Ha 3axpaHbAunna Ka6eI IN dpyrMoKe Da npuHnNoXapnN enEkeTpuecknydap npaN KbCO cBeDInHeHne. COrneHa 6e3oNaChocTTa npOBepTe daJI MOnTakbTe 3aBbPseH.
Другашформацья
Korato cbaIaTe TeIeBn3opa, n3nbHHeTe npoueDypata Ha MOHTaxa B o6paTeH pei.

PNEyIPEKDEHNE
- YBepTe ce, Ye DbAmu NnN NOBee duu (TpMa nn NoBcey dyu 3a KOMnKeT TeeBu3Op c pa3Mepu ot 75 Hua) DbpxkT TeeBu3Opa, KORato r npEmaxBaTe.
Cpeunfkauni

ЛеснаИнструкция