Bravia KDL50WG665 - Телевізор SONY - Безкоштовний посібник користувача
Знайдіть посібник до пристрою безкоштовно Bravia KDL50WG665 SONY у форматі PDF.
Questions des utilisateurs sur Bravia KDL50WG665 SONY
0 question sur cet appareil. Repondez a celles que vous connaissez ou posez la votre.
Poser une nouvelle question sur cet appareil
Завантажте інструкції для вашого Телевізор у форматі PDF безкоштовно! Знайдіть свій посібник Bravia KDL50WG665 - SONY і поверніть собі контроль над електронним пристроєм. На цій сторінці опубліковані всі документи, необхідні для використання вашого пристрою. Bravia KDL50WG665 бренду SONY.
ПОСІБНИК КОРИСТУВАЧА Bravia KDL50WG665 SONY
До урази дилepів komпанii Sony
3ACTEPEXEHH
HabeDeni HnKcye IHcTpkykui npu3HaueHo
Iinne, nnnepipb KOMnahii Sony.
Oob'raKoBO npountae 3aCtepeXHi
3axOni, BnKnaDehi Bnue, i 3BepHtB
ocOblaby ybary ha 6e3Neky niJ vac
MOHTaxy, o6CnyrobyBaHHa Ta nepeBipKn
LboR BOp6y.
He BCTaHOBJIouTe KPOHHTeIN DnA HAcTIHHORO KpINJIeHNr B MicxHa CTInI, De KpaI cy 6okn TeLeBi3opa BuCTyNAIOb 3a MeKi NOBepXHi CTInI.
He bCTaHOBIOJIte KPOHUITeIN dIa
HaCTIHHO KoPInNeHH Ha TaKIN NOBExPHX,
KJ KOLOHOU, OCKIBKN BUX MIX ACX KpaI YN
6OKN BNPO6IB BVCTyNAIOb 3a MEkIX NOBEXHI
CTHN. JAKIOIIOHNA YN PpeDMET BNAIDKOBO
BdAPNTNo KYTY Nc 6OKOBI CTOPOH
TeteBI3Opa, KI BVCTyNAIOb 3a KpaI CTINH,
Ce MoXE cnpuNNHTn TpABMy a60
PnIN3BeCn Do NoWkoDkeHH MaHa.

He BCTaHOBJIouTe TeIeBi3Op HaI cy NiI KOHNzioHepom.
Kaio TeBisop npotrom TpBaIoro yacy 3aHa BnIMBy Boi, IIO Bntkae, a6o NOTOKy NOBITR3 KOHNIOHEpa, ce MoKe CnpuHHTN Noxexy, ypaXehn EeKtPHM CTpymOM a6o HeCnpaBHOCTI bpo6oti TeBisopa.
HaichiHO BCTaHOBIOH Te KPOHHTeIN DIA HAcTIHHORO KpINJIeHNHa CTiHi BiIDNOBIDHO DO IHCTpyKciIy UcbOMY Noci6Hnky 3 ekCnLyataui.
Kkuo rBnHTn cna6 3akpinnehi a60
BnndaioTb, KpoHtTeHH dnn HactiHoro
KpIneeHHMOKe Bnacti n CtaTN npuHNOHO
TpaBMBAHHa 60 noKOxpeHH MaHa.
TBnHTn MAIOb BiNDOBiATn MaTePiay, kIM
BKpNTa CTHa. 6063a6e3NeHTn HadiHe
BCTaHOBBHNN, BIKOPNCOTByte npHAAhMI
yOTnPNr BnHTN daMeTPom 8 MM (a60
ekBbaIeHT).

BnKOpNCTOBuYTe
rBNHTa DOonomixHl
yactHH3 KOMPJIeKTy
NoCTauaHnHaJeXHM YINHom
BiINoBiIDHO Do
InCTpyKciI y cboMy
noCi6Hnky 3
ekCnLyataui.
BnKOpNCTaHnDeTalei-3amIHnKiB MoKe npNZBeCTn Do
naDHH TeleBizopa Ta NOrO NoWKoJKeHHa6o TpaBMvBaHHa IIOdei.
36npaTe KpOnuTeH HaJIeXHM YInHOM, DOTPMyOuNCb IpoUeDpyN, OINcaHOi B UcbOMy Noci6Hnky 3 eKcnPyataui.
KuTcBnHn CnaO 3akpinnehi abo Bnnaaotb, Tenebi0p MoKe Bnactn Ta Nookmncra aOtpaBMyBaTu IIOeJ.
HadiiHo 3aTgHiTb rBnHTn y 3a3HaueHOMy noJoxKeHHi.
KuO He 3p6nTu, TeLeB1Op MoKe BnactTa NOnkOaNTncA a60 TpaBMyBaTu IIOJe.
Пд чс мотху сд Ункати поштохь у Нашимку телевизopa.
Ypa3i noTOBXY TeNEbiOPO MoKe Bnactu a6o po3bntnc. Lc moKe CTaTn npuHNOK TpaMByaHHa.
BctaHOBIOIte TeJIeBI3Op Ha nepEnDnKUJyRHi CTHI 3 pIBHOIO NOBepxHeIO.
KuOyMOBA He BnKOHOYcBc,TeNBe3Op MOKe BnACTn Ta 3aBdTn CepNo3Hnx TpaBM.
Пися монтaxy Telebi3opa 3aфikcynTe ka6eni HanexKHM YHOM.
Kkuo JIOAn a6o o6'KTn 3aIyTaIbTcB Ka6eJnx, ce MoKe npVBectn Do N0wKoJxHHe TeneBi3opa a6o TpaBMyBaHH.
CniikyuTe 3a TmM, 0o6 Hyp KINBHeHH 3MinHO rO CTpyMy a6o 3'EDHyBaJIbHN Ka6eJb He 6yB 3aTnCHyTNI.
Kuio shy KnuBneHHa 3minHoro ctpmy a60
3'EDhyBaHn Ka6b 3atncHeHH mix
Bnpo6oMa Ta CTIOHO a60 3IRHTM qH
ckpyeHN i3 npNKlaDAHHa CMN, NOrO
BHTPIHI npOBiDnHK Moxyb orOnTNCJ
CnpuHHTN KOPOTKe 3AMKaHHa a60
npobHaHHa eNEtKn DO nokexi a60 ypaXeHHa
eNEtKnHM ctpymom.

TbHn, 3a DoNOMOIOJ KxKPOHwTeH dJa HaCTiHHoro KpinJeHHa KpINtbcra Ha CTiHi, He BXoJaTb DO KOMPNeKTy NOCTaayHHa.
| Назв морелi | Габаши диспеля | Габаши центра ekрANA | Розмір дія мо ntагу | ||
| a | b | c | d | ||
| Стонданіт themselves Кріпліенія | Тонke Кріпліенія | ||||
| KDL-50WG6☐☐ | 1130 660 21 358 130 88 | ||||
| KDL-43WG6☐☐ | 974 572 54 346 130 88 | ||||
Ppumitka
- LhPnB HabeHien Ta6nui MoKyTB Deo BIdpi3HrTcR B 3aJexKHOCTi BiM MoHTaxy.
BepxHa TaCTHnA BCTAHOBHeHO Ha CTiHi TEneBi3Opa 6yde TpoXn HaxIneHa BnpeEi.
3aIIuTe DoCTaTHi npocBt MIX TeIeBI3Opom i CTeJIeTO Ta BnCTyNaIOUHMu YactINHaMn CTIH, AK NOKa3aHO Ha PUCYHKY HIXKYe.
OuHnue BmipUbaHHa:MM

-3a6e3neHTn HaleKHy BeHTnnaIIO Ta 3anobirn HAKONuHHeHHIO 6pydy nNly:
| Назва модени Розташуванners raков | |
| KDL-50WG6□□ | c |
| KDL-43WG6□□ |

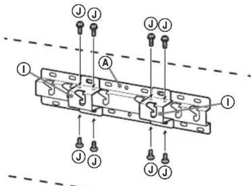
Прикпіить посядній Дя 6a3n ① 3a доно мою ГиHTа (PSW 4x10) ②do 6a3n (20) A (Якso Вбрано Ваipt 2-a).

4Bn3HaHTe NIOJoxeHHraBnHTIB JnBCTaHOBHeHHa3n (20)A.
ДиВ.ТexHiHIXapaKTePnCTnKnHa cTOp.12.
KuO Bn6paHO BapiaHT 2-a, BnKOpNCToBvIe OTBOpN Ha nepexiDnky JIA 6a3N ①.
3ACTEPEXEHH
CTHa,Ha kaiyctaHOBIOEbCraTeNebi3Op,Ma6yTN 3aTHoBOBtPmATn Bary,po npHaimHI BOTnpu pa3npeBnuCyBary TeNebi3opa (Bary Tenebi3opa MOXHa dI3HaTNCB DObiHNky.).
Bn3HaTcMiHCTb CTiH,HaKy6yde BCTaHOHe TeneB1Op.3a Heo6xIDHOCTi 3MiHITb CTiHY HAnExKHUM YINOM.
YctaHOBJIeHHa3nHa cTiHi
BukopncOByntepnHaMHiOTnpn TBnHTN diaMetpom 8 MM a6o eKBiBaIeHTHi (He BXoJrTb Do KOMJIeKTy NOCTaHaHH).
BkpyTb yOTnpn rBNHTN B OTBOpn Ha nepexiHnky dny 6a3n ① 3 6a3o10 (20) A (tIbKn 2-a).
BCTaHOBIOIte 6a3y (20) A ropu3oHTaJIbHO Ha CTiHi.

CtaHdapThe KpinneHHra (2-a)
ПростаІнструкція