Bravia KDL50WG665 - Televizyon SONY - Ücretsiz kullanım kılavuzu
Cihazın kılavuzunu ücretsiz bulun Bravia KDL50WG665 SONY PDF formatında.
Questions des utilisateurs sur Bravia KDL50WG665 SONY
0 question sur cet appareil. Repondez a celles que vous connaissez ou posez la votre.
Poser une nouvelle question sur cet appareil
Cihazınız için talimatları indirin Televizyon PDF formatında ücretsiz! Kılavuzunuzu bulun Bravia KDL50WG665 - SONY ve elektronik cihazınızı yeniden ele alın. Bu sayfada cihazınızın kullanımı için gerekli tüm belgeler yayınlanmaktadır. Bravia KDL50WG665 markasının SONY.
KULLANIM KILAVUZU Bravia KDL50WG665 SONY
Sony Duvar Askı Aparatını Kullanma Hakkinda Montaj Bilgileri (SU-WL450)
Desteklenen modeller: KDL-50WG6 ^ / 43WG6 ^
- Gerçek model adlarinda "☐☐", bir modele özgünumara ve/veya karakterleri ifade eder.
Müsterilere
Urünü koruma ve güvenlik nedenleriyle, Sony TV'nizin montajın in Sony satçilari veya lisansi yükleniciler tarafindan erfolkeleşirilmesini onemle onerir. Kendiniz kurmaya calismayin.
Sony Saticilari ve Yuklenicilerine Montaj, periyodik bakim ve bu urunun incelenmesi sirasinda guvenlige son derece dikkat edin.
Özellikle duvarin TV'nin ağırligına dayanacad kadar güölü olup olmadışı belirlemek,—çın bu ürünün montaji,—çın yeterli derece uzmanlıq gerekir. Bu ürünün duvara takilması konusunda Sony saticilarina veya lisanslı yüklenicilere)—güvenin ve montaj sirasinda)—güvenlige yeterince dikkat edin. Sony, montajn yanlış)—yontemle veya uygunsuz)—sekilde"—yapilmasindan kaynaklanan,—hasar veya yaralanmalardan sorumlu)—degildir.
Güvenlik ve.Doğru kurulum icin, Duvar Aski Aparati Kullanim Talimatlari, TV Kurulum Kilavuzunu ve bu kilavuzdaki talimatlari izleyin.
Güvenlik
Bu urunu satin aldiginiz icin teşekkür ederiz.
Müsterilerimize
Bu urunu monte etmek icin yeterli derecede uzmanlik gereklidir. Montaji mutlaka Sony Bayilerine veya lisansi yuklenicilerine yaptrin ve montaj sirasinda gunlene özellklike dikkat edin. Sony, montajin yanlis yontemle veya uygunsuz sekilde yapilmasindan veya belirtilen urunun disinda bir urunun montajindan kaynaklanan hasar veya yaralanmalardan sorumu degildir. Yasal Haklariniz (varsa) etkilimenmez.
Sony Bayilerine
Bu urunu monte etmek icin yeterli derecede uzmanik gereklidir. Montaj isinin gveni bir sekilde yapilmasi icin mutlaka bu kullanim kilavuzunum tamamini okuyun. Sony, montaj yanlis yontemle veya uygunsuz sekilde yapilmasindan kaynaklanan hasarlardan veya yaralanmalardan sorumlu degildir. Montajdan sonra lufen bu kilavuzu musteriye verin.
Bu kullanim kilavuzunda urununogrukanimi ve kazalari onlemek icin alinmasigeken onemli tedbirler aqkanmaktadir. Bu kilavuzun tamamini okuduugunuzdan ve urunuogrdu sekilde kullandiginizdan emin olun. Bu kilavuzu ileride basvurmak icin saklayin.
Sony urunleri guvenlige onem verilerek tasarlanmistr. Urunlerin yanlig kullanilmasi yangin, elektrik carpmasi, urunun devrilmesi veya urunun dusmesi sonucunda ciddi yaralanmaya neden olabilir. Bu gibi kazalar onlemek icin guvenlik tedbirlerine mutlaka uyun.
Uretici Firma: Sony Visual Products Inc. 2-10-1 Osaki Shinagawa-ku Tokyo, 141-8610 Japonya Telephone: (+813) 6748 2111
Turkiye Irtibat Numaralari: Tel: 0216-633 98 00 Faks: 0216-632 70 30 e-mail: bilgi@eu.sony.com
AEEYonetmeligine Uygundur PCB icermez
SONY.
Ithalatci Firma: Sony Eurasia Pazarlama A.Ş.
Adres: Onur Ofis Park Plaza Saray Mah.
Ahmet Tevfik Ileri Cad.
No:10 34768 Ümraniye
İstanbul Türkiye
Sony Bilgi ve Danışma Hattı:
444 SONY (7669)
(+90 216) 633 98 00
DIKKAT
Belirtilen urünler
Bu Duvar Aski Aparati belirtilen televizyonlarla kullanilacak sekilde tasarlanmistir. Televizyonlar icin, Duvar Aski Aparatinn kullanilabildigi dinogrulamak icin televizyonlarin Basvuru Kilavuzuna bakin.
Müsterilerimize
UYARI
Asgidaki tedbirler alinmaması, yangin, elektrik carması veya urunun dusmesi sonucunda ciddi yaralanmaya veya olume neden olabilir.
Montaji mutlaka lisansli yuklenicilere yaptirin ve montaj sirasinda kucuk tocuklari uzak tutun.
Duvar Aski Aparati veya televizyonogr u monte edilmezse, asaigidaki kazalar meydana gelebilir. Montaji mutlaka lisansli yuklenicilere yapirin.
- Televizyon dusebilir ve siyrik veya kink gibi ciddi bir yaralanmaya neden olabilir.
Duvar Aski Aparatinin monte edileceigi duvar sabit degil, purzlu veya zemeine dik degilse, unite dusebilir ve yaralanmaya veya malin hasar gormesine neden olabilir. Duvar, televizyonun aigrilginen en az dort katini destekleyebilmelidir. (Televizyonun aigril icin Basvuru Kilavuzuna bakin.)
Duvar Aski Aparatinin duvara montajinin yeterli derecede saglam yapilmamasi, unitenin dusmesine ve ciddi yaralanmaya veya malin hasar gormesine neden olabilir.
Televizyonun montajini veya demontajini mutlaka lisansli yuklenicilere yaptirin.
Televizyonu lisansli yuklenicilerin disindaki kisiler taırsa veya demonte ederse, televizyon duğebilir ve ciddi yaralanmaya veya malin hasar görmesine neden olabilir. Televizyonu taşima veya seksme islemlerinin iki veyona daha fazla kisi (75 inc ve üzeri TV seti cin uc veya daha fazla kisi) tarafindan yapildigiindan emin olun.
Televizyonu monte etikten sonra vidaları, vb.çikarmayın.
Çıkarişaniz,televizyonduşebilirve ciddi yaralanmaya veya malin hasar görmesine neden olabilir.
Duvar Aski Aparatinin parçalarindadehyşigkeitlik yapmayin.
Degisiklik yaparsaniz, Duvar Aski Aparati duşebilir ve ciddi yaralanmaya veya malin hasar gormesine neden olabilir.
Belirtilen urun disindaki ekipmanlari sokmeyin.
Bu Duvar Aski Aparati yalnizca belirtilen urunle kullanilacak sekilde tasarlanmistir. Belirtilen urunun disinda ekipman monte ederseniz, dusebilir vya kirlabilir ve ciddi yaralanmaya vya malin hasar gormesine neden olabilir.
Duvar Askı Aparatın televizyonışında bir yük yüklemenin.
Televizyonu sola/saga, yukari/asaigi sallamayin.
Cikarirsaniz, televizyon dusebilir ve ciddi yaralanmaya veya malin hasar gormesine neden olabilir.
Televizyona dayanmayin veya asilmayin.
Televizyon uzerinizereusebilecegindenve ciddi yaralanmaya neden olabileceginden televizyona dayanmayin veya asilmayin.
DIKKAT
Asgidaki tedbirler alinmazsa, ciddi yaralanma veya malda hasar ortaya sikabilir.
Temizleme veya bakim sirasinda urune aşiri güç uygulamayın.
Televizyonun ust kenarina asiri guc uygulamayin. Cikanirsaniz, televizyon dusebilir ve ciddi yaralanmaya veya malin hasar gormesine neden olabilir.
Tedbirler
- Televizyonu Duvar Aski Aparati takili olarak uzun sure kullanirsaniz, duvarin yapildigi malzemeye baglil olarak arkadaki vuvaraveya televizyonun ustunde renk degisimi olabilir veya duvar kaigi yerinden cikabilir.
Duvar Aski Aparati duvara monte edildikten sonra cikarilrsa, vida delikleri kalir.
Duvar Aski Aparatini mekanik titresimler maruz kalan bir yerde kullanmayin.
Duvar Aski Aparatini Monte Etme
Sony Bayilerine
UYARI
Aşaqidaki talimatl yalınizca Sony
bayililer icindir. Bu urünun montaji,
bakimi ve kontrlü sirasinda, yukarida
belirtilen Güvenlik tedbirlerini
okudugunuzdan ve güvânlige özellile
önem verdiğinizden emin olun.
Duvar Askı Aparatı televizyonun köselerinin veya kendarınin duvar yüzeyindenkıntı yaptıduvar yüzeylerine monte etmeyin.
Duvar Aski Aparatini televizyon un koserinin veya kenarlarinin duvar yuzeyinden cikinti yaptigi, kolon gibi duvar yuzeyelerine monte etmeyin. Bir kisi veya nesne televizyonun cikinti yapan kose sine veya kenarina carparsa, yaralanna veya mal hasari ortaya cikabilir.

Televizyonu klimanin
üzerine veya alta
monte etmeyin.
Televizyon klimadan gelen su sizi tisi veya hava akimina uzun sure maruz kalirsa, yangin, elektrik carpmasi veya televizyonda aniza meydana gelebilir.
Duvar aski aparatini duvara bu kullanim kulavuzundaki talimatlara gore saglam bir sekilde monte ettiiginizden emin olun.
Vidalardan biri gevserse veya cikarsa, Duvar
Aski Aparati dusebilir ve ciddi yaralanmaya
veya mal hasarina neden olabilir. Duvarin
malzemesi icin uygun vidalari
kullandiginizdan ve uniteyi 8 mm (veya esdegeri) capinda dort veya daha fazla vida
kullanarak saqlam bir sekilde monte
ettiginizden emin olun.

Birlikte verilen vidaları ve ek parçaları bu kullanım kilavuzundaki talimatlara gore.Doğru bir sekilde kullandiginizdan emin olun.Baska parçalarkullanirsaniz, televisionyondusebilirve bedensel yaralanmaya veya televisionyun hasar gormesineneden olabilir.
Aparati bu kullanim
kilavuzunda açıklanan
prosedüre goreDOGRU bir
sekilde monte
ettiginizden emin olun.
Vidalardan biri gevser veya cikarsa, televizyon dusebilir ve bedensel yaralanmaya veya televizyonun hasar gormesine neden olabilir.
Vidaları gosterilen konumda iyice sikişirdirgünizdan emin olun.
Bu yapilmazsa, televizyon dusebilir ve bedensel yaralanmaya veya televizyonun hasar gormesine neden olabilir.
Montaj sirasinda televizyonu darbeye maruz birakmamaya dikkat edin.
Televizyon darbeye maruz birakilirsa, dusebilir veya parcalarna ayrlabilir. Bu, yaralanmaya neden olabilir.
Televizyonu dik ve diz bir duvara monte ettiğinizden emin olun.
Bu yapilmazsa, televizyon dusebilir ve yaralanmaya neden olabilir.
Televizyon dokru sekilde monte edildikten sonra, kabolari dokru sekilde sabitleyin.
Kisiler veya nesneler kablolara takilirsa, yaralanma veya televizyonda hasar ortaya cikabilir.
AC guc kablosunun vya
baglanti kablosunun
sikmasina izin
vermeyin.
AC guc kablosu veya baglanti kablosu unite
I duvar arasa sikisira veya guc
uygulanarak bukulur veya kivrilirsa, ic
iletkenler ortaya cikabilir ve bu durum, kisa
devreye veya elektrik koslimesine neden olabilir. Bu durum, yangina veya elektrik carpmasina neden olabilir.

Duvar Askı Aparatı duvara sabitlemek icin gereken vidalar ürünle birlikte verilmez.
Duvar Aski Aparatini monte ederken duvar malzemesi ve yapisi icin uygun vidalan kullanin.
Televizyonu duvara monte etme
Montaj proseduru televizyonunuza bagli olarak farklik gosterir.
TV'yi duvara monte etmek icin Duvar Aski Aparati'ni SU-WL450 kullanin.
Not
- Masa Üstü Sehpatı TV'ye takilıya, once Masa Üstü Sehpatı nı Çiçarin. Masa Üstü Sehpasını takmak icin Kurulum Kilavuzuna bakin ve adınlari tersten takip ederek Masa Üstü Sehpasını ayirin.
- Duvar Aski Aparati için Ek parçalari sabitlerken veya Masa Üstü Sehpasi'ni TV'den Çikarirken LCD ekranın yüzeyine zarar gelmesini onlemek icin TV'yi ekrani asagi bakacak sekilde kaln ve yumusak bir bezle kapl duz ve saglam bir yüzeye yerlestirin.
- Şikarilan vidaları;cocuklardan uzak tutarak güvenli bir yerde depoladıgünizdan emin olun.
Montaj增長 hazirlanma
- Kurulumdan once televizyonun Basvuru Kilavuzunu ve Kurulum Kilavuzunu hazir bulundurun.
Montajdan once vidalara uygun yildiz tornavida bulundurmayi unutmayin. - Televizyonunuzun montaj konumunu onaylayin.
- 8 mm capinda dört veya daha fazla vida ve 5 mm capinda veya esdeger birvida hazirlayin (birlikte verilmez). Duvarin malzemesine uygun vidalar seçin.
Parçaları kontrol etme
SU-WL450 ile birlikte verilir
- Tüm parçalarin bulundugundan emin olun.
| A Taban (20) (1) B Makara (2) | |
| ◎ PSW 6x20 (4)◎ PSW 4x20, burçile (2) | |
| ◎ Ara Parçasi (20) (2) | ◎ Kayiş (1) |
| ◎ Burç (20) (M4) (2) | ◎ PSW 4x20 (2) |
| ◎ Taban Adaptörü (2) | ◎ PSW 4x10 (8) |
| ◎ Ara Parçasi (60) (2) | ◎ PSW 6x50 (2) |
| ◎ Burç (M4) (2)◎ PSW 4x50 (2) | |
Montaj konumuna karar verme
1 Montaj konumuna karar verin.
Duvarda TV[in yeterince alan oldugundan ve duvarin TV'nin aigrilginin en az dort kat i agrlik taiyabileceginden emin olun.
TV'yi duvara monte etmek hakkinda asagidaki tabloya bakin. TV'nin agirligi icin TV'nizin Basvuru Kilavuzuna bakin.

Birim: mm
| Model adi | Görüntü boyutlari | Ekran merkezi boyutu | Montaj uzunluğu | |||
| a | b | c | d | e | ||
| Standart montaj | ince montaj | |||||
| KDL-50WG6☐☐ | 1.130 | 660 | 21 | 358 | 130 | 88 |
| KDL-43WG6☐☐ | 974 | 572 | 54 | 346 | 130 | 88 |
Not
Tablodaki sekiller montaja bagli olarak biraz degisebilir.
TV'niz duvara monte edildiginde, TV'nin ust tarafi oneogrubirazegilir.
Televizyon ile tavan ve duvar seksintilararasinda asagida gosterildigi gibi uygunmesafe birakin.
Birim: mm

Uygun havalandirmayi saglamak ve toz veya kirin birikmesini onlemek icin:
TV setini diz yatirmayin, ters, gerijeogrnu veya yan monte etmeyin.
TV setini raf, kilim, yatak uzerinde veya kabin icine yerlestirmeyin.
TV setini perde gibi bir bezle veya gazete kagidi vb. il Kapatmayin.
TV setini asagida gosterilen sekilde monte etmeyin.
Hava sirkulasyonu engelleniyor.

Not
Kablolari duvara yonlendirmek istiyorsaniz, montaja baslamadan once kablolari yerlestirmek icin duvara bir delik acin.
Kablolarin sikismasini onlemek icin, Tabanin (20) A, Taban Adaptoru 1 ve Ara Parcasinin (20) E, Ara Parcasinin (60) C evre uzunlu gdisinda bir yerde duvara delik acin.
2 Duvara montaj tipi secin. Televizyonun arkasina olan mesafe aşagida gosterildigi gibi seçilebilir.
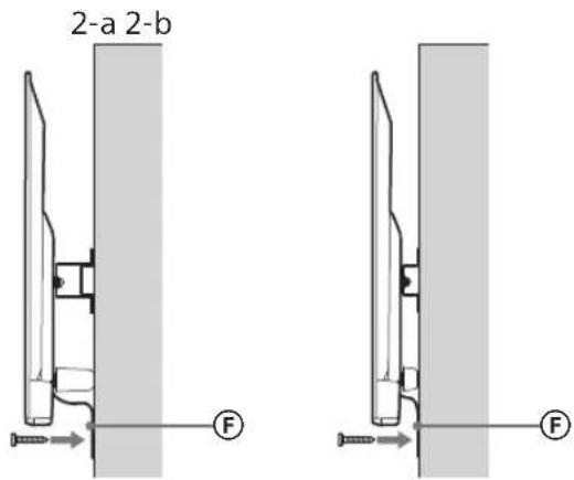
2-a Standart montaj
2-bince montaj
Adim 1'deki tabloya bakin.
UYARI
-2-b seildiginde, Arka terminale erisim sinrlidir.

3 Taban Adaptoru montaj konumu hakkindaki asagidaki tabloya bakin. 2-b secildiginde bu adimi atlayin.
| Model adi Kanca konumu | |
| KDL-50WG6□□ | c |
| KDL-43WG6□□ | |

2-a收费标准, ① vidayi (PSW 4x10) ② kullanarak taban adaptörünü taban (20) A'ya takin.

4 Tabani (20) A kurmak icin vidalarin konumuna karar verin. Sayfa 12'teki teknik ozelliklere bakin. 2-a seildiginde Taban Adaptorunun ① delik pozisyonlarini kullanin.
UYARI
-
Televizyonun monte edildigi duvar, tevizyonun en az dört kat i agriligi destekleyebilmelidir (Televizyonun agriligi icin Basvuru Kilavuzuna bakin.)
-
Televizyonun monte edilecegi duvarin saglamligini belirleyin. Gerekirse duvari yeterli derecede guclendirin.
Tabani duvara monte etme
- 8 mm capinda veya esdeger dort veya daha fazla yida kullanin (birlikte verilmez).
Dort vidayi taban (20) A ile Taban Adaptorunun ① deliklerine takin (yalnizca 2-a).
Tabani (20) duvara yatay olarak monte edin


Televizyonun montaji icin hazirlanma
Stand kurulum için Kurulum Kilavuzuna bakir.
1 Masa Üstü Sehpasini televizyondan dokun.

Not
Ekranin yuzeyinin hasar gormesini onlemek icin televizyonu mutlaka yumusak bir bez serdiiginiz bir yere koyun.
- Duvar Aski Aparatini monte ederken, Masa Üstü Sehpasindan Çi;kardıgüniz vidaları kullanmayın.
- Çiçari Lan Masa Üstü Sehpası ve vidalarin;
cocuklardan uzak tutarak güvenli bir yerde
depoladiginizdan emin olun. Gelecekte televizyonu
sehpia uzerinde kullanmak isterseniz bu parçalara
ihtiyaçduyacaksiniz. Masa Üstü Sehpasi ayri satin
alinamaz.
UYARI
- Açmadan once televizyonun dikey konumda oldugundan emin olun. Resim dagiliminin esit olmamasini onlemek icin televizyon LCD panel asagib bakarken acilmamaldir.
- Televizyonun yüeyine baski veya darbe uygulanirsa, televizyon kirlabilir veya hasar gorebilir.
- Televizyonu yuzu asagi bakacak ve Masa Üstü Sehpasi yuzeyin kenarindan sarkacak sekilde sabit ve dizbir yuzeye yatirin. Televizyonun yuzu ve Masa Üstü Sehpasin tabani ayni seviyede tutulursa, calisma durumunun dengesi bozulur ve televizyon hasar gorebilir.
- Masa Üstü Sehpasini stevizyondan sökerken, Masa Üstü Sehpasini güvenli bir sekilde tutun.
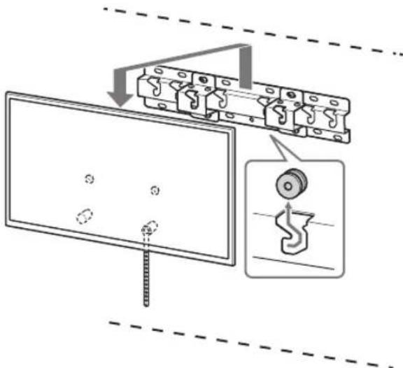
2 Duvar Aski Aparati icin olan ek parçaları takın. Sayfa 5'te "Parçaları kontrol etme" böllumunde "SU-WL450 ile birlikte verilir" basligina bakarak ek parçaları kontrol edin.
Not
Ek parcalari vidalarik kulanarak sikbir sekilde sabitleyin.
Elektrikl tornavida kullanirken, torku yaklaşk 1,5 N·m {15 kgf·cm} olarak ayarlayin.
Kullananan veya kullanilmayan parçalari daha sonra kullanmak icin güvenli bir yerde depolayin. Bu kilavuzu daha sonra basvurmak icin saklayin.
- Bu montaj stilini kullanirken TV'nin arkasindaki terminallerden bazilarini kullanamazsiniz.

3 Gerekli kabloyu(kablolari) televisionya baglayin.
Televizyonu duvara monte etmeden once kablolari bagladiginizdan emin olun.
Televizyon monte edildiginde kablolari baglayamayacaksiniz.
Televizyonunuzla birlikte verilen Basvuru Kilavuzuna bakin.
Not
Duvarda kablo yonlendirmesini lisansli bir yukleniciye yaptirin.
- Baglanti kablolarinin ezilmesini onlemek icin kablolari duvar montajindan once demetleyin.
Televizyonu duvara monte etme
1 Televizyonu Taban veya Taban Adaptorü uzerine monte edin.
- Makaralarin (B) Taban veya Taban Adaptorundeki konumu icin 7 sayfasinda "Montaj konumuna karar verme" bolumunde adim 3'teki tabloya bakin.
- Televizyonu yavasca asaigiyaDOGRU kaydirin ve televizyonun arkasinakatili Makaralari 包 deliklerin seklini dokrulayarak Taban ya da Taban Adaptorune takin.
- Televizyonu duvara monte ettikten sonra, Makaralarin ⑧ Tabana vya Taban Adaptörüne siki bir sekilde kilitlendigiinden emin olun.
- Televizyonun duşmeyeçinden emin olmak icin her iki elinizi de yavassa birakin.
-Taşirken televizyonu iki veya daha fazla kisinin (75 inç ve üzeri TV seti icin üç veya daha fazla kisi) tutugundan emin olun.

2 Televizyonun altinin kaymasini onleme.
Kayisin F gevsek tarafini tutun ve duvara sikica takin.

- 5 mm capinda veya esdeger vida kullanin (birlikte verilmez).
Not
- Televizyonun.altini hafifce kendinize dokru cekmeyi deneyerek ileri dokru oynamadigindan emin olun. Herhangi bir oynama varsa, dokru sabitlenmemistir ve Kayis F tekar sika sabitlenmelidir.
Montajin tamamlandigini onaylama
Asgidaki noktalarikontrol edin.
- Makaralarin (B) Tabana veya Taban Adaptörüne siki bir sekilde asildiğindan emin olun.
Guc kablosu ve kablo bukulu veyasikistirilmis olmamalidir.
Kayis F siki olmali, gevsek olmamalidir.
UYARI
- AC guc kablosu vb'nin yanlis yerlestirilmesi, kisa devreye ve dolayisiyla yangina veya elektrik carpmasina neden olabilir. Montajin guvenli bir sekilde tamamlandiigindan emin olun.
Diger bilgiler
Televizyonu cikarirken, onceki kurulum prosedurunu ters yonde izleyin.

UYARI
- Çikarirken televizyonu iki veya daha fazla kisinin (75 inç ve üzeri TV seti icin üç veya daha fazla kisi) tuttugundan emin olun.
Teknik Özellikler

Boyutlar: (Yakl.) [mm]
a : 400
b : 300
c:200
d : 100
e:80
f:480
g : 100
h1:20(2-b durumunda)
Tasarim ve teknik özellikler, önceden bildirilmeksizin degisiklige tabidir.
KolayKılavuz