C925e - Webcam LOGITECH - Manuale utente e istruzioni gratuiti
Trova gratuitamente il manuale del dispositivo C925e LOGITECH in formato PDF.
Domande degli utenti su C925e LOGITECH
0 domanda su questo apparecchio. Rispondi a quelle che conosci o fai la tua.
Fai una nuova domanda su questo apparecchio
Scarica le istruzioni per il tuo Webcam in formato PDF gratuitamente! Trova il tuo manuale C925e - LOGITECH e riprendi in mano il tuo dispositivo elettronico. In questa pagina sono pubblicati tutti i documenti necessari per l'utilizzo del tuo dispositivo. C925e del marchio LOGITECH.
MANUALE UTENTE C925e LOGITECH

* Treppiede non incluso
CONTENUTO DELLA CONFEZIONE
1 Webcam con cavo USB-A da 1,83 m (6 piedi) collegato
2 Documentazione per l'utente

1 C925e è dotata di un copriobiettivo integrato. Il disposito scorrevole per aprire o chiudere il copriobiettivo si trovava nella parte superiore della webcam, direttamente sopra la lente.
2 Per aprire il copriobiettivo, sposta il dispositivo scorrevole verso destra.
3 Per chiudere il copriobiettivo e coprire la lente, spostalo verso sinistra. La lente apparirà di colore bianco quando il copriobiettivo è chiuso.



CONFIGURAZIONE DELLA WEBCAM
Posizionamento sul monitor
1 Posizione la tua webcam su un computer, laptop o monitor nella posizione o angolazione desiderata.
2 Regola la webcam per assicurarti che il piede sulla clip di montaggio universale sua allineata con il retro del dispositorio.
3 Regola manualmente la webcam verso l'alto e il basso in modo da inquadrarti al meglio.



Posizionamento su un treppiede*
1 Individua la parte con filettatura da 14 di pollice nella parte inferiore della clip di montaggio universale.
2 Fissa la webcam sul treppiede avvitando la parte con filettatura da 1 / 4 di pollice.
3 Posizione la webcam e il treppiede dove preferisci, in modo da garantire l'inquadratura ideale.



- Treppiede non incluso
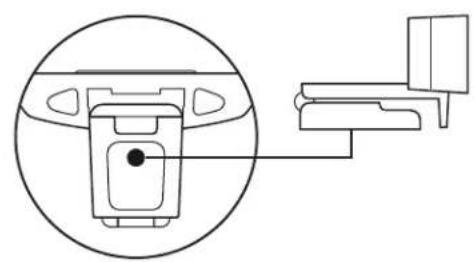
CONNECTION DELLA WEBCAM TRAMITE USB-A
Collega il connettore USB-A a una porta USB-A del computer.

CONNECTION RIUSCITA
La spia di funzionamento LED si accende quando la webcam è usata da un'applicazione.

DIMENSIONI
INCLUSA CLIP DI MONTAGGIO FISSA:
Altezza x larghezza x profondita:
73 mm (2,9 pollici) x 126 mm (5,0 pollici) x 45 mm (1,8 pollici)
Lunghezza cavo: 1,83 m (6 piedi)
ManualeFacile